Устройство для автоматизированной тренировки аккумуляторных батарей

  • Вид работы:
    Дипломная (ВКР)
  • Предмет:
    Информатика, ВТ, телекоммуникации
  • Язык:
    Русский
    ,
    Формат файла:
    MS Word
    237,04 Кб
  • Опубликовано:
    2013-10-20
Вы можете узнать стоимость помощи в написании студенческой работы.
Помощь в написании работы, которую точно примут!

Устройство для автоматизированной тренировки аккумуляторных батарей

Введение

В настоящее время наряду с литий-ионными аккумуляторами все еще широко используются никель-кадмиевые. Данные аккумуляторы дешевле литий-ионных и сохраняют свою работоспособность в любых погодных условиях, в то время как литий-ионные аккумуляторы некоторых производителей теряют свою работоспособность при отрицательной температуре.

Никель-кадмиевые аккумуляторы применяются на электрокарах (как тяговые), трамваях и троллейбусах (для питания цепей управления), речных и морских судах. Широко применяются в авиации в качестве бортовых аккумуляторных батарей самолетов и вертолетов. Используются как источники питания для автономных шуруповёртов, винтовёртов и дрелей.

Минусом никель-кадмиевых аккумуляторов является так называемый «эффект памяти», который возникает при заряде аккумулятора без предварительного его полного разряда. Вследствие этого со временем понижается максимальная емкость аккумулятора, и время его работы сокращается.

В данном дипломном проекте будет разработано устройство для автоматизированной тренировки аккумуляторных батарей. Тренировка аккумулятора необходима для поддержания батареи в работоспособном состоянии и правильного отображения реального заряда аккумулятора. Заключается этот процесс в проведении цикла разряд - заряд.

Аккумулятор подключается через резистор к земле и полностью разряжается. Затем аккумулятор подключается к цепи питания и заряжается до тех пор, пока на нем не установится значение напряжения, не меняющееся в течение длительного времени за один цикл заряда. Если максимальное значение напряжения недостаточно высоко, проводится повторение цикла разряд - заряд.

Устройство, разрабатываемое в рамках данного дипломного проекта, может применяться сервисными службами, занимающимися обслуживанием аккумуляторов, строительными компаниями, располагающими большим количеством автономных шуруповертов и дрелей, больницами, в которых используются приборы для фиксирования жизненных показателей больного, постоянно носимые пациентом.

1. Обзор аналогов и их анализ

Современные производители электроники выпускают подобные устройства, но они, как правило, построены исключительно на аналоговых элементах и не обладают той гибкостью, какой обладает устройство, построенное на микроконтроллере.

а) Любительская схема аналогового устройства ручной тренировки аккумулятора [10].

Схема представлена на рисунке 1.

Рисунок 1 - Любительская схема аналогового устройства ручной тренировки аккумулятора

Принцип работы данного устройства - ручное переключение аккумулятора в режим разряда и заряда.

Достоинством этой схемы является несомненная простота и дешевизна. Недостатком - ручное управление и отсутствие защиты от переразряда аккумулятора. Пользователь должен сам отслеживать значение напряжения на аккумуляторе и вовремя переключать его с разряда на заряд. Такое устройство имеет смысл изготавливать для тренировки одного-двух аккумуляторов, так как процесс тренировки занимает весьма длительное время и требует постоянного контроля.

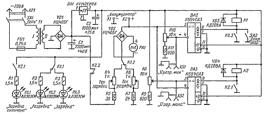
б) Устройство автоматической тренировки аккумулятора [11].

Схема этого устройства представлена на рисунке 2.

Рисунок 2 - Электрическая принципиальная схема устройства автоматической тренировки аккумулятора

Это устройство позволяет тренировать аккумуляторы только в автоматическом режиме.

Пользователь вручную задает минимальное напряжение заряда и напряжение разряда аккумулятора. Для этого к гнёздам XS1 подключают вольтметр и переменным резистором R10 устанавливают минимальное значение напряжения разряда. Затем вольтметр подключают к гнёздам XS2 и переменным резистором R8 устанавливают минимальное значение напряжения заряда.

К достоинствам этой схемы можно отнести некоторую гибкость в сравнении с предыдущей схемой, к недостаткам - отсутствие какого-либо дисплея, отображающего текущее значение напряжения на аккумуляторе, и необходимость наличия у пользователя отдельного вольтметра для программирования устройства.

в) Turnigy Fatboy 8 1300W Workststion Charger [12]

Особняком от любительских схем стоит этот прибор, изготавливаемый сингапурской компанией LEO Energy Pte Ltd., Revolectrix. Разработчик не публикует схему внутреннего устройства прибора и не объясняет принцип его работы.

Внешний вид данного прибора изображен на рисунке 3.

Рисунок 3 - Внешний вид Turnigy Fatboy 8 1300W Workststion Charger

Данный прибор способен заряжать и разряжать множество типов аккумуляторов: никель-кадмиевые, литий-ионные, литий-полимерные, литий-марганцевые, свинцовые с напряжением 6, 12 и 24В. Также в нем есть функция произведения нескольких циклов заряда - разряда аккумулятора, которая, однако, служит лишь подобием тренировки аккумулятора: устройство производит лишь столько циклов, сколько назначит пользователь, оно не отслеживает, восстановил ли аккумулятор свою ёмкость или нет.

Достоинства этого прибора таковы: широкий спектр видов аккумуляторов, удобство использования, возможность назначить несколько циклов разряда - заряда и наличие гарантийного обслуживания.

Но помимо достоинств данный прибор обладает также и рядом недостатков, среди которых такие как:

невысокая надежность. Несмотря на то, что производитель заверяет покупателей в обратном, в отзывах пользователи жалуются на выход прибора из строя после непродолжительного использования;

отсутствие полностью автоматического режима тренировки аккумулятора. Как уже было сказано выше, пользователь лишь может назначить число циклов заряда - разряда, нет функции «производить циклы разряда - заряда до восстановления ёмкости аккумулятора»;

высокое энергопотребление;

достаточно высокая цена прибора, составляющая $199,95 без учета цены платы с балансировочными разъемами, приобретающейся отдельно, и доставки из-за рубежа, стоимость которой тоже немаленькая из-за веса прибора около двух килограмм.

Использовать такое устройство только для тренировки никель-

кадмиевых аккумуляторов экономически нецелесообразно.

Ниже представлена сводная таблица разрабатываемого устройства и рассмотренных аналогов, в которой отображены преимущества и недостатки всех рассмотренных устройств.

Таблица 1 - Сводная таблица разрабатываемого устройства и рассмотренных аналогов

Устройство

Вариант исполнения

Наличие автоматического режима

Наличие ручного режима

Сложность изготовления

Стоимость

Любительская схема аналогового устройства ручной тренировки аккумулятора

Только аналоговые элементы

Нет

Есть

Очень просто

Низкая

Устройство автоматической тренировки аккумулятора

Аналоговые и цифровые элементы

Есть

Нет

Средне

Средняя

Turnigy Fatboy 8 1300W Workststion Charger

Разработчик не предоставил информацию

Нет, только возможность задания нескольких циклов

Есть

Поставляется изготовленным

Очень высокая

Разрабатываемое устройство

Аналоговые и цифровые элементы

Есть

Есть

Средне

Средняя



2. Разработка устройства

2.1 Разработка структурно-функциональной схемы

Микроконтроллер PIC18F452;

Пульт управления;

Индикаторный блок;

Два ключа;

Разъем для подключения устройства к генератору стабильного тока;

Разъем для подключения аккумулятора к устройству.

Микроконтроллер служит для обработки сигналов поступающих с пульта управления, снятия и занесения в память значения напряжения на аккумуляторе. Он обрабатывает полученные данные и в зависимости от них соединяет аккумулятор с питанием или землей через резистор. Также он предназначен для вывода информации о напряжении на аккумуляторе на семисегментный индикатор и включения определенного светодиода в зависимости от текущего цикла.

Пульт управления представляет из себя пять кнопок, которые отдают следующие команды микроконтроллеру:

а)      Автоматический режим (режим заряда или разряда «выбирает» микроконтроллер руководствуясь текущим и предыдущим значением напряжения на аккумуляторе). Если не нажата эта кнопка - действует ручной режим;

б)      Режим заряда (отдает микроконтроллеру команду заряжать аккумулятор; недоступно в автоматическом режиме);

в)      Режим разряда (аналогично предыдущему пункту);

г)       Вывод на семисегментный индикатор текущего значения напряжения на аккумуляторе;

д)      Вывод на семисегментный индикатор времени прошедшего с момента начала заряда / разряда аккумулятора.

Два ключа, реализованные на транзисторах, подают на аккумулятор напряжение питания для его заряда, или соединяют его через резистор с землей для разряда. Открытием-закрытием ключей управляет микроконтроллер.

Индикаторный блок состоит из семисегментного индикатора и трех светодиодов разного цвета свечения.

На семисегментном индикаторе отображается текущее значение напряжения на аккумуляторе или время, прошедшее с момента начала заряда / разряда аккумулятора. На индикатор эта информация поступает с микроконтроллера.

Три светодиода уведомляют пользователя о текущем режиме:

Красный - режим заряда;

Желтый - режим разряда;

Зеленый - бездействие устройства.

Светодиоды подключены к микроконтроллеру и включаются по его команде.

Схема электрическая структурная изображена на ДП.44.23.01.01.03-347/13.Э1 и на рисунке 4.

Рисунок 4 - Структурная схема устройства для тренировки аккумулятора

2.2 Выбор элементной базы

Схема основанная на базе микроконтроллера более гибкая, чем схема на базе аналоговых элементов. При такой схеме возможны любые настройки работы устройства без значительного пересмотрения устройства схемы.

В таблице 2 указаны основные характеристики микроконтроллера PIC18F452 [7].

Таблица 2 - Основные характеристики микроконтроллера PIC18F452

Параметр

PIC18F452

Тактовая частота

DC-40МГц

Память программ (байт)

32К

Память программ (команд)

16384

Память данных (байт)

1536

EEPROM память данных (байт)

256

Источников прерываний

17

Порты ввода-вывода

PORT A, B, C, D, E

Таймеры

4

Модуль CCP

2

Последовательные интерфейсы

MSSP, адресуемый USART

Параллельные интерфейсы

PSP

Модуль 10-разрядного АЦП

8 каналов


Сопротивление резистора R15, через который проходит ток разряда аккумулятора, рассчитывалось по формуле (1).

R=U/Iразр,                                                                                          (1)

где:- напряжение на аккумуляторе;разр - ток разряда.

Ток разряда 4,5 - вольтового аккумулятора должен быть около 90 мА, следовательно:

,5В/0,09А=50 (Ом)

Из имеющихся в продаже резисторов максимально близким по номинальному сопротивлению являются резисторы с сопротивлением 51 Ом.

Мощность резистора рассчитывается по формуле (2).

P=I2R                                                                                             (2)

.092*51=0,4131Вт

Подходят резисторы мощностью 0,5Вт и выше. Был выбрал резистор CF-50 - 0,5 - 51 Ом +5%.

Остальные резисторы рассчитывались аналогично.

2.3 Разработка схемы электрической принципиальной

Электрическая принципиальная схема устройства для тренировки аккумулятора приведена на чертеже ДП.44.23.01.01.03-347/13.Э3.

В основу разработки электрической схемы положена структурная схема устройства, приведенная на чертеже ДП.44.23.01.01.03-347/13.Э1 и на рисунке 4.

Пульт управления представляет из себя пять тактовых кнопок SDTX-210-N соединенных с портом C микроконтроллера и с заземлением через резисторы CF-25 номиналом 430 Ом.

Индикаторный блок состоит из семисегментного индикатора HDSP-433G производства Agilent Led Display и трех светодиодов. Индикатор подключен восемью контактами (семь сегментов и точка) к порту B микроконтроллера через резисторы CF-25 и тремя контактами (управление каждой цифрой индикатора) к порту E.

.        Красный - L-1344IT

.        Желтый - L-1344YD

.        Зеленый - L-1344GT

Светодиоды подключены анодами к порту D микроконтроллера, а катодами через резисторы CF-25 соединены с землей.

Два ключа, соединяющие аккумулятор с источником питания / землей, реализованы на транзисторах VT1 - КТ816А и VT2, VT3 - КТ815Г.

Транзистор VT1 управляется аналоговым портом микроконтроллера через подстроечный резистор R6 - PV32P502, и в открытом состоянии пропускает через себя ток питания аккумулятора, тем самым обеспечивая его заряд.

Транзистор VT3 также управляется аналоговым портом микроконтроллера через подстроечный резистор R4 - аналог R6. При открытии транзистора VT3 происходит соединение базы транзистора VT2 через резистор R14 - CF-25 номиналом 430 Ом с землей, что обеспечивает его открытие протекание через него тока с аккумулятора через резистор R15 на землю. Таким образом производится разряд аккумулятора.

Резистор R1 - CF-25 номиналом 10 кОм, соединенный с источником питания и входным контактом микроконтроллера MCLR служит для устранения помех в контроллере мешающих его работе.

Кварцевый резонатор HC-49U подключен к выводам микроконтроллера OSC1 и OSC2.

3. Разработка конструкции устройства

3.1

Похожие работы на - Устройство для автоматизированной тренировки аккумуляторных батарей

 

Не нашли материал для своей работы?
Поможем написать уникальную работу
Без плагиата!
Без нейросетей!