Усилители постоянного тока

  • Вид работы:
    Практическое задание
  • Предмет:
    Информатика, ВТ, телекоммуникации
  • Язык:
    Русский
    ,
    Формат файла:
    MS Word
    2,3 Мб
  • Опубликовано:
    2013-08-31
Вы можете узнать стоимость помощи в написании студенческой работы.
Помощь в написании работы, которую точно примут!

Усилители постоянного тока

Министерство образования и науки РФ

НГТУ

Кафедра электропривода и автоматизации

промышленных установок






Электронные и микропроцессорные устройства

Лабораторная работа №2

«Усилители постоянного тока»


Факультет: ФМА

Группа: ЭМ-63

Студенты: Татарников А.Б.

Содзяк В.В.

Преподаватель: Cудак А.Г.





Новосибирск 2009г.

Цель работы

Изучить работу усилителей постоянного тока (УПТ) на транзисторах и на ИМС, снять амплитудные характеристики усилителей, определить дрейф нуля и коэффициент усиления по напряжению, провести сравнительный анализ УПТ.

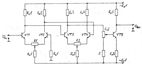
Схема УПТ на транзисторах


Схема УПТ на ИМС


Программа работы

Определение коэффициента усиления по напряжению.вх = 0,05 В;вых = -1,8 В;= 36.

Определение режима покоя усилителя

Транзистор

φкол (потенциал коллектора), В

φэ (потенциал эмиттера), В

φтр (разности потенциалов транзистора), В

VT1

-2.5

0.17

2,67

VT2

-2.5

0.14

2,64

VT3

-7.5

-2.5

5

VT4

-7.5

5

VT5

0.01

0.9

0,89


Определение дрейфа нуля

Eп1, В

8

12,8

16

Uвых, В

1,25

0

-1


Амплитудная характеристика усилителя

Uвх, мВ

11

15

20

25

Uвых, В

-1,3

-1,5

-2,7

-3,2

-3,4


Зависимость выходного напряжения от напряжения питания сети для УПТ на транзисторах

Исследование УПТ на ИМС.

Определение коэффициента усиления по напряжению.вх = 15 мВ;вых = -11 В;= 730.

Определение дрейфа нуля

Eп2, В

2

5

12,8

Uвых, мВ

0

-0,2

-0,5

усилитель ток транзистор напряжение

Зависимость выходного напряжения от напряжения питания сети для УПТ на ИМС

Вывод

В ходе лабораторной работы изучили работу усилителей постоянного тока на транзисторах и на ИМС, коэффициенты усиления по напряжению получили 36 и 730 соответственно.


Не нашли материал для своей работы?
Поможем написать уникальную работу
Без плагиата!
Без нейросетей!