Осесимметричная магнитная линза
Содержание
1.
Задание
.
Расчеты
.1
Расчет ампер-витков и обмотки
.2
Выбор конструкции линзы и расчет толщины железа необходимой для обеспечения в
нем заданной магнитной индукции
.3
Расчет выделяемой мощности
.4
Распределение температур
.5
Расчет водяного охлаждения
Список
используемой литературы
1. Задание
Разработать конструкцию осесимметричной
магнитной линзы для электронов с энергией 2 (МэВ). Фокусное расстояние 10 (см);
радиальная апертура 2 (см). Рассчитать сечение магнитопровода, подобрать обмотку,
провести тепловой расчет. Разработать общий вид и рабочие чертежи трех деталей.
2. Расчеты
.1 Расчет ампер-витков и обмотки
Количество ампер-витков линзы Iw
равно:
m0 =9.1∙10-31
(кг)
U0=2∙106(В)
R=15 (мм)
f=100 (мм)
e=1.6∙10-19(Кл)
=4П∙10-7(Г/м)
с=108(м/с)
В этом расчете был использован
коэффициент 0.7 для учета наличия магнитопровода.
К числу получившихся ампер-витков
должна быть добавлена некоторая величина, необходимая для проведения магнитного
потока через железо магнитопровода.
Теперь необходимо определить
величину рабочего тока для определения габаритов катушки и подбора обмотки.
Примем рабочий ток равным I=1000(А)
Тогда количество витков в катушке
составляет:
итого в катушке семь витков.
Так как наше устройство работает в
режиме большого постоянного тока, то сразу предполагая принудительное водяное
охлаждение, подберем шину обмотки.
В качестве материала обмотки возьмем
медь. Задаваясь плотностью тока j=10 (А/мм2), определим
Sшины.
Выберем стандартную шину 10*10 (мм2)
с внутренним диаметром 4 (мм)
aшины=10 (мм)шины=4 (мм)
Всего
в обмотке 7 витков водоохлаждаемой шины. Между шинами заливается, компаунд
шириной
Следовательно
ширина одного витка составляет:
Горизонтальная
ширина всей обмотки составляет
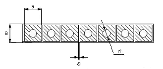
Рис 1. Обмотка.
.2 Выбор конструкции линзы и расчет
толщины железа необходимой для обеспечения в нем заданной магнитной индукции
Bg=1 (Тл)
,
=20(мм) ,
=10(мм)
Из формулы расчета толщины железа
ярма видно, что при увеличении толщины железа
Bg -
уменьшается.
Примем
равным 5.5
(мм).
Конструкцию линзы выберем самую
распространенную:
Рис 2.Конструкция линзы.
2.3 Расчет выделяемой мощности
осесимметричный магнитный линза
электрон
Всего в обмотке семь витков, средний радиус
обмотки - 1.5 (см), тогда длина одного витка:
Длина всей обмотки:
Удельное сопротивление меди при
температуре 37 градусов Цельсия составляет:
Теперь, зная сопротивление обмотки и
протекающий по ней ток, определим мощность, выделяемую в обмотке.
2.4 Распределение температур
Рис 3. Распределение температур
Сначала определим площадь
поверхности охлаждения Sохл:
D=4.1 (см) -
полный вертикальный размер линзы.
B=8.6 (см) -
полный горизонтальный размер линзы.

Разрешая уравнение 6.84(Персов) ,
находим tпов :
Определим наибольший перепад по оси
х при условии, что тепло распространяется только вдоль этой оси.
- половина горизонтальной ширины
катушки.
коэффициент теплопроводности
изоляции - компаунда ЭПК-4.
-
- радиус внутренней цилиндрической
поверхности линзы
- толщина изоляции.
- толщина железа.
- эквивалентный коэффициент
теплопроводности обмотки в осевом направлении x;
- коэффициент теплопроводности
железа магнитопровода;
где
- коэффициент укладки шины, в нашем
случае равен единице,
-
коэффициент разбухания шины: равен 1, т.к. шина не разбухает и не сжимается.
Найдем эквивалентный коэффициент
теплопроводности обмотки в осевом направлении:
Определим наибольший перепад по оси
r при условии, что тепло распространяется только вдоль этой оси.
таким образом эквивалентные
коэффициенты теплопроводности катушек в осевом и радиальном направлениях равны
.
- ширина ярма.
2.5 Расчет
водяного охлаждения
Проведем теплогидравлический расчет
канала охлаждения обмотки. Зададимся разностью между максимальной температурой
обмотки и температурой окружающей среды
обм - tсреды=40.
Предполагаем, что температура
окружающей среды и температура теплоносителя на входе равны 20 oC.
Определим скорость движения
теплоносителя (воды) на участке охлаждения:
- площадь поперечного канала.
- площадь поверхности теплообмена.
(кг/м3) - плотность
теплоносителя.
(Вт с/кг К) - удельная теплоемкость
носителя.
Теперь можно определить расход воды
Определим теперь разницу давлений
воды между входом и выходом («потерю напора») для обмотки.
где
- скорость движения теплоносителя,
на каждом из
протяженных
участков канала охлаждения;
- скорость движения теплоносителя,
на участке каждого из
местных
сопротивлений;
и
- соответственно длина и
гидравлический диаметр, каждого из протяженных участков канала;
- безразмерный коэффициент
сопротивления трения на
-м
протяженном участке канала охлаждения;
- безразмерный коэффициент местного
сопротивления на
-м местном
сопротивлении.
Обмотка осесимметричной линзы
состоит из медной шины прямоугольного сечения с размерами 10x10 (мм),
имеющей отверстие для охлаждения d=4 (мм). Обмотка имеет 7 круговых
витков, равномерно распределенных по всей горизонтальной длине линзы. Принимая
во внимание отсутствие резких неоднородностей, сделаем вывод об отсутствии
потерь на локальных сопротивлениях (второе слагаемое отсутствует).
Для определения
вычислим
число Рейнольдса
Для воды n - коэффициент кинематической
вязкости (n=0.659*10-6м2/с).
Рассмотрим случай, когда
шероховатость канала
- чистое
точение. Вычислим параметр шероховатости канала:
Теперь по графику на Рис 4.
определим безразмерный коэффициент сопротивления трения -
.
Согласно графику
0.04
Рис 4. График распределения
.
Список используемой литературы
1. Б.З.
Персов, «Расчет и проектирование экспериментальных установок», Москва-Ижевск
2004, «Институт компьютерных исследований»
2. С.С.
Кутателадзе, В.М. Боришанский «Справочник по теплопередаче», Ленинград 1958,
«Государственное энергетическое издательство».
. А.Г.
Сливинская «Электромагниты и постоянные магниты», Москва 1972, «Энергия».