Расчет надежности системы телемониторинга
Московский
государственный университет путей сообщения (МИИТ)
Кафедра:
«Автоматика, телемеханика и связь на железнодорожном транспорте»
Курсовой
проект
по
дисциплине «Автоматика, телемеханика и связь»
На
тему:
«Расчет
надежности системы телемониторинга»
Выполнил ст. гр. АТС-311
Щавелев О.В.
Проверил преподаватель:
Шаманов В.И.
Москва
2011
Введение
Системы СЖАТ (системы
железнодорожной автоматики и телемеханики) предназначены для регулирования
движения поездов с целью решения таких важных задач, как обеспечение
безопасности движения поездов и повышение эффективности перевозочного процесса.
Уровень надежности СЖАТ непосредственно влияет на безопасность движения,
повышает пропускную способность участков и участковую скорость, что приводит к
снижению себестоимости перевозок. Кроме того, внедрение этих систем уменьшает
штат эксплуатационных работников, повышает культуру труда, исключает ряд
железнодорожных профессий с наиболее тяжелыми и опасными условиями труда. В
процессе эксплуатации устройства и системы сигнализации, централизации и
блокировки являются инструментом управления перевозочным процессом, поэтому на
всех этапах жизненного цикла этих устройств - от разработки до обеспечения
функционирования - к ним предъявляются повышенные требования, как в области
надежности, так и в области обеспечения безопасности движения поездов.
Исходные данные
Вариант задания определяется по двум
цифрам: q=1, p=23.
Технические условия работы системы:
Система включает в себя передающую
аппаратуру системы телемониторинга, а также аппаратуру обслуживаемых (ОУП) и
необслуживаемых (НУП) усилительных пунктов.
Аппаратура в пунктах НУП и ОУП
работает в нормальных условиях эксплуатации.
Технические требования к
рассчитываемой системе
. Ненадежные устройства могут резервироваться.
. Выбранный метод повышения
надежности резервируемого элемента должен быть обоснован расчетом.
Исходные данные.
. Длины кабельных линий связи
между ОУП, км:1=p+60q=83;2=p+70q=93;3=p+85q=108.
. Длина магистрального кабеля
от ОУП-3 до приемного пункта телемониторинга (ПТ), км:4=7p+60q=221.
Вариант показателей надежности:
для контрольной аппаратуры:
Станция 1
параметр потока отказов ωАК= 14∙ 10-6 ч-1;
время восстановления ТВАК=1,9
ч;
Станция 2
параметр потока отказов ωАК= 18∙ 10-6 ч-1;
время восстановления ТВАК=1,8
ч;
- для аппаратуры ОУП и НУП:
время восстановления ТВНУП=
2,0 ч;
время восстановления ТВОУП=1,5
ч;
параметры потока отказов ωНУП=29∙ 10-6 ч-1;
параметры потока отказов ωОУП=13∙ 10-6 ч-1;
- для магистрального кабеля связи:
удельный параметр потока отказов ωМК= 0,29 ∙ 10-6 ч-1 ∙к-1;
время восстановления ТВМК=2,9
ч.
Методика выполнения курсового
проекта
При расчетах учитывается, что время
восстановления устройств автоматики и связи намного меньше длительности их
средней наработки на отказ. Это позволяет использовать следующие формулы,
обеспечивающие достаточную для инженерных задач точность расчетов заданных
показателей надежности.
Интенсивность отказов i - го
устройства
где 

количество элементов j-го
типа в устройстве;


количество типов
элементов в i - ом устройстве;

интенсивность
отказов элемента j - го типа в устройстве.
Суммарный параметр
потока отказов i -х устройств (при 
= 
)
где 

количество i -х
устройств в системе.
Средняя наработка на отказ i -х
устройств
Вероятность безотказной работы i
-х устройств за время t
Среднее число отказов i
-х устройств за время 

(5)
Коэффициент готовности i
-х устройств в системе
Коэффициент простоя i
-х устройств в системе
Время простоя i -х
устройств в системе за время t

. (8)
При расчетах показателей
надежности принимается, что длительность месяца составляет 730 ч, а
длительность года 
8760 ч.

. (10)
В курсовом проекте
считается, что все магистральные кабели связи имеют одинаковую безотказность.
1. Расчет показателей
надежности аппаратуры контроля на станции
Необходимо рассчитать параметры
надежности аппаратуры контроля на станции 1 при следующих данных: средний параметр
потока отказов ωАК1= 17∙
10-6 ч-1, среднее время восстановления работоспособности
аппаратуры контроля ТВАК1=1,8 ч.
Средняя наработка на отказ
аппаратуры контроля по формуле (3):

8,2 года.
Вероятность безотказной
работы аппаратуры контроля за год по формуле (4):
Среднее количество
отказов аппаратуры контроля за год по формуле (5):
отказа.

Коэффициент готовности аппаратуры
контроля на станции по формуле (6):
.
Коэффициент простоя
аппаратуры контроля на станции по формуле (7):
.
Время простоя аппаратуры
контроля на станции за год по формуле (8):
Таблица 1 - Показатели надежности
устройств системы телемониторинга
Устройства ω
× ×10-6, ч-1 
ч
,
года
n
(8760),
отказовКгКпТп,
ч
|
за год
|
|
|
|
|
|
|
|
|
Аппаратура контроля: - на станции 1 - на станции 2
|
14 18
|
1,9 1,8
|
8,15 6,34
|
0,8846 0,8541
|
0,123 0,158
|
0,999973 0,999968
|
0,000027 0,000032
|
0,23 0,28
|
|
Аппаратура в НУП
|
29
|
2,0
|
3,94
|
0,7757
|
0,254
|
0,99994
|
0,00006
|
0,51
|
|
Аппаратура в ОУП
|
13
|
1,5
|
8,8
|
0,8924
|
0,114
|
0,99998
|
0,00002
|
0,17
|
Усилитель: - при
отсутствии резервирования - при нагруженном дублировании - при ненагруженном
дублировании - при ненагруженном троировании 6,134 7.53×10-7
- - 2,0 2,0 - - 18,6
-
,9477
-
,0537
,9999988
0,0000012
0,0107
|
|
|
|
|
|
|
|
|
Магистральный кабель в линиях связи: - номер 1 - номер 2 -
номер 3 - номер 4
|
0,24 0,27 0,31 0,64
|
2,9 2,9 2,9 2,9
|
4,5 3,9 3,2 3,5
|
0,8099 0,7896 0,7601 0,5704
|
0,211 0,236 0,274 0,561
|
0,99993 0,99992 0,999909 0,99981
|
0,00007 0,0008 0,000081 0,00019
|
0,61 0.68 0.8 1,63
|
|
Кабельные линии связи (с учетом надежности аппаратуры в НУП): -
номер 1 - номер 2 - номер 3 - номер 4
|
- - - -
|
- - - -
|
- - - -
|
- - - -
|
0,99974 0,99969 0,99963 0,99965
|
0,00026 0,00031 0,00037 0,00035
|
2,28 2,72 3,24 3,07
|
|
Кабельные линии связи: -между ОУП-1 и ОУП-3 -между ОУП-2 и ОУП-3
|
- -
|
- -
|
- -
|
- -
|
- -
|
0,9999998 0,99999977
|
0,0000002 0,00000021
|
0,00175 0,00183
|
|
Канал передачи информации: - между станцией 1 и ПТ - между
станцией 2 и ПТ
|
- -
|
- -
|
- -
|
- -
|
- -
|
0,99948 0,99947
|
0,00052 0,00053
|
4,56 4,64
|
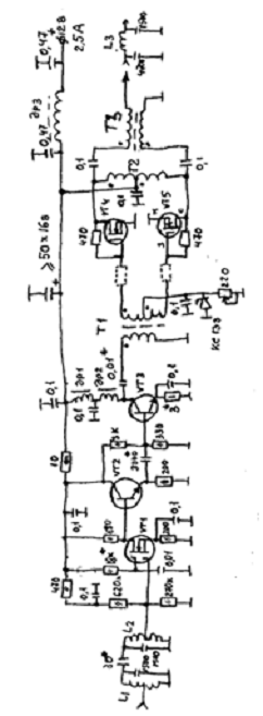
. Расчет показателей надежности
усилителей
Для расчета показателей надежности
усилителя заполняется таблица 1, в которой элементы выбранной схемы усилителя
группируются по их типам..
Вычисляем отказы для каждой группы
элементов и данные вычислений заносим в последнюю колонку таблицы 2. Затем по
формуле (1) вычисляется интенсивность отказов усилителя λУ (суммируются по вертикали численные значения последнего столбца
таблицы 2).
Таблица 2 - Показатели безотказности
элементов усилителя
|
Наименование и тип элемента
|
Количество элементов j-го типа, mj, шт
|
Интенсивность отказов элементов j-го типа, lj
×10-6 ч-1
|
Интенсивность отказов группы элементов j-го типа,  ч-1
|
|
Резисторы типа: МЛТ КЭВ
|
11 3
|
0,01 0,01
|
0,11 0,03
|
|
Конденсаторы типа: К10
|
22
|
0,012
|
0.264
|
|
Транзисторы типа: КП350Б КТ603Е КТ904 IRF510
|
1 1 1 2
|
0,29 0,3 0,3 0,3
|
0,29 0,3 0,3 0,6
|
|
Микросхемы типа:
|
0
|
0
|
0
|
|
Диоды: КС113
|
1
|
0,07
|
0,07
|
|
Трансформатор: Межкаскадные Силовой
|
2 1
|
0.11 1,7
|
0,22 1,7
|
|
Катушки индуктивности STR
|
6
|
0,5
|
3,0
|
|
Соединения паяные
|
11
|
0,001
|
0,011
|
|
Интенсивность отказов элементов усилителя λу
|
6,134
|
3. Расчёты для выбора способа
повышения надёжности усилителей
В качестве резервных усилителей
используются усилители того же типа, что и основной. В курсовой работе
рассчитываются нагруженное резервирование усилителей кратностью m=1 по схеме,
показанной на рис.2, а также ненагруженное резервирование с кратностью m=1 (на
рис.3) и кратностью m=2 (на рис.4).
Рис.2. Схема нагруженного
дублирования усилителей
Коэффициент готовности усилителя при
нагруженном резервировании кратностью m = 1 находится по формуле
где КГУ

коэффициента готовности
усилителя.
Рис.3. Схема
ненагруженного дублирования усилителей
Рис.4. Схема
ненагруженного троирования усилителей
Для вычисления
коэффициента готовности резервированных усилителей в рассматриваемых условиях
при использовании ненагруженного резервирования кратностью m используется
формула

. (11)
Наиболее эффективный
способ резервирования выбирается по наименьшему времени простоя за год.
Параметр потока отказов для наиболее эффективного способа резервирования вычисляется
по формуле
(12)
Параметр потока отказов
переключателя
Время восстановления
переключателя
Коэффициент готовности
переключателя по формуле (6):
Расчёт с использованием
нагруженного дублирования.
Коэффициент готовности
усилителя при нагруженном дублировании кратностью m=1 находим по формуле (10):
Коэффициент простоя
усилителя по формуле (7):
Время простоя усилителя
за год по формуле (8):
. Расчёт с
использованием ненагруженного дублирования
Коэффициент готовности
усилителя при ненагруженном дублировании кратностью m=1 находим по формуле
(11):
Коэффициент простоя
усилителя при ненагруженном дублировании кратностью m=1 находим по формуле (7):
Время простоя усилителя
при ненагруженном дублировании m=1 за год по формуле (8):
Расчёт с использованием
ненагруженного троирования.
Коэффициент готовности
усилителя при ненагруженном троировании кратностью m=2 находим по формуле (11):
Коэффициент простоя
усилителя при ненагруженном троировании кратностью m=2 находим по формуле (7):
Время простоя усилителя
при ненагруженном троировании m=2 за год по формуле (8):
Наименьшая величина
времени простоя за год - при нагруженном дублировании.
Находим параметр потока
отказов при нагруженном дублировании усилителей по формуле (12):
Средняя наработка на
отказ усилителя при нагруженном дублировании по формуле (3):
Вероятность безотказной
работы усилителя при нагруженном дублировании за год по формуле (4):
Среднее количество
отказов усилителя при нагруженном дублировании за год по формуле (5):
.
Результаты расчётов
коэффициентов готовности, простоя и времени простоя для всех типов
резервирования занесены в таблицу 1.
. Расчёт показателей
надёжности аппаратуры необслуживаемых и обслуживаемых усилительных пунктов
По исходным данным
(стр.4) с использованием формул (3) - (8) рассчитаны показатели надёжности
аппаратуры НУП и ОУП. Ход расчётов в работе не представлен. Результаты расчётов
занесены в таблицу
Найденное ранее
численное значение коэффициента готовности кабеля для соответствующей линии
связи берётся из таблицы 1. Далее по формулам (7) и (8) вычисляются
коэффициенты простоя и время простоя за год этих линий связи. Результаты
вычислений занесены в таблицу 1.
6. Расчёт показателей
надёжности каналов передачи информации
железнодорожная
автоматика телеметрический надежность
Коэффициенты простоя и
время простоя этих каналов за год вычислены по формулам (7) и (8). Результаты
расчётов занесены в таблицу 2. Ход расчётов по пункту 10 не представлен.
Выводы по работе
В данной курсовой работе
были произведены расчёты различной аппаратуры системы телемониторинга.
Усилители в НУПах без использования резервирования имеют время простоя
Тп=0,09477 ч за год. С использованием дублирования и троирования время простоя
уменьшается до
и
соответственно.
Закольцованность кабельных линий связи оказывает сильное влияние на надёжность
линий связи: для линий связи в целом между ОУП-1, ОУП-2 и ОУП-3 коэффициенты
готовности равны соответственно 0,9999998и 0,9999998. Таким образом,
закольцовывание сильно повышает надёжность каналов передачи информации между
ОУПами. Также на надёжность кабельных линий оказывает влияние и надёжность
аппаратуры в НУПах.
Список использованной
литературы
1. Шаманов В.И. Методические указания к курсовой работе
«Расчет системы телемониторинга» Москва, 2010. -19с.