Разработка структурной схемы пункта управления частотной системы ТУ-ТС

  • Вид работы:
    Курсовая работа (т)
  • Предмет:
    Информатика, ВТ, телекоммуникации
  • Язык:
    Русский
    ,
    Формат файла:
    MS Word
    870,57 Кб
  • Опубликовано:
    2013-05-11
Вы можете узнать стоимость помощи в написании студенческой работы.
Помощь в написании работы, которую точно примут!

Разработка структурной схемы пункта управления частотной системы ТУ-ТС

Введение

Телемеханика - как отдельная область науки и техники выделилась сравнительно не давно. Но не смотря на свою относительную «молодость» сразу же начала развиваться стремительными темпами, охватывая все новые и новые отрасли промышленности и сельского хозяйства. Сегодня, мы уже даже не замечаем того, с какой легкостью и не принужденностью мы пользуемся ее достижениями.

Система телемеханики получила значительное применение в производственной отрасли, именно здесь довольно остро стоит вопрос организации централизованного управления территориально удалённых систем. Это относится к железнодорожному транспорту, крупным промышленным предприятиям, энергетическим отраслям, а также многим другим сферам хозяйственной деятельности человека, где главным требованием является управление огромным объектом.

Наиболее важная роль отведена модулям телеуправления, модулям телесигнализации и так называемым контроллерам присоединения, которые относятся именно к энергетической отрасли, которая считается уникальной в отличие от других производственных отраслей. Поскольку нигде, ни в одном ином производстве нет такой чёткой и согласованной деятельности, которую можно заметить между поставщиками и потребителями готового продукта.

Поскольку продукцией является электроэнергия, то всех больших производителей и потребителей необходимо объединить в одну систему. Если рассматривать Россию, то в ЕЭС входят несколько сотен электростанций, которые находятся на территории 8 часовых поясов. Стоит отметить, что их суммарная мощность больше 170 ГВт. Для разрешения задач управления и координации энергетических систем необходима современная автоматика и телемеханика, которой под силу управлять огромным количеством одновременно протекающих процессов, каждый из которых требует тщательного анализа.

Поэтому рассмотрим, какие системы телемеханики используются в энергетике, и как их классифицируют. Сначала стоит разобраться, в чём различие между автоматикой и телемеханикой.

Основной особенностью систем телемеханики есть наличие устройств, которые обеспечивают передачу информации на значительные расстояния. Кроме того, необходимо обеспечить модулям телеуправления поступление полноценной информации. В условиях большой территориальной разобщённости элементов энергосистем и присутствия большого числа помех создаётся глобальная проблема для работы системы телемеханики.

В общем, системы телемеханики - это системы передачи информации. В них полная совокупность технических средств (модули телесигнализации, управления, модули дискретной сигнализации, модули телеизмерения и т.д.), которые призваны обеспечить передачу данных от источника к рабочему органу и выполнение всех необходимых требований.

Телемеханика выполняет функции управления режимами работы единой энергосистемы и обеспечение ее надежного функционирования и устойчивого развития. Телемеханика должна отвечать серьёзным требованиям к системам обмена технологической информацией.


1. Диспетчерское управление в электроэнергетике

Система оперативно-диспетчерского управления в электроэнергетике включает в себя комплекс мер по централизованному управлению технологическими режимами работы объектов электроэнергетики и энергопринимающих установок потребителей в пределах Единой энергетической системы России и технологически изолированных территориальных электроэнергетических систем, осуществляемому субъектами оперативно-диспетчерского управления, уполномоченными на осуществление указанных мер в порядке, установленном Федеральным законом «Об электроэнергетике». Оперативное управление в электроэнергетике называют диспетчерским, потому что оно осуществляется специализированными диспетчерскими службами. Диспетчерское управление производится централизованно и непрерывно в течение суток под руководством оперативных руководителей энергосистемы - диспетчеров. Настоящие Правила определяют порядок оперативно-диспетчерского управления, осуществляемого субъектами оперативно-диспетчерского управления в Единой энергетической системе России и технологически изолированных территориальных электроэнергетических системах (энергосистемах).

Оперативно-диспетчерское управление в энергосистемах (Единой энергетической системе России и технологически изолированных территориальных электроэнергетических системах) осуществляется посредством централизованного круглосуточного и непрерывного управления взаимосвязанными технологическими режимами работы объектов электроэнергетики и энергопринимающих установок потребителей электрической энергии, образующими в совокупности электроэнергетические режимы соответствующих энергосистем. Управление электроэнергетическим режимом энергосистемы может осуществляться одним субъектом оперативно-диспетчерского управления или несколькими субъектами оперативно-диспетчерского управления, находящимися в соподчинении, то есть являющимися вышестоящими и нижестоящими по отношению друг к другу.

Вышестоящим субъектом оперативно-диспетчерского управления является организация, зона диспетчерской ответственности которой включает зоны диспетчерской ответственности иных субъектов оперативно-диспетчерского управления, являющихся нижестоящими по отношению к данной организации. Вышестоящий субъект оперативно-диспетчерского управления вправе давать соответствующим нижестоящим субъектам оперативно-диспетчерского управления обязательные для исполнения диспетчерские команды и распоряжения. В пределах Единой энергетической системы России вышестоящим субъектом оперативно-диспетчерского управления по отношению к другим субъектам оперативно-диспетчерского управления выступает системный оператор.

Субъект оперативно-диспетчерского управления осуществляет управление электроэнергетическим режимом энергосистемы в закрепленной за ним зоне диспетчерской ответственности через один или несколько диспетчерских центров, за каждым из которых закрепляет соответствующую операционную зону. В случае если субъект оперативно-диспетчерского управления имеет только один диспетчерский центр, то закрепленная за ним операционная зона должна совпадать с зоной диспетчерской ответственности субъекта оперативно-диспетчерского управления.

Системный оператор (в технологически изолированной территориальной электроэнергетической системе - соответствующий субъект оперативно-диспетчерского управления) определяет в закрепленной за ним зоне диспетчерской ответственности структуру диспетчерских центров, включая их уровни и соподчиненность. При этом в качестве вышестоящих диспетчерских центров определяются диспетчерские центры, в операционные зоны которых входят операционные зоны иных диспетчерских центров, являющихся нижестоящими по отношению к данным диспетчерским центрам.

Территории в пределах Единой энергетической системы России, в которых на дату вступления в силу настоящих Правил оперативно-диспетчерское управление осуществлялось акционерными обществами энергетики и электрификации (их дочерними или зависимыми обществами или правопреемниками в части осуществления управления технологическими режимами работы принадлежащих иным лицам объектов электроэнергетики), в уставном капитале которых доля Российского акционерного общества «ЕЭС России» на указанную дату составляла менее 25 процентов, являются зонами диспетчерской ответственности соответствующих акционерных обществ энергетики и электрификации (их дочерних или зависимых обществ или правопреемников).

2. Применение систем телемеханики в управлении электроэнергетикой

диспетчерский приемный передающий телесигнализация

Большая энергетика - это уникальная производственная отрасль. Ни одно другое производство не требует столь четкой, скоординированной и согласованной работы всех поставщиков и потребителей продукции. Когда продукцией является электроэнергия, все крупные генерирующие предприятия и конечные потребители должны быть интегрированы в единую синхронную энергетическую систему. ЕЭС России объединяет сотни электростанций на территории восьми часовых поясов, общая установленная мощность которых превышает 170 ГВт.

Задачи управления режимами работы единой энергосистемы и обеспечение ее надежного функционирования и устойчивого развития предъявляют серьезные требования к системам обмена технологической информацией, которые в профессиональной среде принято называть системами телемеханики. Системный оператор единой энергетической системы России, осуществляющий функции диспетчерско-технологического управления, четко регламентирует основные технические и функциональные характеристики систем обмена технологической информацией для всех участников балансирующего рынка электроэнергии.

Применение автоматики и телемеханики, упрощает конструкцию машин, резко сокращает численность обслуживающего персонала, расход энергии и т.п. Давая требуемую точность работ и высокое качество изделий, автоматика обеспечивает необычайную связанность и непрерывность технологических процессов, возможность регулировать производство в зависимости от термических, механических, физических, химических и других свойств, без вмешательства человека. Она чрезвычайно упрощает управление машинами и агрегатами, допуская при этом управление на больших расстояниях, позволяет организовать усовершенствованный, точный централизованный контроль производства во всех его функциях и переходах.

Устройства телемеханики в комплексе с каналами связи образуют систему телемеханики (рис. 1), позволяющую выполнять указанные функции на расстоянии. Передача команд от оперативного персонала или автоматических управляющих устройств на управление оборудованием объектов электрической сети и передача информации о состоянии оборудования объектов в обратном направлении осуществляются автоматически через канал связи.

Системы ТМ, как правило, включают в себя устройства циклического опроса объектов, сравнения измеряемых величии с заданными, контроля за режимом работы оборудования и исправностью собственно системы телемеханики, а также передачи команд управления оборудованием и проверки их выполнения и т.д., что позволяет диспетчеру иметь оперативную информацию о режиме сети и при необходимости активно вмешиваться в его изменение.

Рис. 1. Схема системы управления с помощью средств телемеханики с двусторонней передачей сообщений

Принято говорить о телеуправлении (ТУ), если из пункта управления (ПУ) или диспетчерского пункта на удаленные объекты с помощью устройства телемеханики передаются команды на изменение оперативного состояния оборудования. Если информация об оперативном состоянии оборудования контролируемого объекта (КП) передается в обратном направлении, то говорят о телесигнализации и телеизмерении (ТС и ТИ). В зависимости от выполняемых функций устройства соответственно называются устройствами ТУ, ТС и ТИ. Для сокращения числа каналов связи широко используются комплексные системы телемеханики, в которых устройства ТУ-ТС объединяются с устройствами ТИ. Это достигается уплотнением каналов связи, организуемых в электрических сетях по воздушным и кабельным линиям электропередачи и кабельным линиям связи, а также применением радиоканалов.

Классификация систем телемеханики проводится по многим признакам. Применяются системы с амплитудной, частотной и фазовой модуляцией, а также с время-импульсной и широтно-импульсной модуляцией импульсного тока. Различительными параметрами в них служат соответственно амплитуда, частота и фаза переменного тока или интервал времени между импульсами или длительностью импульсов передаваемых и принимаемых сигналов по каналу связи.

По характеру передаваемых сообщений системы телемеханики разделяются на системы для передачи непрерывных и дискретных сообщений. Последние, в частности, перелают дискретные команды ТУ (включить, отключить) или сообщения о состоянии оборудования (включено, отключено), а также дискретные значения измеряемых величин.

По характеру расположения контролируемых объектов системы телемеханики разделяются на системы для сосредоточенных и рассредоточенных объектов, при этом рассредоточение объектов может быть вдоль общей линии связи или по площади. Применительно к электрическим сетям в основном используются рассредоточенные системы телемеханики, которые предусматривают подключение к общему каналу связи нескольких КП.

Практическое использование телемеханики в электрических сетях связано с применением комплекса средств диспетчерского и технологического управления: связи, сигнализации и измерений, устройств отображения информации и устройств энергопитания этого комплекса и диспетчерского пункта в целом.

. Электронная система телеуправления типа ЭСТ-62

Для телемеханизации системы электроснабжения различных объектов энергетики применяют в основном электронную систему телеуправления типа ЭСТ-62. Она состоит из комплекта с частотным разделением каналов ЭСТ (Ч), комплекта аппаратуры с временным разделением каналов ЭСТ (В) и аппаратуры частотных каналов связи, рассчитанной на образование 19 независимых каналов в тональном и надтональном диапазонах. В комплект аппаратуры входят симплексные и дуплексные усилители, при использовании которых может быть обеспечена дальность передачи 300-500 км.

Аппаратура ЭСТ (Ч) предназначена для пунктов с большим объемом передаваемой информации. Она позволяет управлять 15 контролируемыми пунктами (КП) по 68 двухпозиционных команд и 121 телесигналу на каждом. Эта аппаратура в основном предназначена для телеуправления тяговыми подстанциями и крупными станциями.

Система ЭСТ (Ч) включает в себя аппаратуру диспетчерского пункта (ДП) и контролируемых пунктов (КП). Устройство телеуправления имеет общий передающий полукомплект ДП и индивидуальные полукомплекты КП, а устройство ТС - индивидуальные передающие полукомплекты КП и приемные полукомплекты ДП (рис. 2). В состав аппаратуры, входят щит с устройствами отображения информации и пульт-манипулятор, обеспечивающий передачу команд непосредственно от диспетчера.

Передача сигналов телеуправления осуществляется по одному общему частотному каналу, а передача извещений-по индивидуальным частотным каналам (частотное разделение). Система ЭСТ (Ч) непрерывного действия выполнена по распределительному принципу с временным импульсным признаком и тактовой синхронизацией.

В устройстве телеуправления применено многоступенчатое избирание (четыре ступени). Серия телеуправления состоит из 31 импульса и содержит элементы адреса (выбор КП), группы, операции и объекта, а также фразирующий импульс. Выбор адреса осуществляется кодом на одно сечение C26 (два длинных импульса из шести). Выбор группы производится одним длинным импульсом из четырех, операции - одним длинным импульсом из двух и объекта - одним из семнадцати (рис. 3, а).

Нормально передается только тактовая серия, содержащая короткие импульсы и один сверхдлинный фази-рующий. Этим осуществляется непрерывный контроль исправности канала и устройства. Если произошел сбой (рассинхронизация) на КП, то передается соответствующий сигнал на ДП. Передача команды осуществляется однократно при нажатии кнопки диспетчером. Первый импульс в рабочей серии передается дважды. Исполнение команды осуществляется после сравнения серий в приемных полукомплектах. Представленная на рис. 3, а серия соответсвует выбору 6-го КП, 3-го объекта, 4-й группы и операции «Включить» (ВК).

Рис. 2. Структурная схема системы управления ЭСТ(Ч)

Рис. 3. Код телеуправления (а) и телесигнализации (б) соответствует выбору 6-го КП, 3-го объекта, 4-й группы и операции «Включить» (ВК)

В устройстве телесигнализации применяется, прямое избирание. Серия ТС состоит из 63 импульсов и пауз. Каждый импульс и пауза в серии соответствуют определенному объекту, причем длинные импульсы ДИ или паузы ДП соответствуют одному состоянию объекта, а короткие - другому (например, соответственно отключенному и включенному). Последний, сверхдлинный импульс в серии - фразирующий. Скорость передачи в тракте телесигнализации составляет 28-30 импульсов в 1 с, в тракте телеуправления - 20 импульсов в 1 с. Время передачи приказа ТУ при этом равно 4-5 с (две серии), а серии ТС - 3-5 с.

4. Приемное устройство телесигнализации

В приемном устройстве телесигнализации (рис. 5) частотные импульсы из линии связи поступают на ЧМ приемник (ЧМПр), где преобразуются в серию прямоугольных импульсов и пауз. Из частотного приемника серия через линейный триггер ЛТ и блок синхронизации поступает на распределитель. Одновременно с линейного триггера импульсы поступают на блок контроля и защиты.

Распределитель переключается в соответствии с тактовой серией импульсов. Выходные цепи распределителя открываются только при приеме длинных импульсов (или пауз). Импульсы с распределителя поступают в запоминающее устройство. Блок контроля и защиты в течение всего цикла передачи осуществляет контроль получаемой тактовой серии. Если при передаче не возникало искажений, в конце цикла производится считывание информации с запоминающего устройства, которая и поступает на сигнальные элементы. Управление запоминающим устройством и сигнальными элементами осуществляется исполнительным блоком, который в свою очередь получает командные импульсы после проверки правильности передачи блоком контроля и защиты.

Распределитель выполнен по той же схеме, что и распределитель передающего полукомплекта (см. рис. 4). В выходных цепях его вместо контактов-датчиков включены обмотки записи магнитных элементов с прямоугольной петлей гистерезиса, выполняющих роль запоминающего устройства.

Рис. 4. Структурная схема распределителя устройства ТС КП

Распределитель применен матричный, состоящий из шестиразрядного двоичного счетчика и двухступенчатого параллельно-последовательного матричного дешифратора (матрицы А, А', Б, В и В' на рис. 4). Первая ступень дешифратора содержит два диодных дешифратора трехразрядного двоичного кода А и А' с прямыми выходами, аналогичный дешифратор с инверсным выходом Б и два последовательных матричных дешифратора В и В'.

Матрицы А, А' и Б имеют по восемь выходных цепей. Матрицы А и А' каждая в комбинации с матрицей Б образуют 64 выходные цепи. Таким образом, общее число выходных цепей -128. Матрица А включается в работу при импульсе, матрица А' - при паузе. Это осуществляется путем снятия в соответствующий момент времени запрещающего потенциала с шинки запрета.

В выходных цепях матриц В и В' осуществляющих контроль соответственно на импульсах и паузах тактовой серии, включены контакты-датчики телесигнализации, а в выходных цепях матрицы Б - трансформаторы Тр. При замкнутом контакте-датчике импульс тока через трансформатор Тр и формирующий каскад ФК поступает на блок кодирования.

Блок синхронизации и приема длинных импульсов и пауз состоит из триггера задержки ТЗД (рис. 6), элемента И-НЕ и датчика времени ДВ. Датчик времени (рис. 7, а) представляет собой трехразрядный двоичный счетчик на триггерах Т1 - ТЗ со схемой сброса, выполненной на транзисторных каскадах задержки Тз1, Тз2 и усилителе УС. Счетчик приводится в действие мультивибратором MB.

На вход счетчика поступают импульсы мультивибратора с постоянной частотой. Измерение времени осуществляется путем отсчета числа импульсов мультивибратора. Счетчик сбрасывается в нулевое положение в начале каждого импульса и паузы тактовой серии и начинает отсчет числа импульсов мультивибратора. Сброс счетчика осуществляется транзисторными каскадами задержки Тз1 или Тз2, воздействующими через схему ИЛИ на усилитель УС - соответственно на импульсе и паузе. Вначале импульса тактовой серии импульс, поступающий с линейного триггера, запускает каскад задержки Тз1, который на время разряда конденсатора С1 закрывается. При этом импульс с коллектора транзистора через схему ИЛИ поступает на усилитель, который сбрасывает счетчик в нулевое положение. После разряда конденсатора С1 каскад Тз2 открывается, снимая импульс сброса. Начинается отсчет импульсов. Аналогично работает каскад Тз2 на паузе.

Частота мультивибратора в приемном устройстве телесигнализации выбрана такой, что за время короткого импульса датчик времени успевает отсчитать не более одного импульса, на длинном импульсе - 3-4 импульса, а на сверхдлинном - 7 импульсов и более (см. временную диаграмму на рис. 7, б).

Рис. 5. Структурная схема устройства ТС ДП

Рис. 6. Блок синхронизации и приема длинных импульсов

Нормально серия импульсов с линейного триггера через схему И-НЕ поступает на вход счетчика распределителя СЧР (см. рис. 6), который при этом переключается. В момент, когда распределитель переходит в 63-ю позицию, импульс, поступающий со схемы И2, возбуждает триггер задержки, который выдает импульс, запирающий элемент И-НЕ. Поступление кодовой серии на счетчик распределителя прекращается. Если работа приемного устройства была синфазной, то с 63-й позицией распределителя должен был совпасть сверхдлинный фразирующий импульс. Датчик времени в этом случае доходит до 7-го положения и через схему совпадений И1 осуществляет сброс триггера задержки. Так как сброс триггера ТЗД происходит до окончания сверхдлинного импульса, то после его сброса транзистор схемы И-НЕ вновь открывается и счетчик распределителя переключается в 63-ю позицию. Этим восполняется недостающий в тактовой серии 64-й импульс.


Рис. 7. Датчик времени (а) и диаграмма его работы (б)

Первый импульс новой тактовой серии переключит счетчик распределителя в 1-ю позицию, и новый цикл работы устройства начнется синфазно с циклом передающего устройства телесигнализации. При рассинхронизации в 63-й позиции счетчика распределителя срабатывает триггер задержки, запирает схему И-НЕ и останавливает счетчик распределителя на этой позиции. Так как при рассин-хронизации сверхдлинный импульс не совпадает с 63-й позицией распределителя, то датчик времени не может сбросить триггер задержки. Сброс его произойдет только тогда, когда из линии придет сверхдлинный импульс, т.е. когда устройства войдут в синхронизм.

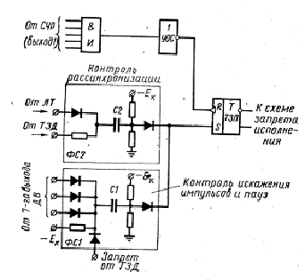
Рис. 8. Блок контроля и защиты

Прием длинных импульсов и пауз осуществляется этим же датчиком времени. На длинных импульсах (паузах) датчик доходит до 3-4-го положения. При этом срабатывает соответствующая схема совпадений (ИЗ или И4), настроенная на 3-й и 4-й выходы датчика времени, и открывает выходные цепи матрицы приема импульсов или матрицы приема пауз.


Рис. 9. Исполнительный блок

Блок контроля и защиты (рис. 8) осуществляет контроль искажения импульсов, контроль искажения пауз и контроль синхронизации. Импульсы со схем контроля поступают на триггер запрета ТЗП, который воздействует на схему управления усилителями, запрещающую работу исполнительных усилителей. Усилитель УОС осуществляет сброс триггера запрета после сбоя в начале новой серии и приводит в исходное состояние магнитное-запоминающее устройство.

При искажении импульсов и пауз в ненулевом положении распределителя (сброшен триггер задержки) появляется импульс (или пауза) длиннее длинного, что фиксируется датчиком времени импульсов, который доходит при этом до 7-го положения (или более). При этом происходит заряд конденсатора С1 импульсно-потенциальной схемы ФС1. При переходе датчика в следующее положение конденсатор С1 разряжается и срабатывает триггер запрета.

Контроль рассинхронизации осуществляется в нулевом положении распределителя при совпадении возбужденного положения ТЗД с появлением паузы. При этом происходит заряд конденсатора С2 импульсно-потенциальной схемы ФС2, а на последующем импульсе - его разряд, вызывающий срабатывание триггера запрета.


Рис. 10. Сигнальные элементы устройства ТС ДП

Усилители гашения и считывания работают не одновременно. Это необходимо для правильной работы сигнальных тиратронов, которые при каждом цикле сначала гаснут, а потом вновь зажигаются, если сохраняется прежняя информация.

Команду на усилители выдает датчик времени в 7-м положении, если возбужден триггер задержки (нулевое положение распределителя) и отсутствует сбой (ТЗП сброшен). Совпадение этих импульсов приводит к срабатыванию схемы И, открытию транзистора схемы НЕ1 и закрытию НЕ2. В результате срабатывает усилитель УГТ, осуществляя гашение тиратронов. Одновременно происходит заряд конденсатора усилителя УСЧ. После окончания импульса с 7-го выхода датчика времени схемы И и НЕ1 закрываются. Транзистор схемы НЕ2 открывается, запуская усилитель считывания. Таким образом, усилитель гашения тиратронов срабатывает на переднем фронте импульса, а усилитель считывания - на заднем. В случае сбоя от триггера запрета на схему И поступает импульс, запрещающий работу усилителей.

Если переключение распределителей происходило синхронно, то датчик времени выдает команды на усилители гашения и считывания.

Устройство отображения информации. В системе ТС принята мимическая сигнализация, при которой положение контролируемого объекта определяется по положению ключа управления на диспетчерском щите. Сигнальные лампы, вмонтированные в головку ключа, зажигаются при этом только в положении несоответствия - несоответствие положения ключа управления на щите положению объекта (рис. 10). Для получения сигнала несоответствия применены два магнитных элемента, один из которых 1д перемагничивается в состояние 1 при отключенном объекте (длинный импульс или пауза в серии), другой 1к - при включенном (короткий импульс или пауза). При однопозиционных объектах (общеподстанционная сигнализация - работа защиты, исчезновение напряжения собственных нужд и т.п.) применяется по одному магнитному элементу, перемагничивающемуся в состояние 1 при приеме длинных импульсов или пауз. В начале каждого цикла в 1-й позиции распределителя магнитные элементы запоминающего устройства усилителем общего сброса УОС приводятся в исходное состояние, при котором в магнитном элементе длинного импульса записан нуль, а короткого импульса - единица.

Если же в каком-либо положении распределителя приходит длинный импульс или длинная пауза, то импульсом, получаемым от распределителя, производится запись единицы на элементе длинного импульса (паузы) и стирание единицы с элемента короткого импульса (паузы). Таким образом, в конце цикла единица будет записана только на тех элементах короткого импульса, где в процессе цикла отсутствовал длинный импульс (пауза).

При считывании записи импульс от усилителя считывания УСЧ через контакт квитирующего ключа КЛ (в положении несоответствия) поступает на управляющий электрод тиратрона СТ и поджигает его. Если исчезает несоответствие (переключение объекта или квитирование сигнала), тиратрон гасится с помощью усилителя УГТ, который создает гасящий импульс в анодной цепи питания одновременно всех тиратронов. Командный импульс на УГТ выдается непосредственно перед командным импульсом считывания со сдвигом во времени.

Таким образом, каждый нормальный цикл передачи (отсутствие сбоя) сопровождается проверкой синхронизации, гашением тиратронов, ранее находившихся в положении несоответствия, и зажиганием тиратронов при вновь появившемся или повторном несоответствии. Тиратроны гаснут примерно на 20 мс, и глазом это практически не ощущается.

В случае сбоя (рассинхронизация, искажение импульсов или пауз в серии) срабатывает триггер ТЗП (см. рис. 8), который запрещает работу исполнительных усилителей. При этом на щите сохраняется информация, существовавшая до сбоя, и одновременно зажигается лампа сбоя ТС. В начале нового цикла в первом положении распределителя усилитель УОС сотрет ложную запись и подготовит запоминающее устройство к приему новой информации.

5. Передающее устройство телеуправления

Передающее устройство телеуправления (рис. 11) состоит из генератора тактовых импульсов ГТИ, логического блока, распределителя, блока кодирования БК, матричных шифраторов выбора пункта, операции, группы и объекта, блока управления передачей БУП, ключей управления КУ, передатчика ЧМП.

Рис. 11. Структурная схема устройства ТУ ДП

Взаимодействие распределителя, мультивибратора, логического блока и блока кодирования в устройстве телеуправления осуществляется так же, как и в устройстве телесигнализации. Вместе с тем в устройстве телеуправления имеется ряд особенностей. Нормально оно передает холостую серию, состоящую только из коротких импульсов и пауз и одного сверхдлинного фразирующего импульса. Чтобы послать какую-либо команду, диспетчер должен нажать кнопку выбора пункта и операции и соответствующую кнопку объекта, находящиеся на пульте управления. Команда передается однократно. Для большей надежности серия кода передается дважды, после чего происходит сброс элементов, участвующих в образовании кода. Импульсы, образующие кодовую серию, поступают на блок кодирования с матричных шифраторов при совпадении импульсов, поступающих с кнопок управления и распределителя.

Рис. 12. Распределитель ТУ ДП

Распределитель (рис. 12) состоит в пятиразрядного двоичного счетчика матричного дешифратора двоичного диода. Шифратор имеет три части, отличающиеся схемным исполнением: шифраторы выбора КП и операции, выбора объекта и выбора группы. Импульсы на блоке кодирования появляются при совпадении импульсов, поступающих с шифраторов, и импульсов, поступающих с дешифра тopa распределителя. Функции схемы И в шифраторе выбора объекта осуществляются кнопками К1 - Кn (если имеется импульс на выходе распределителя и кнопка замкнута - импульс появляется на выходе шифратора).

Шифратор выбора КП (рис. 13) преобразует импульс, поступающий с кнопок выбора КП, в код C62. Так, при нажатии кнопки К2 (1-й КП, операция «Отключить») отрицательный потенциал поступает одновременно на выходы 1 и 2 шифратора. Так как импульсы выбора КП занимают 2-7-е места в серии, то во 2-й позиции распределителя на всех диодах двоичного дешифратора появятся отрицательные импульсы. Так как одновременно присутствует отрицательный потенциал на выходе 1 шифратора, то отрицательный потенциал проходит на выход 2 распределителя и далее на блок кодирования. При переключении счетчика в 3-ю позицию также происходит совпадение импульсов распределителя и шифратора и вновь поступает импульс на блок кодирования (на рис. 13 показано штриховой линией), в результате чего происходит удлинение 2-го и 3-го импульсов серии. Так как кнопки выбора КП являются одновременно и кнопками выбора операции, то отрицательный импульс с кнопки поступает также на выход ОТ, в результате чего произойдет удлинение 9-го импульса в серии.

Шифратор выбора объекта выполнен на контактах кнопок управления (рис. 14, а). Все объекты разбиты на четыре группы. С одной стороны контакты подключены к выходам 10-26 распределителя, с другой - к шинкам групп 1-4. Если на выходе дешифратора появился импульс, то при замкнутом контакте он поступит на соответствующую шинку. Эти же контакты используются и для выбора группы. Поэтому импульс с соответствующей шинки поступает с одной стороны на блок кодирования, а с другой - через формирующий каскад НЕ1-НЕ4 (рис. 14, б) на триггер выбора группы ТГР1 или ТГР4. Если был замкнут контакт объекта в первой группе, то импульс через транзисторный каскад НЕ1 поступает на триггер ТГР1 первой группы.

Рис. 13. Шифратор выбора КП

Кодирование импульсов выбора группы осуществляется на четырех позициях распределителя, следующих непосредственно после позиций, на которых производится выбор объекта (27-30-я позиции). При возбужденном триггере ТГР импульс поступает на резистор (Rl - R4) соответствующего выхода распределителя, чем обеспечивается разрешение на срабатывание данной схемы. В результате переключения счетчика в соответствующее положение на выходе схемы появляется отрицательный импульс, который поступает на блок кодирования. Блок кодирования аналогичен блоку кодирования передающего устройства ТС.

Рис. 14. Шифратор выбора объекта

Заключение

Последнее десятилетие характеризуется существенным совершенствованием систем телемеханики и расширением областей их применения. Это обусловлено новейшими достижениями микроэлектроники и вычислительной техники (микропроцессоров и микроЭВМ). По сравнению c предшествующими современные системы телемеханики (СТМ) более надежны в эксплуатации и обладают большими функциональными возможностями. Кроме традиционных функций: телeупрaвления (ТУ), телесигнализации (ТС) и телеизмерения (ТИ), они осуществляют сбор, передачу и воспроизведение статистической информации, производят предварительный ее отбор. образовывают сигналы, оптимальные для передачи по данному каналу связи, принимaют решения о0 управлении местной автоматикой. В оперативной работе сочетание современных систем телемеханики c дисплеями черно-белого и цветного изображения вместо мнемонических щитов или в дополнение к ним позволяет значительно повысить эффективность работы энергодиспетчера и другого оперативного персонала. Применение разработанных за последнее время более совершенных и на современной микроэлектронной основе систем телемеханики типов МРК-85, МСТ-95 и ЭЛОТ-2010 позволит на 15-20% уменьшить материалоемкость и габариты устройств при одновременном (почти двойном) увеличении информационной емкости по сравнению c эксплуатируемыми в настоящее время системами телемеханики типа ЭСТ-62 или «Лисна».

Литература

1. Бенешевич И.И., Лисицин В.М., Овласюк В.Я., Сухопрудский Н.Д., Шилов А.С. Под ред. Сухопрудского Н.Д. Основы автоматики, автоматизация и телеуправление устройствами энергоснабжения объектов. - М.: Энергия, 1975 г.

. Дмитриевский Г.В., Овласюк В.Я., Сухопрудский Н.Д. Автоматика и телемеханика электроснабжающих устройств. - М.: Энергия, 1982 г.

. Бакеев Е.Е., Корсаков Г.М., Овласюк В.Я., Сухопрудский Н.Д. Под ред. Сухопрудского Н.Д. Система телемеханики «Лисна» для энергетики. - М.: Энергия, 1979 г.

. ЦЭ МПС. Указание по монтажу, наладке и эксплуатации системы телемеханики «Лисна» и ЭСТ-62. - М.: Энергия, 1977 г.

. Носовский В.Е., Попов В.С. Техническое обслуживание электронных систем телемеханики ЭСТ-62 и «Лисна». - М.: Энергия, 1982 г.

. Чипышев К.В., Захаров В.Н. Техническое обслуживание каналов связи телемеханики в электроэнергетике. - М.: Энергия, 1984 г.

. Звенигородский И.С. Каналы связи телемеханики. - Л.: ГЭИ, 1960 г.

. Микроэлектронная система телемеханики МСТ - 95. Техническое описание А340.00.00.000 ТО. - М.: МЭЗ, 1996 г.

Похожие работы на - Разработка структурной схемы пункта управления частотной системы ТУ-ТС

 

Не нашли материал для своей работы?
Поможем написать уникальную работу
Без плагиата!
Без нейросетей!