Разработка системы подводного гидроакустического позиционирования нефтедобывающего комплекса

  • Вид работы:
    Дипломная (ВКР)
  • Предмет:
    Информатика, ВТ, телекоммуникации
  • Язык:
    Русский
    ,
    Формат файла:
    MS Word
    2,14 Мб
  • Опубликовано:
    2013-06-27
Вы можете узнать стоимость помощи в написании студенческой работы.
Помощь в написании работы, которую точно примут!

Разработка системы подводного гидроакустического позиционирования нефтедобывающего комплекса

Аннотация

Дипломный проект посвящен разработке системы подводного гидроакустического позиционирования нефтедобывающего комплекса.

Во введении производится обоснование необходимости использования гидроакустических средств для разработки нефтяных месторождений.

В первом разделе дипломной работы рассмотрены теоретические вопросы в области гидроакустического позиционирования.

Во втором разделе затрагивается проектная часть работы: принципы действия различных составляющих гидроакустической системы позиционирования, описание устройств, схемы.

В третьей части диплома разработан пьезоэлектрический преобразователь.

В процессе работы производятся конструкторские, технологические и прочие расчеты.

В последнем разделе производятся экономические расчеты по разработке данной системы.

В заключении произведен анализ целесообразности производства и использования данной ГСП.

Содержание

Введение

. Аналитическая часть

.1 Техническое обоснование проекта

.2 Акустические КБ-системы

.2.1 КБ - система с маяком

.2.2 КБ-система с приемоответчиком

.3 Акустические СКБ-системы

.4 Акустические ДБ - системы

.5 Акустические LUSBL-системы

.5.1 GIB-система

.6 Источники помех ГА

. Проектная часть

.1 Устройство гидроакустической системы

.2 Принцип действия системы позиционирования в нефтедобывающем комплексе

.2.1 Передача ГА сигналов по траектории прохождения бура

.3 Плавучая якорная система

.4 Придонная установка

. Разработка пьезоэлектрического преобразователя

.1 Выбор материала преобразователя

.2 Расчет активного элемента антенны

.2.1 Конструкция преобразователя

.3 Ультразвуковая кавитация

. Экономико-организационный раздел

Заключение

Список использованной литературы

Введение

В последние годы большим спросом стали пользоваться подводные работы с использованием систем подводного гидроакустического позиционирования (ГСП). Данные системы широко применяются при поиске углеводородов, находящихся на морском дне, укладке подводных трубопроводов, обследовании подводной части нефтедобывающих платформ и т.д. Интенсивность таких работ все время возрастает, охватывая уже не только мелководные, но и глубоководные районы мирового океана. И если на мелководье часто достаточно информации, полученной, например, при буксировке гидролокатора бокового обзора, то в более глубоких водах, оказалось необходимой более точная информация о положении подводного аппарата (ПА), проводящего работы. Именно для этих целей и используются системы подводной гидроакустической навигации. ГСП используются, как для определения координат неподвижного ПА, находящегося на морском дне, так и для определения координат движущегося ПА. ГСП представляют собой один или несколько стационарных передающих гидроакустических маяков, установленных на морском дне или судне носителе, маяк-ответчик на перемещающемся или стационарном объекте, ППА или гидрофон на судне-носителе и систему обработки и выдачи информации на борту судна-носителя. ГСП по своей сути является относительной системой координат с судном-носителем в центре отсчёта, при использовании системы GPS возможно позиционирования в абсолютных географических координатах.

В основе определения координат маяка-ответчика под водой лежат геометрические законы нахождения координат какой-либо точки по известным координатам трёх других точек, так называемых базисных точек. Расстояние между двумя точками базиса называется базисной линией. Длина базисной линии определяет алгоритм подсчёта координат и тип ГСП.

При практическом применении оказывается, что, чем меньше базисная линия, тем сильнее физическое воздействие качки и крена судна-носителя на
точность определения координат, поэтому для каждого типа ГСП существуют свои ограничения и рекомендуемые варианты использования. Ниже приводятся основные типы ГСП:

Различают следующие типы ГСП:

а) ГСП с длинной базисной линией (ДБ или LBL системы).

б) ГСП с короткой базисной линией (КБ SBL системы).

в) ГСП с ультракороткой базисной линией (СКБ или USBL системы)

г) ГСП комбинированного типа, например LUSBL система.

При выборе ГСП особое внимание уделяется повышению основных характеристик навигационных средств: точности, степени автоматизации, надежности, срока службы. Немаловажным для разработчиков также являются вопросы снижения стоимости проектирования и эксплуатации ГСП.

1. Аналитическая часть

.1 Техническое обоснование проекта

Гидроакустические волны - единственный вид энергонесущих колебаний, способных распространяться в воде на большие расстояния. При этом они могут достаточно эффективно отражаться от неоднородности (естественных и искусственных) в толще волы и границ раздела морской среды: «вода-дно», «вода-поверхность», «вода-лед». Этот физический феномен лежит в основе принципа действия различных гидроакустических систем, получивших широкое использование на флоте; на подводных лодках, надводных корабля, глубоководных аппаратах, а также в стационарных (береговых) системах. Эти средства позволяют решать задачи обнаружения, классификации, определения координат и параметров движения морских целей, слежения за ними с выдачей данных целеуказания оружию.

В связи с расширением поисков углеводородов под водой в сторону глубоководных районов потребовались более точные батиметрические измерения и обследования состояния морского дна. И если на мелководье для определения местоположения было достаточно информации, получаемой при буксировке гидролокатора бокового обзора или геофизического оборудования на кабеле, то в более глубоких водах, в которых теперь эксплуатируются подводные нефтяные и рудные месторождения, оказалось необходимым получить более точные данные о глубине и положении буксируемого устройства, используя гидроакустическую технику подводного позиционирования. Это связано с тем, что после обнаружения и выбора района для разработки, нужно иметь возможность возвратиться в ту же самую точку морского дна, например, для бурении разведочной скважины с целью определения мощности месторождения и возможной последующей операции - установки буровою кондуктора для того, чтобы начать бурение, не дожидаясь доставки платформы для добычи полезного ископаемого. Система подводного позиционирования позволит точно установить кондуктор и проверить его уровень и ориентацию морского дна перед началом бурения, эта же система может быть впоследствии использована для установки стального каркаса платформы и его дальнейших осмотров.

Системы подводного позиционирования могут применяться и для других задач (укладки подкидных трубопроводов, их обследования, засыпки траншей и т. п.,), причем не только для подводного, но и для надводного определения местоположения. В последнем случае их информация используется в системах динамического позиционирования, которые должны удерживать судно на месте при меняющихся внешних условиях, эта же информация оказывается необходимой и при обследованиях подводного трубопровода обитаемым или необитаемым подводным аппаратом, позволяя следить за кривизной пролегающего по дну трубопровода.

Навигационные задачи, решаемые с помощью систем подводного позиционирования, существенно шире задач, подпадающих в практике подпонятие «навигация», включая в себя:

а) сопровождение: например, сопровождение ПА судном-базой вдоль трубопровода или вокруг платформы;

б) позиционирование: например, установку водолазного колокола в заданном месте по отношению к рабочей зоне для сварочных или ремонтных работ;

в) измерение: например, точное обследование морского дна и измерение расстояний между копнами горизонтального участка трубопровода и стояка.

В то время, как надводные корабли и гидрографические суда используют для навигации географическую систему отсчета координат (т. е. широту и долготу), под водой требовании несколько иные. Для того чтобы система могла использоваться и под водой, она должна иметь высокую степень позиционной точности и хорошую повторяемость в районе с пределами в несколько километров.

Разнообразные испытания подводных систем, проведенные многими исследователями выявили несколько способов гидроакустического определения местоположения, основанных на различных видах определения координат, приведены в таблице 1.1:

Таблица 1.1 - Способы гидроакустического определения местоположения

ПА

Способы определения местоположения

Надводное судно или ПА с направленным приемником

пеленг / пеленг

Надводное судно со сканирующим гидролокатором

дистанция / пеленг

ПЛ со сканирующим гидролокатором

дистанция/пеленг или дистанция/дистанция

Надводное судно, оснащенное системой со короткой базой

пеленг/ пеленг или дистанция / дистанция

Надводное судно, оснащенное системой со сверхкороткой базой

дистанция / пеленг

Надводное судно или ПА, оснащенное системой с длинной базой

дистанция / дистанция

Надводное судно или ПА с гиперболической системой

разность фаз


Чтобы выбрать из этого перечня систему ПП для конкретного применения, необходимо представлять себе ее точность или область неопределенности.

В одном из современных исследований при выборе системы для работы на необитаемом ПА рассчитана область неопределенности для большинства из перечисленных выше систем. В целях упрощения было сделано предположение, что ПА работает в непосредственной близости к плоскому дну, а область неопределенности обусловлена нормальным распределением случайных погрешностей в системах. На основании этого исследования были отвергнуты те системы, которые не обладали способностью привести необитаемый ПЛ на дистанцию визуального обнаружения выбранной цели.

Наиболее приемлемые на основании выполненного анализа ГСП с короткой (КБ), ультракороткой (СКБ) и длинной (ДБ) базами, а также гидролокационные и гиперболические системы.

.2 Акустические КБ-системы

Такие системы имеют несколько (от трёх и более) разнесённых друг от друга гидрофонов, расположенных в нижней части судна-носителя. Блок обработки, используя гидроакустические сигналы дистанции маяка-ответчика, выдаёт относительные и координаты подводного объекта в реальном масштабе времени. Достоинства такой системы, это её мобильность и достаточно высокая точность (около метра) определения координат объекта. Рабочая глубина ограничена 1000 метров. К основным недостаткам следует отнести требования к минимально длине судна-носителя, необходимость точной калибровки системы. А так же большая чувствительность системы к волнению моря, которая в несколько раз уменьшает точность позиционирования. Для уменьшения влияния качки используется специальный блок компенсации влияния качки на изменение гидроакустических сигналов с маяка-ответчика. Благодаря их низкой стоимости такие системы широко использовались и используются для выполнения задач позиционирования подводных аппаратов и водолазов, хотя в последнее время они постепенно вытесняются более простыми и технически развитыми СКБ-системами.

Для типичной КБ - системы необходимо иметь специальное надводное судно с закрепленной на его корпусе решеткой из приемников или преобразователей (или их комбинаций). Если приемоответчик (ответчик) или синхронизированный маяк (получатель) установлен на дне моря, то разность времен прихода сигналов к разным частям решетки будет определять разницу дистанций (пеленгов), что даст возможность вычислить положение надводного судна по отношению к приемоответчику или маяку. Таким образом, буровое или иное судно может определяться по отношению к устью скважин или, если маяк установлен на ПА, управлять движением аппарата по отношению к обеспечивающему судну.

.2.1 КБ - система с маяком

Эта система определяет местоположения объекта методом измерения пеленгов. Измеряя разницу во времени приёма акустического сигнала приемниками dt, можно точно определить пеленг на маяк как это показано на рисунке 1.1 для двухмерной модели вдоль оси X:

- приемники; 2 - дно моря; 3 - природный маяк.

Рисунок 1.1 - Геометрическое представление определения координат в плоскости xz для КБ-системы с маяком.

На рисунке показан основной комплект аппаратуры, необходимый для работы КБ - системы с маяком, который состоит минимум из трех приемников. Для учета бортовой и килевой качки в нем предусмотрены устройства измерения отклонений от вертикали.

- приемник; 2 - блок определения отклонения от вертикали; 3 - компенсационный тракт крена; 4 - кандалы приемного тракта; 5 - преобразователь время - напряжения; 6 - блок компенсации крена и смещения; 7 - глубина; 8 - смещения маяка и приемника; 9 - дисплей; 10 - формирователь сигнала; 11 - генератор; 12 - излучатель; 13 - блок питания; 14 - природный маяк.

Рисунок 1.2 - Структурная схема КБ - системы с маяком.

.2.2 КБ-система с приемоответчиком

Использование приемоответчика (транспондера) вместо маяка дает целый ряд преимуществ:

а) приемоответчик излучает сигнал только после запроса, поэтому остальное время он молчит. Таким образом увеличивается срок службы батарей, что весьма полезно, если устье скважины приходится оставлять на период плохой погоды;

б) доступность измерения абсолютного времени прохождения посылки обеспечивает возможность решения геометрических трехмерных соотношений системы приемник - приемоответчик без всяких упрощений. В случае использования маяков, можно измерить лишь разницу во времени;

в) запросы приемоответчика могут быть запрограммированы, поэтому скорость поступления данных можно соотнести с требованиями навигационной обстановки. При использовании нескольких приемоответчиков (что часто встречается) запросы могут быть распределены во времени таким образом, чтобы избежать взаимного перекрытия ответов;

г) точное знание моментов запросов и управления ими дает возможность организовать «временное окно» для приема ответных сигналов приемниками. Таким образом будут использоваться только те сигналы, которые приходят в моменты времени, соответствующие открытому «окну». Это значительно снижает объем ложных тревог и поступление сигналов, связанных с явлением многолучевости;

д) в случае использования двух запрашивающих устройств и двух приемоответчиков становится возможным выбрать лучшую «акустическую картину». Это снижает эффект маскировки звука буровой колонной или вертикальным участком трубопровода и обеспечивает чистоту сигналов как для приемоответчиков, так и для приемников.

Если КБ - система используется для управления АП и необходимо знать геодезические координаты, то положение решетки приемников следует вычислять, используя стандартную процедуру гидрографического определения места и наземную, либо спутниковую систему навигации.

- приемоизлучатели; 2 - блок определения отклонения от вертикали; 3 - компенсационный тракт крена; 4 - канал приемного тракта; 5 преобразователь время - напряжение; 6 - умножитель; 7 - блок компенсации крена и смещения; 8 - глубина; 9 - смещения приемоизлучателя и приемоответчика; 10 - дисплей; 11 - переключатель прием - передача; 12 - генератор; 13 - импульсный генератор; 14 - запросчик; 15 - тракт дистанции - R; 16 - гидрофон ответчика; 17 - блок импульсной логики; 18 - приемоответчик (транспондер).

Рисунок 1.3 - Структурная схема КБ - системы с приемоответчиком (транспондером).

На рисунке 1.3 показан основной комплект аппаратуры, использующий минимальное количество приемников (три) в режиме дистанция/пеленг для работы КБ - системы с приемоответчиком. Хотя электронная часть КБ - системы с приемоответчиком более сложна, по сравнению КБ - системой с маяком, это компенсируется преимуществами, которые приведены выше.

1.3 Акустические СКБ-системы

В основе построения СКБ систем лежит принцип определения координат маяка-ответчика по дистанции и углу. Типичная ГСП такого типа состоит из ППА c множеством приёмо-передающих элементов расположенных в виде сферы, блока обработки и блока компенсации влияния качки. Дальность действия таких систем доходит до 4000м. Степень точности зависит от положения маяка-ответчика относительно ППА и выражается в процентах от дистанции и угла.

- маяк, 2 - приемоответчик (транспондер), 3 - кабель, 4 - буксируемый ПА с ответчиком, 5 - буксируемый ПА с приемоответчиком.

Рисунок 1.4 - Варианты СКБ-систем.

Внедрение СКБ - систем основывалось на современном развитии микропроцессорной техники, которая произвела революцию в области акустических систем определения местоположения. Близкое расположение датчиков СКБ - систем делает невозможным детектирование огибающих импульсов, как и измерение относительного времени прихода сигналов, обычно используемое в КБ - системах. Вместо этого СКБ - системы основаны на принципах измерения разности фаз или сравнении фаз акустического сигнала на элементах приемника.

На рисунке 1.4 изображены четыре основные схемы организации СКБ - систем:

а) схема с маяком (излучателем) - требует знания глубины и угла наклонения луча;

б) схема с приемоответчиком - требует знания дистанции и угла наклона луча, знание глубины не требуется;

в) схема с ответчиком (с односторонним прохождением сигнала и запуском ответчика по кабелю) - требует знания дистанции и угла наклона луча;

г) схема с приемоответчиком (ответчиком), установленным на автономном или буксируемом ПА - при известной глубине дает наибольшую точность путем согласования дистанции и глубины с углом наклона луча.

Выбор СКБ-системы производится в соответствии с 3 основными схемами их функционирования:

а) по углу наклона и глубине (А-модель)

б) по углу наклона и дистанции (Т-модель)

в) по углу наклона, дистанции и глубине (ТН-модель)

Основными преимуществами СКБ-систем являются их компактность и способность работать с одного борта любого судна, что следует из применения только одного приемника или преобразователя.

Обычно, при работах до 1000м, точность определения координат не хуже 10м. Этого достаточно для определения местоположения перемещающегося объекта, например подводного аппарата или водолаза, однако не достаточно для выполнения сложных подводных работ по бурению, строительству и т.п.

1.4 Акустические ДБ - системы

Для построения ГСП используются три или более маяков стационарно устанавливаемых на морском дне, на расстоянии примерно 500 метров друг от друга в заданных точках с известными географическими координатами. ППА на борту судна получает гидроакустические сигналы от каждого базисного маяка и маяка-ответчика. Координаты местоположения ДБ - системы определены относительно морского дна, а потому могут быть соотнесены с самим дном, основанием платформы в абсолютных или относительных единицах.

а) надводное судно, б) наклонные дальности до приемоответчиков Т1, Т2, Т3, установленных на дне. 1 - преобразователь, 2 - донная решетка приемоответчиков, 3 - ПА.

Рисунок 1.5. Навигационная ДБ-система.

С помощью геометрических и математических преобразований блок обработки определяет абсолютные координаты маяка-ответчика. При перемещении подводного объекта на мониторе выводиться траектория движения в реальном масштабе времени.

В ДБ-системах используются придонные приемоответчики, работающие на различных частотах, поэтому их сигналы можно отличать друг от друга. На борту судна или ПА регистрируется время запроса приемоответчика, так же, как и время ответа. Для определения расстояния до ответчиков вычисляется половина времени прохождения сигнала

Существует несколько режимов передачи, методов калибровки и алгоритмов слежения, которые используются в ДБ-системах:

а) ДБ-системы для судна. В нем решетка приемоответчиков запрашивается преобразователем на одной частоте, а ДПА на другой. По времени, затрачиваемом на сигнал определяется их местоположение.

б) ДБ-система для ДПА. Сигнал идет не с борта, а с ДПА.

в) ДБ - система для автономного ПА. Сигнал идет и с судна и с АПА. Определяется расстояние между судном и АПА и расстояние между АПА и приемоответчиками. В результате 2 циклов определяется взаимное месторасположение судна и АПА.

г) ДБ-система с синхронизацией. Используя синхронизацию задающего генератора на судне и блока времени на АПА вычисляется расстояние между АПА и приемоответчиками и соответственно положение АПА.

Достоинства таких систем высокая точность определения координат (субметровая точность), отсутствие влияния на точность системы степени волнения моря и типа судна-носителя, практически неограниченная глубина использования.

Основные недостатки это громоздкость системы, необходимость точной выставки базисных маяков на морском дне, необходимость подъёма базисных маяков по окончанию работ. Основное применение таких систем - длительные работы по обследованию каких-либо подводных объектов, строительство и эксплуатация нефтедобывающих платформ, прокладка трубопроводов.

1.5 Акустические LUSBL-системы

Представляют собой комбинацию LBL и USBL систем, объединяя в себе все их достоинства. Такие ГСП обладают повышенной (сантиметровой) точностью, работают с большим количеством подводных объектов и применяются для выполнения наиболее сложных подводно-технических работ, как, например, постройка и обслуживание нефтедобывающих комплексов.

.5.1 GIB-система

В последние годы на рынке гидроакустических систем появилась принципиально новая система позиционирования, которая использует основные принципы построения стандартных ГСП LBL и SBL типа с одновременным сопоставлением координат с сигналами DGPS (DGPS или дифференциальная система GPS выдаёт координаты объекта с точностью до 0,5м, за счет корректировки сигналов GPS от стационарной наземной станции). Её нельзя отнести к какому-либо вышеописанному типу, хотя в чём-то она напоминает LBL и SBL системы.

Рисунок 1.6 - GIB-система позиционирования.

Французская компания ACSA предложила использовать несколько плавающих буев с гидроакустическими ППА и приёмниками DGPS для получения координат маяка-ответчика. Она назвала свою систему - GIB система, от английского GPS Intelligent Buoys. ППА и приёмник DGPS на каждом буе работают в строгой синхронизации по времени и посылают полученные данные, в УКВ диапазоне на центральный модуль, обычно установленный на судне носителе, для их дальнейшей обработки.

К основным достоинствам GIB системы можно отнести очень высокую точность определения абсолютных координат подводного объекта (до 0,5 м), мобильность, возможность быстрой транспортировки и установки на различных типах судов-носителей, возможность работать на малых глубинах (5-15 метров), стоимость сравнимая с USBL системами.

Диапазон применение такой ГСП велик. Благодаря своей мобильности, высокой скорости развёртывания и нетребовательности к типу судна, такая система идеальна для выполнения работ в любых условиях.

.6 Источники помех ГА

При приеме гидроакустических сигналов необходимо учитывать уровень полезного сигнала и маскирующие помехи. Частотный спектр гидроакустических помех перекрывает весь диапазон используемых в гидроакустике сигналов, вследствие чего гидроакустические помехи являются основным фактором, ограничивающим дальность действия гидроакустических средств.

Существует 4 типа ГА помех:

а) Шумы моря;

б) Шумовыносителей;

в) Организованные помехи;

г) Реверберационные помехи.

Шумы моря обусловлены взаимодействием океана и атмосферы, разрушением и подвижками ледового покрова, жизнедеятельностью морской фауны, тектонической деятельностью земной коры, техническими и тепловыми (на высоких частотах) шумами.

Шумы носителей определяются шумами, создаваемыми движителями, вибрациями судовых механизмов и конструкций и гидродинамическими шумами, связанными с обтеканием. Шумы, создаваемые винтами и вибрациями механизмов, имеют выраженные дискретные составляющие, частоты которых кратны числу оборотов механизмов.

Организованные гидроакустические помехи создаются специально различными гидроакустическими средствами (стационарными, судовыми, самоходными и дрейфующими) в диапазоне частот используемых сигналов для снижения вероятности и дальности обнаружения.

Реверберационные помехи - послезвучание в морской среде после выключения источника акустических колебаний, возникающее в результате многократных отражений от поверхности и дна моря, и из-за рассеяний на неоднородностях морской среды.

Для борьбы с реверберационной помехой используют в режиме приема узкополосную фильтрацию, позволяющую выделить движущие объекты, отражения от которых сдвинуты по частоте из-за эффекта Доплера. Различают следующие виды реверберации:

Объемная реверберация образуется температурными, воздушными и биологическими рассеивателями в толще морской среды; она убывает обратно пропорционально времени во второй степени. Интенсивность объемной реверберации в момент начала времени t от начала излучения вычисляется по формуле:

, (1.1)

где  - коэффициент объемной реверберации, характеризующий рассеивающую способность моря,

 - длительность импульса,

 - акустическая мощность источника звука,

 - коэффициент концентрации,

коэффициент пространственного затухания.

Поверхностная реверберация образуется из-за рассеивания акустических волн волнистой поверхностью моря и неоднородностями, в основном в виде воздушных пузырьков, в поверхностном слое; она убывает обратно пропорционально третей степени времени. Интенсивность поверхностной реверберации в точке излучения в момент времени t вычисляется по формуле:

, (1.2)

где H - толщина поверхности слоя, рассеивающего звуковые волны.

Донная реверберация образуется из-за рассеивания акустической энергии от неоднородностей дна и рассеивателей в придонном слое морской среды. Особенно сильно донная реверберация проявляется в мелком море при слабо поглощающем акустическую энергию дне (камень, твердые грунты). Она убывает обратно пропорционально в четвертой степени времени, т.е. быстрее объемной и поверхностной ревербераций. В случае движения рассеивателей при объемной и поверхностной реверберациях может наблюдаться эффект Доплера. Интенсивность донной реверберации в момент времени t вычисляется по формуле:

, (1.3)

где h - глубина моря.

Реверберация, особенно в мелком море, имеет значительную когерентность в вертикальной плоскости за счет того, что сигналы, рассеиваемые под большими углами и определяющие реверберацию на малых расстояниях, постепенно затухают, особенно на мелководье при распространении от дна к поверхности и обратно. В горизонтальной плоскости реверберация слабо когерентна.

2. Проектная часть

.1 Устройство гидроакустической системы

Гидроакустическая система состоит из одной или нескольких приёмо-передающих антенн (ППА), устройства управления режимами работы ППА, блока обработки, выдачи и сохранения полученных данных, выполненного обычно на базе персонального компьютера со специальным программным обеспечением.

На сегодняшний день существует огромное количество ППА различных производителей, которые, в основном, обладают сходными техническими параметрами, являются взаимозаменяемыми для различных гидроакустических систем и отличаются лишь различной технологией и материалом изготовления приёмо-передающих элементов.

Основным элементом обработки гидроакустических данных является специальное программное обеспечение (ПО), которое не только "выжимает" максимум информации из получаемых данных, но и вносить, при необходимости, изменения в режимы работы ППА. Такой режим работы ПО предъявляет большие требования к скорости обработки данных компьютером, т.к. запись, измерения и выдача необходимых команд управления должны производиться в реальном масштабе времени. Но на сегодняшний день, благодаря быстрому развитию компьютерных технологий и систем передачи информации, возможности ПО практически не ограничены быстродействием компьютеров, а зависят лишь от используемых алгоритмов фильтрации и обработки данных с ППА.

Визуальное представление полученных и обработанных данных возможно на мониторе, термопринтере, видеомагнитофоне, а при наличии локальной сети или сети Интернет, на любом удалённом устройстве.

Качество и достоверность полученной с помощью гидроакустических приборов информации зависит, прежде всего, от технических параметров самого гидроакустического прибора и ППА. Однако нельзя не учитывать сложные физические и геометрические законы распространение звуковых волн в водном пространстве. Скорость распространения звука в воде величина непостоянная и изменяется в пределах от 1470 до 1550м/с, это обусловлено изменением солёности, температуры и гидростатического давления различных слоёв воды. Расположения ППА по отношению к поверхности воды или морскому дну без учёта направления излучения акустических сигналов может вызвать так называемые зоны "поверхностной или донной засветки" на мониторах гидроакустических приборов. Но даже при соблюдении всех условий и внесении необходимых поправок в систему обработки данных, велико влияние на ППА посторонних шумов от двигателя судна и естественных морских шумов.

Основными параметрами гидроакустических приборов и устройств является частота излучаемого акустического сигнала и угол обзора (диаграмма направленности). Диапазон частот лежит в пределах от единиц килогерц до мегагерц, чем больше частота, тем меньше дальность проникновения сигнала. Диаграмма направленности определяет тип и область применения гидроакустического устройства и различается величиной углов в вертикальной и горизонтальной плоскости.

По количеству излучаемых ППА сигналов различают однолучевые и многолучевые системы. Многолучевые системы производят одновременное сканирование с помощью нескольких десятков гидроакустических сигналов. Они позволяют покрыть большую площадь при сканировании в единицу времени и за счет применения большого количества сигналов с узкой диаграммой направленности получить изображение с высоким разрешением. С использованием компьютерных технологий для обработки и фильтрации данных возможно получение изображений с фотографической чёткостью. В настоящее время многолучевые системы становятся всё более популярными, несмотря на их высокую (сотни тысяч долларов) стоимость.

ППА однолучевых систем способна излучать и принимать только один гидроакустический сигнал в единицу времени. Однако благодаря их надёжности, простоте в эксплуатации и относительно низкой стоимости, однолучевые системы продолжают интенсивно развиваться и находят широкое применение в различных сферах деятельности.

.2 Принцип действия системы позиционирования в нефтедобывающем комплексе

Гидроакустическая система позиционирования содержит базу из М гидроакустических приемоответчиков с различными частотами ответа и размещенный на объекте навигации, гидроакустический приемопередатчик, посредством которого измеряют временные интервалы распространения сигналов с последующим их преобразованием в дистанции между подводным объектом и гидроакустическими приемоответчиками. Приемная гидроакустическая антенна состоит из четырех гидрофонов, каждая секция антенны состоит из двух одноканальных и одного многоканального модуля, установленных на линейном несущем кронштейне, выполненном перфорированным, антенны приемников выполнены в форме сферической поверхности и размещены на стальной пластине, по крайней мере, один из М гидроакустических приемоответчиков, установлен на водной поверхности. Технический результат - повышение надежности при обеспечении позиционирования подводных объектов.

Гидроакустическая синхронная система позиционирования, содержащая донную навигационную базу из М гидроакустических приемоответчиков с различными частотами ответа и размещенные на объекте позиционирования гидроакустический передатчик, генератор синхроимпульсов, М-канальный приемник, М измерителей времени распространения гидроакустических сигналов до приемоответчиков и обратно, М·N блоков преобразования временных интервалов в дистанции по N в каждом из каналов из М, М блоков выбора максимального значения дистанции из N значений и вычислитель координат объекта позиционирования, в котором в каждый из М каналов введены по числу лучевых траекторий N-1 дополнительных измерителей времени распространения гидроакустических сигналов, N-1 мультивибраторов задержки, N-1 мультивибраторов строб-импульса, N-1 селекторов, причем первые входы N-1 измерителей распространения соединены с выходом генератора синхроимпульсов, вторые входы соединены с первыми выходами соответствующих селекторов, а выходы соединены с М·N входами блока преобразования временных интервалов в дистанции, первый вход каждого из селекторов соединен с выходом соответствующего мультивибратора строб-импульса, второй вход соединен с выходом соответствующего канала приемника, вход первого мультивибратора задержки соединен с выходом соответствующего канала приемника, а выход каждого последующего мультивибратора задержки соединен с вторым выходом соответствующего селектора, в каждый из М каналов введена N(N-1), дополнительных блоков преобразования временных интервалов в дистанции, N-1 дополнительных блоков выбора максимального значения дистанции и усреднитель дистанции, причем входы каждого из N-1 наборов по N блоков преобразования временных интервалов в дистанции соединены с соответствующими выходами N-1 дополнительных измерителей временных интервалов, а выходы соединены с входами N-1 дополнительных блоков выбора максимального значения, выходы всех блоков выбора максимального значения дистанции соединены с N входами усреднителя дистанций, а выход усреднителя дистанций соединен с входом вычислителя координат объекта позиционирования.

Навигационная база системы состоит из 12 маяков-ответчиков и предварительно калибруется в относительных и в географических координатах (относительная и абсолютная калибровки) с помощью судна обеспечения, оснащенного бортовым комплексом спутниковой и гидроакустической системами позиционирования. После выработки своего энергетического ресурса маяки-ответчики заменяются, при этом производится новая калибровка донной навигационной базы.

Задачей настоящего технического предложения является повышение надежности при обеспечении позиционирования бура с одновременным расширением функциональных возможностей.

Поставленная задача решается за счет того, что в гидроакустической системе позиционирования, содержащей базу из М гидроакустических приемоответчиков с различными частотами ответа и размещенного на объекте навигации гидроакустического приемопередатчика, посредством которого измеряют временные интервалы распространения сигналов с последующим их преобразованием в дистанции между подводным объектом и гидроакустическими приемоответчиками; приемная гидроакустическая антенна состоит из четырех гидрофонов, каждая секция антенны состоит из двух одноканальных и одного многоканального модуля, установленных на линейном несущем кронштейне, выполненным перфорированным, антенны приемников выполнены в форме сферической поверхности и размещены на стальной пластине, по крайней мере, один из М гидроакустических приемоответчиков установлен на водной поверхности.

Сущность предлагаемого способа поясняется чертежами.

Подводный грунт 1, водная поверхность 2, донные гидроакустические приемоответчики 3, судно с располагающемся на нем приемоответчиком 4 на поверхности 2, снабженный спутниковым связным модулем 6 и гидроакустическим приемоответчиком 5, бур 7, спутники 8 низкоорбитальной системы спутниковой навигации, спутники 9 среднеорбитальной системы спутниковой навигации.

Рисунок 2.1 - Схема формирования навигационной базы.

Приемники 10, 11, 12, 13, подводный объект 7 или донный гидроакустический приемоответчик 3.

Рисунок 2.2 - Поверхности положения подводного объекта в гидроакустической системе позиционирования с ультракороткой базой.

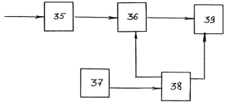
Формирователь характеристики направленности (ФХН) 18, широкополосный фильтр 19 с коррекцией амплитудно-частотной характеристики, ограничитель 20, узкополосный фильтр 21, детектор 22, интегратор 23, пороговую схему 24.

Рисунок 2.3 - Функциональная схема приема сигнала "включение".

Широкополосный фильтр 25 с коррекцией амплитудно-частотной характеристики, ограничитель 26, узкополосный фильтр 27, детектор 28, интегратор 29, узкополосный фильтр 30, детектор 31, интегратор 32, пороговую схему 33, схему выбора максимума 34.

Рисунок 2.4 - Функциональная схема обработки сигналов.

Кодер 35, устройство формирования 36 пакетов сообщений на передачу, устройство формирования 37 алгоритма передачи пакетов сообщений, устройство управления 38 с программой работы передатчика на излучение (3-8 раз/сутки).

Рисунок 2.5 - Спутниковый связной модуль.

Приемоответчик 4 представляет собой устройство, состоящее из полиуретанового корпуса, на котором размещена спутниковая антенна. Внутри корпуса установлена аппаратура измерения, обработки и хранения информации.

Обработка сообщений включает помехоустойчивое кодирование, разбивку каждого сообщения на пакеты с длительностью, зависящей от состояния взволнованной поверхности, передачу пакетов сообщения на ретранслятор по алгоритму, автоматически формируемому в зависимости от морского волнения, которое определяется посредством спутниковой навигационной системы в соответствии с определенными алгоритмами.

Очевидно, что позиционирование маяка-ответчика на морской поверхности не требует проведения относительной и абсолютной калибровок полигона, который необходим при использовании донных гидроакустических маяков-ответчиков, так как наличие у маяка-ответчика GPS приемника позволяет ему «знать» свои географические координаты в реальном масштабе времени с высокой точностью. Позиционирование бура относительно донных приемоответчиков и маяков-ответчиков может осуществляется как в режиме с длинной, ультракороткой базой (ДБ и УКБ), так и в комбинированном режиме ДБ/УКБ.

Бур оснащается соответствующими режиму работ гидроакустическими приемо-передающими антеннами, навигационным контроллером и навигационным программно-математическим обеспечением.

Маяк-ответчик работает в режиме «запрос-ответ» и в режиме «пингер» (маяк). В режиме с длинной базой при определении координат бура решается триангуляционная задача. При этом площадь или протяженность зоны действия системы зависит от энергетической дальности действия гидроакустической связи, глубины расположения подводного объекта, гидрологии, шумов подводного объекта и морской поверхности. При этом в отличие от позиционирования с использованием только донной навигационной базы совместное позиционирование посредством маяков ответчика и донных приемоответчиков существенно расширяет функциональные возможности подводного объекта, дает возможность оперативно оборудовать рабочий полигон любой площади и протяженности, позволяет подводному объекту определять свои координаты в реальном времени, получать данные по своим координатам в любое необходимое время или постоянно в автоматическом режиме.

При этом каждый сигнал маяка-ответчика имеет специальный формат и кодировку и несет в себе информацию о географических координатах маяка-ответчика и донных приемоответчиков, его индивидуальном номере, направлении и скорости его перемещения на поверхности относительно донных приемоответчиков. Алгоритм работы системы позиционирования с применением маяков-ответчиков имеет гибкую структуру и может быть легко адаптирован как под заранее прокладываемый маршрут бура на полигоне, так и под определение координат бура в любое конкретное время ее работы на полигоне в различных гидрологических условиях, условиях шума, в том числе с соблюдением условия защиты от обнаружения.

2.2.1 Передача ГА сигналов по траектории прохождения бура

В разрабатываемой гидроакустической системе позиционирования применена комбинированная система гидроакустического позиционирования с длинной и ультракороткой базой, которая позволяет использовать пеленгационную систему решения задачи выхода бура в точку установки буровой скважины. При этом гидроакустическая антенна донных приемоответчиков, как и бура, представляет две имеющие общий центр базы из приемников. Если две приемные базы расположены в плоскости, параллельной плоскости палубы, и ортогональны, ось одной базы направлена вдоль осевой линии бура, а ось другой базы направлена по траверзу вправо.

Две имеющие общий центр базы из приемников позволяют определить направление на источник сигнала как линию пересечения двух конических поверхностей с совпадающими вершинами. Сдвиг фаз ∆  электрических сигналов двух точечных приемников (первого второго), поступающих на входы приемного тракта, связан с углом между базовой линией и направлением прихода сигнала соотношением:

=kcosα, (2.1)

где α - угол прихода сигнала,- коэффициент, равный

=2π b/c, (2.2)

где b - длина базовой линии,

 - несущая частота,

с - скорость звука в точке приема сигнала.

Таким образом

α =arccos∆/k.

Сдвиг фаз ∆ электрических сигналов двух точечных приемников (третьего и четвертого), поступающих на входы приемного тракта, связан с углом между базовой линией и направлением прихода соотношением

=kcosβ, β=arccos∆/k.

Введя вспомогательные углы  и Ψ (Рисунок 2.2), получим, что при известной глубине Н подводного объекта выражения для координат подводного объекта ,  относительно центра базы. При этом плоскость с ординатой Н является третьей поверхностью положения. Очевидно, что

Ψ =D/R,

где D - дистанция,- наклонная дальность,

 =x/D, cosα =x/R (cosΨcosφ)=(Dx)/(RD)=x/R,β=y/R(cosΨcos)=(Dy)/(RD)=yR.

При этом cosα =cosΨcos, cosβ=cosΨcos,

=Hcosφ/tgΨ, =Hsinφ /tgΨ.

Откуда получаем:

=сН∆φ1/a; =сН∆φ2/b.

Так как плоскость палубы практически никогда не совпадает с плоскостью горизонта, то учитываются также влияние углов кренаη и дифферентаγ. Дифферент не сказывается на значении , а крен на значении , ось X направлена вдоль продольной оси подводного объекта, а ось У направлена по траверзу. Исправленные путем учета крена и дифферента значения координат маяка можно записать следующим образом:

=Htg[arctg(/H)+ γ], (2.3)

=Htg[arctg(/H)+ η], (2.4)

где γ и η - положительные значения приопускания носа и правого борта.

Информация о координатах маяка-ответчика относительно бура позволяет решить задачу выхода бура в точку нахождения буровой скважины, так как она легко преобразуется в значения курсового угла (КУ) и дистанции D:

КУ=arctg(y,x),D = ( (2.5)

Решение обратной задачи дает возможность определить координаты бура на карте или планшете, на который предварительно наносится придонная установка. В том случае, когда определяется также наклонное расстояние до маяка-ответчика или донного приемоответчика, третьей поверхностью положения является сфера с радиусом, равным наклонному расстоянию. Формулы для вычисления координат упрощаются и имеют вид:

=(сR∆)/α, (2.6)

=(сR∆)/β (2.7)

Каждая приемная гидроакустическая антенна состоит из четырех гидрофонов. Секция антенны состоит из двух одноканальных и одного двухканального модуля, располагающихся на линейном несущем кронштейне. Расстояние между приемными гидрофонами двухканального модуля составляет 50 мм. Максимальное разнесение крайних приемников на кронштейне составляет 1000 мм. Кронштейн перфорирован, что позволяет располагать приемники в непосредственной близости друг от друга для проведения фазовой калибровки и с произвольным разнесением для проведения измерений направления прихода акустического сигнала.

Антенный комплекс состоит из 8-канальной 2-секционной приемной гидроакустической антенны и гидроакустической излучающей антенны. Каждая секция приемной антенны представляет собой 4-элементный неэквидистантный гидрофонный модуль, предназначенный для измерения проекции вектора прихода акустического сигнала на одну из горизонтальный осей в режиме ультракороткой базы, в пеленгационном режиме, либо для приема сигналов в режиме длинной базы на 4 рабочих частотах. Секции приемной антенны расположены в горизонтальной плоскости перпендикулярно друг к другу.

Таким образом, когда все гидрофоны производят прием на одной и той же рабочей частоте, реализуется режим определения задержки и направления прихода отклика от фиксированного маяка-ответчика или донного приемоответчика в режиме ультракороткой базы, а когда каждый из гидрофонов настроен на свою рабочую частоту, осуществляется режим измерения задержек от нескольких донных приемоответчиков и маяка-ответчика в режиме длинной базы.

Система передачи информации по гидроакустическому каналу на подводном объекте реализуется с использованием штатных средств гидроакустической связи. При этом в качестве устройств формирования и обработки сигналов могут быть применены как имеющая в составе гидроакустическая аппаратура, обеспечивающая режим гидроакустической связи, так и дополнительные устройства в виде приставок, подключаемых к их передающему и приемному трактам.

В качестве сигналов местоположения использованы тональные сигналы с частотой 3 кГц, излучаемые как в автоматическом режиме по специальной программе, так и в режиме запроса.

Для систем передачи информации, основанных на использовании тональных сигналов, помехоустойчивость системы определяется помехоустойчивостью обнаружителей сигнала "Включение" и обнаружителей информационных сигналов. Для обнаружения сигналов "Включение", представляющих собой отрезок гармонического колебания использован метод неоптимального некогерентного приема, обеспечивающий широкополосный прием с интегрированием после детектора 22. Функционально схема включает ФХН 18, обеспечивающий предварительное усиление и формирование ненаправленного пространственного канала с антенны маяка-ответчика, широкополосный фильтр 19 с полосой ∆, ограничитель 20 и узкополосный фильтр 21 с полосой ∆, образующую схему, обеспечивающую, при условии:

/ ∆F>>1, (2.8)

Стабилизацию помех и подавления импульсной (широкополосной) помехи и обеспечивает выравнивание спектра помех на входе ограничителя 20, узкополосный фильтр 21, обеспечивающий формирование рабочих частот, детектор 22, имеющий линейную характеристику, интегратор 23, представляющий собой фильтр нижних частот с эффективной полосой пропускания:

=1/Т, (2.9)

гдеТ=2 сек (длительность символа),

пороговую схему 18, построенную на основании критерия Неймана-Пирсона, поскольку вероятность появления на ее входе сигнала существенно ниже вероятности его отсутствия.

Функциональная схема обработки сигнала (Рисунок 2.4) включает широкополосный фильтр 25 с полосой ∆, ограничитель 26 и узкополосный фильтр 27 с полосой ∆, которые образуют схему, обеспечивающую, при условии ∆/∆>>1, стабилизацию помехи и подавления импульсной (широкополосной) помехи и выравнивание спектра помехи на входе ограничителя 26, детектор 28, имеющий линейную характеристику, интегратор 29, который представляет собой фильтр нижних частот с эффективной полосой пропускания:

=1/Т, (2.10)

гдеТ=0,5 сек (длительность символа),

схему выбора максимума 34, обеспечивающую отбор максимального сигнала для последующего сравнения его с заданным порогом, пороговую схему 33, построенную на основании критерия идеального наблюдателя, поскольку весомость ошибок типа "ложная тревога" и типа "пропуск сигнала" можно считать одинаковым, то порог в схеме выбран из условия минимизации полной вероятности ошибки, при этом после превышения порога в схему выбора максимума 34 поступает команда, отключающая канал с максимальным сигналом. Таким образом, обработка сигнала при приеме сообщения сводится к обнаружению отдельных тональных сигналов с вероятностями F и D такими, чтобы сумма F+(1-D) не превышала 0,01, причем F+1-D. Спутниковый связной модуль предназначен для формирования пакетов и алгоритмов управления передаваемой информации на донные приемоответчики.

Маяк-ответчик, снабженный соответствующей аппаратурой, имеет возможность непрерывно принимать сигналы низкоорбитных и среднеорбитных спутниковых навигационных систем, обрабатывать их с определением высокоточных собственных координат в любой момент времени, а также определять действительное местоположение донных приемоответчиков. В определенный момент времени (по сигналу запроса с бура или по программе работы маяка-ответчика) эта информация передается по гидроакустическому каналу в виде шумоподобного кодированного сигнала определенного формата непосредственно на подводный объект или на донные приемоответчики. Определив свои координаты относительно маяка-ответчика и имея информацию о географических координатах последнего, бур выполняет собственное координирование в географической системе координат.

Для увеличения ресурса питания донных приемоответчиков они работают только в периодическом режиме. Их включение и выключение осуществляется по сигналам от маяка-ответчика.

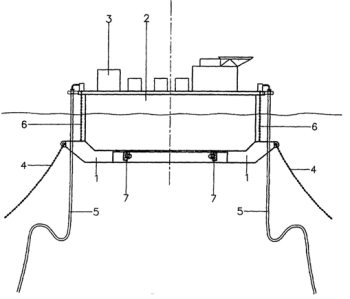
.3 Плавучая якорная система

Для удержания судна в одной точке благодаря использованию данных местоположения применяется динамическое позиционирование (ДП). На глубоководье нефтедобывающие и буровые суда должны в течение длительного времени оставаться неподвижными внутри некоторой окружности над точкой входа буровой колонны в дно.

При этом в случае шторма или превышения предельных значений влияния окружающей среды выбранная система ДП должна быть максимально надежной.

В качестве выбранной системы ДП для нашего судна разработаем якорную система и плавучую установку для нефтедобычи, хранения и выгрузки с углеводородов в открытом море.

Рисунок 2.6 - Плавучая установка для нефтедобычи, хранения и выгрузки в соединенном положении.

Якорная система содержит цилиндрический якорный элемент (1), верхняя сторона которого предназначена для контакта с нижней стороной установки, якорные тросы для крепления к морскому дну и приводные средства для обеспечения контакта между якорным элементом (1) и плавучей установкой (2). Якорный элемент имеет такую плотность, что, когда он отсоединен от плавучей установки, он удерживается в плавучем состоянии на заданной глубине ниже уровня моря. Якорный элемент имеет нишу для размещения движителя (7) плавучей установки (2). Плавучая установка содержит указанную якорную систему, выполненную таким образом, что приводные средства включают запорные средства для крепления якорного элемента к плавучей установке при контакте с ней, или содержащую соединенные с якорным элементом (1) продуктопроводы (5), верхние концы которых могут перемещаться между нижним положением, в котором они отсоединены от плавучей установки (2), и верхним положением для соединения с этой установкой. Обеспечивается возможность плавучей установке быстро покинуть место стоянки в открытом море, а после возвращения быстро соединиться с якорной системой.

Якорная система содержит цилиндрический якорный элемент, верхняя сторона которого предназначена для контакта с нижней стороной плавучей установки, якорные тросы для крепления к морскому дну и приводные средства для обеспечения контакта между якорным элементом и плавучей установкой, при этом якорный элемент имеет такую плотность, что, когда он отсоединен от указанной установки, он удерживается в плавучем состоянии на заданной глубине ниже уровня моря, и, кроме того, якорный элемент имеет нишу для размещения движителя плавучей установки. Если плавучая установка имеет свой собственный движитель для изменения ее положения, то этот двигатель может быть размещен в указанной нише якорного элемента.

Когда якорный элемент находится в контакте с плавучей установкой для нефтедобычи, хранения и выгрузки, он стабильно удерживается на месте якорными тросами и удерживает в стабильном положении плавучую установку. В отсоединенном положении якорный элемент находится ниже уровня моря и плавучая установка может свободно двигаться. Для достижения повторного контакта якорного элемента с плавучей установкой служат приводные средства.

Приводные средства предпочтительно содержат натяжной элемент, прикрепленный к плавучей установке для нефтедобычи, хранения и выгрузки с возможностью перемещения относительно нее и имеющий свободный конец, который может быть разъемно прикреплен к якорному элементу.

Натяжной элемент предназначен в первую очередь для обеспечения плотного контакта между якорным элементом и плавучей установкой.

Якорная система предпочтительно имеет по меньшей мере три натяжных элемента, которые могут быть расположены по окружности на равных расстояниях друг от друга.

Натяжные элементы могут представлять собой тросы, взаимодействующие с подъемным средством. В качестве тросов могут использоваться стальные тросы или цепи, а подъемные средства могут представлять собой лебедки.

Если плавучая установка снабжена буровой вышкой, то последняя тоже может использоваться как приводные средства для создания контакта между якорным элементом и плавучей установкой.

Приводные средства могут содержать запорные средства для крепления якорного элемента к плавучей установке при контакте с ней. Эти запорные средства могут быть объединены с указанными натяжными элементами или могут быть выполнены отдельно от них.

Обычно якорный элемент несет продуктопроводы (вертикальные трубопроводы для нефти). Тогда якорная система также содержит соединенные с якорным элементом продуктопроводы, верхние концы которых могут перемещаться между нижним положением, в котором они отсоединены от плавучей установки для нефтедобычи, хранения и выгрузки, и верхним положением для соединения с этой установкой. Это позволяет устанавливать продуктопроводы в верхнее положение для присоединения к плавучей установке и в нижнее положение на якорном элементе, когда он отсоединен от плавучей установки.

Предпочтительно, чтобы плавучая установка для нефтедобычи, хранения и выгрузки содержала средства для создания соединения с верхними концами продуктопроводов и для их перемещения между нижним и верхним положениями. Якорный элемент всего лишь позволяет продуктопроводам перемещаться относительно него, но сам не приводит их в движение, т.е. на нем нет соответствующих средств.

Диаметр якорного элемента предпочтительно больше диаметра плавучей установки. При этом также предпочтительно, чтобы якорные тросы были прикреплены к якорному элементу по окружности с виртуальным диаметром, превышающим диаметр плавучей установки, и, таким образом, на большем расстоянии от центра якорного элемента (и, соответственно, плавучей установки). Благодаря этому достигается более стабильное его положение.

В соединенном положении (Рисунок 2.6) отсоединяемый якорный элемент 1 притянут к плавучей установке 2 для нефтедобычи, хранения и выгрузки и находится в контакте с ней с помощью натяжных элементов 6, например стальных тросов или цепей, которые могут сматываться с лебедки и наматываться на нее. Предпочтительно иметь как минимум три таких натяжных элемента 6, равномерно распределенных по окружности.

В этом соединенном положении якорные тросы 4, например якорные канаты, удерживают якорный элемент 1 и плавучую установку 2 в положении, в котором углеводороды, т.е. газ или нефть, могут поступать по продуктопроводам (вертикальным трубопроводам) 5 на добывающую палубу 3 плавучей установки.

Перед началом операции отсоединения продуктопроводы 5 отсоединяют от добывающей палубы 3 и опускают в якорный элемент 1 или на него, после чего можно выполнить операцию отсоединения, освободив натяжные элементы 6. Для крепления якорного элемента 1 к плавучей установке 2 могут использоваться отдельные запорные средства, которые перед операцией отсоединения отпирают. Процесс опускания якорного элемента натяжными элементами можно регулировать.

В отсоединенном положении якорный элемент 1 удерживается в плавучем состоянии на заданной глубине ниже уровня моря (поверхности воды). В этом положении на заданной глубине вес вытесненной якорным элементом 1 воды равен суммарному весу якорного элемента1, якорных тросов 4 и продуктопроводов 5.

Во время операции соединения плавучую установку 2 устанавливают над якорным элементом 1, опускают натяжные элементы 6, прикрепляют их к якорному элементу 1 и поднимают его путем натяжения натяжных элементов. По достижении контакта между установкой 2 и якорным элементом 1 последний фиксируется запорными средствами (если они есть). После этого вертикальные продуктопроводы 5 поднимают из якорного элемента 1 на добывающую палубу 3 и присоединяют к находящемуся там оборудованию.

Натяжные элементы 6 одновременно могут служить для крепления плавучей установки 2 к опорной конструкции при работе. Однако для этого могут использоваться и отдельные средства.

Диаметр якорного элемента 1 может быть больше диаметра плавучей установки 2 для нефтедобычи, хранения и выгрузки. В этом случае для лучшего демпфирования перемещения якорные тросы (канаты) 4 могут быть прикреплены еще дальше от центра установки 2.

.4 Придонная установка

В соответствии с разработанной системой позиционирования бур опускается в первоначально размещенную придонную установку на морском дне. Система содержит подводное судно со средством его позиционирования и ориентации, придонную установку для, по меньшей мере, двух добывающих скважин и продуктовый трубопровод для соединения придонной установки с судном. Судно имеет бурильное оборудование и технологическое оборудование для переработки нефти или газа. Придонная установка содержит опорную плиту для бурения с основанием на дне, имеющую манифольд. Бурильная колонна с водоотделяющей колонной проходят от бурильного оборудования на судне. На придонной установке имеется подвижный операционный модуль с противовыбросовым устройством. Он обеспечивает соединение водоотделяющей колонны с верхней частью противовыбросового устройства. Продуктовый трубопровод приспособлен для соединения операционного модуля с технологическим оборудованием на судне. Судно имеет средство его позиционирования, ориентации на морской поверхности и средство управления шарнирного узла, связанного со средством позиционирования и ориентации, основанного на динамическом позиционировании и ориентации. Придонная установка содержит опорную плиту для бурения, приспособления для установки фонтанных арматур и подвижный операционный модуль с шарнирным узлом для соединения с продуктовым трубопроводом. Способ использования системы для добычи включает бурение и завершение первой скважины на первой секции устья скважины традиционным способом. Затем осуществляют бурение, установку, обсадных труб на второй секции устья скважины. Опускают операционный модуль с продуктовым трубопроводом и соединение на второй секции устья скважины с последующим продолжением бурения и завершением второй скважины. Добывают продукт из первой скважины через манифольд и операционный модуль на второй секции устья скважины. Одновременно продолжают бурение второй скважины.

При разработке месторождений нефти в море очень важен временной фактор. Время, затраченное на бурение первой скважины, способной давать продукцию, до тех пор, пока эта скважина и другие скважины вместе взятые будут полностью оборудованы и будет достигнут полный объем добычи, должно быть как можно меньше. Это должно быть достигнуто, в частности, посредством больших капиталовложений в виде дорогостоящего бурения и добывающего оборудования. Также это комплектующее оборудование должно быть сконструировано и построено с обеспечением наиболее возможных низких общих затрат.

Система снабжена шарнирным узлом, имеющим вертикальную ось и связанным с продуктовым трубопроводом.

Шарнирный узел имеет сквозное осевое отверстие для бурильной колонны, также он расположен под противовыбросовым устройством, соединенным с операционным модулем.

Продуктовый трубопровод проходит вверх через воду для соединения с судном в точке, находящейся на расстоянии от бурильного оборудования, предпочтительно на корме судна.

Бурильное оборудование с буровой шахтой расположено, в основном, на середине корабля, и технологическое оборудование предпочтительно с подсоединенной муфтой для продуктового трубопровода расположено на корме.

Придонная установка для использования в вычислительной системе содержит опорную плиту для бурения, имеющую основание, расположенное на морском дне, и манифольд и выполненную с, по меньшей мере, двумя позициями или секциями устья скважины, приспособленными для установки соединенных фонтанных арматур. Установка снабжена подвижным операционным модулем, предпочтительно содержащим шарнирный узел, приспособленный для осуществления поворотного соединения с продуктовым трубопроводом, проходящим в надводное судно. Шарнирный узел выполнен управляемым с помощью двигателя.

Операционный модуль вместе с шарнирным узлом может иметь сквозное осевое отверстие для бурильной колонны. Шарнирный узел расположен под противовыбросовым устройством, соединенным с операционным модулем. Операционный модуль в нижней части может иметь разделительную поверхность такого же образца, что и фонтанные арматуры, предназначенные для опускания и соединения с секциями устья скважины. Операционный модуль снабжен вилкообразным хомутом, приспособленным для удержания продуктового трубопровода, проходящего в боковом направлении и наклоном вверх с зазором относительно оставшихся элементов и оборудования на опорной плите для бурения.

Бурильная колонна труб, идущих от судна, в нормальных условиях имеет компенсацию вертикальной качки, которая обычно имеет место на судне. Такая компенсация вертикальной качки не представляет каких-либо проблем или, другими словами, не оказывает значительного влияния на описанную здесь систему или на осуществляемый способ.

Рисунок 2.7- Система, включающая надводное судно, придонную установку и продуктовые трубопроводы, расположенные между дном и поверхностью

Рисунок 2.8 - Вариант выполнения придонной установки, как показано на виде в плане.

Рисунок 2.9 - Вариант воплощения операционного модуля, установленного в устье скважины, в вертикальном разрезе.

На рисунке 2.7 морское дно обозначено цифрой 1, а поверхность моря цифрой 2. Судно 3 специальной конструкции имеет бурильное оборудование 8, размещенное приблизительно на середине судна 3 и технологическое оборудование 9 для обработки добытой нефти или газа, размещенное предпочтительно на корме за бурильным оборудованием 8. Судно 3 оборудовано средством для сохранения необходимого позиционирования и ориентации, динамическое позиционирование в данном случает имеет преимущество.

Также показаны продуктовые трубопроводы, соединяющие судно 3 с придонной установкой 5, находящейся на морском дне 1. Более определенно показана водоотделяющая колонна 22 для бурения с бурильной колонной 21, и продуктовым трубопроводом 6, проходящим вверх через воду в S-образной форме вместе с изогнутой вверх приподнятой средней частью 16 над направляющим элементом 16А, опущенным с судна 3 с возможностью компенсации вертикальной качки, как показано позицией 16В.

Придонная установка 5 размещена на опорной плите 10 для бурения, которая имеет основание на морском дне 1 и также имеет манифольд 11, имеющий известную конструкцию. Кроме того, опорная плита 10 для бурения имеет секции устья скважины или позиции, как показано более подробно на рисунке 2.8. На рисунке 2.7 схематично показана "фонтанная арматура" 14А, размещенная на одной из секций 13А (Рисунок 2.8) устья скважины. Основание опорной плиты для бурения 10 обозначено как 10А и может быть выполнено традиционным способом.

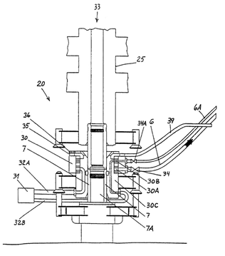
На одной из секций устья 13 (Рисунок 2.8) скважины опорной плиты 10 для бурения установлен специальный операционный модуль 20. В основные части модуля 20 входят шарнирный узел 30 и противовыбросовое устройство 25. В этом случае устройство 25 находится на верхней части шарнирного узла 30.

Для проведения операций по бурению судно 3 удерживается в положении над придонной установкой 5 посредством динамического позиционирования, так что бурильная колонна 21 вместе с присоединенной водоотделяющей колонной 22 может быть расположена так близко к вертикали, как это возможно, внизу от бурильного оборудования 8 до противовыбросового устройства 25. Как показано на рисунке 2.7, бурильное оборудование 8 может содержать обычную буровую вышку, приводное оборудование и буровую шахту, как это обычно предусмотрено на буровых судах и платформах.

Даже если судно 3 удерживается в такой позиции, когда бурильная колонна 21 будет иметь необходимое вертикальное направление, ветер и волнение будут способствовать повороту судна 3, так что нос судна 3 предпочтительно все время будет направлен против ветра или волн, воздействующих на судно. Чтобы приспособиться к таким поворотным движениям в системе, использован шарнирный узел 30, указанный выше, вместе с противовыбросовым устройством 25 в операционном модуле 20 на придонной установке 5. Продуктовый трубопровод в месте его соединения с операционным модулем 20 будет, таким образом, поворачиваться в соответствии с поворотными движениями судна без создания какого-либо риска нежелательных механических напряжений или вращающих моментов в конструкции придонной установки 5. Шарнирный узел 30 обеспечивает возможность осуществления относительного вращательного движения, и поэтому преимущественно имеет вертикальную ось, совпадающую в основном с осью бурильной колонны.

На рисунке 2.9 показаны две основные части операционного модуля 20, а именно противовыбросовое устройство 25 (показано частично) и действующий шарнирный узел 30, внешние части которого выполнены с возможностью вращения вокруг вертикальных осей, упомянутых выше, для того, чтобы следовать поворотным движениям надводного судна на поверхности моря. Продуктовый трубопровод 6 вместе с составным шлангом 6А проходит в боковом направлении шарнирного узла 30 и дальше под уклоном вверх выходит из воды. Чтобы удержать продуктовый трубопровод и составной шланг 6А некоторое время вместе и под контролем так, чтобы они не могли войти в соприкосновение с другими элементами и оборудованием придонной установки, предусмотрен направляющий вилкообразный хомут 39. Действующий шарнир может быть разделен на часть 30А шарнира для продукта и управляющую шарнирную часть 30В, посредством которой составной шланг 6А подсоединен к последней шарнирной части. Как известно, может возникнуть вопрос о передаче электрической энергии и сигналов, так же как и о гидравлическом давлении.

На рисунке 2.9 также показаны элементы действующей скважины или устья скважины, а именно трубы (например, размером 18 3/4"), которые составляют само устье 7 скважины, тогда как подвесное устройство обсадной колонны показано позицией 7А. Вместе с муфтой 30С устья скважины шарнирный узел 30 установлен на устье 7 скважины. Таким образом, муфта 30А составляет радиально внутреннюю и неподвижную часть шарнирного узла 30.

В то время как вращательное движение в шарнирном узле 30 системы, показанной на рисунке 2.7, может возникать исключительно под влиянием судна 3, т.е. через продуктовый трубопровод 6, проходящий вверх для соединения сравнительно далеко расположенной кормы на судне 3, во многих случаях предпочтительно обеспечить вращательное движение шарнирного узла 30 при помощи привода двигателя. Для этой цели предусмотрена ведомая шестерня 36, которая является неподвижной вместе с внутренними частями шарнира, как упомянуто выше, и вращающийся двигатель, имеющий привод 35 для сцепления с ведомой шестерней 36 и таким образом для вращения внешних частей шарнира, когда двигатель/шестерня 36 приводится во вращение. Это будет осуществляться посредством электрической или гидравлической энергии, передаваемой через составной шланг 6А. Угловое положение, на которое поворачивается шарнир, будет управляться с судна 3 (Рисунок 2.7), предпочтительно под управлением средства для динамического позиционирования, упомянутого выше, которое удерживает судно в необходимом положении и ориентации.

Бурильная колонна 21 с водоотделяющей колонной 22 для бурения, непоказанные на рисунке 2.9, взаимодействуют с противовыбросовым устройством 25 обычным образом. Устройство 25 установлено на верхнем продолжении устья 7 скважины 7, так что относительно вращательного движения оно является неподвижно закрепленным на придонной установке. Водоотделяющая колонна 22 для бурения неподвижно соединена с верхней частью противовыбросового устройства 25 (Рисунок 2.7), поэтому обычно имеет на его верхнем конце роторное соединение к судну 3. Вертикальный канал 33 для водоотделяющей колонны для бурения, проходящий через противовыбросовое устройство 25, продолжается вертикально в центральной части через шарнирный узел 30 и дальше вниз в скважину.

В качестве стационарных элементов, взаимодействующих с операционным модулем 20 на рисунке 2.9, также показана выступающая в боковом направлении муфта 31, предназначенная для подсоединения к другим узлам оборудования на придонной установке 5, в частности к манифольду 11, как показано на рисунках 2.7 и 2.8. Муфта 31 предусмотрена для продуктового трубопровода 32а, по которой перекачиваются соответствующие углеводородные продукты, проходящие от придонной установки до судна через шарнирный узел 30 и продуктовый трубопровод 6. Кроме того, показан трубопровод или проход 32В для электрических сигналов для управления ими мониторинга и гидравлических, которые через шарнирный узел 30 продолжаются вверх к судну через составной шланг 6А. В воплощении, показанном на рисунках 2.7 и 2.9, где шарнирный узел 30 размещен под противовыбросовым устройством 25, может потребоваться быстрое отсоединение в случае аварийной ситуации. Для этой цели на рисунке 2.9 показаны клапаны 34, 34А соответственно для продуктового трубопровода 6 и составного шланга 6А. Может быть использовано соответственно известное устройство для быстрого отсоединения верхней части противовыбросового устройства 25 (на чертеже не показано).

В воплощении решающее значение имеет то, что шарнирный узел 30 включен в независимый модуль (операционный модуль 20), может быть выполнен в виде интегрированной конструкции и может быть использован снова и снова в стандартизированных системах добычи на подводных морских промыслах. Такой шарнир или операционный модуль должен быть выполнен так, чтобы он мог устанавливаться и сниматься посредством обычных способов установки на подводных морских промыслах. Более того, возможно закреплять шарнир в профили существующего оборудования, например, в обычные замыкающие профили на устье 7 скважины, как показано на рисунке 2.9, и в дополнение это обеспечивает возможность соединения с существующим трубопроводом и соединительным профилем, так что этот узел или модуль могут быть использованы гибким образом, принимая во внимание различные соединения на придонной установке 5, кроме того, принимая во внимание последовательные стадии в формировании бурения, завершении сборки скважины и добычи.

В связи с вышеприведенными пояснениями также важно, что муфта 31 на операционном модульном шарнирном узле 30 может быть подсоединена к и закреплена в соответствующем и стандартизированном соединительном профиле на манифольде 11 (Рисунок 2.7 и 2.8). Вместе с вышеописанной установкой и закреплением шарнирного узла в устье 7 скважины с помощью соединителя устья скважины или муфты 30С достигается хорошо определенная позиция для опускания и закрепления, которая делает соединение посредством муфты 1 с манифольдом 11 очень простым.

Решение, описанное здесь, означает, что шарнирный узел 30 и операционный модуль 20 в целом включены в ту часть устья скважины, которая находится под давлением и через которую происходит бурение. Это означает, что конструкция, которая во всех точках подвергается таким напряжениям, имеет необходимую механическую прочность.

Операционный модуль 20, когда установлен на придонной установке, занимает секцию или положение, которое предназначено для фонтанной арматуры. В этой связи соединительный профиль или разделительная поверхность шарнира/операционного модуля с манифольдом является идентичной той, которая имеется на фонтанной арматуре, которая будет установлена для фактической добычи, а именно, когда будет смонтирована после завершения бурения данной скважины. Таким образом, описанное решение не включает введение новых соединительных точек или разделительных точек помимо тех, которые являются стандартными для системы морской подводной добычи.

На рисунке 2.8 показан вариант сборки основных элементов на придонной установке 5, как было упомянуто выше. Манифольд 11 составляет центральный элемент и на его обеих продольных сторонах показаны секции 13, 13а, 13в и 13С устья скважины. На двух последних позициях или секциях установлены фонтанные арматуры 14В и 14С. Секция 13 устья скважины здесь используются для работы модуля 20, который подсоединен к судну 3 на поверхности моря через продуктовый трубопровод 6 и составной шланг 6А.

. Разработка пьезоэлектрического преобразователя

.1 Выбор материала преобразователя

подводный гидроакустический нефтедобывающий пьезоэлектрический

Согласно техническим требованиям по размерам и потребляемой мощности следует разработать пьезокерамический излучатель. Основным его достоинством является большая эффективность использования в совокупности с широким частотным диапазоном.

Пьезокерамика, применяемая в качестве активного элемента излучателя, должна обладать высокой механической и электрической прочностью, стабильность при температурных и временных изменениях.

При выборе между различными составами пьезокерамики следует использовать критерии эффективности активных материалов для определения наиболее оптимального из них в заданной среде.

Наибольшей удельной чувствительностью при резонансе и при низких частотах обладает пьезокерамика ЦТСНВ-1. Она также соответствует стандартам надежности, что является немаловажным при длительном воздействии динамических и рабочих напряжений, старении материала, температуре и давлении.

Пьезокерамика ЦТСНВ - 1 разработана на основе цирконат-титаната свинца с добавками натрия в висмута. Обладает малой сегнетожесткостью. Применяется в электромеханических преобразователях, работающих в режиме приема и режимах излучения малой и средней мощности при небольших сжимающих механических напряжениях в интервале температур от -60 до +150 С.

Физико-механические свойства:

Объемная масса (плотность), p,                       не менее 7,3* кг/

Модуль Юнга,                                              0,49* Па

Коэффициент Пуассона, ν                                 0,35

Температура Кюри                                          24С

Добротность механическая,                        60

Скорость звука

При поперечных колебаниях,                     2600 м/с

При продольных колебаниях,                     3400м/с

Электрические и электромеханические свойства:

Диэлектрическая проницаемость,               21,5*ф/м

Тангенс угла диэлектрических потерь            0,019

Удельное объемное сопротивление                            Ом*м

Электрическая прочность,                         2,9кВ/ мм

Коэффициент электромеханической связи,          0,72

Продольный пьезоэлектрический модуль,         40*Кл/м

По назначению пьезоэлементы, изготовленные из керамики марки ЦТСНВ - 1 делятся на две группы: 1) для электромеханических преобразователей, работающих в режимах излучения и приема; 2) для электромеханических преобразователей, работающих в режиме приема.

.2 Расчет активного элемента антенны

Характеристика направленности приемоизлучающей антенны судна имеет вид нижней полусферы, донные маяки - верхней полусферы.

При выборе оптимальной рабочей частоты следует учитывать расширение частотного диапазона, а также изменение размера антенн маяков с изменением частоты.

В результате многолучевости распространения акустического сигнала в след за сигналами от ПА на приемник поступают сигналы отражения от различных поверхностей (моря, судна, дна). В связи с этим длительность импульсов запроса составляет до 10 мс.

За диапазон обозначим 2 км.

Найдем оптимальную рабочую частоту:

 (3.1)

 

Рассчитаем средний радиус цилиндра:

= 0,035 м (3.2)

Толщина сегмента:

δ = (0,2/ 0,25) = 0,01 м (3.3)

Радиусы колец равны:

 = 0,04 м (3.4)

 = 0,03 м (3.5)

Высота кольца в соответствии с направленностью антенны:

h =  = 0,051 м, (3.6)

Размер сегмента:

t =  = 0,01275 м (3.7)

Число призм в кольце:

n =  = 17 шт (3.8)

Длина излучаемой волны:

 = 0,128 м (3.9)

Коэффициент электромеханической трансформации для сегментированного цилиндра определяется из соотношения:

N = (2π· · · δ· h) / t = 4,9 H/ B (3.10)

Площадь излучающей поверхности равна:

0,0112  (3.11)

Электрическая емкость равна:

·  = 7,041·  (3.12)

Сопротивление излучателя, погруженного на воду:

 = 45,33 кОм (3.13)

Сопротивление излучения преобразователя:

·  = 278 кОм (3.14)

Сопротивление механических потерь в керамике:

 = 3637 Ом (3.15)

Динамически активное сопротивление:

 = 991 Ом, (3.16)

где - акустомеханический коэффициент полезного действия, равный 0,7

Эквивалентное сопротивление диэлектрических потерь:

= 1,02 Мом (3.17)

Полное активное сопротивление:

 = 991 Ом (3.18)

Механическая добротность системы:

 = 2,53 (3.19)

Полоса пропускания:

2∆F =  = 4,62 кГц (3.20)

Электромеханическая добротность системы:

 = 3,64 (3.21)

Частота электромеханического резонанса равна:

 = 16861 Гц (3.22)

Акустическая мощность в ближнем поле:

= 268 Вт, (3.23)

где r = 1м,

 = 8 *  Па,

Ω - коэффициент осевой концентрации, равный 1

Напряжение возбуждения:

U =  = 615 B (3.24)

Механическая мощность:

 = 383 Bт (3.25)

Удельная акустическая мощность:

 = 2,39  Вт/  (3.26)

Активная составляющая тока преобразователя равна:

 =  = 0,62 А (3.27)

Реактивная составляющая тока преобразователя равна:

= 0,45 А (3.28)

Суммарный ток равен:

I =  = 0,77 А (3.29)

Чувствительность при электромеханическом резонансе на частоте :

 =  = 3,04 мВ / Па (3.30)

Чувствительность при низких частотах:

 = 8,3 мВ / Па (3.31)

3.2.1 Конструкция преобразователя

Он состоит из пьезокерамических призм 1, выполненных из материала ЦТСНВ-1, расположенных между призмами вставок 2, выполненных из диэлектрика с малым (по сравнению с керамикой) модулем Юнга (титан), наружной герметизирующей оболочки 3, сделанной из алюминия. Призмы и вставки жестко соединены друг с другом по прилегающим плоскостям.

Рисунок 3.1 - Конструкция преобразователя.

3.3 Ультразвуковая кавитация

Ультразвуковая кавитация - возникновение в жидкости, облучаемой ультразвуком, пульсирующих и захлопывающихся пузырьков, заполненных паром, газом или их смесью. Кавитационные пузырьки в распространяющейся в жидкости ультразвуковой волне возникают и расширяются во время полупериодов разрежения и сжимаются после перехода в область повышенного давления.

В идеальных однородных жидкостях пузырьки могут возникнуть лишь при весьма высоких растягивающих усилиях (отрицательных давлениях), превосходящих прочность жидкости.

Порогом кавитации называется интенсивность ультразвука, ниже которой не наблюдаются кавитационные явления. Порог кавитации зависит от параметров, характеризующих как ультразвук, так и саму жидкость.

Для воды и водных растворов пороги кавитации возрастают с увеличением частоты ультразвука и уменьшением времени воздействия.

Порог кавитации определяется величиной удельной акустической мощности - интенсивностью I.

I зависит от заглубления антенны и вычисляется по формуле:

I = 0,3(1+h, (3.32)

где h - заглубление антенны в метрах.

Кавитация не наступает, если акустическая мощность  ниже интенсивности I на излучаемой поверхности.

Для разработанной антенны это значение соответствует длительности импульса меньше 90 мс.

4. Экономико-организационный раздел

Себестоимость - все издержки (затраты), понесённые предприятием на производство и реализацию (продажу) продукции или услуги.

Структура себестоимости по статьям калькуляции:

а) Материалы, прочее (комплектующие, полуфабрикаты, агрегаты, узлы и т. д.)

б) Топливо, энергия идущая на производство

в) Амортизация основных производственных фондов (ОПФ, или 2-я группа основных средств: оборудование, станки, техника и т.п.)

г) Основная заработная плата основного персонала (оклад, тариф)

д) Дополнительная заработная плата основного персонала (надбавки, доплаты к тарифным ставкам и должностным окладам в размерах, предусмотренных действующим законодательством; калькулируются как процент от п.4)

д) Отчисления на социальные мероприятия (пенсионный фонд, фонд безработицы, фонд социального страхования, фонд платы за несчастные случаи; начисляется процентом от основной заработной платы)

е) Общепроизводственные расходы (ОПР: расходы на сбыт, внутрипроизводственные затраты, ФОТ служащих и прочее (например ремонт: закупка паркета, клея, ламината, штукатурки и т. д.); калькулируется как процент от п.4)

Таблица 4.1 - Стоимость покупных изделий

Наименование

Количество, шт.

Цена за единицу, руб.

Общая стоимость

Формирователь характеристики направленности

12

560

6720

Широкополосный фильтр

13

650

8450

Узкополосный фильтр

14

820

11480

Ограничитель

13

480

6240

Детектор

14

340

4760

Интегратор

14

370

5180

Пороговая схема

13

220

2860

Схема выбора максимума

1

870

870

Трансформатор

13

230

2990

Итого:



49550


Таблица 4.2 - Стоимость материалов

Наименование

Количество

Цена за единицу, руб.

Общая стоимость

Пьезокерамика ЦТСВН-1

1

250

250

Алюминий

2 кг.

50

100

Титан

0,3 кг

400

120

Итого:



470


Стоимость транспортировочных расходов:

, (4.1)

где - стоимость покупных изделий и материалов (Таблица 4.1 и 4.2),

k- коэффициент транспортировочных расходов, равен 0,05.

 = 500200,05 = 2501 руб.

Расчет ЗП:

, (4.2)

где  - зарплата i-ой выработки,

- тарифная ставка i-го рабочего,

 - норма рабочего времени выполнения i-го вида работ.

(Установка и электромонтаж (180 р/час) + Механосборочные часы (110 р/час) + Регулировка и контроль (210 р/час)) 13 часов = 5200 руб.

Расчет Дополнительной ЗП:

, (4.3)

где - расчетный процент дополнительной ЗП, равен 10,5%

ЕСН = 30%

 = 5200 0,105 = 546 руб.

ЕСН = (5200 + 546)0,3 = 1724 руб.

Цеховая себестоимость составляет 300% от.

Общезаводские косвенные расходы составляют 400% от

Таким образом, общая заводская себестоимость системы составит:

 руб. (4.4)

Внепроизводственные расходы:

7,2% = 96391  0,072 = 6940руб, (4.5)

где 7,2% - процент внепроизводственных расходов к заводской себестоимости.

Полная себестоимость разрабатываемой системы:

С =  = 96391 + 6940 = 103331 руб. (4.6)

Отразим структуру себестоимости по статьям калькуляции в таблице 4.3.

Таблица 4.3 - Структура себестоимости

Наименование статей

Сумма, руб.

Покупные изделия

49550

Материалы

470

Транспортировочные расходы

2501

Расходы на оплату труда

5746

ЕСН

1724

Общезаводские расходы

20800

Производственная себестоимость

96391

Внепроизводственные расходы

6940

Полная себестоимость

103331



Заключение

В дипломной работе создана система подводного гидроакустического позиционирования нефтедобывающего комплекса. Были рассмотрены физические процессы, лежащие в основе её функционирования. В соответствии с техническим обоснованием проекта были проанализированы существующие акустические системы, выявлены их основные преимущества и недостатки, выбрана оптимальная система с навигационной, экономической и функциональной точек зрения.

Были разработаны структурная и функциональная схемы приборов, рассчитаны все необходимые технические параметры системы. Детально разобрана последовательность сигналов между маяками-ответчиками, судном и буром. Были учтены все особенности позиционирования плавучего нефтедобывающего комплекса. Была разработана якорная система, отвечающая максимальным требованиям надежности в условиях превышения предельных значений влияния окружающей среды при динамическом позиционировании. Был рассчитан пьезокерамический преобразователь, рассмотрены его конструктивные особенности.

В организационно-экономическом разделе диплома была определена полная себестоимость разрабатываемой системы в соответствии со всеми статьями калькуляции (103331 рубль).

По результату проделанной работы можно сделать вывод о целесообразности использования данной гидроакустической системы для позиционирования нефтедобывающего комплекса, так как она отвечает всем современным требованиям в данной области, а именно:

а) Упрощении традиционных методов позиционирования нефтедобывающих комплексов;

б) Снижении экономических и технологических затрат на производство;

в) Увеличение точности позиционирования, а как следствие, скорости развертывания и функционирования системы нефтедобычи;

г) Увеличение мобильности по сравнению с традиционными методами, что приведет к снижению затраченного времени и средств на разработку нефтяных месторождений.

Используемое программное обеспечение, структурные и элементные составляющие открывают широкие возможности для дальнейшей модернизации. Разработанная современная система, благодаря вышеприведенным преимуществам, может быть внедрена и эффективно использована во многих сферах деятельности гидроакустического позиционирования.

Список использованной литературы

Научные работы

1.     Бреховских, Л.М. Акустика океана / Л.М. Бреховских. - М: Наука, 1974. -694 с.

2.      Гурвич, А.А. Гидроакустические системы с гибкими протяженными буксируемыми антеннами / А.А. Гурвич, Н.М. Гусев, Г.В. Яковлев.- Судостроение за рубежом. 1984. - №10 (214). С.34-53.

.        Клюкин, И.И. Подводный звук / И.И. Клюкин. - Л., 1963. -143 с.

.        Корякин, Ю.А. Корабельная гидроакустическая техника. / Ю.А. Корякин, С.А.Смирнов, Г.В. Яковлев. - СПб: Наука, 2004. - 410 с.

.        Лепендин, Л.Ф. Акустика: Учеб. Пособие для вузов / Л.Ф. Лепендин. - М.: Высш. Школа, 1978. - 447 с.

.        Милн, П.Х. Гидроакустические системы позиционирования / П.Х. Милн. - Пер. с англ. - Л.: Судостроение, 1989. - 232 с.

.        Свердлин, Г.М. Гидроакустические преобразователи и антенны: Учебник. -2-е изд., перераб. и доп. / Г.М. Свердлин. - Л.: Судостроение, 1988. - 200 с.

.        Сташкевич, А.П. Акустика моря / А.П. Сташкевич. - Л.: Судостроение 1966. -334 с.

.        Тюрин, А.М. Основы гидроакустики / А.М. Тюрин, А.П. Сташкевич, Э.С. Таранов. - Л., 1966. - 224 с.

.        Урик, Р.Дж. Основы гидроакустики / Р.Дж. Урик. - Пер. с англ. - Л.: Судостроение, 1978. - 448 с.

.        Алексеев, А.В. Терминологический словарь-справочник по гидроакустике / А.В. Алексеев, - Л.: Судостроение, 1986. - 357 с.

.        Бальян, Р.Х. Терминологический словарь-справочник по гидроакустике / Р.Х. Бальян, Э.В. Батоногов, А.В. Богородский. - Л.: Судостроение, 1989. - 367 с.

.        Богородский, В.В. Подводные электроакустические преобразователи / В.В. Богородский. - Л.: Судостроение, 1983. - 250 с.

.        Виноградов, К.А. Гидроакустические навигационные системы и средства / К.А. Виноградов, И.А. Новиков. - Навигация и гидрография. - 1998

.        Болгурцев Б.Н., Грибанов О.Л., Ермоленко К.В. и др. История гидрографической службы Российского флота. Том 2. Гидрографическая служба Российского флота (1917-1996) - СПб.: ГУНиО МО РФ, 1997. - 483 с.

.        Болгурцев Б.Н., Грибанов О.Л., Корякин В.И., Попов Б.Г. История гидрографической службы Российского флота. Том 3. Хроника важнейших событий - СПб.: ГУНиО МО РФ, 1997. - 103 с.

.        Короткин И.М., Нефедов П.М., Тарасюк Ю.Ф. и др. 50 лет отечественному эхолотостроению// Записки по гидрографии. - 1987. -№217. - С.47-51.

.        Виноградов К.А., Грибанов О.Л. История развития измерителей глубины моря Записки по гидрографии. - 1993. - №229.- С.85-91.

.        Кулик М.Ф. Развитие морских средств навигации// Записки по гидрографии. - 1997. - №242.- С.56-59..

.        Виноградов К.А., Сковородников А.В. Современное состояние и перспективы развития отечественных и зарубежных измерителей скорости и глубины под килем. Аналитический обзор сост.- СПб.: Гос. НИНГИ МО РФ, 1998. - 34 с.

.        Федотов А.В. Развитие морской навигации в ХХ веке// Навигация и гидрография. - 1996. - №3.- С.132-137.

.        Из истории отечественной гидроакустики. Сборник статей, очерков, воспоминаний. - СПб.: ЦНИИ "Морфизприбор", 1998. - 648 с.

.        Остроухов А.А., Комляков В.А., Монахов А.И. и др. Гидроакустические системы с маяками-ответчиками// Судостроительная промышленность. Серия: Общетехническая. - 1991. - Вып.34.- С.27-33.

.        Федоров И.И. Навигационные эхолоты. - М.: Транспорт, 1948. - 142 с.

.        Федоров И.И. Эхолоты и другие гидроакустические средства. - В кн.: Курс кораблевождения, т.5, кн.4. - Л.: УГС ВМФ, 1960. - 368 с.

.        Итенберг С.И., Дворников А.П., Балашков И.В. Лаги и автосчислители. - В кн.: Курс кораблевождения, т.5, кн.3. - Л.: УГС ВМФ, 1964. - 548 с.

.        Виноградов К.А., Кошкарев В.Н., Осюхин Б.А. и др. Судовые измерители скорости- Л. Судостроение, 1978. - 286 с.

.        Виноградов К.А., Кошкарев В.Н., Осюхин Б.А. и др. Судовые эхолоты- Л.: Судостроение, 1982. - 232 с.

.        Виноградов К.А., Кошкарев В.Н., Осюхин Б.А. и др. Абсолютные и относительные лаги - Л.: Судостроение, 1990. -264с.

Электронные ресурсы

30.   Гидроакустика// Internet. - http://slovari.yandex.ru/~книги/БСЭ/ Гидроакустика.

31.    Исследование пьезокерамики на основе ЦТС// Internet. - http://sn-physmat.crimea.edu/arhiv/2009/uch_22_1f/20.pdf.

.        Гидроакустические навигационные системы и средства// Internet. -http://flot.com/editions/nh/7-13.htm.

33.   Навигация и позиционирование морских объектов. 2009. // Internet. - http://www.diveservice.ru/news.php?id=160.

34.   GIB системы позиционирования // Internet. -http://rudocs.exdat.com/docs/index-538732.html?page=7.

Похожие работы на - Разработка системы подводного гидроакустического позиционирования нефтедобывающего комплекса

 

Не нашли материал для своей работы?
Поможем написать уникальную работу
Без плагиата!
Без нейросетей!