Разработка конструкции и технологического процесса изготовления диффузионного резистора

  • Вид работы:
    Курсовая работа (т)
  • Предмет:
    Информатика, ВТ, телекоммуникации
  • Язык:
    Русский
    ,
    Формат файла:
    MS Word
    960,02 Кб
  • Опубликовано:
    2013-11-20
Вы можете узнать стоимость помощи в написании студенческой работы.
Помощь в написании работы, которую точно примут!

Разработка конструкции и технологического процесса изготовления диффузионного резистора

Оглавление

1. Исходные данные для проектирования

. Описание и анализ конструкции диффузионного резистора

. Предварительный расчет полупроводникового диффузионного резистора

. Оптимизация конструкции диффузионного резистора

. Разработка основных этапов технологического процесса изготовления диффузионного резистора в составе ИМС

Заключение

Список использованной литературы

1. Исходные данные для проектирования

Разработать конструкцию и выбрать технологический процесс изготовления диффузионного резистора в составе ИМС. Программа выпуска - 50000 шт. в год. Выпуск ежемесячный.

Параметры резистора:

¾      номинал: 500 Ом;

¾      погрешность: ± 10 %;

¾      граничная частота не менее: 450 МГц;

¾      паразитная емкость не более: 0.1 пФ;

¾      выполнить оптимизацию конструкции резистора по критерию «минимальная площадь»;

¾      резистор должен иметь элементы связи с другими ИМС;

¾      материал: КДБ 10;

¾      минимальная ширина окна в окисле под резистор 14 мкм.

. Описание и анализ конструкции диффузионного резистора

Интегральные резисторы - группа резисторов с различными номиналами, изготовленных на общем основании (пассивной подложке, полупроводниковом кристалле) одновременно, в общем технологическом процессе, что осуществляется благодаря общему для всех резисторов резистивному слою, который может быть создан избирательно с помощью масок и трафаретов или нанесен в виде сплошной пленки с последующим избирательным травлением (фотолитографией). Среди интегральных резисторов выделяют следующие разновидности:

§ диффузионные резисторы;

§  эпитаксиальные резисторы;

§  пинч-резисторы;

§  эпитаксиальные пинч-резисторы;

§  другие.

Остановимся подробнее на диффузионных резисторах.

Рис.1. Структура (а) и топология (б) диффузионного резистора

Рис.2. Поперечный разрез диффузионного резистора на основе базовой области.

Диффузионные полупроводниковые резисторы формируются в результате диффузии примеси через предварительно вытравленные в оксиде кремния окна (оксидная маска), расположенные по поверхности кремниевой групповой пластины. Диффузионные резисторы изготовляют одновременно с базовой или, что реже, с эмиттерной областью. Это связано с требованиями интегральной технологии, в частности с необходимостью минимизировать число операций. Сопротивление диффузионного резистора представляет собой объемное сопротивление участка диффузионного слоя, ограниченного p-n-переходом. Оно определяется геометрическими размерами резистивной области и распределением примеси по глубине диффузионного слоя, которое, в свою очередь, характеризуется поверхностным сопротивлением Rсл. Значение Rсл является конструктивным параметром резистора, зависящим от технологических факторов (режима диффузии) и, к тому же, жестко предопределенным параметрами слоя транзистора, поэтому параметры резисторов улучшают не варьированием технологических режимов, а выбором конфигурации и геометрических размеров резистора.

. Предварительный расчет полупроводникового диффузионного резистора

На начальном этапе конструирования определяется поверхностное сопротивление Rсл базовой области. Сначала определяем условную дозу легирования Qп, т.е. количество примеси, приходящееся на 1 см2 в пределах от 0 до Хб, где Хб - толщина базовой области, которая для диффузионных резисторов обычно лежит в пределах от 2.5 до 3.5 мкм. Мы же для начала возьмем толщину базы 3 мкм. Формула для вычисления Qп имеет вид:


Здесь N(x) - функция распределения примеси по глубине;

Q - полная доза легирования, установим ее значение 5.32*1014 см-2;

Dp и tp - соответственно коэф-т диффузии и время в процессе разгонки примеси (в нашем случае они соответственно равны 10-12 см2/с и 4000 с).

После замены переменных  n и dх/(2×ÖDp tp) = dn приходим к выражению:


где erf v - функция ошибок, которая выбирается из таблицы:

n

erfc n

n

erfc n

n

erfc n

n

erfc n

0,0

1,00000

1,0

0,15730

2,0

0,00468

3,0

0,00002209

0,1

0,88754

1,1

0,11980

2,1

0,00298

3,1

0,00001165

0,2

0,77730

1,2

0,08969

2,2

3,2

0,00000603

0,3

0,67137

1,3

0,06599

2,3

0,00114

3,3

0,00000306

0,4

0,57161

1,4

0,04772

2,4

0,00069

3,4

0,00000152

0,5

0,47950

1,5

0,03390

2,5

0,00041

3,5

0,000000743

0,6

0,39614

1,6

0,02365

2,6

0,00024

3,6

0,000000356

0,7

0,32220

1,7

0,01621

2,7

0,00013

3,7

0,000000167

0,8

0,25790

1,8

0,01091

2,8

0,00008

3,8

0,000000077

0,9

0,20309

1,9

0,00721

2,9

0,00004

3,9

0,000000035


В нашем случае , по таблице выбираем функцию ошибок: efr(2.4)=1-0.00069=0.999;

Подставляя в выражение для Qп значения параметров, указанных выше, получим:

Qп = 5.318*1014 см-2

Среднее значение концентрации примеси в пределах 0…xб равно


Nср = 5.318*1014 см-2/ 3*10-4 см = 1.7726*1018 см-3

Эффективная концентрация примеси, определяющая электропроводность области:

Nср.эф. = Nср - Nк = 1.7726*1018 см-3 - 1016 см-3 = 1.7626 см-3,

где Nк - концентрация примеси в коллекторе(1016 см-3).

Удельное объемное сопротивление базовой области

rБ = 1/(q×mp×Nср.эф)

где q = 1,6×10-19 Кл - заряд электрона;

Суммарная концентрация примеси в базовой области:

NΣ = Nср + Nк = 1.7726*1018 см-3 + 1016 см-3 = 1.7826*1018 см-3,

Для кремния при Т = 300 К подвижность дырок определяем по формуле:

mp = 47.7+447.3/[1+( NS/6.3×1016)0.76]

mp =80 см2/Вс

Удельное объемное сопротивление базовой области:

ρб = 1/(q*μp*Nср.эф.) = 1 /(1.6*10-19Кл * 80см2/В*с * 1.7626*1018см-3) = 0.0443 Ом*см

Удельное поверхностное сопротивление:

RСЛ = rББ

RСЛ = 148 Ом

Перейдем к проектированию геометрической конструкции резистора. Т.к. номинал резистора по условию задан с погрешностью 10 %, то выбираем ширину линейной части резистора:

a = 10xб = 30 мкм.

Минимальная ширина окна в окисле также задана в условии:

L1 = 14 мкм (14 х 14 мкм).

Взяв значения абсолютной предельной погрешности размеров элементов топологического рисунка на кремниевой пластине Δпл = 1 мкм и абсолютной предельной погрешности совмещения двух смежных топологических слоев Δс = 2 мкм производим дальнейшие расчеты.

Ширина металлического проводника:

Lп = L1 +2 Δпл + 2 Δс

Lп = 14 мкм + 2 мкм + 4 мкм = 20 мкм

Размер контактной области:

L2 = Lп +2 Δпл + 6 Δс

L2 = 20 мкм + 2 мкм + 12 мкм = 34 мкм

Сопоставив размер контактной области и ширину резистора, выберем конфигурацию резистора, представленную на рис 3.


Из соотношений L2 / a и L1 / a с помощью специальной номограммы:

Рис.4. Нонограмма для определения коэффициента контактной области.

определяем К - коэффициент контактной области, он равен 0.3, и следующим шагом рассчитываем длину линейной части резистора:

L = (R - 2K*Rсл)* a / Rсл

L = (500 - 2*0.3*148)*30/148 мкм = 83.4 мкм

S = (L + 2*L2)*L2

S = 5147.6 мкм2

Это были лишь предварительные расчеты, являющиеся скорее примером расчета, нежели определением реальных параметров резистора, т.к. теперь нам предстоит провести оптимизацию конструкции диффузионного резистора с учетом критерия оптимизации - необходимости получения минимальной площади.

4. Оптимизация конструкции диффузионного резистора

Из-за тесной связи диффузионных резисторов с диффузионными транзисторами на этапе проектирования резисторы модернизируют изменением не технологических режимов, а геометрических параметров, поэтому оптимизацию конструкции будем вести с учетом влияния следующих параметров:

·        толщина слоя, Хб

·        ширина линейной части резистора, a

·        размеры и форма контактной области, L1, LП, L2

Также следует учесть, что разброс этих параметров ограничен, например, толщина слоя хб диффузионных резисторов обычно лежит в пределах 2.5 … 3.5 мкм, ширина линейной части резистора должна быть больше 10хб (при погрешности 10%, заданной в условии), и даже на длину резистора накладывается ограничение снизу: она не может превышать размеров активной области кристалла (1-5 мм). То есть, исходя из этого нам предстоит установить влияние различных параметров на площадь резистора и принять ту конструкцию, при которой габаритные размеры резистора минимальны.

Существует несколько методов проведения оптимизации, среди которых «метод Мотне-Карло», «метод наискорейшего спуска» и т.д. Мы же выберем один из самых несложных с точки зрения математики методов - «метод последовательных приближений», суть которого заключается в последовательном изменении параметров, т.е. в проведении множества итераций.

Чтобы не вести расчеты «с чистого листа» при проведении таких итераций будем отталкиваться от произведенного выше предварительного расчета.

Итерация 1

Установим влияние толщины базового слоя на площадь резистора. Для этого, не изменяя прочих параметров, примем хб = 2.5 мкм.

хб = 2.5 мкм

Qп = 5.295*1014 см-2

Nср = 2.118*1018 см-3

Nср. эф. = 2.108*1018 см-3

NΣ = 2.128*1018 см-3

μ р = 76.5 см2/ В*с

ρб = 0.0388 Ом*м

Rсл = 155 Ом

a = 30 мкм

L1 = 14 мкм

L2 = 34 мкм

L = 78.8 мкм

S = (L + 2*L2)*L2 = 4999.1 мкм2

Площадь резистора при уменьшении размера хб уменьшилась.

Теперь попробуем рассчитать резистор при хб = 3.5 мкм

Итерация 2

Примем хб = 3.5 мкм

хб = 3.5 мкм

Qп = 5.319*1014 см-2

Nср = 1.520*1018 см-3

Nср. эф. = 1.510*1018 см-3

NΣ = 1.530*1018 см-3

μ р = 84.1 см2/ В*с

ρб = 0.049 Ом*м

Rсл = 141 Ом

a = 30 мкм

L2 = 34 мкм

L = 88.4 мкм

S = (L + 2*L2)*L2 = 5317.6 мкм2

С помощью двух итераций и предварительного расчета мы установили, что площадь резистора пропорциональна толщине базового слоя. С учетом этого принимаем окончательное решение по этому параметру:

хб = 2.5 мкм

Итерация 3

Затем при уже определенной толщине базового слоя оценим влияние ширины линейной части резистора на его геометрию. Для начала возьмем минимально возможные 25 мкм.

хб = 2.5 мкм

Rсл = 155 Ом

a = 25 мкм

L1 = 14 мкм

L2 = 34 мкм

L2/a = 1.361/a = 0.56= 0.4= 60.6 мкм

S = (L + 2*L2)*L2 = 4372.4 мкм2

Уменьшение ширины линейной части резистора привело и к уменьшению ее длины и к уменьшению площади всего резистора. Проверим, случайно ли это. Пусть a = 34 мкм


Итерация 4

хб = 2.5 мкм

Rсл = 155 Ом

a = 34 мкм

L1 = 14 мкм2 = 34 мкм1/a = 0.41= 0.35 = 85.8 мкм

S = (L + 2*L2)*L2 = 5229.2 мкм2

Наше предположение верно: при увеличении ширины длина резистора, его габариты и площадь, им занимаемая, действительно увеличиваются, поэтому принимаем окончательное решение:

a = 25 мкм

Дальнейшие итерации должны помочь нам установить зависимость площади, занимаемой резистором, от формы и размеров контактных областей. Сначала увеличим размеры окна в окисле L1, оставив L2 неизменным:


Итерация 5

хб = 2.5 мкм

Rсл = 155 Ом

a = 25 мкм

L1 = 20 мкм

L2 = 34 мкм

L2/a = 1.361/a = 0.8= 0.25= 68.1 мкм

S = (L + 2*L2)*L2 = 4627.4 мкм2

По сравнению с итерацией 3 площадь резистора увеличилась, следовательно увеличивать размеры окна в окисле бессмысленно.

Итерация 6

Остался последний путь возможного уменьшения площади - изменение размера L2. Исходя из анализа всевозможных конструкций контактных областей, приходим к следующему выводу - L2 не может быть меньше a (конструкция, приведенная на рис.4):

хб = 2.5 мкм

Rсл = 155 Ом

a = 25 мкм

L1 = 14 мкм2 = 25 мкм 1 / a = 0.56 = 0.3

L = 65.6 мкм

S = (L + 2*L2)*L2 = 2890 мкм2

Следовательно, вопрос уменьшения площади диффузионного резистора упирается в технологию. Чем она совершеннее, тем меньше допуск на номинал резистора: например, если в нашем случае допуск был бы равен 5%, то ширину линейной части резистора можно было бы принять равной 12.5 мкм. Улучшением технологии можно добиться уменьшения размера L1, ведь нормативный минимум, равный 5 мкм, почти в 3 раза меньше заданных в условии, т.е. имеющимися в распоряжении разработчика технологиями, 14 мкм. Не стоит забывать также и о погрешностях Δпл и Δс, которые также находятся в непосредственной зависимости от того, в каких условиях, на каком оборудовании и каким методом ведется изготовление ИМС.

Итак, оптимизация конструкции диффузионного резистора по критерию минимальной площади проведена. В итоге были установлены следующие значения геометрических параметров:

хб = 2.5 мкм

a = 25 мкм1 = 14 мкм

LП = 18 мкм

L2 = 25 мкм= 65.6 мкм

S = 2890 мкм2

Проверим, удовлетворяет ли резистор условию по паразитной емкости и граничной частоте:

CR ~ (2 ... 4)*10-4 пФ / мкм2 * SR = 0.57 пФ

Паразитная емкость равна по порядку заданной в условию, что удовлетворительно.

Граничная частота равна:

fГР = 1/(2πR CR)

fГР = 558.4 МГц ( > 450 МГц по условию)

. Разработка основных этапов технологического процесса изготовления диффузионного резистора в составе ИМС

Опишем базовый процесс формирования диффузионного резистора:

Исходным материалом служит пластина кремния р-типа.

К пластинам предъявляют следующие требования:

. Совершенная кристаллическая решетка, плотность дислокаций не более 10 см-2

. Шероховатость поверхности пластины не ниже 14б - 14в классов (Rz = 0.05 - 0.032 мкм)

. Прогиб пластин не более 8 - 10 мкм

. Неплоскостность и неплоскопараллельность в пределах ± 10 мкм

. Разориентация поверхности относительно заданной кристаллографической плоскости не хуже ± 1º

6. Разнотолщинность пластин в пределах партии не больше ± 8 мкм, отклонение по диаметру ± 0.5 мм

. Наличие базового среза и фаски

Последовательность операций планарно-эпитаксиальной технологии производства биполярных полупроводниковых ИМС:



. Стравливание окисла и подготовка поверхности перед процессом эпитаксиального наращивания.


. Формирование эпитаксиальной структуры п-типа.


Эпитаксия - это процесс осаждения атомарного кремния на монокристаллическую кремниевую пластину, при котором получают пленку, являющуюся продолжением структуры пластины. При различных типах примеси в пластине и в выращиваемой пленке на границе их раздела образуется p-n-переход. В зависимости от агрегатного состояния источника атомов полупроводника и примеси для растущей пленки различают эпитаксию из газовой, жидкой и твердой фаз.

Мы будем использовать газофазную эпитаксию, как более простой в условиях серийного и массового производства метод, обеспечивающий высокое качество эпитаксиального слоя в кремниевой структуре.

Условия, обеспечивающие совершенство структуры эпитаксиального слоя:

1.          химические реакции выделения атомов кремния и примеси должны быть гетерогенными;

2.      необходимы высокая температура пластины и ограниченная скорость осаждения атомов, обеспечивающие высокую подвижность адсорбированных атомов на пластине;

.        с поверхности пластины должны быть устранены механические повреждения и различного рода загрязнения.

При газофазной эпитаксии атомы кремния и примеси выделяются на пластине в результате химических реакций из соединений кремния и легирующего элемента.

Для выделения кремния из его соединений будем использовать реакцию восстановления:

SiCl4 + H2 → Si↓ + HCl

При осаждении примеси, т.е. атомов фосфора, используем PCl3:

PCl3 + H2 → P↓ + HCl

Реакцию, протекающую на границе газообразной и твердой фаз, можно условно представить в виде следующих стадий:

. Перенос веществ, участвующих в реакции, к поверхности пластины

. Адсорбция поверхностью реагирующих веществ

. Реакции на поверхности пластины

. Десорбция молекул побочных продуктов

. Перенос побочных продуктов в основной поток газа

. Занятие атомами узлов кристаллической решетки

Реализуем эту схему в установке с непрерывной подачей рабочей смеси через реактор - методом открытой трубы.

- Реактор; 2 - Держатель; 3 - Индуктор

Источники кремния SiCl4 и фосфора PCl3 - жидкие. Устройство газораспределения обеспечивает подачу газов, необходимых для выполнения полного цикла обработки. Водород играет роль реагента, а также газа-носителя для транспортировки паров SiCl4 и PCl3. Азот применяется для продувки системы. Хлористый водород применяется для травления пластин. Углекислый газ применяется для получения пленки SiO2 на поверхности эпитаксиальной пленки. Каждый из газов подается из баллона по отдельной магистрали, содержащей фильтр, регулятор давления, запорный вентиль, манометр, ротаметр (для измерения расхода газа) и клапан с электромагнитным управлением.

Реализуем процесс на установке наращивания эпитаксиальных слоев УНЭС-2П-КА, полный цикл работы которой состоит из следующих этапов:

. Загрузка пластин и герметизация реактора

. Продувка реактора азотом, затем водородом для вытеснения атмосферного воздуха

. Нагрев и выдержка в атмосфере водорода (восстановление окислов)

. Газовое травление с помощью HCl на глубину 1 - 2 мкм для удаления нарушенного и загрязненного слоя. По окончании - продувка водородом

. Снижение температуры до рабочего значения (1200 ºС), подача смеси H2, SiCl4 и PCl3 для наращивания слоя: скорость осаждения ~ 0.5 мкм / мин, время 10 - 15 мин. По окончании - продувка водородом

. Подача смеси CO2, SiCl4, H2 и осаждение окисной пленки SiO2. По окончании - продувка водородом

. Охлаждение в потоке водорода (плавное снижение мощности ВЧ-генератора)

. Продувка азотом, разгерметизация, выгрузка

. Окисление поверхности эпитаксиального слоя для создания защитной маски при разделительной диффузии.


Процесс окисления заключается в образовании окиси кремния, который получается при нагревании его поверхности в присутствии кислорода. Термически выращенный окисел SiO2 обладает наилучшими маскирующими свойствами и высокими электрическими параметрами. Склонность окиси кремния к стеклообразованию способствует получению беспористой плёнки. Хорошо растворяясь в плавиковой кислоте, SiO2 в то же время практически стабильна по отношению к смесям HF+HNO3 , что позволяет эффективно использовать её в качестве маски при селективном травлении кремния.

Процесс окисления выполняют в эпитаксиальных установках или в однозонных диффузионных печах со специальными газораспределительными устройствами. При окислении образуются химические связи между атомами и ионами поверхностного слоя кремния и атомами кислорода, в результате чего плотность поверхностных состояний уменьшается на несколько порядков по сравнению с атомарно-чистой поверхностью.

. Фотолитография для вскрытия окон под разделительную диффузию.


Разработка конструкции фотошаблонов. Фотошаблон представляет собой плоскопараллельную стеклянную пластину с нанесенным на поверхность непрозрачным рисунком элементов топологического слоя ИМС. Стеклянная основа фотошаблона при толщине до 10 мм не должна заметно поглощать ультрафиолетовое излучение и вызывать изменений размеров элементов рисунка и их относительного расположения в результате нагрева. В качестве материала основы используют оптические марки К-8 или кварцевые оптические марки КУ-1 и КУ-2 стекла, имеющие высокую прозрачность в ультрафиолетовой области спектра. Покрытие должно быть износостойким, чтобы выдерживать большое число циклов контактной печати без возникновения дефектов рисунка. Толщину покрытия выбирают в пределах 0.08-0.12 мкм

При разделительной диффузии нам необходимо ограничить область резистора от соседних элементов ИМС. Как следует из геометрического расчета, габаритные размеры резистора:

(L + 2L2) х (a) = (65.6 мкм + 2*25 мкм) х 25 мкм = 115.6 х 25 мкм

Внутренний размер же фотошаблона (при использовании негативного фоторезиста это будет та область, в которую проводится диффузия) должен быть несколько больше (см. рис.). Внешний размер фотошаблона возьмем на 10 мкм больше внутреннего. В результате получится конструкция следующего вида:

Рис.8. Часть шаблона под разделительную диффузию.

Причем это не весь фотошаблон, а только тот его участок, который предназначен для изолирования именно этого диффузионного резистора, т.к. процесс изолирования областей под отдельные элементы ИМС должен проходить в один этап.

При диффузии примеси р-типа и вскрытии контактных окон размеры фотошаблона должны строго совпадать с размерами резистора, так как именно диффузия акцепторной примеси определяет реальные размеры резистора:

Рис.9. Часть шаблона под диффузию р-примеси.

Фотошаблон для вскрытия контактных окон:

Рис.10. Часть фотошаблона для вскрытия контактных окон.

Технология процесса

Перенос рисунка фотошаблона в поверхностный слой пластины происходит в три стадии: экспонирование фотослоя через фотошаблон и образование скрытого изображения; проявление и задубливание рисунка, т.е. формирование защитной фотомаски; травление поверхностного слоя пластины на незащищенных участках.

Процесс формирования рельефа в поверхностном слое пластины будем проводить с помощью негативного фоторезиста ФН-106. Схема этого процесса представлена на рис.11.

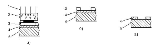
Рис.11. Процесс формирования: 1 - УФ излучение; 2 - Фотошаблон; 3 - Слой фоторезиста; 4 - Поверхностный слой на пластине; 5 - Пластина

Этапы подготовки пластины перед нанесением фотослоя:

1)  удалить молекулы воды (прогревом пластин при 700 - 800 ºС в сухом инертном газе)

2)      повысить гидрофобность (путем погружения пластин в 10%-й раствор диметилдихлорсилана в обезвоженном трихлорэтилене на 1 мин и последующей промывки пластин в трихлорэтилене в течение 1 мин и термообработки при 400 ºС в течение 30 мин)

)        провести эффективную и безопасную очистку в эмульсии «фреон - вода - ПАВ» на первом этапе и в чистом фреоне на втором

Нанесение и сушка фотослоя. Для осуществления этого процесса в помещении необходимо обеспечить обеспыленную атмосферу 1-го класса. Для нанесения фотослоя применяем метод распыления, осуществляемый на полуавтомате для нанесения фоторезиста распылением ПНФ-1Р, схема которого представлена на рис.12.

Рис.12. Схема компоновки полуавтомата ПНФ-1Р: 1 - Основание; 2 - Подвижный стол с пластинами; 3 - Подвижная форсунка; 4 - Внутренний защитный кожух; 5 - Общий защитный кожух

В качестве инжектирующего газа используем пары фреона-113, которые из-за своей большой молекулярной массы позволяют существенно снизить давление.

Просушивать нанесенный фотослой в нашем случае целесообразно инфракрасной сушкой, источником теплоты при которой является полупроводниковая пластина, поглощающая ИК-излучение, тогда как окружающая среда сохраняет примерно комнатную температуру благодаря непрерывной продувке. При данном методе качество сушки существенно выше, чем при конвективной сушке, но в то же время она значительно дешевле и технологичнее, чем СВЧ-сушка.

Время сушки - 10 мин, допустимая температура - не более 120 ºС, высушенный слой экспонировать не позднее чем через 10 ч.

Совмещение рисунков фотошаблонов и пластины выполняют в два этапа:

. Грубое совмещение осуществляют в пределах всего поля пластины с помощью контрольных модулей - пустых кристаллов, что позволяет практически исключить разворот пластины относительно фотошаблона.

. Точное совмещение производят в пределах модуля с помощью специальных знаков совмещения.

Рис.13. Совмещение фотошаблона с пластиной: 1 - Групповой фотошаблон; 2 - Контрольный модуль; 3 - Групповая пластина; 4 - Базовый срез пластины; 5 - Знак совмещения в модуле пластины; 6 - Знак совмещения в модуле шаблона

Предельная погрешность совмещения:

Δс = ± (Δп + Δш + Δи + Δt) = ± 1.5 мкм

где Δп - погрешность знака совмещения на пластине, ± 0.4 мкм

Δш - погрешность знака совмещения на шаблоне, ± 0.35 мкм

Δи - инструментальная погрешность совмещения, ± 0.5 мкм,

Δt - погрешность шага, возникающая в процессе изготовления групповых фотошаблонов, ± 0.25 мкм

Для выполнения этих операций необходимо использовать установку полуавтоматического совмещения и экспонирования УПСЭ-4.

Проявление и термообработка фотомаски. В процессе проявления избирательно растворяются участки фотослоя - в нашем случае при использовании негативного фоторезиста - неэкспонированные. Будем использовать особенно эффективный способ проявления - пульверизационный (струйный) (рис.14), который облегчает автоматизацию процесса и позволяет объединить его с последующими операциями отмывки и сушки в едином агрегате. Для проявления: температура 20 ºС, рН 12.4, для сушки: время 1ч, максимальная температура 150 ºС, повышение температуры проводить ступенчато в три этапа.

Рис.14.Схема центрифуги для струйного проявления: 1 - Полый ротор; 2 - Днище камеры с отверстием для сброса реактивов; 3 - Струйная форсунка сушки; 4 - Пневматические форсунки проявления и промывки; 5 - Платформа с пластинами; 6 - Съемная крышка

Травление слоя окиси кремния - в буферном травителе, содержащем плавиковую кислоту (40%) для реакции:

SiO2 + 4HF → SiF4 + 2H2O

Выделяющийся при этом газообразный четырехфтористый кремний связывается в SiF6 и не приводит к растрескиванию и отслаиванию фотомаски по контуру рисунка благодаря наличию в составе травителя фтористого аммония NH4F (48%). Оставшаяся доля в травителе - вода. Использовать автомат химической обработки полупроводниковых пластин АФОП, позволяющий проводить травление, отмывку и сушку.

Удаление фотомаски проводим воздействием концентрированной серной кислотой при 160 ºС. При этом имеет место химическая деструкция фоторезиста. Для удаления фоторезистивных масок использовать полуавтомат «Плазма-600» или подобные.

. Вскрытие окон в окисле под разделительную диффузию примеси.


Изолирующая диффузионная область состоит из кольцевых участков р+-типа, простирающихся от поверхности кремния через эпитаксиальный слой п-типа к подложке исходного материала р-типа. По завершении изолирующей диффузии эпитаксиальные слои п-типа будут отделены друг от друга областями р-типа: подложкой р-типа снизу и изоляционной р+- областью по сторонам. Изолирующая диффузия обычно протекает в два этапа: на первом осуществляется ввод примеси (бора) и формирование области ее высокой концентрации. На втором - продолжительный цикл перераспределения примеси, в результате которого бор, образующий р-п переход, должен проникнуть на достаточную глубину.

. Окисление поверхности для базовой диффузии.


. Фотолитография для вскрытия окон под базовую диффузию.


. Формирование базового слоя диффузией примеси р-типа.


Цель проведения диффузии - внедрение атомов легирующего элемента в кристаллическую решетку полупроводника для образования области с противоположным по отношению к исходному материалу типом проводимости.

В качестве легирующего элемента выберем бор, т.к. этот элемент имеет достаточно высокую скорость диффузии и хорошую растворимость в полупроводнике при температуре диффузии.

Температура диффузии: 1150 ºС, коэффициент диффузии - количество примесных атомов, проходящих через площадку 1 см2 за 1 с при градиенте концентрации атомов примеси, равном 1 см-4, иначе говоря, плотность потока при единичном градиенте концентрации: 10-12 см2 / с.

Так как бор является тугоплавким элементом и при температуре диффузии имеет ничтожно малую упругость пара, то в качестве источника примеси применяют различные соединения (ангидриды, галогениды, гидриды и т.д.), называемые диффузантами.

В нашем случае целесообразно использовать жидкий диффузант BBr3. Это связано с тем, что при использовании твердых диффузантов трудно регулировать давление паров, кроме того, для их испарения требуется высокая и стабильная температура, а газовые диффузанты высокотоксичны, поэтому их использование требует дополнительных затрат на герметизацию элементов установки, контроль производственной атмосферы и т.д. Жидкие же диффузанты подобных недостатков лишены. Они обладают высокой упругостью пара при невысоких температурах, для них применяют простые однозонные печи (например диффузионную однозонную печь СДО-125/ 3-12):

Рис.15. Схема однозонной диффузионной печи: 1 - Источник жидкого диффузанта; 2 - Кран; 3 - Ротаметр; 4 - Кварцевая труба; 5 - Газосмеситель; 6 - Нагреватель; 7 - Кварцевая кассета с пластинами

Для транспортировки паров диффузанта в зону диффузии будем использовать аргон: он не взаимодействует с кремнием и практически не диффундирует в него.

Операционный цикл диффузии включает в себя следущие переходы:

. Промывка реактора аргоном с расходом до 150 дм3 / ч

. Вывод реактора на заданный температурный режим (2 -3 ч)

. Загрузка (через бокс) кассеты с пластинами и прогрев ее в течение 10 мин с подачей аргона для удаления десорбирующихся газов

. Подача аргона с парогазовой смесью (диффузант, кислород)

. Выдержка при постоянной температуре в течение контролируемого времени (собственно процесс диффузии)

. Прекращение подачи смеси и извлечение кассеты с пластинами

Сам процесс диффузии состоит из следующих стадий:

. Взаимодействие диффузанта с кислородом в газовой фазе с выделением ангидрида легирующего элемента:

BBr3 + O2 → B2O3 + Br2

. Диффузия ангидрида через растущий окисел к границе раздела SiO2

. Взаимодействие молекул ангидрида с кремнием и выделение атомарной примеси:

B2O3 + Si → SiO2 + B

. Диффузия атомов легирующего элемента в кристаллической решетке кремния

. Окисление поверхности.


. Фотолитография для вскрытия контактных окон.


В структуре кремния необходимо сформировать омические контакты алюминия с кремнием. С этой целью вскрываются окна под контакты, и проводится диффузия в соответствующие области. Фотолитография контактных окон - наиболее ответственная фотолитографическая операция при изготовлении структур ИМС. В этой операции одинаково важную роль играют и точная передача размеров окон, и качество совмещения, и наличие дефектов - проколов в слое оксида. При этом размеры контактных окон и зазоры при их совмещении всегда меньше, чем размеры и зазоры на других операциях фотолитографии. Размеры проколов, опасных при фотолитографии контактных окон, также очень малы - доли микрометра. Дефекты, возникшие на стадии фотолитографии контактных окон, проявляются после формирования контактов. Алюминий, например, проникает сквозь проколы в оксидной пленке толщиной около 0.3 мкм. Поэтому отсутствие дефектов - важнейшее требование, предъявляемое к фотолитографии контактных окон.

. Процесс формирования межсоединений.


Процесс формирования межсоединений в ИМС складывается из двух этапов - металлизации и фотолитографии по металлической пленке.

Металлизация - это нанесение на кремниевую пластину, на которой уже сформированы структуры, сплошной металлической пленки для получения качественных омических контактов с элементами ИМС, а также электропроводящего покрытия, надежно сцепляющегося с пленкой SiO2.

Фотолитография по металлической пленке обеспечивает требуемую конфигурацию проводников межсоединений, а также формирует по периферии кристалла контактные площадки, необходимые для присоединения ИМС к внешним выводам корпуса.

К металлу, используемому для этих целей, предъявляется ряд требований по проводимости, по технологичности при нанесении, коррозионной стойкости, адгезии к пленке SiO2 и другие требования.         

Наиболее полно им отвечает высокочистый алюминий марки А99 (ГОСТ 11069 - 64), который мы и будем использовать для металлизации поверхности нашего резистора. Для этого необходимо применить метод термического вакуумного испарения из резистивных испарителей при температуре на пластине 200 - 400 ºС и невысоких скоростях осаждения (0 - 15 нм / с).

При фотолитографии по алюминиевой пленке будем также использовать негативный фоторезист.

Рис.16. Фотошаблон для фотолитографии по металлической пленке.

После фотолитографического процесса, с помощью которого формируют рисунок межсоединений, проводят вжигание контактов. Цель этой операции - повышение адгезии пленки за счет взаимодействия алюминия с изолирующим окислом:

SiO2 + Al → Al2O3 + Si

и внедрения алюминия в кремний через контактные окна.

Рекомендуемый режим вжигания - нагрев до температуры 550 ºС с выдержкой 5 - 10 мин.

. Местная фотолитография и травление участков металлической пленки.

диффузионный резистор полупроводниковый интегральный

Выводы

Цель данного курсового проекта - научиться проектировать отдельные элементы твердотельных интегральных микросхем, реализуемых в условиях серийного производства по планарной технологии. При выполнении курсового проекта я ознакомился со способом проектирования диффузионного резистора, который входит в состав интегральной микросхемы, реализуемой в условиях серийного производства по планарной технологии, приобрёл опыт самостоятельного решения инженерных задач в области проектирования элементов интегральных устройств РЭС, а также опыт работы со стандартами и справочниками, методиками проектирования. В ходе выполнения курсовой проект, я применял на практике теоретические знания по общеинженерным и специальным дисциплинам, различные методы расчета. В итоге выполнения данной работы я выбрал технологию, спроектировал процесс и технологическую оснастку для изготовления диффузионного резистора.

Список использованной литературы

1.   Данилов И.И. Методические указания к курсовому проектированию по курсу «Интегральные устройства РЭС». М.: Издательство МГТУ. 2003. 7 с.

2.      Парфенов О.Д. Технология микросхем: учебное пособие для вузов по специальности «Конструирование и производство ЭВА». - М.: Высшая школа, 1986. - 320 с., ил.

.        Парфенов О.Д. Расчет и конструирование интегральных резисторов: Методические указания по курсовому проектированию по курсу «Микроминиатюризация электронно-вычислительных средств». М.: Издательство МГТУ. 1994. 28 с., ил.

Похожие работы на - Разработка конструкции и технологического процесса изготовления диффузионного резистора

 

Не нашли материал для своей работы?
Поможем написать уникальную работу
Без плагиата!
Без нейросетей!