Капитальный ремонт силового трансформатора ТМ-1000/35

  • Вид работы:
    Курсовая работа (т)
  • Предмет:
    Физика
  • Язык:
    Русский
    ,
    Формат файла:
    MS Word
    72,07 Кб
  • Опубликовано:
    2013-08-06
Вы можете узнать стоимость помощи в написании студенческой работы.
Помощь в написании работы, которую точно примут!

Капитальный ремонт силового трансформатора ТМ-1000/35

Содержание

Введение

.       Номинальные параметры ремонтируемого оборудования

2.      Организация и технология ремонта

.        Техническое оснащение (Выбор такелажного оборудования и грузоподъемных механизмов)

4.      Охрана труда и природоохранные мероприятия

.        Перечень технической документации используемой при ремонте

.        Перечень технической документации оформляемой в процессе ремонта и после его окончания

Список используемой литературы

Введение

Заданием на курсовой проект является капитальный ремонт силового трансформатора ТМ-1000/35.

Трансформатор - это статическое электромагнитное устройство с несколькими индуктивно связанными обмотками, предназначенное для преобразования посредством электромагнитной индукции переменного тока одного напряжения в переменный ток другого напряжения. Передача электрической энергии с одной обмотки трансформатора на другую осуществляется с помощью электромагнитного поля. Различают силовые и измерительные трансформаторы.

Классификацию трансформаторов можно произвести по нескольким признакам:

. По назначению трансформаторы разделяют на силовые общего и специального применения. Силовые трансформаторы общего применения используются в линиях передачи и распределения электроэнергии. Для режима их работы характерна частота переменного тока 50 Гц и очень малые отклонения первичного и вторичного напряжений от номинальных значений. К трансформаторам специального назначения относятся силовые специальные (печные, выпрямительные, сварочные, радиотрансформаторы), измерительные и испытательные трансформаторы, трансформаторы для преобразования числа фаз, формы кривой ЭДС, частоты и т.д.

. По виду охлаждения - с воздушным (сухие трансформаторы) и масляным (масляные трансформаторы) охлаждением.

. По числу фаз на первичной стороне - однофазные и трёхфазные.

. По форме магнитопровода - стержневые, броневые, тороидальные.

. По числу обмоток на фазу - двухобмоточные, трёхобмоточные, многообмоточные (более трёх обмоток).

. По конструкции обмоток - с концентрическими и чередующимися (дисковыми) обмотками.

Силовой трансформатор используется для преобразования электрической энергии при непосредственном питании приемников энергией высокого или низкого напряжения неизменной частоты. Стандартными номинальными линейными напряжениями электрических сетей переменного тока до 1000В являются (ГОСТ 21128-83):6, 12, 27, 40, 60, 110, 120, 220, 380, 660В, выше 1000В (ГОСТ 721-77):6, 10, 20, 35, 110, 220, 330, 500, 750, 1150кВ. Передача электроэнергии на большие расстояния осуществляется, как известно, при высоких напряжениях с целью уменьшения потерь в передающих сетях и сечения проводов линий электропередач. В местах потребления электроэнергии ее напряжение с помощью трансформаторов понижается до требуемого значения.

1. Техническая характеристика ремонтируемого оборудования

Ремонтируемый трансформатор является масляным. У этих трансформаторов обмотки вместе с магнитной системой погружены в бак с трансформаторным маслом для улучшения изоляции токоведущих частей и условий охлаждения трансформатора.

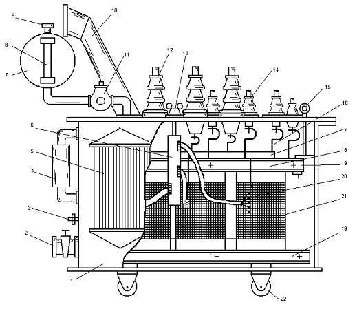
Рисунок 1 - Устройство силового масляного трансформатора мощностью 1000 кВА напряжением 35 кВ.

Где: 1-бак, 2- вентиль, 3- болт заземления, 4- термосифонный фильтр, 5- радиатор, 6- переключатель, 7- расширитель, 8- маслоуказатель, 9- воздухоосушитель, 10- выхлопная труба, 11- газовое реле, 12- ввод ВН, 13- привод переключающего устройства, 14- ввод НН, 15- подъемный рым, 16- отвод НН, 17- остов, 18- отвод ВН, 19- ярмовые балки остова (верхняя и нижняя), 20- регулировочные ответвления обмоток ВН, 21- обмотка ВН (внутри НН), 22- каток тележки.

Масляный трансформатор ТМ (рисунок 1) состоит из магнитопровода с размещенными на нем обмотками высокого напряжения (ВН) и низкого напряжения (НН), бака и крышки с вводами. Выводы обмоток ВН и НН, изоляторы смонтированы на крышке, которая крепится к баку болтами и уплотняется прокладкой из маслостойкой резины. На крышке также расположены колпак привода переключателя и расширитель. Для перемещения при монтаже и ремонте трансформатор снабжен стальными катками.

Магнитопровод набирают из изолированных между собой (для уменьшения потерь от вихревых токов) листов холоднокатаной электротехнической стали толщиной 0,35-0,5 мм. В качестве межлистовой изоляции чаще всего применяют лаки, которые после нанесения на металл и запекания образуют пленку с высокими изоляционными свойствами, механически прочную и маслостойкую.

Обмотки выполняют из медного или алюминиевого провода круглого или прямоугольного сечения. В качестве изоляции проводов используют телефонную или кабельную бумагу и хлопчатобумажную пряжу.

Переключатель служит для изменения числа витков первичной обмотки, а следовательно, коэффициента трансформации при регулировании в определенных пределах вторичного напряжения трансформатора. Трансформаторы мощностью 1000кВА имеют пять ступеней регулирования напряжения в пределах от-5% до +5%.

В баке трансформатора находятся магнитопровод с обмотками и трансформаторное масло. К баку приварены циркуляционные трубы в несколько рядов (трубчатые баки). В верхней части бака приварены крюки для подъема трансформатора, а внизу бак имеет болт для заземления и маслосливной кран.

Расширитель представляет собой сварной стальной цилиндр, закрепленный на кронштейнах и соединенный с баком патрубком. Уровень масла в расширителе контролируется указателем уровня в виде трубки или прозрачной вставки. В верхней части расширителя имеется отверстие для заливки масла, которое закрывается пробкой с резьбой. Для свободной циркуляции воздуха установлена дыхательная труба, нижний торец которой защищен крышкой с отверстием и сеткой. Вместе с воздухом в расширитель (а следовательно, ив масло) могут попадать частицы пыли и грязи, а также пары влаги, которые конденсируются на его стенках. Для удаления загрязненного масла и влаги имеется отстойник с пробкой. Температуру масла в трансформаторе контролируют ртутным термометром или термометрическим сигнализатором.

Технические данные трансформатора приведены в таблице 1

Таблица 1 - Данные трансформатора ТМ-1000/35

Тип трансформатора

Sном кВА

Uном ВН кВ

Uном НН кВ

Потери, кВт

Uк, %

Ixx,%





Pхх

Pкз



ТМ-1000/35

1000

20

10,5

2

11,6

6,5

1,4


Обозначение трансформаторов состоит из двух частей: буквенной и цифровой. Буквы в обозначении трансформатора означают: первые число фаз ( Т - трехфазный); вторые вид охлаждения (М - естественное масляное);

2. Организация и технология ремонта

Таблица 2 - Неисправности трансформаторов.       

Элемент трансформатора

неисправность

причины неисправности

Обмотки

Витковое замыкание

Старение изоляции, постоянные перегрузки, динамические усилия при коротких замыканиях.


Замыкание на корпус (пробой), междуфазное короткое замыкание

Старение изоляции, увлажнение масла или снижение его уровня, внутренние и внешние перенапряжения, деформация обмоток вследствие прохождения больших токов КЗ.


Обрыв

Отгорание выводных концов обмоток из-за низкого качества соединения или электродинамических усилий при КЗ.

Переключатель регулирования напряжения

Отсутствие контакта

Нарушение регулировки переключателя


Оплавление контактной поверхности

Термическое воздействие на контакты токов КЗ

Вводы

Электрической пробой на корпус

Магнитопровод

“Пожар стали”

Нарушение изоляции между листами или стяжными болтами


Разборка и дефектировка трансформаторов

Сначала трансформатор очищают от грязи, а затем внимательно осматривают его снаружи с целью выявления внешних неисправностей: трещин в армировочных швах, скола фарфора вводов, нарушений сварочных швов и протекания масла из фланцевых соединений, механических повреждений циркуляционных труб, расширителя и др.деталей. Обнаруженные неисправности записывают в дефектировочные карты.

Перед разборкой из трансформатора сливают (частично или полностью) масло. Частично (до уровня верхнего ярма магнитопровода) масло сливают, если ремонтные работы выполняются без подъема активной части трансформатора (например, при замене вводов, ремонте контактов переключателя) или с ее подъемом, но на время, не превышающее допустимое время пребывания обмоток трансформатора без масла. Полностью масло сливают, если необходима сушка активной части трансформатора или в случаях, требующих замены поврежденных обмоток или замены масла при его непригодности для дальнейшего использования из-за загрязнения и увлажнения.

Последовательность разборки трансформатора зависит от его конструкции. Рассмотрим основные операции разборки и ремонта трансформаторов большого диапазона мощностей и различного конструктивного исполнения.

Разборку начинают с демонтажа газового реле, предохранительной трубы, термометра, расширителя и др.устройств и деталей, расположенных на крышке трансформатора. Затем отвертывают болты крепления (придерживая реле рукой) и, перемещая корпус реле параллельно фланцам, снимают его. Отверстия реле закрывают листами фанеры или картона и закрепляют освободившимися болтами. Реле аккуратно кладут на стеллаж или передают в электролабораторию для испытаний и ремонта.

Расширитель демонтируют в следующем порядке: снимают с него маслопровод с краном, стекло маслоуказателя закрывают временным щитком из фанеры, привязав его к арматуре маслоуказателя веревками; стропят расширитель пеньковым или стальным стропом (в зависимости от массы) и отвертывают крепежные болты; устанавливают наклонно две доски и по ним опускают расширитель на пол; закрывают отверстия в крышке и расширителе временными фланцами из листовой резины, фанеры или картона во избежание попадания в них грязи и влаги.

Далее демонтируют крышку трансформатора, при этом освободившиеся болты укомплектовывают шайбами и гайками, смачивают керосином и хранят в металлической таре до сборки.

Для подъема активной части трансформатора применяют специальные приспособления и стропы, рассчитанные на массу поднимаемого груза и прошедшие необходимые испытания. При подъеме активной части трансформатора с вводами, расположенными на стенках блока, сначала отсоединяют отводы, демонтируют вводы и только затем поднимают активную часть. При этом, когда крышка будет приподнята над баком на 200-250 мм, подъем временно прекращают, чтобы убедиться в отсутствии перекоса поднимаемой активной части, который может привести к повреждению обмоток. Если обнаружится перекос, активную часть опускают на дно бака и снова поднимают только после его ликвидации. В начале подъема рекомендуется убедиться в исправности грузоподъемного механизма, для чего необходимо поднять активную часть на 50-200 мм над уровнем дна бака и держать ее на весу в течение 3-5 мин, затем продолжать подъем. Подняв активную часть над баком не менее чем на 200 мм, бак удаляют. Стоять под активной частью или в опасной близости от нее, а также производить ее осмотр категорически запрещается.

Продолжая разборку, отсоединяют отводы от вводов и переключателя, проверяют состояние их изоляции, армировочных швов ввода и контактной системы переключателя (все неисправности записывают в дефектировочную карту). Затем отвертывают рамы с вертикальных шпилек и укладывают так, чтобы не повредить выступающие под крышкой части; вводы закрывают цилиндрами из картона или обертывают мешковиной.

Основные операции по демонтажу обмоток выполняют в такой последовательности: удаляют вертикальные шпильки, отвертывают гайки стяжных болтов и снимают ярмовые балки магнитопровода, связывая и располагая пакеты пластин по порядку, чтобы удобнее было их потом шихтовать. Далее разбирают соединения обмоток, удаляют отводы, извлекают деревянные и картонные детали расклиновки обмоток ВН и НН и снимают обмотки вручную или с помощью подъемного механизма (обмотки трансформаторов мощностью 100кВА и выше) сначала ВН, а затем НН.

При дефектировке обмоток для определения мест винтовых замыканий используют комплект специальных приборов. После дефектировки поврежденные обмотки доставляют в обмоточное отделение, а расширитель, переключатель, вводы и др.детали трансформатора, требующие ремонта, - в отделение ремонта электромеханической части.

Ремонт и изготовление обмоток

При ремонте обмоток с поврежденной изоляцией (в результате электрического пробоя или износа) целесообразно использовать повторно провод обмоток после его переизолировки. Процесс переизолировки заключается в отжигании его в печи (при температуре 550-600оС, промывке в горячей воде и покрытии новой изоляцией на оплеточных станках или специальными приспособлениями на обычном токарном станке. В качестве изоляционных материалов применяют хлопчатобумажную (шелковую, стеклянную, из химических волокон) пряжу высоких номеров (№ 60 и более), ленты из кабельной или телефонной бумаги шириной 10-25 мм, толщиной 0,05-0,12 мм. При правильном выполнении операций переизолированный обмоточный провод по своим качествам будет равноценен новому.

Обмотки, имеющие небольшой участок повреждений проводов (оплавление или выгорание) и изоляции, в некоторых случаях ремонтируют только частичной перемоткой. Однако при таком ремонте возникают трудности с удалением поврежденной части обмотки и намотки новых секций. Кроме того, продолжительность работы трансформаторов с частично перемотанными обмотками в 2-3 раза меньше, чем трансформаторов с полностью перемотанными обмотками.

Намотку новых обмоток выполняют по образцам поврежденных обмоток на специальных намоточных станках, оснащенных шаблонами, натяжными приспособлениями и стойками с натяжными устройствами для барабанов с обмоточным проводом. Перед ремонтом, пользуясь чертежами, дефектировочной, маршрутной и технологической картами, подготавливают необходимые изоляционные и проводниковые материалы и инвентарные приспособления, а также рабочие и измерительные инструменты.

При изготовлении, сборке и монтаже обмоток в качестве изоляционных материалов применяют бумагу (кабельную, телефонную), электротехнический картон и деревянные детали, а также изоляционные конструкции из этих материалов.

Провод обмотки обычно наматывают на бумажно-бакелитовый цилиндр; кабельную и телефонную бумагу используют чаще всего в качестве межслойной изоляции, картон- в виде прокладок и штампованных и клеевых изоляционных деталей, а изоляционные конструкции- как уравнительную и ярмовую изоляцию.

Изготовленную обмотку стягивают с помощью круглых стальных плит и шпилек (чтобы обмотка не рассыпалась при транспортировке к месту выполнения очередной технологической операции) и отправляют на сушку. Она повышает качество обмотки и продолжительность ее работы в результате удаления влаги из бумажной изоляции, которая резко снижает электрическую прочность и срок ее службы.

Обмотки на напряжение до 35 кВ сушат при температуре до 105оС в обычных сушильных камерах с вытяжной вентиляцией и электрическим или паровым подогревом, а на напряжение 35 кВ и выше- в вакуумных сушильных камерах.

После сушки обмотку сжимают с помощью гидропресса без снятия плит, пока ее размер по оси не достигнет требуемого. Затем проверяют другие размеры обмотки, ликвидируют (с помощью клиньев) наклон катушек, обрезают выступающие части реек и клиньев, выявляют и ликвидируют другие дефекты обмотки, появившиеся в процессе намотки, сушки и прессовки.

Готовую обмотку подвергают различным проверкам и испытаниям с целью определения ее качества.

Затем обмотку направляют в сборочное отделение или устанавливают в специальную рамку и хранят в сухом и отапливаемом помещении.

Ремонт магнитопроводов

Магнитопроводы требуют чаще всего частичного ремонта, реже- ремонта с полной разборкой и перешихтовкой активной стали.

Частичный ремонт выполняют при небольших поврежедниях изоляционных деталей, ослаблении крепления ярмовых балок и т.п.

Места погара и оплавления активной стали защищают, снимая наплывы металла карборундовым камнем, насаженным на вал электросверлильной машины, или вырубая зубилом. Затем на этих местах распрессовывают пластины магнитопровода. Отделяют сваренные пластины, снимают заусенцы и, очистив участи от остатков старой изоляции и металлических опилок, изолируют пластины, прокладывая между ними листы телефонной или кабельной бумаги.

Часто в магнитопроводах бывают полностью повреждены бумажно-бакелитовые трубки, изолирующие стяжные шпильки от активной стали. В этих случаях изготавливают новые трубки.

Необходимость ремонта с полной разборкой и перешихтовкой возникает при таких тяжелых повреждениях, как “пожар стали”. В этом случае может выйти из строя значительная часть пластин активной стали магнитопровода и изоляционных деталей. При таких повреждениях ремонт магнитопровода состоит из следующих основных операций: подготовка к ремонту; разборка магнитопровода; очистка и изоляция пластин; изготовление изоляционных деталей; сборка.

Ремонт переключающих устройств

При ремонте переключающих устройств особое внимание уделяют состоянию их контактной системы. Причиной выхода из строя трансформаторов в десяти случаях из ста бывает неисправность переключающих устройств, в частности повреждение их контактов. Неисправности в контактной системе переключающего устройства: недостаточная плотность прилегания подвижных контактов к неподвижным; ослабление соединений регулировочных отводов к контактам переключающего устройства; нарушение прочности соединений отводов с обмоткой и др. Эти неисправности вызывают повышенные местные нагревы, часто приводящие к выходу трансформатора из строя.

В трансформаторах применяются переключающие устройства ПБВ (переключение без возбуждения) и РПН (регулирование под нагрузкой).

Ремонт переключающего устройства ПБВ начинают с внимательного осмотра всех деталей. Особое внимание обращают на состояние рабочих поверхностей подвижных и неподвижных контактов, так как при длительной работе контактов в масле они покрываются тонкой пленкой желтоватого цвета, которая увеличивает переходное сопротивление в контактах, вызывая повышенный их нагрев и повреждение. Поэтому контакты старательно очищают, протирая технической салфеткой, смоченной в ацетоне или чистом бензине. Подгоревшие и оплавленные контакты заменяют новыми.

При ремонте переключающего устройства ПБВ подтягивают все крепежные детали, заменяют поврежденные пружины, изолирующие детали и прокладки, проверяют отсутствие заеданий в контактах и совпадение рабочих поверхностей подвижных контактов с неподвижными, устраняют также другие дефекты, обновляют надписи и обозначения на переключателе.

Ремонт вводов

При ремонте трансформатора вводы тщательно осматривают. Если на поверхности изолятора имеется не более двух (на одной вертикальной линии) сколов площадью до 1 см2 и глубиной до 1мм, дефектные места промывают, а затем покрывают двумя слоями бакелитового лака, просушивая каждый слой в сушильном шкафу при 50-60оС. Изоляторы с большим количеством дефектов заменяют новыми.

Вводы, армированные швы которых разрушены не более чем на 30% по окружности, ремонтируют, очищая поврежденные участки и заливая их цементирующим составом. При значительных разрушениях армированного шва ввод переармируют. Для этого фасонным зубилом разрушают старую замазку и удаляют ее. Если замазка не поддается зубилу, ее предварительно смачивают 5%-м раствором плавиковой или 30%-м раствором соляной кислоты.

Старую армировочную замазку ввода удаляют и путем разрушения после предварительного нагревания. Для этого ввод помещают в термошкаф и в течение 1,5-2 ч выдерживают при 450-500оС, а затем легкими ударами по фланцу удаляют замазку.

Переармировку ввода выполняют следующим образом. Очистив изолятор ввода от пыли и грязи, а его фланец от остатков старой замазки, собирают ввод и устанавливают его вертикально в приспособление, которое состоит из стальной нажимной плиты толщиной 5мм, двух вертикальных стальных шпилек диаметром 10-12 мм с гайками и деревянной опоры толщиной 40-50 мм. Далее приготавливают порцию цементирующей смеси (140 мас.ч .магнезита, 70 мас.ч. фарфорового порошка и 170 мас.ч. раствора хлорного магния) и вливают ее тонкой струйкой до полного заполнения пространства между изолятором и фланцем. После затвердевания замазки (12-15 ч) ввод освобождают от приспособления, очищают от брызг магнезита и окрашивают армированный шов нитроэмалью 642 или 1.201. Вводы армируют в помещении при температуре не ниже 10оС.

Вводы трансформатора должны быть герметичны, поэтому переармированный ввод испытывают на специальном приспособлении; с помощью ручного гидравлического насоса создают избыточное давление (400 кПа) трансформаторного масла, подогретого до 70оС. Продолжительность испытания составляет 30 мин.

Ремонт отводов

В трансформаторах с неисправными обмотками часто повреждается (частично или полностью) бумажно-бакелитовая изоляция отводов (обуглены отдельные места или вся изоляция отводов). Удаление поврежденной изоляции отводов осуществляется в такой последовательности: отсоединяют отвод от переключателя и обмотки; снимают с него поврежденную изоляцию; надевают новую бумажно-бакелитовую изоляционную трубку; соединяют отвод с обмоткой и вводом или контактом переключателя. Эти работы обычно выполняет обмотчик-изолировщик. Однако при тяжелых авариях трансформатора может быть повреждена не только изоляция, но и токопроводящий проводник отвода (оплавляется проводник отвода, нарушается пайка в месте соединения отвода с демпфером). В таких случаях повреждение устраняет электрослесарь, изготавливая новый отвод или восстанавливая соединение отвода с демпфером.

При нарушении соединения отвода с демпфером напильником очищают концы отвода и демпфера от остатков припоя, а затем соединяют пайкой. Соединение демпфера с шиной отвода может быть выполнено и сваркой.

Ремонт бака, крышки, расширителя, термосифонного фильтра и арматуры

При ремонте трансформаторов проверяют состояние сварных швов бака, протекает ли масло из арматуры, целость резьбы крепежных деталей, наличие и состояние уплотняющих прокладок, крепление фланца предохранительной трубы на крышке, целость мембраны предохранительной трубы. Замеченные неисправности устраняют.

Поврежденные участки сварного шва вырубают зубилом и, очистив от грязи и масла, сваривают вновь; протекание масла в местах соединения циркуляционных труб с баком устраняют чеканкой, а из пробкового крана- притиркой пробки абразивными порошками; крепежные детали (болты, гайки, винты) с сорванной резьбой заменяют новыми; уплотняющие резиновые прокладки заменяют прокладками из маслостойкой резины; поврежденную стеклянную диафрагму, установленную на предохранительной трубке и прокладку, потерявшую упругость, заменяют новыми. Внутреннюю полость предохранительной трубы очищают от грязи, протирают тряпками и промывают чистым трансформаторным маслом. Поврежденную или потерявшую эластичность резиновую прокладку между фланцем предохранительной трубы и крышкой бака заменяют прокладкой, изготовленной из листа маслостойкой резины толщиной не менее 8 мм.

Расширитель, термосифонный фильтр, воздухоосушитель и маслозапорную арматуру разбирают, очищают от шлама и грязи, промывают в трансформаторном масле, а затем собирают. Покрытые ржавчиной поверхности очищают стальными щетками и окрашивают. В фильтрах и воздухоосушителях заменяют силикагель (свежим или восстановленным). Газовое реле, термометрический сигнализатор, пробивной предохранитель и другие контрольные и защитные приборы ремонтируют в соответствующих лабораториях (электрической, электротехнической, контрольно-измерительных приборов).

Отремонтированные и изготовленные сборочные единицы и детали после проверок и испытаний поступают в отделение сборки.

Сборка трансформаторов

Сборку трансформатора начинают со сборки его основной части-каркаса (остова) магнитопровода. К месту работы доставляют полный комплект изолированных пластин, изоляционных деталей, приспособлений и инструмента и располагают в таком порядке, чтобы при выполнении операций не нужно было делать лишних движений.

Магнитопроводы в зависимости от габаритных размеров собирают на металлических столах, приспособлениях или кантователях.

Пластины собранного магнитопровода неплотно прилегают одна к другой, поэтому его сначала прессуют, устанавливая груз или стягивая пластины временными шпильками, а затем проверяют по всему периметру толщину магнитопровода. Надевают на стяжные шпильки бумажно-бакелитовые трубки, электрокартонные и стальные шайбы, навинчивают гайки и слегка стягивают. Затем устраняют неровности и прессуют магнитопровод до требуемого размера (равномерно закручивая гайки на шпильках). После этого к нижним ярмовым балкам крепят опорные палки. Полностью собранный магнитопровод стропят, поднимают. Ставят вертикально на шпалы и устанавливают вертикальные прессующие шпильки.

После выполнения всех операций сборки магнитопровод осматривают, окончательно подтягивают шпильки, измеряют мегаомметром сопротивление изоляции ярмовых балок и шпилек по отношению к активной стали.

Полностью собранный магнитопровод доставляют в обмоточное отделение, где сначала расшихтовывают верхнее ярмо, устанавливают ярмовую изоляцию и изоляционные цилиндры, а затем насаживают обмотки на стержни и шихтуют верхнее ярмо.

При ремонте трансформаторов небольшой мощности в электроремонтном цехе магнитопровод собирают полностью (но без шихтовки верхнего ярма). На стержне такого магнитопровода насаживают обмотки НН и ВН. Изолируют их и только затем шихтуют верхнее ярмо и полностью собирают магнитопровод.

Заключительными операциями первого этапа сборки трансформатора являются сборка и соединение схемы обмоток.

Обмотки современных трансформаторов, применяемых в электроустановках промышленных предприятий, как правило, соединены “звездой” (в редких случаях- “треугольником”). В конце обмоток соединяют пайкой специальными паяльниками. После пайки участки соединения очищают от выступающих частиц припоя, изолируют лакотканью шириной 20-25 мм и покрывают лаком ГФ-95.

Для обеспечения высокой электрической прочности изоляции активную часть трансформаторов подвергают сушке, в результате которой удаляется влага из его твердой изоляции. Существуют различные способы сушки трансформаторов (например, в специальном шкафу, инфракрасными лучами, методом индукционных потерь, токами КЗ и др.).

После окончания сушки выполняют так называемую “отделку” активной части: подпрессовывают обмотку вертикальными шпильками верхнего и нижнего ярм магнитопровода. Затем проверяют сопротивление изоляции обмоток, стяжных шпилек и ярмовых балок и переходят к операциям второго этапа сборки трансформатора.

Крышки трансформаторов мощностью до 560 кВ*А устанавливают на подъемных шпильках магнитопровода и снабжают необходимыми деталями, а более мощных- комплектуют отдельно и закрепляют на подъемных шпильках выемной части или баке.

При этом особое внимание обращают на правильность установки уплотняющих прокладок, прочность затяжки гаек, правильность присоединения отводов к вводам и переключателю, уплотнения, исключающих протекание масла.

Активную часть с закрепленной на ней крышкой стропят за подъемные кольца тросами, поднимают краном и медленно опускают в бак, соблюдая меры предосторожности. Монтируют крышку, равномерно затягивают болты по всему периметру; на крышке устанавливают кронштейны, на которых крепят расширитель с маслоуказатем; располагают предохранительную трубу; устанавливают реле и пробивной предохранитель.

После сборки трансформатора перед заполнением его маслом еще раз проверяют мегомметром на 1000 В электрическую прочность изоляции обмоток. Затем трансформатор заполняют до требуемого уровня сухим трансформаторным маслом соответствующей электрической прочности, проверяют герметичность арматуры и установленных на крышке деталей, а также отсутствие течи масла из соединений и сварных швов.

Затем трансформатор подвергают электрическим испытаниям, объем и нормы которых установлены ГОСТом.

3. Техническое оснащение

трансформатор силовой ремонт мощность

Оборудование для обработки трансформаторного масла: устройство для обработки масла; цеолитовая установка для сушки масла; маслоочистительная установка; маслонагреватель; фильтры тонкой очистки; фильтр-пресс; электронасос центробежный, герметичный; электронасос шестеренчатый; установка для обработки масла; машина маслоочистительная; оборудование для вакуумировки трансформатора; вакуумные насосы пластинчатые, роторные, поршневые; оборудование для подсушки изоляции; устройство для подсушки изоляции; устройство для подогрева.

Электрооборудование: светильник ручной; электродрель.

Оснастка: подол плоский; лестницы деревянные; стропы; шпалы деревянные.

Инструменты общего назначения: инструмент слесарно-монтажный; зубило; ключи гаечные двухсторонние, односторонние; кернеры; кисти; киянки формировочные; кувалда; ножницы ручные для резки металла; круглогубцы; молоток; напильник; отвертки плоские, крестообразные; плоскогубцы; пассатижи; клейма ручные буквенные и цифровые; кусачки; шкурка шлифовальная тканевая; метчики гаечные; ножовка по дереву; лом монтажный; уровень строительный.

Измерительный инструмент: динамометр пружинный; микроомметр; линейка измерительная, металлическая; нутромер микрометрический; штангельциркуль; рулетка; лупа; набор щупов.

Электроизоляционные материалы: картон электроизоляционный; бумага кабельная; бумага крекированная; бумага для фильтрования; бумага телефонная; бумага электроизоляционная; бумага бакелизированная; бумага лакировальная кабельная; лакоткань; лента крекированная.

Лакокрасочные материалы: краски масляные; лак электроизоляционный, бакелитовый; олифа натуральная.

Нефтепродукты: масла трансформаторные; бензин автомобильный; солидол жировой; смазка литол; керосин для технических целей; смазка циатим; Уайт-спирит; ацетон технический.

Выбор такелажного оборудования и грузоподъемных механизмов

Канаты и стропы, применяемые при такелажных работах должны быть

проверены расчётом. Расчёт каната или стропы на прочность производится по формуле:

P/S>=K

Где К - коэффициент запаса прочности (определяется по [4,табл.4.20])

Р - разрывное усилие каната в целом.

S - наибольшее натяжение ветви каната или стропы, определяется по формуле: =9.8*m*Q/n

Где n - число ветвей стропа;

m - коэффициент, зависящий от угла наклона стропов к вертикали;

Q - масса поднимаемого груза в [кг].

В качестве примера приведём расчёт строповки активной части трансформатора:

S=9.8*6000*1.16/4=17052 H

K=8 [4, стр186, т.4.20], m=1.16, при Q=30°

Р=K*S=8*17052=136416 H = 13920 кгс

По [4, стр184, т.4.19] выбираем стальной канат типа ТК конструкции 6*19(1+6+12) двойной свивки диаметром 16 мм с расчётным разрывным усилием 14600 кгс.








Рисунок 2 - Схема строповки активной части трансформатора.

4.  Охрана труда и природоохранные мероприятия

В трансформаторах находится сотри килограммов масла, разлив и загорание которого опасно. Поэтому здания, в которых должны быть установлены трансформаторы, должны иметь 1 или 2 степень огнестойкости. Открытая установка трансформаторов допускается вблизи стен промышленных предприятий, обслуживаемого или технологически связанного с этим трансформатором.

Расстояние от трансформатора до стен промышленных предприятий или жилых зданий должны быть не менее 7-10 метров.

Для защиты от случайных прикосновений к токоведущим частям или к баку трансформатора, они ограждаются сетчатой перегородкой высотой не менее 2 метров.

Двери закрытых трансформаторных подстанций и камер запирают на замок. На дверях укрепляют предупредительный плакат. На баках надписывают порядковый номер трансформатора и его мощность.

При единоличном осмотре нельзя заходить в камеру трансформатора: следует стоять перед барьером. Если трансформатор осматривают 2 лица, то одному из них можно войти в камеру и проверить показания термометров, состояние кожухов, отсутствие течи масла, его уровень в расширителе, состояние устройств маслоохлаждения и маслосбора, отсутствие нагрева контактов, исправность сигнализации, заземления.

В случае пожара масло из баков трансформатора быстро сливают в дренаж и отводят в безопасное место. Для этого под трансформатором имеется яма с гравийной засыпкой толщиной 0.25м. Она выступает за габариты аппарата но 0.6-1м. Такой маслоприемник рассчитан на случай аварийного разлива всего объема масла.

Мощные трансформаторы отделяются перегородкой из негорючего материала с пределом огнестойкости не менее 1.5ч. Перегородка должна перекрывать габариты трансформатора на 1м с каждой стороны и выступать над выводами.

Меры пожарной безопасности.

1.   Противопожарные средства, которыми оснащены трансформаторные установки, поддерживайте в исправном состоянии и периодически проверяйте.

2.      Содержите в исправном состоянии: а)Устройства охлаждения, регулирования и защиты трансформатора. б)Маслоприемные устройства под трансформаторами для исключения при аварии растекания масла и попадания его в кабельные каналы и другие сооружения.

.        В пределах бортовых ограждений маслоприемника гравийную засыпку содержите в чистом состоянии и не реже 1 раза в год промывайте.

.        При обнаружении свежих капель масла на гравийной засыпке немедленно примите меры по выявлению источника их появления и предотвращения новых поступлений.

.        Сварочные работы на трансформаторе производите только после заливки его маслом до уровня выше места сварки на 200-250 мм во избежание воспламенения паров масла. Огневые работы согласуйте с пожарной частью ТЭЦ.

.        Запрещается выполнение мембраны на выхлопной трубе из материала, не предусмотренного заводом-изготовителем. При осмотре трансформатора должна быть обеспечена возможность контроля целости мембраны.

.        У трансформатора должны быть пенный огнетушитель, ящик с песком и лопата.

.        Сушку трансформаторов выполняйте в строгом соответствии с правилами ТБ, ПБ и по программе, утвержденной главным инженером станции.

.        При возникновении пожара на трансформаторе немедленно отключите его от сети всех напряжений, если он не отключился от действия релейной защиты. Вызовите пожарную команду и далее действуйте согласно «Оперативному плану пожаротушения ».

.        Запрещается при пожаре на трансформаторе сливать масло из бака, так как это может привести к распространению огня на его обмотку и затруднит тушение пожара.

.        При невозможности ликвидировать пожар основное внимание уделите защите от огня расположенных рядом трансформаторов и другого неповрежденного оборудования.

5. Перечень технической документации используемой при ремонте

После составления годовых графиков ремонта о определении укрупненных объемов работ энергопредприятие составляет на планируемый год план ремонта в стоимостном выражении.

Затем по действующим прейскурантам составляется схема на капитальный ремонт оборудования. Сводную схему сметы на капитальный ремонт оборудования с указанием стоимости работ, осуществляемых хозяйственным способом, услуг подрядных организаций, а также стоимость материалов и запасных частей.

Энергопредприятие может привлечь для составления смет соответствующую компетентную организацию.

Ремонт оборудования энергопредприятий должен проводиться в соответствии с требованиями рабочей конструктивной документации заводов изготовителей, а также ранее разработанных действующих документов на ремонт.

К механической документации относятся действующие в отрасли стандарты, технические условия на ремонт, руководство по ремонту, нормативы. К технической документации относятся документы, разработанные в соответствии с требованиями ЕСТД и “номенклатура и комплектность технических документов”.

К эксплуатационным и ремонтным документам относятся документы поставляемые заводами изготовителями в комплекте с новым оборудованием.

В процессе ремонта могут использоваться ремонтные чертежи. В дополнение к ним допускается использование ремонтных эскизов. На ряду с вышеуказанной документацией для обеспечения портативной организации управления, учета и отчетности при планировании и подготовке ремонта, его проведении и окончании должна применяться техническая и другая документация, акты, планы, графики, протоколы, ведомости.

6. Перечень технической документации, оформляемой в процессе ремонта и после его окончания

Приемка трансформатора из ремонта производится комиссией, возглавляемой главным инженером станции. В состав комиссии также входит руководитель ремонта, нач. цехов, в ведении которых находится ремонтирующееся оборудование, а также начальник цеха централизованного ремонта.

Программа приемки должна предусматривать:

1.   перечень приемо-сдаточных испытаний, сроки и ответственность за их поведение;

2.      разработку программ приемо-сдаточных испытаний;

.        сроки и ответственность за проверку отчетно-ремонтной документации;

.        сроки и ответственные за апробирование и приемку отдельных видов оборудования;

.        особые условия приемки отдельных видов оборудования из приемки;

.        другие мероприятия, связанные с проведением приемо-сдаточных испытаний.

Руководители работ предприятия, участвовавшие в ремонте, предъявляют приемной комиссии документы, составленные в процессе ремонта:

1. ведомость объема ремонтных работ;

2.      протокол технического решения по выявлению, но не устранению дефектов;

.        протоколы испытаний, карты контрольных измерений;

.        результаты входного контроля, сертификаты на использованные в процессе ремонта материалы и запасные части;

.        протоколы опробования оборудования;

.        акты на скрытие работы.

После приемо-сдаточных испытаний начинается контрольная эксплуатация отремонтированного оборудования, которая завершается через 30 календарных дней с момента включения оборудования под нагрузку.

В период подконтрольной эксплуатации должна быть закончена проверка работы оборудования на всех режимах проведенных испытаний и наладка всех систем. По результатам подконтрольной эксплуатации заполняется ведомость параметров и технического состояния оборудования.

На основании результатов испытаний и приемки оборудования из ремонта устанавливается оценка качества отремонтированного оборудования.

Оценка качества отремонтированного оборудования, характеристики, техническое состояние оборудования после ремонта и соответствует его требованиям НТД.


1.   С.А. Мандрыкин, А.А. Филатов “Эксплуатация и ремонт электрооборудования станций и подстанций”Энергоатомиздат

2.      “Руководство по капитальному ремонту трансформаторов напряжением ”

.        Этус Н.Г., Махлина Л.Н. “Технология электромонтажных работ на электростанциях и подстанциях” Энергоиздат 1982

.        Изиксон С.И., Клюев А.А., Меттус О.А. “Справочник по организации и механизации электромонтажных работ” Энергоиздат 1979

.        Технологические карты по ремонту электрооборудования электростанций

Похожие работы на - Капитальный ремонт силового трансформатора ТМ-1000/35

 

Не нашли материал для своей работы?
Поможем написать уникальную работу
Без плагиата!
Без нейросетей!