Исследование методов организации служебной связи при строительстве волоконно-оптических линий связи
МИНИСТЕРСТВО ОБРАЗОВАНИЯ И НАУКИ РОССИЙСКОЙ ФЕДЕРАЦИИ
Федеральное государственное бюджетное образовательное
учреждение
высшего профессионального образования
«КУБАНСКИЙ ГОСУДАРСТВЕННЫЙ УНИВЕРСИТЕТ»
(ФГБОУ ВПО «КубГУ»)
Физико-технический факультет
Кафедра оптоэлектроники
ДИПЛОМНАЯ
РАБОТА
Исследование
методов организации служебной связи при строительстве волоконно-оптических
линий связи
Работу
выполнил Троилин Р С
Специальность
210401 -Техника оптической связи
Научный
руководитель
канд.
техн. наук, доцент Сморщевский В. С.
Нормоконтролер
инженер Прохорова И. А.
Краснодар
2013
РЕФЕРАТ
Основной целью данной работы является
исследование и сравнительный анализ методов организации служебной связи при
строительстве ВОЛС.
Для этого в данной дипломной работе рассмотрены
основные этапы строительства современных волоконно-оптических линий связи,
основные технологии, используемые в процессе строительства, а также
классификация современных ВОЛС. Рассмотрены основные способы организации
служебной связи в процессе строительства, выполнен сравнительный анализ методов
организации служебной связи при строительстве ВОЛС.
Подробно рассмотрены принципы построения и
функционирования, современных волоконно-оптических телефонов позволяющих
организовать оперативную служебную связь по оптическим волокнам ВОЛС в процессе
строительства. Выполнены расчёты максимальной дальности связи с использованием
волоконно-оптических телефонов разного типа.
СПИСОК УСЛОВНЫХ ОБОЗНАЧЕНИЙ
ВОЛС- волоконно-оптическая линия связи;
ЭКУ- элементарный кабельный участок;
САД- сети абонентского доступа;
ОГТС- оптические городские телефонные сети;
ОВзТС- оптические внутризоновые телефонные сети;
ОМТС- оптические магистральные телефонные сети;
САД- сети абонентского доступа;
ODF- оптический
кросс;
ОСШ- оптический соединительный шнур;
ОВ- оптическое волокно;
ОТ- оптический тестер;
ОР- оптический рефлектометр;
КИП- контрольно измерительный пункт;
ОМ- оптическая муфта;
ВОК- волоконно-оптический кабель;
ВОСП- волоконно-оптическая система передачи;
ОК- оптический кабель;
АТС- автоматическая телефонная станция;
ТК- точка контроля;
ЦРРЛ- цифровые радиорелейные линии связи;
ТА- телефонный аппарат;
БС- базовая станция;
КБС- контролер базовых станций;
ТС- терминальная станция;
ОДС- оптическая дифференциальная система;
ВОТ- волоконно-оптический телефон;
ТА-МБ- телефонный аппарат с использованием
местной батареи.
ВВЕДЕНИЕ
Обеспечение массового доступа абонентов к
современным телекоммуни-кационным и информационным услугам является одной из
важнейших проблем в нашей стране. Актуальность этого вопроса возрастает в
первую очередь в связи с бурным развитием и внедрением в повседневную жизнь
человека глобальной сети Интернет. Доступ к ней требует резкого увеличения
пропускной способности сетей абонентского доступа, в связи с необходимостью
обеспечения всего спектра интегральных услуг. Любая информационная услуга для
качественного ее предоставления, определяет свои требования к каналу передачи
информации, начиная от его пропускной способности и кончая качеством такой
передачи. Фундаментом современной телекоммуникационной инфраструктуры являются
волоконно-оптические цифровые системы передачи [1-2]. На основе таких систем
связисовременные телекоммуникационные сети оптимизируются и перестраиваются
согласно двухуровневой иерархии:
магистральные транспортные сети;
сети абонентского доступа.
Такая модель построения телекоммуникационных
сетей гораздо экономичнее и удобнее для построения открытых систем и доставки
интегрированных услуг абонентам.
Основой волоконно-оптических цифровых систем
передачи являются волоконно-оптические линии связи, по оптическим волокнам
которых предаются оптические цифровые сигналы связи.
В настоящее время по оптическому волокну
получены суммарные рекордные скорости передачи 10 - 14 Тбит/с, при этом
скорость передачи в одном канале, достигнута 1 Тбит/с; количество каналов в
одном волокне составило 1000 при скорости передачи 3,25Гбит/с. Однако для
коммерческого применения используется не более 100 каналов, при скорости
передачи 40 Гбит/с [1-2].
Для строительства современных
волоконно-оптических линий связи используются различные технологии. При
использовании любой технологии важное место при организации строительства ВОЛС
занимают вопросы организации оперативной служебной связи между участниками
строительства и строящимися территориально удалёнными участками строительства.
В связи с этим в данной дипломной работе
рассмотрены основные этапы строительства современных волоконно-оптических линий
связи, основные технологии используемые в процессе строительства, а также
классификация современных ВОЛС. Рассмотрены основные способы организации
служебной связи в процессе строительства, выполнен сравнительный анализ методов
организации служебной связи при строительстве ВОЛС.
Подробно рассмотрены принципы построения и функционирования
современных волоконно-оптических телефонов позволяющих организовать оперативную
служебную связь по оптическим волокнам ВОЛС в процессе строительства. Выполнены
расчёты максимальной дальности связи с использованием волоконно-оптических
телефонов разного типа.
1. КЛАССИФИКАЦИЯ И ОБЩАЯ СТРУКТУРА СОВРЕМЕННЫХ
ВОЛОКОННО-ОПТИЧЕСКИХ ЛИНИЙ СВЯЗИ
1.1 Классификация
современных волоконно- оптических линий связи
При проектировании и построении современных
телекоммуникационных сетей используется двухуровневая модель (рисунок 1);
. Базовой сетью любой телекоммуникационной сети
является оптическая транспортная сеть связи, которая обеспечивает передачу всех
видов современного трафика (речь, данные, видео);
. К узлам оптической транспортной сети
подключаются цифровые сети широкополосного абонентского доступа (САД), которые
широко используют оптические технологии.
САД
технологии
Рисунок 1- Обобщённая схема двухуровневой модели
телекоммуникационных сетей
Современные оптические транспортные сети связи создаются
на основе активного станционного оборудования и волоконно-оптических линий
связи, оптические волокна которых служат средой передачи для оптических
сигналов связи, формируемых в станционном оборудование[3-4].
Оптические технологии на сетях абонентского
доступа («волокно в дом» FTTB,
«волокно в квартиру» FTTH)
также в качестве среды передачи используют оптические волокна ВОЛС, проложенных
специально для сетей абонентского доступа. Волоконно-оптические линии связи для
оптических транспортных сетей и для сетей абонентского доступа имеют примерно
одинаковую структуру и одинаковые базовые элементы, но также имеют и некоторые
отличия. Основное назначение ВОЛС - предоставление оптических волокон в
качестве среды передачи оптических сигналов различным системам оптической
связи. Оптические волокна одной ВОЛС могут использоваться для организации
работы нескольких совершенно различных и независимых оптических систем связи.
В настоящее время оптические транспортные сети
разделяются на следующие виды:
1. Оптические городские транспортные сети (ОГТС)
- предназначены для передачи всех видов трафика (речь данные видео) между
районными и узловыми АТС, АТС и АМТС на телефонной сети связи города.
Для сетей передачи данных ОГТС обеспечивают
связь между всеми узлами доступа разбросанными по территории города с
центральным узлом доступа оператора связи, (провайдера).
2. Оптические внутризоновые транспортные сети
(ОВзТС) - обеспечивают передачу всех видов трафика между АМТС райцентров и АМТС
зоны для телефонной сети связи, а также подключения центральных узлов доступа
сети передачи данных, пакетной коммутации различных операторов и провайдеров к
узлам доступа вышестоящих операторов (провайдеров).
По ОВзТС также может распространяться
видеоконтент (набор программ ТВ из областного центра в райцентр).
. Оптическая магистральная транспортная сеть
(ОМТС) - предназначены для соединения зоновых АМТС между собой для телефонной
сети связи, для соединения крупных операторов сетей передачи данных
(Ростелеком, Транстелеком).
Видеоконтент как правило по ОМТС не передается,
т.к. это дорого из-за больших расстояний.
В последние несколько лет всё более широкое
распространение получают ВОЛС на сетях абонентского доступа.
Соответственно, и волоконно-оптические линии
связи разделяются на:
. ВОЛС для оптических транспортных сетей разного
уровня:
городские ВОЛС;
внутризоновые ВОЛС;
магистральные ВОЛС;
.ВОЛС для сетей абонентского доступа.
Структура и технологии строительства ВОЛС
разного типа существенно отличаются между собой.
1.2 Общая структура современных
волоконно-оптических линий связи
Любая волоконно-оптическая линия связи (ВОЛС) -
это сложное инженерно-техническое сооружение, состоящее из элементарных
кабельных участков (ЭКУ) [5].
Волоконно-оптические линии связи являются
пассивной частью оптических сетей связи и предназначены для передачи оптических
линейных сигналов между станционным оборудованием узлов этих сетей связи.
Например, на рисунке 2 показана условная ВОЛС
«Пункт А - Пункт Г», которая состоит из трёх элементарных кабельных участков
ЭКУ 1,ЭКУ 2,ЭКУ. Все ЭКУ обязательно начинаются и заканчиваются на оптических
кроссах (ODF)
установленных в узлах связи.
Пункт А Пункт Б Пункт
В Пункт Г
ЭКУ 1 ЭКУ
2 ЭКУ 3


ODF
ODF ODF ODF ODF ODF
Рисунок 2 - Пример построения ВОЛС из трёх
элементарных кабельных участков
Для данного примера активное станционное
оборудование волоконно-оптических систем передачи (ВОСП) устанавливается в
станционных помещениях узлов связи пунктов: А, Б, В и Г.
Оптические волокна каждого ЭКУ включаются в
оптические кроссы,при этом оптические волокна одной ВОЛС могут использоваться
для организации работы нескольких, совершенно различных и независимых
оптических систем связи.Доступ к оптическим волокнам ЭКУ ВОЛС осуществляется
через оптические кроссы (ODF),
которые входят в состав элементарного кабельного участка.
В оптические кроссы заводятся
волоконно-оптические станционные или линейные кабели, оптические волокна,
которых методом сварки соединяются внутри кросса со специальными оптическими
шнурами (пиг-тейлами ). Пиг-тейлы включаются в порты оптического кросса
(рисунок 3),выполненные на основе оптических розеток (адаптеров). К внешней
стороне этих портов подключаются оптические соединительные шнуры типа
«патч-корд», которые обеспечивают подключение станционного активного
оборудования узлов связи к оптическим волокнам ЭКУ ВОЛС[ 5].
Рисунок 3 - Схема включения ЭКУ ВОЛС в
волоконно-оптическую систему передачи
Общая структура элементарного кабельного участка
ВОЛС приведена на рисунке 4.1
ЭКУ ВОЛС начинается и оканчивается на оптических
кроссах ODF,которые
установлены в помещениях для станционного активного оборудования. Между ЭКУ
ВОЛС расположены следующие основные элементы: устройства ввода ВОЛС в здание
объекта связи (узла связи), которые располагаются в специальном подвальном
помещение (шахта);
Строительные длины волоконно-оптического кабеля
(ВОК), которые соединяются между собой с помощью оптических муфт расположенных
в грунте, в канализации или подвешенных на опорах. Броня волоконно-оптических
кабелей на различных строительных длинах соединяется между строительными
длинами с помощью оптических муфт и контрольно-измерительных пунктов (КИП). На
рисунке 4.1 в качестве примера показаны две строительные длины ВОК;
КИПы, совмещенные с оптическими муфтами и служащие
для соединения или разрыва брони смежных строительных длин ВОК при технической
эксплуатации ВОЛС;
Станционные колодцы, которые располагаются около
объекта связи и где находится эксплуатационный запас ВОК;
Из станционного колодца ВОК заводится в шахту и через
устройство ввода ВОЛС заводится в помещение, где находится активное станционное
оборудование волоконно-оптической системы передачи (ВОСП), смонтированное на
специальной стойке или в телекоммуникационном шкафу.
На этом стойке (шкафу) находится оптический
кросс ODF, к которому
подключается ВОК. Переход от портов ODF
к портам (оптическим интерфейсам) ВОСП производится с помощью оптических
соединительных шнуров (патч-кордов), которые в состав ВОЛС не входят.
1.3 Основные этапы
строительства волоконно-оптических линий связи
Основные этапы строительства
волоконно-оптических линий связи.
И содержание работ на этих этапах,
подробноизложены в работах [5-8].
Этап 1. Подготовка к строительству ВОЛС
На первых этапах подготовки
строительства ВОЛС, как правило, выполняют следующие работы:
составляют проект производства
работ (ППР);
решают организационные вопросы
взаимодействия строительной организации с представителями заказчика;
проводят подготовку персонала к
выполнению основных строительно-монтажных операций;
проводят входной контроль ОК;
решают задачи материально-технического снабжения будущего строительства.
Непосредственно подготовка к
строительству конкретной ВОЛС начинается с того, что производственный отдел
строительно-монтажной организации (СМУ) с участием прораба разрабатывает ППР -
один из основных документов, по которому затем производят строительно-монтажные
работы на линейных участках. Этот документ составляют на основе детального
ознакомления с проектной документацией и подробного обследования на местности
трассы строящейся ВОЛС. Особое внимание при обследовании трассы ВОЛС уделяют
измерению истинных расстояний на местности между телефонными колодцами,
переходами через дороги и другими препятствиями. На основании этих данных затем
выбирают оптимальные планы прокладки ОК на различных участках трассы,
детализируют технологию строительства ВОЛС, составляют календарный план
производства работ по участкам с учетом трудоемкости отдельных операций, схему
транспортировки грузов для обеспечения строительства, рассчитывают потребность
машин и механизмов.
До начала поступления
волоконно-оптического кабеля на строительство ВОЛС наряду с работами по
обязательному обследованию будущих трасс прокладки и определению мест и
помещений для проведения входного контроля ОК должны быть решены вопросы
организации служебной связи с помощью радиостанций УКВ диапазона. Эти, а также
другие дополнительные работы, которые подробнее будут рассмотрены ниже,
учитывают при составлении ППР. Там же должна быть учтена повышенная
трудоемкость выполнения всех операций при строительстве ВОЛС.
В таблице1 показана взаимосвязь особенностей
конструкции ОК с характером работ, проводимых на разных этапах строительства
ВОЛС. Анализ данных этой таблицы позволяет сделать вывод о значительном
перераспределении трудозатрат на отдельных этапах строительства ВОЛС по
сравнению со строительством традиционных линий. Следует отметить качественный
сдвиг трудозатрат на первые этапы, вызванный необходимостью специальной подготовки
персонала, большим объемом подготовительных работ при входном контроле,
контроле при прокладке и монтаже. Объем измерительных работ составляет не менее
35 ... 40% общего объема работ по строительству ВОЛС, в отличие от 12... 15%
при строительстве обычных кабельных линий связи. Значительно больший объем
времени занимают операции по сращиванию ОВ и монтажу муфт ОК, требующие к тому
же значительно более квалифицированной подготовки монтажников.
Этап 1 не требует организации специальной
оперативной служебной связи между участниками строительства и монтажа ВОЛС.
Таблица 1- Особенности конструкции ОК связанные
с характером работ
|
Особенности
конструкции ОК
|
Подготовка
к строительству
|
Входной
контроль ОК
|
Прокладка
ОК
|
Монтаж
ОК
|
|
Критичность
к растягивающим усилиям
|
Определение
истинных расстояний на местности между колодцами, переходами и т. д.;
специальная подготовка персонала, участвующего в прокладке; подготовка запаса
ОК (до 10%) для первых участков
|
100-процентная
проверка кабелей на затухание; по окончании измерений - последовательное
соединение волокон ОК для образования шлейфа, по которому контролируют
процесс механизированной прокладки
|
Применение
специальных механизмов; прокладка с одновременным контролем целостности ОВ;
прокладка ОК в две стороны от середины участка; прокладка на участках ГТС
преимущественно в свободных каналах
|
Высокая
квалификация монтажников; специальная разметка ОК в смотровых устройствах;
применение муфт повышенной сложности
|
|
Малые
диаметр и масса, большие строительные длины
|
Выбор
оптимальной стратегии прокладки ОК
|
Группирование
строительных длин ОК
|
Стремление
прокладывать большими длинами; повышенная трудоемкость при прокладке на
участках ГТС
|
Особая
тщательность при сварке конусов муфт с тонкостенной оболочкой ОК
|
|
Большое
затухание сростков ОВ, сравнимое с затуханием строительных длин ОК
|
Специальная
подготовка монтажников
|
Пробная
сборка регенерационного участка на кабельной площадке при использовании новых
марок кабелей
|
Исключение
появления дополнительных стыков; применение специальных приспособлений
|
Сварка
волокон с контролем затухания, монтаж в специальных передвижных
монтажно-измерительных лабораториях
|
|
Невозможность
содержания ОК под избыточным давлением
|
Специальные
проектные решения по повышению надёжности ВОЛС
|
Трудоемкий
контроль целостности оболочки; контроль наличия по концам ОК гидрофобного
заполнения
|
Визуальный
контроль целостности оболочки при прокладке
|
Повышение
трудоемкости монтажа; обязательная проверка герметичности муфты после монтажа
|
Этап 2. Выбор технологии строительства ВОЛС
Строительство ВОЛС- является
достаточно дорогостоящим мероприятием и удельные затраты на строительство новых
ВОЛС при развитие сетей связи являются основными. Объем затрат при
строительстве ВОЛС в значительной мере зависит от выбора технологии строительства.
В настоящее время в России при
строительстве внутризоновых и магистральных ВОЛС используются три основные
технологии:
. Технология подземной
прокладки волоконно-оптического кабеля с использованием передвижных
механизированных колонн.
. Технология подвески
волоконно-оптического кабеля на опоры высоковольтных линий электропередачи.
. Технология подвески
волоконно-оптического кабеля на опоры контактной сети железных дорог.
Технико-экономический анализ,
проделанный при строительстве новых ВОЛС показал, что сроки строительства и
объем затрат на строительство значительно отличаются в зависимости от выбранной
технологии строительства (таблица 2).
Таблица 2- Сравнительный
технико-экономический анализ технологии строительства ВОЛС
|
Технологии
строительства
|
Стоимость
строительства (тысяч дол. США)
|
|
Линейных
сооружений
|
СМР
|
Прямые
затраты на 1 км
|
|
Подвеска
ВОК на опоры ВЛ в грозотросс
|
33357
|
42369
|
13
|
|
Подвеска
самонесущего диэлектрического ВОК на опоры ВЛ-10кВ и ВЛ-35кВ
|
-
|
-
|
5
- 8
|
|
Прокладка
в грунте ВОК 1 типа
|
35984
|
72031
|
22
|
|
Прокладка
в грунте ВОК типа 2
|
21781
|
57828
|
17
|
Известно, что ВОК типа 1 имеет
допустимое растягивающие усилие для прокладки в грунте не менее 80 килоньютон
(кН), а ВОК тип 2 не менее 20 кН. В связи с этим ВОК типа 1 дороже ВОК тип 2
из-за усиленного броневого покрова, следовательно и вариант строительства с
использованием ВОК типа 1 является самым дорогостоящим.
Вариант строительства методом
подвески ВОК на опоры ВЛ или контактной сети железных дорог является более
экономичным и может использоваться при строительстве ВОЛС.
Этап 2 не требует организации специальной
оперативной служебной связи между участниками строительства и монтажа ВОЛС.
Этап 3.Входной контроль
волоконно-оптического кабеля
В состав работ при входном
контроле входят: внешний осмотр кабельных барабанов и концов ОК, проверка
документации и вскрытие барабанов, испытание элементов кабельного сердечника,
оформление протоколов входного контроля ОК, а при необходимости - мелкий ремонт
ОК и барабанов, их перемотка, соединение шлейфом ОВ при механизированной
прокладке, обшивка барабанов и заделка концов OK.
Как и у обычных кабелей,
входной контроль ОК начинается с внешнего осмотра целостности кабельных
барабанов, проверки наличия паспортов и затем испытаний элементов кабельного
сердечника.
Если выведенный на щеку
барабана нижний конец кабеля имеет длину, недостаточную для разделки при
измерении затухания оптических волокон, то кабель следует перемотать, выведя
необходимый запас нижнего конца ОК (2±0,3 м) на щеку барабана. Во время перемотки
необходимо осуществлять визуальный контроль за целостностью наружной оболочки
кабеля. При вскрытии концов ОК нужно убедиться в наличии гидрофобного
заполнения.
Наиболее часто выявляющиеся
отклонения от технических условий на ОК: повышенное затухание и обрывы
оптических волокон, наличие утолщений кабельного сердечника, отсутствие
гидрофобного заполнения по концам ОК, повреждения оболочек, отсутствие
паспортов, несоответствие реальной длины паспортным данным. Как правило,
незначительные повреждения кабельной продукции с согласия заказчика устраняют
на месте.
При выявлении серьезных
повреждений барабанов или кабеля, которые могут затем проявиться при
транспортировании и прокладке ОК, а также привести к снижению эксплуатационной
надежности ВОЛС, должен быть составлен коммерческий акт с участием
представителей подрядчика и заказчика и решен вопрос о рекламации.
У кабелей с цепями для передачи дистанционного
питания НРП проводят испытания целостности жил и качества их изоляции -
измерение сопротивления изоляции и испытания ее напряжением в соответствии с
паспортом ОК. Кроме того, измеряют затухание оптических волокон. Для оценки
пригодности кабеля к прокладке измеряют затухание всех ОВ и сравнивают с
паспортными значениями. На входном контроле рефлектограммы снимают с обоих
концов строительных длин; в случае заметных расхождений измеренных величин
затухания с паспортными данными измерения перепроверяют методом обрыва ОВ.
После окончания электрических измерений ОК
составляют протокол по установленной форме. Очень ответственной операцией
является измерение сопротивления изоляции «броня-земля». Для этого ВОК опускают
в воду и измеряют Rиз.
Группирование строительных длин кабеля
заключается в подборе такой его физической длины, чтобы при прокладке ОК на
регенерационном участке окончания строительных длин находились непосредственно
перед препятствиями (трубопроводами, переходами через дороги и т.д.).
Группирование позволяет уменьшить число муфт на ВОЛС.
Этап 3 не требует организации специальной
оперативной служебной связи между участниками строительства и монтажа ВОЛС.
Этап 4. Прокладка (подвеска)
волоконно-оптического кабеля на трассе ВОЛС
На этом этапе могут использоваться разные
технологии прокладки (подвески) ВОК.
. Прокладка ВОК в грунт в траншею.
Технологический процесс при прокладке ВОК в
отрытую траншею практически совпадает с процессом прокладки медножильных
кабелей. Осуществляется он теми же техническими средствами.
2. Прокладка ВОК в грунт
кабелеукладчиком.
Более производительным и прогрессивным является
способ бестраншейной прокладки с помощью кабелеукладчиков. В этом случае ВОК
прокладывают непосредственно на дне узкой щели, прорезаемой в грунте ножом
кабелеукладчика, снабженным кассетой для направления, подачи и укладки кабеля
на заданную глубину залегания (0,9... 1,2 м). При этом кабель на пути от
барабана до выхода из кабеленаправляющей кассеты подвергается различным
механическим воздействиям, которые в зависимости от категории грунта,
скоростных режимов прокладки, конструкции ОК и кабелеукладчика могут изменяться
в значительных пределах, превышая в некоторых случаях предельно допустимое
растягивающее усилие на ОК.
3. Прокладка ВОК в телефонную
кабельную канализацию.
На городских телефонных сетях
волоконно-оптические и электрические кабели прокладываются в телефонной
кабельной канализации, коллекторах и тоннелях.
Телефонная кабельная
канализация предназначена для размещения кабелей, муфт и сопутствующего
кабельного оборудования. Головным сооружением кабельной канализации является
кабельная шахта, располагаемая подвальном этаже здания АТС, как правило, под
помещением кросса, а на небольших АТС - приямок .
Телефонная кабельная канализация представляет
собой систему трубопроводов (или кабелепроводов) и смотровых устройств
колодцев.
. Подвеска ВОК на опоры высоковольтных линий
электропередачи
В последние годы в России широкое
распространение получила технология строительства волоконно-оптических линий
связи (ВОЛС) путем подвески ВОК на опорах высоковольтных линий электропередачи
(технология строительства ВОЛС-ВЛ) и на опорах контактной сети
электрифицированных железных дорог (технология строительства ВОЛС эл/ж.д.) .
По критерию надёжности ВОЛС, подвешенные на
опорах ВЛ-110 кВ, соответствуют требованиям к коэффициенту готовности
существующей сети связи, а ВОЛС, подвешенные на опорах ВЛ-220, 330,500 кВ,
требованиям к коэффициенту готовности перспективной цифровой сети .
Технологии подвески, использующие опоры ВЛ-10
кВ,а также опоры контактной сети электрифицированных железных дорог,
проигрывают в главном - в надежности ВОЛС, определяемой коэффициентом
готовности.
Подвеска ВОК на опорах
высоковольтных линий передач(ВЛ) может производиться различными методами с
использованием оптических кабелей следующих типов:
ОКГТ - оптический кабель,
встроенный в грозозащитный трос;
ОКСН - оптический кабель
самонесущий;
ОКНН - оптический кабель,
навиваемый на грозозащитный трос или
фазный провод.
На этапе 4 требуется организации специальной
оперативной служебной связи между участниками строительства и монтажа ВОЛС.
Этап 5. Контроль параметров
волоконно-оптического кабеля после прокладки(подвески)
Для оценки пригодности проложенного
волоконно-оптического кабеля к монтажу оптических муфт после прокладки
(подвески) измеряют затухание всех ОВ и сравнивают с паспортными значениями.
При контроле после прокладки рефлектограммы каждого ОВ измеряют с обоих концов
строительных длин; в случае заметных расхождений измеренных величин затухания с
паспортными данными измерения перепроверяют .
После окончания оптических измерений ВОК на
каждую строительную длину составляют протокол по установленной форме. После
окончания оптических измерений ВОК составляют протокол по установленной форме.
Очень ответственной операцией является измерение
сопротивления изоляции «броня-земля» после прокладки строительных длин ВОК. Для
этого к каждой проложенной строительной длине ВОК подключают измеритель
сопротивления изоляции и измеряют величину Rиз.
После измерений сравнивают измеренную величину сопротивления изоляции с нормой.
С физической точки зрения сопротивление изоляции это распределенный параметр,
который примерно равномерно распределен вдоль всего кабеля.
Реальное сопротивление изоляции имеет
определенную величину,а для ВОК нормируется приведенное на 1км ВОК допустимое
сопротивление изоляции RН
≥5 МОм*км.
Если протяженность ВОК отличается от 1 км, то
норма на сопротивление изоляции определяется по формуле:
, (1)
где
- протяженность ВОК.
Для того чтобы в процессе
эксплуатации контролировать целостность внешней влагозащитной оболочки и тем
самым контролировать возможность попадания влаги в ВОК, рядом с оптической
муфтами и на узлах связи устанавливают контрольно измерительные пункты (КИП) к
которым по определенной схеме подключается броня.
На этапе 5 требуется организации
специальной оперативной служебной связи между участниками строительства и
монтажа ВОЛС.
Этап6.Монтаж оптических муфт с
использованием рефлектометрического контроля величины затухания сварных
соединений
Для того, чтобы выполнить нормы на
допустимое затухание сварных соединений монтаж оптических муфт выполняют с
использованием рефлектометрического контроля величины затухания сварных
соединений.
На этапе 6 требуется организации
специальной оперативной служебной связи между участниками строительства и
монтажа ВОЛС.
Этап 7. Измерения оптических и
электрических параметров оптических волокон и волоконно-оптического кабеля на
смонтированном элементарном кабельном участке.
На этом этапе с использованием
оптических тестеров измеряется затухание всех оптических волокон ЭКУ, при этом
измерения производятся в двух направлениях(А-Б и Б-А).Затем измеряются
затухания всех сварных соединений в каждом оптическом волокне в двух
направлениях(А-Б и Б-А) с помощью оптических рефлектометров ОР. Далее с помощью
приборов ИРК-ПРО измеряется сопротивление изоляции «броня-земля» всего ЭКУ
также в двух направлениях(А-Б и Б-А).
Результаты этих измерений заносятся
в исполнительную документацию на смонтированный ЭКУ ВОЛС и являются основанием
для приёмки ЭКУ ВОЛС в эксплуатацию.
На этапе 7 требуется организации
специальной оперативной служебной связи между участниками строительства и
монтажа ВОЛС.
1.4
Необходимость организации специальной оперативной служебной связи на различных
этапах строительства и монтажа ВОЛС
На этапах 1-3 не требуется
организация специальной оперативной служебной связи при строительстве и монтаже
ВОЛС.
На этапах 4-7 требуется организации
специальной оперативной служебной связи между участниками строительства и
монтажа ВОЛС.
После прокладки строительных длин
ВОК на элементарном кабельном участке ВОЛС (ЭКУ ВОЛС) производится измерение
оптических и электрических параметров каждой проложенной строительной длины.
Для этого в каждой строительной
длине с помощью оптического рефлектометра (ОР) проверяются оптические параметры
каждого оптического волокна:
целостность оптического волокна;
затухание оптического волокна;
коэффициент затухания оптического
волокна на рабочей длине волны 1310 нм или 1550 нм.
Затем с помощью прибора ИРК-ПРО
измеряется сопротивление изоляции«броня-земля» на строительной длине, при этом
противоположный от прибора конец строительной длины ставится на «изоляцию» от
земли.
Если измеренные параметры
соответствуют установленным нормам ,то даётся разрешение на монтаж оптических
муфт для соединения оптических волокон и брони строительных длин ВОК .
Для проведения этих измерений
организуется служебная связь между каждым концом строительной длины (точками
контроля ТК),схема организации служебной связи приведена на рисунке 5.
Служебная связь необходима для взаимодействия инженеров-измерителей в процессе
контроля оптических и электрических параметров, каждой проложенной строительной
длины. Протяжённость линии служебной связи на этом этапе равна протяжённости
строительных длин (протяжённость строительных длин обычно составляет 2-6 км).
ТК- точка контроля (оптический
рефлектометр, ИРК-ПРО)
Рисунок 5- Организация служебной
связи между точками контроля после прокладки строительных длин ВОК
Монтаж муфт производится
последовательно, начиная от основной точки контроля ТК (узел связи, где
находится оптический рефлектометр). После сварки оптических волокон в муфте
обязательно производится измерение затухания всех сварных соединений в данной
муфте. Для измерения затухания сварных соединений в процессе монтажа муфт
используется метод «шлейфа» (заворота оптических волокон на период измерения).
Для проведения этих измерений
организуется служебная связь между основной точкой контроля (ТК на узле связи)
и каждой монтируемой муфтой.
Схема организации служебной связи
при монтаже оптических муфт приведена на рисунке 6. Протяженность линии
служебной связи на этом этапе увеличивается по мере удаления монтируемой муфты
от основной точки контроля (узла связи).
Рисунок 6- Организация служебной
связи между точкой контроля (ОР) и оптическими муфтами (ОМ) при монтаже
оптических муфт
Измерения оптических и электрических
параметров на смонтированном элементарном кабельном участке.
На этом этапе с использованием
оптических тестеров измеряется затухание всех оптических волокон ЭКУ, при этом
измерения производятся в двух направлениях(А-Б и Б-А).Затем измеряются
затухания всех сварных соединений в двух направлениях(А-Б и Б-А) с помощью
оптических рефлектометров ОР, далее с помощью приборов ИРК-ПРО измеряется
сопротивление изоляции «броня-земля» всего ЭКУ также в двух направлениях(А-Б и
Б-А).
Для проведения этих измерений
организуется служебная связь между основными точками контроля (ТК) на узлах
связи (рисунок 7).
Рисунок 7 - Организация служебной
связи между точками контроля (ОТ, ОР, ИРК-ПРО) на смонтированном ЭКУ ВОЛС. ОТ-
оптический тестер; ОР - оптический рефлектометр; ИРК-ПРО- измеритель
электрических параметров ВОЛС
волоконный оптический телефон служебный
2. ОРГАНИЗАЦИЯ СЛУЖЕБНОЙ СВЯЗИ ПРИ СТРОИТЕЛЬСТЕ,
МОНТАЖЕ И ТЕХНИЧЕСКОЙ ЭКСПЛУАТАЦИИ ВОЛС
2.1
Телефонная связь и передача данных через сотовые сети мобильной связи
В настоящее время большое
распространение получили сотовые сети мобильной связи [9-10].В то же время
следует отметить тот факт ,что покрытие устойчивой связью территорий России для
сотовых сетей мобильной связи очень не равномерное. Такие сети значительно
развиты в крупных городах и слабо развиты в сельской местности. Сотовые сети
мобильной связи создаются по схеме «точка-многоточка», т.е. в центре сети
находится коммутатор сети -это узел связи, с цифровой АТС, со специальным
программным обеспечение, к которой обеспечивается доступ множества абонентов по
радиоканалам, от мобильных терминалов (мобильных телефонов).
Такие системы обеспечивают радиоканалы доступа
для качественной передачи речи (до 64 кбит/с), передачи данных с различной
скоростью (в зависимости от технологии мобильной сети) [9-10].
Абоненты по радиоканалам от абонентских
мобильных терминалов (мобильных телефонов ТС/ ТА) подключаются к базовым
станциям БС, которые обеспечивают покрытие радиосвязью определённой территории
(соты).
Общая упрощенная структурная схема сотовой сети
мобильной связи показана на рисунке 8. Абоненты в пределах своей сети могут
передавать информацию между собой, а также выходить на связь с абонентами
телефонной сети общего пользования ТФОП, а также с абонентами сотовых сетей
мобильной связи других операторов.
Все базовые станции подключаются к контроллеру
базовых станций. Для этого подключения используются системы оптической связи
или цифровые радиорелейные линии связи (ЦРРЛ).Контроллер базовых станций (КБС)
подключается через первичные цифровые потоки Е1 к цифровой АТС (ЦАТС) со
специальным программным обеспечением.
АА
А
Е1
ТФОП
А А
А
Сеть
абонентского радиодоступа
Рисунок8-Общая упрощённая структурная схема
сотовой сети мобильной связи
КБС также подключается к базовым станциям (БС),
каждая из которых с помощью антенны А обслуживает абонентов на определённой
территории, которая называется сотой. БС соединяется с терминальной станцией
(ТС) абонента радиоканалом, к ТС подключается телефонный аппарат (ТА) или
устройство для передачи данных в цифровом виде. Терминальная станция (ТС)
абонента вместе с внутренним телефонным аппаратом (ТА) и устройством для
передачи данных в цифровом виде является абонентским мобильным терминалом
(упрощённо: мобильным телефоном).
У абонентского мобильного терминала есть также
интерфейс для подключения компьютера (на рисунке для упрощения этот интерфейс
не показан).
При подключении базовых станций БС с
контроллером базовых станций КБС через цифровые радиорелейные линии связи
необходимо обеспечить прямую видимость между антеннами ЦРРЛ, как показано на
рисунке 9.
Рисунок 9- Схематичное изображение профиля
пролета ЦРРЛ с препятствиями
На рисунке 9 показано, что
и
- высоты
подвеса антенн БС и КБС соответственно. H - высота
преграды. Для устойчивой связи необходимо выполнять условие
, (2)
где
- радиус первой зоны Френеля (зоны
радиовидимости),
, (3)
После преобразований формула
приобретает вид
, (4)
В тех случаях, когда после
обеспечения этих условий появляются новые преграды между антеннами ЦРРЛ на БС и
КБС (построено новое высотное здание, выросло большое дерево ,появился
рекламный щит и т.д.) условие прямой видимости теряется и радиосвязь между
абонентским мобильным терминалом и антеннами БС,а также между антеннами ЦРРЛ
становится неустойчивой, зависит от отражённых лучей (рисунок 10).
Рисунок 10- Влияние преград на
радиоканал связи
Радиосигнал
<#"668747.files/image018.gif">
Рисунок 11- Классификация ВОК по
наличию конструктивных элементов
В таблице 3 приведены нормы на
электрические параметры для жил дистанционного питания ВОК
Таблица 3 Нормы на электрические
параметры для жил дистанционного питания ВОК
|
Параметр
|
Единица
измерения
|
Значение
|
Объект
нормирования
|
|
Электрическое
сопротивление постоянному току при 20°С, не более
|
Ом/км
|
16,0
|
Жила
ДП
|
|
Электрическое
сопротивление изоляции постоянному току, не менее
|
Мом·км
|
10000
|
Между
жилами ДП.
|
|
|
10000
|
Между
жилами ДП и металлическими элементами
|
|
Испытательное
напряжение в течение 2 мин: переменным током, постоянным током
|
кВ
|
|
|
|
|
2,5
|
Между
жилами ДП.
|
|
|
5,0
|
Между
жилами ДП
|
Можно привести несколько примеров таких
волоконно-оптических кабелей с медными изолированными жилами для дистанционного
питания.
Пример 1..
Кабель с длительно допустимым растягивающим усилием 7,0 кН; 12 ОВ (шесть
одномодовых ОВ и шесть многомодовых градиентных ОВ - 62,5 мкм); диэлектрический
центральный силовой элемент, вокруг которого наложен повив из двух оптических
модулей и четырех изолированных медных жил:
ОПН-ДПС-06-012Х06-7,0-М4-Х:006Е/006М
ТУ 3587-009-48973982-2000.
Производство компании «ОПТЕН».
Пример 2.. Кабель содержит 12
стандартных одномодовых ОВ; диэлектрический центральный элемент, вокруг
которого наложен повив из шести оптических модулей (по шесть ОВ в каждом);
промежуточная алюмополиэтиленовая оболочка; наружный покров из однослойной
брони (стальные проволоки), четыре изолированные, медные жилы:
СЕВ-ДАС-012Е06-06-М4 ТУ
3587-007-05755714-98 (Компания «Севкабель»);
Пример 3.Кабель содержит 12
стандартных одномодовых ОВ (Рек. МСЭ-Т G.652),
12 многомодовых градиентных ОВ с диаметром сердцевины 50 мкм и две медные жилы);
диэлектрический ЦСЭ; полиэтиленовая внутренняя оболочка; однослойная броня из
круглых стальных проволок; наружная оболочка из материала, не распространяющего
горение:
ЭКБ-ДПС-Н-24Х-06-6М2 (X:
12Е +12М) ТУ 3587-006-001-450.628-2-99.
Компания «ЭЛИКСКАБЕЛЬ».
На рисунке 12 показана
конструкция волоконно-оптического кабеля типа ДПО,ДВО с 5 изолированными
медными жилами.
Рисунок 12- Конструкция волоконно-оптического
кабеля типа ДПО,ДВО с 5 изолированными медными жилами
Известно, что спектр речевого телефонного
сигнала ограничен частотами 0,3 - 3,4 кГц. При этом основная энергия речевого
сигнала передаётся на частотах ,примерно, 1 кГц.
Для организации служебной
телефонной связи с использованием электрических телефонов по электрическим
жилам в оптическом кабеле необходимо использовать телефонные аппараты с
питанием от местной батареи (ТА-МБ) [12].В таких телефонных аппаратах имеются
собственные элементы питания, как правило ,с напряжением примерно U
пит = 9- 10 вольт.
2.3
Телефонная оптическая связь, организованная с использованием
волоконно-оптических телефонов (ВОТ) по оптическим волокнам проложенных
строительных длин ВОК и всего ЭКУ в целом
Устройства, которые позволяют обеспечивать
двухстороннюю голосовую связь между операторами по одному оптическому волокну,
получили название волоконно-оптических телефонов (ВОТ) [13].
Важнейшим параметром ВОТ является динамический
диапазон по затуханию и, соответственно, максимальная дальность связи.
Необходимо, чтобы ВОТ обеспечивали устойчивую телефонную связь на расстоянии
100…200 км, что соответствует длине элементарных кабельных участков
магистральных ВОЛС.
Также важно обеспечить нормальную работу ВОТ в
полевых условиях, когда с целью быстрого развертывания оперативной служебной связи
ВОТ подключается к оптическому волокну без его разрыва при помощи устройств
бокового ввода/вывода оптического излучения.
Кроме этого, ВОТ должны быть простыми в
эксплуатации, иметь малые габариты и вес и обеспечивать возможность длительной
работы от автономных источников питания.
Общая структурная схема ВОТ представлена на
рисунке 13, где показаны два полукомплекта ВОТ: в пункте А и пункте Б ЭКУ ВОЛС
[13].
В общем случае ВОТ состоит из передающего (Пер)
и приемного (Прм) устройств (блоков).
К передающему устройству подключается микрофон М
и это устройство является преобразователем электрического речевого сигнала в
оптический цифровой линейный сигнал, который передаётся в оптическое волокно.
Рисунок 13-Общая структурная схема
волоконно-оптических телефонов
К приёмному устройству подключается телефон Т и
оно является преобразователем принятого оптического цифрового линейного сигнала
в исходный электрический речевой сигнал.
Объединение направлений передачи и приёма в одно
оптическое волокно производится с помощью оптической дифференциальной системы
ОДС.
Оптический сигнал от Пер- А через ОДС - А,
разъемное оптическое соединение ОРС-А поступает в оптическое волокно ЭКУ ВОЛС и
далее на вход ВОТ Б. Через оптическое разъемное соединение ОРС-Б и ОДС- Б
оптический сигнал поступает на вход Прм Б, где он преобразуется в электрический
сигнал и далее в голосовое сообщение. Аналогичный путь проходит голосовое
сообщение из пункта Б в пункт А.
Таким образом, сформированные в оптических
передатчиках оптические цифровые линейные сигналы передаются во встречных
направлениях на одной длине волны λ.
При организации двухсторонней связи по одному
оптическому волокну необходимо учитывать следующие факторы: фактор 1. Включение
блоков Пер и Прм к оптической дифференциальной системе в общем случае может
вызвать переход части передаваемого линейного оптического сигнала из тракта
передачи в тракт приёма и воспринимается фотоприёмным устройством Прм (ФПУ Прм)
как дополнительные шумы к своим собственным шумам.
В результате суммирования собственных шумов ФПУ
и переходных шумов через ОДС уменьшается отношение сигнал/помеха на входе ФПУ,
что эквивалентно увеличению минимально допустимого уровня приёма по сравнению с
исходными техническими характеристиками. Соответственно, уменьшается величина
энергетического потенциала Э между Пер и Прм, что приводит к уменьшению
дальности связи по ВОТ. Следовательно, необходимо использовать такие типы ОДС и
такие методы организации двухсторонней связи по одному оптическому волокну
,чтобы уменьшить или полностью устранить переход передаваемого линейного
оптического сигнала из тракта передачи в тракт приёма ВОТ.
Фактор 2. Конструктивно ВОТ заканчивается
соединительной оптической розеткой ОРС, при помощи которой он через оптический
соединительный шнур ОСШ подключается к оптическому кроссу ODF
ЭКУ ВОЛС. Линейный оптический сигнал, распространяющийся в прямом направлении,
частично отражается в месте оптического разъёмного соединения ОРС и приходит
обратно, воздействуя на своё приёмное устройство Прм. Отраженный сигнал
воспринимается в ФПУ Прм как помеха, что также приводит к уменьшению дальности
связи по ВОТ.
Следовательно, необходимо использовать такие
типы ОРС, чтобы уменьшить отражение передаваемого линейного оптического сигнала
от ОРС в тракт приёма ВОТ.
В качестве оптической дифференциальной системы
ОДС в волоконно -оптических телефонах широкое применение нашли такие
устройства, как оптические Y-образные
разветвители [ 14].
Чтобы обеспечить независимую передачу сигналов в
направлениях А-Би Б-А необходимо, чтобы оптические Y-образные
разветвители обеспечивали следующий режим работы (Рисунок 14)
Рисунок 14- Принцип передачи оптических сигналов
по одному оптическому волокну в противоположных направлениях с использованием
оптических Y-разветвителей
Излучение от лазера Р1 узла связи А попадает в
оптический Y-образный
разветвитель, при этом основная часть поступает в оптическое волокно ЭКУ и
предаётся к узлу Б. Незначительная часть этого излучения может перейти через
разветвитель на вход оптического приёмника этого же узла связи и будет
зарегистрирована приёмником в виде дополнительных шумов. После прохождения
через ОВ на другой стороне ЭКУ при помощи Y
образного разветвителя излучение делится на две части. Часть излучения должна
попасть к приёмнику Р1/4 и является полезным сигналом, а другая часть попадает
к лазеру Р 2, который работает в противоположном направлении и является
ненужным излучением, т.к. мешает работе этого лазера. В обратном направлении
Б-А передача оптических линейных сигналов производится аналогичным способом.
Таким образом, оптические Y-образные
разветвители должны выполнять следующие функции:
обеспечивать пропускание оптического сигнала от
лазера передатчика в оптическое волокно ЭКУ:
обеспечивать непропускание оптического сигнала
от лазера передатчика к своему приёмнику;
обеспечивать пропускание оптического сигнала от
оптического волокна ЭКУ к приёмнику.
Недостатки такого метода организации
двухсторонней связи:
дополнительное затухание, которое Y-образные
разветвители вносят на регенерационном участке ВОСП, что уменьшает
протяжённость регенерационного участка;
дополнительные помехи, которые переходят из
тракта передачи узла связи в свой тракт приёма через Y-образный
разветвитель, что также уменьшает протяжённость регенерационного участка ВОСП
из-за увеличения уровня шумов на входе собственного фотоприёмного устройства
(ФПУ). В качестве Y-образных
разветвителей используются сплавные неселективныеоптическиеразветвители.
Сплавные волоконно-оптические разветвители изготавливаются с помощью
электродуговойсвой сварки волокон в месте их наибольшего взаимного контакта,
например, в точке скрутки; при этом волокна плавятся в однородную массу и
вытягиваются, образуя биконическое соединение с монолитной оптической средой,
которое также называют областью связи. Таким методом создаётся так называемый X-разветвитель
(рисунок 15).
Рисунок 15- Схема оптических портов
Х-разветвителя: Y-разветвитель
образуется из Х-разветвителя путём оплавления на конус любого из портов 2 или3
для уменьшения отражения
После оплавления используется любой оставшийся
порт (или 2 или 3, рисунок 16).
Когда два волокна в разветвителе находятся в
тесном контакте друг с другом, при прохождении светового потока возникает
резонансное явление, вследствие чего излучение из сердцевины любого волокна
проходя через область связи, может переходить в сердцевину другого волокна
(рисунок 16). Причем уровень мощности, переданной из одного волокна во второе,
зависит от длины области связи. В свою очередь длина области связи зависит от
длины излучения, передаваемого по одномодовому волокну. Таким образом,
изготавливая область связи волокон определенной длины, добиваются объединения
или разделения двух длин волн [14].
Простейшим из селективных разветвителей является
сплавной волоконно-оптический Y-разветвитель,
применяемый для объединения и разделения оптических сигналов в двух диапазонах
длин волн.
С учетом изготавливаемой и находящейся в
эксплуатации аппаратуры наиболее востребован в настоящее время разветвитель для
длин волн 1310 ± 10 нм и 1550 ± 10 нм.
Он имеет малое вносимое затухание (порядка 0.3
дБ) и коэффициент изоляции около 40 дБ, обеспечивающий малое переходное влияние
информационных потоков, передаваемых на указанных длинах волн, а также высокое
затухание отраженного сигнала, то есть слабое влияние отраженного сигнала на
передающее устройство.
переходным затуханием между портами 3 и 4
(коэффициентом изоляции):
Апер= 10 log(P3/P4),
дБ
где Р3 - оптическая мощность поданная в порт 3,а
Р4-оптическая мощность, которая перешла через разветвитель в порт 4;
затухание вносимое разветвителем в каждый
оптический канал, т.е. затухание между портами 1-3 и 1-4 авн = 10log[(Р3/
Р1)], дБ, или авн = 10log[(Р4)/
Р1)], дБ.
Рисунок16- Схема организации Y-разветвителя
из Х-разветвителя
В настоящее время наибольшее распространение
получили сплавные разветвители, в которых оптические волокна, образующие
входные и выходные порты, сплавляются в монолитную конструкцию.
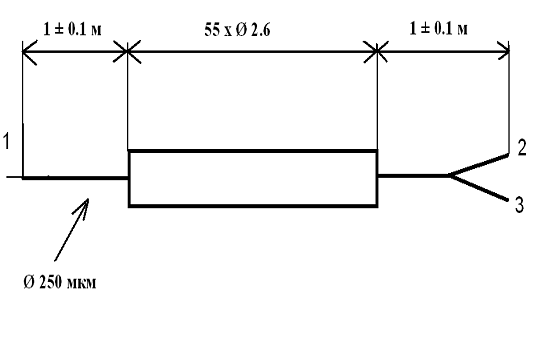
Защитный корпус типа Т1 изготавливаются в виде
трубки d2.6x55 мм из нержавеющей стали. В этом случае волоконные выводы
(полюса) не имеют дополнительной защитной оболочки.
При малогабаритном исполнении сварной модуль
устанавливается в керамической или металлической (например, из инвара или
нержавеющей стали) трубке. Модуль имеет диаметр 3-4 мм и длину 50-80 мм, а
волокна портов имеют или защитное эпоксиакрилатноепокрытие диаметром 0.25 мм
или защитную полиэтиленовую оболочку диаметром 0.9 мм.
Наиболее распространенные малогаборитные
конструкции разветвителей приведены на рисунке 17.
Рисунок 17- Конструкция оптического разветвителя
Речевой сигнал от микрофона преобразуется в
цифровой сигнал в аналого-цифровом преобразователе АЦП и модулирует оптическое
излучение лазерного диода. В качестве источников для тестеров используются
полупроводниковые лазерные диоды (LD)
преимущественно для одномодовых волокон и светодиоды (LED)
для многомодовых волокон.
Лазерные диоды мощнее и угловая апертура их
излучения меньше, поэтому мощность, вводимая в волоконный световод выше, и
соответственно, дальность связи больше, чем в случае использования светодиода.
Однако стоимость лазеров выше.
Модулированный цифровой оптический сигнал
поступает на переменный оптический аттенюатор, который регулирует мощность
излучения для оптических волокон различной протяжённости. Для больших
расстоянийвыходная мощность ВОТ увеличивается, для малых расстояний
уменьшается.
Далее цифровой оптический сигнал поступает на
выходной оптический адаптер к которому подключается оптических соединительный
шнур ОСШ
Для подключения к служебному оптическому
волокну.
С помощью устройства установки длины волны,
излучения можно выбирать необходимую длину волны (1310 нм или 1550 нм).
Структурная схема приёмной части ВОТ приведена
на рисунке 18.
Принимаемый цифровой оптический сигнал из
оптического волокна через ОСШ поступает на фотодетектор (ФД), который
преобразует этот сигнал в электрический. Усилитель-регенератор усиливает и
восстанавливает исходную форму импульсов. Цифро-аналоговый преобразователь ЦАП
восстанавливает из цифрового сигнала аналоговый речевой сигнал и подаёт его в
телефон.
Рисунок 18 - Структурная схема приёмной части
ВОТ
При строительстве и монтаже ВОЛС, а также при
технической эксплуатации и аварийно-восстановительных работах на ВОЛС служебная
связь с использованием волоконно-оптических телефонов организуется на разных
этапах этих работ и для различных целей.
Соответственно, на этих этапах подключение
волоконно-оптических телефонов к оптическим волокнам ВОЛС также производится
различными методами.
Если необходимо подключать ВОТ к оптическим
волокнам разделанного ВОК на строительных длинах, можно использовать три
варианта подключения:
Вариант 1.Производить временную сварку
оптического волокна ВОК (условно выбранного служебным) к оптическому
измерительному шнуру типа пиг-тейл, который подключен через оптическое
разъёмное соединение (ОРС) к ВОТ. После измерения всех остальных волокон эта
временная сварка разрушается и организуется временная сварка к другому
оптическому волокну для измерения условного служебного волокна.
Таким образом, для данного варианта необходимо
производить на каждой строительной длине дополнительно 2×2×nов
сварок, где nов- количество
оптических волокон в ВОК.
Преимущества:
небольшое дополнительное затухание вносимое в
служебное ОВ за счёт двух сварок;
постоянство оптических параметров подключения.
Недостатки;
значительный дополнительный износ сварочного
аппарата;
постепенный износ пиг-тейла (из-за разрушения
сварок) и необходимость иметь дополнительный запас пиг-тейлов.
дополнительное время на разделку и сварку
служебного ОВ.
Вариант 2.Производить подключение ОВ (без
защитной оболочки) к ВОТ, через специальное устройство- УПОВ (устройство
подключения к оголённому оптическому волокну).
УПОВ состоит из следующих элементов:
Канал ввода оголённого оптического волокна
диаметром 126 мкм, т.е
на 1 мкм больше диаметра стеклянной оболочки ОВ
(125 мкм);
камера со специальным гелем ,показатель
преломления которого близок к показателю преломления сердцевины ОВ (примерно
1.46);
стандартный оптический адаптер (розетка) в
который включён оптический коннектор (КОН) оптического соединительного шнура
ОСШ (патч-корд) подключенного к УПОВ;
ёмкость в которую добавляется гель по мере его
расхода из-за включения и выключения оптических волокон.
Рисунок 19 - Временная сварка оптического
волокна тип пиг-тейл
Оптическое волокно очищается от защитной
оболочки и вводится в канал ввода до упора в коннектор ОСШ, который включается
в адаптер ВОТ.
Специальный гель уменьшает потери оптического
сигнала на отражение и способствует передаче света из ОВ в ОСШ к ВОТ.
Преимущества:
быстрота и оперативность временного подключения
ОВ к ВОТ;
Недостатки:
значительное вносимое дополнительное затухание;
нестабильность параметров подключения;
необходимость иметь запас специального геля.
Рисунок 20- Подключение ОВ к ВОТ, через
специальное устройство УПОВ
Вариант 3. Производить подключение
волоконно-оптического телефона (ВОТ) к оптическому волокну через специальное
устройство бокового ввода/вывода оптического излучения (волоконно-оптический
ответвитель-прищепку) (рисунок 22).
Водномодовых оптических волокнах основная мода
передаётся внутри сердцевины если не нарушается условие полного внутреннего
отражения (ПВО) на границе "сердцевина - оптическая оболочка".
Рисунок 21- Подключение ВОТ к оптическому
волокну через волоконно-оптический ответвитель-прищепку.
В реальных условиях в процессе производства и
прокладки волоконно-оптических кабелей возникают макроизгибы и микроизгибы
оптических волокон.
На макроизгибах нарушается условие полного
внутреннего отражения (ПВО) на границе "сердцевина - оптическая
оболочка" и возникает дополнительное излучение из сердцевины ОВ в виде
излучаемых мод.
Потери на излучение на макро- и микроизгибах ОВ
возникают при любых отклонениях положения отрезка ОВ от прямолинейного и
вызваны выходом некоторого количества излучения в оболочку и его потерей.
Потери на излучение на макроизгибах возникают, когда ради¬ус изгиба ОВ во много
раз превышает диаметр его оболочки. В этом случае угол падения луча на границе
«сердцевина-оболочка» в месте изгиба становится меньше критического угла
полного внутреннего отражения , и луч выходит из сердцевины, что приводит к
увеличению оптических потерь и появлению излучаемых мод.
Рисунок 22- Потери на излучение в оптических
волокнах
а) на макроизгибах
б) на микроизгибах: 1 -
сердцевина ОВ; 2 - оболочка ОВ; 3 - оптическое волокно; 4 - защитное полимерное
покрытие, где а - диаметр сердцевины; b-
диаметр оболочки; R - радиус
изгиба;
-
критический угол
Микроизгибы вызываются
случайными отклонениями ОВ от его номинального осевого положения, амплитуда
отклонений составляет менее 3 мкм, а период - менее 1 мм. (рисунок 23, б).
Причинами микроизгибов являются деформации растяжения и сжатии ОВ при
изменениях температуры, наложении оболочек, скрутке при изготовлении кабеля.
Используя особенности
распространения света, через макроизгибы были разработаны специальные
устройства бокового ввода/вывода оптического излучения, которые используются в
сварочных аппаратах и в волоконно-оптических телефонах.
Упрощённая схема устройства бокового
ввода/вывода оптического излучения показана на рисунке 23.
Рисунок 23- Упрощённая схема устройства бокового
ввода/вывода оптического излучения в оптическое волокно
Оптическое волокно 1 изгибается с помощью
специальных валиков диаметром 10-15 мм. Передающее устройство ПЕР формирует
информационный сигнал от микрофона, информационный сигнал модулирует излучение
мощного лазерного диода 2 (уровень передачи 10-20 дБм), которое через защитную
оболочку вводится в ОВ без его механического разрушения. На приёмной стороне
оптическое волокно также изгибается и часть излучения в виде излучаемых мод
выходит за пределы защитной оболочки и принимается фотоприёмным устройством
ФПУ, а затем передаётся к приёмному устройству ПРИЁМ.
В обратном направлении связь организуется по
аналогичной схеме.
Такой ответвитель - прищепка позволяет
оперативно подключать волоконно-оптический телефон к оптическому волокну в
полевых условиях в процессе строительства и монтажа ВОЛС.
3. РАСЧЕТ МАКСИМАЛЬНОЙ ПРОТЯЖЕННОСТИ СЛУЖЕБНОЙ
СВЯЗИ ПРИ СТРОИТЕЛЬСТВЕ И МОНТАЖЕ ВОЛС
3.1
Расчёт максимальной протяжённости служебной телефонной электрической связи, организованной
с использованием электрических телефонов по электрическим жилам дистанционного
питания в оптическом кабеле
Для организации служебной
телефонной связи с использованием электрических телефонов по электрическим
жилам в оптическом кабеле необходимо использовать телефонные аппараты с
питанием от местной батареи (ТА-МБ) [ 12].В таких телефонных аппаратах имеются
собственные элементы питания, как правило,с напряжением примерно U
пит = 9- 10 вольт.
Тогда, максимальное напряжение
речевого сигнала положительной и отрицательной полярности с учётом потерь
напряжения на элементах схемы определяется по формуле
Uмакс = о,8 (U
пит / 2) = 4 вольта, (5)
Эта величина напряжения соответствует уровню
передачи по напряжению
(6)
Где ,
- измеренное напряжение в какой-то
точке сети связи
- эталонное напряжение 0.775 В.
Соответственно, уровень передачи
речевого сигнала на выходе телефонного аппарата ТА-МБ равен 14,25 дБ.
В соответствие с нормами на
телефонные сети связи затухание телефонной линии низкочастотной связи на
частоте 1 кГц между двумя телефонными аппаратами не должно превышать величины
26 дБ [12]. Соответственно максимальное затухание цепи дистанционного питания в
составе ВОК, которое может перекрывать телефонный аппарат ТА-МБ, также
составляет величину адп=26 дБ.
Известно [ 11],что затухание
электрической линии связи зависит от частоты передаваемого сигнала и возрастает
с увеличением частоты.
Спектр речевого телефонного сигнала
ограничен частотами 0,3 - 3,4 кГц. При этом основная энергия речевого сигнала
передаётся на частотах, примерно, 1 кГц, но для разборчивой передачи речи
необходимо передавать с достаточным уровнем и верхние частоты до 3,5 кГц.
Следовательно, для расчётов
необходимо использовать- величины коэффициентов затухания (километрического
затухания) α и волнового
сопротивления Z в измеренных для цепей дистанционного питания ВОК в диапазоне
частот речевого сигнала..
Эти данные приведены в таблице
4[11].
Таблица4-Электрические параметры
электрической цепи дистанционного питания ВОК по переменному току в диапазоне
частот телефонного сигнала(пары медных жил диаметром 1,2 мм )
|
f
(кГц)
|
α ( дБ/км)
|
Z
в ( Ом )
|
|
0,3
|
0,228
|
783,9
|
|
0,5
|
0,282
|
606,6
|
|
1,0
|
0,384
|
426,5
|
|
1,5
|
0,451
|
353,3
|
|
2,0
|
0,504
|
309,0
|
|
2,5
|
0,547
|
284,0
|
|
3,0
|
0,585
|
266,0
|
|
3,5
|
0.616
|
252,0
|
С учётом этих данных, максимальная дальность
связи с использованием электрических телефонов ТА-МБ по электрической цепи
дистанционного питания ВОК в оптическом кабеле рассчитывается на частоте 1кГц
по формуле
ℓта-мб= адп/ α ( дБ/км) =
= 67,7 км, (8)
где 0,384 дБ/км- коэффициент
затухания αна частоте
1кГц.
Для безыскажённой разборчивой
передачи речевого сигнала необходимо также передавать и верхние частоты речи до
3,5 кГц. Учитывая тот факт, что затухание на верхней частоте 3,4 кГц почти в
два раза больше, чем на частоте 1 кГц, необходимо уменьшать рассчитанную
максимальную дальность связи в 1.5- 2 раза.
Таким образом, максимальная
дальность связи с использованием электрических телефонов ТА-МБ по электрическим
жилам дистанционного питания диаметром 1,2 мм в оптическом кабеле составляет
величину порядка 35-45 км.
3.2 Расчёт
максимальной протяжённости служебной телефонной оптической связи организованной
с использованием волоконно-оптических телефонов
При организации двухсторонней
служебной телефонной оптической связи в одном оптическом волокне на одной длине
волны необходимо использовать ВОТ с оптическими дифференциальными системами на
основе Y- образных
разветвителей. При этом в каждом направлении А-Б и Б-А линейный оптический
сигнал передаётся или на длине волны λ =1310 нм, или на длине волны
λ =1550 нм.
Известно [4],что коэффициенты
затухания на этих длинах волн различные:
на λ =1310 нм
коэффициент затухания a = 0,34
дБ/км;
на λ =1550 нм
коэффициент затухания a = 0,22
дБ/км.
Для обеспечения максимальной
дальности связи ВОТ целесообразно использовать λ =1550 нм,
но этот вариант увеличивает стоимость ВОТ. Поэтому более широкое
распространение получили ВОТ работающие на длине волны λ =1310 нм
Расчёт максимальной дальности связи
с использованием ВОТ производится по формуле [ 8 ]
, (9)
Э - энергетический потенциал ВОТ;
α(λ) [дБ/км] -
коэффициент затухания оптического волокна;
ℓов [км] -максимальная
протяжённость оптического волокна;
арс -суммарное затухание оптических
разъёмных соединений (ОРС) в схеме организации оптической служебной связи;
азап.ВОК = 3дБ, запас затухания
оптического кабеля на период эксплуатации(примерно 25-30 лет);
Δаизмерения [дБ] - погрешность
измерительного прибора 0,5 дБ;
амакро [дБ] - потери на макроизгибах
ВОК, которыми можно пренебречь при правильном монтаже ВОК.
а нс( λ) -среднее
допустимое затухание сварных соединений на ЭКУ.
ℓстр.ср. -средняя
протяжённость строительной длины ВОК ( 4 км)
Энергетический потенциал Э
рассчитывается по формуле
Э = рпрд - рпрм. мин [дБ]
Где рпрд - уровень передачи линейного
оптического сигнала на выходе ВОТ;
рпрм. мин -минимально допустимый уровень приёма
на входе ВОТ.
Эти величины приводятся в технических характеристиках
ВОТ.
В современных ВОТ величина энергетического
потенциалаЭ≈50÷60 дБм.
Обычно, максимальную дальность связи ВОТ
необходимо знать при организации оперативной служебной связи на смонтированном
ЭКУ.
Тогда в расчёте необходимо учесть, что при этом
используется четыре разъёмных оптических соединения ОРС для подключения ВОТ к
оптическим кроссам ODF
ЭКУ: два ОРС на одной стороне ЭКУ и два ОРС на противоположной стороне.
Среднее затухание ОРС равно примерно 0,3 дБ.
Суммарное затухание арс =1.2 дБ.
Среднее допустимое затухание сварных соединений
на ЭКУ а нс( λ) определяется в
соответствие с нормами на сварные соединения на ЭКУ[15 ].
Для длины волны λ=
1,31 мкм величина а нс( λ)=0,15 дБ,
Для длины волны λ= 1,55 мкм
величина а нс( λ)=0,075 дБ.
В качестве примера в дипломной работе рассчитана
максимальная протяжённость связи для ВОТ с величиной энергетического потенциала
Э = 50 дБм на длине волны λ
=1310 нм.
Подставляя значения в формулу, получим для длины
волны λ=
1,31 мкм максимальную протяжённость оптического волокна
=
,4 км.
Максимальная протяжённость связи для
ВОТ определяется максимальной протяжённостью трассы ВОЛС ,которая меньше чем
протяжённость оптического волокна
ℓтр.≈ 
=
.
Для длины волны λ= 1,55 мкм
получим
=
188,8 км
Максимальная протяжённость трассы
ВОЛС для длины волны λ= 1,55
ℓтр ≈ 
=
.
4 СРАВНИТЕЛЬНЫЙ АНАЛИЗ СПОСОБОВ
ОРГАНИЗАЦИИ ОПЕАТИВНОЙ СЛУЖЕБНОЙ СВЯЗИ ПРИ СТРОИТЕЛЬСТВЕ И МОНТАЖЕ ВОЛС.
РАЗРАБОТКА РЕКОМЕНДАЦИЙПО ОРГАНИЗАЦИИ ОПЕРАТИВНОЙ СЛУЖЕБНОЙ СВЯЗИ ПРИ СТРОИТЕЛЬСВЕ
ВОЛС
Для проведения сравнительного
анализа способов организации оперативной служебной связи при строительстве и
монтаже ВОЛС в дипломной работе выбраны следующие критерии:
. Тип ВОЛС для строительства и
монтажа, которой необходимо организовать оперативную служебную связь.
Организация оперативной служебной
телефонной связи и передачи данных через сотовые сети мобильной связи может
использоваться при строительстве и монтаже ВОЛС любого типа (городская ВОЛС,
внутризоновая ВОЛС, магистральная ВОЛС) при условии, что вся трасса ВОЛС
находится в зоне покрытия устойчивой радиосвязью базовых станций мобильной
сотовой сети.
Это условие в настоящее время
практически всегда выполняется при строительстве и монтаже городских ВОЛС, в
большинстве случаев выполняется при строительстве и монтаже внутризоновых ВОЛС,
но не всегда выполняется при строительстве и монтаже магистральных ВОЛС, так
как в России существуют большие территории в сельской местности, где мобильная
связь полностью отсутствует.
-Служебная телефонная электрическая
связь, организованная с использованием электрических телефонов по электрическим
жилам дистанционного питания в оптическом кабеле может использоваться при
строительстве и монтаже ВОЛС только в тех случаях, когда по проекту ВОЛС
предусматривается дистанционное питание промежуточных пунктов (регенерационных
пунктов, или усилительных пунктов).
-Служебная телефонная оптическая связь,
организованная с использованием волоконно-оптических телефонов (ВОТ) по
оптическим волокнам может использоваться при строительстве и монтаже любого
типа ВОЛС.
. Возможность организации служебной телефонной
связи и служебного канала передачи данных.
Оперативная передача результатов монтажа ВОЛС
(протоколы монтажа оптических муфт, протоколы монтажа оптических кроссов ), результатов
измерений (протоколы измерений строительных длин, всего смонтированного ЭКУ
ВОЛС) возможна по служебному каналу передачи данных только через сотовые
мобильные сети связи.
. Дополнительные расходы на организацию
оперативной служебной связи при строительстве и монтаже ВОЛС
Наиболее значительные расходы необходимо
предусматривать в случае организации оперативной телефонной связи и передачи
данных через сотовые сети мобильной связи. Эти расходы могут быть достаточно
значительными при использовании сетей мобильной связи разных операторов.
Наименьшие расходы требуются для служебной
телефонной электрической связи, организованной с использованием электрических
телефонов по электрическим жилам дистанционного питания в оптическом кабеле.
Ориентировочная стоимость телефонных аппаратов ТА-МБ 100- 150 долларов.
Стоимость волоконно-оптических телефонов
примерно 1000 долларов, способов организации оперативной служебной связи при
строительстве и монтаже ВОЛС.
. Максимальная протяжённость оперативной
служебной связи при строительстве и монтаже ВОЛС:
Максимальная протяжённость оперативной служебной
телефонной связи и передачи данных через сотовые сети мобильной связи
ограничивается зоной покрытия устойчивой радиосвязью базовых станций мобильной
сотовой сети. При этом следует учитывать тот факт, что при строительстве
магистральных междугородных ВОЛС стоимость трафика через сети сотовой связи
может резко возрастать из-за оплаты междугородной связи при организации
соединения абонентов. Поэтому увеличение протяжённости оперативной служебной
связи через сотовые сети мобильной связи приводит к увеличению расходов при
строительстве и монтаже ВОЛС.
Максимальная протяжённость оперативной служебной
телефонной связи при использовании электрических телефонов ТА-МБ по
электрическим жилам дистанционного питания в оптическом кабеле составляет
величину примерно 35-45 км.
Максимальная протяжённость оперативной служебной
телефонной связи при использовании волоконно-оптических телефонов составляет
величину примерно 110 км для длины волны λ=
1,31 мкм и 170 км для длины волны λ=
1,55 мкм.
. Устойчивость и надёжность оперативной
служебной телефонной связи к внешним воздействиям и помехам
Оперативная служебная телефонная связь и
передача данных через сотовые сети мобильной связи в ряде случаев может иметь
неустойчивый характер.
Основные факторы, влияющие на снижение
надёжности и устойчивости:
перегрузка мобильной сети, в определённых сотах
из-за увеличения числа абонентов;
нарушения условий прямой видимости между
базовыми станциями и контроллерами базовых станций при организации связи с
использованием цифровых радиорелейных линий (ЦРРЛ).
Оперативная служебная телефонная связь при
использовании электрических телефонов ТА-МБ по электрическим жилам
дистанционного питания в оптическом кабеле подвержена влиянию внешних
электромагнитных помех (радиостанции, сварочные работы ,влияние линий
электропередачи и другие факторы). При определённых условиях эти факторы могут
уменьшать устойчивость и надёжность данного вида оперативной служебной
телефонной связи.
Оперативная служебная телефонная связь при
использовании волоконно-оптических телефонов (ВОТ) по оптическим волокнам не
подвержена влиянию внешних электромагнитных помех и позволяет организовать
наиболее устойчивую и надёжную служебную связь.
На основе проделанного сравнительного анализа в
дипломной работе
Разработаны рекомендации по организации
оперативной служебной связи при строительстве и монтаже ВОЛС. Данные
рекомендации приведены в таблице 5.
5. РЕКОМЕНДАЦИИ ПО ОРГАНИЗАЦИИ ОПЕРАТИВНОЙ
СЛУЖЕБНОЙ СВЯЗИ ПРИ СТРОИТЕЛЬСТВЕ И МОНТАЖЕ ВОЛС
Таблица 5- Рекомендуемое применение
|
Сравнительные
критерии
|
Телефонная
служебная связь и передача данных через сотовые сети мобильной связи.
|
Телефонная
служебная связь, организованная с использованием электрических телефонов по
электрическим жилам дистанционного питания в оптическом кабеле
|
Телефонная
служебная связь, организованная с использованием волоконно оптических
телефонов (ВОТ) по оптическим волокнам
|
|
1.
Тип ВОЛС для строительства и монтажа, которой необходимо организовать
оперативную служебную связь
|
Городские
ВОЛС Внутризоновые ВОЛС с небольшим ограничением Магистральные ВОЛС со
значительным ограничением
|
Городские
ВОЛС, Внутризоновые ВОЛС(с протяжённостью ЭКУ до 35-45 км)
|
Городские
ВОЛС Внутризоновые ВОЛС Магистральные ВОЛС
|
|
2.
Возможность организации служебной телефонной связи и служебного канала
передачи данных.
|
Имеется
|
Отсутствует
|
Отсутствует
|
|
3.Дополнительные
расходы на организацию оперативной служебной связи при строительстве и
монтаже ВОЛС
|
Высокие
|
Низкие
|
Средние
|
|
4.
Максимальная протяжённость оперативной служебной связи при строительстве и
монтаже ВОЛС
|
Максимальная
протяжённость оперативной служебной телефонной связи и передачи данных через
сотовые сети мобильной связи ограничивается зоной покрытия устойчивой радиосвязью
базовых станций мобильной сотовой сети
|
35-45
км.
|
примерно
110 км для длины волны λ= 1,31 мкм
и 170 км для длины волны λ= 1,55 мкм.
|
|
5.
Устойчивость и надёжность оперативной служебной телефонной связи к внешним
воздействиям и помехам
|
-перегрузка
мобильной сети в определённых сотах из-за увеличении числа абонентов;
-нарушения условий прямой видимости между базовыми станциями и контроллерами
базовых станций при организации связи с использованием цифровых радиорелейных
линий (ЦРРЛ).
|
подвержена
влиянию внешних электромагнитных помех (радиостанции, сварочные работы,
влияние линий электропередачи и другие факторы).
|
не
подвержена влиянию внешних электромагнитных помех и позволяет организовать
наиболее устойчивую и надёжную служебную связь.
|
ЗАКЛЮЧЕНИЕ
Основные итоги данной дипломной работы:
. Рассмотрена классификация современных ВОЛС,
структура и основные этапы строительства и монтажа ВОЛС.
. Рассмотрены основные способы организации
служебной оперативной связи при строительстве и монтаже ВОЛС:
-организация телефонной
служебной связи и передачи данных через сотовые сети мобильной связи;
организация телефонной
служебной связи с использованием электрических телефонов ТА-МБ по электрическим
жилам дистанционного питания в оптическом кабеле:
организация телефонной
служебной связи по оптическим волокнам с использованием волоконно-оптических
телефонов (ВОТ).
3. Выполнен сравнительный анализ рассмотренных
способов организации служебной оперативной связи при строительстве и монтаже
ВОЛС.
. Выполнены расчёты максимальной протяжённости
служебной связи для рассмотренных способов организации служебной оперативной.
. Разработаны рекомендации по организации
оперативной служебной связи при строительстве и монтаже ВОЛС.
СПИСОК ИСПОЛЬЗОВАННЫХ ИСТОЧНИКОВ
1.
Портнов Э.Л. Перспективы развития кабельных линий связи в третьем тысячелетии /
Э.Л. Портнов Телекоммуникации и транспорт. - 2010. -№8 - С. 4 - 6.
.
Дианов Е.М. Волоконная оптика: 40 лет спустя //Квантовая электроника.- 2010.-
Т.40.-№ 1.-С. 7-12.
.
Портнов Э.Л. Принципы построения первичных сетей и оптические кабельные линии
связи. Учебное пособие для вузов / Э. Л. Портнов. - М.: Горячая линия -
Телеком, 2009. - 544 с.
.
А.С. Воронцов. Оптические кабели связи Российского производства/ Справочник. -
М.: Эко-Тренд, 2003.
.
Руководящий документ отрасли «Состав исполнительной документации на законченные
строитель ством линейные сооружения магистральных и внутризоновых ВОЛП. РД
45.156 - 2000. Издание официальное, М., ЦНТИ «ИНФОРМСВЯЗЬ», 2000.
.
А.С. Воронцов. Технологии строительства ВОЛС//Фотон-Экспресс, 2005, №2.
.
К.К. Никольский. Прокладка оптических кабелей связи//Фотон-Экспресс, 2005, №2.
.
Проектирование волоконно-оптических линий связи: Учебное пособие по дипломному
и курсовому проектированию; Под ред. Бурдина В.А.-Самара, 1992.
9.
Новости рынка беспроводного доступа//ТелеМульти Медиа. 2004. №3.
10.
Шиллер И. Мобильные коммуникации //Йоган Шиллер.-М.: Вильямс, 2002.
11.
Парфенов, Ю. А. Кабели электросвязи: М.:Эко-Трендз, 2003 .
.
Городская телефонная связь: Справочник/ Берлин Б.З. и др. Под ред. А.С.
Брискера- М.: Радио и связь,1987.
13. Рудницкий В. Б. Современные
волоконно-оптические телефоны// Фотон-Экспресс. 2005, №8.
14.
Рождественский Ю. В. Волоконно-оптические разветвители // Информационный
бюллетень «Фотон-Экспресс». 2003, № 4 (30), с. 24-28.
.
Государственный комитет Российской Федерации по связи и информатизации. Приказ
от 17 декабря 1997 г. N 97. Об утверждении норм приемно-сдаточных измерений
элементарных кабельных участков магистральных и внутризоновых подземных
волоконно-оптических линий передачи сети связи общего пользования.