Вплив постійного магнітного поля на структуру та електричні властивості полімерних композитів
Вступ
Полімерні композити здатні задовольняти вимоги до функціональних
матеріалів, які мають комплекс необхідних властивостей. Наповнення полімерних
композитів, зокрема оксидами металів, дисперсними металами, дає змогу одержати
композитні матеріали з певними технологічними та експлуатаційними
характеристиками. Наповнення полімерних систем дисперсними металами та їх
оксидами дає змогу отримати матеріал з новими, не властивими чистим полімерам,
властивостями, такими як високі електропровідність, теплопровідність, при цьому
вони не втрачають своїх унікальних, притаманних полімеру, властивостей.
Провідними закордонними вченими і науковцями України розроблено методи
модифікації наповнених матеріалів зовнішніми фізичними полями, а саме:
ультразвуковим, електроіскровим, магнітним, електричним та іншими. Такі процеси
модифікації, порівняно з традиційними, потребують менших енергетичних затрат,
вони є екологічно чистими, а також менш матеріалоємними.
Незважаючи на великі потенціальні можливості та перспективи практичного
застосування композиційних матеріалів, проблема регулювання їх структури з
ціллю отримання спеціальних характеристик, далека від вирішення. Як правило,
традиційні методи формування структури композитів, особливо для поліпшення
електропровідності та теплопровідності, передбачають введення в полімерну
матрицю значних концентрацій наповнювача, що супроводжується погіршенням
механічних властивостей, але останні дослідження показали, що значних ефектів
можна досягнути і при малих концентраціях наповнювачів, за рахунок отримання
упорядкованої структури наповнювача, яка може бути досягнута обробкою в
магнітному полі у випадку феромагнітних наповнювачів. Тому слід проводити
дослідження такого типу матеріалів, що містять феромагнітні оксиди та дисперсні
метали, з малою концентрацією наповнювача, щоб одержати систему з
модифікованими властивостями, при цьому не погіршуючи полімерних властивостей.
Відомо, що зовнішнє постійне магнітне поле (ПМП) викликає орієнтацію
магнітних моментів доменів феромагнетику. В композитах, які включають
феромагнітний компонент, ПМП впливає на просторовий розподіл наповнювача в
полімерній матриці, утворюючи ланцюги вздовж ліній магнітного поля. Це
приводить до анізотропії властивостей композиту. Однак на цей час недостатньо
досліджені фізичні основи процесів структурування такого типу систем та впливу
орієнтації наповнювача на їх електричні та механічні властивості. Таким чином,
комплексне дослідження фізичних основ впливу магнітних полів на структуру,
електропровідність, механічні, теплофізичні та адгезійні властивості полімерних
композиційних матеріалів є актуальною задачею в науковому та прикладному
значеннях.
Останнім часом в багатьох наукових центрах світу проводяться розробка та
дослідження чутливості електропровідних матеріалів до механічних навантажень,
тобто матеріалів, які змінюють свої електричні властивості в результаті дії на
них механічних сил. Такого типу матеріали мають велику перспективу для
використання у якості сенсорів прискорення, навантаження, деформації, для
створення "розумних" тканин з чутливістю до дотику і розтягу,
покриттів, чутливих до дотику, сенсорних матеріалів у медицині і т.д.
Наприклад, в роботі [1] було досліджено вплив механічних деформацій на величину
електричного опору композиту, наповненого нановолокнами нікелю. Дослідження
зміни електричних властивостей полімерних нанокомпозитів, зокрема виготовлення
різного роду сенсорів описано в роботах [2, 3]. Моделювання таких матеріалів
було проведено в роботі [4], де було визначено вплив параметрів електропровідного
наповнювача і його просторового розподілу в полімерній матриці на електричні і
механічні характеристики електрочутливих композитів.
У зв'язку з цим у даній роботі ставилося за мету дослідити вплив
постійного магнітного поля на електричні і механічні властивості композитів,
які містили феромагнітний компонент, а саме оксид заліза і дисперсний нікель, а
також вивчити вплив зовнішніх зусиль на зміну електричних параметрів композитів
з орієнтованим в магнітному полі наповнювачем.
РОЗДІЛ І. ВПЛИВ МАГНІТНОГО ПОЛЯ НА ПОЛІМЕРИ ТА ЇХ КОМПОЗИТИ З РІЗНИМ
ТИПОМ НАПОВНЮВАЧІВ (літературний огляд)
1.1 Особливості впливу магнітного поля на
структуру та властивості полімерних композитів
Згідно із сучасними уявленнями орбітальні та спінові рухи заряджених
частинок атомів утворюють мікроскопічні струми, які є джерелом магнітного поля
речовини [5]. Кінетичні особливості полімерів і їхніх систем визначаються
поведінкою структурних елементів макромолекул і надмолекулярних утворень у
полях різної природи. При цьому коливання макромолекул зумовлені переважно
рухом їхніх атомних груп, а міжмолекулярні взаємодії виявляються слабким
збуренням.
Вплив постійних магнітних полів на властивості полімерів пояснюється
орієнтацією фрагментів макромолекул із високими значеннями анізотропії
магнітної сприйнятливості [6].
Із літературних джерел випливає, що для полімерних композицій з
дисперсними феромагнітними наповнювачами, сформованих під дією зовнішнього
постійного магнітного поля (ПМП), спостерігаються сильніші ефекти, ніж у
композицій з діамагнітним типом наповнювача, сформованих у ПМП [7].
Експериментально досліджувались композити на основі поліетилену високої густини
(ПЕВГ), наповненого феромагнітними наповнювачами, зокрема [Fe2O3, NiO, MnO2],
NiZnO2, які були піддані дії ПМП (H=1,9-105 А/м) протягом 0,5 год [7]. Було
показано, що обробка композиційних матеріалів у ПМП приводить до збільшення
діелектричної проникності композитів. що, на думку авторів, пов'язано з
поляризацією магнітної частинки, в результаті чого відбувається зміна фізичної
структури композитів.
Накладання ПМП на хелатовмісні полімери виявляє відмінності у взаємодії
йонів феромагнетика з макромолекулами полімеру, до складу яких вони входять.
Специфіка впливу магнітного поля на ці ліганди полягає в його дії на йонні центри,
в результаті чого магнітні диполі орієнтуються вздовж силових ліній магнітного
поля. Відмінністю, яка зумовлює формування йонної структури полімеру, є те, що
при взаємодії феромагнетика з полем його власний магнітний момент орієнтується
вздовж силових ліній магнітного ПМП і тим самим зумовлює додаткову дію на
ліганд і через нього на структуру жорстких доменів полімеру [8].
При дослідженні структури та діелектричних властивостей композитів на
основі поліуретанів і дисперсних наповнювачів - оксидів металів (АlO3 та Fe2O3)
під дією ПМП з Н=2-105А/м було виявлено зменшення розміру кристалітів Fe2O3 у
складі композиту. Останнє вказує на вплив ПМП також і на рівень досконалості
кристалічної структури наповнювача Fe2O3 і частково пов'язано з орієнтацією кристалічних
площин уздовж силових ліній магнітного поля, що зумовлює часткове уширення
дифракційного максимуму, зумовленого наявністю Fe2O3 в матриці. За відсутності
феромагнітної складової в кополімері, ефект дії ПМП позначається лише на його
органічній складовій. Неспроможність Fe2O3 взаємодіяти з полем тим може
пояснюватись, що в діамагнетиках внутрішні магнітні поля мають атомну і
молекулярну локалізацію, час їх релаксації невеликий, і тому реакція ряду
діамагнетиків на зовнішнє магнітне поле може бути незначною [9].
Для нанокомпозитів Fe-полі-n-ксилилен у ПМП з H=8,8*105 А/м спостерігався
значні ефект гігантського магнітного опору за кімнатної температури, тоді як
для нанокомпозптів Ni-полі-n-ксилилен цей ефект значно нижчий [10]. Це
пояснюється тим, що поверхневі електронні стани на границі полімерна матриця -
наночастинка. які виникають при хімічній взаємодії наночастпнок з
полі-n-ксилиленом сильно впливають на магнітний опір у нанокомпозптах.
Відомо, що ПМП значною мірою впливає на деформаційні властивості
полімерів [11]. З літературних даних відомо, що на початку механічної
орієнтації полімерних ланцюгів відбувається розупорядкування їхньої структури
[12]: те ж саме можна очікувати й у випадку магнітної дії. Для зразка [11]
кополімеру стирол з метакриловою кислотою під дією ПМП з В=0,2 Тл значно
збільшується деформація за один і той самий час, порівняно з тим же дослідом
без ПМП. Припускається, що зменшення при слабкій орієнтації міжмолекулярних
нехімічних взаємодій, подоланих у процесі деформації, приводить до прискорення
повзучості. Кінетичний підхід також підтверджує можливість прискорення
повзучості під дією магнітного поля. Вплив ПМП на різкість стрибків швидкості
повзучості означає, що внутрішні магнітні поля локалізовані в місцях сильних
нехімічних взаємодій між молекулярними групами сусідніх полімерних ланцюгів.
Дослідження впливу ПМП (В=0,2 Тл) на формування структури композитів на
основі полівінілхлориду (ПВХ) і високодисперсних наповнювачів (ванадію (W) та
Fe3O4). Було показано, що ПМП впливає на процеси структуроутворення в
гетерогенних полімерних системах, при цьому структурні зміни відбуваються саме
в граничних шарах. Це дає можливість спрямовано регулювати їхні
макровластивості [13].
Магнітна обробка матеріалів у багатьох випадках дає змогу впорядкувати
структуру і значно збільшити міцність матеріалів. Дослідження структури
полімерів показало, що ПМП збільшує ступінь упорядкування молекул, зменшує
розміри кристалітів і викликає анізотропію надмолекулярних утворень.
Рентгенографічні дослідження зразків полівінілпіролідону (ПВП), синтезованих у
ПМП з Н=0-31*103 А/м, показали, що отримані зразки мають більш упорядковану,
близьку до кристалічної структуру, на відміну від отриманих за звичайних умов.
Методом диференційного термічного аналізу (ДТА) встановлено, що полімери,
синтезовані у ПМП, відзначаються значно більшою глибиною ендоефектів, ніж
синтезовані без поля, що свідчить про вищу упорядкованість структури, котра
вимагає більших витрат енергії у процесі плавлення. Орієнтаційні явища в
мономер - полімерній композиції відчутно впливають на кінетику полімеризації, а
також на структуру кінцевого полімеру. Внаслідок упорядкованого розміщення
зменшується рухливість отриманих агрегатів, створюються кращі кінетичні умови
росту ланцюга, а також закладаються передумови формування відповідної
надмолекулярної структури [14].
Обробка епоксикомпозитних матеріалів зовнішніми полями в процесі
формування підвищує їхні характеристики внаслідок орієнтації ланцюгів
макромолекул навколо частинок наповнювача [15].
Дія магнітних полів приводить до зміни структури EП [16] як на
молекулярному, так і на надмолекулярному рівнях. Однорідне магнітне поле, діючи
на процес отвердження EП. внаслідок наявності орієнтувального моменту сприяє
виникненню упорядкованих утворень. У зразків EП, отверджених
поліетиленполіаміном (ПЕПА) в постійному магнітному полі (Н=6.4*105 А/м)
спостерігалося зміщення температури Т з 359 до 370-371 К. Це підтверджує
висновок про збільшення ступеня впорядкування структури в EП під дією
однорідного магнітного поля. Неоднорідне магнітне поле приводить до розподілу
анізотропних морфологічних утворень уздовж градієнта поля, сприяє зміні фізико
- механічних властивостей матеріалу. Електронно-мікроскопічні дослідження
показали, що в результаті дії поля розміри надмолекулярних утворень значно
зростають. Ці утворення не мають чітко вираженої глобулярної форми. Згідно з
моделлю, неоднорідного магнітного за якою глобули - це макромолекули, занурені
в матрицю низькомолекулярної маси, ці утворення є агрегатами кількох
макромолекул. Під дією неоднорідного зовнішнього магнітного поля (ПМП)
макромолекули орієнтуються і зміщуються вздовж його градієнта, утворюючі зшиті
анізотропні структури, витягнуті перпендикулярно напрямку силових ліній поля.
Відповідно в зоні найбільшої напруженості поля зростає густина [17]. Отже, якщо
отвердження EП проводити безпосередньо в магнітному полі, то в результаті
хімічної реакції приєднання відбувається послідовна і краща вибіркова фіксація
структурного стану, і ступінь впорядкування зростає.
При вивченні впливу однорідного ПМП на структуру і властивості сітчастих
полімерів на основі епокспдно-діановнх смол ЕД-16 та ЕД-20 було встановлено, що
смоли отвердженні в ПМП, набувають анізотропії пружних і оптичних
характеристик. Важливою є також стабільність набутих анізотропних властивостей
отриманого матеріалу щодо теплової обробки. Показано, що з погляду використання
в оптичному моделюванні такого матеріалу оптимальним є режим магнітної обробки
з величиною напруженості магнітного поля близько (80 і 200)*103 А/м [18].
При вивченні епоксидного зв'язуючого, отвердженого в ПМП з Н=9.5*103 А/м,
було показано зростання величини термостійкості [19]. Скажімо, для зразків,
отверджених без поля, термостійкість становила 443 К. а для зразків,
отверджених у полі. - 458 і 473 К відповідно залежно від режиму отвердження.
Результати термічної деструкції, отримані методом ДТА, показали, що при
отвердженні зв'язуючого в магнітному полі деструкція починається за вищих
температур, ніж при отвердженні без поля. Отже, дослідження температурних
характеристик дають змогу зробити висновок, що при отвердженні ЕП у магнітному
полі відбувається утворення впорядкованих структур, що збільшує термостійкість
і зміщує температуру процесу термічної деструкції в область вищих температур.
При дослідженні композиції ЕД-5 [20], отвердженої поліетиленполіаміном
(ПЕПА) яку витримували в ПМП з Н=6.4*105 А/м за Т=353±5 К протягом 20 хв., було
встановлено, що розривна міцність зразків збільшувалась приблизно в 2 рази. Це
пояснюється тим, що створення орієнтаційного стану в аморфних термопластах і
термореактопластах супроводжується збільшенням їх твердості і однорідності
структурного стану.
Збільшення порядку в укладанні молекул і утворення дрібніших структурних
одиниць у ПМП спостерігалися в ряді робіт на різних полімерах. Наприклад, в
ЕД-20, отвердженій у ПМП, з'являються кристалічні рефлексії на
рентгенодифрактограмі як наслідок орієнтації бензольних кілець і всієї
молекули. а також утворюються сильні водневі зв'язки всередині глобул.
Показано, що в магнітному полі розмір стрибків у поліефірній і епоксидній
смолах зменшується. З урахуванням відповідності стрибків деформації розмірам
структурних неоднорідностей припускається, що під дією ПМП макро-глобули
розділяються на менші структурні нанорівневі складові [21].
В роботі [22] було показано, що під дією ПМП змінюється структурна
організація композитів із феромагнітним наповнювачем (Fе2О3), тоді як структура
композитів із діамагнітними наповнювачами (А12О3) залишається незмінною. На
основі розрахунків величини Ір встановлено, що під дією ПМП має місце зменшення
ефективного розміру мікрообластей гетерогенності, при концентраціях
феромагнітного наповнювача (Fе2О3) вище насичення у об'ємі епоксидного
полімеру, біля -20 нм порівняно із розміром цих мікрообластей у вихідних
зразках даного типу композиту. Показано, що внаслідок орієнтаційної дії
постійного магнітного поля електропровідність композитів із ПАн
(поліамін)+А12О3 зростає на 4 порядки, тоді як із ПАн+Fе2О3 на 3 порядки.
В [23] було досліджено магнітні властивості композиційних зразків,
приготованих шляхом змішування металевого феромагнітного порошку зі сполучним
термопластичним полімером. Об'єм фракції феромагнітного наповнювача в композиті
складав від 0,1 до 0,5. Збільшення об'ємної частки наповнювача призвело до
наступних результатів:
Об'ємний і поверхневий питомий опір композитів знизився більш ніж на сім
порядків при збільшенні об'ємної частки. Значення діелектричної проникності
збільшилось на один порядок і електричний фактор втрат на два порядки, із
збільшенням об'ємної частки. Значення магнітної проникності збільшилося в 6
разів із збільшенням об'ємної частки. Експериментальні значення діелектричної
та магнітної проникності були вище, ніж передбачене на основі моделі композиту
з ізольованими сферичними частинками. Таку різницю пояснюють підвищенням
властивостей, в результаті взаємодії між частинками наповнювача. Поліпшення
було більш виражено при більш високих об'ємних частках, де середня відстань між
сусідніми частинками наповнювача стала менше. Магнітні властивості досліджували
при зміні частоти в діапазоні від 20 Гц до 1 МГц. Значення діелектричної
проникності було стабільним на частотах вище 5 кГц. Значення магнітної
проникності лишалося нечутливим до частот у всьому діапазоні від 20 Гц до 1
МГц.
В роботі [24] досліджувалися композити на основі епоксидної смоли з
наповнювачами феритовими порошками, тут було показано вплив виду наповнювачів і
кількість наповнювачів на магнітні властивості композитів.
Епоксидна смола заповнена трьома різними кількостями (15%, 25% і 35% за
обсягом) наповнювача і трьома видами порошку ферриту, отриманими гравітаційним
литтям з метою отримання градієнта полімерної матриці композитів. Магнітні
властивості полімерних композитів були виміряні за допомогою магнітометра SQUID
(МП XL7 Quantum Design). Всі вимірювання проводили при температурі 300 К і
магнітних полів до 7 Т.
Результати дослідження показали, що додавання феритових порошків до
епоксидної смолі викликано підвищеними значеннями залишкової намагніченості.
Крім того, було виявлено, що більш високі значення залишкової намагніченості
були для полімерних композиційних матеріалів з анізотропними наповнювачами, ніж
з ізотропним.
Представлені дослідження були обмежені обємним вмістом 35%. наповнювача
через труднощі з литтям композитів. Більш високе значення вмісту наповнювача
викликало різке збільшення в'язкості.
1.2 Синтез анізотропних полімерних композитів
отверджених в магнітному полі
В роботі [25] було описано синтез еластомерів в однорідному магнітному
полі, який можна використати для створення анізотропних полімерних композитів.
Першим кроком є змішування частинок наповнювача реакційної суміші, що
містить полімери, зшиваючу компоненту, і каталізатор. Другий крок полягає в
стабілізації системи, щоб уникнути агрегації і осадження твердих частинок. Для
того щоб утворити анізотропний еластомер, в реакційну суміш поміщають між
полюсами великого електромагніту (JM-PE-я JEOL, Японія) (рис. 1.1). Суміш
піддають, B = 400 мТл, однорідному магнітному полю. Утворене поле орієнтує
магнітні диполі і якщо частинки знаходяться на досить близькій відстані, то
відбувається взаємодія частинок. Під дією сил притягання, точкова структура
ланцюга розвивається як показано на (рис. 1.2). це явище називається
магнітореологічним ефектом.
Стовпчаста структура утворюється шляхом реакції зшивання. Після чого
завершається полімеризація і зразки видаляють з форм.
Рис. 1.1 Отримання одноосного упорядкованих полімерних композитних в
однорідному магнітному полі
Рис. 1.2 Магнітореологічний ефект карбонільного заліза частинки в
однорідному магнітному полі. Напрямок формування ланцюга паралельний напрямку
поля, який показаний стрілкою
У зв'язку з магнітореологічним ефектом, отриманий магнітний композит стає
анізотропним з точки зору механічних і магнітних властивостей. Зміну напрямку
утворення ланцюгів міняють напрямком поля, як показано на (рис. 1.3).
Рис. 1.3 Вплив однорідного магнітного поля на формування структури
магнітних частинок
Залежно від концентрації магнітних частинок, а також прикладеного
магнітного поля, стовпчасті структури магнітних частинок вбудованих в пружну
матрицю можна варіювати в широкому діапазоні. На рисунку 1.4 показано PDMS
еластомер, що містить щільну колонку ланцюга перлових магнітних частинок.
Рис. 1.4 Стовпчаста структура частинок заліза побудована в еластомері
PDMS
Для того щоб візуалізувати стовпчасту структуру магнітних частинок в
PDMS, композитний зразок обертали.
1.3 Магнітні властивості композиційних
матеріалів
Для виведення аналітичних залежностей магнітних властивостей
композиційних матеріалів використовується в основному теорія ефективного
середовища. В її рамках отримана наступна залежність магнітної проникності
композиту(КМ):
, (1.1)
де
μf
- магнітна проникність, а Vf
- обємний вміст порошку наповнювача в композиті.
Слід
зазначити, що, оскільки магнітні властивості не відчувають переходу типу
перколяційного, як електричні властивості, ця формула вірна для широкого
діапазону концентрацій.
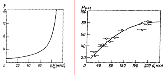
Однак,
магнітні наповнювачі, часто бувають полідисперсними. А магнітні властивості
наповнювача, на відміну від електричних властивостей, в значній мірі залежать
від розміру часток. На малюнках представлена залежність магнітної проникності
порошків нікель-цинкового фериту 600НН, однакових за хімічним складом і
технології виготовлення, але розрізняються середнім розміром частинок. Як видно
з малюнка, із зменшенням розміру частинок магнітна проникність порошків
знижується. Для визначення магнітної проникності КМ, що містять феромагнітні
полідисперсні наповнювачі, використовується т.зв. формула Ліхтенеккера, що
враховує магнітну проникність кожної фракції полідисперсного порошку.
, (1.2)
де

-
магнітна проникність, а 
-
обємний вміст i-тої фракції порошку наповнювача в композиті 
можна
легко знайти з результатів гранулометричного аналізу порошку наповнювача [26].
а) б)
Рис.1.5 а) Залежність магнітної проникності композиційного матеріалу на
основі нікель-цинкового фериту 600НН від змісту наповнювача; б) залежність
магнітної проникності порошку нікель-цинкового фериту 600НН від розміру часток
.4 Взаємодія молекул полімеру з постійним
магнітним полем (ПМП)
Поведінки молекул полімерів в ПМП визначається магнітною сприйнятливістю,
яка описується тензором в двох вимірах, в загальному випадку [27-28]. Середнє
значення молекулярної сприйнятливості

де

, 
, 
головні
значення тензора сприйнятливості. Анізотропія діамагнітної сприйнятливості

збільшується
як кількість одиниць в ланцюзі макромолекул. Ароматичні молекули
характеризуються підвищення діамагнітної сприйнятливості яке викликано
наявністю так званого «кільця ток »для бензолу (*10-6 mг3/моль)
= 
= -34,9,

= -94,6,
і, отже, 
= -
59,7.
У
разі неароматичних молекули, сприйнятливість макромолекули уздовж його осі
визначається адитивною схемою Паскаля [27]:
, (1.3)
де

сприйнятливість
окремих хімічних зв'язків; 
поправочний
коефіцієнт, функція структури молекули. Згідно [27], 
= -4,0,
= -4,0, 
= -4,7, 
= -
4,35, і 
= -4,0.
Більш точну теоретичну оцінку сприйнятливості ряду полімерних молекул були
виконані з методами, заснованими на концепції локалізованих двох-електронних
орбіталей хімічних зв'язків, зокрема, 
= -11,50
для мономерних ланок з поліетилену (ПЕ) і 
= -34,66
для поліпропілену. Дослідження анізотропії діамагнітної сприйнятливості
полімерів є дуже важливим для розшифровки їх структури. Кількість дефектів в
ланцюзі ПE в твердому або рідкому стані і ланцюги сегменті упаковки в
кристалічних і аморфних фаз, можна судити з аналізу молекулярної
сприйнятливості.
Ступінь
орієнтації для набору макромолекул з низькою в'язкістю піддається однорідно ПМП
з силою H з урахуванням теплового руху буде визначатися фактором Больцмана - 
, де 
,
характеризує відношення магнітної і теплової енергії. Розрахунок, проведений
для макромолекул з осьовою симетрією на основі моделі жорсткого циліндра
одиниць n, показав, що майже повна орієнтація в ПМП з H = 3 10 4 Е/м може бути
досягнуто для макромолекул з масою M = 107. Аналогічний розрахунок показує, що
монокристали утворюються при кристалізації з розплаву поліетилену в ПМП з H =
103 Е/м майже на 100% орієнтовані уздовж силових ліній магнітного поля Н, коли
вони досягають розмірів ~1
.
Тип
розташування ланцюгів в просторі та їх взаємодія стає дуже важливим з ростом
маси молекул. Поведінка молекул атактичний полістирол (АП) в однорідному ПМП з
урахуванням взаємодії з іншими молекулами може бути описано за моделлю жорсткої
асиметричної форми не взаємодіючих еліпсоїдів в середовищі з низькою в’язкістю.
Необхідно враховувати той факт, що внутрішня в’язкість ~ «відрізків в котушці»
еліпсоїда набагато більше, ніж в'язкість середовища, викликаних взаємодією
молекул. Поведінка будь-якої анізотропної частинки в ПМП визначається
співвідношенням між моментом викликаним наявністю діамагнітної сприйнятливості
у зв'язку з внутрішніми структурними причинами і обертального моменту, який
виникає через анізотропію форми частинок. Сегменти в АП макромолекули одночасно
беруть участь в двох рухах, і результат буде залежати від співвідношення
коефіцієнтів внутрішньої "в'язкості" котушки і обертального тертя
котушки в середовищі, а також сили ПМП [28].
Вона
була теоретично і експериментально продемонстрована за дихронічним відношенням
смуг поглинання в ІЧ спектрі, що напрямок орієнтації макромолекул АП змінами
від паралельного до перпендикулярного із збільшенням сили ПМП. Ця модель також
має місце для АП, орієнтація яких була визначена з рентгенівської дифракції.
Немає спостерігається зміна в напрямку орієнтації і зберігається після
видалення ПМП для епоксидних олігомерів для Hmax=103 Е/м.
1.5 Полімеризація і зшивання в постійному магнітному
полі
Механізми
впливу слабких МП на хімічні реакції недавно були фізично обгрунтовані. Ці
механізми зв'язку з можливою зміною швидкості рекомбінації в парах
парамагнітних часток, що утворюються при хімічні реакції (радикалів,
парамагнітних іонів, збуджених молекул в триплетному стані і т.д.). Вихід
продуктів реакції зміни в залежності від спінового стану в цих парах,
спін-граткової релаксації більше, ніж час спінової переорієнтації в MП і час
реакції в пару частинок. Останнє пояснює, чому ефект MП з енергією 
H
<< кТ: парамагнітні частки, що утворюються в процесі реакції реагують і
зникають раніше, ніж рівноважний тепловий розподіл частинок на спінових станах
може бути встановлена [29].
.6 Фізико-механічні властивості термопластів
сформованих в постійному магнітному полі
Дія
ПМП на властивості діамагнітних полімерів [27-28], була виявлена вперше при
дослідженні електретного стану в поліметилметакрилаті (ПMMA), полівінілхлориді
(ПВХ), АП, ПE, і полівінілфториді. Полімери нагрівали до температури
розм'якшення, а потім охолоджували в однорідному ПМП з напруженістю H =
(6.5-11.3)103 Е/м. Під час зберігання знак електричного заряду змінився на
одній стороні на протилежний, після чого залишкова поляризація знижалася більш
повільно. Залишкова поляризація є функцією сили ПМП, а надлишковий заряд не
залежить від неї. ПMП значно впливає на термостимульовану деполяризацію,
змінюючи спектр часів релаксації.
Зменшення
діелектричних втрат [1] з ПММА і ПВХ в області склування після магнітної
обробки з H = 7 103 Е/м також у зв'язку із змінами в характері релаксаційних
процесів. В експозиції з ПЕ розплаву ПМП з H = 8000 Е/м, межа міцності при
розтягуванні і мікротвердість збільшується майже в два рази . Анізотропна сферолітна
структуру з декількома збільшеннями мікротвердості і 40% збільшення
розтягування сила утворюється при охолодженні з розплаву з поліаміду в
присутності ПМП з H = (1250-8000) Е/м. Міцність характеристик ПE в напрямку
значно збільшиться під впливом однорідного ПМП. Межа міцності при розтягуванні
зразків з поліетилену високої щільності (HDPE) формуються з H = 3 103 Е/м
збільшується на 60% і Сила LDPE збільшується на 50%. ПE орієнтований в ПМП,
підтверджується змінами в діелектричній проникності і тангенса кута втрат. Ці
значення і значення мікротвердості є монотонною функцією сили. Дослідження
структури динамічним методом показало-перехід в бік більш високих температур і
зменшення її інтенсивності під впливом ПМП у зв'язку із збільшенням міжмолекулярної
взаємодії, що заморожує рухливість кінетичних сегментів відповідає за
розслаблення переходу. Рентгенівський дифракційний методів показав, що розмір
кристалу в магнітній обробці ПЕ і великого періоду збереглися з незначною
аморфністю у зв'язку з руйнуванням кристалічної решітки і появи нестійкої
гексагональної структури. Вивчення ефекту ПМП з H = (1-6)103 Е/м про структуру
LDPE розплавів кристалографії, світлопропускання, і термічно деполяризації
показали наявність квазікристалічних станів при Т = 420-470 К, в якій сегменти
розташовані паралельно TT, але немає строгого порядку в перпендикулярному
напрямку. Ці процеси базуються на орієнтації макромолекул ПЕ та їх агрегатів .
Дослідження
магнітних властивостей [28] ПE (і ПММА, політетрафторетилену (ПТФЕ) і епоксидної
смоли) показали практичну відсутність парамагнітних домішок: їх концентрація в
ПE була 10-5%. Крім того, було відзначено, що значення 
збільшилася
з часом витримки в ПМП на початку експозиції в зв'язку із збільшенням
орієнтації макромолекул і анізотропної збільшення надмолекулярних утворень.
Молекулярна сприйнятливість ПE в області зміни температури плавлення на 10% і
експонати гістерезису при охолодженні. Аналогічні результати ПМП на тепловій
полімеризації ПMMA на 60 і 80 ᵒС.
Підготовка
полімерних покриттів з поліпшеними адгезійними властивостями заснована на
ефекті магнітного впливу. Як у результаті впливу ПМП з H = 1.5 103 Е/м,
міцність зчеплення поліетилену високої щільності на сталь виросли на 40%, на
35% алюмінію і на 25% міді.
Механічні
показники (модуль пружності, розтягуючих напруг на межі повзучості, подовження
до границі повзучості і т.д.) для волокон ПE пропускається через ПМП з H = 105
Е/м істотно відрізняються від індексів волокна які не піддаються ПМП. Не тільки
однорідні, але і градієнт ПМП впливають на структуру і механічні властивості
термопластів. Вплив однорідного ПМП з H = 1.5 103 Е/м і неоднорідного ПМП з H
=5 103 Е/м градієнт. Це пов'язано з збільшення ступеня впорядкованості
структури, яка стає все більш дрібнокристалічною під впливом ПМП.
Дія
ПМП [29] на термопластичні полімери, таким чином, проявляється у зміні їх
структури: ступінь упорядкованості з збільшенням розмірів кристалітів
зменшується, анізотропного росту надмолекулярних утворень не спостерігається
(як в кристалічному і в аморфних полімерів), а також ступінь однорідності
структурних збільшується. Все це змінює багато фізико-механічних властивостей
полімерів та, зокрема підвищує їх міцність.
В
роботі [30] досліджували магнітну сприйнятливість χ і анізотропію магнітної сприйнятливості Δχ полімерів після впливу постійного магнітного поля. В
якості полімеру вибирали поліетилену (ПЕ) і епоксидну смолу (ЕП). Після
приготування зразка з ПЕ і ЕП вони були поміщені в магнітне поле напруженістю H
= 4,105 Е/ м на 1,5 і 2 год. відповідно.
Магнітна
сприйнятливість зразків, підданих впливу ПМП і і контрольних зразків
вимірювалася методом Фарадея, який дозволяє виключити вплив випадкових домішок
у концентраціях 10-6 %.
Анізотропія
магнітної сприйнятливості визначалася в спеціально розробленому обертальному
магнітометрі рис. 1.6 у полях до Н=2 106 Е/ м.
Рис.
1.6 Схема обертального магнітометра для вимірювання анізотропії магнітної
сприйнятливості полімерів
Цей
прилад працює шляхом вимірювання обертального моменту, що діє на циліндричний
анізотропний зразок, поміщений в однорідне магнітне поле. Зразок 1 підвішений
на довгій кварцовій нитці. Перед вимірюванням зразок розташовується так, щоб
напрямок експериментального магнітного поля був напрямлений перпендикулярно до
напрямку області електромагніта 3. За наявності анізотропії магнітної
сприйнятливості зареєстрованої як зміщення світлової плями, відбитої від
дзеркала 4 за шкалою, і його значення вимірюється з посиланням на
компенсаційний вплив на систему магнітного поля котушок 5.
Таким
чином, вплив полімерів в розплавленому або в’язкотекучому стані під дією
постійного магнітного поля призводить до більш високого ступеня впорядкованості,
яка може мати певний вплив на ступінь кристалічності полімеру, на формування
молекулярних структур,і механічні та інші властивості.
Отже,
методами рентгенографії, інфрачервоної спектроскопії, електронної мікроскопії
встановлено, що в магнітному полі відбувається зміна просторової структури
макромолекул. Термомагнітна обробка приводить до впорядкування молекул,
зміцнення їхньої внутрішньої структури за рахунок утворення внутрішньосіткових
циклів з водневими зв'язками. При проведенні термоотвердження у магнітному полі
спостерігається ущільнення будови макромолекул, відбувається зростання далекого
порядку в розташуванні атомів. Під дією сильних магнітних полів внаслідок
орієнтаційних ефектів у композитах відбувається підвищення температури
склування, збільшується міцність і жорсткість цих систем.
композиційний
магнітний електропровідність діелектричний
РОЗДІЛ ІІ. ФОРМУВАННЯ КОМПОЗИЦІЙ. МЕТОДИКА ЕКСПЕРИМЕНТУ
2.1 Методи розрахунку діелектричної проникності
2.1.1 Вимірювання діелектричної проникності
Електротехнічна теорія
Ідеальний конденсатор без втрат [31] являється чисто реактивним опором і
характеризується в ланцюгах змінного струму зсувом по фазі на 90̊ між
током і напругою.
Якщо конденсатор мав в вакуумі ємність С0, і його заповнити неіонізованим
неполярним газом, то його ємність виросте в ε раз, де
ε - відносна діелектрична проникність
речовини, введеного в електричне поле конденсатора
. (2.1)
Діелектрична
проникність є безрозмірною величиною яка характеризує відношенням ємності після
і до введення діелектрика в електричне поле конденсатора.
Для
не феромагнітних матеріалів магнітна проникність близька до одиниці, і
коефіцієнт заломлення який характеризує властивості діелектрика рівний:
, (2.2)
де
- фазова швидкість розповсюдження електромагнітної
хвилі в середовищі.
В
реальних діелектриках, поміщених в електричне поле, мають місце активні втрати
енергії, і кут зсуву між фаз між струмом і напругою виявляється меншим за 90˚,
для характеристики втрат вводиться поняття кута втрат
:
, (2.3)
де φ - кут зсуву фаз між струмом і напругою для конденсатора з
втратами, G - активна провідність, f - частота змінного струму.
Якщо активну провідність і ємність виразити через геометричні розміри
конденсатора, електропровідність χ і діелектрична проникність ε,
то вираз для тангенсу
кута втрат набуде вигляду
(2.4)
Діелектрична
проникність ε
і електропровідність χ в формулі (2.4) вимірюються при частоті f.
В
багатьох випадках в якості еквівалентної схеми (схема заміщення) конденсатора з
втратами вибирається схема яка складається з конденсатора без втрат С1 і опору R1,
ввімкнених послідовно. При цьому кут втрат виражається формулою
, (2.5)
де
С1 - ємність конденсатора, R1 - опір.
Молекулярна
теорія
Різні
діелектрики в залежності від їхньої молекулярної будови утворюють дві групи
речовин [31]:
1) Речовини, в яких, при відсутності зовнішнього електричного поля,
центри позитивних і негативних зарядів співпадають, це неполярні з’єднання
(наприклад інертні гази).
2) Речовини, в яких, при відсутності зовнішнього електричного поля,
центри позитивних і негативних зарядів не співпадають, це полярні діелектрики
(наприклад вода, спирти).
В електричному полі у молекул не полярних з’єднань центри позитивних і
негативних зарядів розходяться. При цьому має місце так звана деформаційна поляризація,
або поляризація зсуву. Цей же ефект спостерігається і в полярних з’єднаннях.
Орієнтація постійних диполів піт дією зовнішнього електричного поля має назву
орієнтаційної поляризації (рис.2.1).
Рис. 2.1 Орієнтація диполів в електричному полі конденсатора
Результуюча мольна поляризація П обумовлена орієнтаційною поляризацією і
поляризацією зсуву
, (2.6)
де
М - маса 1 моля, ρ
- густина, Na - число Авогадро, μ - дипольний момент, Т - абсолютна температура, α - поляризованість, k - стала Больцмана.
Процеси
які проходять в діелектриках в електричному полі, описуються так званою
комплексною діелектричною проникністю
, (2.7)
де
,
-
квазістатичне значення діелектричної проникності,
-
діелектрична проникність виміряна при високій частоті, ω - колова частота, τ - час релаксації.
Виділивши
з формули (2.7) окремо активну і реактивну складові діелектричної проникності,
отримаємо:
, (2.8)
. (2.9)
Рис.
2.2 Залежності активної
і реактивної
складової
комплексної діелектричної проникності
Реактивна
складова характеризує поглинання енергії в речовині, введеної в електричне
поле, і називається коефіцієнтом діелектричних втрат.
Складова
комплексної діелектричної проникності і тангенс кута втрат зв’язані в області
релаксаційних діелектричних втрат співвідношенням
. (2.10)
Активна
і реактивна складові комплексної діелектричної проникності залежать від частоти
(рис. 2.2).
2.2 Вимірювання ємності композиту отвердженого в
магнітному полі
Відносна
діелектрична проникність діелектричного матеріалу знаходиться як співвідношення
ємності Сх конденсатора, в якому простір між і кругом електродів повністю
заповнено вимірюваним діелектричним матеріалом, до ємності таким же чином
розміщеними електродами в вакуумі С0.
, (2.11)
де
Сm - постійна комірки (ємність монтажу комірки).
При
знаходженні відносної діелектричної проникності діелектричного матеріалу по
формулі (2.11) можна замінити з практично достатньою точністю міжелектродну
ємність, в вакуумі С0 міжелектродною ємністю в повітрі С, так як відносна
діелектрична проникність сухого повітря при нормальних атмосферних умовах
близька до однини ці (ε=1,00053).
Тангенс
кута діелектричних втрат tgδ для
плоских зразків знаходять як:
, (2.12)
де
- тангенс кута діелектричних втрат конденсатора з
зразком,
тангенс кута діелектричних втрат без зразка, С1 -
повна ємність конденсатора з зразком, пФ, Сх - ємність зразка, пФ, обрахована
по формулі
, (2.13)
Для
розрахунку С0 була побудована калібрувальна крива для товстих (рис. 2.4 а), і
для тонких (рис. 2.4 б) плівок в координатах 1/С. Згідно теоретичним даним [33]
для ідеального конденсатора ємність розраховується як
де
d - відстань між пластинками, і залежність С (d) має гіперболічну форму, тому
залежність 1/С від відстані між пластинками є лінійною. Побудована
калібрувальна крива є близькою до теоретичної для тонких зразків і відхиляється
від неї для товстих зразків за рахунок крайових ефектів на рознесених
електродах.
Рис. 2.3 Розміщення калібрувальних прокладок між електродами
Для побудови кривої використовували діелектричні прокладки трикутної
форми різної товщини, які вміщували між електродами так, як показано на рисунку
2.3, причому вважаємо, що внеском прокладок в між електродну ємність можна
нехтувати.
a)
б)
Рис. 2.4 Калібрувальна крива для товстих а) та тонких б) плівок. Рівняння
описують залежність 1/С (у) від товщини зразку (х)
Після проведення апроксимації точок, з отриманого рівняння можна
розрахувати значення ємності в будь - якому інтервалі від 0,02 мм до 0,4 мм
(тонкі плівки) і від 0,4 до 2,5 мм (товсті плівки).
Для знаходження діелектричної проникності використовуються зразки в формі
диска з рівною та гладкою поверхнею.
Вимірювання ємності матеріалу проводилося на цифровому вимірювачі ємності
та діелектричних втрат Е8-4 на частоті 1 кГц [34].
Принцип дії приладу:
Прилад Е8-4 вимірює ємність та втрати конденсатора, представленого
паралельною схемою заміщення (рас. 2.5а).
Втрати конденсатора вимірюються у вигляді тангенса кута втрат, який
характеризує відхилення кута між векторами напруги і струму.
Рис. 2.5 Схема заміщення вимірюваного конденсатора
Конденсатор на (рис. 2.5а) зображений в вигляді двополюсника. Але в
практичних випадках приходиться стикатися з трьохелектродними конденсаторами
(рис. 2.5б). Двохелектродний конденсатор є частинним випадком трьохелектродного
(вихід 1 або 2 конденсатора з’єднаний з екраном).
Структурна схема приладу наведена на рисунку 2.6. Вимірювання параметрів
конденсатора Сх реалізується за допомогою мостового вимірювального ланцюга
змінного струму, яка приводить до стану рівноваги за допомогою двох регулюючих
органів (для кожного з вимірювальних параметрів) [34].
Урівноваження мостового ланцюга відбувається за ваговим методом:
регулюючі органи виконані в вигляді багато розрядних дискретних елементів з
певними ваговими співвідношеннями, які по сигналам від блоку автоматичного
керування послідовно вмикаються в мостовий ланцюг.
В залежності від фазових співвідношень між напругою моста генератора 1000
Гц і підвищеною напругою розбалансу фазочутливий детектор випрацьовує команду,
яка поступає на блок автоматичного керування, про збереження підключеного
вагового елемента або його скидання.
Рис. 2.6 Структурна схема прибору
В якості двоелектродного конденсатора використовували комірку, яка
підключалася до цифрового вимірювача ємності (рис. 2.7)
Для проведення вимірювань між електродами розміщували експериментальний
зразок і підключали комірку в схему, після чого проводили вимірювання. Отримані
дані записувались в таблицю для подальшої обробки.
Рис. 2.7 Двоелектродна комірка.
2.3 Методи приготування зразків
.3.1 Матеріали для виготовлення композицій
Для проведення експерименту, що описаний в розділі 3, в якості полімерної
матриці використовували макродіізоціонат (МДІ), модифікований поліізоціанатом
(ПІЦ), густина суміші - ρ=1,1 г/см3, твердником служив силікат
натрію (NaSi) (композиція А). МДІ - уретановий олігомер, що може вступати в
реакцію синтезу, завдяки наявності вільних ізоціанатних груп (вміст яких
складає 3,6%), і утворювати уретановий полімер (поліуретан). Другим компонентом
полімерної частини був поліізоціанат (ПІЦ) - реакційноздатний модифікатор, що
має в своєму складі ізоціанатні групи (32%). Отверджувачем служив силікат
натрію (NaSi) - неорганічний олігомер, що вступає в реакцію з МДІ і ПІЦ
(завдяки наявності ОН-груп використовувалася силіконова смола (Si) марки ЕЛ-750
густина якої ρ=1 г/см3 і води), утворюючи органо-неорганічну полімерну
систему (ОНС). Також 1 г/см3, з отверджувачем УК-2.5 (композиція Б).
В якості наповнювача був вибраний феромагнітний оксид заліза (Fe2O3), з
розміром частинок менше одного мікрона і густиною ρ=4,8
г/см3, який має власний
магнітний момент і може орієнтуватися під дією зовнішнього магнітного поля.
Для другої частини роботи в якості полімерної матриці використовували
силіконову смолу (Si) марки ЕЛ-750 з отверджувачем УК-2.5, основним
наповнювачем служив феромагнітний дисперсний нікель (Ni), частинки якого мають
сферичну форму розміром 10 мкм і густиною ρ=8,36 г/см3. В якості додаткових
наповнювачів використовували: порошок олова (Sn) з розміром частинок 2-3 мкм і
густиною
ρ=7,3 г/см3;
графітовий порошок (G) з розміром частинок 80-100 мкм і густиною
ρ=2,2 г/см3
2.3.2 Приготування зразків, для вимірювання діелектричної
проникності
Для отвердження композиції в магнітному полі виготовлялись спеціальні
прямокутні форми зі скла, які являли собою комірку і кришечку. На поверхню скла
було нанесено тефлонову плівку для запобігання виникнення адгезії на межі
розділу композит-скло.
Щоб розрахувати кількість композиції, необхідну для заповнення форми,
треба знати її густину, яку можна порахувати за формулою
, (2.14)
де
- густина відповідної компоненти,
- об’ємний відсоток компонент.
Знаючи
об’ємний вміст кожного зі складових композиції можна порахувати масу кожного з
них, перейшовши до вагових відсотків
. (2.15)
Для
вимірів використовували два види композицій А і Б:
При
приготування композиції А, спочатку змішувались МДІ і ПІЦ, тобто отримували
органічний компонент ОНС, в який додавався феромагнітний оксид заліза, при
цьому інтенсивно перемішували суміш для отримання однорідного розподілу
наповнювача. Після цього додавали отверджувач - силікат натрію (СН). Цією реакційною
сумішшю заповнювали приготовану форму. Частину суміші наносимо на скельце (яке
вміщується поряд із зразком у магнітне поле) для відслідковування впливу поля
на розподіл частинок оксиду заліза під мікроскопом. Виготовлений зразок
неотвердженої композиції вміщується у магнітне поле, як показано на рисунку
2.8, після отвердження в полі композит виймається з форми і є готовим до
проведення вимірювань. Щоб визначити діелектричну проникність полімерної
матриці, готували один зразок без наповнювача.
Для
дослідження було виготовлено дві серії зразків з різними об’ємними
співвідношенням МДІ і ПІЦ та з однаковим вмістом інших компонентів:
)
(80МДІ+20ПІЦ)-30СН -15Fe2O3,
)
(20МДІ+80ПІЦ)-30СН -15Fe2O3, які отверджувалися в магнітному полі в положенні
вдовж та впоперек зразка (рис. 2.8)
Приготування
композиції Б (Si-Fe2O3) проводилося аналогічно.
Рис.2.8
Розміщення експериментального зразка в магнітному полі з напрямком силових
ліній перпендикулярно зразку і вздовж зразку
В
залежності від того, яким способом було отверджено зразки, отримаємо структуру
з різним упорядкуванням (рис. 2.9)
Позначення напрямку
поля магнітного:
Н=0
Н=^ Н=||
Рис. 2.9 Структура зразку: а) вихідна, б) отверджена в магнітному полі
перпендикулярно до зразку, в) отверджена в магнітному полі вздовж зразку
2.3.3 Приготування зразків, для вимірювання електропровідності
Для проведення експерименту, який описаний в розділі 4, готували зразки з
різними дисперсними наповнювачами, а саме: мікродисперсним нікелем (Ni), оловом
(Sn), та графітовим порошком. В якості полімерної матриці служила силіконова
смола (Si), за отверджувач використовували каталізатор УК-2.5. Розрахунок
масового вмісту та кожного з компонент описаний в пункті 2.3.2. Всього було
виготовлено 3 зразки:
1) Полімерна матриця Si з вмістом нікелю - Si+10%Ni;
) Та ж композиція з додаванням олова - Si+10%Ni+5%Sn;
) Та ж композиція з додаванням графіту - Si+10%Ni+5%G;
Отриману неотверджену композицію поміщали в спеціально виготовлені форми
з тефлоновим покриттям, додатково наносилась на скельце для мікроскопії, після
чого зразок зі скельцем поміщали в магнітне поле (рис.2.8 з напрямком силових
ліній вздовж зразку), після отвердження в полі композит виймається з форми і є
готовим до проведення вимірювань.
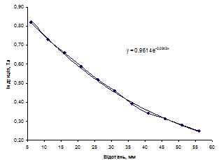
2.4 Калібрування магнітного поля
Калібрування магнітного поля проводилася за допомогою магнітометра МХ-10,
для отримання значення магнітної індукції (В) на заданій відстані між
магнітами. Для цього поступово змінювали зазор між магнітами і вимірювали
індукцію поля, по отриманих значеннях будувалася калібрувальна крива
(рис.2.10), з якої можна визначити значення В в інтервалі відстані між
магнітами від 6 до 56 мм у відповідності з рівнянням апроксимації
y=0,9614exp(-0,0243x), де у є величиною індукції, х - відстань між магнітами.
Рис. 2.10 Калібрувальна крива, для визначення величини магнітної
індукції, в залежності від відстані між магнітами
Зазор між магнітами, для положення зразка впоперек поля був вибраний 32
мм (випадок б), для положення вздовж - 46 мм (випадок в), індукція магнітного
поля В, в місці находження зразку становила 0,45 Тл і 0,32 Тл відповідно (рис.
2.8).
РОЗДІЛ ІІІ. ДІЕЛЕКТРИЧННА ПРОНИКНІСТЬ ТА ЕЛЕКТРОПРОВІДНІСТЬ КОМПОЗИТУ
ОТВЕРДЖЕНОГО В МАГНІТНОМУ ПОЛІ. ОБГОВОРЕННЯ РЕЗУЛЬТАТІВ
3.1 Співвідношення Вінера, рівняння Ліхтенекера
Для двохкомпонентної суміші виконується співвідношення Вінера що описує
поведінку діелектричної проникності для різного складу матеріалу:
, (3.1)
де
εсуміші це діелектрична проникність суміші, εмакс - діелектрична проникність шарового діелектрика
при електричному полі, паралельному границі поділу шарів (рис. 3.1 крива 1),
яку можна розрахувати:
, (3.2)
εмін - діелектрична проникність шарового діелектрика при електричному
полі, перпендикулярному до площини шарів (рис. 3.1, крива 2):
, (3.3)
Для
впорядкованого стану структури відповідають криві - 1, 2 , в залежності від її
природи, в нашому випадку крива 1 відповідає випадку отвердження в магнітному
полі вздовж зразка, крива 2 - впоперек зразка.
Таким
чином, при довільному розподілі компонентів діелектрична проникність суміші
буде лежати між граничними значеннями діелектричної проникності шарового
діелектрика з тою ж об`ємною концентрацією компонентів.
Співвідношення
Вінера розповсюджується і на випадок багатокомпонентної суміші
. (3.4)
Значення
тангенсу втрат суміші завжди менше значення тангенса втрат компонент з
найбільшими втратами, і більш значення тангенса компонент з найменшими втратами
Рис.
3.1 Залежність діелектричної проникності двокомпонентної системи від її складу,
1 - для максимальної, 2 - для мінімальної, 3 - розрахованої за формулою
Ліхтенекера діелектричної проникності
. (3.5)
Це
співвідношення справедливе в всьому інтервалі частот і температур, якщо
неоднорідні діелектрики не мають поверхневої провідності.
Згідно
теоретичним даним [36] діелектрична проникність матеріалу двохкомпонентної
систем буде мати максимальне значення (система може бути представлена як
паралельний набір пластин (фаз)), що описується рівнянням (3.2) і мінімальне
(пластини (фази) укладаються в напрямку перпендикулярному до площини) (3.3)
(рис. 3.1), хаотичному рівномірному розподілу відповідає 3-тя пряма.
Ліхтенекер
запропонував таку залежність, функцію, яка описує як провідність так і опір
матеріалу
;
і відповідає умові:
логарифмуючи
отримуємо:
, (3.6)
де
і
-
діелектричні проникності полімера та наповнювача відповідно, φ1 і φ2 - вміст
полімеру і наповнювача. Формула (3.6) називається формулою Ліхтенекера, яка
представлена в логарифмічних координатах на рисунку 3.1, прямою 3.
3.2 Розрахунок діелектричної проникності композицій,
отверджених в магнітному полі
Для
розрахунку діелектричної проникності e проводилося
вимірювання ємності зразку за допомогою вимірювача ємності Е8-4 (як описано в
підрозділі 2.2 ). Використовуючи формулу (2.11) і експериментально виміряні
значення ємності вимірювальної комірки із зразком Сексп, без зразку Ск та
ємності монтажу См, розраховується діелектрична проникність матеріалу.
Розрахункові дані наведені в таблицях 3.1, 3.2 - для композицій
МДІ-ПІЦ-СН-Fe2O3, і в таблиці 3.3 для композицій Si-Fe2O3.
Отримані
результати для композиції А (МДІ-ПІЦ-СН-Fe2O3), з різним вмістом МДІ і ПІЦ.
Таблиця
3.1. Параметри композицій (80МДІ-20ПІЦ-30СН-15Fe2O3) та результати вимірювань
діелектричної проникностіє
|
Товщина зразку, мм
|
Напрямок поля, H
|
Вміст Fe2O3,%
|
Сексп,pF
|
Cк, pF
|
ε
|
φ
|
logε
|
|
1,34
|
||
|
15
|
69,09
|
4,6
|
27,98
|
0,15
|
1,45
|
|
1,42
|
^
|
15
|
123,14
|
4,46
|
70,00
|
0,15
|
1,85
|
|
1,31
|
0
|
15
|
75,28
|
4,67
|
37,59
|
0,15
|
1,58
|
|
1,3
|
^
|
0
|
39,27
|
4,68
|
18,83
|
0
|
1,29
|
|
1,31
|
0
|
0
|
39,51
|
4,67
|
19,05
|
0
|
1,27
|
Таблиця 3.2. Параметри композицій (20МДІ-80ПІЦ-30СН-15Fe2O3) та
результати вимірювань діелектричної проникності
|
Товщина зразку, мм
|
Напрямок поля, H
|
Сексп,pF
|
Cк, pF
|
ε
|
φ
|
logε
|
|
1,36
|
||
|
15
|
35,53
|
4,56
|
18,02
|
0,15
|
1,26
|
|
1,43
|
^
|
15
|
50,95
|
4,44
|
28,36
|
0,15
|
1,45
|
|
1,41
|
0
|
15
|
40,23
|
4,47
|
21,67
|
0,15
|
1,34
|
|
1.65
|
0
|
0
|
26,55
|
4,15
|
12,55
|
0
|
1,09
|
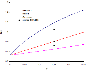
Для проведення аналізу та оцінки отриманого значення діелектричної
проникності побудовано теоретично розраховані значення ε
для найбільшої,
найменшої провідності і відповідно теорії Ліхтенекера за формулами: (3.2),
(3.3), (3.6) (рис. 3.1).
Рис. 3.2 Теоретичні криві для значень діелектричної проникності для
різної упорядкованості структури
На рисунку 3.2 зображено теоретичні криві для композиції з різним
напрямком поля при отвердженні, та відсутності поля. Пряма 1 відповідає стану
вихідної полімерної композиції не отвердженої в магнітному полі, крива 2
відповідає випадку коли полімерні і шари наповнювача знаходяться паралельно
магнітному полю (перпендикулярно до напрямку вимірювання), крива 3 - полімерна
композиція знаходиться впоперек магнітного поля (паралельно до напрямку
вимірювання).
На рисунку 3.3 показано упорядковану структуру композиту Si-Fe2O3,
отверджену в магнітному полі. Видно що частинки феромагнітного оксиду заліза
вишиковуються вздовж силових ліній поля.
Рис. 3.3 Розподіл частинок оксиду заліза в полімерній матриці
При розрахунку кривих використовували підібрані значення ε1
і ε2,
які підбиралися так, щоб
експериментальні значення діелектричної проникності потрапляли в інтервал
Вінера.
При теоретичних розрахунках значення для ε1 і ε2 дещо відрізняються від реальних
значень діелектричної проникності і є завищеними.
Для оцінки впливу магнітного поля на процес структуризації композиту, на
теоретичну криву наносили розрахункові значення діелектричної проникності (рис.
3.4- 3.5).
Рис. 3.4 Логарифмічна залежність діелектричної проникності від вмісту
наповнювача. Точками вказані експериментальні дані для композиту
80МДІ+20ПІЦ+30NaSi+15Fe2O3. Лінії - теоретичні криві
Рис. 3.5 Логарифмічна залежність діелектричної проникності від вмісту
наповнювача. Точками вказані експериментальні дані для композиту 20МДІ+80ПІЦ+30NaSi+15Fe2O3.
Лінії - теоретичні криві
Отримані результати для композиції Б (Si-Fe2O3).
Отримані результати, та розрахункові значення для діелектричної
проникності наведено в таблиці 3.3.
Таблиця 3.3 Параметри композицій Б та результати вимірювань діелектричної
проникності
|
Товщина зразку, мм
|
Напрямок поля, H
|
Вміст Fe2O3,%
|
Сексп,pF
|
Cк, pF
|
ε
|
φ
|
logε
|
|
1,25
|
||
|
15
|
20,92
|
4,79
|
7,25
|
0,15
|
0,86
|
^
|
15
|
28,39
|
4,68
|
10,60
|
0,15
|
1,03
|
|
1,38
|
0
|
15
|
20,57
|
4,53
|
7,91
|
0,15
|
0,90
|
|
1,32
|
0
|
0
|
11,63
|
4,64
|
3,88
|
0
|
0,59
|
Логарифмічна залежність ε від вмісту наповнювача для композиції
Б
Рис 3.6 Логарифмічна залежність діелектричної проникності від вмісту
наповнювача. Точками вказані експериментальні дані для композиту Si+Fe2O3.
Лінії - теоретичні криві
З наведених графіків видно, що розрахункові значення діелектричної
проникності ε близькі до теоретичних і вони належать інтервалу Вінера (від
найбільшого значення до найменшого). Видно що модель Вінера, згідно якої
значення діелектричної проникності ε змінюється в залежності від
упорядкування структури, всі значення ε повинні лежати в інтервалі, який
описують теоретичні криві (рис.3.2).
Теоретичні розрахунки проникності дещо завищені, оскільки теорія не
враховує міжфазної поляризації, яка дає суттєвий внесок в діелектричну
проникність, тому підібрані значення ε2 для двох різних композицій є
різними. Зрозуміло що такий результат є неадекватним, оскільки ми
використовуємо один і той же тип наповнювача, але це можна пояснити, якщо
записати розрахункову діелектричну проникність як:
, (3.7)
де
εприт - діелектрична проникність полімеру композиту, εміжф - внесок в діелектричну проникність за рахунок
міжфазних взаємодій полімер наповнювач, внаслідок накопичення заряду між
полімерною матрицею і наповнювачем, цей ефект описує теорія Максвела-Вагнера
[37].
Композиційний
матеріал містить неоднорідності і домішки у вигляді другої фази. Зміни
діелектричних властивостей, пов'язані з неоднорідностями матеріалу, зазвичай
називають ефектами Максвелла-Вагнера, тому що цими авторами вперше розроблено
теорію цих явищ. Складнощі виникають часто також на електродах, де контакт із
зразком може бути неповним, а вироджені іони можуть утворювати паразитні
граничні шари. Важливо враховувати ці аномальні ефекти; якщо не брати їх до
уваги або ігнорувати, можна отримати абсолютно неправильні результати.
Максвел
розглядав частинний випадок неоднорідностей в діелектрику. Він розглядав вплив
поля на зразок, що складається з шарів двох різних матеріалів, що мають
діелектричну проникність ε'1,
ε'2 і електропровідність σ1,
σ2, відповідно. З результатів
випливає, що з часом на границі двох шарів скупчуються заряди, при умові, що ε'1σ2≠ε'2σ1. Вагнер запропонував наближений розв’язок важливої
практичної задачі діелектрика з включеннями електропровідних домішок. У його
моделі домішки (діелектрична проникність ε'2, електропровідність σ2) існують
у вигляді сфер малого радіусу (об'ємна частка f), розкиданих в діелектричній
матриці (діелектрична проникність ε'1). Також він показав, що в композиті з’являються
діелектричні релаксаційні процеси, по формі подібні до процесів пов’язаних з
дипольною орієнтацією. [37]
Різні
значення ε2
для композиту типу А і Б пояснюється
меншим впливом міжфазних ефектів eміжф для композиту
типу Б, оскільки ця полімерна матриця силіконової смоли є більш нейтральною до
поляризаційних ефектів.
Значення
діелектричної проникності для чистих полімерів типу А і Б, підібраних фітингом
і експериментальних, розрахованої за формулою (2.11), близькі за значенням: εА,фіт=22, εА,експер=15,37,
εВ,фіт=12,55, εВ,експер=12, більша різниця для композицій типу А
пояснюється внеском хімічної реакції між МДІ, ПІЦ та силікатом натрію, яка
приводить до утворення газових включень в об’ємі полімерної матриці в більшій
мірі в композиції типу А, які знижують εА,експер. Діелектрична проникність для силіконової смоли εфіт=5,8, εекспер=4,09. Відмінність розрахункових і теоретичних значень
діелектричної проникності вносить наявність дрібних пор в отриманих зразках.
РОЗДІЛ ІV.
ВПЛИВ МЕХАНІЧНИХ ЗУСИЛЬ НА ЕЛЕКТРОПРОВІДНІСТЬ КОМПОЗИТІВ, ОТВЕРДЖЕНИХ В
МАГНІТНОМУ ПОЛІ
4.1 Застосування термомеханічного аналізу (ТМА)
для дослідження впливу механічних зусиль на електропровідність
Вплив механічних зусиль на електропровідність композитів досліджувалося
використовуючи методи ТМ.
За допомогою термомеханічного аналізу можна виміряти деформацію зразка
при стисненні або розтягу при постійній або змінній силі як функції температури
або часу.
Для вимірювання теплового розширення, прикладена сила повинна бути незначною,
достатньою, щоб тримати зонд в контакт із зразком.
Відносна зміна довжини в одному напрямку виражається як:
, (4.1)
де
LT є довжина при температурі T і L0 початкова довжина зразка при початковій
температурі або нульовий момент вимірювання в випадку ізотермічних
експериментів [38].
Здатність
полімерів до значних оборотних деформацій, визначає основні особливості
застосування пластмас, в порівнянні з низькомолекулярним склом. Поява
мікротріщин, в деформованому полімері, не призводить до руйнування матеріалу,
оскільки вони розсмоктуються в великому об’ємі завдяки здатності перегрупування
відрізків макромолекул.
Якщо
до такого полімеру приложити зусилля, то енергетичний бар’єр теплового
переміщення ланок може бути подоланий, і зігнуті макромолекули, в результаті
отриманої можливості теплового руху стануть розпрямлятися, що призведе до
значного збільшення зразка. В результаті крива навантаження набуде характерного
вигляду (рис. 4.1). Всю криву можна розділити на три області. Перша область ,
коли виконується закон Гука (навантаження пропорційне видовженню), утворюється
за рахунок зворотної пружної деформації. Величина деформації цій області
невелика і за звичай не перевищує декількох відсотків від початкових розмірів
зразка. Як тільки механічне навантаження стане сумірним з величиною
міжмолекулярних сил,
Рис.
4.1 Схематичне зображення кривої навантаження - деформація для склоподібних
полімерів
почнеться
взаємне переміщення сегментів макромолекул. В цей момент запас механічної
енергії в зразку наближається по рівню до тої величини енергії активації
теплового руху, яка існувала в не навантаженому стані полімеру. В області ІІ в
зразку продовжує розвиватися процес переміщення сегментів, процес високо
еластичної деформації. Якщо при цьому швидкість розсмоктування навантажень в
зразку рівна швидкості переміщення зажиму динамометра, то область ІІ може стати
практично горизонтальною. Цікавим є перехід від області І до ІІ, коли величина
напруження проходить через максимум. Максимум на кривій
, очевидно відповідає умові
, і є тою границею навантаження, нижче котрої ми
спостерігаємо звичайну гаусівську пружність, а вище цієї границі - виникнення
великих зворотніх деформацій. Область ІІІ відповідає випадку необоротної
деформації з подальшим збільшенням якої відбувається руйнування структури
матеріалу.
Нашою задачею було, поряд з вивченням впливу зусиль на деформацію композиту,
і дослідження впливу зусиль на електропровідність зразку отвердженого в
магнітному полі. Тому було експериментальну установку було модифіковано, для
вимірювання електропровідності.
4.1 Модифікація установки ТМА для комбінованого
вимірювання механічних параметрів та електропровідності
Вимірювання електропровідності композитів проводилося за допомогою
термомеханічного аналізатора ТМА Q400E (рис 4.2)
Рис. 4.2 Термомеханічний аналізатор ТМА Q400E
Термомеханічний аналізатор Q400E дозволяє точно вимірювати зміну лінійних
розмірів зразка в умовах контрольованої температури, часу, навантаження і
атмосфери зразка.Q400E являє собою дослідний прилад здатний з високою точністю
виконувати завдання стандартного термомеханічного аналізу. Прилад ідеально
оптимізований для визначення коефіцієнта термічного розширення в широкому
діапазоні температур, може працювати з цілим набором зондів і режимів
деформації . Режими деформації:
Розширення: Традиційний режим для визначення коефіцієнта термічного
розширення матеріалу, температури склування і модуль стиснення. Плоский
стандартний зонд на розширення поміщається на поверхню зразка (при цьому може
прикладатися невелика статичне навантаження) і виробляється нагрівання за
заданою програмою. Рух зонда відображає розширення або стиснення зразка.
Використання макро-зонда дозволяє проводити дослідження м'яких зразків, плівок,
порошків або зразків неправильної форми.
Пенетрація: Пенетраціонний експеримент використовує зонд з невеликим
тонким наконечником, щоб сфокусувати прикладену навантаження на невеликому
майданчику поверхні зразка. Це дозволяє проводити визначення температур
склування (Tg), розм'якшення і плавлення. Даний варіант вимірювання важливий
для дослідження покриттів без необхідності зняття матеріалу з підкладки. Зонд
працює також як зонд на розширення, але прикладена сила більше. Альтернативою
такому зонду є півсферичний зонд, що дозволяє вимірювати температури
розм'якшення для твердих речовин.
Розтягнення: Дослідження волокон і плівок в режимі розтягування
проводяться з використанням спеціальної збірки для волокон і плівок.
Спеціальний вирівнюючий затиск дозволяє проводити фіксацію зразків точно і
відтворено. Додаток постійного навантаження дозволяє отримати інформацію про
модуль і криву навантаження / деформація. Додаткові вимірювання дозволяють
знайти силу усадки, температуру склування, температуру розм'якшення,
затвердіння і щільність зшивання. Динамічні тести (ДТМА, МТМА) в режимі
розтягування можуть проводитися для визначення механічних властивостей (E ', E
", tgδ) або поділу перекриваються переходів.
Стиснення: У цьому режимі зразок піддається статичної, лінійно мінливому
або осцилюючому навантаженні. Зсув зонда (деформацію) реєструють з
використанням зондів на розширення / пенетрацію і використовують для визначення
внутрішніх властивостей матеріалу, в’язкоеластичних властивостей (ДТМА) або
теплових переходів, а також поділу перекриваються переходів (МТМА)
Будова приладу:
Рис.4.3 Будова термомеханічного аналізатора ТМА Q400E. 1-пічка яка
переміщується вертикально, керування переміщенням здійснюється за допомогою
спеціального програмного забезпечення, 2-камера для зразка, відкрита
конструкція спрощує установку доступних зондів встановлення зразка і термопари
Точність вимірювань досягається за рахунок змінного диференційного
датчика (LVDT) (рис. 4.3), який генерує точний вихідний сигнал, який є прямо
пропорційно зміні вимір зразка. Його точний і надійний відгук у широкому
діапазоні температур (від -150˚ до 1000˚ С) забезпечує відтворювані
результати TMA. Його розташування під піччю захищає її від температурних
впливів і забезпечує стабільну роботу базового рівня.
Безконтактний двигун забезпечує точне управління, без тертя, калібровка
навантаження до зразка здійснюється за допомогою зонда або приладу.
Запрограмована сила від 0,001 до 1 Н, і може бути збільшена вручну до 2-х Н при
додаванні ваги. Двигун точно генерує статичні, похилі або коливальні динамічні
сили, необхідні для вимірювання у всіх режимах деформації. Десять окремих
частот доступних для оптимізації якості даних в динамічних експериментах ТМА
при стисненні, три точки вигину, або напруга режимів деформації [40].
Рис. 4.3 Конструкційна будова схеми реєстрації зусиль і переміщень
аналізатора ТМА Q400E. 1- лінійний змінний диференційний датчик, 2 - двигун
Для проведення експерименту установку ТМА Q400E було переобладнано для
вимірювання провідності. Зонд охоплювався алюмінієвою фольгою, яка служила
верхнім електродом. До кварцового столика прикріплювали плоский електрод (рис.
4.4). Відводи від електродів підключали до мультиметра, синхронізованого, за
допомогою спеціального програмного забезпечення (ПЗ), з комп’ютером (ПК) для
запису даних в файл. Схему підключення наведено на рисунку 4.5



Рис. 4.4 Конструкція модифікованого вузла реєстрації механічних та
електричних характеристик приладу ТМА Q400E. Розміщення електродів на зонді, 1
- верхній електрод, 2 - вимірювальний зразок, 3 - нижній електрод
Рис. 4.5 Схема підключення приладу ТМА та цифрового мультиметра
(UNI-T71B) до комп’ютера. 1 - ПК синхронізований з ТМАQ400E, 2 - джерело
постійного струму, 3 - ТМАQ400E, 4 - цифровий мультиметр, 5 - ПК
синхронізований з цифровим мультиметром, 6 - розвідна схема
За допомогою ПЗ для ТМА програмуємо умови експерименту (початкове
навантаження, кінцеве навантаження, крок навантаження, час за який навантаження
зміниться з мак сильного значення до мінімального). На систему подаємо напругу
30 В, вмикаємо ключ (рис.4.5), після чого проводимо запуск термомеханічного
аналізатора Q400E і одночасно починаємо вимірювати струм який проходить через
наш зразок. Завдяки синхронізації ПК з ТМА Q400E одночасно отримуємо залежність
зміни навантаження, деформації і електропровідності вимірюваного зразку від
часу.
Використовуючи дані, зняті з цифрового мультиметра і ТМА Q400E, будуємо
залежності сили, деформації, провідності системи від часу. Провідність
(σ) розраховувалась
з величини струму і напруги, що прикладалася на зразок, по формулі:
де
І - сила струму (А), U - прикладена напруга (В), d, l, h - розміри зразка (см).
4.2 Вплив модифікаторів на електропровідність
композитів, наповнених дисперсним нікелем і отверджених в магнітному полі
Дослідження
композитів отверджених в магнітному полі проводились на матеріалах, які були
модифіковані шляхом додавання в композит, окрім основного наповнювача
(дисперсний Ni) додатковий електропровідний (але не форомагнітний) наповнювач.
Для цього було виготовлено 3 зразки на основі полімерної матриці, в якості якої
служила силіконова смола (полімер був вибраний так, щоб в кінцевому результаті
отримати пружний матеріал) з різними дисперсними наповнювачами, а саме нікелем,
сумішшю нікелю з оловом і сумішшю нікелю з графітом. Нікель є феромагнітним і
утворює стренги (ланцюжки частинок нікелю вишикувані вздовж силових ліній) при
отвердженні композиту в магнітному полі, тоді як частинки олова і графіту
включаються між ланцюгами нікелю, стабілізуючи їх механічну структуру і, таким
чином, покращують стабільність провідності матеріалу при дії механічних зусиль.
Вплив
ПМП на структуру матеріалу показаний на рисунку 4.6 де наведено знімки з
мікроскопа для композиту на основі силіконової смоли з наповнювачем - дисперсним
нікелем. Видно що отримана структура є впорядкованою (рис.4.6 а), з вишикуваним
вздовж силових ліній частинками феромагнітного нікелю, тоді як композиція,
отверджена без дії магнітного поля (рис.4.6 б) має хаотичний розподіл
дисперсного наповнювача.
а) б)
Рис. 4.6 Полімерний композит на основі силіконової смоли з наповнювачем
феромагнітним нікелем, отверджений в магнітному полі (а), без магнітного поля
(б)
В роботі досліджували залежність провідності матеріалу від навантаження
на зразок, сила дії на зразок складала від 0,05 Н до 0,5 Н, яка прикладалася до
композиту циклічно 0,05Н - 0,5Н - 0,05Н для того щоб проаналізувати як отримана
матриця реагує на циклічні деформації, і вплив такого типу деформацій на
провідність. Навантаження проводилося впродовж 5 циклів.
Отримані результати для композиції Si+10%Ni наведені на рисунку 4.7, для
Si+10%Ni+5%Sn на рисунку 4.8 і для Si+10%Ni+5%G - 4.9.
Рис. 4.7 Залежність навантаження, деформації та провідності від часу, для
композиції Si+10%Ni
Рис.4.8 Залежність навантаження, деформації та провідності від часу, для
композиції Si+10%Ni+5%Sn
Рис.4.9 Залежність навантаження, деформації та провідності від часу, для
композиції Si+10%Ni+5% G
Проаналізувавши результати для композиції Si+10%Ni можна зробити
висновок, що отриманий зразок є пружнім, і майже повністю відновлює свою
вихідну структуру. Також для перших циклів видно, що електропровідність є
чутливою до навантаження. Але після третього циклу прикладеної сили зв’язки між
частинками нікелю в стренгах руйнуються внаслідок їх деформації і провідність
різко зменшується. На четвертому і п’ятому циклах матеріал стає майже
непровідним.
Для того, щоб покращити електричні властивості, а саме стійкість
провідності до впливу деформації, вводили додаткові наповнювачі в матрицю, щоб
стабілізувати і зміцнити утворену в магнітному полі структуру.
З рисунків 4.7-4.9 видно, що введення додаткових наповнювачів в матрицю
дещо покращуює провідність (спостерігається збільшення провідності), і
отриманий матеріал є більш стійким до деформації внутрішньої структури, про що
свідчить більш повільний лінійний спад провідності (по відношенню до числа
циклів).
Аналізуючи дисперсні порошки графіту (G) і олова (Sn), в якості
додаткового наповнювача, можна зробити висновок, що для обох сумішей
наповнювачів (Ni+Sn, Ni+G) спостерігається лінійне зменшення провідності при
повторному навантаженні (рис. 4.10), але воно є значно меншим, ніж для вихідної
композиції, яка містила тільки нікель. Також видно, що обидва наповнювачі
покращують електричні властивості композиту, а саме спостерігається збільшене
значення провідності. Видно, що композит з вмістом олова дає кращі значення
електропровідності матеріалу ніж композит наповнений графітовим порошком, але,
в свою чергу, для зразка з графітом спостерігається більш повільний спад σ.
Це може бути пояснено
більшим розміром частинок графіту, які перетинають декілька стренгів,
вишикуваних вздовж силових ліній магнітного поля (рис. 4.6). Також слід
зазначити, що вимірювання проводилися лише в одному напрямку (вздовж напрямку
поля), у всіх інших напрямках провідність композиту була відсутня.
Рис. 4.10 Залежність провідності Si+10%Ni+5%G, Si+10%Ni+5%Sn і Si+10%Ni
від часу навантаження
4.3 Обговорення результатів
При дослідженні діелектричної проникності композицій МДІ+ПІЦ+СН+Fe2O3 та
Si+Fe2O3, було показано вплив магнітного поля на значення діелектричної
проникності ε, а саме на залежність величини проникності від напрямку
орієнтації наповнювача. Отримані результати демонструють, що модифікацією
композитів магнітним полем можна покращити їх діелектричні властивості, а саме
з використанням магнітного поля можна отримувати матеріали з прогнозованою
(більшою або меншою) діелектричною проникністю. Було встановлено, що
діелектрична проникність є різною для одного матеріалу, при різному напрямку
магнітного поля. Максимальне значення ε отримується в випадку напрямку
магнітного поля вздовж зразка, мінімальне - коли магнітне поле напрямлене
впоперек зразка. Але всі отримані значення ε належать інтервалу Вінера.
При дослідженні впливу циклічних механічних навантажень на провідність
композиту, сформованого в постійному магнітному полі, було показано, що після
надання циклічного навантаження на зразок, значення електропровідності також
змінюється циклічно. Під циклічною зміною електропровідності розуміється, що
при наданні навантаження на зразок значення σ починає зростати до максимального
значення, після релаксації зразка від навантаження значення σ
зменшується. Недоліком
отриманих результатів є те, що після повторного навантаження значення
провідності починає згасати, це пояснюється руйнуванням структури, яка була
отримана за допомогою магнітного поля. Також було показано, що внесення
додаткових наповнювачів покращують стабільність електричних характеристик
матеріалу, тобто відбувається зміцнення внутрішньої структури фази наповнювача.
Для отримання матеріалу, провідність якого не втрачалася би з повторними
навантаженнями, необхідно експериментальним шляхом підбирати оптимальний склад
наповнювача і його концентрацію, який би давав високе значення провідності, і
одночасно забезпечував би стійку структуру до циклічних навантажень.
Також можна використовувати інший тип наповнювача, як це було зроблено в
роботі [2], а саме використані нановолокна нікелю, які утворюють пружну
структуру (нановолокна переплітаються між собою, таким чином запобігається руйнація
провідної сітки). Отримані результати дали близькі значення електричного опору
після декількох циклів навантажень.
Висновки
). Під дією постійного магнітного поля в процесі формування композиту,
феромагнітний наповнювач утворює упорядковану структуру, внаслідок чого
матеріал набуває нових анізотропних властивостей.
). Показано, що для композитів, сформованих в постійному магнітному полі,
значення діелектричної проникності залежить від орієнтації наповнювача відносно
напрямку вимірювань і належить інтервалу Вінера. Неорієнтовані композити
підкоряються моделі Ліхтенекера.
). Досліджено електрочутливість композитів, сформованих в постійному
магнітному полі, до циклічних механічних навантажень. Знайдено, що зміни
електропровідності є також циклічними і співпадають з механічними циклами.
Показано, що амплітуда електричного відклику падає із збільшенням циклів
навантаження.
). Для покращення електричного відклику в полімерний композит додавали
додаткові наповнювачі, що приводить до зміцнення орієнтованої структури
феромагнітного наповнювача і покращує циклічні характеристики
електропровідності.
Список використаної літератури
1. Joung-Man
Park, Sung-Ju Kim, Dong-Jin Yoon, George Hansen,K. Lawrence
DeVries,Self-sensing and interfacial evaluation of Ni nanowire/polymer
composites using electro-micromechanical technique,Composites Science and
Technology 67 (2007) 2121-2134.
2. Colin
Robert, Jean François Feller, Mickaël Castro Sensing Skin for
Strain Monitoring Made of PC−CNT Conductive Polymer Nanocomposite Sprayed
Layer by Layer,Smart Plastics Group, European University of Brittany (UEB),
LIMATB-UBS, Lorient, France,June 15, 2012
. L.
Flandin, Y. Brechet, J.-Y. Cavaille, Electrically conductive polymer
nanocomposites as deformation sensors, Composites Science and Technology 61
(2001) 895-901.
. Alamusi,
Ning Hu, Hisao Fukunaga, Satoshi Atobe, Yaolu Liu and Jinhua Li,Piezoresistive
Strain Sensors Made from Carbon Nanotubes Based Polymer Nanocomposites,Sensors,
11 November 2011.
5. Физическая
энциклопедия Ред. A.M. Прохоров. - M.: Большая российская энциклопедия. 1994.
6. Песчанская
Н.Н., Якушев П.Н Физика твердого тела. - 1997. - 39. вып. 9. С. 1690-1692.
. Рамазанов
М.А., Керимли С.Дж., Садихов Р.З. Пластмассы. - 2005
. Купорев
Б.А., Виленскип В.А., Гончаренко Л.А. Высокомолекуляр. соединения. Сер. Б. -
2001. - 43.№3.-С. 536-541.
9. Віленський
В.А., Керча Ю.Ю., Глієва Г.Е., Овсянкіна В.А. Високомолекулярні сполучення Сер.
А. -2005. - 47, №12. - С. 2130 - 2139.
. Григорьев
Е.И., Завьялов С.А., Чвалун С.Н. // Высокомолекуляр. соединения. Сер. А. -
2003. - 45. №8.-С. 1308-1313.
11. Песчанская
Н.Н., Якушев П.Н.// Физика твердого тела. - 2003.
. Кочервинский
В.В. // Высокомолекуляр. соединения. Сер. А. -1991.- 33, № 10.-С. 2106-2114.
. Левчук
В.В., Демчук В.Б., // Фізика конденсованих високомолекулярних систем. - 2000. -
№8. - С. 37-39.
. Бенедик
Н.Б. Вплив ультра звукового та магнітного полів на полімеризацію
полівінілпіролідон-мономернпх композицій: Дис. канд. хім. наук. -Львів, 2002.-
149 с.
. Букетов
А.В., Стухляк П.Д., Кальба Є.М. Фізпко-хімічні процесії при формуванні
епоксикомпозитних матеріалів. - Тернопіль: Збруч. 2005 -182с.
. Молчанов
Ю.М., Родин Ю.П., Кисне З.Р. // Механика полимеров.-1978. -№ 4. - С. 583-587.
. Молчанов
Ю.М., Родин Ю.П., Кисне З.Р. // Механика полимеров. - 1976.
18. Малежик
М.П., Січкар Т.Г. // Фізика конденсованих, високомолекулярних. систем. -
1997.-Вып. 3. -С. 68-71.
19. Кваша
А.Н., Манько Т.А., Соловьев А.В., Ермолаев И.М., ЩеневаВ.Б. // Механика
композит., материалов. -1983.-№3.-С. 544-546.
20. Молчанов
Ю.М, Кисне З.Р., Родин Ю.П. // Механика полимеров. -1973.
. Ю.П.
Родин // Механика композит, материалов. - 1991.-№3.-С. 490-503.
. Мікрогетерогенна
структура композитів на основі епоксидної смоли та оксиду Fe(III) або Al(III) /
В.І. Штомпель, В.Л. Демченко, В.О. Віленський, Ю.Ю. Керча // Полімер. журн. -
2008. - Т. 30, № 3. - С. 233-238
. Halit
S. Goktiirk, Thomas J. Fiske, and Dilhan M. Kalyon Electric and Magnetic
Properties of a Thermoplastic Elastomer Incorporated with Ferromagnetic Powders
IEEE transaction on magnetics, VOL. 29, no. 6, November 1993.
. J.
Stabik, A. Chrobak, G. Haneczok, A. Dybowska, Magnetic properties of polymer
matrix composites filled with ferrite powders, Archives of Materials Science
and Engineering 48/2 (2011) 97-102
. Genovéva Filipcsei Ildikó Csetneki András Szilágyi Miklós Zrínyi, Magnetic Field-Responsive Smart
Polymer Composites, Adv Polym Sci (2007) 206: 137 189
. Шевченко
В.Г. Основы физики полимерных композиционных материалов. - М.: МГУ им. М.В. Ломоносова,
2010. - 99 с.
. Zhigun,
L. G. Zhigun, and A. A. Mikheev, STATIC MAGNETIC FIELDS AND PHYSICAL-MECHANICAL
PROPERTIES OF POLYMERS, November 26, 1982. Otkrytiya. Izobret., No. 4, 89
(1984).
. A.P.
Chiriac, C.I. Simionescu, Magnetic field polymerisation, Prog. Polym. Sci. 25
(2000) 219-258.
. António R. Guerreiro, Vadim Korkhov,
Irene Mijangos, Elena V. Piletska, Juris Rodins, Anthony P. F. Turner, Sergey
A. Piletsky, Influence of Continuous Magnetic Field on the Performance of
Molecularly Imprinted Polymers,Biosensors and Bioelectronics, Volume 23, 28
February 2008,Pages 1189-1194.
30. Stadnik
and F. D. Miroshnichenko, Effect of a constant magnetic filed on certain
properties of polymers, Translated from Mekhanika Polimerov, No. 2, pp.
346-350, March-April, 1978.
. Эме
Ф., Диэлектрические измерения, пер. с нем., M., 1967.
32. ГОСТ
22372-77.
. Гуменюк
А. Ф. Електрика та магнетизм. Посібник із курсу загальної фізики. (Для фізичних
спеціальностей університетів). Київ 2007, 443с
. Измеритель
емкости цифровой Е8-4, техническое описание и инструкция по експлуатации
2.724.006 ТО
. Электрические
свойства полимеров, под ред. Б. И. Сажина, Л., 1970.
. Ye.
P. Mamunya, V.V. Davydenko, P. Pissis, E.V. Lebedev, Electrical and thermal
conductivity jf polymers filed with metal powders, European Polymer Journal 38
(2002) 1887-1897.
. Блайт
Э.Р., Блур Д. Электрические свойства полимеров. Физматлит. 2008. 376 с
38. Menczel,
Joseph D. / Prime, R. Bruce, Thermal Analysis of Polymers, Fundamentals and
Applications, 2009, 696c
. TA
Instruments, Thermal Analysis, T-2006.