Воздух и его влияние на аэродинамику самолета
Основные свойства воздуха. Атмосфера
Земли
Рис. 1 Строение
атмосферы
Атмосферой называется
газовая оболочка, окружающая земной шар. Газ, составляющий эту оболочку,
называется воздухом
Высота газовой оболочки
Земли велика и составляет более 2000 км. Точно определить границу атмосферы
трудно, так как переход от земной атмосферы к межпланетному пространству
совершается плавно и на больших высотах плотность воздуха очень мала. Можно
только отметить, что в пределах околоземного пространства до высоты 20 км
находится около 95% всей массы атмосферного воздуха
Атмосфера разделяется на
тропосферу, стратосферу и ионосферу. Такое разделение основано на физических
свойствах этих слоев и характере их изменения с подъемом на высоту. Давление и
плотность воздуха с увеличением высоты во всех трех слоях атмосферы уменьшается
(Рис. 1)
Рис. 2 Изменение
температуры воздуха по высотам для стандартных условий средней широты
Тропосферой называется
нижний слой атмосферы. Толщина ее над полюсами 7 - 8 км, над экватором 16 - 18
км, высота верхней границы изменяется в зависимости от характера поверхности
Земли, атмосферных процессов, теплового состояния воздуха, а также от суточных
и годовых изменений. Температура воздуха в тропосфере с подъемом на высоту
падает (6,5° на каждые 1000 м), так как нагрев воздуха обусловливается основном
отраженными от земной поверхности солнечными лучами. Изменение температуры
воздуха с высотой приводит к перемещению воздушных масс, холодные верхние слои
опускаются, а теплые поднимаются. Вследствие этого образуются облака, выпадают
осадки, дуют ветры. Из-за перемещения воздушных масс состав воздуха тропосферы
практически постоянен. В нем содержится 78% азота, 21% кислорода и около 1%
других газов (аргон, углекислый газ, водород, неон, гелий). Кроме указанных
газов в тропосфере сосредоточен почти весь водяной пар, находящийся в
непрерывном кругообороте (испарение - конденсация и кристаллизация с
облакообразованием - осадки). В нижних слоях тропосферы множество различных
примесей в виде мельчайших твердых частиц (пыль). Содержание в воздухе
тропосферы водяного пара и пыли приводит к ухудшению видимости.
Стратосфера - слой
воздуха, лежащий непосредственно над воздушными слоями тропосферы. В ней
наблюдается полное отсутствие облаков и наличие сильных ветров, дующих с
большой скоростью и в одном направлении. Вертикальные перемещения воздушных
масс отсутствуют. В стратосфере с высоты: на экваторе - 17 км, полюсе - 8 км,
средней широте - 11 км и до высоты в среднем 25...30 км температура постоянна и
составляет -56°С. С высоты 30 км и до 55 км температура воздуха повышается до
+75°С вследствие повышенного содержания озона, который обладает способностью
поглощать ультрафиолетовое излучение. С высоты 55 км и до 80 км температура
воздуха понижается в среднем на 4°С на каждые 1000 м из-за уменьшения
процентного содержания озона в воздухе. На высоте 82...83 км температура
воздуха составляет -35°С (рис. 2).
Ионосфера - слой
воздуха, лежащий непосредственно над воздушным слоем стратосферы. Высоты
ионосферы от 85 до 500 км. Из-за наличия в ионосфере огромного количества ионов
(заряженных молекул и атомов атмосферных газов, движущихся с большими
скоростями) ее воздух сильно нагревается. Воздух ионосферы также
характеризуется высокой проводимостью, преломлением, отражением, поглощением и
поляризацией радиоволн. В ионосфере из-за вышеуказанных свойств наблюдаются
свечения ночного неба, полярные сияния, магнитные бури.
Температура воздуха
Температура - величина,
характеризующая степень теплового состояния тела (газа) или скорость
хаотического движения молекул (чем выше температура, тем больше скорость их
движения, и наоборот). Температуру воздуха можно измерять по двум шкалам:
Цельсия и абсолютной шкале Кельвина. За нуль градусов по шкале Цельсия принято
считать температуру таяния льда, а за 100° - температуру кипения воды при
атмосферном давлении, равном 760 мм рт. ст.
Если известна
температура воздуха у земли, то можно определить температуру воздуха в
тропосфере на любой высоте по формуле:
=tO-6,5Н,
где tн - температура
воздуха на определяемой высоте;- температура воздуха у земли;
Н - заданная высота, км.
Задача Температура
воздуха у земли +10°С. Определить температуру воздуха над данным участком земли
на высоте 7 км. Решение Тн= 10-6,5*7= - 35,50 Температура воздуха на высоте 7
км равна -35,5°С.
Абсолютная температура
Температура,
отсчитываемая от абсолютного нуля по шкале Кельвина, называется абсолютной
температурой.
За нуль Кельвинов (К)
принята температура, при которой прекращается тепловое передвижение молекул,
она составляет-273° по шкале Цельсия (°С). Если известна температура воздуха t
по шкале Цельсия, то абсолютную температуру можно найти по формуле:
=t+To,
где То=-273К;-
температура воздуха по шкале Цельсия.
Зная температуру воздуха
у земли по шкале Цельсия, можно найти температуру воздуха на различных высотах
по формуле:
=273K+t-6,5H,
где Т - температура на
высоте Н, К;- температура воздуха у земли, °С;
Н - высота, км.
Задача Температура
воздуха по шкале Цельсия равна -7°. Определить температуру воздуха на высоте 4
км. Решение: Т=273+(-7)-6,5-4=240 К. Температура воздуха на высоте 4 км равна
240 К.
Давление воздуха
Давление - это сила,
действующая на единицу площади перпендикулярно к ней. Всякое тело, находящееся
в неподвижном воздухе, испытывает со стороны последнего давление, одинаковое со
всех сторон (закон Паскаля). Атмосферное давление объясняется тем, что воздух
подобно всем другим веществам обладает весом и притягивается землей.
Атмосферным давлением
называется давление, вызываемое весом вышележащих слоев воздуха и ударами его
хаотически движущихся молекул. За единицу давления принята техническая
атмосфера (атм.) - давление, равное одному килограмму силы на один квадратный
сантиметр (кгс/см2). Давление обозначается буквой Р, на уровне моря - Ро.
По международной системе
СИ давление измеряется в Паскалях, т. е. ньютонах на квадратный метр (Н/м2).
Барометрическое давление
- это давление, измеренное в миллиметрах ртутного столба (мм рт. ст.).
Обозначается буквой В, на уровне моря - Во.
Стандартным
барометрическим давлением называется давление на уровне моря в мм рт. ст. Оно в
зависимости от температуры и влажности колеблется от 700 до 800 мм рт. ст. и в
среднем равно 760 мм. рт. ст.
Давление по
международной системе единиц СИ определяемся по формуле:
где Р - давление,
кгс/см2;
р - сила, с которой
давит 1 м3 воздуха;- площадь, см2.
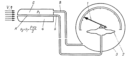
Рис. 3 Манометр
Давление в 1 кгс/см2
равнозначно столбу ртути высотой 735,6 мм и называется технической атмосферой.
Перевод давления из размерности мм рт. ст. в кгс/см2 производится по формуле:
где В - барометрическое
давление.
В физике под
барометрическим давлением 1 атм. подразумевается давление воздуха, равное
1,0332 кгс/см2 или стандартному барометрическому давлению 760 мм рт. ст.
При аэродинамических
исследованиях часто приходится измерять разность давлений. Для этого
используются ртутные приборы - манометры (Рис. 3). Для определения очень малых
разностей давлений применяется чувствительный прибор - микроманометр, в котором
используется жидкость более легкая, чем ртуть. Принцип работы следующий: один
конец трубки (например, правый) подсоединяется к пространству с атмосферным
давлением, второй - к поверхности измеряемого участка (там, где давление больше
или меньше атмосферного) допустим, что меньше. Уровень ртути в левом колене
повысится, так как на поверхность ртути давит меньшее давление. Разность
уровней и покажет разность давления:
=Po-P1.
Плотность воздуха
Плотность воздуха - это
количество воздуха, содержащегося в 1 м3 объема. В физике существует понятие
двух видов плотности - весовая (удельный вес) и массовая. В аэродинамике чаще
всего пользуются массовой плотностью. Весовая плотность (удельный вес) воздуха
- это вес воздуха в объеме 1 м3. Обозначается буквой .
где - удельный вес,
кгс/м3;- вес воздуха, кгс;- объем воздуха, м3.
Вес воздуха G - величина
непостоянная и изменяется в зависимости от географической широты и силы
инерции, возникающей от вращения Земли вокруг своей оси. На полюсах вес воздуха
на 5% больше, чем на экваторе.
Установлено, что 1 м3
воздуха при стандартных атмосферных условиях (барометрическое давление 760 мм
рт. ст., t=+15°С) весит 1,225 кгс, следовательно, весовая плотность (удельный
вес) 1 м3 объема воздуха в этом случае равна =1,225 кгс/м3.
Массовая плотность
воздуха - это масса воздуха в объеме 1 м3. Обозначается греческой буквой р.
Масса тела - величина постоянная. За единицу массы принята масса гири из
иридистой платины, хранящейся в Международной палате мер и весов в Париже.
Согласно второму закону
Ньютона определим, что масса воздуха равна его весу, деленному на ускорение
силы тяжести.
где m -масса тела, кг
с2/м.
Массовая плотность
воздуха (в кг с2/м4) равна
Массовая плотность и
весовая плотность (удельный вес) воздуха связаны зависимостью
Зная это соотношение,
легко определить, что массовая плотность воздуха при стандартных атмосферных
условиях равна:
Изменения массовой и
весовой плотности воздуха до высоты 5 км показаны в табл. 1.
Таблица 1
Зависимость плотности
воздуха от его температуры и давления
При изменении давления и
температуры изменяется плотность воздуха. Плотность воздуха (в кгс×с2м4)
непосредственно не измеряется, а определяется по формуле:
где В - барометрическое
давление, мм рт. ст.;
Т-температура воздуха по
шкале Кельвина.
=RT,
где Р - давление,
кгс/м2;- удельный объем, м/кг; - газовая постоянная, кгс м/кг град или Дж/кгК
(для воздуха равная 27,3).
Задача 1 Определить
массовую плотность воздуха на уровне моря, если барометрическое давление В =800
мм рт. ст., а температура воздуха t = - 23°C.
Решение.
Массовая плотность
больше стандартной, так как барометрическое давление больше стандартного, а
температура ниже стандартной.
Таким образом, можно
сделать заключение, что чем выше давление и ниже температура, тем больше
плотность воздуха. Поэтому наибольшая плотность воздуха зимой в морозную
погоду, а наименьшая летом в теплую погоду. Также следует заметить, что
плотность влажного воздуха меньше, чем сухого (при одних и тех же условиях).
Поэтому иногда учитывают и влажность, вводя при этом в расчеты соответствующие
изменения.
С высотой плотность
воздуха падает, так как давление в большей степени падает, чем понижается
температура воздуха. В стратосфере (примерно с высоты 11 км и до 32 км)
температура почти постоянна, и поэтому плотность воздуха падает пропорционально
уменьшению давления
Международная
стандартная атмосфера
Изменение основных
параметров воздуха (давления, температуры и плотности) влияет на величину сил,
возникающих при движении самолета в воздушном потоке. Поэтому при полетах в
разных метеорологических и климатических условиях изменяются летные и
аэродинамические характеристики самолетов.
Чтобы охарактеризовать
летные и аэродинамические данные самолетов при одинаковых параметрах воздуха,
всеми странами принята единая Международная стандартная атмосфера (МСА).
Таблица МСА составлена на основании среднегодовых условий средних широт (широта
около 45°) на уровне моря при влажности нуль процентов и следующих параметрах
воздуха:
барометрическое давление
В =760 мм рт. ст. (Ро= 10330 кгс/м2);
температура t=+15°C
(То=288 К);
массовая плотность о=0,125
кгс см4;
удельный вес -
=1,225 кгс/см3.
Согласно МСА температура
воздуха в тропосфере падает на 6,5°С на каждые 1000 м. В данном учебнике
приводится часть таблицы МСА до высоты 5 км.
Международная
стандартная атмосфера используется при градуировании пилотажно-навигационных и
других приборов, при инженерных и конструкторских расчетах.
Физические свойства
воздуха
На характер обтекания
самолета воздушным потоком и на величину сил, возникающих при взаимодействии
частей самолета и воздушного потока, существенное влияние оказывают физические
свойства воздуха: инертность, вязкость, сжимаемость.
Инертность - свойство
воздуха сопротивляться изменению состояния покоя или равномерного
прямолинейного движения (второй закон Ньютона). Мерой инертности является
массовая плотность воздуха. Чем больше массовая плотность воздуха, тем большую
силу необходимо приложить к воздуху, чтобы вывести его из состояния покоя или
равномерного прямолинейного движения. Следовательно, чем больше сила самолета,
действующего на воздух, тем больше сила, действующая со стороны воздуха на
самолет (третий закон Ньютона).
Вязкость-свойство
воздуха сопротивляться взаимному сдвигу частиц. Молекулы воздуха обладают
определенной скоростью беспорядочного хаотического движения, зависящего от
температуры, а также скоростью общего поступательного движения. Попадая из
быстро движущегося слоя в медленный, молекулы ускоряют движение медленно
движущихся молекул, и наоборот - медленно движущиеся молекулы, попадая в быстро
движущийся слой воздуха, притормаживают быстро движущиеся молекулы.
При движении самолета в
воздушном потоке возникает сопротивление трения, которое определяет вязкость
воздуха. Вязкость воздуха также определяет динамический коэффициент вязкости
Чем больше температура воздуха, тем больше коэффициент вязкости, обусловленный
увеличением хаотического движения молекул и ростом эффективности воздействия
одного слоя воздуха на другой.
Сжимаемость - свойство
воздуха изменять свою плотность при изменении давления.
Самолеты Як-52 и Як-55
летают на скоростях менее 450 км/ч, при которых существенного изменения
давления при обтекании самолета воздушным потоком не происходит и сжимаемость
воздуха на аэродинамические характеристики и летные данные самолетов влияния
практически не оказывает.
Сжимаемость воздуха и
скорость звука
Помимо стационарных
движений газовых потоков в аэродинамике изучаются и некоторые нестационарные
процессы, например образование и распространение звуковых волн.
Способность воздуха
сжиматься объясняется большими расстояниями между молекулами. Так как у любого газа
(а следовательно, и воздуха) межмолекулярные силы сцепления малы, то газ,
всегда стремясь расшириться, занимает весь предоставленный ему объем.
Таким образом, воздух
при изменении объема или сжимается или расширяется. При этом соответственно
изменяется и его плотность: при увеличении объема она уменьшается, а при
уменьшении увеличивается. Количественно сжимаемость оценивается отношением
изменения плотности к изменению давления Р, т. е. их относительной величиной.
.Это
отношение будет являться мерой сжимаемости. Чем больше отношение
тем
больше сжимаем этот газ (или воздух).
Со сжимаемостью связана
скорость распространения в воздухе звуковых волн.
Под звуковыми волнами
следует понимать всякие малые возмущения плотности и давления,
распространяющиеся в воздухе, а под скоростью звука - скорость распространения
этих возмущений.
Скачки уплотнения
Рассмотрим картину
распространения звуковых волн (малых возмущений) при движении источника возмущений
(источника звука).
Рис. 4 Распространение
волн слабых возмущений иг источников возмущений, движущихся с различными
скоростями
Если источник возмущений
неподвижен, то волны будут распространяться с одинаковой скоростью во все
стороны в виде концентрических сфер, в центре которых находится источник
возмущения. Каждое возмущение (звуковая волна) представляет собой местное
уплотнение молекул воздуха, которое передается от одного слоя молекул к
другому, удаляясь от источника возмущения (Рис. 4, а).
При движении точечного
источника возмущения со скоростью, меньшей скорости звука, звуковые волны идут
как вперед, так и назад (Рис. 4, б). В результате сферические волны будут
смещены в сторону, обратную движению источника возмущений, однако источник
останется внутри сфер.
Если скорость движения
точечного источника возмущений сравняется со скоростью звука, то возмущения,
вызванные источником, не успевают уйти от источника и в месте нахождения
источника возмущений в каждый данный момент происходит наложение возмущений
друг на друга. Образовавшаяся в результате этих наложений фронтальная
поверхность разделяет пространство на две области: возмущенную (сзади
источника) и невозмущенную (перед источником), как показано на Рис. 4, в.
При движении точечного
источника возмущений со скоростью, превышающей скорость движения звуковой волны
(скорость звука), возмущения, им создаваемые, должны оставаться позади
источника (Рис. 4, г). Область, в которой распространяются малые возмущения от
точечного источника возмущений, называется конусом слабых возмущений. Внутри
конуса среда возмущена, вне конуса находится область, где возмущений от данного
источника нет. Поверхность конуса служит естественной границей, разделяющей
среду на две области - возмущенную и невозмущенную. Эту поверхность называют
граничной волной слабых возмущений или границей возмущений. Граничные волны
слабых возмущений образуются при движении со скоростью, превышающей скорость
звука не только материальной точки, но и тонких тел с острой передней кромкой,
а также при обтекании сверхзвуковым потоком поверхностей крыла, фюзеляжа и
других частей самолета. Угол между границей возмущений и направлением движения
источника возмущений называется углом малых возмущений.
Основные законы движения
воздуха. Основы молекулярно-кинетической теории
Все вещества (твердые,
жидкие, газообразные) состоят из молекул. Молекула - это частица, обладающая
свойствами вещества.
Установлено, что при
температуре нуль градусов и атмосферном давлении 760 мм рт. ст. в каждом 1 см3
содержится 2,7-1019 молекул, а линейный размер молекулы составляет (имеет
порядок) 1*10-8 мм.
Состояние вещества
(твердое, жидкое, газообразное) характеризуется расстоянием между молекулами.
Все молекулы имеют свойство взаимного притяжения и отталкивания, зависящее от
расстояния между ними.
У твердых тел расстояния
между молекулами очень малы и силы взаимного притяжения молекул велики.
Молекулы совершают незначительные колебательные движения. У жидких веществ
расстояния между молекулами больше, они движутся в разных направлениях. Но силы
притяжения еще достаточно велики и молекулы не отрываются друг от друга.
У газообразных веществ
расстояния между молекулами значительно больше самих молекул, взаимное
притяжение очень мало, молекулы движутся в различных направлениях и с различной
скоростью. При движении молекулы испытывают около нескольких миллиардов
столкновений в секунду, меняя при этом направление и скорость.
Каждая молекула при
поступательном движении обладает кинетической энергией
где Екин - кинетическая
энергия молекулы, Дж;- масса молекулы, кг;- скорость движения молекулы, м/с.
Если в уравнение
Клаузиуса (1.1) (основное уравнение молекулярно-кинетической теории газов)
подставить значения уравнения Бойля-Мариотта - Гей-Люссака (1.2)
(1.1)
(1.2)
то получим:
(1.3)
где Екин-кинетическая
энергия, Дж;газовая постоянная, Дж/кг К (или кгс м/кг трад);
Т - температура,
К;удельный объем воздуха, м3кг.
Разделив R на No (число
Авогадро, показывающее число молекул в грамм-молекуле газа и равное 6,02•1023
1/моль), получим отношение, которое называется постоянной Больцмана К, равная
5,67 гс-3К-4.
Подставим К в уравнение
(1.3), получим уравнение кинетической энергии одной молекулы газа.
(1.4)
Энергия всех молекул
вместе рассматривается как внутренняя энергия вещества. При понижении
температуры вещества (газа) энергия хаотически движущихся молекул понижается.
Из уравнения можно сделать вывод, что кинетическая энергия молекул зависит
только от температуры газа и не зависит от изменения объема, в который газ
заключен.
Согласно
молекулярно-кинетической теории воздух рассматривается как совокупность
большого количества молекул. Свободный пробег молекул по сравнению с размерами
частей самолета ничтожно мал, поэтому воздух рассматривают как сплошную среду,
в которой отдельные частицы соприкасаются друг с другом. Частица воздуха - это
огромное скопление молекул, которые находятся в хаотическом движении независимо
от того, находится ли частица в движении или в покое. Средняя скорость молекул,
составляющих частицу, отличается от средней скорости хаотического движения на
величину скорости движения частицы в данной среде и в данном направлении.
Установившийся воздушный
поток
Установившимся воздушным
потоком называется такое течение воздуха, при котором скорость потока в любой
точке, а также основные параметры (давление, температура и плотность) не
изменяются с течением времени. То есть, если через определенные промежутки
времени мы в одной и той же точке будем измерять скорость и другие параметры
воздуха и при всех измерениях величины параметров одинаковы, то этот воздушный
поток установившийся. Если же измеряемые величины меняются, то поток -
неустановившийся. В аэродинамике рассматривают только установившийся воздушный
поток. Основным понятием аэродинамики является понятие элементарной струйки
воздуха.
Элементарная струйка -
это мысленно выделенный поток (небольшой замкнутый контур в виде трубки), через
боковую поверхность которого воздух протекать не может ни вовнутрь, ни наружу.
Ламинарный и
турбулентный воздушный поток
Ламинарный - это
воздушный поток, в котором струйки воздуха движутся в одном направлении и
параллельны друг другу. При увеличении скорости до определенной величины
струйки воздушного потока кроме поступательной скорости также приобретают
быстро меняющиеся скорости, перпендикулярные к направлению поступательного
движения. Образуется поток, который называется турбулентным, т. е.
беспорядочным.
Пограничный слой
Пограничный слой - это
слой, в котором скорость воздуха изменяется от нуля до величины, близкой к
местной скорости воздушного потока.
При обтекании тела воздушным
потоком (Рис. 5) частицы воздуха не скользят по поверхности тела, а тормозятся,
и скорость воздуха у поверхности тела становится равной нулю. При удалении от
поверхности тела скорость воздуха возрастает от нуля до скорости течения
воздушного потока.
Толщина пограничного
слоя измеряется в миллиметрах и зависит от вязкости и давления воздуха, от
профиля тела, состояния его поверхности и положения тела в воздушном потоке.
Толщина пограничного слоя постепенно увеличивается от передней к задней кромке.
В пограничном слое характер движения частиц воздуха отличается от характера
движения вне его.
Рассмотрим частицу
воздуха А (Рис. 6), которая находится между струйками воздуха со скоростями U1
и U2, за счет разности этих скоростей, приложенных к противоположным точкам
частицы, она вращается и тем больше, чем ближе находится эта частица к
поверхности тела (где разность скоростей наибольшая). При удалении от
поверхности тела вращательное движение частицы замедляется и становится равным
нулю ввиду равенства скорости воздушного потока и скорости воздуха пограничного
слоя.
Позади тела пограничный
слой переходит в спутную струю, которая по мере удаления от тела размывается и
исчезает. Завихрения в спутной струе попадают на хвостовое оперение самолета и
снижают его эффективность, вызывают тряску (явление Бафтинга).
Пограничный слой
разделяют на ламинарный и турбулентный (Рис. 7). При установившемся ламинарном
течении пограничного слоя проявляются только силы внутреннего трения,
обусловленные вязкостью воздуха, поэтому сопротивление воздуха в ламинарном
слое мало.
Рис. 5 Изменение
скорости течения воздуха в пограничном слое
Рис. 6 Обтекание тела
воздушным потоком - торможение потока в пограничном слое

Рис. 7 Ламинарное и
турбулентное течение
В турбулентном
пограничном слое наблюдается непрерывное перемещение струек воздуха во всех
направлениях, что требует большего количества энергии для поддерживания
беспорядочного вихревого движения и, как следствие этого, создается большее по
величине сопротивление воздушного потока движущемуся телу.
Для определения
характера пограничного слоя служит коэффициент Cf. Тело определенной конфигурации
имеет свой коэффициент. Так, например, для плоской пластины коэффициент
сопротивления ламинарного пограничного слоя равен:
(1.5)
для турбулентного слоя
(1.6)
где Re - число
Рейнольдса, выражающее отношение инерционных сил к силам трения и определяющее
отношение двух составляющих - профильное сопротивление (сопротивление формы) и
сопротивление трения. Число Рейнольдса Re определяется по формуле:
где V - скорость
воздушного потока,- характер размера тела,
кинетический коэффициент
вязкости сил трения воздуха.
При обтекании тела
воздушным потоком в определенной точке происходит переход пограничного слоя из
ламинарного в турбулентный. Эта точка называется точкой перехода. Расположение
ее на поверхности профиля тела зависит от вязкости и давления воздуха, скорости
струек воздуха, формы тела и его положения в воздушном потоке, а также от шероховатости
поверхности. При создании профилей крыльев конструкторы стремятся отнести эту
точку как можно дальше от передней кромки профиля, чем достигается уменьшение
сопротивления трения. Для этой цели применяют специальные ламинизированные
профили, увеличивают гладкость поверхности крыла и ряд других мероприятий.
При увеличении скорости
воздушного потока или увеличении угла положения тела относительно воздушного
потока до определенной величины в некоторой точке происходит отрыв пограничного
слоя от поверхности, при этом резко уменьшается давление за этой точкой.
В результате того, что у
задней кромки тела давление больше чем за точкой отрыва, происходит обратное
течение воздуха из зоны большего давления в зону меньшего давления к точке
отрыва, которое влечет за собой отрыв воздушного потока от поверхности тела
(Рис. 8).
Ламинарный пограничный
слой отрывается легче от поверхности тела, чем турбулентный.
Уравнение неразрывности
струи воздушного потока
Уравнение неразрывности
струи воздушного потока (постоянства расхода воздуха) - это уравнение
аэродинамики, вытекающее из основных законов физики - сохранения массы и
инерции - и устанавливающее взаимосвязь между плотностью, скоростью и площадью
поперечного сечения струи воздушного потока.
Рис. 8 Течение в
пограничном слое вблизи точки отрыва
Рис. 9 Пояснение к
закону неразрывности струи воздушного потока
При рассмотрении его
принимают условие, что изучаемый воздух не обладает свойством сжимаемости (Рис.
9).
В струйке переменного
сечения через сечение I протекает за определенный промежуток времени секундный
объем воздуха, этот объем равен произведению скорости воздушного потока на
поперечное сечение F.
Секундный массовый
расход воздуха m равен произведению секундного расхода воздуха на плотность р
воздушного потока струйки. Согласно закону сохранения энергии, масса воздушного
потока струйки m1, протекающего через сечение I (F1), равна массе т2 данного
потока, протекающего через сечение II (F2), при условии, если воздушный поток
установившийся:
=m2=const, (1.7)F1V1=m2F2V2=const. (1.8)
Это выражение и
называется уравнением неразрывности струи воздушного потока струйки.
V1=F2V2= const. (1.9)
Итак, из формулы видно,
что через различные сечения струйки в определенную единицу времени (секунду)
проходит одинаковый объем воздуха, но с разными скоростями.
Запишем уравнение (1.9)
в следующем виде:
Из формулы видно, что
скорость воздушного потока струи обратно пропорциональна площади поперечного
сечения струи и наоборот.
Тем самым уравнение
неразрывности струи воздушного потока устанавливает взаимосвязь между сечением
струи и скоростью при условии, что воздушный поток струи установившийся.
Статическое давление и
скоростной напор уравнение Бернулли
воздух самолет
аэродинамика
Самолет, находящийся в
неподвижном или подвижном относительно него воздушном потоке, испытывает со
стороны последнего давление, в первом случае (когда воздушный поток неподвижен)
- это статическое давление и во втором случае (когда воздушный поток подвижен)
- это динамическое давление, оно чаще называется скоростным напором.
Статическое давление в струйке аналогично давлению покоящейся жидкости (вода,
газ). Например: вода в трубе, она может находиться в состоянии покоя или
движения, в обоих случаях стенки трубы испытывают давление со стороны воды. В
случае движения воды давление будет несколько меньше, так как появился
скоростной напор.
Согласно закону
сохранения энергии, энергия струйки воздушного потока в различных сечениях
струйки воздуха есть сумма кинетической энергии потока, потенциальной энергии
сил давления, внутренней энергии потока и энергии положения тела. Эта сумма -
величина постоянная:
Екин+Ер+Евн+Еп=сопst (1.10)
Кинетическая энергия
(Екин) - способность движущегося воздушного потока совершать работу. Она равна
(1.11)
где m - масса воздуха,
кгс с2м; V-скорость воздушного потока, м/с. Если вместо массы m подставить
массовую плотность воздуха р, то получим формулу для определения скоростного
напора q (в кгс/м2)

. (1.12)
Потенциальная энергия Ер
- способность воздушного потока совершать работу под действием статических сил
давления. Она равна (в кгс-м)
=PFS, (1.13)
где Р - давление
воздуха, кгс/м2; F - площадь поперечного сечения струйки воздушного потока, м2;
S - путь, пройденный 1 кг воздуха через данное сечение, м; произведение SF
называется удельным объемом и обозначается v, подставляя значение удельного
объема воздуха в формулу (1.13), получим
=Pv. (1.14)
Внутренняя энергия Евн -
это способность газа совершать работу при изменении его температуры:
(1.15)
где Cv - теплоемкость
воздуха при неизменном объеме, кал/кг-град; Т-температура по шкале Кельвина, К;
А - термический эквивалент механической работы (кал-кг-м).
Из уравнения видно, что
внутренняя энергия воздушного потока прямо пропорциональна его температуре.
Энергия положения En -
способность воздуха совершать работу при изменении положения центра тяжести
данной массы воздуха при подъеме на определенную высоту и равна
=mh (1.16)
где h - изменение
высоты, м.
Ввиду мизерно малых
значений разноса центров тяжести масс воздуха по высоте в струйке воздушного
потока этой энергией в аэродинамике пренебрегают.
Рассматривая во
взаимосвязи все виды энергии применительно к определенным условиям, можно
сформулировать закон Бернулли, который устанавливает связь между статическим
давлением в струйке воздушного потока и скоростным напором.
Рассмотрим трубу (Рис.
10) переменного диаметра (1, 2, 3), в которой движется воздушный поток. Для
измерения давления в рассматриваемых сечениях используют манометры. Анализируя
показания манометров, можно сделать заключение, что наименьшее динамическое
давление показывает манометр сечения 3-3. Значит, при сужении трубы
увеличивается скорость воздушного потока и давление падает.
Рис. 10 Объяснение
закона Бернулли
Причиной падения
давления является то, что воздушный поток не производит никакой работы (трение
не учитываем) и поэтому полная энергия воздушного потока остается постоянной.
Если считать температуру, плотность и объем воздушного потока в различных
сечениях постоянными (T1=T2=T3;р1=р2=р3, V1=V2=V3), то внутреннюю энергию можно
не рассматривать.
Значит, в данном случае
возможен переход кинетической энергии воздушного потока в потенциальную и
наоборот.
Когда скорость
воздушного потока увеличивается, то увеличивается и скоростной напор и
соответственно кинетическая энергия данного воздушного потока.
Подставим значения из
формул (1.11), (1.12), (1.13), (1.14), (1.15) в формулу (1.10), учитывая, что
внутренней энергией и энергией положения мы пренебрегаем, преобразуя уравнение
(1.10), получим
(1.17)
Это уравнение для любого
сечения струйки воздуха пишется следующим образом:
Такой вид уравнения
является самым простым математическим уравнением Бернулли и показывает, что
сумма статического и динамического давлений для любого сечения струйки
установившегося воздушного потока есть величина постоянная. Сжимаемость в
данном случае не учитывается. При учете сжимаемости вносятся соответствующие
поправки.
Для наглядности закона
Бернулли можно провести опыт. Взять два листка бумаги, держа параллельно друг
другу на небольшом расстоянии, подуть в промежуток между ними.

Листы сближаются.
Причиной их сближения является то, что с внешней стороны листов давление
атмосферное, а в промежутке между ними вследствие наличия скоростного напора
воздуха давление уменьшилось и стало меньше атмосферного. Под действием
разности давлений листки бумаги прогибаются вовнутрь.
Аэродинамические трубы
Экспериментальная
установка для исследования явлений и процессов, сопровождающих обтекание тел
потоком газа называется аэродинамической трубой. Принцип действия
аэродинамических труб основан на принципе относительности Галилея: вместо
движения тела в неподвижной среде изучается обтекание неподвижного тела потоком
газа В аэродинамических трубах экспериментально определяются действующие на ЛА
аэродинамические силы и моменты исследуются распределения давления и
температуры по его поверхности, наблюдается картина обтекания тела, изучается
аэроупругость и т д.
Аэродинамические трубы
зависимости от диапазона чисел Маха М разделяются на дозвуковые (М=0,15-0,7),
трансзвуковые (М=0,7-1 3), сверхзвуковые (М=1,3-5) и гиперзвуковые (М=5-25), по
принципу действия - на компрессорные (непрерывного действия), в которых поток
воздуха создается спец компрессором, и баллонные с повышенным давлением, по
компоновке контура - на замкнутые и незамкнутые.
Компрессорные трубы
имеют высокий кпд, они удобны в работе, но требуют создания уникальных
компрессоров с большими расходами газа и большой мощности. Баллонные
аэродинамические трубы по сравнению с компрессорными менее экономичны,
поскольку при дросселировании газа часть энергии теряется. Кроме того,
продолжительность работы баллонных аэродинамических труб ограничена запасом
газа в баллонах и составляет для различных аэродинамических труб от десятков
секунд до несколько минут.
Широкое распространение
баллонных аэродинамических труб обусловлено тем, что они проще по конструкции а
мощности компрессоров, необходимые для наполнения баллонов, относительно малы.
В аэродинамических трубах с замкнутым контуром используется значительная часть
кинетической энергии, оставшейся в газовом потоке после его прохождения через
рабочую область, что повышает КПД трубы. При этом, однако, приходится
увеличивать общие размеры установки.
В дозвуковых
аэродинамических трубах исследуются аэродинамические характеристики дозвуковых
самолетов вертолетов а также характеристики сверхзвуковых самолетов на
взлетно-посадочных режимах. Кроме того, они используются для изучения обтекания
автомобилей и др. наземных транспортных средств, зданий, монументов, мостов и
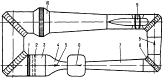
др. объектов На рис показана схема дозвуковой аэродинамической трубы с
замкнутым контуром.
Рис. 12 Схема дозвуковой
компрессорной аэродинамической трубы
- хонейкомб 2 - сетки 3
- форкамера 4 - конфузор 5 - направление потока 6 - рабочая часть с моделью 7 -
диффузор, 8 - колено с поворотными лопатками, 9 - компрессор 10 -
воздухоохладитель
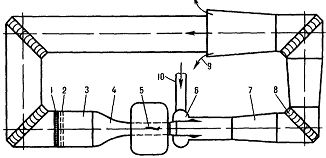
Рис. 13 Схема баллонной
трансзвуковой эжекторной аэродинамической трубы
- хонейкомб 2 - сетки 3
- форкамера 4 конфузор 5 перфорированная рабочая часть с моделью 6 эжектор 7
диффузор 8 колено с направляющими лопатками 9 выброс воздуха 10 - подвод
воздуха от баллонов
Рис. 14 Схема
сверхзвуковой баллонной аэродинамической трубы
- баллон со сжатым
воздухом 2 - трубопровод 3 - регулирующий дроссель 4 - выравнивающие сетки 5 -
хонейкомб 6 - детурбулизирующие сетки 7 - форкамера 8 - конфузор 9 -
сверхзвуковое сопло 10 - рабочая часть с моделью 11 - сверхзвуковой диффузор 12
- дозвуковой диффузор 13 - выброс в атмосферу
Рис. 15 Схема баллонной
гиперзвуковой аэродинамической трубы
- баллон с высоким давлением
2 - трубопровод 3 - регулирующий дроссель 4 - подогреватель 5 - форкамера с
хонейкомбом и сетками 6 - гиперзвуковое осесимметричное сопло 7 - рабочая часть
с моделью 8 - гиперзвуковой осесимметричный диффузор 9 - воздухоохладитель 10 -
направление потока 11 - подвод воздуха в эжекторы 12 - эжекторы 13 - затворы 14
- вакуумная емкость 15 - дозвуковой диффузор