Стеновые материалы

  • Вид работы:
    Курсовая работа (т)
  • Предмет:
    Строительство
  • Язык:
    Русский
    ,
    Формат файла:
    MS Word
    679,06 Кб
  • Опубликовано:
    2013-06-08
Вы можете узнать стоимость помощи в написании студенческой работы.
Помощь в написании работы, которую точно примут!

Стеновые материалы

Введение

Арболит - разновидность легкого бетона. Изготовляют его из смеси органических целлюлозных заполнителей растительного происхождения (дробленых отходов деревообработки, костры конопли, льна, сечки стеблей хлопчатника, камыша и т.д.), минерального вяжущего (обычно портландцемента), химических добавок и воды. Арболит достаточно прочен, огнестоек, обладает малой теплопроводностью, имеет небольшую плотность, легко обрабатывается. Арболит предназначен для строительства малоэтажных, сельскохозяйственных, промышленных, жилых и культурно-бытовых зданий. В нашей стране ежегодно образуется более 110 млн. м3 отходов лесопильного и деревообрабатывающего производства и 36 млн. м3 отходов лесозаготовок. Объем же неиспользуемых древесных отходов около 16 млн. мЗ в год. Один из наиболее эффективных и рентабельных способов использования древесных отходов - производство арболита, так как его технология относительно проста и не требует больших капитальных вложений. Значительные сырьевые ресурсы для изготовления конструкций и изделий из арболита образуются и в сельскохозяйственном производстве, где объем неиспользуемых отходов ежегодно составляет: костры льна и конопли около 0,9, стеблей хлопчатника 2-2,5 и рисовой соломы 1 млн. т. Изделия из арболита, имея сравнительно невысокую среднюю плотность - 400-850 кг/м3, обладают отличными строительными, физико-техническими и гигиеническими свойствами. Кроме того, они поддаются сверлению, обработке режущим инструментом и оштукатуриванию. В них можно забивать гвозди и ввинчивать шурупы. Они трудносгораемы, не разрушаются в воде, морозо- и биостойки, негигроскопичны и мало теплозвукопроводны. Многолетняя эксплуатация зданий и сооружений из бетона на органическом целлюлозном заполнителе в различных регионах нашей страны, а также в зарубежных странах убедительно подтверждает долговечность арболита (срок эксплуатации зданий 20-40 лет). Благодаря положительным свойствам арболит широко применяют в строительстве. Из него получают стеновые панели и блоки, плиты покрытия для совмещенных кровель и плиты перекрытия, усиленные железобетонными брусками или несущей основой, перегородочные плиты для культурно-бытовых и торговых зданий, тепло- и звукоизоляционные плиты, объемно-пространственные конструкции и т.п. Имеется опыт производства и использования в жилищном строительстве плит сборной стяжки (класса В3,5) под линолеум и паркет. Используется он также для монолитного строительства. Производство и использование арболита имеет ряд преимуществ по сравнению с традиционными строительными материалами: Утилизируются отходы деревообработки, используемые для получения заполнителя; снижается масса зданий; упрощается монтаж конструкций при строительстве; отпадает необходимость в высококвалифицированных монтажниках и механизмах большой грузоподъемности для монтажа зданий; сокращаются трудоемкость производства и монтажа, а также удельные капиталовложения на изготовление 1 м2 конструкций; уменьшается толщина стен благодаря лучшим теплотехническим характеристикам арболита; снижается расход цемента до 35 кг на 1 м2 изделия при равном термическом сопротивлении по сравнению с керамзитобетоном (хотя на 1 мз арболита расход цемента выше). Арболит, обладая крупнопористой структурой, обеспечивает хороший воздухообмен в помещениях и высокие теплотехнические показатели, что позволяет снизить расход энергии на отопление и вентиляцию зданий. По энергоемкости, трудозатратам и удельным капиталовложениям на получение заполнителя для легких бетонов органический целлюлозный заполнитель экономичнее искусственных пористых заполнителей, которые требуют создания карьерного хозяйства, строительства специального производства - заводов по вспучиванию (керамзита, перлита, аглопорита) с энергоемким и дорогостоящим оборудованием. Приготовление и подготовка органического целлюлозного заполнителя практически сводятся к измельчению древесного сырья и его фракционированию, а при использовании костры льна и конопли, станочной стружки - лишь к отделению пылевидных фракций. Производство искусственных пористых минеральных заполнителей для легкого бетона сопряжено с расходом значительного количества тепла, вредными условиями труда, большими транспортными расходами и другими издержками. Поэтому становится очевидной эффективность производства и применения арболитовых конструкций, особенно в районах с развитой деревообрабатывающей промышленностью при отсутствии сырьевой базы для производства легких минеральных заполнителей. [1]

1. Номенклатура выпускаемой продукции

На данном предприятии рассчитывают выпускать стеновые блоки из арболита размером 390Ч190Ч188 мм (ГОСТ 6133-99). Отклонения от проектных размеров не должны превышать по высоте, ширине и толщине ±5 мм, разность диагоналей поверхности блоков не должна превышать 10 мм (ГОСТ 19222-84).

Изделия следует обозначать марками в соответствии с ГОСТ 23009-78.

Получаемый арболит будет иметь класс по прочности на сжатие В2,5, марку по прочности при осевом сжатии М35, а также среднюю плотность 700 кг/мі и теплопроводность 0,16 Вт/(мєС).

2. Сырьевые материалы

Портландцемент по ГОСТ 10178-85.

Технические требования: не должен содержать добавок трепела, трасов, глинита, опорки и глиежа. Содержание трех кальциевого силиката не менее 50 процентов трех кальциевого алюмината не более шести процентов. Начало схватывания - не ранее двух часов, конец - не позднее четырех, после затворения.

Органический заполнитель - применяется измельченная древесина из отходов лесозаготовок, соответствующая требованиям ГОСТ 19222-84.

Измельченная древесина должна удовлетворять следующим требованиям:

·        размеры древесных частиц не должны превышать по длине 40, по ширине 10 мм, а по толщине 5 мм;

·        показатель пригодности (удельный расход цемента на единицу прочности арболита при сжатии) должен быть не более 15;

·        содержание водорастворимых редуцирующих веществ не должно быть более 2%.

Фракционный состав органического заполнителя должен находиться в пределах, указанных в таблице 1.1.

Таблица 1.1 Фракционный состав органического заполнителя

Размеры отверстий контрольных сит, мм

Полные остатки на контрольных ситах, % по массе

20

До 5

10

От 20 до 40

5

» 40» 75

2,5

» 90» 100

Менее 2,5

До 10


Среднее значение коэффициента формы частиц не должно быть более восьми. Количество частиц с коэффициентом формы более восьми не должно превышать 20% для остатка на сите с отверстиями размером 20 мм и 10% для остатков на ситах 10 и 5 мм.

Натриевое жидкое стекло по ГОСТ 24211-80.

Нейтрализуют действие вредных водорастворимых веществ древесины (сахаристые вещества, смоляные кислоты) и ускоряют процесс твердения арболита.

Технические характеристики жидкого стекла:

двуокиси кремния 21-24%;

окиси кальция макс. 0,2%;

силикатный модуль 2,7-3,4%;

плотность 1,28-1,34 г./см3.

Хлорид кальция по ГОСТ 450-77 ХК.

Применяется как ускоритель твердения. Размер частиц хлористого кальция, выпускаемого в виде чешуек и гранул, не должен превышать 10 мм. Допускается в жидком хлористом кальции, изготовляемом в течение года по безупарочному способу, массовая доля хлористого кальция не менее 32%, а в продукте, изготовляемом другими способами в период с октября по апрель (включительно), массовая доля хлористого кальция - не менее 30%.

Химические добавки допускаются к применению только в виде комплексных добавок (в пересчете на сухое вещество): жидкое стекло и хлорид кальция в соотношении 2: 1 по массе в количестве 4 - 6% от массы цемента.

Вода по ГОСТ 23732-79.

Технические требования: вода не должна содержать пленки нефтепродуктов, жиров, масел. Также в воде не должно быть окрашивающих примесей. Окисляемость воды не должна быть более 15 мг/л. Водородный показатель воды (pH) не должен быть менее 4 и более 12,5. Вода не должна содержать также примесей в количествах, нарушающих сроки схватывания и твердения цементного теста и бетона, снижающих прочность и морозостойкость бетона.

Дозирование материалов при изготовлении арболитовой смеси должно производиться с точностью: цемента ±2% по массе; древесной дробленки
±5% по объему с контролем по массе; воды ±2% по массе или объему; растворов химических добавок ±2% по массе или объему.

Самый высокий оптимальный показатель прочности арболита, изготовленного на древесной дробленке, можно получить при Д/Ц=0,6.

Оптимальным В/Ц отношением при Д/Ц=0,6 является отношение В/Ц=1,1.

3. Выбор технологической схемы производства

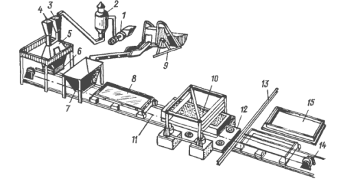
Технологический процесс производства арболитовых изделий и конструкций состоит из следующих операций: дробления и подготовки заполнителя по гранулометрическому составу, его обработки, приготовление химических добавок, дозировки компонентов арболита, приготовления арболитовой смеси, укладки ее в формы и уплотнения, термообработки сформованных изделий, вызревания при положительных температурах и транспортирования изделий на склад (рис. 3.1).

Дозирование материалов при изготовлении арболитовой смеси должно производиться с точностью: цемента ±2% по массе; древесной дробленки ±5% по объему с контролем по массе; воды ±2% по массе или объему; растворов химических добавок ±2% по массе или объему.

Ускорение твердения изделий является важной технологической операцией в производстве арболита так как при массовом его производстве, твердение на воздухе не рационально, поскольку требует значительной площади для склада, кроме того на процесс твердения арболита сказывается изменение погоды, а в зимний период этот способ вообще не приемлем. Для ускорения твердения стеновых блоков из арболита будем подвергать его тепловой обработке в течение 4 часов в камерах туннельного типа при температуре 40 - 50 0С.

Важнейшим из технологических факторов, влияющих на физико-механические свойства арболита и экономические показатели его производства, является способ формования и уплотнения. От него, прежде всего, зависит макро- и микроструктура материала, средняя плотность, тепло- и звукопроводность, влагостойкость и т.д. [7]

Выбор способа уплотнения арболитовой смеси определяется производительностью линии, типом изделий, свойствами формуемой смеси.

Анализ отечественного и зарубежного опыта производства арболита позволяет сформулировать основные требования, которым должна удовлетворять эффективная технология получения этого материала:

формование изделий должно производиться в горизонтальных формах, что позволяет получать изделия, офактуренные с двух сторон в процессе их изготовления;

формование следует осуществлять в металлической матрице со сменными поддонами и бортовой оснасткой из деревянных брусков; это позволяет исключить из технологической схемы камеры тепловой обработки, последняя происходит за счет использования теплоты, образующейся в процессе гидратации цемента.

для уменьшения металлоемкости уплотняющего оборудования и полного отказа от прессового оборудования рекомендуется применять способ вибрирования с пригрузом или вибрирования при поризации арболитовой смеси. С целью снижения уровня шума виброплощадки рекомендуется заменять ударными установками с гашением удара.

Известные способы формования арболитовых изделий требуют больших капиталовложений, значительных затрат на металлоформы, отличаются сложностью технологического оборудования. Поэтому при выборе способа формования должны быть учтены не только технические, но и экономические показатели.

3.1 Способ прессования

Принципиальная схема производства изделий из арболита методом горизонтального прессования приведена на рис 3.1.1. Формовочная технологическая линия представляет собой тележечный конвейер с приводом и тележкой, на которой находится форма. Тележка с помощью привода устанавливается под бункером для раствора и арболита. На этом посту в форму укладывают последовательно нижний слой фактурного раствора, арболитовую смесь и верхний слой раствора. Затем тележка с формой, в которой изделие зафиксировано съемной крышкой, перемещается на пост уплотнения, оснащенный вибропрессом, откуда по завершении уплотнения перемещается на пост выдержки. Изделие в форме снимается, и на тележку устанавливается другая форма. После этого цикл повторяется. [7]

Рис. 3.1.1 - Метод прессования

3.2 Способ силового вибропроката

Процесс формования изделий на линии осуществляется следующим образом. Смазанные формы подаются с помощью кран-балки на приемный рольганг для укладки нижнего фактурного слоя из цементно-песчаного раствора. После укладки и разравнивании раствора форма движется на виброплощадку под caмоходный арболитоукладчик. В нижней его части имеется разравнивающее устройство, состоящее из скребка и свободно вращающегося валика. В процессе движения арболитоукладчика над формой валик разравнивает насыпаемую смесь и частично уплотняет ее, снижая насыпную высоту, затем укладывается фактурный отделочный слой.

После укладки и разравнивания фактурного раствора и арболитовой смеси заполненная форма подвергается вибрации на виброплощадке в течение 30 с, а затем по рольгангу с помощью цепного механизма подается под калибрующий валик, подвешенный на пружинах и совершающий вибрацию в вертикальной плоскости. Вибрирующий валик укатывает и сжимает смесь по всей ширине изделия в условиях воздействия двусторонней вибрации с вертикально направленными колебаниями, поскольку движущаяся форма с изделием располагается на подпружинном упругом рольганге.

После проработки вибрирующим валиком форма с изделием передается на вибропрокатную секцию. Основной агрегат этой секции гусеничная лента, которая входит внутрь формы и производит плавное, постепенное сжатие и доуплотнение арболитовой смеси под давлением не менее 0,15 МПа в течение 2,5..4 мин при скорости проката 0.67… 1,64 м/мин. В результате этой операции снижаются упругие деформации смеси, уменьшается распрессовка до требуемых допусков, фиксация верхней поверхности поверхности проката не требуется. Для регулирования уплотняющего усилия и плавного перехода ленты через торцевые борта и перегородки форм нажимные валики оборудуются специальным контрольно-амортизирующим устройством. Вибрирующий валик и нажимные валики прокатной секции устанавливаются после проверки высоты торцевых бортов.

Формование изделий данным способом чрезвычайно сложно, осуществляется оно в три стадии, требующие сложную регулировку, от которой зависит качество изделий. [7]

Рис. 3.2.1 - Способ силового вибропроката

3.3 Способ вибропрессования и способ роликового вибропроката

Существуют линии ЛВ-24, ЛВ-125М, ЛВ-129 работающие по способу вибропрессования. Изготовление арболитовых изделий осуществляется в стальных формах с фиксирующими крышками. Форма с уложенными фактурными слоями и арболитом, арматурой и закладными деталями накрывается фиксирующейся крышкой и подается на тележке в вибропрессовальную установку. Под действием вибрации и сжатия гидродомкратов крышка утапливается в форму, уплотняя смесь, и защелкивается. Изделие в форме с зафиксированной крышкой выдерживается в отапливаемом цехе до достижения распалубочной прочности. Недостатки: сложность эксплуатации оборудования, неравномерность укладки фактурного слоя, высокая металлоемкость, ненадежность гидравлических домкратов.

Линия ЛВ-64, работающая по способу роликового вибропроката, разработана с учетом достоинств и недостатков линий ЛВ-24, ЛВ-125М и ЛВ -129. Технология ее работы следующая. Форма с уложенной арматурой и закладными деталями устанавливается на конвейере и перемещается под укладчик нижнего цементно-песчаного раствора. На следующем посту, когда форма располагается под арболитоукладчиком, производится вибрация, в результате которой раствор растекается по днищу формы ровным слоем. После этого форма заполняется арболитовой смесью. Смесь укладывается и первоначально уплотняется вибрацией вровень с бортами формы. Затем форма перемещается по конвейеру на следующий пост, где установлен вибротрамбующий агрегат. Он уплотняет смесь в процессе движения формы на за: данную величину ниже уровня ее бортов. Далее форма перемещается под укладчик верхнего слоя цементно-песчаного раствора. На следующем посту верхний слой раствора с помощью заглаживающего устройства выравнивается до уровня верха бортов формы. На участке между постом заглаживания раствора прессом форма закрывается крышкой, с помощью пресса крышка вдавливается и фиксируется специальными замками. Сформированный пакет с зафиксированной крышкой снимается с конвейера и переносится на пост вызревания и твердения. Уплотнение арболитовой смеси при этом способе осуществляется в три стадии. На первой стадии уплотнение происходит при усадке нижнего слоя раствора и арболитовой массы при помощи вибрации, на второй с помощью вибропрокатного агрегата методом роликового вибропроката (основное уплотнение), на третьей - с помощью пресса (8 форму с изделием впрессовьшается крышка, которая, дополнительно уплотняя арболвтовую массу и верхний слой изделий, фиксирует изделие от распрессовки и обеспечивает получение требуемых геометрических размеров по толщине изделий. Прочность на сжатие изделий, изготавливаемых на такой линии невысока, смесь необходимо доуплотнять в прокатной секции. Также недостаток в ограниченности ширины формуемого изделия длиной самого валка, что затрудняет переход на новую номенклатуру. [7]

Рис. 3.3.1 Технологическая линия роликового вибропроката

3.4 Способ вибрирования с пригрузом

Формовочная линия состоит из виброуплотняющей установки, укомплектованной пригрузом и стандартной вибрационной площадкой СМЖ-200А, одной металлической формой с делительными вкладышами и комплектом щитовых поддонов, тросовым конвейером для перемещения формы, раздатчиками арболитовой смеси и раствора фактурного слоя.

Приготовленная арболитовая смесь из смесителя выдается в бетонораздатчик, а затем в движущуюся форму, В которую предварительно закладывается поддон. По мере продвижения формы смесь в ней разравнивается ровнителем скребкового типа. Заполненная форма для уплотнения тросовым конвейером перемещается в формовочную установку, где центрируется с помощью конусных направляющих на виброблоках вибрационной площадки под пригрузом.

После опускания пригруза в форму на уплотняемую смесь включается вибрационная площадка, действующая в течение 3,5..4 мин. Затем пригруз поднимается с помощью пневмоцилиндров и форма перемещается на пост распалубки. Сформованныу мелкоштучные изделия на поддоне переносятся кран-балкой на пост твердения.

При виброуплотнении с пригрузом частицы древесного заполнителя, перемещаясь относительно друг друга, занимают в структуре арболита положение, обеспечивающее наибольшую площадь контактных зон, при этом уменьшается величина распрессовки. При обычном же способе прессования арболитовой смеси для получения изделий идентичной плотности частицы древесного заполнителя в отдельных контактах сжимаются, вызывая упругие деформации, что ведет к распрессовке сформованного изделия и в конечном результате - к снижению прочности.

Арболитовые мелкоштучные блоки, полученные способом вибрирования с пригрузом, имеют хороший товарный вид, высокую однородность структуры и хорошие физико-механические свойства.

Достоинством способа виброуплотнения с пригрузом является возможность немедленной распалубки полученных арболитовых изделий. Это обеспечивает существенное снижение металлоемкости (на 120… 150 т) по сравнению с действующими линиями аналогичной мощности за счет сокращения парка форм и массы формовочной установки. Масса такой формовочной линии 9 т. [7]

Рис. 3.4.1 - Метод вибрирования с пригрузом

Примем данный метод формования, так как он является наиболее выгодным решением с точки зрения денежных затрат на строительство цеха, а также из-за высокой однородности структуры и хороших физико-механических свойств получаемых с помощью этого способа формования изделий.

4. Расчет состава сырьевой смеси

Требуется подобрать Арболит класса В2,5 плотностью не более 700 кг/мі для блоков наружных стен. Расчет сырьевых материалов выполнен в соответствии с СН 549-82. Ориентировочный расход цемента М400 на 1 мі арболита при заполнителе - дроблёнке из отходов деревообработки хвойных пород составляет 360 кг/мі. Расход органического заполнителя на 1 мі арболита составляет 240 кг/мі. Ориентированный расход воды на 1 мі арболита составляет 400 л/мі, а расход химической добавки (хлористого кальция) составляет 8 кг/ мі.

Расход дробленки с учетом 50% влажности по массе получаем:

Др' = 240Ч0,5 + 240 = 360 кг/ мі (4.1)

Расход раствора добавки определяют по формуле:

А= Дб/сЧ k (4.2)

где А - расход раствора добавки;

Дб - расход сухого вещества добавки;

Дб = 8 кг/мі;

с - плотность раствора; плотность 10% - ного раствора

хлористого кальция составляет 1,084 кг/мі;- концентрация приготовленного раствора;= 10%.

А = 8/1,084Ч10 = 74 л.

В древесной дробленке содержатся воды (при влажности 50%) 240Ч 0,5 = 120 л., в растворе хлорида кальция воды содержится 74 - 8 = 66 л. С учетом воды, содержащейся в древесной дробленке и в растворе добавки, при приготовлении арболитовой смеси необходимо использовать воды

- 120 - 66 = 214 л.

Плотность арболита в сухом состоянии:

сс.а'= 1,15Ц + Др + Дб, (4.3)

где Ц, Дб и Др - соответственно расход цемента, химической добавки

и древесной дробленки.

сс.а'= 1,15Ч360 + 240 + 8 = 662 кг/ мі.

Так как полученная средняя плотность арболита превышает заданную проектную менее чем на 5%, то определенный состав арболита принимают в качестве исходного.

Плотность свежеуложенной арболитовой смеси:

са.см'= 360 + 240 + 400 + 8 = 1008 кг/ мі [2].

Таблица 4.1. Расход компонентов на 1 м3 арболита

Компоненты

Количество

Вода

400 л/м3

Цемент

360 кг/м3

Дробленка

240 кг/м3

Добавки

8 кг/м3



5. Расчет материального потока

Режим работы предприятия

Годовой фонд рабочего времени технического оборудования рассчитывается по формуле:

Тф = (Тн - Тр)*n*t*Ки (5.1.1)

где Тф - годовой фонд рабочего времени, ч;

Тн - количество рабочих суток в год, Тн=260 сут.;

Тр - длительность плановых остановок в

сутках на ремонт оборудования, Тр=7;

n - количество рабочих смен, n=2;

t - продолжительность рабочей смены, t= 8 час.;

Ки - коэффициент использования технологического

оборудования, Ки=0,92.

Тф=(260-7)*2*8*0,92 = 3724 ч [3]

Для расчета материального потока уточняется деление производного процесса на технологические зоны и нормы неизбежных потерь материалов по зонам.

Зона 1: транспортно-сырьевой участок. Потери цемента 1%, древесины 1,5%, химических добавок 0,1%, песка 2%.

Зона 2: склады сырья, потери цемента 1%, песка 2%, химических добавок 0,1%, древесины 1,5%.

Зона 3: бетоносмесительный узел, потери арболитовой смеси 1%.

Зона 4: формовочная линия, потери арболитовой смеси 0,5%.

Зона 5: участок термической и доводки изделий, потери 0,5%.

Зона 6: склад готовой продукции, потери 0,5%.

Производительность технологических переделов, м3/год:

Пnn+1/(1-Qn /100) (5.1)

где Пп - производительность в зоне n, м3/год;

Пп+1 - производительность в зоне, следующей за рассчитываемой (для зоны 6: П6+1завод), м3/год;

Qп - производственные потери в зоне, %.

ЦІ= (Пз*Ц /(1-Qц/100)) + Цф; (5.2)

ПІ= Пф*П/(1 - Qц /100); (5.3)

ДрІ= Пза * Др /(1 - Qр /100); (5.4)

ДбІ= Пза * Дб /(1 - Qб /100), (5.5)

где ЦІ, ПІ, ДрІ и ДбІ - потребности в материалах, соответственно в цементе, песке, древесной дробленке и химической добавке;

Пз - производительность в данной зоне;

Ц, П, Др и Дб - соответственно расход цемента, песка, древесины и химической добавки на 1 мі условного бетона, мі;

Qц, Qп, Qр, Qб - соответственно потери цемента, песка, древесины и химической добавки (для зон 1 и 2).

Суточные (м3/сут) и часовые (м3/ч) производительности в зонах рассчитываются по формулам:

Псутп/((Тнр)*Ки); (5.6)

Пчпф, (5.7)

где Тн - нормальное количество рабочих суток в гад, Тн=260 сут;

Тр - длительность плановых остановок на ремонт, Тр=7 сут;

Тф - годовой фонд рабочего времени оборудования, Тф= 3724 ч;

Ки - коэффициент использования технологического оборудования, (для поточно-агрегатных Ки=0,92). [3]

Расчет растворной смеси для фактурного слоя

Для 1-го изделия:

Vф.слоя = (0,01 + 0,015)*0,39*0,188 = 0,0018 мі

Для всех изделий:

Vф.слоя∑ = Пза* Vф.слоя /0,39*0,19*0,188                        (5.8)

Песок речной для фактурного слоя принимаем со следующими характеристиками:

насыпная плотность песка, снп = 1,52 т/мі;

истинная плотность песка, сп= 2,51 т/мі; [4]

В соответствии с [5] ориентировочный расход портландцемента М400 при марке раствора 75 составляет 240 кг на 1 мі раствора.

Ориентировочный расход воды, л на 1 мі растворной смеси, определяется по формуле:

В= 0,75*Цф (5.9)

В=0,75*240= 180 л.

Расход песка на 1 мі растворной смеси рассчитывается по формуле:

П= 1/((Vп.пЧб/снп) + 1/сп), (5.10)

где Vп.п - пустотность песка в рыхлом состоянии:

Vп.п = 1 - снп / сп; (5.11)

снп, сп - соответственно насыпная и истинная плотность песка, т/мі;

б - коэффициент раздвижки зерен песка. Для растворных смесей подвижностью 6-10 см б=1,2. [5, стр. 14-15]

Vп.п = 1 - 1,52/2,51 = 0,39

П =1/((0,39Ч1,2/1,52) + 1/2,51) = 1,42 т/мі

Цф / Цф: В / Цф: П / Цф = 0,24/0,24: 0,18/0,24: 1,42/0,24 = 1: 0,75: 6

Расчет 0-ой зоны:

По = 20000 мі/год;

Пєсут = 20000/(260-7)*0,92 = 72,73 мі/сут;

Пєчас = 20000/3724 = 5,37 мі/час.

Расчет 6-ой зоны:

П6 = По/(1-0,5 /100) = 20000/(1-0,5/100) = 20101 мі/год;

Пєсут = П6/((260-7)*0,92) = 20101/(260-7)*0,92 = 73,09 мі/сут;

Пєчас = П6 /3724 = 20101/3724 =5,4 мі/час.

Расчет 5-ой зоны:

П5 = П6/(1-0,5 /100) = 20101/(1-0,5/100) = 20202 мі/год;

П сут = П5/((260-7)*0,92) = 20202/(260-7)*0,92 = 73,46 мі/сут;

П час = П5 /3724 = 20202 /3724 =5,43 мі/час.

Расчет 4-ой зоны:

П4 = П5/(1-0,5 /100) = 20202 /(1-0,5/100) = 20304 мі/год;

П сут = П4/((260-7)*0,92) = 20304/(260-7)*0,92 = 73,83 мі/сут;

П час = П4 /3724 = 20304/3724 = 5,45 мі/час.

Расчет 3-ой зоны:

Для арболитовой смеси:

П3а = П4/(1-1 /100) = 20304/(1-1/100) =20509 мі/год;

Пі сут = П/((260-7)*0,92) = 20509/(260-7)*0,92 = 74,58 мі/сут;

Пі час = П/3724 = 20509/3724 = 5,51 мі/час.

Для фактурного слоя:

П3ф = 20509*0,0018/0,390*0,190*0,188 = 2650 мі/год;

Пі сут = П/((260-7)*0,92) = 2650 /(260-7)*0,92 = 9,64 мі/сут;

Пі час = П/3724 = 2650 /3724 = 0,72 мі/сут;

Расчет 2-ой зоны:

Древесина:

ДрІ=20509*0,24 /(1 - 1,5 /100) = 4997,1 т/год;

ДрІ = 4997,1/0,2 = 24986 мі/год;

Др, сутІ =24986/(260-7)*0,92 = 90,86 мі/сут;

Др, часІ =24986/3724 = 6,71 мі/час;

Химические добавки:

ДбІ =20509*0,008 /(1 - 0,1/100) = 164,24 т/год;

Дб, сутІ =164,24/(260-7)*0,92 = 0,61 т/сут;

Дб, часІ =164,24/3724 = 0,044 т/час;

Цемент:

ЦІ =20509*0,36 /(1 - 1/100) + 2650*0,24/(1 - 1/100) =8261 т/год;

ЦсутІ = 8261/(260-7)*0,92 = 30,1 т/сут;

ЦчасІ = 8261/3724 = 2,22 т/час;

Песок:

ПІ = 2650*1,42 /(1 - 2/100)*1,52 = 5836,5 мі/год;

ПсутІ = 5836,5 /(260-7)*0,92 = 24,22 мі/сут;

ПчасІ = 5836,5 /3724 = 1,56 мі/час.

Расчет 1-ой зоны:

Древесина:

Др№= ДрІ/(1 - 1,5 /100) = 24986/(1 - 1,5 /100) = 25366 мі/год;

Др, сут№= 25366/(260-7)*0,92 = 92,24 мі/сут;

Др, час№= 25366/3724 = 6,81 мі/час;

Химические добавки:

Дб№= ДбІ/(1 - 0,1/100) = 164,24/(1 - 0,1/100) = 164,4 т/год;

Дб, сут№= 164,4/(260-7)*0,92 = 0,61 т/сут;

Дб, час№= 164,4/3724 = 0,044 т/час;

Цемент:

Ц№= ЦІ/(1 - 1/100) =8261/(1 - 1/100) = 8344,4 т/год;

Цсут№= 8344,4/(260-7)*0,92 = 30,34 т/сут;

Цчас№= 8344,4/3724 = 2,24 т/час;

Песок:

П№ = ПІ/(1 - 2/100)= 5836,5/(1 - 2/100) = 5955 мі/год;

Псут№= 5955/(260-7)*0,92 =24,66 мі/сут;

Пчас№= 5955/3724 =1,59 мі/час.

Результаты расчетов материалов на проектную производительность с учетом режима работы предприятия с технологическими потерями приведены в табл. 5.1

Таблица 5.1. Материально-производственный поток

№ п/п

№ зоны

Передел

Потери, %

Ед.изм.

Потребность в материалах






год

сутки

час

1

0

Реализация завода

0

м3

20000

72,73

5,37

2

6

Склад готовой продукции

0,5

м3

20101

73,09

5,4

3

5

Термообработка

0,5

м3

20202

73,46

5,43

4

4

Формовочная линия цеха

0,5

м3

20304

73,83

5,45

5

3

Бетоносмесительный цех: - для арболитовой смеси - для фактурного слоя

 1,0 1,0

 м3 м3

 20509 2650

 74,58 9,64

 5,51 0,72

6

2

Склад сырья: - Древесины - Химических добавок - Цемента - Песка

 1,5 0,1 1,0 2,0

 м3 т т м3

 24986 164,24 8261 5836,5

 90,86 0,61 30,1 24,22

 6,71 0,044 2,22 1,56

7

1

Транспортно-сырьевой уч-ок: - Древесина - Химические добавки - Цемент - Песок

 1,5 0,1 1,0 2,0

 м3 т т м3

 25366 164,4 8344,4 5955

 92,24 0,61 30,34 24,66

 6,81 0,044 2,24 1,59



6. Расчет складов

.1 Расчет склада цемента

Цемент на проектируемом заводе хранится в силосных складах прирельсового типа.

Требуемую вместимость склада цемента находим из формулы:

Vсут=(ЦІсут*n)/Кз  (6.1.1)

где ЦІсут - суточная потребность завода в цементе, т (см. таб. 5.1);

n - нормативный запас цемента, сут. (принимаем n=7 сут);

Кз - коэффициент заполнения емкости склада, Кз=0,9;

Vсц=(30,1*7)/0,9= 234,11 т

Выбираем типовой склад цемента 409-29-62.

Техническая характеристика типового склада цемента 409-29-62

Тип

Притрассовый

Вместимость, т.

240

Силосы:

Вместимость. Т.

60


Количество. Шт.

4

Грузовой оборот, тыс. т.

11,5

Установленная мощность электродвигателя, кВт.

42,8

.2 Расчет склада заполнителей

Для хранения древесной дробленки и песка будет использоваться прирельсовый склад закрытого типа.

Расчет склада производится исходя из потребности в сырьевых материалах, нормативных запасов и конкретной характеристики принятого типа склада. Расчеты сводятся к определению вместимости, площади и геометрических размеров склада. Емкость (мі) в складе для хранения каждого вида заполнителя рассчитывается по формуле:

Vс = Зсут*n* Кфз, (6.2.1)

где Зсут - суточная потребность предприятия в данном виде

заполнителя (Дб, сутІ, ПсутІ) (см. табл. 5.1);

Кф - коэффициент учитывающий необходимое увеличение емкости склада при хранении нескольких фракций заполнителей (Кф=1, т. к. будет хранится только одна фракция заполнителя)

Кз - коэффициент загрузки (для полубункерных складов Кз =1,2)

Vсб = 90,86*7*1*1,2 =763,22 мі

Vсп = 24,22*7*1*1,2 =203,45 мі

Общая вместимость склада заполнителей подсчитывается как сумма емкостей для хранения каждого вида заполнителя [3].

Vс = 763,22+203,45 = 966,67 мі

Предположим, что заполнитель на складе будет храниться в форме усеченного конуса, тогда:



Vc=Vконуса=966,67 м3

Примем h=10 м, тогда Vконуса=10,5 (R12+R1R2+ R22);

Примем R2=5 м, раскроем скобки, подставим значение Vc получим выражение 10,5*R12+52,5*R1+262,5=966,67, для удобства расчета, поделим выражение на 10,5, получим уравнение R12 + 5R1 - 67,06 = 0.

Решив данное уравнение получим R1=11,06 м.

Площадь основания конуса, Sк=р R12 = 384,1 м2

Окончательно принимаем склад заполнителей высотой 15 м и площадью застройки 500 м2.

6.3 Расчет склада готовой продукции

Склады готовой продукции представляет собой закрытую прямоугольную площадку, оборудованную подъемно-транспортными механизмами, необходимыми для ведения погрузочно-разгрузочных операций. В качестве подъемно-транспортных механизмов будут применяться мостовые краны. Из заводских цехов готовые изделия будут подаваться на склад самоходными тележками. Изделия должны храниться на специально оборудованных складах рассортированными по видам, типоразмерам и маркам в условиях, не допускающих их увлажнение. Площадь склада готовой продукции рассчитывается по формуле:

А=Qсуткр12/Qи, (6.3.1)

Ткр - запас готовых изделий на складе, Ткр=12 сут;

К1 - коэффициент, учитывающий проходы между штабелями, К1=1,5;

К2 - коэффициент, учитывающий проезды и площадь под путями кранов тележек; площади под проезд автомашин и под железнодорожные пути для складов с кранами (для мостовых кранов К2=1,3);

Qи - объем изделий, хранящихся в горизонтальном положении, на 1 м2

площади склада (для линейных элементов правильной формы Qи=1 м3).

А=73,09*12*1,5*1,3/1=1710,31 м2

Пролет склада принимаем 12 м, тогда длина склада определяется:

L=A/24 (6.3.2)

L=1710,31/24=71,26 м

Площадь склада принимаем кратно 6 м, следовательно

А=72*24=1728 м2.

7. Подбор оборудования

.1 Подбор оборудования для приготовления органического заполнителя

Древесина - анизотропный материал, поэтому древесная дробленка должна иметь игольчатую форму с коэффициентом формы 5-8 и толщину 3-5 мм. Наименьшие размеры должны быть не более 25 мм по длине. Такая форма частиц обладает более близкими по абсолютному значению влажностными деформациями вдоль и поперек волокон, и поэтому может снизить отрицательное воздействие влажностных деформаций древесного заполнителя на структурообразование и прочность арболита.

Барабанные рубительные машины используются для переработки в щепу кусковых отходов лесопильно-деревообрабатывающих предприятий.

Примем барабанную рубительную машину ДУ-2.

Производительность, м3/час

12

Диаметр ножевого барабана, мм

600

Число режущих ножей, шт

4

Число неподвижных ножей, шт

1

Тип питателя

принудительный

Мощность электродвигателя, кВт

55

Масса, т

1,52

Габариты, мм

длина

2825

ширина

1700

высота

2260


Для приготовления дробленки из щепы на арболитовых предприятиях используют модернизированные молотковые и лопастные дробилки. Наиболее целесообразны для приготовления и гомогенизации дробленки молотковые дробилки.

Примем молотковую дробилку ДМ-1.

Производительность (в пересчете на абсолютно сухую древесину), кг/ч

1000

Диаметр ротора по дробящим кромкам бил, мм

1000

Частота вращения ротора, 1/мин

2100

Число бил, шт

32

Масса, кг

1450

Мощность электродвигателя, кВт

40

.2 Расчет бетоносмесительного отделения

Требуемая часовая производительность определяется по формуле:

Пбч = Пічас*К12 (7.2.1)

где Пічас - часовая производительность бетоносмесительного узла:

Пічас = Піа час + Піф час, (7.2.2)

где Піа час - часовая производительность БСУ для арболитовой смеси (Піа час=5,51 мі) (см. таб. 5.1);

Піф час - часовая производительность БСУ для фактурного слоя (Піф час= 0,72 м3);

Пічас = 5,51+0,72 = 6,23 мі.

К1 - коэффициент резерва производства, К1=1,2;

К2 - коэффициент неравномерности выдачи и потребления бетонной смеси, К2=1,25.

Пбч =6,23*1,2*1,25 = 9,35 мі/ч.

Принимаем бетономешалку С-356.

Емкость барабана, л

1000

Производительность, м3

15

Мощность двигателя, кВт

20

Вес, кг

4465

Завод-изготовитель

Челябинский завод «Строймашина»

Габаритные размеры, мм

длина

3170

ширина

2360

высота

1585


7.3 Расчет габаритов форм

Рисунок 2. Стеновой блок

V1-го изд.= 0,39*0,188*0,19 = 0,0139 м3

Ширина формы определяется по формуле:

Bф =bизд*n + (n-1)*0,05 + 2*0,14, (7.3.1)

где bизд - ширина 1-го стенового блока (bизд=0,188 м);

n - количество изделий по ширине (n=5).

Вф = 0,188*5 + (5-1)*0,05 + 2*0,14 = 1,5 м.

Высота формы определяется по формуле:

Нф= Нподд * бум+ Низд, (7.3.2)

где Нподд - высота поддона (Нподд =0,3 м);

Низд - высота изделия (Низд =0,19 м).

Нф= 0,19*1,2 + 0,3 = 0,53 м.

Длина формы определяется по формуле:

Lф= Lизд *m + (m-1)*0,02 + 2*0,14, (7.3.3)

где Lизд - длина изделия (Lизд =0,39 м);

m - количество изделий по длине формы (m=14);

Lф= 0,39 *13 + (13-1)*0,02 + 2*0,14 = 6 м.

Рис. 3. Форма для изделий

Годовая производительность технологической линии определяется по формуле:

Р = 55,2 * С * В * Vф / Тц, (7.3.4)

где С - число рабочих дней в году (С=233);

В-число часов работы формовочного поста в сутки (В=16 ч);

Vф - объем одной формовки:

Vф = n*m*V1-го изд. (7.3.5)

Vф = 5*14*0,0139 = 0,9 мі;

Тц - продолжительность цикла формования (Тц=15 мин);

Р = 55,2 * 233 * 16 * 0,9/15 = 12395,15 мі/год

Требуемое количество технологических линий определяют по формуле:

Nт.л.= Пг/(Р*Ки), (7.3.6)

где Пг - годовая производительность по данной группе изделий (20304 мі/год);

Ки - коэффициент использования оборудования (Ки=0,97).

Nт.л.= 20304/12395,15 *0,97 = 1,59

Принимаем 2 технологические линии

Потребность цеха в металлических формах:

Nф=(Пгрф)/(Трф*Vфофио)        (7.3.7)

где Пг - требуемая годовая производительность завода, м3;

Трф - фактическое рабочее время работы данной линии,

Трф=235 сут;

Крф - коэффициент запаса форм, Крф=1,1;

Коф - коэффициент оборачиваемости форм в сутки, Коф=1;

Кио - коэффициент использования оборудования, Кио=0,97.

Nф=(20304*1,1)/(235*0,9*1*0,97)=108,87 шт.

Принимаем 110 форм. Определение требуемой грузоподъемности виброплощадки рассчитывается по формуле:

Qв =Qф + Qб + Qщ, (7.3.8)

где Qф - масса формы, т:

Qф = Vф *Мув, (7.3.9)

где Мув - удельная металлоемкость формы (Мув=1,8 т/мі);

Qф = 0,9*1,8 = 1,62 т.

Qб - условная масса арболитовой смеси:

Qб = Vф*с, (7.3.10)

где с - плотность арболитовой смеси (с=0,7т/мі);

Qб=0,9*0,7 = 0,63 т;

Qщ - условная масса пригрузочного щита (Qщ=2 т);

Qв = 1,62 +0,63 + 2 = 4,25 т.

7.4 Расчет камеры термообработки

Высота и ширина камеры:

Вк = 2,05 м

Нк =1,49 м

Число форм, находящихся в камере тепловой обработки Nв, определяется по формуле:

Nв = То*60/Rи, (7.4.1)

где То - продолжительность тепловой обработки (То=4 ч);

Rи - ритм работы конвейера (Rи=15 мин).

Nв = 4*60/15 = 16 форм.

Определение рабочей длины туннельной камеры осуществляется по следующей формуле:

∑ Lк = Lф*Nв, (7.4.2)

где Lф - длина формы;

∑ Lк = 6*16 = 96 м

Необходимое количество щелевых камер рассчитывают по формуле:

Z = ∑ Lк /Lф.л - е, (7.4.3)

где е - расстояние от передаточной тележки до входа камеры, м;

Lф.л - длина одной щелевой камеры (Lф.л=80 м).

Z = 96/78 = 1,23

Принимаем 2 сушильных камеры.

7.5 Подбор вспомогательного оборудования

Бетонораздатчик предназначен для подачи арболитовой смеси из бетоносмесительных отделений, поэтому принимаем бетонораздатчик СМЖ-2А, имеющий следующую техническую характеристику:

Объем, мі

2,4

Скорость передвижения, м/мин

14

Ширина колеи, мм

1720

Наличие прицепа с бадьей

Нет

Установленная мощность, кВт

8

Габаритные размеры, мм:


- длина

2506

- ширина

2080

- высота

1497

Масса, кг

2000


Принимаем бетоноукладчик СМЖ-166А для формования стеновых материалов со следующей технологической характеристикой:

Суммарный объем бункеров, мі

3,5

Число бункеров

2

Наибольшая ширина укладки, мм

3300

Скорость движения ленты питателей бункера, м/мин:


- большого

5,7

- малого

5,7

Скорость передвижения бетоноукладчика, м/мин

13,0

Установленная мощность, кВт

22,2

Ширина колеи рельс, мм

4500

Габаритные размеры, мм:


- длина

5815

- ширина

5950

- высота

3100

Масса, кг

12000


Принимаем виброплощадку СМЖ-200А со следующими техническими характеристиками:

Грузоподъемность, т

До 25

Число вибраторов

1

Установленная мощность, кВт

22

Габаритные размеры, мм:

- длина

6600

- ширина

2480

- высота

-

Масса, кг

4600


Выбираем вывозную тележку СМЖ-151, которая предназначена для вывоза готовых изделий, со следующей технической характеристикой:

Грузоподъемность, т

20

Предельная дальность хода, м

120

Скорость передвижения, м/мин

31,6

Установленная мощность, кВт

7,5

Габаритные размеры, мм:


- длина

7490

- ширина

2573

- высота

1450

Масса, кг

3700


Для дозировки компонентов смеси используются объемно-массовые дозаторы. Для дозирования применяются дозаторы серии ДБ-второго класса точности:

- для песка

однофракционный ДБП-800;

- для цемента

ДБЦ-630;

-для воды

ДБЖ-400;

- для древесины

Дозатор объемный ДШ

Техническая характеристика дозаторов

Показатель

ДБП-800

ДБЦ-630

ДБЖ-400

Предел дозирования, кг

200 - 800

200 - 630

80 - 400

Цикл дозирования, сек

30

45

30

Годовая производительность, цикл/г

120

80

120

Модель

Дозатор объемный ДШ

Тип

Одношнековый

Номинальная объемная производительность

0,25 - 25 м3/час

Для сортировки древесной дробленки примем вибрационную установку ВГО-1.

Список литературы

бетон производство арболит вибропрокат

1. Справочник по производству и применению арболита / Крутов П.И., Наназашвили И.Х., Склизков Н.И., Савин В.И.; Под ред. И.Х. Наназашвили. - М.: Стройиздат, 1987. - 208 с.

. Баженов Ю.М. Технология бетона / Ю.М. Баженов - М.: Издательство АСВ, 2003. - 500 с.

. Тимофеев А.И. Проектирование предприятий сборного железобетона для районов Сибири и Крайнего Севера / А.И. Тимофеев, В.А. Безбородов, В.В. Коледин. - Новосибирск: НИСИ, 1991. - 80 с.

. Коледин В.В. Сырьевая база и производственная структура предприятий строительной индустрии Сибири и Дальнего Востока: Метод. указания / В.В. Коледин. - Новосибирск: НГАСУ, 1996. - 32 с.

. Генцлер И.В. Строительные растворы: Метод. указания / И.В. Генцлер, И.В. Штабной. - Новосибирск: НГАСУ, 1993. - 16 с.

. Арболит / Под ред. к.т.н Г.А. Бужевича. - М.: Стройиздат, 1968. - 245 с.

7. Наназашвили И.Х. Строительные материалы из древесно-цементной композиции. - 2-е изд., перераб. и доп. - Л.: Стройиздат, 1990. - 415 с.

. Завадский В.Ф. Технология стеновых материалов: Методические указания к выполнению курсового проекта / В.Ф. Завадский, А.Ф. Косач, О.А. Игнатова - Новосибирск: НГАСУ, 2002. - 49 с.

Похожие работы на - Стеновые материалы

 

Не нашли материал для своей работы?
Поможем написать уникальную работу
Без плагиата!
Без нейросетей!