Сооружение железобетонных водопропускных труб на фундаменте 3-го типа

  • Вид работы:
    Курсовая работа (т)
  • Предмет:
    Строительство
  • Язык:
    Русский
    ,
    Формат файла:
    MS Word
    291,6 Кб
  • Опубликовано:
    2013-05-28
Вы можете узнать стоимость помощи в написании студенческой работы.
Помощь в написании работы, которую точно примут!

Сооружение железобетонных водопропускных труб на фундаменте 3-го типа

Введение


Целью данной курсовой работы является разработка вопросов, связанных с производством работ нулевого цикла и монтажных работ при возведении прямоугольной железобетонной двухочковой трубы отверстием 200х200 см. Труба расположена под насыпью железной дороги высотою 13,5 м. Тело насыпи сложено песчаными грунтами. Такие же грунты залегают в основании насыпи.

Производство строительных работ осуществляется в районе умеренного климата в период положительных температур.

1. Составление эскизной схемы сооружения

фундамент строительный монтажный котлован

Выполнение курсовой работы начинаем с составления эскизной схемы сооружения, представляющая собой упрощённое изображение его объёмно-планировочных и конструктивных характеристик. Он даёт чёткое представление о будущем сооружении, служит для определения объёмов строительно-монтажных работ, а также принятия решений по организации и технологии их выполнения. Схема вычерчивается в масштабе 1:50 в соответствии с заданными исходными параметрами. Исходными параметрами для водопропускных труб являются: высота насыпи hн, сечение звена, число очков трубы и размер фундамента.

Определяем длину тела трубы по одной из следующих формул:

при (hн-Dв)<= 6 м

lт=B0+2m1(hн-Dв) - l0;    (1)

при 12>=(hн-Dв)>6 м

lт=B0-12 (m2-m1)+2m2(hн-Dв) - l0;              (2)

при (hн-Dв)>12 м

lт=B0-12 [2m3 - (m2+m1)]+2m3(hн-Dв) - l0, (3)

где В0 - ширина основной площадки земляного полотна, м;

m1, m2, m3 - показатели крутизны откосов соответственно верхней и нижней части насыпи;

Dв - отверстие прямоугольной трубы, м;

l0 - суммарная длина элементов обоих оголовков, м.

hн = 13,5 м;

Dв = 2 м;

hн-Dв = 13,5-2 = 11,5 м;

< 11,5 м < 12 м;

lт = 6,6-12 (1,5-1,5)+2 (13,5-2) - 5 = 30,1 (м).

Полученную величину lт округляем до ближайшего целого метра, т.к. длина звеньев трубы равна 1,0 м (швы не учитываем).

lт = 30 м.

Определяем полную длину трубы

Lтр = lт + l0;                                      (4)

Lтр = 30+5 = 35 (м).

По длине трубы её фундамент разбиваем на секции. Их число определяем наличием вертикальных деформационных швов, которые устраиваются между оголовком и телом трубы и далее через 3 звена.

Трубу по длине делим на конструктивные части:

·   входной (выходной) оголовок, включающий бетонный лоток, откосные крылья и звенья оголовка с фундаментом;

·   тело трубы с разбивкой его секции из трёх или двух звеньев по длине с соответствующей фундаментной частью.

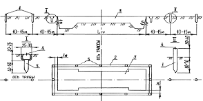
Конструктивная схема трубы приведена на листе №1.

2. Подготовка строительной площадки

Поверхность площадки очищаем от растительного грунта и планируем бульдозером за 3 прохода по одному следу. Расчищаем русло со стороны выходного оголовка, а с нагорной стороны на расстояние не менее 1,5 м от контура котлована устраиваем водоотводную канаву или обвалование для перехвата поверхностных вод. Объём подготовительных работ определяется проектом и зависит от рельефа местности.

3. Разбивочные работы

До начала строительства проектная организация должна закрепить в натуре и сдать по акту строительной организации в присутствии заказчика точку пересечения осей трассы и трубы, не менее двух створных столбов с каждой стороны дороги, закрепляющих продольную ось трубы, и высотный репер.

При разбивке расстояние между закрепляющими столбами промеряем стальной лентой или рулеткой не менее двух раз и теодолитом промеряем угол между осями. Схема закрепления месторасположения трубы на трассе приведена на рис. 1.

Рисунок 1 - Схема закрепления местоположения трубы на трассе:

- выносимые столбы (колья); 2 - точка и сторожок с надписью «ось», «пикет» и «плюс»; 3 - репер

Рисунок 2 - Схема разбивки котлована трубы:

- выносные столбы; 2 - обноска из брусьев или досок; 3 - котлован; 4 - гвоздь; 5 - свая обноски

Промерами от оси трубы намечаем контур котлована и обозначаем его колышками.

На расстоянии не менее 1 м от контура котлована устраиваем обноску из досок или брусьев и на ней закрепляем положение элементов трубы (рис. 2). Обноску по возможности заглубляем в землю для предохранения от повреждения бульдозером или экскаватором.

По ходу работы проверяем положение оси трубы и положение контура котлована под оголовки и звенья трубы.

4. Устройство котлована под фундамент

В данном разделе определяем объёмы земляных работ (раздельно механизированных и ручных) при устройстве котлована под фундамент тела трубы и оголовки.

Рисунок 3 - Схема котлована под трубу

I.       - котлован под фундамент тела трубы;

II.      - котлован под фундамент входного оголовка;.        - котлован под фундамент выходного оголовка;.  - котлован под откосные крылья входного оголовка;.       - котлован под откосные крылья выходного оголовка;.    - котлован под лоток входного оголовка;.         - котлован под лоток выходного оголовка

В задании задан котлован без крепления. Устойчивость стенок котлована обеспечивается за счёт придания им определённой крутизны.

Рисунок 4 - Схема элементарного котлована с откосными стенками

Таблица 1 - Ведомость расчётных параметров для определения объёмов работ нулевого цикла

Конструктивная часть сооружения

Расчётные параметры, м


а

в

c’

d’

c

d

hр

hм

Входной оголовок: (1) фундамент (2) откосные крылья (3) лоток Тело трубы: (4) фундамент Выходной оголовок: (5) фундамент (6) откосные крылья (7) лоток

 5,98 1,5   6,04  5,98 1,5

 3,5 4,67   3  3,5 2,09

 6,38 1,9   6,08  6,38 1,9

 3,7 4,67   3  2,9 2,09

 5,27 4,67   3  4,35 2,09

 0,2 0,2 0,2  0,2  0,2 0,2 0,2

 1,57 1,57 0,3  0,89  1,65 1,57 0,3

 


(1)

hм =1,77-0,2 = 1,57 (м);

a = 2∙2+4∙0,16+0,4-2 (0,16-0,13)+1= 5,98 (м);

b = 3+0,5 = 3,5 (м);

c= a+2∙m∙0,2 = 5,98+2∙1∙0,2 = 6,38 (м);

c = a+2∙m∙(hм+hр) = 5,98+2∙1∙(1,57+0,2) = 9,92 (м);

d’ = b+m∙0,2 = 3,5+1∙0,2 = 3,7 (м);

d = b+m∙(hм+hр) = 3,5+1∙(1,57+0,2) = 5,27 (м).

(2) hр = 0,2 (м);

hм = 1,57 (м);

а = 0,5+1 = 1,5 (м);

c= a+2∙m∙0,2 = 1,5+2∙1∙0,2 = 1,9 (м);

c = a+2∙m∙(hм+hр) = 1,5+2∙1∙(1,57+0,2) = 5,04 (м);

b = d’ = d = 2,97-0,35+1,55+0,2+0,3 = 4,67 (м);

(4) a = 6,04 (м);

c= a+2∙m∙0,2 = 6,04+2∙1∙0,2 = 6,08 (м);

b = d’ = d = lт = 3 м;

hм = -0,2 = 0,89 (м);= a+2∙m∙ = 6,04+2∙1∙1,1 = 8,24 (м).

(5) a = 5,98 м; = 6,38 м;= 9,92 м;м = 1,65 м;= 3+0,5 = 3,5 (м);’ = 2,9 (м);

d = 2,5+1 (hм+hр) = 4,35 (м).

(6) а = 1,5 м;

c = 1,9 м;

c = 4,04 м;

hм = 1,57 м;

b = d’ = d = 2,09 (м).

Объёмы земляных работ определяются по формулам:

Vр = (hр/6)∙[a∙b+c’∙d’+(a+c’)∙(b+d’)], (5)

Vм = (hм/6)∙[c’∙d’+c∙d+(c’+c)∙(d’+d)], (6)

где а и b - ширина и длина котлована по низу, м;

c’ и d’ - ширина и длина котлована на уровне ручной разработки, м;

c и d - ширина и длина котлована по верху, м;

hр - толщина слоя ручной разработки, м;

hм - глубина механизированной разработки, м.

Котлован водопропускной трубы имеет в плане сложную конфигурацию, поэтому его разбиваем на простейшие фигуры и ведём подсчёт объёмов земляных работ для каждой из них в отдельности.

Размеры котлована в плане а и b определяются проектными размерами фундамента с уширением в каждую сторону по 0,5 м для возможности установки опалубки и удобства проведения других видов работ.

Котлован разрабатываем в направлении от выходного оголовка к входному. Дно котлована под фундаменты оголовков и откосные крылья устраиваем в одном уровне.

Для разработки грунта в котловане используем экскаватор с оборудованием обратная лопата, снабжённый ковшом с зубьями ёмкостью 0,3м3 марки Э-302. Перемещение разработанного грунта за пределы стройплощадки и его надвижку при засыпке пазух котлована и трубы будем осуществлять бульдозером ДЗ-18. Разработку котлована производим в предельно сжатые сроки без нарушения несущей способности грунта в основании.

Механизированным способом котлован разрабатываем с недобором до проектной отметки на 20 см. Зачистку дна котлована производим вручную - лопатами под рейку с учётом продольного уклона и строительного подъёма трубы непосредственно перед устройством подготовки под фундамент. По ходу работ ведём нивелировку отметок дна котлована. Разработанный котлован освидетельствует и принимает по акту комиссия с участием представителя заказчика. Результаты подсчётов объёмов земляных работ заносим в таблицу 2.

Таблица 2 - Ведомость объёмов земляных работ при сооружении котлована под фундамент

Конструктивная часть сооружения

Объём грунта, м3

Объём обратной засыпки, м3


Механизированная разработка

Ручная разработка


Входной оголовок: (1) фундамент (2) откосные крылья (3) лоток

 50,5 43 1,76

 4,5 3 0,3

 52,74 35,99

Тело трубы: (4) фундамент

 191

 36

 62,08

Выходной оголовок: (5) фундамент (6) откосные крылья (7) лоток

 49 19 1,39

 4 1 0,92

 24,7 42,99

Итого на трубу:

å = 355,65

å = 49,72

å = 243,3


(1) Vобр.з. = Vм+Vр-Vщ-Vбет = 86+12-3,59-41,67 = 52,74 (м3);

(4) Vобр.з. = Vм+Vр-Vщ-Vбет = 81+17-8,2-27,72 = 62,08 (м3);           

(5) Vобр.з. = Vм+Vр-Vщ-Vбет = 64+6-2,56-18,18 = 24,73);

(2) Vобр.з. = Vм+Vр-Sгп∙0,1 - Vфп-Vок/2 = 38+4,0-14∙0,1-0,88-7,44/2 = 35,99 (м3);

(6) Vобр.з. = Vм+Vр-Sгп∙0,1 - Vфп-Vок/2 = 45+4-14,01∙0,1-0,88-7,44/2 = 42,99 (м3).

5. Устройство подготовки под фундамент

После отрывки котлована производим устройство щебёночной подготовки под фундамент тела трубы и оголовки и гравийно-песчаной подготовки в основании котлованов под откосные крылья. Подачу щебня и гравийно-песчаной смеси к месту укладки производим краном в бадьях, затем выгруженный материал разравниваем слоем толщиной 10 см и уплотняется электротрамбовками. Гравийно-песчаная подготовка под лотки устраивается требуемой толщины также слоями h=10 см. Устройство её производят после засыпки пазух котлованов около входного и выходного оголовков. Отметки верха подготовки проверяют нивелиром. Объёмы работ по устройству заданных типов подготовки сводятся в таблицу 3.

Конструктивная часть сооружения

Гравийно-песчаная смесь, м2

Щебень



м2

м3

Входной оголовок: (1) фундамент (2) откосные крылья (3) лоток

 - а∙в∙2=1,5∙4,67∙2=14,01 Sлгп∙3=25,87∙3=77,61

 а∙в=5,98∙3,5= 20,93 - -

 а∙в∙0,1=5,98∙3,5∙0,1=2,093 - -

Тело трубы: (4) фундамент

 -

 а∙в=6,04∙30= 181,2

 а∙в∙0,1=10,24∙8∙0,1=18,12

Выходной оголовок: (5) фундамент (6) откосные крылья (7) лоток

 - а∙в∙2=2∙1,5∙2,09=6,27 Sлгп∙3=22,6∙3=67,8

 а∙в=5,98∙3,5=20,93 - -

 а∙в∙0,1=5,98∙3,5∙0,1=2,093 - -

Итого на трубу:

å =165,69

å =223,06

å =22,306



(3) Sлгп=2);

(7) Sлгп=2).

6. Производство бетонных работ

В этой части работы разрабатываем вопросы, связанные с выполнением опалубочных и бетонных работ при сооружении фундамента. Составляем опалубочный чертёж, представляющий собой контурное очертание бетонируемой конструкции, и определяем потребность в опалубке. Исходя из размеров фундамента, определяем объём бетонных работ, приводим схему бетонирования, описываем порядок бетонирования.

Опалубочные работы

Конструкция опалубки определяется формой бетонируемой конструкции и должна удовлетворять требованиям прочности, жёсткости и неизменяемости формы. Учитывая малую повторяемость бетонируемой конструкции, в проекте используем деревянную щитовую опалубку из досок толщиной 2-3 см. Щиты устанавливаем на щебёночную подготовку и закрепляем в проектном положении при помощи стоек, подкосов и распорок. Кроме опалубки боковых поверхностей, по длине тела фундамента устанавливаем деревянные щиты, обеспечивающие вертикальные деформационные швы между секциями. Эти щиты, оставляемые в теле фундамента, делаем также из досок толщиной 3 см и объединяем поверху (выше поверхности кладки фундамента) горизонтальными брусками.

Верх щитов опалубки устанавливаем по нивелиру с учётом строительного подъёма. Данные о количестве опалубочных щитов и их площади приводятся в таблице 4.

Таблица 4 - Спецификация щитов опалубки

Марка щита

Размер, м

Коли-чество, шт.

Площадь щитов, м2




одного

Всего

Щ1

30Ч0,8

2

24

48

Щ2

(6,04-1)Ч1,5

2

7,56

15,12

Щ3

3Ч1,6

2

4,8

9,6

Щ4

2Ч1,6

2

3,2

6,4

Щ5

(5,98-1)Ч1,6

2

7,968

15,936

Щ6

(7,7+0,3)Ч0,3

2

2,4

4,8

Щдеф

(6,04-1)Ч0,7

2

3,528

7,056

У = 106,942


Бетонные работы

При разработке процесса бетонирования намечаем способы подачи, укладки и уплотнения бетонной смеси, выбираем соответствующее оборудование и виброуплотняющие механизмы.

Выбор способа транспортирования (подачи) бетонной смеси к месту её укладки производим из условия приготовления бетона на стройплощадке. При сооружении фундаментов труб бетонная смесь непосредственно в фундамент подаётся, как правило, в бадьях при помощи крана. Высота свободного падения смеси не должна превышать 1,5 м. В процессе подачи бетонной смеси распределение её по телу фундамента ведём механизированным способом, допуская только однократную ручную перекидку (в радиусе до 2 м). Поэтому бетонную смесь разгружаем в нескольких точках.

Уплотнение бетонной смеси производим внутренними (фундамент под тело трубы и оголовка) и поверхностными (лоток трубы) вибраторами. Для обеспечения полной проработки бетона определяем порядок перестановки (шаги) вибратора.

Выбираем глубинный вибратор И-50 с радиусом проработки R=40 см и с шагом перестановки Ш=60 см и поверхностный вибратор И-7 с радиусом проработки R=30 см.

В процессе сооружения фундамента ведётся контроль за его размерами и соблюдением проектного уклона с учётом заданного строительного подъёма. Общая ведомость объёмов бетонных работ при сооружении водопропускных труб составляется по форме таблицы 5.

Таблица 5 - Ведомость объёмов бетонных работ при сооружении водопропускной трубы

Конструктивная часть сооружения

Опалубка, м2

Бетон, м3

Входной оголовок: (1) фундамент (2) лоток

 2Щ3+1Щ5=9,6+7,968=17,568 1Щ6=2,4

 19,71 5,175

Тело трубы: (3) фундамент

 2Щ1+1Щ2деф(все)= =48+7,56+7,056=62,616

 2,76

Выходной оголовок: (4) фундамент  (5) лоток

 1Щ2+2Щ4+1Щ5= =7,56+6,4+7,968=21,928 1Щ6=2,4

 27,12  5,13

Итого на трубу:

å = 106,942

å = 59,895


Схема бетонирования при сооружении прямоугольной железобетонной трубы приведена на листе 2.

Пазухи между стенками котлована и фундамента (кроме пазух вдоль откосных крыльев) до уровня фундамента заполняем грунтом сразу же после освидетельствования и приёмки фундамента. Засыпку производим местным однородным грунтом с обеих сторон фундамента слоями толщиной порядка 15 см. Пазухи вдоль откосных крыльев засыпаем после монтажа блоков оголовков.

7. Производство монтажных работ

В этой части работы:

·   считаем количество сборных конструктивных элементов и составляем на них спецификацию;

разрабатываем технологическую последовательность монтажа сборных элементов;

производим выбор марки монтажного крана.

Определение объёмов монтажных работ

Количество сборных элементов определяем по составленной эскизной схеме сооружения.

Таблица 6 - Спецификация сборных элементов

Наименование монтажного элемента

Номер блока

Данные по монтажным элементам



количество, шт.

масса, т

объем, м3




1 шт.

всего

1 шт.

всего

Входной оголовок:


звенья входного оголовка №1

№94

2

4,7

5,4

1,88

2,16

звенья входного оголовка №2

№94

4

4,4

17,6

1,76

7,04

откосные крылья

№58 №59

2 2

 2,4 4,3

4,8 8,6

0.96 1,72

1,92 3,44

фундаментные плиты откосных крыльев

№19 №20

2 2

0,6 0,3

1.2 0,6

0,48 0,24

Тело трубы:


звенья тела трубы

№95

62

5,6

347,2

2,24

138,88

Выходной оголовок:


звенья выходного оголовка

№107

2

7.5

15

3

6

откосные крылья

№58 №59

2 2

2,4 4,3

4,8 8,6

0,96 1,72

1,92 3,44

фундаментные плиты откосных крыльев

№19 №20

2 2

0,6 0,3

1,2 0,6

0,24 0,12

0,48 0.24

Итого на трубу:




∑ 415,6


∑ 166,24


Проектирование методов монтажа сборных конструкций

Разработка методов монтажа предусматривает установление оптимальной для данных условий технологической последовательности возведения сборных конструкций и выбор соответствующего оборудования. Эти вопросы решаются в зависимости от типа сооружения и конкретных условий производства работ. При разработке методов монтажа учитываем принципы возведения железобетонных водопропускных труб.

При сооружении прямоугольных труб в первую очередь монтируются блоки выходного оголовка (звенья, фундаментные плиты, откосные крылья), затем звенья тела трубы и, наконец, блоки входного оголовка.

Выбор марки монтажного крана

Основной (ведущей) машиной комплекта оборудования при ведении работ по установке сборных элементов в проектное положение является монтажный кран. Именно он в основном определяет сроки производства работ, их качество и общую стоимость. Выбор монтажных кранов производим в два этапа.

На первом этапе устанавливаем тип крана, который по своим техническим возможностям отвечает условиям возведения заданного типа трубы. При монтаже двухочковых прямоугольных труб отверстием 250х200 см используем пневмоколёсный кран.

На втором этапе производим вычисление требуемых технических параметров крана и устанавливаем марку крана, который будет вести монтажные работы. Расчётная схема для определения технических параметров крана приведена на рисунке 5.

Рисунок 5 - Схема к выбору марки монтажного крана

Требуемая высота подъёма стрелы (Нтрст) и минимальный требуемый вылет стрелы (lтрст) определяются по формулам:

Нтрст = hэ + hз + hп + hс, (7)

lтрст = а + lз + hк∙n + lэ, (8)

где hэ - высота элемента (звена тела трубы) в монтируемом положении, hэ=2,74 м;

hЗ - запас по высоте, требующийся по условиям монтажа для заводки конструкции к месту установки, hз = 0,5 м;

hп - высота полиспаста в стянутом состоянии, hп = 2 м;

hс - высота строповки в рабочем положении от верха монтируемого элемента до крюка крана, hс = 2 м;

а - расстояние от центра оси вращения крана до оси шарнира пяты стрелы, а = 1,5 м;

lЗ - минимальное расстояние от оси шарнира до края котлована, lЗ = 3 м;

hк - глубина котлована под телом трубы, hк = 0,2 + 0,97 = 1,17 м;

n - показатель крутизны откоса стенок котлована, n=0,5;

lэ - расстояние от нижней кромки котлована до оси последнего очка трубы, м.

Нтрст = (м);

lэ = (м);

lтрст = (м).

Определяем требуемую длину стрелы:

 (9)

где hш = 1,5 - высота шарнира пяты стрелы от уровня стоянки крана.

Требуемая грузоподъёмность крана определяется по грузовому моменту Мгр, который для стреловых кранов является величиной переменной, зависящей от вылета стрелы lст и массы принимаемого груза Q. Поэтому устанавливается самое ‘ ‘невыгодное’’ сочетание указанных параметров, при которых Мтргр=max.

Q = Qэ + Qс, т (10)

где Qэ - масса элемента, Qэ = 7,8 т;

Qс - масса строповочных устройств, Qс = 0,1т;.

После того как определены расчётные параметры, по техническим характеристикам выбирается такой кран, рабочие параметры которого удовлетворяют расчётным, т.е.:

Мгр³ Мтргр мах; Lст.³ Lтрст мах

8. Устройство гидроизоляции, начальная засыпка труб

На заключительном этапе сооружения водопропускных труб выполняются следующие виды основных работ:

·   заделка и гидроизоляция швов между звеньями труб, омоноличивание швов между блоками оголовков и откосных крыльев и отдельными блоками откосных крыльев;

Вид гидроизоляции труб назначается:

·   оклеечная - для покрытия верхних ригелей прямоугольных труб;

·   обмазочная - для боковых стенок и блоков оголовков прямоугольных труб.

Начальная засыпка трубы производится после устройства гидроизоляции в целях предупреждения её повреждения на высоту 0,5 м над звеньями и на ширину по верху не менее 1 м в каждую сторону от трубы с откосами 1:1.

Засыпка ведётся слоями 15-20 см одновременно с обеих сторон трубы с использованием грунта однородного с грунтом насыпи. Засыпку разрешается производить только после освидетельствования и оформления акта приёмки трубы.

Таблица 7 - Ведомость объёмов работ по гидроизоляции и начальной засыпке трубы

Вид работ

Измеритель

Количество

Омоноличивание швов: а) конопатка б) заполнение швов раствором Заделка и гидроизоляция швов в стыках звеньев: а) конопатка б) заполнение швов раствором в) устройство изоляции стыка Устройство обмазочной гидроизоляции Устройство оклеечной гидроизоляции Засыпка трубы на высоту 0,5 м над звеньями




Омоноличивание швов:

Конопатка:

Заполнение швов раствором:

Заделка и гидроизоляция швов в стыках звеньев:

Конопатка:

Заполнение швов растворов:

Устройство изоляции стыка:

Устройство обмазочной гидроизоляции:

Устройство оклеечной гидроизоляции:

Засыпка трубы на высоту 0,5 м над звеньями:

. Проектирование строительной площадки

План строительной площадки, являющийся важной частью проекта производства работ, должен быть увязан с принятыми методами организации и технологии выполнения строительно-монтажных работ.

Важнейшими узлами строительной площадки при сооружении водопропускных труб являются склады сборных элементов, а также подъездные дороги и проезды, которые должны обеспечивать сквозное и кольцевое движение автотранспорта и возможность маневрирования кранов.

Сборные элементы складируются в зоне действия монтажного крана. Звенья прямоугольных труб складируются в один ряд в горизонтальном положении.

На плане схематично, но в масштабе, наносится контур котлована, склады материалов и конструкций, бетоносмесительная установка, вагончик для рабочих и хранения инструмента, световые точки наружного освещения и т.д.

Указывается направление движения монтажного крана, точки его стоянки при монтаже и углы поворота стрелы крана.

План строительной площадки приведён на листе №2.

Похожие работы на - Сооружение железобетонных водопропускных труб на фундаменте 3-го типа

 

Не нашли материал для своей работы?
Поможем написать уникальную работу
Без плагиата!
Без нейросетей!