Характеристика шахтного локомотивного транспорта

  • Вид работы:
    Контрольная работа
  • Предмет:
    Транспорт, грузоперевозки
  • Язык:
    Русский
    ,
    Формат файла:
    MS Word
    1,21 Мб
  • Опубликовано:
    2013-07-25
Вы можете узнать стоимость помощи в написании студенческой работы.
Помощь в написании работы, которую точно примут!

Характеристика шахтного локомотивного транспорта

Контрольная работа

Характеристика шахтного локомотивного транспорта

1. Общие сведения о локомотивном транспорте

локомотивный электровоз подстанция тяговый

Локомотивный транспорт является основным видом транспорта на шахтах горнодобывающей промышленности и служит для перевозки основных и вспомогательных грузов, перевозки людей и производства маневровых работ. Локомотивная откатка применяется в выработках с уклоном до 5°/оо.

Применяются следующие виды локомотивов:

аккумуляторные и контактные электровозы постоянного тока;

электровозы переменного тока повышенной частоты с бесконтактным съемом энергии с питающей линии (неправильно называемые «высокочастотными электровозами»);

инерционные локомотивы (гировозы);

дизелевозы.

Шахтные локомотивы имеют следующие виды исполнения: рудничное нормальное РН (контактные электровозы); рудничное повышенной надежности РП (аккумуляторные электровозы и электровозы переменного тока); рудничное взрывобезопасное РВ (гировозы, взрывобезопасные аккумуляторные электровозы, взрывобезопасные дизелевозы). Область применения локомотивов различных уровней взрывозащиты определяется ПБ.

По сцепному весу локомотивы подразделяют на: легкие - до 50кН, средние - 50-140кН, и тяжелые свыше 140 кН.

В зависимости от условий откатки целесообразно применять локомотивы различной массы:

по вентиляционным выработкам и горизонтам и по участковым выработкам (подэтажные и этажные штреки) - локомотивы массой 7-10 т;

по выработкам основных горизонтов (горизонт околоствольного двора) - массой 14-28 т при ширине колеи рельсового пути 750 и 900 мм и 7-10 т при ширине колеи 600 мм.

Преимущества локомотивного транспорта: многофункциональность; практически неограниченная производительность, зависящая от числа локомотивов; высокая экономичность; маневренность; возможность раздельного и бесперегрузочного транспортирования по разветвленной трассе практически на неограниченные расстояния; высокий коэффициент готовности откатки.

Недостатки локомотивного транспорта: цикличность; зависимость производительности от уровня организации; ограниченность применения по углам наклона (3-4°/оо); затруднение в обеспечении безопасности работы при завышенных (более 5°/оо) профилях пути; наличие сложного аккумуляторного хозяйства при использовании аккумуляторных электровозов.

Основное внимание при создании новых локомотивов уделено: повышению скорости движения электровозов; увеличению энергоемкости аккумуляторных батарей; повышению тяговых и тормозных свойств; унификации узлов и деталей; обеспечению безопасности движения и комфортности работы машиниста.

Выбор локомотива, соответствующего категории взрывобезопасности шахт, производится па основании технико-экономического расчета по условию минимума приведенных затрат на локомотивную откатку. Производственная мощность шахты (горизонта) и расстояние транспортирования являются основными факторами, влияющими на выбор массы локомотива, а также типа и грузоподъемности откаточного сосуда.

Рудничные электровозы постоянного тока

Контактные электровозы получили наибольшее распространение на рудниках черной и цветной металлургии, аккумуляторные электровозы применяются на угольных шахтах и составляют 80% от общего числа работающих локомотивов.

Контактные электровозы работают от контактной сети постоянного тока на напряжение U=250 В. Аккумуляторные электровозы от тяговых шахтных аккумяторных батарей.

На основе анализа преимуществ и недостатков различных видов локомотивов, горно-геологических условий шахты и прогноза развития горнодобывающей промышленности определен типоразмерный ряд шахтных локомотивов по категории взрывобезопасности.

По типоразмерному ряду применялись следующие типы электровозов:

аккумуляторные АК-2У, 4,5АРП-2М, 5АРВ2М, АРП7, АРВ7, АМ-8Д, 2АМ-8Д, АРП10, АРП14, АРП28;

контактные электровозы 3КР-600, 4КР1, 7КР-1У, К10, К14, КТ14, КТ28.

В последние годы электровозы модернизировались, а также различными заводами создавались новые модели:

Александровский машзавод выпускает рудничные контактные электровозы К4, 7КРМ1, К10, К14.

Новочеркаский электровозостроительный завод: электровоз контактный шахтный КН10, электровоз контактный рудничный ЭКРА-600 (массой 3,3 т, колея 600 мм).

Ясногорский машзавод: электровозы аккумуляторные серии АРП-7 и АРВ-7, электровозы аккумуляторные серии А5,5 (масса 5,5 т, сила тяги 9-9,5 кН, исполнение РП), А8 (исполнение РП), В8 (исполнение РВ), электровозы спаренные аккумуляторные серии 2А8, 2В8.

Дружковский машзавод: электровозы аккумуляторные серии АМ8Д, 2АМ8Д, АРП-10 и АРП-14, и электровозы контактные ЭК10Т (тиристорная система управления), ЭК10Р (реостатная система управления).

2. Основные узлы устройства контактных и аккумуляторных электровозов

локомотивный электровоз подстанция тяговый

Электровоз включает в себя:

- механическое оборудование: в которое входят рама, ходовая часть, рессорное подвешивание, тормозная система, песочная система;

- пневмооборудование: состоит из компрессора с электродвигателем от которого работает пневмопривод тормозов, песочницы, пневмосигнал и токоприемник;

- электрическое оборудование, состоящее из тяговых двигателей, источника питания и пускорегулирующей аппаратуры.

Оборудование контактных и аккумуляторных электровозов принципиально одинаково, за исключением источника питания и подвода энергии.

Механическое оборудование.

Основным элементом, на котором монтируется все оборудование электровоза, является рама, состоящая из боковых и поперечных листов. Рама опирается через рессорную подвеску на буксы колесных пар электровоза. На раме с краю или в центральной части расположена кабина машиниста, а на торцах - буфера и сцепные устройства со штыревой сцепкой или автосцепкой, управляемой машинистом дистанционно из кабины электровоза.

Ходовая часть электровоза включает в себя колесные пары, состоящие из оси с жестко закрепленными на ней колесами, и буксы, в которых вращаются оси колесных пар. На оси колесной пары на подшипниках закреплен корпус редуктора, а двигатель эластично подвешен к раме электровоза.

Рессорная подвеска (рис. 1) смягчает удары при прохождении колес электровоза по стыкам рельсов и стрелочным переводам. На электровозах применяют индивидуальную и балансирную системы рессорного подвешивания. При индивидуальной подвеске рама опирается на каждую буксу через индивидуальную рессору, а при балансирной подвеске рессоры объединены между собою продольными балансирами, что обеспечивает равномерное распределение веса на все колеса электровоза. В качестве рессорной подвески применяют листовые рессоры, спиральные пружины и резинометаллические амортизаторы.

 

Рис. 1. Рессорная подвеска рамы электровоза К10: 1 - коромысло; 2 - стабилизатор; 3 и 4 - пружина соответственно внутренняя и наружная; 5 - тяга; 6 - амортизатор

Электровозы оборудованы двумя тормозными системами: электрической и механической. Основной рабочей системой является электрическое реостатное торможение. Для экстренного торможения и полной остановки применяют механическую систему (рис. 2). Наибольшее распространение получили механические системы с тормозными колодками, снабженные ручным или пневматическим приводом.

Рис. 2. Тормозная система электровоза К10: 1 - штурвал; 2 - тормозной цилиндр; 3 - передний рычаг; 4 - тормозная стяжка; 5 - задний рычаг

В тяжелых электровозах механическая тормозная система дополнительно включает рельсовый электромагнитный тормоз, представляющий собой электромагнит постоянного тока с башмаками, прижимаемыми при торможении к головке рельсов.

Песочная система предназначена для подсыпки песка под колеса на рельсы для увеличения силы сцепления и устранения буксования колес. Песочная система включает четыре бункера для песка, управляемые через систему тяг от ручного привода или от пневмосистемы.

Пневмосистемой оборудуют электровозы со сцепным весом 100 кН и более: компрессор (давление воздуха в пневмоснстеме 0,45-0,65 МПа.) которой приводится от самостоятельного электродвигателя. С помощью сжатого воздуха из песочниц подается песок на головки рельсов, осуществляется прижатие тормозных колодок в момент торможения, а также подъем и опускание токоприемника и работа пневмосигнала. Пневматическая и электрическая цепи сблокированы с дверями кабины, при открывании которых отключается питание тяговых электродвигателей, и с выдержкой 3-5 с включается пневмопривод тормозной системы.

Электрическое оборудование электровозов включает в себя тяговые двигатели постоянного тока последовательного возбуждения, контроллеры, пусковые реостаты, аппаратуру защиты и освещения. Контактные электровозы оснащены токосъемниками, а аккумуляторные - тяговыми аккумуляторными батареями.

В качестве тяговых двигателей на электровозах применяют электродвигатели постоянного тока с последовательным возбуждением, которые по сравнению с двигателями с параллельным возбуждением обладают такими преимуществами, как обеспечение автоматического регулирования скорости в зависимости от нагрузки, меньшая чувствительность к колебаниям напряжения питающей сети, больший пусковой момент и перегрузочная способность.

Основные параметры тягового двигателя определяются по его электромеханической характеристике. Номинальным режимом работы тяговых двигателей считают часовой режим, при котором допускаемая температура обмоток двигателя достигается через час его работы. Длительному режиму соответствует такой ток, при котором допускаемая температура обмоток двигателя достигается за неограниченно длительное время.

Контроллером осуществляют пуск, регулирование скорости, остановку, реверсирование и электрическое торможение.

Пусковые реостаты состоят из отдельных элементов, изготовленных из сплавов с большим удельным сопротивлением.

Управление тяговыми двигателями электровоза производят по реостатной и безреостатной схемам. Современные электровозы в основном оборудованы безреостатными системами управления с секционированием аккумуляторных батарей, а также с использованием тиристорно-импульсных преобразователей. Секционирование построено на принципе параллельного или последовательного включения равного числа элементов аккумуляторной батареи. Соответствующей комбинацией включения достигается напряжение на двигателях, равное 25, 50 и 100% от номинального. Такая схема управления по сравнению с реостатной позволяет уменьшить потери электроэнергии.

Наиболее экономична схема управления с использованием тиристорно-импульсных преобразователей, которая обеспечивает плавный пуск и регулирование скорости без потерь, повышение надежности электрооборудования за счет устранения контактной коммутационной и пускорегулирующей аппаратуры, повышение пускового тягового усилия, которое ограничивается только предельным значением коэффициента сцепления колес электровоза с рельсами.

Электрические схемы электровозов позволяют в первую половину пуска соединять тяговые двигатели последовательно, а во вторую - параллельно, что обеспечивает экономию энергии, а также две оптимальные скорости движения электровоза.

Для питания тяговых электродвигателей рудничных электровозов применяются тяговые щелочные никель-железные (ТНЖ и ТНЖШ) и никель-кадмиевые (ТНК) шахтные аккумуляторные батареи, расположенные внутри батарейного ящика с внутренним изоляционным покрытием.

Условные обозначения тягового щелочного аккумулятора (112ТНЖШ-550У5): Т - тяговый; НЖ - никель-железный, НК - никель-кадмиевый, Ш - шахтный, П - пластмассовый бак. Для рудничных электровозов тяговые батареи (аккумуляторы) имеют исполнение У и категорию размещения 5 для работы при температуре окружающей среды от минус 20°С до плюс 45°С. Цифры, стоящие перед обозначением типа аккумулятора, указывают на число последовательно соединенных элементов в батарее, а цифры после букв обозначают номинальную (пятичасовую) емкость в ампер-часах. Эта емкость гарантируется заводом-изготовителем при установленном режиме разряда до конечного напряжения 1 В при температуре элемента от 16 до 35°С. Среднеразрядное напряжение одного аккумулятора составляет 1,15 В.

3. Зарядные и тяговые подстанции, тяговая сеть

Рис.3. Схема питания контактного электровоза

Контактная сеть (рис. 3) состоит из питающего кабеля 1, контактного провода 2, рельсового пути 3 и отсасывающего кабеля 4.

Ток от выпрямителя 5 подводится к контактному проводу 2 питающими кабелями 1. Отрицательная шина выпрямительной подстанции соединяется отсасывающим кабелем 4 с рельсами 3, являющимися обратным проводом.

На угольных и рудных шахтах напряжение постоянного тока тяговой сети составляет 250 В.

Контактный провод имеет фасонную форму сечением 65, 85 и 100 мм2 и выполняется из меди. Для подвески провода применяют различные зажимы, соответственно форме сечения провода.

Высота подвески контактного провода в подземной выработке должна быть не менее 1,8 м от головки рельса. На посадочных и погрузочно-разгрузочных площадках, а также в местах пересечения выработок, по которым передвигаются люди не менее 2 м. В околоствольном дворе на участке передвижения людей контактный провод подвешивается на высоте 2,2 м.

Контактную сеть секционируют выключателями, расстояние между которыми не должно превышать 500 м.

В качестве преобразователей переменного тока в постоянный используют систему двигатель - генератор и различные типы выпрямителей. Основным типом тяговой подстанции, изготавливаемой серийно, является автоматическая тяговая подстанция (типа АТП), выполненная на кремниевых полупроводниковых выпрямителях.

Рис. 4. Контактный провод и схема его подвески: 1 - подвес; 2 - зажим; 3 - изолятор; 4 - оттяжка; 5-6 - крюки; 7 - натяжная муфта

На зарядных подстанциях производят обслуживание и зарядку аккумуляторных батарей. Зарядку аккумуляторных батарей осуществляют зарядными устройствами (типов УЗА и ЗУК) соответственно с германиевыми и кремниевыми вентилями.

Зарядные подстанции располагают в зарядных камерах, обычно объединенных с гаражом электровозов.

4. Электровозы бесконтактные переменного тока повышенной частоты

Бесконтактные электровозы переменного тока повышенной частоты предназначаются для откатки по магистральным выработкам шахт, опасных по газу или пыли, где разрешена эксплуатация локомотивов повышенной надежности.

Бесконтактный электровоз переменного тока повышенной частоты В 14 на колею 900 мм, имеет следующие основные параметры.

Техническая характеристика электровоза В 14

ПОКАЗАТЕЛИ


Масса, т …………………………………………………………………………. Параметры часового режима: скорость, км/ч …………………………………………………………………. сила тяги, Н …………………………………………………………………… Тяговый электродвигатель: тип ………………. ……………………………………………………… мощность часового режима, кВт ……………………………… номинальное напряжение, В …………………………………. ток часовой, А …………………………………………………. частота вращения при часовом режиме нагрузки, об/мин …. суммарная мощность электродвигателей, кВт …………………. Основные размеры, мм: длина………………………………………………………………………………. ширина……………………………………………………………………………. высота по приемному устройству……………………………………. Жесткая база, мм……………………………………………………………… Клиренс, мм……………………………………………………………………… Минимальный радиус вписывания, м……………………………….

14  10,5 17800  ДРТ23.5 23,5 185 148 1030 47  5600 1350 1670 1655 100 15


Электровоз В 14 выполнен с двумя постами управления, расположенными по концам машины. Кабины машиниста имеют полузакрытое исполнение. Энергоприемник образует верхнее перекрытие кабины, ветровое стекло защищает машиниста от встречного потока воздуха.

Электровоз состоит из двух составных частей: приемно-силовой и ходовой. Аппаратура приемно-силовой части (приемно-силового контура) закреплена в опорно-рамной конструкции, которая устанавливается на ходовой части и образует надрамное строение локомотива.

Ходовая часть (привод, гидравлическая тормозная и песочная системы и др.) унифицирована с аккумуляторным электровозом АРП14.

Принцип действия электровоза основан на передаче энергии от тяговой сети к локомотиву без электрического контакта за счет электромагнитной индукции. Генератор высокой частоты (5000 Гц) питает высокочастотный кабель, уложенный между рельсами или подвешенный над путями. Энергоприемник электровоза состоит из ферромагнитного сердечника и нескольких витков медных жил. Тяговая сеть и энергоприемник локомотива образуют трансформатор, первичной обмоткой которого является тяговая сеть, а вторичной-энергоприемник.

Наведенная в энергоприемнике э. д. с. высокой частоты выпрямляется кремниевыми вентилями и подводится к двигателям постоянного тока. Управление тяговыми электродвигателями, осуществляется посредством тиристорной аппаратуры типа ТЭРА.

Рис. 5. Электровоз переменного тока повышенной частоты В 14:

1 - кабина машиниста; 2 - аппаратура управления; 3 - энергоприемник; 4 - рессорное подвешивание; 5 - рама энергоприемника; 6 - ящик конденсаторов; 7 - маховик ручного тормоза; 8 - фара.

Рис. 6 Схема питания высокочастотного электровоза

- линейный изолированный кабель; 2 - высокочастотный генератор; 3 - энергоприемник; 4 - выпрямитель; 5 - тяговые электродвигатели; 6 - конденсаторы (компенсируют индуктивность сети).

Приемно-силовой контур настроен в резонанс на частоту 5000 Гц. Настройка осуществляется специальными конденсаторами КСПР - 0,5-5У5.

Тяговая линия прокладывается вдоль откаточного пути и представляет собой систему двух параллельных проводников, подвешенных в горизонтальной плоскости на высоте 1,8 м от уровня головки рельсов. Расстояние между кабелями 400 мм. Зазор в свету между кабелями тяговой лини и энергоприемником 100 м.

В качестве проводников используется специальный изолированный кабель КШСЛ90. С целью уменьшения наводок в посторонних проводниках (кабелях, трубопроводах и т.п.) проводники тяговой линии транспонируются (перекрещиваются) с одинаковым шагом (90-140 м). Для снижения высокого реактивного сопротивления в линию включаются компенсирующие конденсаторы КСПР - 0,5-5У5. Линия обтекается стабилизированным током 150 А. Ток в линии автоматически поддерживается постоянным, независимо от числа работающих электровозов и их нагрузки.

Преобразовательная подстанция служит для преобразования тока промышленной частоты 50 Гц в ток частотой 5000 Гц и комплектуется тиристорным преобразователем частоты ТПЧ250-5У5 мощностью 250 кВт. Подстанция обеспечивает стабилизацию тока в линии, имеет минимальную и максимальную токовые защиты со стороны нагрузки.

Достоинства: При одинаковой массе с аккумуляторными электровозами электровозы переменного тока повышенной частоты имеют более высокую производительность, так как снимаемое с питающей линии напряжение всегда неизменно и не зависит от расстояния между электровозом и преобразовательной подстанцией. В связи с этим их применение особо предпочтительно в выработках большой протяженности, с большими грузопотоками и завышенным профилем пути.

Преимуществами этих электровозов по сравнению с контактными являются отсутствие блуждающих токов, искрения при съеме энергии и истирания токосъемника и энергоподводящей сети, а также исключение опасности электротравматизма при случайном касании проводников питающей сети.

5. Инерционные локомотивы

Инерционные локомотивы (гировозы) предназначены для откатки вагонеток по вентиляционным выработкам сверхкатегорных шахт, а также по выработкам шахт, опасных по внезапным выбросам угля или газа или по суфлярным выделениям метана. Для движения их используется кинетическая энергия вращающегося маховика.

Гировоз Г6 представляет собой двухосную машину с рамой наружного типа. Обе колесные пары являются ведущими. Конструкция гировозов Г6 четырех типоразмеров аналогична, отличаются они только шириной колеи. Все их основные узлы за исключением рамы унифицированы и взаимозаменяемы.

В передней части рамы размещена кабина машиниста. Внутри кабины установлены сиденье машиниста, аппаратура и рукоятки управления, звонок и т.п. К торцам рамы крепятся сцепные устройства, представляющие собой буфер с пазами и штыревой сцепкой для сцепления вагонеток с гировозом. Для смягчения ударов между буферами и лобовыми листами установлены двусторонние резиновые прокладки.

В средней части рамы размещены маховик в сборе с корпусом, двухступенчатый редуктор и тормозная система.

Рис. 7 Гировоз. 1 - маховик; 2 - пневмодвигатель; 3-рукоять управления.

Для раскручивания (зарядки) маховика (массой 1,5-3т с частотой вращения 500 с-1) используется пневматический двигатель, питающийся от воздушной магистрали сжатым воздухом давлением не менее 0,4 МПа. Редуктор соединен с пневмодвигателем при помощи промежуточного вала и системы эластичных муфт. Раскручивание маховика осуществляется через зубчатую передачу от пневмодвигателя, подключаемого периодически к пневмосети, проложенной вдоль откаточной выработки. Передача энергии от вращающегося маховика к колесным парам осуществляется через многоступенчатую понижающую зубчатую и цепные передачи.

Подключение маховика во время зарядки, при движении локомотива и отключение на стоянках осуществляется конусной муфтой от рукоятки управления. Включение на режим зарядки или движения производится двумя зубчатыми муфтами, а реверсирование движения локомотива - двумя многодисковыми фрикционными муфтами.

Эксплуатационные качества гировозов в значительной степени зависят от продолжительности зарядки (число зарядок в смену составляет четыре-шесть). Продолжительность зарядки маховика до 3000 мин-1 в значительной степени зависит от давления в сети сжатого воздуха и составляет от 6 (подзарядка) до 25 мин (полная зарядка при низком давлении). Разрядка маховика ниже 25% от номинальной нерациональна, так как при этом скорость движения поезда очень небольшая и, кроме того, при глубокой разрядке маховика ухудшаются энергетические показатели последующей полной зарядки. Энергии закрученного маховика достаточно для движения состава массой 20т на расстояние до 1 км по горизонтальному пути.

Контроль за частотой вращения маховика осуществляется тахометром ТХ-1. Тахометр приводится в действие червячно-винтовой передачей, состоящей из шестизаходного червяка, закрепленного на верхнем конусе вала маховика, вал - шестерни и соединительного валика, заключенного в предохранительную втулку. Тахометр заключен в стальной кожух. Одному делению на шкале тахометра соответствует 200 об/мин маховика.

Технические характеристики гировозов Г6 Дружковского машиностроительного завода


Г6-550; Г6-575

Г6-600

Г6-900

Масса, т Сила тяги, кН Максимальная сила тяги, кН Пробег, не менее м Средняя скорость, км/ч: на первой передаче на второй передаче Максимальная частота вращения маховика, мин-1 Время зарядки гировоза при раскручивании маховика до максимальной скорости, мин Основные размеры, мм: длина по буферам ширина высота жесткая база Тип источника энергии

5,7  5,0   1,9 1,85  3000   16  3620 1020 1430 900 маховик разгоняемый пневмодвигателем 1К30МФ

5,7 2,4 11,16 1000  1,9 1,85  3000   16  3620 1020 1430 900 маховик разгоняемый пневмодвигателем 1К30МФ

5,9 2,4 11,56 1000  6,8 6,7  3000   16  3620 1030 1430 900 маховик разгоняемый пневмодвигателем 1К30МФ


Гировозы оборудованы эластичной подвеской. Подвеска безбалансирная на чегырех витых цилиндрических пружинах.

Тормозная система состоит из четырехколодочного механического тормоза с ручным (от маховика, расположенного в кабине машиниста) приводом на оба полуската. Тормозная система снабжена также храповым устройством для предотвращения самопроизвольного растормаживания на стоянках.

Для освещения пути применяются головные светильники СГД5, аккумуляторные батареи которых периодически подзаряжаются в ламповой на поверхности шахты.

Преимущества гировоза: взрывобезопасность, отсутствие преобразовательных подстанций, аккумуляторного хозяйства и контактной сети.

6. Дизелевозы

Рудничные дизелевозы изготовляются в нормальном и взрывобезопасном исполнениях и поэтому могут применяться в условиях, опасных по газу или пыли. Важными преимуществами дизелевозов перед другими подземными локомотивами являются автономность работы, отсутствие вспомогательных зарядных и преобразовательных установок, меньшая чувствительность к толчкам и перегрузкам. Однако дизелевозы конструктивно сложны и требуют квалифицированного и систематического ухода.

Дизельгидравлический шахтный напочвенный локомотив представляет собой буксирное транспортное средство, предназначенное для горизонтальной рельсовой транспортировки людей и грузов в шахтах с наличием угольной пыли и метана.

Дизелевоз состоит из трех частей: двух кабин и промежуточной секции - машинного отделения. Конструкция кабин обеспечивает водителю все удобства, хороший обзор рельсового пути, защищает его от травм и позволяет выходить в обе стороны. Обе кабины, оснащенные управляющими, контрольными и защитными приборами, можно снять при перевозке дизелевоза под землю.

Силовой единицей является четырехтактный дизельный двигатель с водяным охлаждением и косвенным впрыском топлива. Двигатель заводится с помощью пневматического стартера низкого давления. Передачу мощности от ДВС к осям ходовых колес обеспечивает гидравлическая система передачи с автоматической регулировкой мощности через взаимно соединенные механические коробки передач, расположенные на осях. Гидравлическая система передачи обеспечивает плавное трогание с места с возможностью использования максимального крутящего момента, плавное изменение выходных параметров дизелевоза при постоянных входных параметрах ДВС, выгодные динамические свойства, полную защиту ДВС от перегрузок и действенное торможение дизелевоза.

При эксплуатации дизелевозов необходимо применять устройства для очистки выхлопных газов и усиленную вентиляцию откаточных выработок. В связи с этим дизелевозы снабжаются сложными устройствами для очистки, разжижения и охлаждения выхлопных газов, а для обеспечения взрывобезопасности - искрогасителями со стороны выхлопной и всасывающей труб. Охлаждение выхлопных газов осуществляется водой, впрыскиваемой в выхлопную трубу, а очистка и обезвреживание- в промывочной камере с раствором сульфата натрия или гидрохинона, улавливающего углекислый газ и альдегиды. Наибольшую опасность представляют собой окись углерода и окислы азота. Для снижения их содержания в выхлопных газах для двигателей дизелевозов применяют бедную горючую смесь (дизелевозы работают на смеси с избытком воздуха, отношение количества воздуха по весу к количеству топлива составляет примерно 20: 1) и специальные поглотители. Установлено, что для проветривания выработок на каждый киловатт мощности двигателя дизелевоза требуется дополнительно примерно 5-6 м3/мин воздуха. Дизелевозы изготовляются со сцепным весом 30-200 кН и мощностью двигателя 5-30 кВт. В экономическом отношении дизелевозы значительно выгоднее электровозов.

Недостатки машин с дизельным приводом: конструктивая сложность, необходимость тщательного и квалифицированного ухода, загрязнение рудничной атмосферы окисью углерода и окислами азота и необходимость усиленной вентиляции откаточных выработок.

Техническая характеристика дизелевозов ЗАО «Кузбасспромсервис-М»

Показатели

Ед.изм.

DH-35 D.0

DH - 70 D.2

DH-100 D.0

Сила тяги мах

кН

19

27,2

38

кВ

26,5

53

73,5

Колея

мм

450-900

450-900

450-900

Скорость плавная

км/ч

0-18

0-18

0-18

Длина

мм

4530

5500

5900

Ширина

мм

900

980

1150

Высота от головки рельса

мм

1500

1680

1650

Масса

т

7

10

14,5


7.     
Организация, автоматизация и эксплуатация локомотивной откатки

При работе на откаточном горизонте нескольких электровозов необходимо обеспечивать равномерную подачу ими груза к околоствольному двору и порожняка к забоям. Для этого составляют график движения всех электровозов - план их согласованной работы во времени и пространстве, увязанной с работой околоствольного двора, выемочного участка и подъема.

График движения поездов строят в прямоугольных координатах для одной смены. По вертикальной оси откладывают длину пути, по горизонтальной - время. Наклонные линии обозначают движение, горизонтальные - стоянки.

Перед построением графика предварительно следует рассчитать число вагонов в поезде и число электровозов, определить скорость и продолжительность движения, длительность маневров в околоствольном дворе и на погрузочном пункте.

При расстоянии откатки более 1 км должна быть предусмотрена перевозка людей к месту работы и обратно. Для этого в графике движения в начале и в конце смены планируется необходимое число рейсов.

При движении по выработке трех и более электровозов целесообразно иметь двухпутную откатку. При работе в однопутной выработке двух электровозов необходимо устраивать разминовки.

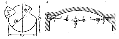
Рис. 8 График организации движения поездов

Примерный график движения электровозов, обслуживающих два участка шахты, показан на рис. 8. На каждом участке работают по два электровоза. Один штрек (западное крыло) имеет два откаточных пути, другой (восточное крыло) - один путь с разминовкойЭлектровозы №1 и №3 в первый и последний рейсы везут рабочих.

При построении графика следует иметь в виду, что в околоствольном дворе одновременно не должно находиться более двух электровозов.

Контроль за движением электровозов по графику осуществляют подземные диспетчеры шахты. Они же ведут и учет вывезенных груженых и порожних вагонов.

В распоряжении диспетчера рудника имеется система сигнализации, централизованного управления и блокировки (СЦБ), при помощи которой машинисты электровозов держат связь с диспетчером.

Устройства сигнализации обеспечивают безопасность движения составов и подачу сигналов машинистам электровозов.

Устройства централизации производят дистанционное управление сигналами (светофорами) и стрелочными переводами.

Средства блокировки осуществляют контроль за нахождением поездов в выработках и положением стрелочных переводов.

В диспетчерской имеется пульт с мнемосхемой, на которой изображены все откаточные выработки, местонахождение поездов на них и состояние светофоров. Кроме того, диспетчер постоянно поддерживает с машинистами электровозов громкоговорящую связь.

Обеспечение безотказной и безопасной работы локомотивного транспорта во многом зависит от надежной работы электровозов, что, в свою очередь, достигается организацией системы планово-предупредительных осмотров и ремонтов.

Кроме ежесменного осмотра электровоза, производимое машинистом при приеме его от машиниста, закончившего работу, необходимы также осмотры: один раз в сутки-дежурным электрослесарем; один раз в неделю-заведующим гаражом или механиком внутришахтного транспорта (ВШТ); один раз в квартал - начальником участка ВШТ.

Для всех электровозов устанавливается срок проведения капитальных ремонтов-36 мес эксплуатации (примерно 12000 ч работы). В период между капитальными ремонтами еженедельно производят ремонтные осмотры и один раз в 6 месяцев - текущие ремонты.

Ремонтные осмотры в подземном гараже производит ремонтная бригада при участии заведующего гаражом или механика участка ВШТ.

Литература

1. Демченко И.И., Васильев С.Б., Косолапов А.И. Способы и средства борьбы с налипанием и намерзанием породы на карьерных автосамосвалах: монография. ИПК СФУ. - 2008.

. Анушенков А.Н. Технология горных работ с закладкой выработанных пространств: монография. ИПК СФУ. - 2008.

. Плютов Ю.А. Оценка эффективности эксплуатации транспортных машин и комплексов на открытых горных разработках: монография. ИПК СФУ. - 2008.

. Демченко И.И., Васильев С.Б. Буровые станки для открытых горных работ: учеб. пособие. ИПК СФУ. - 2008.

. Плютов Ю.А. Транспортные машины: учеб. пособие. ИПК СФУ. - 2008.

. Демченко И.И. Специализированный подвижной состав автомобильного транспорта: учеб. пособие. ИПК СФУ. - 2010.

. Демченко И.И., Васильев С.Б. Выемочно-погрузочные машины: лаб. Практикум. ИПК СФУ. - 2011

Похожие работы на - Характеристика шахтного локомотивного транспорта

 

Не нашли материал для своей работы?
Поможем написать уникальную работу
Без плагиата!
Без нейросетей!