Монтаж внутреннего горячего водопровода. Технология дуговой сварки в среде защитных газов

  • Вид работы:
    Дипломная (ВКР)
  • Предмет:
    Строительство
  • Язык:
    Русский
    ,
    Формат файла:
    MS Word
    1,64 Мб
  • Опубликовано:
    2013-08-18
Вы можете узнать стоимость помощи в написании студенческой работы.
Помощь в написании работы, которую точно примут!

Монтаж внутреннего горячего водопровода. Технология дуговой сварки в среде защитных газов

ГОСУДАРСТВЕННОЕ ОБРАЗОВАТЕЛЬНОЕ УЧРЕЖДЕНИЕ

СРЕДНЕГО ПРОФЕССИОНАЛЬНОГО ОБРАЗОВАНИЯ

КУНГУРСКИЙ КОЛЛЕДЖ ПРОМЫШЛЕННЫХ ТЕХНОЛОГИЙ УПРАВЛЕНИЯ и ДИЗАЙНА


 







ВЫПУСКНАЯ КВАЛИФИКАЦИОННАЯ РАБОТА

Тема: Монтаж внутреннего горячего водопровода. Технология дуговой сварки в среде защитных газов


Проверил: Сидоров С.И.

Выполнил: Пичугин С.В.







г.

Содержание


Введение

Глава 1. Монтаж внутреннего горячего водопровода

1.1 Общие сведения о внутреннем водопроводе

1.1.1 Схемы внутренних сетей

.2 Системы горячего водоснабжения

.3 Схемы систем горячего водоснабжения

1.4 Арматура в системах горячего водоснабжения

1.5 Монтаж трубопроводов горячего водоснабжения

Заключение

Глава 2. Технология дуговой сварки в среде защитных газов

2.1 Дуговая сварка в защитных газах

2.1.1 Металлургия сварки в защитных газах

2.2 Сварка неплавящимся электродом в инертном газе

2.3 Сварка плавящимся электродом в инертном газе

2.4 Сварка в углекислом газе

Заключение

Список использованной литературы

Введение


С развитием строительства жилых и общественных зданий и непрерывным улучшением культурно-бытовых условий жизни все больше увеличивается потребность в горячей воде. Горячую воду расходуют на бытовые и производственные нужды. В зависимости от назначения ее потребляют в смеси с холодной водой или самостоятельно. Качество горячей воды, расходуемой на бытовые нужды, должно отвечать требованиям стандарта ГОСТ 2874-82 "Вода питьевая. Гигиенические требования и контроль за качеством". В зависимости от режима и объема потребления горячей воды на хозяйственно-питьевые нужды зданий и сооружений различного назначения следует предусматривать системы централизованного водоснабжения или местные водонагреватели.

Сварка в защитных газах - один из распространенных способов сварки плавлением. По сравнению с другими способами он имеет ряд преимуществ, из которых главные: возможность визуального, в том числе и дистанционного, наблюдения за процессом сварки; широкий диапазон рабочих параметров режима сварки в любых пространственных положениях; возможность механизации и автоматизации процесса, в том числе с применением робототехники; высокоэффективная защита расплавленного металла; возможность сварки металлов разной толщины в пределах от десятых долей до десятков миллиметров.

Целью данной дипломной работы является изучение монтажа внутреннего горячего водопровода и технология дуговой сварки в среде защитных газов. Для достижения поставленной цели необходимо решить следующие задачи:

·           Проанализировать технологию горячего водоснабжения;

·        Выделить особенности устройства систем горячего водоснабжения;

·        Проанализировать технологию дуговой сварки в защитных газах;

·        Проанализировать технологию сварки в инертном и углекислом газах.

Глава 1. Монтаж внутреннего горячего водопровода

 

1.1 Общие сведения о внутреннем водопроводе


Внутренний водопровод подразделяется в первую очередь на холодный (В) и горячий (Т) водопровод (рис. 1).

Рис.1. Классификация внутренних водопроводов

Холодные водопроводы имеют следующие разновидности:

·        В1 - хозяйственно-питьевой водопровод;

·        В2 - противопожарный водопровод;

·        В3 - производственный водопровод (общее обозначение).

Современный горячий водопровод должен иметь в здании две трубы: Т3 - подающая, Т4 - циркуляционная. Попутно отметим, что Т1-Т2 обозначаются системы отопления (теплосети), которые не относятся непосредственно к водопроводу, однако связаны с ним.

Внутренний хозяйственно-питьевой водопровод устраивают во всех жилых и общественных зданиях, имеющих канализацию, а также во всех производственных и вспомогательных зданиях, в которых предусматривается установка санитарных приборов или питьевых фонтанчиков.

В жилых и общественных зданиях можно устраивать объединенный хозяйственно-питьевой и противопожарный водопровод или два раздельных водопровода.

Производственные здания можно оборудовать: объединенными хозяйственно-питьевым, производственным и противопожарным или хозяйственно-питьевым и производственным с подачей воды питьевого качества на все нужды; объединенными хозяйственно-питьевым и противопожарным или производственным и противопожарным; раздельными системами различного назначения. Наиболее распространен объединенный хозяйственно-производственный противопожарный водопровод.

Внутренние сети хозяйственно-питьевого и производственного водопроводов, подающих воду питьевого качества, прокладывают из оцинкованных труб диаметром до 150 мм; допускается использование труб из полимерных материалов. Такие трубы не должны оказывать влияние на качество питьевой воды.

Внутренние сети производственного и противопожарного водопроводов, подающих воду питьевого качества, допускается выполнять из стальных неоцинкованных труб.

Сети внутреннего водопровода прокладывают в помещениях, температура воздуха в которых зимой выше 2° С. В том случае, если трубопровод прокладывают в помещениях с температурой воздуха ниже 2° С, необходимо предусматривать мероприятия, предохраняющие трубы от замерзания в них воды. Трубопроводы, укладываемые в помещениях с повышенной влажностью, покрывают теплоизоляцией, чтобы исключить конденсацию водяных паров на поверхности трубопроводов.

Внутренние водопроводные сети могут быть с нижней разводкой, когда магистраль прокладывается в подвале или техническом подполье, или с верхней разводкой, когда магистраль проходит под потолком верхнего этажа.

При зонном водоснабжении каждая зона имеет свои магистральные линии, которые обычно прокладываются в технических этажах.

Прокладка магистральных и разводящих сетей водопровода внутри зданий должна предусматриваться, как правило, открытой. Допускается скрытая прокладка труб в бороздах стен, шахтах; в этих случаях в местах установки арматуры и резьбовых соединений устраивают люки для осмотра и выполнения ремонта.

Чтобы обеспечить нормальную эксплуатацию, на внутреннем водопроводе устанавливают запорную арматуру вентильного типа:

·        на каждом вводе - для отключения здания;

·        на кольцевой разводящей сети - для отключения отдельных участков, ноне более чем полукольца;

·        на кольцевой сети противопожарного водопровода - для отключения не более пяти пожарных кранов на одном этаже и не более одного стояка в зданиях высотой более 50 м;

·        на кольцевой сети производственного водопровода - для обеспечения двусторонней подачи воды к агрегатам;

·        у основания пожарных стояков с количеством пожарных кранов пять и более; основания стояков хозяйственно-питьевого или производственного водопровода в зданиях в три этажа и более;

·        на ответвлениях, питающих пять и более точек;

·        на ответвлениях на каждую квартиру, на подводках к смывным бачкам, смывным кранам, водонагревательным колонкам к групповым душам и умывальникам;

·        перед наружными поливочными кранами;

·        перед приборами, аппаратами и агрегатами специального назначения;

·        на всех ответвлениях от магистральных линий водопровода.

Кроме того, на внутренних водопроводных сетях предусматривается установка поливочных кранов из расчета один кран на 60-70 м периметра здания.

1.1.1 Схемы внутренних сетей

В зависимости от напора воды во внешней водопроводной сети внутренний водопровод может иметь или не иметь в своей схеме устройства, повышающие давление воды. К таким устройствам относят водонапорные башни (резервуары, баки) или нагнетающие насосы, которые позволяют подавать воду на большую высоту, включая последние этажи многоэтажных зданий.

Системы с водонапорными резервуарами используют в случаях, когда напор воды в наружной сети недостаточен для водоснабжения самых высоких точек водоразбора. Схемы внутренних водопроводов зависят от планировки домов. Поэтому, проектируя дом, следует помнить о необходимости рационального проектирования санитарно-технического оборудования.

Наиболее рациональны санитарные узлы, которые расположены по этажам один над другим. По системам разводки магистральных трубопроводов различают схемы сетей с нижней разводкой и верхней. Они могут быть тупиковыми или кольцевыми. В жилых зданиях чаще всего применяют внутренние водопроводные сети с нижней разводкой. Схемы водопроводов с верхней разводкой применяют в зданиях промышленного и производственно-коммунального назначения.

Наиболее рациональны тупиковые схемы водопроводов. Кольцевые схемы используют там, где не допускается даже временное прекращение водоснабжения, например, в домах с противопожарными водопроводами. При сооружении кольцевых сетей бесперебойное водоснабжение водоразборных точек обеспечивается двумя и более водопроводными вводами.

1.2 Системы горячего водоснабжения


Системы горячего водоснабжения в зависимости от режима и объема потребления горячей воды для хозяйственно-бытовых нужд в зданиях различного назначения могут быть централизованные или местные.

В системах централизованного горячего водоснабжения воду приготовляют в одном центре, из которого она транспортируется по тепловым сетям к потребителям. При централизованном теплоснабжении вода в системах горячего водоснабжения подогревается в центральных (ЦТП) или индивидуальных тепловых пунктах теплоносителем, подаваемым тепловыми сетями.

Системы горячего водоснабжения при двухтрубных водяных тепловых сетях и открытых системах теплоснабжения присоединяются непосредственно к подающему и обратному трубопроводам, а при закрытых системах теплоснабжения - через водонагреватели.

Системы горячего водоснабжения при двухтрубных водяных тепловых сетях и открытых системах теплоснабжения присоединяются непосредственно к подающему и обратному трубопроводам, а при закрытых системах теплоснабжения - через водонагреватели.

В зданиях высотой более 50 м систему централизованного горячего водоснабжения разделяют по вертикали на зоны. Высота зоны определяется величиной гидростатического напора в системе хозяйственно-питьевого водопровода у санитарных приборов, которая не должна превышать 60 м вод. ст.

Системы горячего водоснабжения прокладывают с нижней разводкой трубопроводов. Верхняя разводка трубопроводов допускается для систем горячего водоснабжения с естественной циркуляцией воды, а также при разделении систем на зоны по вертикали.

В системах централизованного горячего водоснабжения, обслуживающих группу зданий, можно объединять трубопроводы водоразборных и циркуляционных стояков в секционные узлы, а также присоединять группы трубопроводов циркуляционных стояков к циркуляционному трубопроводу в одной точке.

В закрытых системах централизованного горячего водоснабжения следует предусматривать в зависимости от качества подпиточной воды мероприятия по защите трубопроводов и водонагревателей от коррозии и накипеобразования.

Системы местного горячего водоснабжения устраивают для зданий и сооружений при отсутствии централизованного теплоснабжения, а также для объектов, удаленных от источников централизованного теплоснабжения.

Воду в системах местного горячего водоснабжения подогревают в паровых, водяных и газовых водонагревателях.

Температура горячей воды в местах водоразбора должна быть:

·        не ниже 60° С-для систем централизованного горячего водоснабжения, присоединяемых к открытым системам водоснабжения;

·        не ниже 50° С - для систем централизованного горячего водоснабжения, присоединяемых к закрытым системам теплоснабжения;

·        не ниже 60° С - для систем местного горячего водоснабжения.

1.3 Схемы систем горячего водоснабжения


Принципиальная схема системы горячего водоснабжения включает в себя установку для нагревания холодной воды до температуры не выше 75° С и сети разводящих трубопроводов. Для этой цели используют скоростные проточные водонагреватели. В таких водонагревателях вода протекает со значительной скоростью через нагревательные трубки, которые в свою очередь подогреваются водой из теплосети, проходящей внутри корпуса водонагревателя и омывающей их.

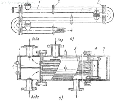
При приготовлении горячей воды в ЦТП по закрытой схеме используют скоростные водонагреватели OCT 34-588-68 (теплоноситель -вода), OCT 34-531-68 и OCT 34-532-68 (теплоноситель - пар).

Рис. 2. Скоростные водонагреватели: а -секционный ОСТ-34-588-68, б-паровой; 1 - корпус, 2- линзовый компенсатор, 3 - решетка, 4 - латунные трубки, 5 - трубная система, 6 - задняя водяная камера, 7 - колпак, 8 - передняя водяная камера

Водонагреватели ОСТ 34-588-68 (рис. 2, а) рассчитаны на давление 1 МПа и температуру теплоносителя 150° С. Выпускают их отдельными секциями наружным диаметром от 57 до 325 мм с поверхностью нагрева каждой секции от 0,37 до 28 м2. Требуемая поверхность нагрева водонагревателя комплектуется из однотипных секций, соединяемых между собой калачами. Секция состоит из корпуса 1 с приваренными к ней стальными трубными решетками 3 и пучка латунных трубок 4 диаметром 16X1 мм. К корпусу приварены патрубки с фланцами для соединения секций в межтрубном пространстве. Горячая вода из теплосети направляется в межтрубное пространство, а нагреваемая вода перемещается по трубкам водонагревателя.

Паровые водонагреватели (ОСТ 34-531-68 и ОСТ 34-532-68) (рис. 2, 6) предназначены для подогрева воды паром в системах отопления и горячего водоснабжения. Максимальное рабочее давление пара 1 МПа. Водонагреватели выпускают двухходовые (ОСТ 34-531-68) и четырехходовые (ОСТ 34-532-68), Поверхность нагрева может быть от 6,3 до 224 м2.

Водонагреватель состоит из корпуса 1, трубной системы 5, передней 8 и задней 6 водяных камер. В трубную систему входят стальные решетки и пучок латунных трубок диаметром 16X1 мм. Нагреваемая вода поступает через нижний патрубок передней входной камеры, проходит по латунным трубкам, подогревается и через верхний патрубок уходит в сеть. Пар, подогревающий воду, поступает в межтрубное пространство.

Нагретая в водонагревателе вода по подающему трубопроводу поступает в систему горячего водоснабжения, из которой потребители используют ее для бытовых и производственных целей. Взятая из системы вода пополняется из водопровода.

Для подогрева остывшей в системе воды прокладывается циркуляционный трубопровод, который соединяет систему горячего водоснабжения с водонагревателем.

Чтобы поддерживать постоянный расход воды, поступающей из тепловой сети, устанавливают регулятор расхода, а на трубопроводе, подающем холодную воду в водонагреватель, - водомер, который учитывает расход воды. На узле управления у водонагревателей монтируют задвижки для отключения трубопровода системы горячего водоснабжения и отопления и отдельных частей узла. Давление и температуру воды в отдельных точках узла управления измеряют манометрами и термометрами.

В зависимости от назначения системы горячего водоснабжения выполняют с двухтрубными стояками, один из которых циркуляционный, и однотрубными. Двухтрубные системы горячего водоснабжения с циркуляционными стояками (рис. 3) применяют там, где не допускается остывание воды в трубах, например в многоэтажных жилых зданиях, гостиницах, больницах и других зданиях.

Рис. 3. Двухтрубная система горячего водоснабжения с циркуляционными, стояками

Рис. 4. Однотрубная схема горячего водоснабжения: 1 -диафрагма, 2-пробковый кран, 3 - подающая транзитная магистраль, 4 - циркуляционная транзитная магистраль

В однотрубных системах централизованного горячего водоснабжения, используемых в жилых домах (рис. 4), стояки в пределах одной секции вверху соединяются между собой, причем все стояки, кроме одного, присоединяются к подающей магистрали 3, а один холостой стояк - к циркуляционной магистрали 4. Чтобы обеспечить равномерную циркуляцию воды в системах горячего водоснабжения зданий, присоединяемых к одному центральному тепловому пункту, на холостом стояке устанавливают диафрагму.

Для лучшего водораспределения к отдельным точкам потребления воды, а также в целях сохранения одинаковых диаметров по всей высоте здания в однотрубных системах горячего водоснабжения стояки закольцовывают. При кольцевой схеме для зданий высотой до 5 этажей включительно диаметры стояков принимают 25 мм, а для зданий от 6 этажей и выше - диаметром 32 мм. Температурные удлинения в стояках систем горячего водоснабжения зданий повышенной этажности компенсируются за счет установки одновитковых полотенцесушителей, а в.-двухтрубных системах горячего водоснабжения за счет установки на стояках П-образных компенсаторов.

Полотенцесушители из оцинкованных труб присоединяются к системе горячего водоснабжения по проточной схеме. Трубопроводы горячего водоснабжения, в целях предохранения от коррозии, следует выполнять из стальных оцинкованных труб.

Для обеспечения воздухоудаления из системы трубы прокладывают с уклоном к вводу не менее 0,002. В системах с нижней разводкой воздух удаляют через верхний водоразборный кран. При верхней разводке воздух удаляется через автоматические воздухоотводчики, устанавливаемые в верхних точках систем.

1.4 Арматура в системах горячего водоснабжения


В системах горячего водоснабжения для смешения горячей и холодной воды используют различные смесители, предназначенные для умывальников, моек, ванн и душевых кабин. Выпускают также комбинированные смесители, которые подают воду к умывальнику и ванне, и смесители, имеющие специальное назначение. Запорный орган смесителей, применяемых в системах горячего водоснабжения, вентильного типа. В качестве уплотнительных прокладок и сальниковой набивки используют теплостойкую резину, фибру или другие термостойкие материалы, разрешенные к применению для этих целей санитарно - эпидемиологической службой. По конструкции смесители изготовляют настольные, устанавливаемые непосредственно на умывальниках и мойках, и настенные, устанавливаемые на стене, над бортом умывальника или мойки.

 

Рис. 5. Смесители для умывальников: а -настольный с верхней камерой смешения, б -настенный с верхним наливом; 1 - излив, 2- сетка, 3- сальниковая втулка, 4- сальниковая набивка, 5 -шпиндель, 6 - крышка корпуса, 7 - корпус крана, S - клапан, 9, II - прокладки, 10 - седло, 12 - шайба, 13 - гайка, 14 - гайка накидная, IS - втулка,, 16 - тройник, 17 - гайка конусная, 18 - втулка упорная

Настольный смеситель с верхней камерой смешения и высоким изливом воды (рис. 5, а) устанавливают непосредственно на умывальнике. Настенный смеситель с верхним изливом (рис. 5, 6) крепится на стене над умывальником.

На рис. 6, а показан настольный смеситель для мойки с верхней камерой смешения воды, а на рис. 6, б - настенный смеситель для мойки с верхним изливом воды.

Рис. 6. Смесители для моек: а-настольный с верхней камерой смешения, б - настенный с верхним изливом

Смеситель для ванн со стационарной душевой трубкой и сеткой (рис. 7) вместо стационарной трубки может комплектоваться гибким шлангом с душевой сеткой.

Рис. 7. Смесители для ванн со стационарной душевой трубкой и сеткой

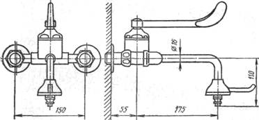
Общий смеситель для ванны и умывальника со стационарным душевым устройством (рис. 8) состоит из смесителя с корпусом, имеющим камеру смешивания, двух вентилей 3, поворотного носика излива 4 длиной 320 мм, двух отступов 5 диаметром 15 мм со штуцерами для подключения к трубопроводам горячей и холодной воды, пробкового крана с рукояткой 2 для переключения смешанной воды на излив в ванну или душ. Расстояние между штуцерами смесителя равно 150 мм.

Рис. 8. Общий смеситель для ванн и умывальников со стационарным душевым устройством: 1 - смеситель, 2 - рукоятка, 3 - вентиль, 4- поворотный носик излива, 5 - отпуск, 6 - подающая труба с сеткой

С помощью отступов 5 это расстояние можно изменить на ± 6лш.

Смеситель для душа с душевой трубкой и сеткой (рис. 9) устанавливают с открытыми подводками к нему трубопроводов горячей и холодной воды.

Рис. 9. Смеситель для душа с душевой трубкой и сеткой

Конструкция настенного локтевого смесителя для медицинского умывальника (рис. 10) должна обеспечивать поступление холодной воды до поступления горячей. Открывается и закрывается смеситель путем поворота локтем рычага ручки.

Рис. 10. Смеситель для медицинского умывальника

Термостатический смеситель (рис. 11) - автоматическое устройство для поддержания постоянной температуры горячей воды на водоразборе в пределах от 10 до 50° С.

Рис. 11. Термостатический смеситель: 1 - корпус, 2 - золотник, 3 - смесительная втулка, 4 - фильтр, 5 - обратный клапан, 6 - установочная головка, 7 - термопатрон

На подачу воды необходимой температуры смеситель настраивают установочной головкой 6. Чувствительный элемент термосмесителя - биметаллическая пружина, один конец которой связан с вращающимся трубчатым золотником 2.

Горячая и холодная вода смешиваются в приборе следующим образом. Горячая и холодная вода с разных сторон одновременно через фильтры 4 поступает в распределительные кольцевые камеры корпуса 1. Из камер через щелевые окна, расположенные по окружности смесительной втулки 3, горячая и холодная вода подходит к окнам золотника 2 и через них попадает во внутреннюю трубчатую часть, где она смешивается.

Смешанная вода по каналу золотника 2 поднимается вверх и вытекает в верхней части корпуса 1 выше термочувствительного элемента термопатрона 7. Затем смешанная вода поступает вниз, проходит через, кольцевые зазоры спиральной биметаллической пружины чувствительного элемента термопатрона 7 и, омывая его, уходит в нижнюю часть корпуса, из которого через сливное отверстие поступает к месту разбора. При омывании смешанной водой термочувствительного элемента спиральная биметаллическая пружина закручивается или раскручивается в зависимости от температуры воды. Это действие передается золотнику 2, связанному с чувствительным элементом термопатрона 7.

Золотник при вращении в ту или иную сторону изменяет степень открытия щелевых окон и обеспечивает необходимую дозировку горячей и холодной воды.

В тех случаях, когда прекращается подача холодной воды в смеситель, термопатрон будет омываться только горячей водой. При этом окна золотника перекрываются и подача воды из смесителя прекращается. Чтобы не было поступления горячей воды в систему холодного водопровода или наоборот, на подводках к смесителю устанавливают обратные клапаны 5.

При избыточном давлении в городской водопроводной сети, а также в многоэтажных зданиях для снижения давления и уменьшения непроизводительных потерь воды на вводах водопровода устанавливают регуляторы давления прямого действия "после себя".

Рис. 12. Регулятор температуры системы "Мосэнерго": 1 - холодильник, 2 - вентиль, 3 - подающий трубопровод, 4 - фильтр, 5, 9 - трубопроводы исполнительной связи, 6 - дроссельная шайба, 7 - манометр, 8 - крестовина, 10 - дренажная воронка, 1/ - термореле ТРБ-2, 12 - трубопровод горячего водоснабжения, 13 - сильфон, 14 - корпус клапана, 15 - золотник, 16 - пружина, 17 - регулировочный маховик, 18 - трубопровод холодной воды

Регулятор температуры системы "Мосэнерго" (рис. 12) автоматически регулирует температуру воды в системе горячего водоснабжения.

Регулятор поддерживает температуру воды на выходе из I ступени водонагревателя в пределах 60-65° С путем изменения расхода теплоносителя во II ступени водонагревателя. Регулирование температуры в системах горячего водоснабжения в пределах до 70° С имеет большое значение, так как при более высокой температуре из воды бурно выделяется кислород, который вызывает коррозию труб.

Регулятор температуры системы "Мосэнерго" работает следующим образом. Если температура воды понизится менее 60° С, биметаллические пластинки термореле разгибаются и прикрывают слив воды из сопла. При этом давление воды в системе и надсильфонной камере увеличится, вследствие чего усилие, действующее на днище сильфона 13, будет направлено в ту же сторону, что и сила натяжения пружины 16. В этом случае золотник 15 клапана увеличит проходное сечение и пропустит больше греющей воды во II ступень водоподогревателя. В результате температура воды горячего водоснабжения повысится и биметаллические пластинки термореле начнут открывать клапан, увеличивая слив рабочей воды из сопла. При этом давление рабочей воды в системе понизится, усилие, действующее на днище сильфона, уменьшится, и золотник 15 клапана уменьшит пропуск греющей воды.

1.5 Монтаж трубопроводов горячего водоснабжения


Трубопроводы горячего водоснабжения собирают из узлов и деталей, заготовленных на монтажных заводах.

Магистральные трубопроводы, разводящие участки сети и подводки к приборам, чтобы можно было спустить воду из них, прокладывают с уклоном от 0,002 до 0,005. Уклон разводящих участков должен быть в сторону стояков или водоразборных точек. В низших токах сети устанавливают спускные устройства.

Трубы систем горячего водоснабжения располагают справа от стояков холодного водоснабжения. Горизонтальную разводку трубопровода от стояков к приборам прокладывают у пола над трубопроводами холодной воды.

Системы горячего водоснабжения монтируют из стальных оцинкованных труб диаметром до 150 мм и из стальных неоцинкованных электросварных труб диаметром более 150 м. Оцинкованные трубы соединяют на резьбе с помощью стальных или чугунных фасонных частей. Допускается электросварка оцинкованных труб в среде углекислого газа. Стальные неоцинкованные трубы соединяются на сварке.

Задвижки устанавливают на трубах диаметром 50 мм и более. Запорную арматуру в системах горячего водоснабжения монтируют: на ответвлениях трубопровода к секционным узлам водоразборных стояков и к отдельным зданиям и сооружениям; на ответвлениях трубопровода в каждую квартиру или помещение, в котором установлена водоразборная арматура; у оснований подающих и циркуляционных стояков в зданиях и сооружениях высотой 3 этажа и более.

Обратные клапаны в системах горячего водоснабжения устанавливают: на участках трубопроводов, подающих воду к групповым смесителям; на циркуляционном трубопроводе перед присоединением его к водонагревателям; на ответвлениях от обратного трубопровода тепловой сети к терморегулятору и на циркуляционном трубопроводе перед присоединением его к обратному трубопроводу тепловой сети с непосредственным водоразбором.

В системах горячего водоснабжения устраивают тепловую изоляцию подающих и циркуляционных трубопроводов, включая и стояки, кроме подводок к водоразборным приборам. Допускается не делать изоляцию для стояков, прокладываемых открыто в отапливаемых помещениях.

Водонагреватели горизонтального типа устанавливают на металлическом каркасе или на кирпичных столбиках с подъемом в сторону верхнего штуцера на 10-15 мм. Между водонагревателем и кирпичными опорами прокладывают асбестовый картон толщиной 5 мм для того, чтобы металл в местах соприкосновения с кирпичной кладкой не ржавел и водонагреватель при нагревании мог свободно удлиняться, не разрушая кладку столбиков. На водонагревателе устанавливают термометр и предохранительный клапан.

При тепловом испытании системы горячего водоснабжения воду нагревают до нужной температуры и проверяют работу системы при определенном количестве действующих приборов. Отклонение температуры по сравнению с расчетной не должно превышать 5° С.

Теплообменники испытывают гидравлическим давлением, превышающим в 1,5 раза наибольшее рабочее давление, но не менее 0,3 МПа для паровой части и не меч нее 0,4 МПа для водяной части. При испытании в течение 5 мин давление не должно падать.

После проверки и испытания системы горячего водоснабжения для уменьшения потерь тепла теплообменники и трубопроводы горячего водоснабжения изолируют.

Заключение


Горячее водоснабжение предназначено для удовлетворения гигиенических (умывание, купание) и бытовых (стирка, мойка посуды и т. п.) нужд населения в воде с повышенной (до 75°C) температурой. Такой водой, называемой "бытовой", снабжаются здания с проживанием людей (жилые здания, общежития, гостиницы), большинство общественно-коммунальных зданий (больницы, поликлиники, бани, прачечные, детские учреждения, предприятия общественного питания и т. п.), а также промышленные здания и сооружения с технологическим и гигиеническим (в бытовках) потреблением горячей воды. В наиболее простом виде местная система горячего водоснабжения состоит из водоподогревательной установки и трубопроводов для транспортирования горячей воды к водоразборным приборам.

Системы горячего водоснабжения бывают:

·       централизованные. Одна подогревательная установка обслуживает как минимум одно здание, а во многих случаях даже несколько зданий в пределах одного квартала (микрорайона) или поселка.

·        децентрализованные. Приготовление горячей воды происходит вблизи водоразборных приборов (на месте потребления) и осуществляется мелкими генераторами тепла: газовыми нагревателями, дровяными колонками и т. п.

Для нагрева воды в бытовых условиях и для устранения летнего перебоя подачи горячей воды существуют следующие приборы:

·       Накопительный водонагреватель (бойлер);

·        Проточный водонагреватель;

·        Газовая колонка;

·        Полотенцесушители.

Глава 2. Технология дуговой сварки в среде защитных газов

 

2.1 Дуговая сварка в защитных газах


Дуговая сварка в защитных газах имеет высокую производительность, легко поддается автоматизации и позволяет выполнять соединение металлов без применения электродных покрытий и флюсов. Этот способ сварки нашел широкое применение при изготовлении конструкций из сталей, цветных металлов и их сплавов. Классификация способов дуговой сварки в защитных газах приведена на рисунке.

Рис. 13. Классификация видов дуговой сварки в защитных газах

Дуговая сварка в защитных газах может быть выполнена плавящимся и неплавящимся (вольфрамовым) электродами. Для защиты зоны сварки используют инертные газы гелий и аргон, а иногда активные газы - азот, водород и углекислый газ. Применяют также смеси отдельных газов в различных пропорциях. Такая газовая защита оттесняет от зоны сварки окружающий воздух. При сварке в монтажных условиях или в условиях, когда возможно сдувание газовой защиты, используют дополнительные защитные устройства. Эффективность газовой защиты зоны сварки зависит от типа свариваемого соединения и скорости сварки. На защиту влияет также размер сопла, расход защитного газа и расстояние от сопла до изделия (оно должно быть 5- 40 мм).

Преимущества сварки в защитных газах следующие:

·       нет необходимости применять флюсы или покрытия, следовательно, не требуется очищать швы от шлака;

·        высокая производительность и степень концентрации тепла источника позволяют значительно сократить зону структурных превращений;

·        незначительное взаимодействие металла шва с кислородом и азотом воздуха;

·        простота наблюдения за процессом сварки;

·        возможность механизации и автоматизации процессов.

Иногда применяют двойную защиту сварочной дуги (комбинированную). Надежность защиты зоны сварочной дуги зависит от теплофизических свойств и расхода газа, а также от конструктивных особенностей горелки и режима сварки. Подаваемые в зону сварочной дуги защитные газы влияют на устойчивость дугового разряда, расплавление электродного металла и характер его переноса. Размер капель электродного металла уменьшается с увеличением сварочного тока, а увеличение глубины проплавления с увеличением сварочного тока связано с более интенсивным вытеснением жидкого металла из-под электрода вследствие давления сварочной дуги.

При сварке плавящимся электродом дуга горит между изделием и расплавляемой сварочной проволокой, подаваемой в зону сварки.

По сварке неплавящимся электродом (вольфрамовые прутки) сварочная дуга может быть прямого или косвенного действия. Разновидностью сварочной дуги косвенного действия может быть дуга, горящая между вольфрамом, и беспрерывно подаваемой в зону дуги сварочной проволокой.

Защитное свойство струи инертного газа зависит от чистоты газа, параметров струи и режима сварки. Одним из наглядных способов оценки защитных свойств является определение диаметра зоны катодного распыления при возбуждении дуги переменного тока между вольфрамовым электродом и свариваемым металлом. В период, когда катодом является свариваемый металл, происходит вырывание частиц металла с поверхности сварочной ванны и соседних зон относительно холодного металла.

Степень катодного распыления зависит главным образом от массы положительных ионов, которые в процессе сварки бомбардируют катод. Например, в среде аргона наблюдается более интенсивное катодное распыление, чем в среде гелия. По убывающей склонности к катодному распылению металлы располагают в следующем порядке: Мg, Аl, Si, Zn, W, Fe, Ni, Рt, Сu, Вi, Sn, Sb, Рb, Аg, Cd.

Сварочную дугу в защитных газах можно классифицировать по следующим основным признакам:

·       применяемому для защиты зоны сварки газу - активному или нейтральному;

·        способу защиты зоны сварки - одиночным газом, смесью газов или комбинированным;

·        применяемому для сварки электроду - плавящемуся или неплавящемуся;

·        применяемому току - постоянному или переменному.

 

2.1.1 Металлургия сварки в защитных газах

Газы по защитному свойству расплавленного металла сварочной ванны от воздействия азота и кислорода воздуха подразделяются на инертные и активные.

К инертным газам относятся аргон и гелий, которые практически не взаимодействуют с расплавленным металлом сварочной ванны.

К активным газам относятся углекислый газ, азот, водород и кислород.

Активные газы по своему химическому взаимодействию с расплавленным металлом сварочной ванны могут быть нейтральными и реагирующими. Например, азот по отношению к меди является нейтральным газом, т. е. не образует с медью никаких химических соединений. Активные газы и продукты их распада в процессе дугового разряда, т. е. во время сварки, могут соединяться с расплавленным металлом сварочной ванны и растворяться в нем, из-за чего резко снижаются механические свойства сварного шва, а его химический состав не будет соответствовать установленным требованиям стандартов. Однако следует отметить, что некоторые растворимые в металле активные газы не всегда бывают вредными примесями.

Например, азот в углеродистых сталях является вредной примесью (образуются нитриды), из-за чего резко снижаются механические свойства сварного шва и стойкость к старению, тогда как в сталях аустенитного класса азот является полезной добавкой. При аргонодуговой сварке углеродистых сталей для поддува можно применять не только аргон или углекислый газ, но и азот, если в сварочную ванну будут введены элементы-раскислители в виде кремния и марганца. Поэтому выбор газа и присадочного материала должны обеспечивать заданные механические свойства, химический состав и структуру сварного шва. При сварке в защитной среде инертных газов расплавленный металл сварочной ванны изолирован от воздействия кислорода и азота воздуха; поэтому металлургические процессы могут происходить между элементами, содержащимися только в расплавленном металле сварочной ванны.

Так, например, если в сварочной ванне содержится некоторое количество кислорода в виде закиси железа РеО, то при наличии достаточного количества углерода будет образовываться нерастворимая в металле окись углерода [C] + [O] = CO.

Вследствие того, что расплавленный металл сварочной ванны кристаллизуется, а газ выйти не успевает, то в нем будут образовываться поры.

Расплавленный металл сварочной ванны может насыщаться кислородом, находящимся в инертном газе, в виде Свободного кислорода и паров воды. Поэтому для подавления реакции окисления углерода в период кристаллизации расплавленного металла сварного шва в сварочную ванну через присадочный материал должны быть введены элементы-раскислители в виде кремния и марганца. При сварке легированных сталей, имеющих в своем составе необходимое количество раскислителей, реакция образования окиси углерода подавляется. Таким образом, при сварке в защитных газах для подавления образования окиси углерода, способной образовывать поры в сварном шве и устранения азотирования сварного шва, необходимо в сварочную ванну ввести элементы-раскислители.

При сварке в защитной среде углекислого газа последний, защищая расплавленный металл сварочной ванны от кислорода и азота воздуха, сам в свою очередь, разлагаясь в дуговом разряде, является окислителем металла


где FеО - закись железа, растворяющаяся в железе.

Таким образом, как и при сварке в защитной среде инертных газов, в этом случае образуется окись углерода, которая в процессе кристаллизации металла сварочной ванны создает в нем поры. Для подавления образования окиси углерода (СО) через присадочную проволоку в расплавленный металл сварочной ванны вводятся элементы-раскислители - кремний и марганец.

2.2 Сварка неплавящимся электродом в инертном газе

Стабильность процесса зависит от стойкости неплавящегося электрода. Первоначально применяли электроды из чистого вольфрама, однако их стойкость сравнительно мала. Поэтому были разработаны электроды, содержащие определенные добавки для повышения стойкости: 1,5-2 % окиси тория, 1-2 % окиси лантана, 1,5-2,3 % окиси иттрия.

В 60-е гг. прошлого столетия были проведены работы, определившие основные направления увеличения производительности сварки неплавящимися электродами.

В основе их лежат методы, повышающие тепловое и силовое воздействие дуги на основной металл. Среди наиболее эффективных вариантов решения этой проблемы можно выделить следующие:

·       сжатие дугового промежутка;

·        сосредоточение теплового воздействия во времени;

·       заглубление дуги в сварочную ванну;

·        уменьшение размеров активного пятна на поверхности изделия без изменения мощности дуги.

Практическая реализация этих решений привела не только к изменению техники данного вида сварки, но и к созданию новых сварочных материалов, оборудования и способов соединения металлов. Принудительное обжатие столба дуги подающимся под давлением газом приводит к повышению концентрации его тепловой энергии.

В результате теплообмена с дугой газ нагревается, ионизируется и истекает из сопла в виде плазменной струи. Совершенствование этого процесса привело к разработке нового способа - плазменной сварки и резки. При сварке тонкостенных конструкций необходимо иметь возможность регулировать тепловложение в металл для обеспечения качественного соединения. В частности, эту задачу удалось решить путем применения импульсно-дуговой сварки, которая разработана в 1961 г. в нашей стране.

Стабильность процесса и равномерное формирование шва обеспечиваются специально разработанной системой поддержания горения дуги. Она заключается в том, что в промежутках между импульсами рабочей дуги поддерживается дежурная маломощная дуга. Ток дуги пульсирует от минимума во время паузы до максимума во время импульса. При импульсно-дуговой сварке шов получается путем расплавления отдельных точек с заданным перекрытием. За счет регулирования соотношения между токами импульса и дежурной дуги можно изменять усадочные явления и улучшить качество формирования шва.

При аргонно-дуговой сварке ряда металлов (титана, ниобия, молибдена, нержавеющих сталей) улучшение технологических характеристик источника нагрева достигается за счет применения бескислородных флюсов и паст, содержащих галоидные соли щелочных металлов. Подобные флюсы ограничивают активное пятно, в результате чего увеличивается сосредоточенность теплового потока, повышается эффективность нагрева, снижается погонная энергия и резко уменьшается коэффициент формы шва.

Большое значение в развитии сварки в защитном газе имела разработка способов автоматической сварки неповоротных стыков труб. При сварке вольфрамовым электродом обеспечивается равномерное проплавление и формирование шва. Наиболее часто автоматическая сварка неповоротных стыков труб применяется при соединении труб диаметром от 8 до 220 мм. Современное оборудование для сварки неповоротных стыков труб (орбитальной сварки) позволяет программировать режим сварки.

 

2.3 Сварка плавящимся электродом в инертном газе


Сварка плавящимся электродом в инертном газе применяется для соединения цветных металлов, титановых сплавов, нержавеющих и жаропрочных сталей и сплавов.

Применение и совершенствование этого способа сварки основаны на знании закономерностей металлургических процессов и физики дуги. В частности, была установлена связь между режимом переноса металла и формой проплавления изделия, роль электродинамических сил. При изготовлении конструкций из цветных металлов и нержавеющих сталей сварка ведется на повышенных режимах по току, обеспечивающих струйный перенос металла. Сварка в этом случае отличается высокой стабильностью и качеством шва.

Однако сварку плавящимся электродом в инертном газе можно вести только в нижнем положении. Для выполнения сварки в других пространственных положениях используют импульсно-дуговую сварку. Разработаны различные ее варианты, позволяющие регулировать продолжительность горения дуги и паузы.

Для изменения характеристик процесса сварки плавящимся электродом в инертном газе разработаны и применяются различные схемы его ведения:

·       введение в дуговой промежуток веществ, понижающих или повышающих эффективный потенциал ионизации;

·        изменение давления и состава газа;

·        наложение на электрод, дугу или сварочную ванну магнитных полей разной конфигурации;

·        механические колебания электрода вдоль или поперек оси движения.

Все эти меры позволяют уменьшить разбрызгивание, влиять на процессы кристаллизации, изменять форму провара, улучшить формирование шва при выполнении как стыковых, так и угловых соединений.

2.4 Сварка в углекислом газе


При высокой температуре углекислый газ разлагается на окись углерода и кислород. В целом такая среда является окислительной по отношению к большинству компонентов металлов. Поэтому углекислый газ, защищая расплавленный металл от взаимодействия с воздухом, не может исключить окисление его компонентов. Сведение к минимуму влияния окислительных свойств газовой фазы на состав металла шва и его формирование является основной задачей, решение которой позволило осуществить промышленное применение данного способа сварки. Первоначально эта задача решалась путем применения угольного неплавящегося электрода для сварки низкоуглеродистых сталей.

Как показали исследования, проведенные в ИЭС им. Е.О. Патона, при сварке низкоуглеродистой стали на постоянном токе прямой полярности происходит незначительное выгорание углерода, что обеспечивает близость химического состава и свойств металла шва к полученному аргонно-дуговой сваркой. Это и ряд других сварочно-технологических характеристик позволили очертить первоначальную область применения этого способа сварки: тонкостенные изделия или трубы малого диаметра.

В основном применялась сварка с отбортовкой кромок или стыковых швов. Во всех этих случаях сварка тонкого металла угольной дугой обеспечивала удовлетворительное формирование шва в любом пространственном положении, так как объем жидкой ванны мал. Изучение металлургических процессов позволило распространить сварку угольным электродом в углекислом газе на нержавеющие стали и комбинированные соединения (низкоуглеродистая сталь + высоколегированный сплав).

Сотрудниками ЦНИИТМАШ в середине 50-х гг. ХХ в. были разработаны технологические рекомендации по сварке в углекислом газе проволоками диаметром 1,6-2,5 мм углеродистых, нержавеющих и ряда конструкционных сталей. Новый способ сварки обеспечивал более высокую производительность по сравнению с ручной дуговой сваркой, но мог быть использован только для выполнения швов в нижнем положении металла средних и больших толщин.

В это же время в Институте электросварки при непосредственном участии Б.Е. Патона был разработан процесс сварки в СО2 тонкой проволокой диаметром 0,5-1,2 мм, протекающий с принудительными короткими замыканиями. По своей физической природе данный процесс является импульсно-дуговым.

Данный вариант сварки применяется для соединения углеродистых и нержавеющих сталей малых толщин, выполнения швов, расположенных в вертикальном, горизонтальном и потолочном положении.

Для реализации этих способов разработана специальная аппаратура для автоматической и полуавтоматической сварки. Полуавтоматическая сварка в СО2 отличается большой маневренностью, простотой поддержания стабильного режима и техники выполнения швов.

В то же время при использовании серийной проволоки Св-08Г2С процесс сварки сопровождался разбрызгиванием до 15%. Исследованиями российских ученых установлено, что потери на разбрызгивание существенно зависят от соотношения между напряжением и током сварки, чистоты поверхности проволоки, магнитного дутья, динамических свойств источника питания, техники выполнения сварки и квалификации сварщика.

Одним из путей уменьшения разбрызгивания при сварке в углекислом газе является введение в дугу ряда веществ: солей щелочных и щелочноземельных металлов, оксидов титана, легирующих элементов. Наиболее широкое распространение получил способ введения различных веществ в дугу при сварке в углекислом газе за счет использования порошковой проволоки. Основу шихты порошковых проволок, используемых для сварки в СО2, составляют шлакообразующие, раскислители и легирующие. Наиболее широкое применение нашли рутиловые и рутил-флюоритные порошковые проволоки.

 

Заключение


За последнее время было введено несколько новых технологий в процесс дуговой сварки в среде защитных газов. Большинство из этих нововведений направлены на упрощение процесса и снижение затрат на сварку.

Сварка в среде защитных газов применяется в довольно специфических случаях, например, для соединения различных сортов стали и цветных металлов. Но стоит учитывать, что для дуговой сварки в среде защитных газов требуется специальное оборудование, и проводить процесс должен только опытный мастер, который знает, что делать в случае, если что-то пойдет не так. Несмотря на то, что вероятность этого ничтожно мала, не стоит упускать и этот случай.

В качестве защитных газов для дуговой сварки применяют такие газы, как аргон, углекислый газ, гелий, кислород, водород, азот, а также различные смеси газов. Смеси газов для дуговой сварки в среде защитных газов должны соответствовать стандарту ТУ 14-1-2079-77.

Сам процесс сварки может проводиться различными способами:

·       сварка постоянной дугой;

·        импульсной дугой;

·        плавящимся электродом;

·        неплавящимся электродом.

Самый распространенный из этих методов - это сварка при помощи электродов, как плавящихся, так и неплавящихся.

Список использованной литературы

водопровод дуговой сварка электрод

1.     Барановский В. А. Слесарь-сантехник. Изд.: Феникс, 2010. - 384 с.

2.      Белоконев Е. Н. Водоотведение и водоснабжение. Изд.: Феникс, 2009. - 384 с.

.        Казакова Ю. В. Сварка и резка материалов. Изд.: Академия, 2009. - 400 с.

.        Квитка Л. А. Сварка и сантехнические работы своими силами. Изд.: Сталкер, 2006. - 288 с.

.        Костенко Е.М. Устройство и монтаж санитарно-технических систем зданий. Изд.: НЦ ЭНАС, 2007. - 216 с.

.        Мустафин Ф.М. Сварка трубопроводов. Изд.: Недра-Бизнесцентр, 2002. - 350 с.

.        Овчинников В. В. Электросварщик ручной сварки (дуговая сварка в защитных газах). Изд.: Академия, 2009. - 64 с.

.        Покровский Б. С. Слесарное дело. Изд.: Академия, 2007. - 320 с.

.        Сомов М. А. Водоснабжение. Изд.: Инфра-М, 2007. - 288 с.

.        Скворцов Л. С. Гидравлика систем водоснабжения и водоотведения. Изд.: Архитектура-С, 2008. - 256 с.

.        Чернышов Г. Г. Сварочное дело. Сварка и резка металлов. Изд.: Академия, 2010. - 496 с.

.        Шатов А. П. Сварка и ремонт металлических конструкций с противокоррозионными покрытиями. Изд.: МГТУ, 2009. - 176 с.

Похожие работы на - Монтаж внутреннего горячего водопровода. Технология дуговой сварки в среде защитных газов

 

Не нашли материал для своей работы?
Поможем написать уникальную работу
Без плагиата!
Без нейросетей!