Трубопроводный транспорт продукции шельфовых нефтегазоконденсатных месторождений
Трубопроводный транспорт продукции
шельфовых нефтегазоконденсатных месторождений
А.В. Павлюк
ВВЕДЕНИЕ
трубопровод морской арктический
Арктика представляет собой огромное пространство с колоссальными запасами
природных ресурсов. Однако специфические особенности Арктики, её суровый климат
и труднодоступность осложняют и тем самым ограничивают доступ человека к её
несметным богатствам.
Целью курсовой работы было показать опасные явления, возникающие при
строительстве и эксплуатации морских трубопроводов в условиях арктического
шельфа на примере Штокмановского газоконденсатного месторождения.
В работе приведены основные теоретические выкладки, касающиеся способов
прокладки, заглубления в грунт морских трубопроводов. Также указаны условия
окружающей среды, в которой происходит укладка морского трубопровода.
Рассмотрены опасные явления, происходящие в процессе строительства и
эксплуатации морского трубопровода.
Также в данной работе проведены расчёты прочности трубопровода при
укладке, ледовые нагрузки во время эксплуатации морского трубопровода.
ИСХОДНЫЕ ДАННЫЕ
1. ТЕОРЕТИЧЕСКАЯ ЧАСТЬ
1.1 Условия окружающей среды Арктического шельфа
Арктика охватывает огромную территорию. Условия окружающей среды разных
областей сильно различаются, поэтому оптимальные для одного места проектные и
конструкторские решения могут быть неприменимы в другом. В Арктике существуют
как обширные мелководные области (например, на север от побережья России), так
и очень глубоководные (между островами Арктики и к западу от острова
Гренландия); как очень высокие приливы (в Белом море), так и почти
незначительные (у северных арктических островов); как суровый волновой период
(в Баренцевом море и бассейне Наварин), так и период, когда волны маловероятны.
Морское дно может быть ровным и илистым или, напротив, скальным и илистым.
Наиболее изменчив ледовой период. В некоторых районах устойчивый
ненарушенный прибрежный лед сохраняется круглый год и может использоваться как
надёжная рабочая платформа для строительства. В других областях, например, в
море Бофорта и Печорском море, лед ломанный и непостоянный, движется не
предсказуемо, оказывая сильное воздействие на плавучие и стационарные
сооружения. В некоторых областях существует значительный безледовый период, в
течение которого применимы обычные методы строительства. Максимальная глубина
льдин, достигающих дна, колеблется от нескольких метров до сотен метров
(айсберги). Штокмановское газоконденсатное месторождение расположено в
центральной части шельфа российского сектора Баренцева моря в 550 км к
северо-востоку от Мурманска. Средняя скорость ветра в северной части моря
составляет 8,5 - 9,0 м/с. Максимальная скорость ветра наблюдается вокруг о-ва
Медвежий и уменьшается в восточном и северном направлениях (в направлении
Штокмановского месторождения). В этом же районе зарегистрированы экстремальные
значения скорости ветра, превышающие 36 м/с. В центральной части моря наиболее
вероятная средняя скорость - 6- 10 м/с; скорость порыва ветра (за 50-летний
срок наблюдений) - 40 м/с.
Минимальная температура воздуха центральной части Баренцева моря
составляет -24°С. Водные массы северо-западной части Баренцева моря, в
основном, состоят из прибрежных вод Норвегии, относительно теплой воды
Атлантики и холодной воды Арктики. Норвежское атлантическое течение и
норвежско-прибрежные течения входят в Баренцево море с юга и юго-запада.
Скорости поверхностных течений 0,75 - 0,80 м/с замерены в зоне между прибрежным
течением и норвежским атлантическим течением в Тромсофлакет. В центральной
части моря на циркуляцию воды влияют Мурманское, Канинское и Колгуевское
течения, и скорость течений составляет 0,5 м/с.
Северная часть Баренцева моря является зоной сезонного наличия льда. В
некоторые годы летом лед тает или полностью уходит из этих вод. В другие годы
лед остается в северо-западных и северо-восточных частях Баренцева моря.
Обширные данные, полученные в результате ряда исследований за два последних
десятилетия, показывает, что многолетний лед в западной части Баренцева моря
появляется редко. Таким образом, наиболее типичным в Баренцевом море является
однолетний лед. Толщина его может доходить до 1,8 м для ровного однолетнего и
3-5 м - для многолетнего льда.
Высота значительных волн в центральной части Баренцева моря составляет
12,5 м.
Чаще всего лед в районе Штокмановского месторождения встречается в виде
айсбергов весом вплоть до 4 млн. т. Согласно данным ICEBASE о свойствах айсбергов, средняя максимальная высота
айсбергов составляла 15,4 м. Айсберг наибольшей высоты имел парус 43,5 м, а
вероятность встречи айсберга, превышающего 30 м, составляла 5,8%. В среднем
максимальная длина айсберга достигла 118 м. Вероятность встречи айсберга
массой, превышающей 1 млн. т, составляла 13,5%. Появление столообразных
айсбергов было зафиксировано к югу от Свенскоя. Айсберг имел высоту надводной
части 12 м, максимальную длину 500 м и массу ориентировочно 6,4 млн. т.
В 1988 г. в рамках исследований, проведенных IDAP, были осуществлены лабораторные опыты отобранных
образцов льда айсбергов с целью определения его механических характеристик.
Опыты показали, что среднее значение прочности на одноосное сжатие достигло 5,4
МПа, а диапазон изменения за 16 тестирований при температуре -10°С составил
2,3-7,3 МПа.
Дрейф айсберга определяется распределением давления на его поверхности.
Высокие скорости ветра могут оказывать существенное влияние на дрейф айсберга.
В западной части Баренцева моря проследили движение айсберга со средней
скоростью 1,13 м/с в течение 31 ч. Максимальная скорость достигла 1,38 м/с в
конце этого интервала времени при действии сильного ветра.
1.2 Классификация способов прокладки морских трубопроводов
При строительстве морских трубопроводов применяют различные способы их
прокладки, зависящие от ряда факторов, определяющих организацию строительного
процесса (наличие технических средств, конструкция и назначение трубопровода,
гидрометеорологические и геологические условия района строительства, топография
морского дна, период проведения работ, условия судоходства и т.д.). В последние
10-15 лет в отечественной и зарубежной практике начали применяться
принципиально новые способы прокладки трубопроводов в морских условиях,
показаны на рисунке 1.1.
При способе прокладке морских трубопроводов, включающем буксировку плетей
трубопровода на плаву или по дну моря, для изготовления плетей на берегу моря
используют две схемы организации работ. Первая схема - секции труб
изготавливают в базовых условиях, а затем перевозят на береговую
монтажно-сварочную площадку, показанную на рисунке 1.2, для сварки их в
длинномерные плети (до 2 км). Вторая схема предусматривает доставку труб
непосредственно на береговую площадку, где их стыкуют и сваривают в плети.
Подобная технология была использована при строительстве четырех ниток (
протяженностью 18 км каждая) морского газопровода Апшерон - о. Жилой на
Каспийском море. На береговой монтажной площадке было организованно массовое
производство секций труб длиной 100 м с применением автоматической сварки
поворотных стыков труб под флюсом. Использовалась полевая сварочная установка
ПАУ-500 для сварки труб диаметром 219-1020 мм, включая сварочный агрегат
АСДП-500, торцевой вращатель, шесть роликовых опор и сварочную головку ПТ-56.
При изготовлении плетей трубопровода применялась неповоротная сварка
межсекционных стыков вручную - электродами УОНИ 13/45.
Рисунок 1.1 - Классификация способов прокладки морских трубопроводов
Монтаж трубопровода на трубоукладочном судне проводится конвейрным
способом на его палубе, показанного на рисунке 1.3. Технологический процесс
начинается с подачи труб с трубных стеллажей на поперечный конвейер краном
грузоподъемностью 100 т. Поперечный конвейер является начальным звеном
технологической линии, расположенной вдоль правого борта судна. С него труба
подается на две центровочные тележки с вращающимися роликоопорами. Центровочные
столы тележек могут перемещать трубу в вертикальной и горизонтальной
плоскостях. Когда на стыке устанавливается центратор, затем производится сварка
двух первых слоев. После этого стык очищается металлической щеткой и нейлоновым
шлифовальным кругом. По сигналу оператора весь трубопровод с помощью натяжного
устройства перемещается на 12 м. по мере перемещения трубопровода на следующих
трех сварочных постах происходит накладывание очередных слоев шва. На пятом
посту осуществляется контроль качества сварного шва методом рентгеноскопии. На
следующих постах - изоляция и обетонирование стыков труб.
В процессе укладки морских трубопроводов стыковые сварные соединения труб
бывают нагружены в значительно большей степени чем сухопутные, поэтому требования
к их сварке повышены. Однако из-за высокой стоимости трубоукладочного судна (и
по другим причинам) требуется высокая скорость изготовления трубопровода. В
связи с этим для морских трубопроводов обычно применяют наиболее прогрессивные
механизированные методы сборки и сварки. Наряду с ручной широко используют
автоматическую сварку.
Рисунок 1.2 - Монтажно-сварочная площадка для сборки плетей из
обетонированных труб сечением 1020Х20 мм
(длина плети 500 м; производительность 2км/сут; габаритные размеры
площадки 500Х166 м; число обслуживающего персонала 100-110 чел.):
- лебедка (грузоподъемность 150 т); 2 - опора для конифас-блока; 3 -
автокран (грузоподъемность 16 т); 4 - жилой поселок; 5 - кран (грузоподъемность
60 т); 6 - двухтрубные секции длиной по 24 м; 7 - кран (грузоподъемность 100
т); 8 - лебедка (грузоподъемность 5 т); 9 - полевая автоматическая сварочная
станция ПАУ-1001; 10 - склад труб; 11 - лаборатория контроля сварки; 12 -
установка для приготовления бетона; 13 - склад горюче-смазочных материалов; 14
- электростанция; 15 - сварочный пост; 16 - роликовая опора; 17 - склад
транспортных понтонов; 18 - склад; 19 - причал
Рисунок 1.3 - Монтажно-сварочная линия на трубоукладочном судне «Сулейман
Везиров»:
- стингер; 2 - поворотный кран; 3 - бетономешалка; 4 - кранбалки; 5 -
пункт обетонирования стыков; 6 - монорельс; 7 - котлы для варки битума; 8 -
натяжные устройства; 9 - пункт изоляции стыков; 10 - помещение для контрольных
приборов; 11 - сварочные тележки; 12 - пункт рентгеноскопии стыков труб; 13 -
роликовые опоры; 14 - центровочные тележки; 15 - поперечный конвейер; 16 -
стеллажи для труб; 17 - гусеничный кран (грузоподъемность 100 т)
Определенный опыт сварки морских трубопроводов, особенно на
трубоукладочных судах, имеется за рубежом. К основным факторам, определяющим
качество сварки поперечных швов на судах, следует отнести свариваемость
металла, геометрические размеры и форму концов труб, способ сварки, качество
сварных материалов, квалификацию сварщика, внешние нагрузки и воздействия. Одни
факторы зависят от качества изготовления труб на заводе, другие - от
организации и технологии укладки трубопровода. Повышение требований к морским
трубопроводам привело и к ограничению. Овальности труб ±0,5 %, уменьшению
содержания углерода в сталях, улучшению структуры металла и применению добавок
ниобия, ванадия и титана. При ручной сварке заварку шва обычно выполняют
одновременно несколько сварщиков. При сварке труб сечением 813×19 мм время одного цикла составляет 8
мин, дневная производительность 130-150 стыков. Следует отметить, что сварка
труб большого диаметра требует выполнения ряда условий: применение в качестве
материала труб перлитных сталей с содержанием углерода не более 0,15 %,
смещение стыков труб при их сборке не более чем на 2,4 мм.
При строительстве трубопроводов в Северном море для сварки неповоротных
стыков труб широко используют автоматические установки двух типов. При этом
требуется тщательной подготовки стыков труб, особенно прилегание кромок с
минимальным зазором. Сварка проводится в среде углекислого газа проволокой,
подаваемой в зону сварки четырьмя сварочными головками, движущимися по
окружности трубы вдоль шва. На установке «C. R. C. Crose» заварка корня осуществляется с внутренней стороны
трубы четырьмя сварочными головками , совмещенными с внутренним центратором,
что позволяет одновременно проводить сварку корневой шва и выполнять горячий
проход трубы снаружи. На установке «H. C. Price» предусматривается применение медного прокладного
кольца при заварке корня шва с наружной стороны трубы. Заполняющие швы в обоих
случаях выполняют с наружной стороны трубы. Сварочные дуги для уменьшения
деформации трубопровода действуют в противоположных секторах. Время сварки
одного кольцевого шва трубы сечением 813×19 мм составляет 6 мин.
В нашей стране для дуговой сварки неповоротных стыков труб применяется
установка «Север-1», которая работает на строительстве наземных трубопроводов и
может быть использована при строительстве морских трубопроводов.
Контролю подвергаются все стыки морских трубопроводов. На больших
трубоукладочных суднах применяют рентгеновскую аппаратуру полуавтоматического
действия с мягким излучением, которая обеспечивает просвечивание стыков
(включая автоматическое проявление отснятой пленки) за 8-10 мин.
Рассмотрим характерные особенности некоторых новых способов прокладки
морских трубопроводов.
Прокладка с наклонной рампы судна-трубоукладчика, показанного на рисунке
1.4, проводится с судов, оснащенных эстакадой для сборки и сварки труб в нити
укладке на дно (рампы) и тяговой лебедкой для натяжения нитки трубопровода при
её моря по J-образной кривой.
Рисунок 1.4 - Трубоукладочное судно с наклонной рампой: - трубопровод; 2 - стеллаж для труб;
3 - наклонная рампа; 4 - кран
Преимущество такого способа - возможность применения судов значительно
меньших, чем трубоукладочные баржи, размеров, без использования громоздких
стингеров. Стабилизация судна обеспечивается восемью якорными цепями или
системой динамической стабилизации. При J-образном методе натяжении нитки трубопровода необходимо
снижать напряжения в трубопроводе только на нижнем изгибающемся участке, что
требует применения натяжных устройств значительно меньшей, чем на баржах-трубоукладчиках,
мощности. Например, при укладке труб диаметром 50-250 мм на глубинах моря от 10
до 200 м усилие натяжения на судне не превышает 50-100 кН. Темп укладки
трубопроводов с таких судов составляет 240-720 м/сут при работе с трубами
длиной 12 м и может удвоиться при использовании секций труб длиной 24 м. При
работе с трубами на резьбовых соединения эти темпы могут быть значительно
увеличены. Опыт укладки морского трубопровода диаметром 114 мм протяженностью 1
км на глубинах моря 100 м этим способом с применением резьбовых соединений труб
накоплен фирмой ЭТПМ (Франция) в Бискайском заливе. Этой фирмой было
использовано буровое судно «Астрагаль». Прокладка морских трубопроводов с
бурового судна, показанного на рисунке 1.5, производится при помощи буровой
вышки и оборудования, предназначенного для морского бурения скважин. При
укладке трубопроводов буровое судно с динамической стабилизацией дополнительно
оснащается оборудованием для изготовления секций труб на палубе судна,
оборудованием для соединения секций труб в непрерывную нитку трубопровода,
натяжным устройством, установочным башмаком под вышкой и тяговой лебедкой.
Укладка трубопровода производится по J-образной кривой, при этом трубы направляются по вышке, как буровые
штанги. Работы могут проводиться при волнении до 8 баллов (по шкале Бофорта),
если при укладке трубопровода судно идет на волну.
При работе с секциями труб диаметром 50-250 мм темп укладки может
составить 500-1500 м/сут, с секциями труб на резьбовых соединениях - 2-4
км/сут. Опытные работы проводятся с бурового судна «Пеликан» фирмой ЭТПМ.
Преимущество данного способа - возможность проведения одним судном ряда
операций (бурение и обустройство подводных скважин, перемещение различного
подводного оборудования, укладка и соединение трубопроводов, кабелей и т.п.).
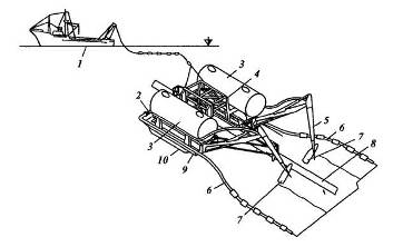
Прокладка плетей трубопровода притягиванием ко дну осуществляется при
проведении работ по соединению двух подводных скважин на глубинах до 1000 м.
Рисунок 1.5 - Трубоукладочное судно с вертикальной вышкой (типа бурового
судна) 1 - трубопровод; 2 - стеллаж для труб; 3 - кран; 4 - монтажная вышка
Изготовленная на берегу плеть трубопровода с понтонами (до 3 км)
транспортируется (на глубине 10-15 м) двумя буксирами, расположенными в голове
и хвосте плети. В районе проведения работ к концам трубопровода крепят второй
комплект тросов, которые пропускают через опорные блоки анкерных оснований,
расположенных на дне моря, и соединяют со второй парой буксиров. Затем
отсоединяют понтоны на концах трубопровода и начинают притягивать плеть
трубопровода (одновременно с обоих сторон) ко дну моря.
Когда плеть трубопровода достигает глубины, достаточной для стабилизации
кривой провеса; первый комплект тросов отсоединяют от буксиров и крепят к паре
мощных понтонов. Окончательное притягивание трубопровода ко дну производят
вторым комплектом тросов, проходящих через блоки анкерных оснований. Этими же
тросами заводят концы трубопровода в соединительные устройства анкерных
оснований. По завершению монтажа концов трубопровода к анкерным основаниям
плеть трубопровода полностью опускают на дно, отсоединяя от нее понтоны.
Прокладка способом свободного погружения широко используется при
сооружении трубопроводов в прибрежных зонах (глубина до 30 м), особенно на
Каспийском море. Сначала возможности этого способа были ограничены погодными
условиями, волнением (не более 2-4 баллов по шкале Бофорта) и течением. В
дальнейшем был предложен способ буксировки плетей трубопровода в подводном
состоянии с использованием дополнительных понтонов, которые удерживали их на
глубине 10-15 м от поверхности моря. При таком способе транспортировки
воздействие волн и поверхностных морских течений на транспортируемый
трубопровод были ограничены, а скорость буксировки возросла до 10 км/ч.
Сущность способа укладки свободным погружением заключается в следующем.
На берегу заготавливают петли трубопровода, которые опрессовывают, балластируют
и оснащают понтонами для сохранения плавучести во время буксировки к месту
кладки. Затем плети спускают на воду различными способами: по роликовым опорам,
узкоколейной дорожке с тележками и др. В отдельных случаях разрабатывают
траншеи, соединенные с морем, в которые скатывают заготовленные плети,
приобретшие плавучесть за счет понтонов. Если рельеф берегового участка не
позволяет собирать и опускать плети в траншею, их собирают на лежнях и
скатывают в воду по наклонному стапелю. Затем готовые плети длиною до 2 км
буксируют к месту укладки. соединяют на плаву и опускают на грунт при небольшой
отрицательной плавучести. При этом головной конец плети оставляют на
поверхности воды или судне для присоединения к нему следующее плети. Погружение
трубопровода осуществляется путем залива в трубу воды со стороны берега. При
этом понтоны погружаются вместе с трубами на дно. Затем их отсоединяют путем
полуавтоматической отстропки или с помощью водолазов. В отдельных случаях трубы
заполняют смесью воды и «легкого» материала (пенополистирола и др.) или
жидкостью с меньшей плотностью (например, литроином) для снижения напряжений в
трубопроводе. Иногда для погружения трубопровода производят последовательную
(обычно автоматическую) отстроповку понтонов или залив воды в понтоны, которые
сообщаются друг с другом через шланг. Для придания трубопроводу дополнительно
плавучести мспользуют понтоны различных конструкций.
На рисунке 1.6 показана плеть, оснащенная понтонами, головным и хвостовым
упряжными устройствами, гибкими шлангами для залива водой (в случае непогоды) и
выпуска воздуха из труб во время залива.
При проектировании пяти ниток морского перехода длиной 63 км через
Байдарацкую губу газопровода п-ов Ямал - Центр сечением 1020×20 мм был разработан вариант укладки
плетей трубопровода способом свободного погружения. Для этого на береговом
участке была предусмотрена монтажно-сварочная площадка для сборки и сварки
плетей трубопровода из обетонированных труб длиной до 500 м. Сборка плетей из
двухтрубных секций (по 24 м каждая), предварительно сваренных в заготовительном
отделении, проводится сразу на четырех дорожках с роликоопорами. Сварка
неповоротных стыков на дорожке осуществляется с помощью автоматической сварки
на четырех сварочных постах вдоль трубопровода. По мере изготовления плеть
оснащается понтоном и стягивает в воду с помощью лебедок с тяговым усилием 1500
кН, оснащенных канифас-блоком, что позволило иметь при сталкивании плети
усилие, равное 3000 кН. Со стороны моря к берегу должен быть прорыт канал
глубиной 3 м для транспортировки плетей от берега. производительность такой
площадки - до 2 км/сут.
При проектировании этого трубопровода была разработана специальная
площадка для соединения плетей трубопроводов в море, показано на рисунке 1.7.
Она представляет собой понтон (24×10, 8×2 м) с прорезью в средней части для
прохода стыкуемых труб. На площадке имеются устройства для подъема концов
плетей над водой, гидравлическое устройство для центровки труб, энергетическая
станция для привода механизмов и обеспечения ручной сварки стыка, якорное
устройство для удержания площадки в заданном положении и оборудование для
контроля сварного шва.
Рисунок 1.6 - Оснастка плети трубопровода диаметром 1020 мм и длиной 500
м:
- головное упряжное устройство; 2 - понтон разгружающий; 3 - трубопровод;
4 - канат для отсоединения понтонов; 5 - буй; 6 - воздушный рукав для
нагнетания воздуха в трубопровод; 7 - хвостовое упряжное устройство; 8 -
изоляция; 9 - бетонное покрытие; I,II - бункерный трос соответственно к
носовому и кормовому буксирам
Рисунок 1.7 - Понтон-площадка для стыковки плетей на плаву:
- опорная балка; 2 - полиспаст (грузоподъемность 48 т); 3 - портал; 4 -
рентгеновская лаборатория; 5 - гидродомкрат горизонтального передвижения
полиспаста; 6 - насосная станция и пульт управления; 7 - центровочный портал с
гидродомкратом; 8 - электростанция мощностью 200 кВт; 9 - сварочное
оборудование; 10 - лебедка (грузоподъемность 12 т); 11 - понтон
1.3
Протаскивание
трубопроводов по дну
Прокладка трубопроводов путем протаскивания их по дну моря широко
распространена при строительстве подводных переходов магистральных
трубопроводов через реки, водохранилища, озера и в системе беспричального
приема танкеров в морских условиях. Впервые он был применен на Каспийском море
в 1950 г. при строительстве трубопровода сечением 168×8 мм и длиной 3,4 км. Соединения труб
были выполнены стыковой электроконтактной сваркой. При прокладке использовалась
буксирное судно, транспортирующее отдельные плети трубопровода, соединенные
между собой на береговой монтажно-сварочной площадке у уреза моря. Накопленный
опыт был использован в 1952 г. при прокладке на Каспии второго морского
трубопровода того же диаметра протяженностью 7,2 км.
В настоящее время строительство морских трубопроводов протаскиванием
осуществляется двумя способами: протаскиванием по дну моря (аналогично
строительству подводных переходов через реки) и протаскиванием в
непосредственной близости от дна моря. В последнем случае применяют понтоны,
оснащенные гирляндами цепей, которые не позволяют трубопроводу всплыть на
поверхность моря или опуститься на грунт. Трубопровод находится в состоянии
нулевой плавучести и может транспортироваться с помощью буксиров небольшой
мощности на расстоянии 1-2 м от дна моря.
Для трубопровода, покрытого сплошной деревянной футеровкой, коэффициент
трения при скольжении по дну равен 0,65 (разрушенная скала, скальный грунт),
0,55 (пески крупные и гравелистые), 0,45 (пески мелкие и супеси), 0,4 (грунты
илистые и суглинистые). Для трубопровода с бетонным покрытием коэффициент
трения при скольжении принимается равным 0,3.
Для уменьшения веса трубопровода в воде обычно используют разгружающие
понтоны, применение которых позволяет доводить отрицательную плавучесть
трубопровода до 50-100 Н/м.
Технологический процесс строительства трубопроводов включает в себя
изготовление на берегу плетей, спуск их на воду и протаскивание по дну с
применением мощных лебедок или буксиров. Спусковая дорожка для транспортировка
плетей трубопровода к урезу воды может иметь различную конструкцию
(узкоколейная рельсовая дорога с тележками, спусковой путь из отдельных
роликоопор, ледовая спусковая дорожка, спусковая дорожка в виде траншеи,
заполненной водой, и др.). При этом особое внимание обращается на защиту
изоляционного покрытия от повреждений. Для создания необходимой тяги используют
лебедки, установленные на буксирах или баржах, которые удерживаются на якорях.
В качестве якоря часто применяют понтон со стальной лапой, погружаемый на дно
путем заполнения его отсеков водой. При выборе буксирного судна для
транспортировки трубопровода тягой его винтов можно воспользоваться
приближенной зависимостью для определения тяги, считая, что каждые 74 кВт
буксира дают 10 кН тяги.
Способ протаскивания используют при сооружении трубопроводов к пунктам
беспричального налива танкеров, прибрежным платформам или между двумя
нефтедобывающими платформами в море. Он рационален в тех случаях, когда
мощность тяговых средств на конечной точке трубопровода позволяет протянуть его
за один прием без стыковки на воде.
В последние годы делаются усилия для разработки технологии протаскивания
трубопроводов на большие расстояния со стыковкой под водой в гипербарических
камерах. Главной проблемой при этом остается проблема обеспечения необходимой
точки укладки и стыковки каждой новой прибуксированной плети трубопровода с уже
лежащей на грунте.
Протаскивание трубопроводов по дну на больших глубинах применялось в
Северном море. В Норвегии были изготовленный секции трубопровода, соединенные в
петли длиной 2150 м. Диаметр трубопровода составлял 934 мм, толщина стенки труб
22 мм, толщина бетонного покрытия 54 мм, плотность бетона 2,22 т/м3.
Браслеты анодов устанавливались в бетонной оболочке. Вес 1 м труб под водой
равнялся 147,5 Н. Плети трубопровода транспортировались по дну буксиром
мощностью 16 тыс кВт с помощью троса диаметром 75 мм. Для трогания с места было
приложено усилие в 1500 кН от гидравлической лебедки буксира. Сопротивление
трубопровода под водой при движении составляло около 800 кН. Транспортировка на
расстояние 393 км длилась 40 ч при максимальной глубине 378 м и неблагоприятных
погодных условиях (высота волны доходила до 4 м). Соединения секций было
проведено в подводной стыковочной камере на глубине 150 м.
Способ протаскивания плетей трубопровода по дну по сравнению с укладкой
его с баржи имеет следующие преимущества: уменьшаются напряжения в
трубопроводе, возрастает глубина прокладки, сокращаются простои из-за погодных
условий.
1.4 Строительство трубопроводов в ледовых условиях
Шельф группы морей нашей страны находится в Арктике с исключительно
суровыми климатическими и ледовыми усилиями. Продолжительность ледового периода
составляет 6 мес и более, а в некоторых районах целый год. Аналогичные условия
характерны для дальневосточных морей. Опыт строительства морских трубопроводов
с о. Сахалин на материк через пролив Невельского. Данный район нельзя отнести к
особо сложным районам региона. Незначителен и зарубежный опыт строительства
подводных трубопроводов в арктических районах Канады и США. Несмотря на
публикацию в печати ряда интересных сообщений о проектах строительства морских
трубопроводов в районах Канадского арктического архипелага, в настоящее время
между арктическими островами построено лишь несколько экспериментальных
участков трубопровода длиной в несколько километров. В заливе Кука на небольшой
глубине проложено несколько трубопроводов небольшого диаметра от
нефтедобывающей платформы к берегу.
Главное препятствие при строительстве трубопроводов в таких районах -
суровые климатические условия и ледовые условия, отдаленность от промышленных
районов и связанная с ней трудность доставки грузов. Особенно сложно
организовать прокладку трубопровода в ледовых условиях. Часто это связано с
кратковременностью межледового периода, во время которого можно было бы уложить
трубопровод традиционными методами, с наличием подвижных льдов в течение всего
сезона ледостава, препятствующих укладке трубопровода со льда, с торосистостью
льда, создающей препятствия при укладке трубопровода с припайного льда, и т.п.
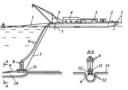
На основе отечественного опыта строительства подводных трубопроводов через
реки в зимних условиях во ВНИИСТе были разработаны методы прокладки морских
трубопроводов в условиях прочного припайного льда. Один из таких методов -
укладка трубопроводов с применением ледового стингера. Заранее изготовленный
трубопровод вмораживают в лед ,показано на рисунке 1.8, например путем полива
водой. Затем со стороны погружаемого конца трубопровода одновременно с двух
сторон баровой машины лед прорезается насквозь. Под собственной тяжестью
трубопровод вместе с ледовым покровом под ним (ледовый стингер) опускается на
грунт. Ледовый стингер под трубой обладает определенной, заранее рассчитанной
плавучестью и создает разгружающий эффект благодаря тому, что лед легче воды.
Регулируя ширину ледового стингера, можно изменять вес трубопровода в воде, доводя
его до минимального, что позволяет увеличить глубину укладки трубопровода.
Рисунок 1.8 - Укладка трубопровода с помощью «ледовой подстилки»: 1 -
трубопровод; 2 - прорезь во льду; 3 - лед
Трубоукладчик работает следующим образом. На платформе проводится сборка
отдельных труб в нитку. Трубы, передвигаясь по роликам, последовательно (по
одной) стыкуются к трубопроводу, центрируются, свариваются и контролируются.
При использовании обетонированных труб проводится изоляция и обетонирование их
стыков непосредственно на платформе. Для выполнения данных операций на
платформе установлено все необходимое оборудование, включая трубный центратор,
сварочные машины, рентгеновское оборудование, бетономешалку и др. По мере
наращивания трубопровода платформа передвигается по льду вперед с помощью
тяговых лебедок, подтягивающих платформу тросом к анкеру. Лед прорезает
двухбаровая ледорезная машина. По мере продвижения платформы вперед трубопровод
обламывает под собой прорезанную полосу льда и проталкивает обломки в сторону,
под лед.
Рисунок 1.9 - Ледовая платформа-трубоукладчик:
- разгружающее устройство; 2 - тяговые тросы; 3 - роликовая опора; 4 -
кладовая материалов; 5 - рентгеновское оборудование; 6 - сварочное
оборудование; 7 - тельфер; 8 - рубка управления; 9 - автокран (грузоподъемность
25 т); 10 - тяговая лебедка для передвижения трубоукладчика; 11 -
электростанция мощностью 400 кВт; 12 - площадка для приготовления бетона; 13 -
корпус трубоукладчика; 14 - лебедка; 15 - двухбаровая ледорезная машина; 16 -
лед; 17 - подвеска трубы; 18 - трубопровод
Для придания трубопроводу заданной кривизны за платформой тросами
буксируется устройство, с помощью которого трубопровод поддерживается на
заданной от поверхности льда высоте. Трубопровод при движении скатывается по
роликовым опорам подвески, регулирование положения которой по высоте
производится полиспастом.
Трассу перед трубоукладчиком очищают от торосов, а поверхность льда выравнивают.
Производительность трубоукладчика рассчитана на изготовление 650 м трубопровода
диаметром 1020 мм в 1 сут с применением автоматической сварки неповоротных
стыков труб.
Рассмотренные методы укладки трубопровода со льда испытаны на моделях в
ледовой лаборатории научно-исследовательского института Арктики и Антарктики в
г. Ленинграде. Для этого была изготовлена модель ледового трубоукладчика в
масштабе 1:50. В качестве трубопровода использовались полиэтиленовая труба
диметром 25,4 мм, армированная для придания необходимой жесткости медным
стержнем диаметром 1 мм в свинцовой оболочке. Длина модели 4 м, масса 1 см
трубопровода - 8,2 г, что соответствует относительной плотности трубопровода
1,6.
Опыт проводился в лотке (4×2×1,5 м) при температуре окружающего
воздуха 6-8°С, льда - (2÷4,5)°С, воды подо льдом 0,6°С. Соленость воды
составляла 9,5‰, льда - 2,5‰. Во время эксперимента в лотке намораживался лед
толщиной 2,5-5,5 см при глубине воды 100-140 см. Прочностные характеристики
льда: уизг=13Н/см2, усж=62Н/см2.
В результате проведенных экспериментов было выявлено следующее. При
укладке с применением ледового стингера наибольшее опасение вызывала
возможность откалывания льда от трубопровода в результате изгиба трубы во время
погружения на дно. Однако вмороженный трубопровод во время погружения до самого
дна оставался сцепленным с ледовым стингером. При этом лед значительно уменьшал
прогиб трубопровода по сравнению с трубой без льда. Через некоторое время
ледовая подстилка под влиянием плюсовой температуры воды отсоединялась от трубы
и сплывала на поверхность. Следовательно, рассеялось опасение, что трубопровод
долгое время будет находиться на дне при малой отрицательной плавучести.
При укладке с ледового трубоукладчика необходимо было выяснить
взаимодействие опускаемого трубопровода со льдом в майне. Выяснилось, что лед
почти любой толщины без всяких поперечных надрезов беспрепятственно
обламывается трубопроводом (участками до 15 м в натуре). Разломанные куски льда
частично запасовываются под лед (в сторону майны), частично всплывают в майне
после укладки трубопровода. Это явление благоприятствует укладке труб.
В Канаде разработан трубоукладчик, изображенный на рисунке 1.10, для
укладки со льда предварительно изготовленной нитки трубопровода. Он состоит из
рамы с полозом, который двигается по льду. На раме смонтирована
ферма-направление, которая может поворачиваться на шарнире в вертикальной
плоскости. В носовой части имеется неподвижный направляющий желоб, в кормовой
части на тросах за проушины подвешен стингер. К раме прикреплена продольная
балка с вмонтированным в неё колесом-фрезой для разрушения льда. В средней
части рама трубоукладчика поддерживается гусеничной тележкой.
Рисунок 1.10 - Ледовый трубоукладчик для арктических районов Канады: 1 -
салазки; 2 - рама; 3 - ферма-направление; 4 - шарнир; 5 - трубопровод; 6 -
носовое направляющее устройство; 7 - лед; 8 - рама; 9 - гусеница с тележкой; 10
- колесо-фреза; 11 - продольная балка; 12 - стингер; 13 - проушина; 14- трос
Устройство работает следующим образом. Смонтированный и испытанный на
льду трубопровод последовательно пропускается через направляющий желоб,
ферму-направление и стингер. При продвижении трубоукладчика вперед, например за
счет натяжения троса, связанного с анкером во льду, трубопровод проходит по
всем направляющим с заданным радиусом изгиба. Для изменения глубины укладки,
необходима замена стингера и фермы-направления. Лед прорезается колесом-фрезой.
Трубоукладчиком такой конструкции можно укладывать только готовый (полностью
собранный и сваренный на льду) трубопровод. Однако сборка и сварка трубопровода
непосредственно на льду в ряде случаев затруднена, например в арктических
условиях.
Для островов арктических районов Канады разработан способ протаскивания
по дну трубопроводов с использованием припайного льда в качестве опоры для
тяговых механизмов, которые устанавливают прямо на льду. Схема протаскивания
подводного трубопровода между островами арктических районов Канады изображена
на рисунке 1.11. протаскивание трубопровода осуществляют в проливе между
островами следующим образом. Оголовок трубопровода, смонтированного на берегу,
соединяют стальным тросом с тяговыми салазками, установленными на лед пролива.
Салазки буксируют тросами по льду с помощью двух тракторных лебедок,
закрепленных к анкерным столбам, вмороженным в лед на расстоянии 1700 м от
салазок. С помощью многочерпакового канавокопателя во льду впереди салазок прорезается
майна, через которую проходит тяговый трос в воду к оголовку трубопровода.
Впереди движущегося по дну трубопровода установлен специальный подводный струг,
разрабатывающий траншею, в которую опускается протяиваемый трубопровод.
Рисунок 1.11 - Схема протаскивания подводного трубопровода между
островами арктических районов Канады 1 - трубопровод; 2 - подводный струг; 3 -
погруженный трос; 4 - траншея; 5 - тяговые салазки; 6 - тяговые тросы; 7 -
тракторы с тяговыми лебедками; 8 - анкерные столбы; 9 - траншеекопатель; 10 -
бульдозер, выравнивающий отвалы раздробленного льда
После протаскивания на определенную длину захваты тяговых лебедок
переставляют на новые анкерные столбы. В этот момент натяжение салазок обеспечивается
тракторной лебедкой за счет массы самого трактора. По мере увеличения глубины
моря погруженный трос наращивается.
Исследования, проведенный в Канаде, показали, что лед можно искусственно
утолщать со скоростью 25 мм/ч путем полива его морской водой вдоль
строительно-монтажной полосы с одновременным заполнением ледовой спайкой всех
трещин. При этом лед может выдержать значительные вертикальные нагрузки от
находящейся на нем техники. Особенно большие нагрузки он выдерживает в
горизонтальном направлении, что обеспечивает протаскивание трубопроводов по дну
моря.
Одним из трубопроводов, проложенных в зимних условиях со льда в море,
является нефтепровод сечением 426×11 мм через пролив Невельского с о.
Сахалин на материк на глубинах до 23 м. Построенный трестом Союзподводгазстрой
трубопровод имеет протяженность 9 км. Примечательно, что укладка части
трубопровода в относительно мелководной зоне моря проводилась в зимний период
со льда. Так как припайный лед в проливе обычно достигает толщины 0,6-1 м, при
операциях по укладке использовались различные грузоподъемные машины. Схема
укладки трубопровода со льда в проливе Невельского показана на рисунке 1.12.
Рисунок 1.12 - Укладка трубопровода со льда в проливе Невельского:
- лед; 2 - трос для отстропки разгружающих понтонов; 3 - майна во льду; 4
- разгружающий понтон; 5 - дно пролива; 6 - положение трубопровода после
укладки очередной секции; 7 - трубопровод
Плети трубопровода длиной 350-700 м изготавливали на берегу, покрывали
футеровкой и оснащали чугунными пригрузами. Затем их буксировали по льду,
раскладывали вдоль трасы и сваривали между собой в нитку длиной 2500 м. Каждый
участок трубопровода длиной по 300 м оснащали грузоподъемными понтонами (7 шт.
по 1,5 т). Рядом с трубопроводом ледорезной машиной во льду прорезалась майна
шириной 1,5 м и длиной 300 м, в которую с помощью лебедок затаскивался
трубопровод, плавающий на поверхности майны. Затем путем залива воды в головной
участок плети проводилось последовательное затопление трубопровода. После
опускания трубопровода на грунт понтоны отсоединяли от трубопровода и поднимали
со дна моря. Процесс укладки продолжался. Трубопровод опускался на дно в
траншею, открытую земснарядом до ледостава.
В разработанной ВНИИСТом технологии строительства перехода через
Байдарацкую губу газопровода п-ов Ямал - Центр укладка большого участка
трубопровода производится с припайного льда. Общая длина морской части
трубопровода от о. Литке на восточном берегу губы до пос. Яры на западном
берегу составляет 67 км (из них 18 км с устойчивым припайным льдом у берегов).
Примерно раз в 5 лет губа целиком промерзает. Время существования ледового
покрова с толщиной 0,6-1,2 м составляет примерно 5-6 мес. Через губу
прокладывается пять ниток трубопровода из обетонированных труб сечением 1020×20 мм, укладываемых различными
способами в двух разнохарактерных зонах. В береговой зоне и на прибрежном
участке траншею для заглубления труб разрабатывают с ледового покрова роторным
и одночерпаковыми экскаваторами на глубину до 2 м. Сваренный и испытанный на
бровке траншеи трубопровод укладывают в траншею с помощью трубоукладчиков. В
целом процесс не отличается от принятого для сухопутных трубопроводов. На
участке, где глубина превышает 2-3 м, при укладке используют ледовый стингер
или ледовый трубоукладчик. В район строительства трубы доставляют по льду вдоль
трасы трубопровода с помощью саней-трубовозов с тягой по льду трактором, а
расчистку трассы от торосов осуществляют бульдозером и горизонтально-фрезерными
агрегатами. подводные траншеи для заглубления трубопроводов на этом участке
отрывают заранее по чистой воде с помощью земснарядов. Засыпка проводится путем
естественного замыва придонным грунтом.
1.5 Рытье траншей для подводных трубопроводов
Земляные подводно-технические работы при укладке подводных трубопроводов
могут производиться в двух видах: устройство траншей перед укладкой
трубопровода и устройство траншей с одновременной укладкой или с заранее
уложенным по дну трубопроводом.
По первой схеме траншея 2 разрабатывается рядом с уложенным на дно
трубопроводом 1 или траншея разрабатывается до укладки трубопровода на дно,
показанной на рисунке 1.13 а и б соответственно. Сама траншея разрабатывается
подводным траншеекопателем с управлением с поверхности воды (по кабелю)
Вынимаемы из траншей грунт укладывается вдоль траншеи 3. Если глубина воды не
превышает 25 м, то можно траншею разрабатывать с поверхности воды с помощью
земснаряда (механическая или гидравлическая разработка).
Рисунок 1.13 - Схема разработки траншей для подводных трубопроводов
Грунт из траншеи убирается с помощью барж с открывающимся днищем. Схема
показана на рисунке 1.14. Земснаряд 1 разрабатывает транше 2 и перекачивает пульпу
по пульпопроводу 3 в баржу 4. В барже вода частично отфильтровывается и
оставшийся грунт отвозиться к месту его выгрузки. Выгрузка производится очень
быстро при открывании днищ 5.
Рисунок 1.14 - Разработка грунта плавающим земснарядом с отгрузкой его на
баржу
По второй схеме разработка траншей производится либо под уже уложенным
трубопроводом, либо одновременно с укладкой трубопровода способом
протаскивания. Устройство траншеи по уже уложенным на дно трубопроводом производится
с помощью трубозаглубительного устройства (снаряда). Существует много видов
заглубительных снарядов.
Показанный на рисунке 1.15 трубозаглубительный снаряд состоит из судна
(базы) и трубозаглубителя - рабочего органа. На плавучей базе размещаются
насосы, компрессоры, энергетические установки, крановое оборудование или
лебедки для установки трубозаглубителя на трубопровод и подъема его на палубу,
якорные лебедки, лебедки для перемещения снаряда, приборы контроля и управления
и вспомогательные помещения.
Основное назначение рабочего органа - заглубление трубопровода путем
разработки и удаления грунта из-под трубопровода. Трубозаглубитель состоит из
несущей конструкции, опорных и фиксирующих катков, рабочих элементов
(гидромониторные насадки, фрезы, грунтососы) и стабилизаторов устойчивости
положения.
Рисунок 1.15 - Схема разработки грунта трубозаглубительным снарядом: 1-
якорный трос; 2 - корпус баржи; 3 - якорные лебедки; 4 - насосно-компрессорное
оборудование; 5 - буксирная лебедка; 6 - шланги для воздуха и воды; 7 -
буксирный трос; 8 - понтоны; 9 - трубопровод, заглубляемый в траншею; 10 -
разрабатываемая траншея; 11 - трубозаглубитель; 12 - опорные и фиксирующие
катки; 13 - морское дно
Несущая конструкция гидравлических трубозаглубителей выполняется
трубчатой, внутренняя полость ее используется для подачи воды к рабочим
элементам. Несущая конструкция воспринимает вес трубозаглубителя и передает его
на трубопровод или на опорные полозья. Размеры и вес несущей конструкции
зависят от диаметра трубопровода, типа и расположения рабочих органов.
Для уменьшения нагрузок на трубопровод от трубозаглубителя используют
разгружающие понтоны. Фиксирующие катки удерживают трубозаглубитель от смещений
и перекосов в горизонтальной плоскости, расстояния между катками зависят от
диаметра и могут регулироваться.
Для обеспечения устойчивости положения трубозаглубителя от
гидродинамического воздействия потока, реактивных сил при разработке грунта
применяются стабилизаторы. В качестве стабилизаторов используют опорные полозья
или загружающие понтоны.
Рабочие органы трубозаглубительных снарядов подразделяются на четыре
типа: струйные, гидроэжекторные и пневматические, фрезерно-гидравлические,
бестраншейные (гидродиффузионные).
Струйные трубозаглубители представляют собой систему гидравлических
струй. Высоконапорные струи, формирующиеся в насадках, размывают грунт и
удаляют за пределы траншеи. Эффективность заглубления трубопровода повышается с
увеличением числа насадок и подачи сжатого воздуха. Подача сжатого воздуха в
виде струй способствует увеличению выноса грунта из траншеи. Струйные
трубозаглубители могут разрабатывать связные и несвязные грунты.
Гидроэжеторные и пневматические трубозаглубители применяются для
разработки песчано-гравийных грунтов, суглинков и неплотных глин, но наиболее
эффективны на размываемых песчаных грунтах. Разрабатываемый водяными и
воздушными струями грунт отсасывается гидроэжекторами или пневматическими
грунтососами и подается по подводному рефулерному трубопроводу.
Трубозаглубители этого типа имеют в несколько раз меньшие мощности и
производительность по сравнению со струйными трубозаглубителями.
Фрезерно-гидравлические трубозаглубители рыхлят грунт с помощью фрез,
расположенных с двух сторон от трубопровода. Вращения фрез осуществляется с
помощью гидро- или электропривода. Наличие фрезерного разрыхлителя способствует
образованию насыщенной пульпы, которая подается на отсос в трубососун и
транспортируется по пульпопроводу на поверхность воды или выбрасывается за
бровку траншеи по отводной трубе. Фрезерно-гидравлические трубозаглубители по
сравнению с гидроэжекторными могут разрабатывать более тяжелые связные грунты.
В трубозаглубительных снарядах для механического рыхления грунта могут
использоваться не только фрезы, но и различные рыхлители плужного типа.
Бестраншейные трубозаглубители при помощи гидравлических струй или
вибрационного воздействия специальными вибраторами приводят грунт в разжиженное
состояние, и трубопровод погружается в грунтах используются гидравлические
струи низкого давление (50-120 Н/см2). Совместное гидравлическое и
вибрационное воздействие весьма эффективно и позволяет разрабатывать трудно
размываемые грунты.
Бестраншейные трубозаглубители наиболее экономичны по затрачиваемой
мощности на заглубление трубопровода в песчаные грунты. Однако в настоящее
время в основном применяются траншейные трубозаглубители, имеющие наиболее
простое конструктивное решение. Значительное сокращение сроков строительства
подводных трубопроводов и затрат на земляные работы достигается применением
трубозаглубительных снарядов, осуществляющих одновременно операции заглубления
трубопровода и засыпку его грунтом. При таком способе засыпки используется
грунт, получаемый при заглублении трубопровода, и отпадает необходимость в
транспортировке грунта из другого места.
Схема заглубления трубопровода с одновременный засыпкой, примененная в
Японии, показана на рисунке 1.16 а. В случае разработки грунта на большую
глубину в трубопроводе могут возникнуть напряжения от его изгиба, превышающие
допускаемые. Уменьшение напряжений в трубопроводе достигается двухступенчатым
способом разработки грунта, изображенным на рисунке 1.16 б, а также креплением
к трубопроводу с помощью направляющих роликов специальных поплавков.
Трубопровод, уложенный на морское дно, выполняет роль направляющего
устройства. Траншея расчетной глубины разрабатывается струйными насадками, в
которые подается вода от насоса, расположенного на судне, и землесосом,
закрепленным под водой на раме непосредственно у погружаемого трубопровода.
Рисунок 1.16 - Схемы заглубления трубопровода:
а - с одновременной засыпкой; 1 - замлесос; 2 - струйные насадки; 3 -
заглубляемый трубопровод; 4 - понтон; 5 - трубопровод подачи воды к насадкам; 6
- энергетическое судно; 7 - вспомогательное судно; 8 - пульпопровод; 9 -
поплавки; 10 - патрубок для засыпки трубопровода песком; 11 - морское дно; 12 -
дно траншеи;
б - двухступенчатый способ разработки грунта с одновременной засыпкой
трубопровода; 1, 2 - землесос со струйными насадками; 3 - морское дно; 4 -
заглубляемый трубопровод; 5 - энергетическое судно; 6 - вспомогательное судно;
7 - трубопровод для подачи воды к насадкам; 8 - кабель; 9 - пульпопровод; 10 -
поплавки; 11 - патрубок для засыпки трубопровода песком
Разрабатываемый грунт транспортируется по специальным труба к участку
засыпки уложенного на заданную глубину трубопровода. Трубы, по которым
транспортируется грунт, поддерживаются кранами, установленными на основном и
вспомогательном судах. Основные и вспомогательные суда соединены канатами и
перемещаются одновременно с помощью якорных лебедок.
Приведем далее примеры используемых на практике трубозаглубительных судов
для работы на больших глубинах.
В Италии создан глубоководный земснаряд, который может работать на глубине
до 60 м. Разработка траншеи осуществляется фрезерным рыхлителем, обеспечивающим
устройство траншеи глубиной до 2,4 м и шириной от 1,8 до 4,5 м, рабочая
скорость движения снаряда 128 м/ч, производительность по грунту в зависимости
от его вида до 250 м3/ч. Земснаряд перемещается по дну при помощи
двух лебедок и тяговых тросов, прикрепленных к якорям или сваям. В корпусе
земснаряда расположены три электродвигателя для привода рыхлителя, грунтового
насоса и лебедок. По обе стороны земснаряда расположены трубы длиной 10 м для
транспортировки разрабатываемого грунта. Контроль и управление разработки
грунта осуществляется оператором, находящемся на земснаряде. Воздух и
электропитание на земснаряд подаются с обслуживающего судна.
Той же фирмой разработан подводный земснаряд В-70, который
устанавливается на предварительно уложенный на дно моря трубопровод. Грунт
разрабатывается фрезерными рыхлителями с последующим удалением гидроэжекцией.
Земснаряд перемещается по трубопроводу при помощи лебедки с гидравлическим
приводом, опираясь на салазки. За один проход земснаряд разрабатывает грунт га
глубину до 0,9 м. максимальная глубина погружения рабочего органа - 30 м,
скорость перемещения - 15-30 м/ч. Управление и энергообеспечение земснаряда
осуществляется с надводного вспомогательного судна.
В Японии фирмой «Комацу» разработан подводный бульдозер, предназначенный
для работы на глубинах от 2 до 60 м. Бульдозер имеет дистанционное управление,
размещаемое на судне или на берегу. Масса гусеничного трактора (на воздухе) -
34 т, мощность электродвигателя - 125 кВт, скорость передвижения - 2 и 3,5
км/ч. Высокая мощность и большая масса бульдозера обеспечивают перемещения
большого количества грунта и позволяют разрабатывать твердые грунты, для
разработки которых не пригодны землесосоы и ковшовые землечерпалки.
В Германии создана установка, предназначенная для выполнения земляных
работ на глубинах до 4 км, которая может быть использована и для разработки
подводных траншей на больших глубинах. Установка, показанная на рисунке 1.17,
состоит из подводного экскаватора 4, промежуточной подводной станции 2 и
надводного судна 1.
Рисунок 1.17 - Установка для разработки подводных траншей на больших
глубинах
На стреле 5 длиной 15 м укреплено всасывающее устройство 6 с механическим
разрыхлителем фрезерного типа. Подъем и опускание стрелы осуществляется
гидроприводом. Экскаватор связан с промежуточной подводной станцией силовыми
кабелями, проводами системы управления и пульпопроводом 3. Глубина опускания
промежуточной станции принимается такой, чтобы разрабатываемый экскаватором
грунт в виде пульпы поступал в нее за счет перепада гидростатического давления.
В промежуточной станции происходит разделение грунта и воды. С надводным судном
промежуточная станция связана трубопроводом для подачи разработанного грунта на
поверхность и трубопроводами большого диаметра, служащими для перемещения
обслуживающего персонала в подводную станцию, а также подачи необходимых
материалов и прокладки кабелей. Внутри станции поддерживается атмосферное
давление, поэтому обслуживающие и ремонт ее механизмов проводятся без
глубоководных скафандров.
В США создано устройство для заглубления предварительно уложенных на дно
подводных трубопроводов и кабелей. Это устройство показано на рисунке 1.18.
Рисунок 1.18 - Устройство для заглубления трубопроводов и кабелей
Состоит устройство из рамы 4 П-образной формы. Рама опирается на гусеницы
10, с помощью которых устройство перемещается вдоль заглубляемого трубопровода
8. Обеспечение требуемой плавучести устройства осуществляется двумя
цилиндрическим понтонами 3. Для предотвращения погружения устройства в слабые
грунты и улучшения перемещения предусмотрены лыжи 9. Грунт разрабатывается с
помощью вращающихся рыхлителей 7, устанавливаемых на конце шарнирных рычагов 5
и располагаемых по обеим сторонам трубопровода 8. Центробежные насосы
обеспечивают высасывание пульпы по тубам 6 и засыпку заглубляемого трубопровода
из труб 2. Управление устройством и обеспечение его энергией осуществляется с
надводного судна 1.
В США сконструирован также новый тип дноуглубительного снаряда,
изображенного на рисунке 1.19.
Рисунок 1.19 - Схема дноуглубительного снаряда с вращающейся штангой
Направляющие тросы проходят через заанкеренные блоки 8 к втулке 12, в
которой вращается штанга. Натяжение тросов регулируется лебедками 6, установленными
на судне. Блоки анкеруются трубчатыми стальными сваями 9. После установки
анкерных свай и блоков, штанга поднимается в верхнее положение, на ее нижнем
конце устанавливаются режущая головка и втулка, к которой крепятся четыре конца
направляющих тросов. Вторые концы тросов закрепляются на барабанах судовых
лебедок и штанга опускается в рабочее положение. В средней части штанги
устанавливается воздушный коллектор 14, обеспечивающий работу штанги по подъему
грунта методом эрлифта. Сверху на штангу устанавливается шарнирное устройство 4
и неподвижная секция трубы с разгрузочным желобом 2, по которому разработанный
и поднятый эрлифтом на поверхность донный материал в виде пульпы поступает на
баржу 1. Дноуглубительный снаряд удерживается в заданном положении системой
якорей или с помощью подруливающих устройств. Этот тип дноуглубительного
снаряда по сравнению с другими имеет некоторые преимущества, одно из которых -
возможность разработки грунта на больших глубинах, достигающих несколько тысяч
метров, без заметного снижения судна.
2
РАСЧЕТНАЯ ЧАСТЬ
2.1 Расчет стенки трубопровода при избыточном внутреннем давлении
Выбор толщины стенки трубопровода - один из ключевых вопросов
проектирования, базирующихся на методах расчета прочности и устойчивости любой
конструкции, обеспечивающих, в конечном счете безопасность эксплуатации
морского трубопровода.
Анализ нормативных методов расчета морских трубопроводов показывает, что
выбор толщины стенки трубы основывается в основном на прочностном расчете. В
итоге задача проектирования морского трубопровода будет состоять в уточненном
расчете прочности трубы при соблюдении требуемых условий надежности всей
конструкции и на всех стадиях строительства.
Методика расчета взята из источника [2].
2.1.1 Отечественные нормы расчета
Специально для проектирования и строительства морских газопроводов
разработаны и с 01.12.1998 года введены ведомственные нормы ВН 39-1.9-005-98
«Нормы проектирования и строительства морского газопровода».
Минимальная толщина стенки газопровода под внутренним давление:

; (2.1)
где т коэффициент надежности, m = 1,6;
Дp избыточное давление в трубе
(разность между внутренним и наружным давлениями), Па, Дp = 10 МПа;
Dn - номинальный диаметр трубы, м, Dn = 1020 мм;
k -
расчетный коэффициент надежности для морского участка, k = 0,72;
уt - минимальный предел текучести
материалы трубы (сталь класса Х-65, предел текучести по спецификации API SL), Па, уt
= 448 МПа.
Рассчитаем толщину стенки газопровода согласно отечественной норме
расчета для морского участка:

.
Рассчитаем
толщину стенки газопровода согласно отечественной норме расчета для берегового
участка:
k -
расчетный коэффициент надежности для берегового участка, k = 0,6;
Таким образом, по отечественному стандарту толщина стенки трубы для
морского участка равна 25 мм, а для берегового участка - 30 мм.
2.1.2 Американский стандарт ASME B31.8
Американский национальный стандарт ASME B31.8 «Газотранспортные и распределительные трубопроводные
системы» в чистом виде принимает основную расчетную формулу теории тонкостенных
оболочек вида (формула Барлоу):

(2.2)
где ус-кольцевые напряжения;
Дp -избыточное давление в трубе
(разность между внутренним и наружным давлениями), Па, Дp = 10 МПа;
Dn - номинальный диаметр трубы, м, Dn = 1020 мм;
д - толщина стенки трубы, м.
Согласно американскому стандарту толщина стенки определяется из условия:

(2.3)
где F1-нормативный коэффициент, F1 = 0,72;
kt - коэффициент, учитывающий влияние температуры ,до температуры 121 °С, kt = 1;
уt - минимальный предел текучести
материалы трубы (сталь класса Х-65, предел текучести по спецификации API SL), Па, уt
= 448 МПа.
Выполним расчет толщины стенки трубы по американскому стандарту:

.
Таким
образом, по американскому стандарту толщина стенки трубы равна 16 мм.
.1.3 Британский стандарт BS 8010, часть 3
Британский стандарт «Трубопроводы» состоит из четырех частей. Первые две
части относятся к наземным трубопроводам, оставшиеся - третья и четвертая части
- относятся к проектированию, строительству и монтажу морских трубопроводов.
Часть 3 «Трубопроводы морские: проектирование, строительство и монтаж».
Суть механического расчета трубы состоит в расчете растягивающих
кольцевых напряжений.
В британском стандарте приводятся две формулы:
· Уже известная формула (2.1) для тонкостенной трубы;
· Для толстостенной трубы применительно к внутренней
поверхности кольцевые напряжения рассчитываются по формуле:

(2.4)
где Дp-избыточное давление в трубе
(разность между внутренним и наружным давлениями), Па, Дp = 10 МПа;
D0 -внутренний диаметр трубопровода,
мм;
Dt - внешний диаметр трубопровода, мм,

(2.5)
где д- толщина стенки трубопровода, мм.
Допустимый уровень кольцевых напряжений равен:

.(2.6)
В нашем случае расчет по британскому стандарту соответствует
отечественному стандарту, т.к. труба является тонкостенной.
2.1.4 Норвежский стандарт OS-F101
Норвежский стандарт OS-F101 «Подводные трубопроводные
системы» использует следующую формулу для расчета кольцевых растягивающих
напряжений, которая определяет напряжения на внутренней поверхности трубы:

(2.7)
где д - минимально возможное значение толщины стенки в процессе
эксплуатации, мм,

(2.8)
или в процессе строительства:
(2.9)

где дnom-
номинальная толщина стенки трубы, мм;
дfab - допуск на изготовление трубы, мм,
дfab = 0,2 мм;
дcorr- припуск на коррозию в процессе
эксплуатации, мм, дcorr = 1,5 мм.
Максимальная разница давлений должна удовлетворять условию

, (2.10)
где pii - инцидентное давление в точке
трубопровода, Па;
pb(д1)- рабочее давление, соответствующее минимальному пределу
текучести или временному сопротивлению на разрыв, Па;
(2.11)
где x необходимо заменить на д1
или д2;
уs - предел прочности стали, Па, уs = 530 МПа;

-
коэффициент сопротивления материала трубы, зависящий от способа ее
производства, 
= 1,1
при (SLS/ULS/ALS), 
= 1 при FLS;

-
коэффициент класса безопасности, 
= 1,138
для трубопроводов за пределами 500 метров частой человеческой деятельности, 
= 1,308
для трубопровода в пределах 500 м частой человеческой деятельности.
Выполним расчет толщины стенки трубы за пределами человеческой
деятельности:


Для
трубопроводных систем имеют значение следующие категории предельных состояний:-
предельное состояние по критерию пригодности к нормальной эксплуатации;-
основное предельное состояние;- предельное состояние по критерию усталостности;
АLS
- особое (чрезвычайное) предельное состояние.
Выполненные
расчеты показывают, что различие результатов, рассчитанных по разным
национальным стандартам, обусловлены в основном выбором коэффициентов
надежности. Эти коэффициенты обусловлены требованием безаварийной работы и
зависят от категории участка, качества изготовления труб, технологии
строительных работ (в основном сварочных) и методов укладки трубопровода.
2.2
Расчет устойчивости морских подводных трубопроводов при воздействии волн и
течений [5]
2.2.1 Глубоководный участок
Для трубопроводов, укладываемых на глубоководных участках трассы,
волновые воздействия можно не учитывать. Устойчивость трубопровода будет
обеспечена, если его наименьший вес подобран в соответствии с условием:

(2.12)
где KH - коэффициент надежности устойчивого
положения трубопровода на дне моря. Значение коэффициента надежности
принимается KН = 1,15 - 1,20 в зависимости от гидрометеорологических
условий по трассе трубопровода;
GT - расчетная масса на воздухе 1 м трубопровода с учетом изоляции, кг/м,
RT - расчетная выталкивающая сила воды (сила Архимеда), действующая на 1 м
трубопровода с учетом изоляции, кг/м,

; (2.13)
где гв - объемная масса морской воды, кг/м3, гв
= 1030 кг/м3;
Gб - расчетная масса на воздухе
балласта, потребного для пригрузки 1 м по длине трубопровода, кг/м,

; (2.14)
где гд - объемная масса материала балласта, кг/м3,
гд = 2900 кг/м3;
Rб - расчетная выталкивающая сила воды,
действующая на балласт, необходимый для пригрузки 1 м по длине трубопровода,
кг/м,

; (2.15)
При значительном придонном течении (0,5 м/с) дополнительно к весу
балласта, определенному по формуле (2.15), добавляется вес балласта, определенный
по формулам (2.21), (2.29), (2.30), компенсирующий нагрузку, вызванную
течением.
Диаметр обетонированного подводного трубопровода определяют по формуле:

; (2.16)
Толщины бетонного покрытия:

(2.17)
Рассчитаем толщину бетонного покрытия для нашего случая. Для этого примем
исходные данные:
Таким образом, толщина бетонного покрытия на глубоководном участке
трубопровода составляет 118 мм.
2.2.2 Мелководный участок
Для определения параметров волнения необходимо пользоваться картой
акватории, на которой обозначена трасса трубопровода, нанесены линии равных
высот и показано направление (лучи) распространения их при прохождении над
трубопроводом.
Вероятностные характеристики расчетной волны при определении устойчивости
морских трубопроводов принимаются в соответствии с указаниями «Рекомендаций по
проектированию и строительству морских подводных нефтегазопроводов Р 412-81».
Допустимый наименьший вес трубопровода в воде рассчитывают по формуле
2.18
где КH -
коэффициент надежности, КH
= 1,2;
n -
коэффициент, характеризующий соприкасание трубопровода с подстилающим грунтом
морского дна, n = 1,35 (по таблице 2.1);
f -
коэффициент трения при перемещении трубопровода поперек трассы, f = 0,45 (по таблице 2.1);
Таблица 2.1 - Таблица подбора коэффициентов n и f
|
Поверхностные грунты морского дна
|
Коэффициенты
|
|
n
|
f
|
1/nf
|
|
Разрушенная скала, скальные грунты
|
1,15
|
0,65
|
1,35
|
|
Крупные пески и гравелистые грунты
|
1,25
|
0,55
|
1,45
|
|
Мелкие пески и супеси
|
1,35
|
0,45
|
1,65
|
|
Илистые и суглинистые грунты
|
1,45
|
0,40
|
1,75
|
(Pх)расч - расчетные значения горизонтальной боковой
силы от воздействия волн и течений, кг/м,

(2.19)
где Ксн - коэффициент снижения волновой нагрузки, Ксн
= 0,6;
PXM - горизонтальная составляющая силы давления от течения,
кг/м,

(2.20)
где PXU - инерционная компонента
горизонтальной составляющей нагрузки от волн, кг/м,

(2.21)
где гв - объемная масса морской воды, кг/м3, гв
= 1030 кг/м3;
Dб - диаметр обетонированного подводного трубопровода, м,
Dб = 1,268 м;
h -
высота расчетной волны, м, h = 6
м;
л - длина расчетной волны, м, л = 108 м;
ех - коэффициенты удельной нагрузки от волн, ех = 0,1 (по рисунку 2.1),
т. к. соотношения

и 
;
Рисунок 2.1 - Графики значений коэффициентов удельной нагрузки от волн иx(а) и еx(б)
дXU - коэффициент инерционной компоненты
удельной горизонтальной нагрузки
волн, дXU = 1 (по
рисунку2.2),
т.
к. 
и 
;
дXC - коэффициент скоростной компоненты
удельной горизонтальной нагрузки от волн,
дXC = 0,05 (по рисунку2.2), т. к.

и 
;
Рисунок 2.2 - Графики значений коэффициентов сочетания инерционного дхи
(графики 1) и скоростного дхс (графики 2) компонентов удельной
горизонтальной нагрузки от волн
PXC - скоростная компонента горизонтальной составляющей нагрузки
от волн, кгс/м,

(2.22)
ц - угол между лучом набегающей волны и нормалью к трассе трубопровода, ц
= 45°C;
PXT - вертикальная составляющая силы давления от течения, кг/м,

(2.23)
где CX - коэффициент лобового сопротивления
при обтекании цилиндра равномерным установившимся потоком жидкости
(устанавливается по графику, приведенному на рисунке 2.3), CX = 1,2;
Рисунок 2.3 - Рекомендуемые значения коэффициента лобового сопротивления
Сх при обтекании трубопровода равномерным установившемся потоком
жидкости
V -
скорость донных течений на возвышении Du от дна, м/с,
V =
0,5 м/с;
g -
ускорение силы тяжести, м/с2,g = 9,81 м/с2;
в - угол между нормалью к оси трубопровода и направлением придонного
течения, в = 0;
(PZ)расч - расчетное значение
вертикальной подъемной силы от воздействия волн и течений, кг/м,
где Ксн - коэффициент снижения волновой нагрузки, Ксн
= 0,6;
PZ - вертикальная проекции нагрузки от волн, действующих на 1 м длины,
кг/м,

(2.24
где PXC - скоростная компонента
горизонтальной составляющей нагрузки от волн, кгс/м, PXC = 136,8 кг/м;
дXC - коэффициент скоростной компоненты
удельной горизонтальной нагрузки от волн, дXC = 0,05;
ц - угол между лучом набегающей волны и нормалью к трассе трубопровода, ц
= 45°C;
PZT - вертикальная составляющая силы давления от течения, кг/м,

(2.25
где Cz - коэффициент подъемной силы
(устанавливается по графику, приведенному на рисунке 2.4), Cz = 0,8
гв - объемная масса морской воды, кг/м3, гв
= 1030 кг/м3;
Dб - диаметр обетонированного
подводного трубопровода, м,
Dб = 1,268 м;
V -
скорость донных течений на возвышении Du от дна, м/с,
V =
0,5 м/с;
g -
ускорение силы тяжести, м/с2,g = 9,81 м/с2;
в - угол между нормалью к оси трубопровода и направлением придонного
течения, в = 0;
Рисунок 2.5 - Рекомендуемые значения коэффициента подъемной силы Cz
Таким образом пригруз трубопровода равен 202,2 кг/м.
Если определенный по формуле (2.19) допустимый вес трубопровода в воде
оказывается большим, чем фактический вес запроектированного трубопровода, то
трубопровод необходимо забалластировать грузами, надежно прикрепленными к нему
через определенные расстояния, или сплошным бетонным утяжеляющим покрытием.
Величину балластировки 1 м свободно лежащего на дне трубопровода принимают:

. (2.26
При использовании сплошного утяжеляющего покрытия или при балластировке
отдельными грузами, расстояние между которыми в свету меньше полуторной
протяженности груза, расчет сил волновых воздействий и давления от течения
производится повторно, если ожидается значительное увеличение этих нагрузок с
учетом увеличенного соответственно наружного диаметра трубопровода.
2.2.3 Прибрежный участок
Границей между мелководным и прибрежным участками по трассе трубопровода
следует принимать глубину моря, равную полуторной высоте волны в данном створе;
последнюю следует определять по наблюдениям или рассчитывать согласно
Техническим условиям СН 288-64 (Указания по проектированию гидротехнических
сооружений, подверженных волновым воздействиям. М. Госстройиздат, 1965) с
учетом деформации волн, выходящих с глубокой воды на мелководье.
На прибрежных участках трассы подводные трубопроводы, заглубляются в
грунт. При этом под воздействием прибойных волн возможен переход грунта в
жидкотекучее состояние. В этих условиях трубопровод необходимо дополнительно
проверять на устойчивость в соответствии с зависимостью:

(2.27
где гТ объемная масса трубопровода, кг/м3;
КН - коэффициент надежности, КН = 1,2;
гГ - объемная масса разжиженного грунта, кг/м3,
2.28
где GГР - удельная масса скелета грунта, кг/м3, GГР = 2650 кг/м3;
гв - объемная масса морской воды, кг/м3, гв
= 1030 кг/м3;
W -
влажность грунта (отношение массы воды, заключенное; в порах грунта, к массе твердых
частиц гранта), %, W = 194 %;
Таким образом объемная масса трубопровода должна быть равна
или превышать 1568 кг/м3.
2.3 Расчет трубопроводов на лавинное смятие
Методика расчета взята из источника [2].
В отечественном стандарте ВН 39-1.9-005-98 (так же, как и в американских
рекомендациях API 1111) содержится следующая формула
для расчета газопровода на лавинное смятие:

(2.29
где уt -
минимальный предел текучести материалы трубы (сталь класса Х-65, предел
текучести по спецификации API SL), Па, уt = 448 МПа.
д - толщина стенки трубопровода по отечественному стандарту, м, д = 30
мм;
Dn - номинальный диаметр трубы, м, Dn = 1020 мм;
Эта формула по механической сути, близка к норвежскому стандарту OS-F101, который содержит формулу:
где уt -
минимальный предел текучести материалы трубы (сталь класса Х-65, предел текучести
по спецификации API SL), Па, уt = 448 МПа.

-коэффициент
класса безопасности, 
= 1,308
для трубопровода в пределах 500 м частой человеческой деятельности;

-коэффициент
сопротивления материала трубы, зависящий от способа ее производства, 
= 1,1
при (SLS/ULS/ALS), 
= 1 при FLS;
бtb
-максимальный коэффициент изготовления труб, бtb = 11,3;
д2
- толщина стенки трубы в пределах частой человеческой деятельности, д2
= 7,49 МПа;
Британский стандарт BS
8010, часть 3, рассчитывает лавинное смятия по формуле:

(2.31
Давление, рассчитанное по британскому стандарту на 96 % больше давления
рассчитанного по отечественному стандарту, и на 87 % больше давления
посчитанного по британскому стандарту.
Библиографический список
Капустин, К.Я., Камышев М. Строительство морских
трубопроводов [Текст] / Капустин, К.Я., Камышев М.А. - М.: Недра, 1982, - 207
с.
Папуша, А.Н. Проектирование морского подводного
трубопровода: расчет на прочность, изгиб и устойчивость морского трубопровода в
среде Mathematica [Текст]: учебное пособие / А.Н.
Папуша - Москва-Ижевск: НИЦ «Регулярная и хаотическая динамика»; Институт
компьютерных исследований, 2006, - 328 стр.
Бородавкин, П.П. Морские нефтегазовые сооружения.
Часть 2. Технология строительства [Текст]: Учебник для вузов / П.П. Бородавкин
- М.: ООО «Недра-Бизнесцентр», 2007. - 408 с.: ил.
Рекомендации по проектированию и строительству
морских подводных нефтегазопроводов Р 412-81[Текст]. - М.: 1981
Золотухин, А.Б. Основы разработки шельфовых
месторождений и строительство морских сооружений в Арктике [Текст]: Учебное
пособие / А.Б. Золотухин, О.Т. Гудместад, А.И. Ермаков - М.: ГУП Изд-во «Нефть
и газ» РГУ нефти и газа им. И.М. Губкина, 2000. - 770 с.
ГОСТ Р 54382 - 2011 Нефтяная и газовая
промышленность. Подводные трубопроводные системы. Общие технические требования
[Текст]. - М.: Стандартинформ, 2012 - 270 с.