Технология ремонта цилиндропоршневой группы автомобиля с разработкой приспособления для выпрессовки поршневых пальцев
Министерство
образования и науки Российской Федерации
Государственное
образовательное учреждение высшего профессионального образования
"Пермский
государственный технический университет"
Лысьвенский
филиал
Факультет
среднего профессионального образования
ДИПЛОМНЫЙ
ПРОЕКТ
на тему
"Технология ремонта цилиндропоршневой группы автомобиля с разработкой
приспособления для выпрессовки поршневых пальцев"
по специальности "Техническое обслуживание
и ремонт автомобильного транспорта"
Руководитель проекта: В.Г Половников
Консультант по экономической части: Н.В. Гужавина
Консультант по БЖД Г.М. Войтко
Консультант по охране труда В.В. Хмеляр
Лысьва 2011
РЕФЕРАТ
Дипломная работа содержит 60 листов машинописного текста, 3 таблицы, 6
рисунков, 14 использованных источников, 4 приложения.
Ключевые слова:
СИСТЕМА ТЕХНИЧЕСКОГО ОБСЛУЖИВАНИЯ И ТЕКУЩЕГО РЕМОНТА, ОБЪЕКТ
ИССЛЕДОВАНИЯ, ПРЕДМЕТ ИССЛЕДОВАНИЯ, ТЕХНОЛОГИЧЕСКИЙ ПРОЦЕСС, ОПЕРАЦИОННАЯ
ТЕХНОЛОГИЧЕСКАЯ КАРТА, НОРМИРОВАНИЕ ВРЕМЕНИ, ЦИЛИНДРОПОРШНЕВАЯ ГРУППА, ДИАГНОСТИКА.
В дипломной работе разработаны технологический процесс ремонта
цилиндропоршневой группы двигателя и приспособление для выпрессовки поршневых
пальцев. Рассмотрены характерные неисправности, их признаки и методы
диагностики. Произведен расчет прочностных характеристик проектируемого
приспособления. Произведен расчет затрат на изготовление, определены его
технические характеристики. Рассмотрены вопросы техники безопасности при
ремонте транспортных двигателей, охраны окружающей среды.
СОДЕРЖАНИЕ
ВВЕДЕНИЕ
.
ТЕХНОЛОГИЧЕСКАЯ ЧАСТЬ
1.1 Общее
устройство цилиндропоршневой группы двигателя
1.2 Анализ
возможных неисправностей цилиндропоршневой группы двигателя
1.3 Диагностика неисправностей цилиндропоршневой группы
двигателя
.3.1 Диагностика двигателя по состоянию
выхлопа
1.3.2 Замер
компрессии в цилиндрах двигателя
.3.3
Вакуумный метод оценки состояния цилиндропоршневой группы и прогнозирование
остаточного ресурса прибором АГЦ
.4 Технология
ремонта цилиндропоршневой группы двигателя
.5 Анализ
оборудования и инструментов
.5.1
Компрессограф для дизельных двигателей Zeca
.5.2 КМ - 201
Комрессометр
.5.3
Индикатор пневмоплотности цилиндров ИПЦ-ДР ДД-4200
.5.4
Компрессометр для легковых дизельных автомобилей SMC-104
.5.5
Вакуум-анализатор цилиндропоршневой группы
.5.6 SMC103
Компрессометр для бензиновых автомобилей
.5.7 Тестер
герметичности цилиндропоршневой группы LTR
.6
Нормирование операций по разборке-сборке цилиндропоршневой группы двигателя
.7
Организация и оборудование рабочего места
.
КОНСТРУКТОРСКАЯ ЧАСТЬ
.1
Предложения
.2 Сравнение
предлагаемого приспособления с промышленными образцами
2.3 Теория расчетов на прочность
2.4 Расчет приспособления на прочность
3.
ЭКОНОМИЧЕСКАЯ ЧАСТЬ
.1 Расчет
себестоимости приспособления
. ОХРАНА
ТРУДА И ТЕХНИКА БЕЗОПАСНОСТИ
.1 Постановка
автомобиля на обслуживание
.2
Вывешивание автомобиля
.3 Работа в
осмотровой канаве
.4 Снятие,
установка агрегатов и их перевозка
.5 Инструмент
и приспособления
.6 Пуск
двигателя
.7
Обеспечение безопасности при эксплуатации газобаллонных автомобилей
.
ЭКОЛОГИЧЕСКАЯ БЕЗОПАСНОСТЬ
ЗАКЛЮЧЕНИЕ
Список
использованных источников
ПРИЛОЖЕНИЕ А
- Планировка поста по ремонту двигателей
ПРИЛОЖЕНИЕ Б
- Схема работы приспособления
ПРИЛОЖЕНИЕ В
- Чертеж приспособления для выпрессовки поршневых пальцев
ПРИЛОЖЕНИЕ Г
- Операционная технологическая карта
цилиндропоршневой двигатель палец ремонт
ВВЕДЕНИЕ
Цилиндропоршневая группа является наиболее важной частью двигателя. В ней
происходит процесс преобразования тепловой энергии сгорания топлива в
механическую энергию движения поршня. Этот процесс происходит в условиях
высоких температур и давления, что в совокупности является агрессивной средой
для деталей цилиндропоршневой группы двигателя. В связи с этим, стоит уделять
особое внимание состоянию ЦПГ, так как малейшее отклонение от нормы, может
привести ко многим нежелательным последствиям: повышенный расход топлива,
потеря мощности, увеличение токсичности отработавших газов, повышенный расход
масла и др. Все эти факторы ведут к нежелательным экономическим потерям, которые
особенно заметны в условиях предприятия.
Тема выпускной квалификационной работы: "Технология ремонта
цилиндропоршневой группы двигателя с разработкой приспособления для выпрессовки
поршневых пальцев". В ходе работы будет рассмотрена цилиндропоршневая
группа, ее устройство, возможные неисправности, разработаны предложения по
совершенствованию процесса ремонта ЦПГ.
1. ТЕХНОЛОГИЧЕСКАЯ ЧАСТЬ
.1 Общее устройство цилиндропоршневой группы двигателя
В состав ЦПГ цилиндропоршневой группы двигателя входит две группы
деталей: неподвижные и подвижные.
К неподвижным деталям относятся блок цилиндров, служащий основой
двигателя, цилиндр, головки блока или головки цилиндров. Подвижными деталями
являются поршни с кольцами и поршневыми пальцами, шатун.
Цилиндропоршневая группа воспринимает давление газов при такте
сгорание-расширение и преобразовывает прямолинейное, возвратно-поступательное
движение поршня во вращательное движение коленчатого вала.
В отливке блока цилиндров имеется рубашка для жидкостного охлаждения двигателя,
представляющая собой полость между стенками блока и наружной поверхностью
вставных гильз. Охлаждающая жидкость подается в рубашку охлаждения через два
канала, расположенные по обеим сторонам блока цилиндров.
Блок цилиндров отливается из серого чугуна или из алюминиевого сплава.
Рабочая поверхность цилиндров является направляющей при движениях поршня
и вместе с ним и головкой блока цилиндров образует замкнутое пространство, в
котором происходит рабочий цикл двигателя. Для плотного прилегания поршня и
поршневых колец к цилиндру и уменьшения сил трения между ними внутреннюю
полость цилиндров тщательно обрабатывают с достаточной степенью точности и
чистоты, и поэтому она называется зеркалом цилиндра. Цилиндры могут быть отлиты
как одно целое со стенками рубашки охлаждения или изготовлены отдельно от блока
в виде вставных гильз. Последние подразделяются на "сухие" гильзы,
запрессованные в расточенный блок, и сменные, "мокрые" гильзы,
омываемые с наружной стороны охлаждающей жидкостью.
При сгорании рабочей смеси верхняя часть цилиндров сильно нагревается и
подвергается окислительному воздействию продуктов сгорания, поэтому в верхнюю
часть блока цилиндров или гильз, как правило, запрессовывают короткие вставки -
сухие гильзы длиной 40 - 50 мм.
Вставки изготовляют из легированного чугуна, обладающего высокой износо-
и коррозионной стойкостью.
При установке мокрой гильзы ее борт выступает над плоскостью разъема на
0,02 - 0,15 мм. Это позволяет уплотнять ее, зажимая борт через прокладку между
блоком и головкой цилиндров. В нижней части гильза
уплотняется двумя резиновыми кольцами или медными прокладками,
установленными по торцу нижнего пояса гильзы. Преимущественное применение в
двигателях мокрых гильз связано с тем, что они обеспечивают лучший отвод тепла.
Это повышает работоспособность и срок службы деталей цилиндропоршневой группы,
при этом снижаются затраты, связанные с ремонтом двигателей в процессе
эксплуатации.
Поршень. Воспринимает давление газов при рабочем такте и передает его через
поршневой палец и шатун на коленчатый вал. Поршень представляет собой
перевернутый цилиндрический стакан, отлитый из алюминиевого сплава. В верхней
части поршня расположена головка с канавками, в которые вставлены поршневые
кольца. Ниже головки выполнена юбка, направляющая движение поршня. В юбке
поршня имеются приливы-бобышки с отверстиями для поршневого пальца.
При работе двигателя поршень, нагреваясь, расширится и, если между ним и
зеркалом цилиндра не будет необходимого зазора, поршень заклинится в цилиндре и
двигатель прекратит работу. Однако большой зазор между поршнем и зеркалом
цилиндра также нежелателен, так как это приводит к прорыву части газов в картер
двигателя, падению давления в цилиндре и уменьшению мощности двигателя. Чтобы
поршень не заклинивался при прогретом двигателе, головку поршня выполняют
меньшего диаметра, чем юбка, а саму юбку в поперечном сечении изготавливают не
цилиндрической формы, а в виде эллипса с большой осью его в плоскости,
перпендикулярной поршневому пальцу. На юбке поршня может быть разрез. Благодаря
овальной форме и разрезу юбка предотвращает заклинивание поршня при работе
прогретого двигателя.
Поршневые кольца, применяемые в двигателях, подразделяются на компрессионные
и маслосъемные.
Компрессионные кольца уплотняют зазор между поршнем и цилиндром и служат
для уменьшения прорыва газов из цилиндров в картер, а маслосъемные снимают
излишки масла с зеркала цилиндров и не допускают проникновение масла в камеру
сгорания. Кольца, изготовленные из чугуна или стали, имеют разрез (замок).
При установке поршня в цилиндр поршневое кольцо предварительно сжимают, в
результате чего обеспечивается его плотное прилегание к зеркалу цилиндра при
разжатии. На кольцах имеются фаски, за счет которых кольцо несколько
перекашивается и быстрее притирается к зеркалу цилиндра, и уменьшается насосное
действие колец.
Количество колец, устанавливаемых на поршнях разных двигателей,
неодинаковое. Например, на поршнях двигателей ЗИЛ-130 три компрессионных
кольца, два верхних хромированы по поверхности, соприкасающейся с гильзой.
Маслосъемных колец в изучаемых двигателях по одному. Маслосъемное кольцо
собрано из четырех отдельных элементов - двух тонких стальных разрезных колец и
двух гофрированных стальных расширителей (осевого и радиального).
При установке колец на поршень их замки следует размещать в разные
стороны.
Поршневой палец. Для шарнирного соединения поршня с верхней головкой шатуна
служит поршневой палец. Через пальцы передаются значительные усилия, поэтому их
изготовляют из легированных или углеродистых сталей с последующей цементацией
или закалкой ТВЧ. Поршневой палец представляет собой толстостенную трубку с
тщательно отшлифованной наружной поверхностью, проходящую через верхнюю головку
шатуна и концами опирающуюся на бобышки поршня.
По способу соединения с шатуном и поршнем пальцы делятся на плавающие и
закрепленные (обычно в головке шатуна). Наибольшее распространение получили
плавающие поршневые пальцы, которые свободно поворачиваются в бобышках и во
втулке, установленной в верхней головке шатуна. Осевое перемещение поршневого
пальца ограничивается стопорными кольцами, расположенными в выточках бобышек
поршня.
При работающем двигателе в бобышках поршня возможны стуки пальцев из-за
различного коэффициента линейного расширения сплава и стали.
Шатун. Он служит для соединения поршня с кривошипом коленчатого вала и
обеспечивает при такте рабочего хода передачу усилия от давления газов на
поршень к коленчатому валу, а при вспомогательных тактах (впуск, сжатия,
выпуск), наоборот, от коленчатого вала к поршню. При работе двигателя шатун
совершает сложное движение. Он движется возвратно-поступательно вдоль оси
цилиндра и качается относительно оси поршневого кольца.
Шатун штампуют из легированной или углеродистой стали. Он состоит из
стержня двутаврового сечения, верхней головки, нижней головки и крышки. В
стержне шатуна при принудительном смазывании плавающего поршневого пальца (в
основном у дизелей) сверлится сквозное отверстие - масляный канал.
Нижнюю головку, как правило, делают разъемной в плоскости,
перпендикулярной к оси шатуна. В тех случаях, когда нижняя головка имеет
значительные размеры и превышает диаметр цилиндра.
Крышка шатуна изготовляется из той же стали, что и шатун, и
обрабатывается совместно с нижней головкой, поэтому перестановка крышки с
одного шатуна на другой не допускается. На шатунах и крышках с этой целью
делают метки, чтобы обеспечить высокую точность при сборке нижней головки
шатуна, его крышку фиксируют шлифованными поясками болтов, которые затягивают
гайками и стопорят шплинтами или шайбами. В нижнюю головку устанавливают
шатунный подшипник в виде тонкостенных стальных вкладышей, которые с внутренней
стороны покрыты слоем антифрикционного сплава.
От осевого смещения и провертывания вкладыши удерживаются выступами
(усиками), которые входят в канавки нижней головки шатуна и его крышки. В
нижней головке шатуна и во вкладыши делается отверстие для периодического
выбрызгивания масла на зеркало цилиндра или на распределительный вал.
Для лучшей уравновешенности кривошипно-шатунного механизма разница в массе
шатунов не должна превышать 6 - 8 г. В V-образных двигателях на каждой шатунной шейке коленчатого
вала расположены два шатуна. В этих двигателях для правильной сборки
шатунно-поршневой группы поршни и шатуны устанавливают строго по меткам.
.2 Анализ возможных неисправностей цилиндропоршневой группы
двигателя
При диагностировании деталей ЦПГ необходимо убедиться в исправности
других узлов и систем двигателя, оказывающих влияние на работоспособность
рассматриваемых деталей (система газораспределения, система питания, система
зажигания и др.). Так, в случаях повышенного расхода масла на долив (выше 1,5%)
необходимо убедиться в отсутствии течи масла из двигателя наружу и
разгерметизации впускного тракта.
Диагностирование до разборки двигателя необходимо начинать с выяснения
условий работы двигателя, качества и объёма проведённых обслуживании и текущих
ремонтов.
В условиях работы необходимо оценить тепловой
режим и наличие шума или стука при работе. Необходимо также определить
возможные остановки двигателя по неустановленным причинам, расход масла на
долив и характер его изменения за общее время работы двигателя в эксплуатации.
После выполнения указанных работ при возможности запустить двигатель и
прослушать его работу на режимах холостого хода от минимальной до максимальной
частоты вращения коленчатого вала. Необходимо осмотреть отложения на шторах
бумажного элемента полнопоточного масляного фильтра, или в фильтре центробежной
очистки масла. Обратить особое внимание на количество отложений и наличие
металлической стружки. Необходимо отобрать пробу масла из картера двигателя в
количестве 250 -500 мл и отправить её в химическую лабораторию на предмет
определения физико-химических показателей масла (вязкость, щелочное число,
количество нерастворимых осадков, наличие воды в масле, диспергирующие свойства
и др.).
Могут быть использованы также методы инструментального (приборного)
диагностирования. Так, замеряется давление в конце такта сжатия в цилиндрах
двигателя. Оно определяется в абсолютных единицах с помощью компрессометра или
в относительных единицах с помощью специальной аппаратуры, фиксирующей
изменение силы тока в цепи стартера при прокрутке коленчатого вала в процессе
последовательного отключения цилиндров двигателя.
Компрессометром замеряется давление сжатия (Рс) при прокрутке коленчатого
вала стартером или в режиме работы двигателя при минимальной частоте холостого
хода. Последний вариант испытаний является более предпочтительным, т.к.
точность измерения возрастает за счет поддержания определенного скоростного
режима двигателя. Величина давления сжатия при nx/x = 800 мин-1 для двигателей
ЯМЗ должна составлять Рc = 3,0...3,5 МПа (30...35 кг/см2). Для
бензиновых двигателей эта величина должна равняться Рc =1,0…1,2 Мпа (10…12
кг/см2). Особое внимание следует обращать на разность давлений Рc по
цилиндрам. Это сравнение позволит определить цилиндр с дефектными деталями ЦПГ.
По замерам значений Рc можно определить следующие дефекты деталей ЦПГ:
прогар поршня, поломку компрессионного кольца, изношенность деталей, закоксовку
колец, задиры поршней и негерметичность клапанов механизма газораспределения.
При указанных дефектах обычно значение Рc в цилиндре бывает меньше 2,0...2,1
МПа (20...21 кг/см2).
Дополнительную информацию о состоянии деталей ЦПГ можно получить с помощью
физико-химического и спектрального анализов картерного масла.
Наибольший объём информации о причинах выхода из строя деталей ЦПГ можно
получить после разборки двигателя и анализа состояния деталей. Состояние
деталей ЦПГ и возможные причины их дефектов приведены в таблице 1.
Таблица 1- Состояние деталей ЦПГ и причины их дефектов
|
Состояние
деталей ЦПГ
|
Возможные
причины изменения состояния ЦПГ
|
Примечание
|
|
|
1. Задир цилиндрической
части поршня с переносом его материала на поверхность гильзы.
|
1. Неправильно подобран
зазор в системе поршень-гильза (меньше или больше рекомендуемого).
|
|
|
|
2. Перегрев двигателя в
эксплуатации.
|
Задир начинает развиваться
на участках поршня, расположенных под углом 45° к оси кольца.
|
|
|
3. Зависание
(закоксовывание) колец в канавках из-за недопустимой переработки картерного
масла или применения масла, не соответствующего заводской инструкции по
эксплуатации.
|
Задир может быть только на
головке или на всей поверхности юбки поршня.
|
|
4. Увеличена цикловая
подача топлива секций ТНВД.
|
Необходима проверка и
регулировка ТНВД на стенде.
|
|
5. Превышение номинальной
частоты вращения коленчатого вала (более 2100 мин.') из-за неисправности
регулятора ТНВД.
|
Проверить и отрегулировать
максимальную частоту вращения при испытаниях ТНВД на стенде.
|
|
2. Обрыв поршня по бобышкам
поршневого пальца.
|
Обрыв является следствием
задира и заклинивания поршня в гильзе.
|
Обрыв происходит чаще на
многоцилиндровых двигателях.
|
|
3. Обгорание днища поршня.
|
Увеличение угла опережения
впрыска топлива от нормы, повышение цикловой подачи секций ТНВД.
|
Проверка регулировок ТНВД
на стенде.
|
|
4. Закоксование (зависание)
компрессионных колец.
|
Переработка масла или
использование масел, не соответствующих заводской инструкции по эксплуатации.
|
|
|
5. Износ маслосъёмных колец
вплоть до срабатывания хромированного покрытия.
|
Низкое качество фильтрации
картерного масла.
|
Необходима проверка
состояния элементов масляного фильтра и перепускного клапана.
|
|
6. Повышенный износ колец,
канавок поршня и гильз.
|
Низкое качество фильтрации
воздуха, поступающего в цилиндры двигателя.
|
Проверить состояние
элементов воздухоочистителя и герметичность впускного тракта автомобиля или
трактора.
|
|
7. Поломка поршневых колец,
возможно разбивание межкольцевых перемычек поршня частями разрушенного
кольца.
|
Чрезмерный износ деталей
ЦПГ из-за низкого качества фильтрации воздуха или нарушения герметичности
впускного тракта, приведшего к пропуску в цилиндры двигателя нефильтрованного
воздуха.
|
Проверить состояние
элементов воздухоочистителя и герметичность впускного тракта автомобиля или
трактора.
|
|
|
|
|
|
Особое внимание при эксплуатации двигателей необходимо обращать на
состояние воздухоочистки, при нарушении которой преждевременно вырабатывается
ресурс деталей ЦПГ. Многолетний опыт эксплуатации двигателей показывает, что
износ деталей ЦПГ, как правило, носит абразивный характер и вызван нарушением
фильтрации воздуха.
Абразивный износ двигателя (иногда его называют пылевым) определяется по
снижению мощности ("плохо тянет"), повышенному дымлению, выбросу
масла из сапуна и, как следствие, увеличенному расходу масла (обычно выше
2...3% от расхода топлива). В отдельных случаях работа двигателя сопровождается
металлическим стуком, хорошо прослушиваемым при средней частоте вращения
коленчатого вала на холостом ходу. Причиной стука, как правило, является
поломка первого компрессионного кольца, вызванная повышенной его вибрацией
вследствие чрезмерного износа канавки поршня и самого кольца по высоте.
Процесс обслуживания воздушного фильтра и проверка герметичности
впускного тракта двигателя в составе изделия подробно описаны в инструкциях по
эксплуатации двигателя. К сожалению, практика показывает, что в эксплуатации
зачастую пренебрегают этими операциями ТО, что приводит к преждевременному
аварийному износу ЦПГ.
1.3 Диагностика неисправностей цилиндропоршневой группы
двигателя
Характерные неисправности:
Основные дефекты в блоке цилиндров:
1 Пробоины на стенках рубашки
охлаждения или картера;
2 Износ торцов первого коренного
подшипника;
3
Трещины и отколы;
4 Износ нижнего посадочного отверстия
под гильзу;
5 Износ верхнего посадочного отверстия
под гильзу;
6 Износ отверстий под толкатели, износ
отверстий во втулках под опорные шейки распределительного вала;
7 Износ гнезд вкладышей коренных
подшипников и их не соосность;
8 Износ отверстий под втулки
распределительного вала.
Основные дефекты гильзы цилиндра:
1 Износ или задиры отверстия под
поршень;
2
Износ нижнего
посадочного пояска;
3
Износ верхнего
посадочного пояска.
Основные дефекты поршня:
. Задиры юбки поршня;
2. Прогар поршня;
3. Залегание колец;
4. Схватывание пальца.
Основные дефекты шатун:
. Изгиб или скручивание;
. Износ отверстия нижней головки. Износ отверстия под втулку в
верхней головке;
3 Износ отверстия во втулке верхней
головки;
4 Уменьшение расстояния между осями
верхней и нижней головок.
Основные дефекты головки цилиндров:
. Пробоины, прогар и трещины на стенках камеры сгорания,
разрушение перемычек между гнездами;
. Трещины на рубашке охлаждения;
3. Износ, риски или раковины на рабочих фасках седел клапанов;
. Износ гнезд под седла клапанов;
. Коробление поверхностей прилегания к блоку цилиндров;
. Износ отверстия в направляющих втулках;
. Износ отверстий под направляющие втулки клапана;
. Срыв или износ резьбы под свечи.
.3.1
Диагностика двигателя по состоянию выхлопа
По состоянию выхлопных газов можно достаточно точно определить состояние
двигателя.
Если из выхлопной трубы появляется черный дым, то это указывает на
неполное сгорание топлива. Причиной тому служит его перелив или нарушение
газораспределительного механизма и системы зажигания. Дефект устраняется
довольно простым способом: регулируют топливный насос, производят замену
запорного клапана в карбюраторе или очищают форсунки у впрысковых и дизельных
двигателей. При полной нагрузке двигателя неисправность такого рода проявляется
более четко.
Длительная эксплуатация при этом приводит к быстрому износу
цилиндропоршневой группы двигателя, так как происходит смыв масляного слоя с
поверхности цилиндров, а излишки его поступают в цилиндры двигателя.
Сизый дым, идущий из выхлопной трубы, указывает на то, что необходимо
заменить сальники клапанов, а в худшем случае предстоит ремонт
цилиндропоршневой группы, В последнем случае сизый дым при выхлопе
сопровождается повышенным давлением картерных газов.
Если из выхлопной трубы появился белый дым, который усиливается при
нагрузке двигателя, это указывает на то, что в его цилиндры попала охлаждающая
жидкость. Причиной того, скорее всего, является повреждение прокладки головки
блока цилиндров вследствие перегрева двигателя. Иногда это происходит из-за
плохой затяжки крепления головки блока цилиндров или из-за коррозии, которая
вызывается долгой эксплуатацией автомобиля. В результате такой неисправности
запуск двигателя затрудняется и в его поддоне появляется водно-масляная жидкость.
По причине недостаточного масляного давления в системе дальнейшая эксплуатация
двигателя может привести к его серьезным повреждениям.
Абсолютно чистая свеча в одном из цилиндров указывает на то, что из
системы охлаждения в цилиндр попадает охлаждающая жидкость.
Если при запуске двигателя в зимнее время из выхлопной трубы появляется
белый дым, который усиливается при прогреве двигателя, это указывает на хорошее
его состояние. При нормальной работе двигателя в выхлопных газах всегда
присутствует некоторое количество обычной воды.
1.3.2 Замер компрессии в цилиндрах двигателя
Для того чтобы оценить состояние цилиндропоршневой группы и герметичности
между клапаном и седлом, потребуется компрессометр (например, BEST-01BР,
BEST-02BР, МТ308М и др.), который отличается тем, что у него имеется
обратный клапан. Компрессометр также можно сделать самостоятельно, для чего
понадобятся манометр со шкалой 1,5-2,0 МПа или 15-20 кгс/см2, штанга со
встроенным обратным клапаном, в качестве которого может быть использован
подпружиненный шарик или шинный ниппель, и наконечник с резьбой под свечное
отверстие или уплотняющий корпус из резины. Компрессометр для работы с
дизельными двигателями несколько отличается измерительной шкалой - 40-50
кгс/см2 или 4,0-5,0 МПа, изготавливается он только с наконечником с резьбой в
основном под резьбу свеч накаливания.
Обратный клапан компрессометра для дизельного двигателя должен
располагаться наиболее близко к резьбовому соединению, так как объем камеры
сгорания дизельного двигателя меньше объема камеры сгорания бензинового
двигателя.
Компрессометр позволяет сделать оценку состояния деталей только косвенно
- по величине максимального давления, которое нагнетается воздухом в цилиндры.
Прибор покажет то или иное давление в зависимости от износа или поломки
двигателя, а именно: от плотности между поршнем и цилиндром и между седлом и
клапаном. К показаниям компрессора следует относиться осторожно и выводы о
состоянии двигателя следует делать только с учетом исправности стартера,
степени зараженности аккумулятора и наличия излишка масла в цилиндрах.
Для того чтобы получить правдивые и точные результаты замеров компрессии,
следует проверить, правильно ли натянуты цепь и ремень газораспределительного
механизма (ГРМ): установочные метки на их шестернях должны точно совпадать с
метками на корпусных деталях двигателя, также двигатель должен быть с правильно
отрегулированными зазорами в клапанном механизме, а воздушная заслонка
полностью открыта.
Перед замером компрессии необходимо прогреть двигатель автомобиля до
рабочей температуры, отключить подачу топлива, выкрутить все свечи и отключить
напряжение на катушку зажигания. Свечи убирают только после полной очистки
пространства вокруг них от разного рода мусора и грязи.
Сухую грязь из свечных колодцев необходимо удалять с помощью мягкой и
сухой ветоши, слегка смазанной моторным маслом, в несколько приемов.
Для того чтобы снять высокое напряжение в катушке зажигания, нужно снять
клемму, которая подает положительное напряжение на саму катушку.
Путем снятия подающего шланга с карбюратора отключается подача бензина.
Шланг подачи топлива нужно отсоединить со стороны карбюратора, плотно перекрыв
его при этом, с помощью деревянной заглушки или пережав струбцинкой.
Если в автомобиле применяется система впрыска, то подача топлива
отключается с помощью извлечения предохранителя насоса высокого давления. Затем
нужно запустить двигатель, для того чтобы полностью удалить остатки топлива из
карбюратора.
Порядок замера компрессии
Замер компрессии нужно проводить вдвоем.
Сначала следует открыть воздушную заслонку полностью, а при
автоматическом приводе нужно проверить, открыта ли она полностью.
В свечное отверстие нужно ввести наконечник компрессометр. Учитывая
конструкцию его наконечника: необходимо вкрутить, если он резьбовой, или вжать,
если он имеет резиновый конус. Далее помощник должен включить стартер и по
стрелке манометра отслеживать динамику нарастания давления в цилиндре. Когда
стрелка манометра остановится в каком-либо положении, т. е. сравняется с
максимальным давлением в цилиндре, можно отключать стартер. Таким образом
следует производить замер в каждом цилиндре двигателя, спуская при каждом
замере воздух из компрессометра. Аналогичная работа проводится при открытой
дроссельной заслонке, но в этом случае помощник нажимает педаль газа на
протяжении всех проводимых замеров. Каждый результат необходимо записывать.
Если полученные измерения не соответствуют минимально допустимым
значениям, необходимо в каждый проблемный цилиндр залить 10 г моторного масла и
прокрутить двигатель на несколько оборотов для того, чтобы удалились излишки
масла и оно равномерно распределилось. Затем необходимо провести замеры
повторно. Если при повторном замере, давление увеличилось, то можно сделать
вывод о том, что неисправны поршневые кольца. Если давление не изменилось, то
это говорит о том, что неисправны клапана, или они не плотно прилегают к
седлам.
Анализ осуществляется после того, как получены все результаты, с учетом
всех факторов, которые повлияли на показания прибора.
Степень сжатия, которую часто путают с компрессией, является
геометрической величиной, и ее не измеряют приборами.
Окончательное предположение о неисправности двигателя можно выдвинуть
только в том случае, когда опробованы все косвенные способы проверки.
Всю информацию о состоянии двигателя могут дать только полная его
разборка и замеры измерительными инструментами.
Компрессию можно не измерять, если удалось выяснить, что пришли в
негодность сальники клапанов. Наиболее вероятно, что значение компрессии сильно
увеличилось из-за излишков масла в цилиндрах, тогда нужно поменять сальники, а
потом измерять компрессию.
В таком случае следует разделить поиск неисправностей цилиндропоршневой
группы и газораспределительного механизма.
Необходимо залить 10 г моторного масла в цилиндр и провести повторный
замер компрессии. Если она резко возрастет, то наиболее вероятной причиной
является неисправность цилиндропоршневой группы. Если же компрессия не
изменится, то, скорее всего, происходит утечка воздуха через дефект прокладки
(прогар, разрыв), через дефект клапанов (трещина, скол) или из-за неплотного
прилегания их к седлам. Утечка воздуха в редких случаях может происходить из-за
трещины в головке блока цилиндров.
Перед тем как снять головку блока цилиндров, следует проверить, правильно
ли отрегулированы клапанные зазоры, так как уровень компрессии может заметно
упасть даже из-за незначительного открытия клапанной тарелки.
Об обычном износе цилиндропоршневой группы можно судить при небольшом, но
равномерном уровне компрессии по цилиндрам. Такие показания не являются
руководством к немедленной разборке всего двигателя. В этом случае следует
сопоставить цвет выхлопа и пробег, также проверить правильность проведенных
замеров с учетом всех факторов, которые влияют на правильные показания прибора.
Так, к примеру, если не отключен от карбюратора топливный провод или не
отсоединен от бортовой сети топливный насос высокого давления, это приводит к
тому, что показания прибора уменьшаются практически в два раза.
Для того чтобы усилить чувствительность компрессометра к небольшим
утечкам воздуха, разного рода замеры проводятся при закрытой дроссельной
заслонке, так как в этом случае поступление воздуха будет затруднено, поэтому
шансы определить утечку наиболее высоки.
Наличие или отсутствие утечки воздуха можно определить, только
сопоставляя результаты замеров при открытой и закрытой заслонке дросселя.
Нужно отслеживать динамику роста давления в обоих способах. Если в первом
величина давления очень низкая (около 2-3 кгс/см2), а затем резко возрастает
при последующих тактах, то можно сделать вывод, что изношены компрессионные
поршневые кольца. Давление в этом случае резко увеличится при первом же такте,
если залить в цилиндр моторное масло.
Если давление сразу же достигает 6-8 кгс/см2 при первом такте, а затем
практически не изменяется, то наиболее вероятно, что имеется негерметичность
между клапаном и седлом или прокладка головки блока цилиндров изношена и
пропускает воздух, а также, возможно, имеется трещина в камере сгорания.
Если газораспределительный механизм и цилиндропоршневая группа исправны,
то давление в цилиндре при первом такте и при полностью открытой заслонке
дросселя будет показывать уровень 6-7 кгс/см2, а затем примерно после четырех
тактов увеличится в два раза.
Показания приборов для бензиновых двигателей типа ВАЗ при открытой
заслонке дросселя являются довольно схожими для большинства подобных
двигателей, поэтому помогут провести диагностику их состояния.
Для дизельных
автомобилей показатель уровня компрессии, как правило, должен принимать
минимально допустимое значение, потому что от этого зависит возможность их
запуска. Измеряется компрессия дизельного автомобиля только на остывшем
двигателе при отключенной подаче топлива и при оборотах коленчатого вала
200-250 в минуту. Расход масла, который определяется ранее, при этом не должен
превышать максимально допустимый (примерно 200 г на 1000 км).
.3.3
Вакуумный метод оценки состояния цилиндропоршневой группы и прогнозирование
остаточного ресурса прибором АГЦ
С помощью
Анализатора Герметичности Цилиндров (АГЦ) (рис.1) возможно достоверно точно
(без разборки двигателя) оценить по отдельности техническое состояние всего
клапанного механизма, гильзы цилиндра, компрессионных и маслосъемных колец.

Рисунок 1 - Анализатора
Герметичности Цилиндров (АГЦ)
Диагностика этим прибором не отличается от замера компрессии. Все
измерения проводятся в процессе "прокрутки" двигателя стартером или
пусковым устройством через свечные или форсуночные отверстия. Преимущества АГЦ -
в простоте процесса диагностики и одновременно в высокой информативности
результатов измерения. Достоинства прибора в том, что не важно в каком
состоянии аккумуляторная батарея, ее состояние не скажется на качестве
диагностики. Нет необходимости знать номинальную величину компрессии для
каждого двигателя, чтобы сравнить ее с результатами диагностики. Необходимо
знать только марку топлива, на котором ездит данный автомобиль. Диагностируемые
параметры сверяются по диагностическим диаграммам для данного вида топлива, и
происходит оценка состояния ЦПГ. Разработаны диагностические диаграммы для
АИ-76-80, АИ-92-95-98, и дизельного топлива. А если автомобиль чередует работу
на бензине и газе, то следует применять диаграмму для данной марки бензина. За
счет своевременного выявления дефектов составных элементов ЦПГ Анализатор
герметичности цилиндров (АГЦ) позволяет избежать необоснованного проведения
ремонта ЦПГ, полнее использовать ресурс двигателя, качественно проводить
регламентные работы.
Принцип диагностирования прибором АГЦ
Наличие в АГЦ двух оригинальных клапанов позволяет при
"прокрутке" двигателя стартером измерить с помощью вакууметра два
значимых параметра: Р1 и Р2. Тут требуются пояснения. Замер значения полного
вакуума (Р1) производится в надпоршневом пространстве (рис.2), во время такта
впуска через вакуумный клапан.
Рисунок 2 - Схема замера полного вакуума
Перед измерением, во время предыдущего такта сжатия через редукционный
клапан низкого давления (0,01 бар) происходит продувка цилиндра. Полученное
значение полного вакуума позволяет оценить износ стенки цилиндра (гильзы) и
плотность в сопряжении клапана и седла.
Однако параметр Р1 не дает возможности оценить состояние поршневых колец;
наличие масляного "клина" позволяет сохранить достаточно высокий
вакуум в надпоршневом пространстве. Степень изношенности поршневых колец
оценивается путем измерения второго параметра (рис.3) - остаточного вакуума
(Р2).
Рисунок 3 - Схема замера остаточного вакуума
Для измерения его величины надпоршневой объем изолируется перекрытием
редукционного клапана. При этом во время такта сжатия давление повышается до
максимального значения (величина компрессии) и часть сжимаемого воздуха
"прорывается" через зазоры в сопряжениях поршневых колец в картер
двигателя.
Измерение значения разрежения при расширении в этом случае (опять-таки
через вакуумный клапан) позволяет определить остаточный вакуум (Р2), величина
которого пропорциональна потерям компрессии при утечке воздуха. При нормальном
состоянии колец значение величины Р2 крайне невелико и существенно возрастает
при их износе, поломке или закоксовывании.
Легко проверить и газораспределительный механизм. Если клапан неплотно
сидит в седле, точно определить причину разности Р1 и Р2 затруднительно. Но
если на нем трещина, скол или прогар, Р1 резко уменьшается и лишнее масло или
несгоревшее топливо уже не в состоянии закрыть щель.
Сверка результатов замеров полного вакуума (Р1) и остаточного вакуума
(Р2) с диаграммой состояния ЦПГ для данного вида топлива и дает оценку о
состоянии ЦПГ.
Порядок
диагностирования анализатором АГЦ
1. Двигатель прогревается до температуры 80°С - 85°С;
2. Выкручиваются свечи (форсунки) из всех цилиндров;
. Отключается катушку зажигания (коммутатор). На дизельных
двигателях необходимо отжать рейку топливного насоса (перекрыть подачу
топлива);
. Двигатель прокручивается пусковым устройством 3 - 5 секунд,
чтобы выдуло всю грязь из камеры сгорания.
. Присоединяется переходное устройство (ПУ) к свечному
(форсуночному) отверстию и подключается к нему прибор. При диагностировании
дизельных двигателей прибор необходимо подключать к имитатору форсунки.
Подключение АГЦ вместо свечи накаливания не даст достоверного замера величины
полного вакуума (Р1).
. Замер полного вакуума (Р1):
АГЦ присоединяется к свечному (форсуночному) отверстию. Полностью
выкручивается и удаляется заглушка. Включается пусковое устройство, для
вращения коленчатого вала, на 3-4 с. Фиксируется величина (-Р1) полного
вакуума. Измерения в остальных цилиндрах проводятся аналогично. Записывается
показание вакуумметра и нажатием на кнопку клапана сброса удаляется замер Р1.
. Замер остаточного вакуума (Р2):
Редукционный клапан перекрывается заглушкой, вкручиванием ее до упора,
чтобы уплотнительное кольцо заглушки плотно прилегало к крышке редукционного
клапана. АГЦ присоединяется к свечному (форсуночному) отверстию. Включается
пусковое устройство для вращения коленчатого вала в течение 5-8 секунд, при
этом в течении прокрута необходимо три раза нажимать кнопку сброса, после
фиксации вакууметром параметра Р2. В первый раз параметр остаточного вакуума
будет неверный (т.к. неизвестно в каком положении находился поршень в начале
прокрута), второй и третий раз показания вакуумметра должны совпадать. Это и
есть величина остаточного вакуума (Р2). Фиксируется величина Р2 остаточного
вакуума. Измерения в остальных цилиндрах производятся аналогично.
7. Проводится анализ состояния ЦПГ по диаграмме
состояния, соответствующей данному типу топлива, на котором работает двигатель.
Ти
8. повые варианты состояния ЦПГ после проверки
приведены в таблице 2.
Таблица 2 - Типовые варианты состояния ЦПГ
|
№ п/п
|
Марка машины или ДВС
(пробег)
|
Внешние признаки
неисправности
|
№ цилиндра
|
Диагностические параметры
|
Результаты экспертизы
|
|
|
|
|
Рк
|
-Р1
|
-Р2
|
|
|
1
|
2
|
3
|
4
|
5
|
6
|
7
|
8
|
|
1.
|
ВАЗ-2107 (50 т.км.)
|
Признаки неисправности
отсутствуют
|
1. 2. 3. 4.
|
11,0 10,5 10,4 10,3
|
0,81 0,80 0,80 0,80
|
0,19 0,20 0,20 0,20
|
Исправное состояние ЦПГ
|
|
2.
|
ГАЗ-24 (140 т.км)
|
Большой расход масла и дымление
|
1. 2. 3. 4.
|
9,2 9,0 7,0 6,6
|
0,78 0,78 0,75 0,76
|
0,3 0,3 0,38 0,4
|
Трещины компрессионных
колец в 3-ем и 4-ом цилиндрах
|
|
3.
|
ВАЗ-2109 (75 т.км)
|
Большой расход масла
|
1. 2. 3. 4.
|
9,0 9,2 9,6 8,2
|
0,83 0,83 0,84 0,83
|
0,37 0,34 0,38 0,45
|
Сильная закоксовка поршневых
колец
|
|
4.
|
ВАЗ-2107 (70 т.км)
|
После прогрева двигатель
"троит"
|
2. 3.
|
10,0 2,0
|
0,8 0,6
|
0,2 0,4
|
Трещина в днище клапана
3-го цилиндра
|
|
5.
|
ГАЗ-3110 (30 т.км)
|
Снижение мощности
|
2. 4.
|
10,5 8,0
|
0,81 0,74
|
0,23 0,34
|
Пробита прокладка головки
блока в зоне 4-го цилиндра
|
|
6.
|
ВАЗ 2121 (40654 км)
|
Большой расход масла,
дымление
|
1. 2. 3. 4.
|
12,7 13 13 7,7
|
0,8 0,78 0,8 0,78
|
0,26 0,32 0,26 0,6
|
Общий износ двигателя, в
4-м цилиндре поломка поршневого кольца
|
|
7.
|
Suzuki "Vitara" (После капремонта
100 км)
|
Большой расход масла
|
1. 2. 3. 4. 5. 6.
|
|
0,78 0,78 0,78 0,78 0,78
0,78
|
0,24 0,24 0,38 0,24 0,24
0,24
|
В 3-м цилиндре залегание
компрессионного кольца.
|
1.4 Технология ремонта цилиндропоршневой группы двигателя
Основными дефектами блока цилиндров являются пробоины, сколы, трещины,
износ рабочей поверхности цилиндра, деформация посадочных мест под гильзу,
деформация гнезд вкладышей коренных подшипников, обломы шпилек, срыв резьбы в
отверстиях.
Дефекты блока цилиндров устанавливают тщательным осмотром, обмером
цилиндров и опрессовкой. Осмотром обнаруживают пробоины, сколы, заметные для
глаза трещины, срывы резьбы, состояние зеркала цилиндров. Опрессовкой выявляют
трещины, не замеченные при осмотре. В рубашку блока под давлением 0,4... 0,5
МПа нагнетается вода. При этом на блок цилиндров должна быть установлена
головка блока или (вместо нее) чугунная плита с резиновой прокладкой. Для
устранения трещин, пробоин и обломов их заваривают или заделывают эпоксидными
пастами.
При заварке пробоин, захватывающих канал для прохода смазки, можно
предварительно вставлять в канал стальную или лучше алюминиевую трубку. Однако
если постановка трубки затруднительна, то канал для прохода смазки может быть
заварен, а затем рассверлен. После обработки канала необходимо провести
гидравлическое испытание под давлением 0,3...0,4 МПа.
Величину износа цилиндров или гильз определяют индикаторным нутромером в
двух взаимно перпендикулярных направлениях и в трех поясах. Одно направление
устанавливают параллельно оси коленчатого вала. Первый пояс располагается на
расстоянии 5...10 мм от верхней плоскости блока, второй - в средней части
цилиндра и третий- на расстоянии 15...20 мм от нижней кромки цилиндра. В
зависимости от величины износа назначают вид ремонта - растачивание до
следующего ремонтного размера, который больше предыдущего на 0,25 мм, или
выполняют установку (запрессовку) ремонтных гильз.
Цилиндры или вставные гильзы обрабатывают до ремонтных размеров на
расточных станках стационарного или переносного типа. Вставные гильзы крепят в
специальном приспособлении, установленном на столе расточного станка.
После растачивания цилиндр или гильзу подвергают хонингованию. Независимо
от способа окончательной обработки цилиндров (гильз) их внутренний диаметр
должен иметь один и тот же ремонтный размер для данного двигателя.
Цилиндры можно восстанавливать запрессовкой ремонтных гильз, если их
износ превышает последний ремонтный размер или на стенках есть глубокие риски
или задиры. Для этого цилиндры обрабатывают под ремонтную гильзу, толщина
которой должна быть не менее 3...4 мм. Запрессовывая ремонтные гильзы, в
верхней части цилиндра растачивают кольцевую вытачку под буртик гильзы
Ремонтные гильзы запрессовывают с натягом 0,05... 0,10 мм на
гидравлическом прессе, впрессовывают и обрабатывают (растачивают и хонингуют)
до нормального размера.
Для замены изношенных поршней изготовляют комплекты поршней с
подобранными к ним поршневыми пальцами и со стопорными и поршневыми кольцами в
количестве, необходимом для одного двигателя. Съем и установку поршневых колец
выполняют специальным съемником, при этом надо следить за правильным положением
замков колец.
Для обеспечения надлежащего зазора между юбкой поршня и гильзой цилиндра
поршни после окончательной обработки сортируют на заводе-изготовителе по
диаметру юбки на размерные группы. Перед установкой поршневых колец необходимо
подобрать поршневые кольца по канавке поршня и по цилиндру. Зазор в замке
поршневого кольца при установке в цилиндр должен составлять 0,3...0,6 мм в
зависимости от модели автомобиля.
Наряду с подбором поршней к гильзам цилиндров по диаметру их подбирают
также и по массе, для чего их сортируют на заводе-изготовителе и маркировку
наносят на днище поршня с помощью клейма или краской. Поршни, устанавливаемые в
гильзы цилиндров двигателя, должны быть одной массовой группы и помечены
порядковыми номерами гильз цилиндров, к которым они подобраны. Буквенная
маркировка групп наносится на поверхности днища поршня.
После того как закончен подбор поршней к гильзам, подбирают
поршневые пальцы к поршням и втулкам верхних головок шатунов. Шатуны
предварительно проверяют и при необходимости восстанавливают. Изношенные втулки
верхней головки шатуна обычно заменяют новыми или развертывают под ремонтный
размер поршневого пальца. Отверстия нижней головки шатуна под вкладыш
растачивают и шлифуют вместе с крышкой шатуна. Изгиб и скручивание шатуна
устраняют правкой с использованием специальных приспособлений, контролирующих
одновременно расстояние между центрами его головок.
При изготовлении деталей маркировочную краску наносят: у поршней - на
нижнюю поверхность одной из бобышек, у поршневых пальцев - на внутреннюю
поверхность с одного конца, на шатуне - у верхней головки.
Поршневой палец, принадлежащий к определенной размерной группе, подбирают
при сборке к поршню и втулке шатуна той же размерной группы. Поршневой палец,
смазанный маслом для двигателя, должен плотно входить во втулку под усилием
большого пальца правой руки.
Во всех случаях поршневые пальцы к шатунам необходимо подбирать при
температуре воздуха в помещении (20±3)°С.
Поршневой палец, подобранный к поршню и шатуну, смазывают тем же маслом,
что и для двигателя, и запрессовывают в бобышки поршня и в верхнюю головку
шатуна с помощью специального приспособления.
Для опор коренных подшипников необходимо контролировать величину
деформации постелей под вкладыши коренных подшипников. При капитальном ремонте,
как правило, наращивают поверхность постелей с последующей расточкой. Если в
опорах и в других местах блока цилиндров есть трещины, проходящие через
масляные каналы, блок подлежит замене.
.5 Анализ оборудования и инструментов
.5.1 Компрессограф для дизельных двигателей Zeca
Прибор обеспечивает быструю и точную регистрацию компрессии в цилиндрах
дизельных двигателей. Техническое совершенство конструкции максимально облегчает
работу механика.
Технические характеристики:
Благодаря графопостроителю легко обеспечивается точная оценка реальной
компрессии по цилиндрам двигателя, объективная оценка при диагностике. Диапазон
измерения давления 8-40 бар. Возможность регистрации на карточке до 8 измерений
(+2 дополнительно). Прибор имеет специальное устройство для прокрутки
двигателя, что дает возможность проводить измерение компрессии одному человеку.
Быстроразъемное соединение на фальш-форсунки, нет необходимости применять гаечные
ключи.
Комплект компрессографа входит: записывающий компрессограф;
быстроразъемный адаптер М14х1,5 для присоединения к фальш-форсункам или
оригинальным форсункам; адаптер М14х1,5 (применяется, когда не может быть
использован быстроразъемный адаптер); адаптер М12х1,5 для присоединения к
оригинальным форсункам; 50 шт. запасных карточек; кейс из ударопрочного
материала.
1.5.2 КМ - 201 Комрессометр
предназначен для профессиональной проверки компрессии в цилиндрах
автомобильных и тракторных дизельных двигателей.
Компрессометр состоит из переходника, гибкого шланга длиной 300мм,
штуцера манометра, манометра. В переходнике вмонтирован впускной клапан. В
штуцере манометра расположен клапан стравливания давления из компрессометра.
Клапаны выполнены из титанового сплава по космической технологии.
Гарантированное срабатывание клапанов 50 000 раз. Компрессометр сохраняет
показание давления в течение не менее 10 минут, что позволяет измерять
компрессию одному оператору.
.5.3 Индикатор пневмоплотности цилиндров ИПЦ-ДР ДД-4200
При прокручивании коленчатого вала пусковым устройством клапан индикатора
фиксирует максимальное давление сжатия проверяемого цилиндра. Зафиксированная
манометром величина максимального давления свидетельствует о наличии или
частичной потере пневмоплотности цилиндра. Последнее является следствием
появления неисправностей (отказов) компрессионных колец, поршня, гильзы,
клапанного механизма. При этом необходимо учитывать, что индикатор не может
различать причины потери пневмоплотности.
.5.4 Компрессометр для легковых дизельных автомобилей SMC-104
Применяется для определения состояния деталей цилиндропоршневой группы
дизельных двигателей легковых автомобилей. Измерение компрессии может
проводиться через свечные отверстия свечей накаливания или через установочные
отверстия форсунок. Комплектуется 12-ю адаптерами с различными резьбами,
механическим манометром, диаметром 63 мм.
.5.5 Вакуум-анализатор цилиндропоршневой группы
КИ-28165 Предназначен для определения технического состояния деталей
цилиндропоршневой группы (ЦПГ) двигателей внутреннего сгорания по разрежению в
надпоршневом пространстве цилиндра и экспресс-поиска неисправностей
Габаритные размеры, мм: 60х160х408
Масса, кг, не более: 1,4
Пневматический калибратор предназначен для диагностирования технического
состояния элементов цилиндро-поршневой группы (ЦПГ) карбюраторных и дизельных
двигателей. Он собран в дюралюминиевом корпусе, покрытом эмалью МЛ-165 ГОСТ
12034-77. С левой стороны находятся штуцеры подключения к компрессору и к ЦПГ
двигателя, обозначенные табличками. На верхней крышке располагается ручка для
переноски прибора. Внутри корпуса располагаются, соединенные по схеме (см.
рисунок), элементы: регулятор давления 1, калиброванное сопло 3, собранное в
специальном корпусе, контрольный 2 и измерительный 4 манометры с пределом
измерения до 0,1 МПа (класса точности 2.5).
Соединения калибратора выполнены резьбовыми муфтами и резиновыми шлангами
с применением хомутов. Во время диагностирования пневматический калибратор
соединяется с надпоршневым пространством цилиндра посредством штуцеров через
свечное (для карбюраторных двигателей) или форсуночное (для дизельных
двигателей) отверстие.
Разработана технология диагностирования ЦПГ с применением данного
калибратора, позволяющая оценивать износ гильзы цилиндра, торцевой зазор между
верхним компрессионным кольцом и канавкой поршня, герметичность клапанов и
качество прилегания головки блока к блоку цилиндров.
Определены нормативные значения диагностических параметров для названных
элементов с оценкой их остаточного ресурса для двигателей типа ВАЗ, М-412,
ГАЗ-23, ЗМЗ-53, ЗИЛ-130, Д-240, СМД, КамАЗ и ЯМЗ. Периодическое применение
прибора позволяет следить за изменением фактического состояния ЦПГ при
эксплуатации двигателя.
1.5.6 SMC-103 Компрессометр для бензиновых автомобилей
Применяется для определения состояния деталей цилиндро-поршневой группы
бензиновых автомобилей. Комплектуется пятью адаптерами с различными резьбами,
механическим манометром, диаметром 63 мм.
.5.7 Тестер герметичности цилиндропоршневой группы LTR
Универсальный тестер позволяет определить состояние клапанов, прокладки
головки цилиндров и колец двигателей. К тестеру подается воздух от компрессора
под давлением 6 - 10 бар. При открывании вентиля на тестере сжатый воздух под
давлением 5 бар подается в цилиндр двигателя. Шланг присоединения прибора к
двигателю имеет штуцер с резьбою М14х1.25. Манометр проградуирован в процентах
0-100%. По падению давления судят о состоянии цилиндро-поршневой группы
двигателя. Габариты: 15 х 22 х 13 см. Вес: 2 кг.
Трудоемкости распространяются на работы (услуги) по ТО и ремонту
автомобилей ВАЗ (таблица 3), выполняемые предприятиями технического
обслуживания автомобилей (ПТОА), независимо от их ведомственной принадлежности.
Каждой позиции трудоемкости присвоен неповторяющийся пятизначный номер.
Первые две цифры номера позиции указывают на раздел, к которому она относится:
10 - 84 - ремонт
Три последние цифры в номерах позиций представляют собой собственно
порядковый номер позиции внутри разделов и подразделов.
Норма времени на выполнение работ и максимально допустимое количество
повторов выполнения этой работы на одном автомобиле (указывается через *). Если
звездочка отсутствует, то количество равно "1". Прочерк вместо нормы
времени указывает на то, что данная работа не выполняется на соответствующей
модели автомобиля.
Таблица 3 - нормы времени на разборку - сборку ЦПГ а/м ВАЗ-2110-2112
|
№№ поз.
|
Код детали, код работы
|
Наименование детали и
характеристика работы
|
Трудоемкость * max количество
|
|
|
|
21100
|
21102
|
21103
|
21110
|
|
|
|
21111
|
21113
|
21120
|
21122
|
|
10032
|
10 04 015.20
|
Поршень - с/у (на
автомобиле)
|
4,10 4,10
|
4,45 4,85
|
4,85 4,85
|
4,45 4,45
|
|
Снять брызговик, слить
масло из двигателя и охлаждающую жидкость, снять головку цилиндров, картер,
приемник масляного насоса, поршень в сборе с шатуном, отсоединить поршень,
промыть детали. Собрать двигатель, отрегулировать натяжение ремня привода
распределительного вала, залить масло и охлаждающую жидкость
|
|
10033
|
10 04 015.21
|
Поршень - с/у (на
автомобиле) каждого последующего поршня
|
0,45*4 0,45*4
|
0,45*4 0,45*4
|
0,45*4 0,45*4
|
0,45*4 0,45*4
|
|
10034
|
10 04 015.24
|
Поршень - с/у (на снятом
двигателе)
|
3,50 3,50
|
3,70 4,70
|
4,10 4,10
|
3,70 3,70
|
|
Слить масло, снять головку
цилиндров, картер двигателя и приемник масляного насоса, поршень в сборе с
шатуном, отсоединить поршень, очистить от нагара, промыть, продефектовать,
заменить детали, собрать двигатель, отрегулировать натяжение ремня привода
распределительного вала, залить масло
|
|
10 04 015.24
|
Поршень - с/у (на снятом
двигателе) каждого последующего поршня
|
0,40*4 0,40*4
|
0,40*4 0,40*4
|
0,40*4 0,40*4
|
0,40*4 0,40*4
|
|
|
10 04 045.20
|
Шатун - с/у (на автомобиле)
|
4,10 4,10
|
4,45 4,85
|
4,85 4,85
|
4,45 4,45
|
|
|
Снять брызговик, слить
масло из двигателя и охлаждающую жидкость, снять головку цилиндров, картер,
приемник масляного насоса, поршень в сборе с шатуном, отсоединить поршень,
промыть детали. Собрать двигатель, отрегулировать натяжения ремня привода
распределительного вала, залить масло и охлаждающую жидкость
|
|
10 04 045.21
|
Шатун - с/у (на автомобиле)
каждого последующего шатуна
|
0,45*4 0,45*4
|
0,45*4 0,45*4
|
0,45*4 0,45*4
|
0,45*4 0,45*4
|
|
|
10 04 045.24
|
Шатун - с/у (на снятом
двигателе)
|
3,50 3,50
|
3,70 4,10
|
4,10 4,10
|
3,70 3,70
|
|
|
10035
|
|
|
|
|
|
|
|
10036
|
|
|
|
|
|
|
|
10037
|
|
|
|
|
|
|
|
10038
|
|
|
|
|
|
|
|
Слить масло, снять головку
цилиндров, картер двигателя и приемник масляного насоса, поршень в сборе с
шатуном, отсоединить поршень, очистить от нагара, промыть, продефектовать,
заменить детали, собрать двигатель, отрегулировать натяжение ремня привода
распределительного вала, залить масло
|
|
10039
|
10 04 045.24
|
Шатун - с/у (на снятом
двигателе) каждого последующего шатуна
|
0,40*4 0,40*4
|
0,40*4 0,40*4
|
0,40*4 0,40*4
|
0,40*4 0,40*4
|
Технологическая карта замены поршневого пальца для автомобиля ВАЗ-2115
представлена в приложении Г.
1.7 Организация и оборудование рабочего места
Рабочее место - это часть производственной площади, закреплённой за
данным рабочим (бригадой). Со всем необходимым оборудованием, инструментом,
материалами и принадлежностями, которые рабочие применяют для выполнения
производственных задач. При организации рабочих мест учитываются следующие
требования:
. На посты рабочих мест должны поступать тщательно вымытые детали;
. Рабочее место должно предусматривать максимальную экономию движений
рабочего;
. Рабочее место должно быть оснащено механизацией и хорошим освещением,
необходимой документацией и спец. тарой;
. На рабочем месте должно находится то, что требуется для выполнения
задания;
. Принадлежности и инструменты должны находится на расстоянии вытянутой
руки, причём располагаться они должны так, чтоб брать их в строгой
последовательности;
. Всё берётся левой рукой с левой стороны;
. Режущий инструмент должен находится на деревянной подставке, чтоб
уберечь его от затупления;
. Чертежи должны находиться на видном месте;
. Рабочий, в течение рабочего времени, не должен отвлекаться и
отлучаться;
. Рабочий должен пользоваться только тем инструментом, который требуется
по принадлежности, предохранять инструмент от повреждений и грязи;
. По окончании рабочего времени, рабочий обязан привести в порядок
рабочие место.
Примерная планировка поста по ремонту двигателей представлена в
приложении А.
2.
КОНСТРУКТОРСКАЯ ЧАСТЬ
.1 Предложения
В ходе изучения дисциплин предусмотренных программой и прохождения
производственной практики, встретились разные виды автомобилей. В двигателях
внутреннего сгорания одним из главных элементов является цилиндропоршневая
группа. Поршень и шатун соединяются при помощи поршневого пальца.
Имеется два типа поршневых пальцев, в зависимости от способа фиксации их
в требуемом положении. Концы закаленного пальца не должны касаться стенки
цилиндра - в противном случае на поверхности цилиндра вскоре появятся борозды.
Имеются два следующих типа поршневых пальцев: 1. Полуплавающий поршневой
палец. Он надежно фиксируется в поршне или в шатуне, обычно в последнем.
Перемещение ограничивается величиной колебания пальца в поршне.
. Полностью плавающий поршневой палец. Поршневой палец такого типа может
свободно вращаться как в поршне, так и в шатуне и обычно используется в таких
двигателях, нагрузки в которых особенно велики.
Полуплавающие, пальцы необходимо выпрессовывать, прикладывая значительное
усилие на палец, что требует использования специальных приспособлений. В связи
с этим предлагается разработать приспособление для выпрессовки поршневого
пальца использующее в качестве толкателя гидравлический домкрат, рассчитанный
на нагрузку в две тонны. Такое приспособление, позволит без лишних усилий выпрессовывать
или запрессовывать поршневые пальцы, не нарушая целостности поршня и его
геометрических параметров. Так же, приспособление позволит сократить время на
снятие и установку поршневого пальца.
2.2 Сравнение предлагаемого приспособления с промышленными
образцами
Промышленные образцы приспособлений имеются двух видов:
. Использующие винтовой толкатель
. Использующие гидро- и пневмо - прессы
Винтовые приспособления не удобны тем, что при их использовании требуется
прикладывать значительные усилия на винт. При этом усиливающийся крутящий
момент, может вызвать проворачивание оправки или опорной втулки, а это влечет
за собой повреждение поверхности поршня, так как поршни выполняются из мягких
алюминиевых сплавов.
Приспособления, использующие гидро- и пневмо - прессы, требуют применения
специальных оправок под поршень, но так как поршни разных автомобилей и разных
ремонтных размеров, имеют разный диаметр, оправки могут только приближенно
повторять окружность поршня. Вследствие этого, площадь прилегания поршня к
оправке остается маленькой, что вызывает нежелательную деформацию окружности
поршня. Данные деформации очень малы, но являются нежелательными для поршней.
Разрабатываемое приспособление, в качестве толкателя использует
гидравлический домкрат, что исключает появление крутящего момента. В качестве
оправки, используется относительно тонкая лента-хомут, которая позволяет
увеличить площадь прилегания к ней поршня за счет своей упругости. Этот фактор
до минимума снижает радиальные деформации поршня.
На площадке устанавливается гидравлический домкрат. В отверстие
поршневого пальца вставляется соответствующая оправка, а поршень
устанавливается в ленту-хомут. При этом оправка упирается в поршень домкрата.
Движение поршня гидравлического домкрата передается поршневому пальцу и,
соответственно, поршню. Лента-хомут, под действием давления домкрата,
натягивается и плотно облегает поршень. Когда Лента-хомут полностью
натягивается, палец выталкивается через отверстие в ленте. Схема работы
приспособления представлена в приложении Б.
2.3 Теория расчетов на
прочность
Детали, служащие для соединения отдельных
элементов машин или строительных конструкций, - заклепки, штифты, болты и т. п.
- во многих случаях воспринимают нагрузки, перпендикулярные к их продольной
оси.
Поперечная нагрузка указанных деталей
возникает, в частности, при растяжении (сжатии) соединяемых элементов.
Соответствующие примеры приведены на рисунок 4 (а - штифт, б - заклепка, в -
болт, поставленный без зазора, г - шпонка).
Рисунок 4 - Поперечная нагрузка деталей
при растяжении-сжатии
Действительные условия работы
рассматриваемых деталей сложны и во многом зависят от технологии изготовления
отдельных элементов конструкции и ее сборки. Практические расчеты этих деталей
носят весьма условный характер и базируются на следующих основных допущениях:
1) в поперечном сечении возникает только
один внутренний силовой фактор - поперечная сила
;
2) касательные напряжения, возникающие в
поперечном сечении, распределены по его площади равномерно;
3) в случае, если соединение осуществлено
несколькими одинаковыми деталями (болтами и т. п.), принимается, что все они
нагружены одинаково.
Разрушение соединительных элементов (в
случае недостаточной прочности) происходит в результате их перерезывания по
плоскости, совпадающей с поверхностью соприкосновения соединяемых деталей
(рис.5). Поэтому говорят, что эти элементы работают на срез, и
возникающие в их поперечном сечении касательные напряжения также называют напряжениями
среза и обозначают
.
Рисунок 5 - Работа элементов на срез
На основе сформулированных выше допущений
получаем следующую расчетную формулу (условие прочности при расчете на срез):
|
|
(2.3.1),
|
где
- рабочее (расчетное)
напряжение среза, возникающее в поперечном сечении рассчитываемой детали;
- площадь среза одного
болта (заклепки и т. п.);
- допускаемое напряжение на срез, зависящее от
материала соединительных элементов и условий работы конструкции
(2.3.2)
- общая нагрузка
соединения,
- число болтов, заклепок и т. п.
Формула (2.1.1) является зависимостью для
проверочного расчета соединения. В зависимости от постановки задачи она может
быть преобразована для определения допускаемой нагрузки или требуемой площади
сечения (проектировочный расчет).
Расчет на срез обеспечивает прочность
соединительных элементов, но не гарантирует надежность конструкции (узла) в
целом. Если толщина соединяемых элементов недостаточна, то давления,
возникающие между стенками их отверстий и соединительными деталями, получаются
недопустимо большими. В результате стенки отверстий сминаются, и
соединение становится ненадежным.
Давления, возникающие между поверхностями
отверстий и соединительных деталей, принято называть напряжениями смятия
и обозначать
. Соответственно расчет, обеспечивающий
отсутствие значительных деформаций стенок отверстий, называют расчетом на
смятие. Распределение напряжений смятия по поверхности контакта деталей
весьма неопределенно и в значительной степени зависит от наличия зазора (в
ненагруженном состоянии) между стенками отверстия и болтом (заклепкой и т. п.).
Расчет на смятие носит условный характер и
ведется в предположении, что силы взаимодействия между деталями равномерно
распределены по поверхности контакта и во всех точках нормальны к этой
поверхности. Соответствующая расчетная формула имеет вид
|
|
(2.3.3),
|
Здесь
- нагрузка на одну
соединительную деталь;
- расчетная площадь смятия;
- допускаемое напряжение
на смятие.
Часто контактирующие детали изготовлены из
различных материалов; в этих случаях при выборе допускаемого напряжения
ориентируются на материал той детали, прочность которого меньше.
В качестве расчетной площади смятия при
контакте по цилиндрической поверхности (рис.3,а,б,в) принимают площадь проекции
поверхности контакта на диаметральную плоскость, т. е.
. При различной толщине
соединяемых деталей в расчетную формулу следует подставлять
.
При расчете ленты на разрыв используется формула
(3)

(2.3.4),
А0 - начальная площадь поперечного сечения.
где [σ0,2] - предел текучести материала;
2.4
Расчет приспособления на прочность
В
приспособлении, в качестве упорного элемента для поршня, используется
металлическая лента с отверстием для выпрессовываемого поршневого пальца
диаметром D = 22 мм., изогнутая по типу хомута. Крепежные детали
- штифты. Необходимо рассчитать потребное количество крепежных элементов исходя
из:
1. количество крепежных элементов должно быть четным,
т.к. лента крепится в двух местах;
. диаметры крепежных элементов должны быть
наименьшими, в целях уменьшения толщины площадки, в которую закрепляется лента.
В нашем случае, схема нагруженности приспособления
будет выглядеть также, как и на рисунке 6.
Рисунок 6 - Схема нагруженности приспособления
Для приспособления выбрана конструкционная сталь 30.
Из справочника принимаем для нее значения
= 170 МПа,
= 500 МПа.
Расчетная
нагрузка на ленту F=2000кг., 1Н = 102г., следовательно F=2000000/102=19607,8431Н
19,608
кН.
1. Предположим, что d=5 мм., тогда исходя из формулы
Получаем

(2.4.1),
так
как Аср=πr2 (2.4.2), получаем: 
=19,608/(3,14х
0,00000625x170000)=6,63
7шт. -
требуется не менее 7 штифтов. (неприемлемо - необходимо добиться наименьшего
четного количества штифтов, т.к. мест закрепления два);
2. Предположим, что d=8 мм., тогда исходя из формулы
получаем:

,
так
как Аср=πr2, получаем: 
=19,608/(3,14x0,000016x170000)=2,3
3 шт. -
требуется не менее 3 штифтов (неприемлемо - необходимо добиться наименьшего
диаметра штифтов т.к. больший диаметр увеличивает расход материала);
3. Предположим, что d=7
мм., тогда исходя из формулы
получаем:

,
так
как Аср=πr2, получаем: 
=19,608/(3,14x0,000009x170000)=4,8
5 шт.
(неприемлемо - необходимо добиться наименьшего четного количества штифтов, т.к.
мест закрепления два);
4. Предположим, что d=7
мм., тогда исходя из формулы
получаем:

,
так
как Аср=πr2, получаем: 
=19,608/(3,14x0,000012x170000)=3,059
4 шт.
(Приемлемо - количество штифтов четное, d=7 - наименьший
возможный диаметр штифтов, что удовлетворяет условиям задачи).
Из
расчета, представленного в пункте 4, рассчитываем минимально допустимую толщину
ленты 
,
принимая d=7. Из формулы
получаем:

(2.4.3),
следовательно,

=19,608/(500000x4x7)x1000=0,000014x1000=0,014
мм. Округляем в большую сторону: 
1 мм.
Далее, необходимо рассчитать ширину ленты
А0=ba (2.4.4),
(где
b-ширина ленты, a-толщина
ленты), исходя из предела текучести материала [σ0,2] = 300 МПа. Так как лента под нагрузкой должна облегать
половину окружности поршня, выбираем ее толщину а = 2 мм., что не противоречит 
1 мм.
Из формулы

Получаем

,
следовательно: А0=19,608/300000=0,000065 м2
, А0=0,000065*1000000=65 мм2. Ширина ленты: 
, тогда b = 65/2=32,5 мм.
К полученному значению b, необходимо
добавить диаметр отверстия под выпрессовываемый палец D=22 мм. Окончательная ширина ленты B=b+D (2.4.5), B= 32,5 + 22 = 54,5 мм. Диаметр
поршня равен 76 мм. Следовательно - радиус скругления пластины 38 мм.
Длина
половины окружности поршня C, равна

(2.4.6),
тогда
C=(2x3,14x38)/2=119,32 мм.
К
данной длине C, следует прибавить половину диаметра поршня, его
диаметр, глубину посадки пластины, высоту домкрата и удвоить их - это длина l,
является длиной пластины. Высота домкрата равна 155 мм. Глубина посадки
пластины равна 10 мм.
Следовательно,
l=119,32+(38+76+10+155)x2=677,32 мм.
Так
как ширина гидравлического домкрата равняется 89 миллиметрам, для нормальной
его установки в приспособлении, необходимо взять расстояние между пазами b=91
мм. Из этого получаем длину площадки L.
L=b+2a+2z
(2.4.7),
где
z - длина края площадки от паза для установки пластины,
равная 10 мм., обеспечивающая прочность соединения; a - ширина паза
под пластину. Следовательно, L=91+4+20=115 мм.
Ширину
площадки, для обеспечения устойчивости домкрата, необходимо взять равную его
длине f=93 мм.
Высота
площадки g, принимаем равную 10мм., так как диаметр отверстия
под штифт равен 7 мм.
Так
же устанавливаем длину штифтов h = 27 мм.
Чертеж
приспособления представлен в приложении В.
3.
ЭКОНОМИЧЕСКАЯ ЧАСТЬ
3.1
Расчет себестоимости приспособления
При
расчете себестоимости приспособления необходимо рассчитать объем металла
используемого в приспособлении.
Стоимость
проката стали 30 равна 30000 руб./т.
Плотность
металла ᵨ=7850 кг/м3
Необходимо
рассчитать объем 1000 килограмм стали.
кг
- 1м3, 1000кг - Xм3 => X=1000/7850 =
0,127 м3=127000000 мм3, следовательно, стоимость 1 мм3
стали (C) = 30000/127000000=0,00024 руб.
Высчитываем
полный объем потребной стали Vо.
Vо=Vп+Vл+Vш
(3.1.1)
где
Vп - объем площадки; Vл - объем
ленты; Vш - объем штифтов.
Vп=g+L+f,
Vп=10x115x93=106950
мм3;
Vл=axBxl,
Vл=54,5x677,32x2=73827,88
мм3;
Vш=πr2xhxI,
Vш=3,13x27x4x(3,5)2=4154,22
мм3;
Vo=106950+73827,88+4154,22=184932,1
мм3.
Вычисляем
стоимость стали на одно приспособление
Sм=VoxC
(3.1.2),
Sм=184932,1x0,00024=44,38
руб.
В
стоимость приспособления, так же входит стоимость выполнения операций сверления
и фрезерования. Стоимость работы и фрезерофщика и сверлильщика равны I=63
руб Н/ч.
Нормы
времени выбираем из таблиц ()
Норма
времени на сверление Nc1
отверстия d = 22 мм и глубиной h = 2мм, Nc1 = 0,23 мин;
Норма
времени на сверление Nc2
отверстий под штифты в ленте d = 7 мм и глубиной h = 2мм, Nc2 = 0,23 => Nc2=0,23x4=0,92 мин;
Норма
времени на сверление Nc3
отверстий под штифты d = 7 мм и глубиной h = 22мм, Nc3 = 0,31 => Nc3=0,23x4=1,24 мин;
Нормы
времени на фрезерование Nф пазов глубиной =10 мм, шириной =2 мм и длиной = 54,5
мм, необходимо умножить на два, так как лента крепится в двух местах Nф =
3,5 => Nф = 3,5x2=7 мин.
Nc1 = 0,23 мин =0,0038 ч;
Nc2=0,92 мин=0,021ч;
Nc3=1,24 мин=0,015ч;
Nф =7 мин=0,12ч.
Необходимо
высчитать стоимость работ
Sр =NoxI
(3.1.3),
где No= Nc1 +Nc2 +Nc3
+Nф.
=0,0038+0,021+0,015+0,12=0,1598
ч => Sр=0,1598x63=10,07 руб.
Стоимость
приспособления составляет
S=Sp+Sм
(3.1.4),
S=10,07+44,38=54,45
руб.
Из
расчетов себестоимости приспособления видно, что S=54,45 руб.
Самый дешевый аналог приспособления для выпрессовки поршневых пальцев имеет
стоимость 120 руб. Изготовление данного приспособления, с точки зрения
экономики, выгодно.
4.
ОХРАНА ТРУДА И ТЕХНИКА БЕЗОПАСНОСТИ
Вопросы
охраны труда прямо или косвенно затрагивают любое производство. Другое дело,
что проведению мероприятий, связанных с обеспечением охраны труда, может
уделяться различная степень внимания, но совсем отказаться от них очень
неразумно со стороны руководства этого предприятия, фирмы или компании.
Естественно, что на производственных предприятиях, где персоналу приходиться
работать с различным оборудованием, и где высок риск получения травм различной
степени тяжести, вопросами обеспечения безопасности и охраны труда должна
заниматься специализированная служба этого предприятия.
Несоблюдения
правил и требований охраны труда ведет к повышенному травматизму на
предприятии, что пагубно влияет на производительность труда, качество
предоставляемых услуг и экономику предприятия.
При
ремонте двигателя автомобиля присутствуем множество опасных факторов, так как в
его работе участвует большое количество вращающихся деталей имеющих различную
массу.
Рассмотрим
некоторые правила, которые необходимо соблюдать при ремонте автомобиля:
.1
Постановка автомобиля на обслуживание
В
случае если водитель принимает участие в работе по ТО закрепленного за ним
автомобиля, он должен пройти инструктаж по технике безопасности. При
производстве ТО и ТР водитель должен выполнять следующие правила техники
безопасности. Автомобиль устанавливают на обслуживание после его очистки от
грязи, мойки и сушки. Перед въездом или съездом с канавы, эстакады или
напольного подъемника водитель должен убедиться в отсутствии людей,
инструментов и приспособлений, препятствующих движению автомобиля. Подачу
автомобиля на пост обслуживания следует производить на малой скорости и
внимательно наблюдать за положением колес относительно направляющих ребер
канавы или эстакады.
.2
Вывешивание автомобиля
Работу
выполняют с помощью подъемного оборудования (домкратов, талей, подъемников).
При вывешивании автомобиля или одного из его агрегатов строго соблюдают правила
пользования подъемным оборудованием. Запрещается проводить какие-либо работы
при вывешенном на талях или домкратах автомобиле со снятыми колесами. В этом
случае под передний и задний мост устанавливают подставки. При вывешивании
одного колеса (оси) рядом с домкратом устанавливают подставку, а под колеса
другого моста - противооткатные упоры. Обслуживание подъемного механизма
автомобиля-самосвала при поднятом кузове допускается только после того, как
кузов будет укреплен металлическим упором, исключающим его самопроизвольно
опускание. При постановке автомобиля на электромеханический подъемник под его
колеса устанавливают противооткатные упоры.
Во
избежание самопроизвольного опускания вывешенного автомобиля под раму
гидравлического подъемника подставляют регулируемое по высоте упоры-штанги или
шарнирные откидные металлические лестницы. Перед началом обслуживания на
механизме управления подъемников вывешивают табличку "Не трогать - под
автомобилем работают люди!".
.3
Работа в осмотровой канаве
После
установки транспортного средства над осмотровой канавой на рулевом колесе
укрепляют табличку с надписью: "Двигатель не пускать - работают
люди!". При работе в канаве инструмент и приспособления складывают в ниши
и пользуются переносными лампами напряжения не более 36 В. Пускать и испытывать
двигатель можно только на постах, оборудованных отсасывающей вентиляцией. Не
допускается нахождение людей в канаве при постановке и съезде автомобиля.
.4
Снятие, установка агрегатов и их перевозка
Эти
работы осуществляют с помощью подъемно-транспортных механизмов, оборудованных
захватами, гарантирующими безопасность производства работ. Запрещается при
снятии, перевозке, установке агрегатов и узлов применять вместо захватов тросы
и веревки. Перевозку агрегатов выполняют на тележках, оборудованных стойками и
упорами, предохраняющими агрегаты от сдвига и падения.
.5
Инструмент и приспособления
Во
время ТО используют только исправный и соответствующий своему назначению
инструмент. Не допускается применение каких-либо рычагов и надставок для
увеличения плеча гаечных ключей, а также зубила и молотка для отвертывания гаек
и болтов. Пользоваться ручным электрическим инструментом имеет право только
лицо имеющее соответствующий допуск. Перед использованием, проверяют надежность
его заземления и работу выполняют, стоя на резиновом коврике.
.6
Пуск двигателя
Перед
пуском вручную проверяют прочность крепления штифта пусковой рукоятки. Во
избежание повреждения кисти руки от обратного удара рукоятку берут так, чтобы
все пальцы правой руки располагались с одной стороны ручки. Поворачивают
коленчатый вал двигателя только снизу вверх. Поворачивание вниз и
"вкруговую" не допускается.
.7
Обеспечение безопасности при эксплуатации газобаллонных автомобилей
Сжиженные
газы по сравнению с бензином и дизельным топливом обладают повышенными пожаро-
и взрывоопасными свойствами. Поэтому при эксплуатации газобаллонных автомобилей
необходимо соблюдать следующие правила:
1. работы по обслуживанию и ремонту газовой аппаратуры выполняют
аттестованные слесари, специально обученные и сдавшие экзамены;
2. перед постановкой автомобиля в зону ТО и ремонта закрывают
вентили и вырабатывают весь газ из системы питания. Проверяют герметичность
баллона. Движение автомобиля в помещениях АТП осуществляют только на бензине;
. все виды работ, связанные с ТО (кроме ЕО) и ТР газовой
аппаратуры, проводят в специальном помещении;
. при обнаружении утечки газа газобаллонный автомобиль
отбуксировывают из помещения для удаления газо-воздушной смеси и проветривают
помещение. Двигатель до устранения утечек газа не пускают;
. все работы по ремонту и регулировке газовой аппаратуры выполняют
только при неработающем двигателе;
. при ремонте узлы газовой аппаратуры, находящиеся под давлением,
не разбирают, старую краску с газовых баллонов не удаляют и не приступают к их
окрашиванию, если в баллонах находится газ;
. открытым огнем и оборудованием, вызывающим образование искр, в
помещениях, где ремонтируют или хранят газобаллонные автомобили, не пользуются.
Открытое пламя для проверки герметичности соединений газобаллонной аппаратуры
не применяют. Зимой газовую аппаратуру в случае образования ледяных пробок
прогревают горячей водой;
. сжиженный газ заправляют в баллоны горизонтально установленного
автомобиля, оставляя при заправке не менее 10% свободного объема баллона для
образования паровой подушки. Запрещается наполнять газом баллоны, срок
освидетельствования которых истек, а также баллоны с неисправными вентилями.
Перед заправкой баллона с газом двигатель отключают, а магистральный и
расходный вентили закрывают;
. не допускается переход с одного вида топлива на другое (с
бензина на газ) при работающем двигателе или работа на смеси газа и бензина.
Перед пуском двигателя необходимо проверить герметичность всех соединений
газовой аппаратуры;
. допустимое давление в баллоне: максимально 1,6 МПа, минимальное
0,2 МПа; давление первой ступени редуктора 0,12-0,15 МПа;
. во избежание "ожогов" быстро охлаждающимся газом не
допускают его попадания на незащищенную поверхность тела при выпуске газа из
баллона.
.
ЭКОЛОГИЧЕСКАЯ БЕЗОПАСНОСТЬ
Многогранность и сложность структуры предприятий автосервиса, выполняемых
работ, используемого технологического оборудования предопределяют многообразие
видов и направлений загрязнения окружающей среды.
При этом можно выделить следующие основные виды загрязнений окружающей
среды, обусловленные деятельностью предприятий автосервиса:
. химическое - выброс химических соединений, приводящих к изменению
химических свойств окружающей среды, оказывающих отрицательное воздействие на
экосистемы и технологические устройства; о механическое - засорение окружающей
среды агентами, оказывающими механическое воздействие без химико-физических
последствий;
. физическое - тепловое, световое, шумовое и электромагнитное
загрязнения, приводящие к изменению физических параметров среды.
Выбросы вредных веществ от предприятий автосервиса оказывают воздействие
на все подсистемы окружающей среды - атмосферу, гидросферу, почву, литосферу,
флору и фауну, техносферу и ноосферу.
Учитывая важность экологических проблем, стоящих перед обществом,
рассмотрим основные требования, предъявляемые к СТОА и выполняемым на этих
станциях производственным процессам.
Требования к организации природоохранной деятельности распространяются на
вновь организуемые, реконструируемые и действующие предприятия, находящиеся в
государственной муниципальной, кооперативной, частной и других видах
собственности (включая предприятия, находящиеся в собственности общественных
организаций и иностранных государств), осуществляющих коммерческую или иную
деятельность в области технического обслуживания и ремонта автотранспортных
средств.
Вода - ценнейший природный ресурс. Она играет исключительную роль в процессах
обмена веществ, составляющих основу жизни. Огромное значение вода имеет в
промышленном и сельскохозяйственном производстве. Общеизвестна необходимость ее
для бытовых потребностей человека, всех растений и животных. Для многих живых
существ она служит средой обитания.
СанПиН ¹ 4630-88 предписывает следующее (п.3.1.2.): сточные воды, которые
могут быть устранены путем организации бессточных производств, рациональной
технологии, максимального использования в системах оборотного и повторного
водоснабжения после соответствующей очистки и обеззараживания в промышленности,
городском хозяйстве и для орошения в сельском хозяйстве.
Строительство и реконструкция предприятий, сооружений и иных объектов
должны осуществляться по утвержденным технико-экономическим обоснованиям (ТЭО)
проектов строительства, имеющим положительное заключение государственной
экологической экспертизы. ТЭО и проекты строительства представляются на
экспертизу совместно с проектами нормативов (предельно допустимых выбросов и
предельно допустимых сбросов загрязняющих веществ в окружающую среду).
Предприятие, располагающее производственно-технической базой, должно
иметь экологический паспорт, а также лицензию на комплексное природопользование
с установленными разрешениями на выбросы и сбросы загрязняющих веществ в
окружающую природную среду (предельно допустимые и временно согласованные),
предельное использование (изъятие) природных ресурсов, размещение отходов.
Лицензия на комплексное природопользование выдается органами Министерства
природных ресурсов Российской Федерации (МПР) в порядке, согласованном с
другими специально уполномоченными государственными органами Российской
Федерации в области охраны окружающей природной среды и использования природных
ресурсов, а также органами Государственного комитета
санитарно-эпидемиологического надзора Российской Федерации (Госкомсанэпиднадзор
России) в соответствии с их компетенцией.
Государственный экологический контроль за соблюдением природоохранных
требований на предприятиях транспортно-дорожного комплекса (ТДК) осуществляют
территориальные органы Минприроды России или иные уполномоченные органы.
Оценка воздействия на окружающую среду обязательна на всех этапах
подготовки документации, обосновывающей хозяйственную и иную деятельность, до
ее представления на государственную экологическую экспертизу.
Материалы по оценке воздействия СТОА на окружающую среду должны
излагаться в Декларации (ходатайстве) о намерениях.
В состав материалов включаются: пояснительная записка по обосновывающей
документации; описание намечаемой деятельности предприятия; описание возможных
видов воздействия на окружающую среду; описание состояния окружающей среды,
которая может быть затронута в результате деятельности предприятия.
Нормы допустимых сбросов загрязненных вод должны соответствовать
техническим условиям подсоединения к городским сетям канализации и водостоку.
Очистка сточных вод производится в очистных сооружениях, оборудованных
устройствами для улавливания загрязнений различных типов. Очистные сооружения
отстойного типа имеют большую производительность, чем полнопоточные
малогабаритные очистные сооружения, и позволяют более полно улавливать
загрязнения на масляной основе. Наиболее эффективна многоступенчатая очистка
сточных вод. Очистные сооружения должны иметь гигиенический сертификат.
В настоящее время для моек автомобилей предлагается широкий выбор
очистных сооружений производительностью от 0,5 до J 5 м3/ч и более.
Очистные сооружения на СТОА обеспечивают водой все виды моечного оборудования -
портальные мойки, моечные установки высокого давления, ручные шланговые мойки.
Разнообразие очистных сооружений объясняется различиями в требованиях,
предъявляемых пользователями к оборудованию для очистки сточных вод. Пропускная
способность моечной установки, планировка моечного комплекса, особенности
расположения и работы внутрипроизводственных коммуникаций, инженерное
обеспечение, наличие неиспользуемых площадей - неполный перечень условий и
требований к проекту, которые определяют выбор марки и модификации очистных
сооружений.
Утилизацию фильтрующих элементов и отстоя производят специализированные
организации, имеющие соответствующую лицензию. Договор на утилизацию в
обязательном порядке заключается при вводе в эксплуатацию моечного комплекса.
При проектировании производственных участков, в процессе работы
технологического оборудования которых используется вода, должно быть
предусмотрено использование систем водооборотного снабжения и передового
оборудования по очистке загрязненных вод.
ЗАКЛЮЧЕНИЕ
В заключении, стоит отметить, что цели выпускной
квалификационной работы достигнуты полностью. Произведено сравнение
приспособления с промышленными образцами, рассчитаны его прочностные
характеристики и себестоимость.
Расчет приспособления на прочность показал, что построить его не составляет
особой сложности, приспособление является универсальным: его можно применять
как для выпрессовки, так и для запрессовки поршневых пальцев. Так же, в
приспособлении имеется возможность применять несколько лент для разных по
диаметру поршней. Для этого необходимо, пересчитать ленту на разрыв, вернее ее
ширину.
Стоимость приспособления составляет 54,45 рублей, что меньше розничной
стоимости самого дешевого приспособления, которая составляет 120 рублей.
В ходе подготовки дипломного проекта, были практически применены и
закреплены знания, полученные на лекционных и практических занятиях, а так же
навыки, полученные в ходе производственной практики.
СПИСОК ИСПОЛЬЗОВАННЫХ ИСТОЧНИКОВ
Нормативные
акты
. Гражданский
кодекс Российской Федерации (с изм. и доп. от 20.11.2009 г.)
. Постановление
Минтруда РФ от 23.03.1994 N 26
"Об утверждении укрупненных нормативов времени на работы, выполняемые на
фрезерных, строгальных и долбежных станках в условиях ремонтных цехов и
мастерских"
. Постановление
Минтруда РФ от 01.02.2001 N 13
" Об утверждении межотраслевых укрупненных нормативов времени на работы,
выполняемые на сверлильных станках (единичное и мелкосерийное производство)
. Постановление
Минтруда РФ от 12 Мая 2003 N 28 "Об утверждении межотраслевых правил по охране
труда на автомобильном транспорте" (Зарегистрировано в Минюсте РФ
19.06.2003 N 4734)
Книги
1. Беднарский В.В. Техническое обслуживание и ремонт автомобилей:
Учебник. - Ростов-на-Дону: Феникс. 2005 - 448 с.
2. Епифанов Л.И., Епифанова Е.А. Техническое обслуживание и ремонт
автомобилей: Учебник. - М.: ФОРУМ - ИНФРА-М. 2006 - 280 с.
3. Любушин
Н.П., Лещева В.Б., Дьякова В.Г. Анализ финансово-экономической деятельности
предприятия: Учебное пособие для ВУЗов/ Под ред. проф. Любушина Н.П. - М.:
ЮНИТИ-ДАНА, 2007. -471с.
4. Масуев
М. А. Проектирование предприятий автомобильного транспорта.: Учеб пособие для
студ. высш учеб. Заведений. - М.: Издательский центр "Академия",
2007. - 224 с.
5. Миклуш
В.П., Шаровар Т.А., Уманский Г.М. Организация ремонтно-обслуживающего
производства и проектирование предприятий технического сервиса. - Мн.: Ураджай,
2007.
6. Михайлов С.П. Методическое пособие и указания по дипломному
проектированию. - ЛНТ. 2006 - 39 с.
7. Охрана
труда: Учебное пособие / Солуянов П.В., Гряник Г.Н., Большов М.М, и др. - М.:
Колос, 2005
8. Савицкая
Г.В. Анализ хозяйственной деятельности предприятий: 7-е изд., перераб. и доп. -
Минск: ООО "Новое знание", 2006. - 703 с.
9. Чумаченко Ю. Т., Чумаченко Г. В., Ефимова А. В.
Эксплуатация автомобилей и охрана труда на автотранспорте: Учебник, Феникс:
2006 г. - 416 с.
10. Ремонт автомобилей и двигателей: учеб. Пособие для
студ. Учреждений сред. проф. Образования / В. И. Карагодин, Н. Н. Митрохин. -
6-е изд., стер. - М.: Издательский центр "Академия", 2009. - 496 с.
ПРИЛОЖЕНИЕ А
Планировка поста по ремонту
двигателей
Планировка рабочего места слесаря по ремонту двигателей: 1 - моечная
установка для мойки блоков цилиндров; 2 - моечная ванна для деталей; 3 - станок
для расточки цилиндров двигателей; 4 - станок для полирования цилиндров
двигателей; 5 - слесарный верстак с пневматикой; 6 - инструментальная тумбочка;
7 - прибор для проверки и правки шатунов; 8 - шкаф для хранения деталей
шатунно-поршневой группы; 9 - прибор для определения упругости клапанов пружин
и поршневых колец; 10 - стенд для выпрессовки поршневых колец; 11 - стеллаж для
хранения приборов и приспособлений; 12 - станок для притирки клапанов; 13 -
станок для шлифования клапанов; 14 - стенд для ремонта двигателей; 15 - стенд
для сборки и разборки головок цилиндров двигателей; 16 - стенд для обкатки и
испытания компрессоров; 17 - стенд для испытания масляных насосов и масляных
фильтров; 18 - стеллаж для хранения масляных и водяных насосов и компрессоров;
19 - умывальник; 20 - ларь для отходов; 21 - ларь для обтирочных материалов; 22
- конторский стол; 23 - стеллаж для хранения двигателей; 24 - стенд для
разборки двигателей; 25 - шкаф для деталей газораспределительного механизма; 26
- кран-балка.
ПРИЛОЖЕНИЕ
Б
Разборка и
cборка шатунно-поршневой группы
Разборка. Для замены поршня, поршневого пальца или шатуна их
разбирают, для чего выпрессовывают палец под прессом (усилием не менее 8 кН) с
помощью оправки A.60308, центрируемой в отверстии поршневогоо пальца, и опоры с
цилиндрической выемкой, в которую укладывается поршень. Оправка А.60308
представляет собой ступенчатый стержень диаметром и длиной рабочей части
соответственно 21 и 80 мм. Диаметр центровочного хвостовика (14,9+0,05) мм.
Применение молотка для выпрессовки-запрессовки недопустимо - можно повредить
поршень.
Приспособление
для запрессовки поршневого пальца (размеры в скобках для приспособления
02.7853.9500)
Сборка. Палец запрессовывается в верхнюю головку шатуна с натягом, поэтому для
облегчения этой операции шатун нагревают, выдержав его в печи при 240°С не
менее 15 мин. Запрессовывать палец следует как можно скорее так как шатун
быстро охлаждается, а в охлажденном шатуне нельзя изменить положение пальца.
Последний заранее подготавливают к сборке, надев сто на валик 1 приспособлением
А.60325 (для двигателей 2103 и 2101) или 02.7853.9500 (для двигателей 2106 и
21011) и установив на конце этого валика направляющую 2, закрепленную винтом 3.
Винт затягивают неплотно, чтобы не произошло заклинивания при расширении пальца
от контакта с нагретым шатуном. Извлеченный из печи шатун быстро зажимают в
тисках и надевают поршень на шатун так, чтобы метка "П" на поршне
находилась со стороны выхода отверстия для масла на нижней головке шатуна.
Проталкивают закрепленный на приспособлении 1 поршневой палец 2 в отверстие
поршня и верхнюю головку шатуна до упора края рукоятки в поршень. Во время этой
операции поршень должен прижиматься к верхней головке шатуна в направлении
запрессовки пальца, как показано стрелкой. При этом палец займет правильное
положение. После охлаждения шатуна смазывают палец моторным маслом через
отверстия в бобышках поршня.
ПРИЛОЖЕНИЕ В
Чертеж приспособления для выпрессовки поршневых пальцев
1 - гайка; 2 - оправка; 3 - наконечник.
ПРИЛОЖЕНИЕ Г
Операционная технологическая карта
Трудоемкость работы 41,4 чел. мин. Для АТС с бензиновыми двигателями;
45,4 для АТС с дизельными двигателями и ГБА. В том числе
подготовительно-заключительное время - 3,5 чел. мин.; оформление первичных
документов - 1,5 чел. мин.
|
Позиции по диагностической
карте
|
Наименование и содержание
работы
|
Место выполнения
|
Количество мест или точек
обслуживания
|
Приборы, инструмент,
приспособления, модель, тип
|
Трудоемкость работы (чел.
мин.)
|
Технические требования и
указания
|
|
1. Тормозные системы
Трудоемкость работ по проверке тормозной системы - 8,2 чел, мин.
|
|
1
111 101 103 102 108 109 114 801
|
Проверка эффективности
торможения и устойчивости транспортного средства при торможении на стенде.
1.1.1. Установить транспортное средство на ролики стенда поочередно каждой
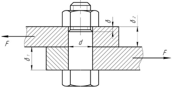
осью; 1.1.2. Зарегистрировать массу, приходящую на ось; 1.1.3. Установить на
орган управления тормозом силоизмерительное устройство; 1.1.4. Включить
привод роликов тормозного стенда; 1.1.5. Произвести торможение рабочей
тормозной системой; 1.1.6. Зарегистрировать максимальные значения тормозных сил
на колесах; 1.1.7. Включить привод роликов стенда для проверки стояночной
тормозной системы; 1.1.8. Затормозить транспортное средство системой с
регистрацией значений тормозных сил на колесах; 1.1.9. Зарегистрировать
максимальное значение тормозных сил на колесах; 1.1.10. Рассчитать массу
транспортного средства; 1.1.11. Для рабочей тормозной системы рассчитать
значения: · Общей удельной тормозной силы; · Коэффициента неравномерности тормозных сил колес оси. 1.1.12. Для
стояночной тормозной системы рассчитать значение общей удельной тормозной
силы; 1.1.13. Проверить герметичность гидравлического тормозного привода;
1.1.14. Проверить работоспособность системы сигнализации и контроля тормозных
систем; 1.1.15. Проверить состояние элементов тормозных систем; 1.1.16.
Проверить тормозные системы и их составные части на соответствие конструкции
транспортного средства.
|
В салоне и
сверху Снизу и салоне Снизу
в моторном отсеке Снизу в моторном отсеке
|
2
|
Стенд тормозной
СИТ-У Визуально Визуально
Визуально Визуально
|
4
4 п.1.1.12. 1.1.14. 1.1.15. 2
|
Работу проводить согласно
инструкции, прилагаемой к стенду и ГОСТ Р 51709 п. 4. Автомобиль должен быть
чистым и в снаряженном состоянии. Шины должны быть чистыми и сухими. Уровень
тормозной жидкости, при установленной крышке на отм.
"Макс". Не менее 0,53. Расчетная
тормозная сила 0,6 отношения снаряженной массы, приходящейся на оси, на
которые воздействует стояночная тормозная система, к снаряженной массе (не
менее 0,16). Подтекания тормозной жидкости не допускается. Трещины и вздутие
тормозных шлангов при нажатии на педаль не допускаются. Система должна быть
работоспособной. Не допускается: · Наличие
непредусмотренных конструкцией контакта трубопроводов тормозного привода с
элементами транспортного средства; · Наличие деталей с
трещинами и остаточной деформацией.
|