Роль и незаменимость стрелового самоходного оборудования в жизни человека

  • Вид работы:
    Контрольная работа
  • Предмет:
    Транспорт, грузоперевозки
  • Язык:
    Русский
    ,
    Формат файла:
    MS Word
    783,41 Кб
  • Опубликовано:
    2013-09-12
Вы можете узнать стоимость помощи в написании студенческой работы.
Помощь в написании работы, которую точно примут!

Роль и незаменимость стрелового самоходного оборудования в жизни человека

Содержание

Введение

. Назначение, область применения, виды работ

. Общее устройство и схема работы машины

. Классификация, индексация

. Основные параметры машин данной группы, технические характеристики моделей

Заключение

Список литературы

Введение

С развитием строительной техники и стремительным ростом объемов самых разнообразных строительных работ в полный рост встала проблема потребности в специальной мобильной технике такой, которая позволяет быстро перемещаться к месту проведения аварийно-восстановительных и спасательных работ.

Характерным представителем семейства мобильных строительных машин сегодня стал автокран. В настоящее время эти машины весьма активно используются на строительстве самых различных объектов. Автомобильный кран является мобильным подъемным краном с электрическим или гидравлическим приводом. При этом гидравлический привод имеет целый ряд неоспоримых преимуществ таких, например, как большой диапазон скоростей работы и возможность совмещения в одной машине нескольких крановых функций. Именно это позволяет использовать гидравлические автокраны в самых различных условиях для производства работ самых различных категорий.

Наибольшее применение автокраны нашли при выполнении различных строительно-монтажных операций. Большая грузоподъемность современных автокранов позволяет с их помощью во многих случаях производить погрузочно-разгрузочные работы. Дополнительным достоинством автокрана является его высокая мобильность, позволяющая в короткий срок доставлять грузоподъемную технику в самые труднодоступные районы. Сегодня просто невозможно себе представить нашу жизнь и производственную деятельность без использования автокранов. Эти мобильные и мощные машины сегодня используются повсеместно: в городах и сельской местности, на промышленных предприятиях и в сельском хозяйстве, при производстве ремонтных работ и в строительстве.

Первые автокраны малого класса начали выпускать в самом начале ХХ века. Привод осуществлялся механически от вала отбора мощности (ВОМ). Это была самая простая конструкция, но имелся один существенный изъян - мощность базового шасси во многом являлась определяющей для грузоподъемности установки. В попытках улучшить характеристики кранов использовались разные подходы - от применения электрической передачи (от генератора или от внешней сети) до конструкций наподобие автодерриков 1940-х годов - автокранов с деревянной стрелой для трелевки леса. В 1950-х появились башенные самомонтируемые автокраны с легким режимом работы на шасси ЗИС-150 и ЗИЛ-164. В любом случае выбор всегда делали в пользу наиболее мощного шасси. При нехватке мощности, отбираемой от двигателя базового шасси, крановую установку оснащали собственным двигателем (бензиновым, дизельным или электрическим).[1]

1. Назначение, область применения, виды работ

Автомобильные стреловые самоходные краны общего назначения служат для подъема и опускания грузов и перемещения их на небольшие расстояния в горизонтальном направлении при производстве строительно-монтажных и перегрузочных работ на рассредоточенных объектах.

Полный цикл работы крана состоит из ряда последовательных операций: захват груза, его подъем и перемещение к месту назначения, опускание и отцепка груза, подъем и перемещение грузозахватного устройства или приспособления в исходное положение для захвата следующего груза и его последующего подъема и перемещения.

Так как работа крана состоит из повторяющихся циклов, то автомобильные стреловые самоходные краны относятся к подъемно-транспортным машинам цикличного (периодического) действия.

Наибольшее применение автокраны нашли при выполнении различных строительно-монтажных операций. Большая грузоподъемность современных автокранов позволяет с их помощью во многих случаях производить погрузочно-разгрузочные работы. Дополнительным достоинством автокрана является его высокая мобильность, позволяющая в короткий срок доставлять грузоподъемную технику в самые труднодоступные районы. Сегодня просто невозможно себе представить нашу жизнь и производственную деятельность без использования автокранов. Эти мобильные и мощные машины сегодня используются повсеместно: в городах и сельской местности, на промышленных предприятиях и в сельском хозяйстве, при производстве ремонтных работ и в строительстве.

Автомобильные стреловые самоходные применяются для погрузочно-разгрузочных работ, монтажных работ, вертикального транспортирования грузов. В зависимости от вида выполняемых краном работ (погрузочно-разгрузочных, монтажных, вертикального транспортирования грузов) используют различные стрелы.

Перечисленным требованиям наиболее полно отвечают автомобильные стреловые самоходные краны общего назначения, оснащенные широкой номенклатурой рабочего оборудования, в том числе стреловым с телескопической или выдвижной стрелой и башенно-стреловым оборудованием. Поэтому эти машины являются ведущими при производстве многих монтажных, погрузочно-разгрузочных и других работ на строительстве.

Автомобильные краны используют на погрузочно-разгрузочных работах на открытых складских площадках, грузовых фронтах с подъездными автомобильными путями и строительных площадках. [2]

. Общее устройство и схема работы машины

Автомобильные краны - это стреловые полноповоротные краны, смонтированные на стандартных шасси грузовых автомобилей нормальной и повышенной проходимости. Автомобильные краны <#"667281.files/image001.gif">

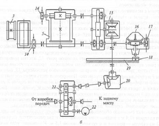
а - общий вид;6 - кинематическая схема

Рисунок 1.1- Автомобильный кран КС-256

Привод крановых механизмов может быть одномоторным (механическим) и многомоторным (дизель-электрическим и гидравлическим), подвеска стрелового оборудования - гибкой (канатной) и жесткой. Управление крановыми механизмами осуществляется из кабины оператора, расположенной на поворотной платформе, управление передвижением крана - из кабины автошасси.

Краны состоят из неповоротной и поворотной частей, опорно-поворотного устройства и стрелового оборудования (рисунок 1.1,а). Поворотная и неповоротная части соединены между собой роликовым опорно-поворотным устройством 13.

Неповоротная часть крана включает ходовую раму 12, жестко прикрепленную к раме автошасси 11, коробку отбора мощности, промежуточный конический редуктор, зубчатый венец опорно-поворотного устройства 13, выносные опоры 1 и стабилизирующее устройство. Поворотная часть крана состоит из поворотной платформы 2, на которой смонтированы решетчатая стрела 7, двуногая стойка 4, противовес, грузовая 5 и стреловая 3 лебедки, реверсивно-распределительный механизм, механизм поворота крана и кабина машиниста 6 с рычагами и педалями управления. Краны оснащаются жесткой решетчатой или выдвижной основной стрелой длиной 8 м в выдвинутом положении.

В комплект сменного оборудования кранов входят: удлиненная выдвижная стрела (длиной 10,4 м в выдвинутом положении) и две решетчатые удлиненные (до 12 м) стрелы - прямая и с гуском длиной 1,5 м. Изменение угла наклона стрелы осуществляется стреловой лебедкой 3 через стреловой полиспаст 8, подъем-опускание крюковой подвески 10 (груза) - грузовой лебедкой 5 через грузовой полиспаст 9. Крановые механизмы приводятся в действие от двигателя (рис. 1, б) шасси автомобиля через коробку отбора мощности 21, промежуточный редуктор 20 и реверсивно-распределительный механизм 15, который обеспечивает распределение крутящего момента между стреловой 3 и грузовой 5 лебедками и поворотным механизмом 16, их независимый раздельный привод и реверсирование. На выходном валу поворотного механизма закреплена поворотная шестерня 18, находящаяся во внутреннем зацеплении с зубчатым венцом 19 опорно-поворотного круга. [<#"667281.files/image003.gif">

Рисунок 1.2 - Индексация стреловых самоходных кранов общего назначения

Всем автомобильным кранам в группе стреловых самоходных кранов общего назначения присваивается индекс, состоящий из букв КС (кран стреловой самоходный) либо КС - кран стреловой самоходный общего назначения, ХЛ - северное исполнение, Т - тропики, ТВ - тропики влажные, Г - гусеничное ходовое устройство с минимально допустимой поверхностью гусениц, ГУ - то же, с увеличенной поверхностью гусениц, П - пневмоколесное ходовое устройство, Ш - специальное шасси автомобильного типа, Ае - шасси грузового автомобиля, Гр - трактор, Пр - прицепное ходовое устройство

После цифр в индексе могут стоять буквы, обозначающие очередную модернизацию (А, Б, В...) и климатическое исполнение крана (север -ХЛ, тропики -Т или тропики влажные -ТВ) и четырех-пяти цифр, из которых первая цифра обозначает номер размерной группы в ряду грузоподъемностей подъемно-транспортных машин, вторая - тип ходового устройства, третья - исполнение подвески стрелового оборудования, четвертая - порядковый номер модели. Буквы и цифры в индексе, стоящие после цифр номера модели, обозначают очередную модернизацию. Например, индекс КС-35715-1 расшифровывается следующим образом: 3 - третья размерная группа (грузоподъемность 15 т), 5 - ходовое устройство в виде шасси грузового автомобиля, 7 - жесткая подвеска стрелового оборудования (телескопической стрелы), 15 - порядковый номер модели крана, 1 (-1) - первая модернизация модели. В ряде моделей автомобильных кранов применяется другая отличительная маркировка, состоящая из нескольких букв и цифр, которые обозначают отраслевое назначение крана и его грузоподъемность. Например: СМК-14 - специальный монтажный кран грузоподъемностью 14 т; МКА-16 - монтажный кран автомобильный грузоподъемностью 16 т.

С помощью описанной индексации полное наименование крана может быть значительно сокращено. В нашем примере кран будет называться -кран КС-3561АХЛ на шасси МАЗ-500.

Здесь цифры и буквы имеют следующее значение: 3 - третья размерная группа, грузоподъемностью 10 т; 5 -ходовое устройство, включающее в себя шасси автомобиля; б - гибкая подвеска стрелового оборудования; 1-порядковый номер модели крана с механическим приводом; А -первая модернизация; ХЛ -северное исполнение.

Индекс кранов, выпускаемых другими Министерствами и ведомствами, состоит из трех букв и цифр, отражающих, как правило, основное назначение крана и его грузоподъемность.[4]

. Основные параметры и технические характеристики моделей машин данной группы

автомобильный стреловой самоходный кран

Рассмотрим на примере: Автомобильный кран второй размерной группы с механическим приводом КС-2561К и КС-2561 К-1 грузоподъемностью 6,3 т монтируют на шасси грузового автомобиля ЗИЛ-431412 или ЗИЛ-433362(4 х 2). На рисунке 1.3 представлен автомобильный кран КС-2561.

а - общий вид; б - кинематическая схема

Рисунок 1.3- Автомобильный кран КС-2561 К-1

Краны состоят из неповоротной и поворотной частей, опорно-поворотного устройства и стрелового оборудования (рисунок 1.3,а). Поворотная и неповоротная части соединены между собой роликовым опорно-поворотным устройством 13. Неповоротная часть крана включает ходовую раму 12, жестко прикрепленную к раме автошасси 11, коробку отбора мощности, промежуточный конический редуктор, зубчатый венец опорно-поворотного устройства 13, выносные опоры 1 и стабилизирующее устройство. Поворотная часть крана состоит из поворотной платформы 2, на которой смонтированы решетчатая стрела 7, двуногая стойка 4, противовес, грузовая 5 и стреловая 3 лебедки, реверсивно-распределительный механизм, механизм поворота крана и кабина машиниста 6 с рычагами и педалями управления. Краны оснащаются жесткой решетчатой или выдвижной основной стрелой длиной 8 м в выдвинутом положении.

Таблица 1 Техническая характеристика кранов второй размерной группы:

Параметры

Модель КС-2561К, КС-2561 К-1

Грузоподъемность, т:


на выносных опорах

6,3…0,75

без выносных опор

1,2…0,25

Вылет стрелы, м

3,3...12

Тип стрелы

Решетчатая

Число секций стрелы

-

Стреловое оборудование*:


основное

Н, В

сменное

У, УГ

Длина стрелы, м

8; 10,4; 12

Наибольшая высота подъема крюка при втянутой стреле, м

8; 10,2; 13

Скорость подъема груза, м/мин

13…19,5

Скорость посадки груза, м/мин

Частота вращения поворотной платформы, мин-1

0,084…2,65

Скорость изменения вылета крюка, м/мин

4

Скорость передвижения, км/ч:


транспортная

90

рабочая с грузом

5

Привод кранового оборудования

Механический

Базовый автомобиль

ЗИЛ-431412

Мощность двигателя, кВт

110

Габаритные размеры в транспортном положении, мм

10600 х 2500 х 3600

Маcca крана с основной стрелой, кг

8,36 (9,32)


*Н - с невыдвижной основной стрелой; В - то же, с выдвижной; У - с невыдвижной удлиненной стрелой; УГ - то же, с гуськом.[5]

Заключение

В отчете я представил в полной мере роль и незаменимость стрелового самоходного оборудования в жизни человека. Рассмотрел историческое развитие данного вида транспорта, характеристики отдельных моделей (автомобильный кран второй размерной группы с механическим приводом КС-2561К, КС-2561 К-1 и КС-256 на базе ЗИЛ-431412 и ЗИЛ-433362) дающее общее впечатление о занимаемой роли в качестве помощников человека повсеместно.

В программной статье Президента Нурсултана Назарбаева «Евразийский союз: от идеи к истории будущего» было сказано о намерениях развития транспортной составляющей государства в отношении международного сотрудничества:

Все два непростых десятилетия Президент Казахстана неизменно подчеркивал, что добрососедство, равноправие, честное сотрудничество - необходимые условия для экономической интеграции стран СНГ. Только на этой основе могут быть выполнены и другие долговременные начинания - совместные транспортные проекты, развитие научно-технического сотрудничества инновационного типа.

«Нет смысла упиваться собственной самобытностью и замыкаться в своих границах: интеграция - вот кратчайший путь к процветанию», - так считает Нурсултан Назарбаев. [6]

Пройдя учебную практику на кафедре строительство дорожных машин и подготовив отчет, я получил более широкое представление об этой траектории и в дальнейшем мне будет легче выбрать траекторию обучения по моей специальности.

На учебной практике нам наглядно представили где мы будем обучаться и с чем будем работать в дальнейшем, ознакомили с успехами нынешних выпускников, и мы могли присутствовать на защите дипломных работ выпускников.

Я считаю, что, отучившись по этой траектории именно в Карагандинском государственном техническом университете, я буду специалистом более широкого плана, и мне будет легче себя реализовать по специальности транспорт транспортная техника и технологии, так как квалифицированные специалисты в технической области востребованы, и по этой специальности в частности.

Список литературы

1.      Клок А.Б. Классификация и устройство транспортной техники: Учебное пособие.- Караганда: КарГТУ, 2009.-130 с.

.        Клок А.Б. Электронный учебник по дисциплине “ Классификация и устройство транспортной техники ”.- КартГТУ, 2009.

.        Добронравов С.С., Добронравов М.С. строительные машины и оборудование: Справочник. 2-е изд..- М.: Высш. шк., 2006.-445 с.

.        Раннев А.В. Одноковшовые строительные экскаваторы - М.: Высш. Шк., 1991.-304 с.

.        Крайнев А.Ф. Механика машин. Фундаментальный словарь. - М.: Машиностроение, 2000.-904 с.

.        Белицкий Б.Ф., Булгакова И.Г. Строительные и дорожные машины. Учебное пособие для студентов вузов. - М.: РИА, 2004.- 304с.

7.      <http://xreferat.ru/96/2056-1-tehnicheskie-harakteristiki-avtokranov.html>

.        <http://www.ngpedia.ru/id116419p1.html>

.        <http://lib.znate.ru/docs/index-182738.html?page=7>

.        <http://www.masterbetonov.ru/content/view/12129/290>

.        <http://www.baurum.ru/_library/?cat=selfpropelled_faucets&id=1185>

.        <http://www.inean.info/main/politics/1938.htm>

Похожие работы на - Роль и незаменимость стрелового самоходного оборудования в жизни человека

 

Не нашли материал для своей работы?
Поможем написать уникальную работу
Без плагиата!
Без нейросетей!