|
Разрешение преобразователя
|
8
|
|
Кол-во каналов
|
2
|
|
Время установки
|
6 мкс
|
|
Скорость преобразования
|
167 кГц
|
|
Интерфейс обмена данными
|
Serial, SPI
|
|
Вид
|
|
|
Диапазон выходных напряжений
|
Uni Vref
|
|
Потребляемая мощность
|
2.5 мВт
|
|
Конфигурация источника опорного напряжения
|
Ext
|
|
Диапазон напряжений питания аналоговой части
|
2.5…5.5 В
|
|
Примечание
|
2.5 V to 5.5 V, Low
Power, Rail-to-Rail Voltage Out, Dual 8-Bit DAC
|
-40…105 °C
|
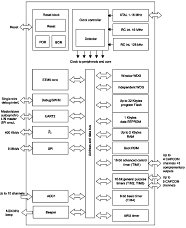
6. Конфигурирование
системы управления
Программировать связь
микроконтроллера с АЦП и ЦАП, а также код программы управления объектом, будем
на языке СИ - самым распространённом языке программирования микроконтроллеров.
В плату уже встроен программатор, используя прикладное программное обеспечение,
например IAR, можно запрограммировать наш микроконтроллер на выполнение нужных
нам функций.
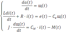
Включаться система управления будет
по нажатию сенсорной кнопки TS1 (реализуется в коде программы микроконтроллера). Контакт PD7
соединяем с управляющим каналом ЦАП, контакт PD6 - с каналом передачи
данных на ЦАП. На ЦАП контакт Ext соединяем с контактом управления на управляемом объекте.
Информационный канал с датчиков положения объекта управления соединяем с
«ножкой» отладочной платы PB3, образуя тем самым обратную связь, показанную на рис. 6.
Полученная система соединения всех
устройств, отвечающих за управление прибором, изображена на рис. 9:
Рис. 9 - Схема системы управления
На участке дороги из города N в населённый пункт M, который нам необходимо
проехать, существует несколько поворотов. Их всех нам нужно пройти с
максимально допустимой постоянной скоростью, и при этом не потерять
управляемость. Силы и моменты, действующие на автомобиль при повороте, показаны
на рис. 10:
Рис. 10 - внешние воздействия на
автомобиль при повороте, задние колёса ведущие, передние - управляемые
При высокой скорости движения угол
поворота машины будет не большой, следовательно, разницей между поворотом
правого и левого колеса можно пренебречь, а суммарную силу боковых реакций
обоих колёс Ry1 приложить в точке А
середины первого моста под углом
к оси моста; продольную реакцию этих же колёс Rx1
под углом
к продольной оси автомобиля.
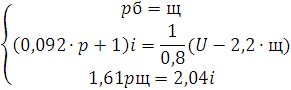
Уравнение динамического равновесия
сил в таком случае выглядит:

Так как угол
небольшой - примем:
Разберём первое уравнение из системы
уравнений, описанной выше.
Сумма продольных реакций будет
равняться:
где fув - коэффициент сопротивления качению колёс с учётом их бокового
увода.
Уравнение для определения продольной
составляющей ускорения центра масс автомобиля:
Подставив это уравнение в первое
уравнение нашей системы, и приняв во внимание, что
, получаем:
где
- коэффициент суммарного дорожного сопротивления:
Fкрив - дополнительная
сила трения, появившаяся в результате криволинейности траектории движения
машины:
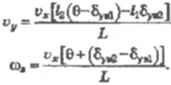
Так как значения поперечных реакций
Ry1 и Ry2 неизвестны, выразим их:
Ry1 = kув.
мост.1 ∙ дув.
мост.1; Ry2 = kув.
мост.2 ∙ дув.
мост.2
Значения увода мостов дув.
мост так же не известны, выразим их через фазовые переменные
процесса движения:
Решив эти уравнения совместно,
получим:
Подставим значение Ry1
в формулу дополнительной силы
трения:
В уравнении динамического равновесия
сил (9) пренебрегаем влиянием Rx1 и Mс.п. так как при большой скорости угол поворота автомобиля небольшой.
После этих вычислений получается что
система (9) выглядит:

Для удобства записи введём
обозначения:
С учётом этих обозначений, система
(10) принимает вид:

Преобразуем систему (11) в единственное
уравнение движения по криволинейной траектории:
Запишем уравнение (12) в операторной
форме:
p3y + Ap2y
+ Bpy = Cи + Dpи
где A=
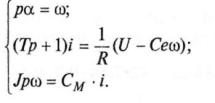
Передаточная функция нашей системы:
где:
Если учесть что как правило Т1
>> T2 и
,
тогда:
Зависимость коэффициента
преобразования и постоянной времени автомобиля от скорости движения изображена
на рис. 11:
м/с
Рис. 11 - Зависимости K и Т1 от скорости автомобиля Niva Chevrolet
Скорость прохождения поворота в
нашем случае равна 100 км/ч, следовательно так же она равна 27,7 м/с, тогда
коэффициенты равняются:
К = 49; T1 = 0,61
Следовательно ПФ приобретает вид:
Структурная схема системы управления
с регулятором поворота угла на 45○ изображена на рис. 12 и
рис. 13:
Рис. 12 - Структурная схема системы
управления
Рис. 13 - Переходной процесс системы
управления
Заключение
двигатель управление
конфигурирование
В процессе работы была разработана
система управления по ошибке, состоящая из объекта управления, АЦП, ЦАП, и
корректирующего устройства. Результатом стал график переходного процесса при
повороте руля автомобиля на 45○
Список
литературы
1. «Вычисления в
системах управления» - А.Е. Городецкий, В.В. Козлов, Ю.Н. Артемемко, И.Л.
Тарасова, Санкт-Петербург, Издательство Политехнического университета, 2006
год.
2. «Теория
движения автомобиля» - Тарасик В. П., Санкт-Петербург «БХВ-Петербург», 2006
год.