Проект тележки электромостового крана общего назначения
Министерство
образования и науки Украины
Донецкий
национальный технический университет
Курсовой
проект
по
дисциплине: Подъемно-транспортные машины
на
тему: Проект тележки электромостового крана общего назначения
Донецк,
2010
Введение
Грузоподъемные и транспортирующие
машины являются неотъемлемой частью современного производства, так как с их
помощью осуществляется механизация основных технологических процессов и
вспомогательных работ. В поточных и автоматизированных линиях роль подъемно-транспортных
машин качественно возросла и они стали органической частью технологического
оборудования, а влияние их на технико-экономические показатели предприятия
весьма существенное.
Курс «Подъемно-транспортные машины»
является базой общетехнической подготовки студентов, способствует развитию их
конструкторских навыков и общей конструкторской подготовки.
Основная цель курсового проектирования -
определение размеров и конструктивных форм деталей исходя из условий прочности,
долговечности, жесткости и в зависимости от технологических факторов;
конструирование машины по всем этапам, начиная с оценки задания и кончая
графическим оформлением проекта; выбор электрооборудования.
1. Обоснование и описание
конструкции механизмов тележки
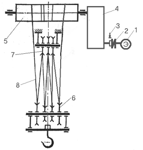
Выбор кинематической схемы: механизм
передвижения тележки предполагается выполнить по кинематической схеме,
показанной на рисунке 1.
Для передачи крутящего момента от двигателя к
приводным колесам использован вертикальный редуктор ВК. Вал двигателя соединен
с быстроходным валом редуктора зубчатой муфтой, на одной половине которой
установлен колодочный тормоз. Эта схема может передавать достаточно большие
крутящие моменты; имеет закрытые зубчатые передачи, что обеспечивает
долговечность и надёжность работы механизма.
Рисунок 1 - Кинематическая схема механизма
передвижения
Рисунок 2 - Кинематическая схема механизма
подъема груза
- двигатель; 2 - муфта; 3 - тормоз; 4 -
редуктор; 5 - барабан; 6 - крюковая подвеска; 7 - верхние блоки; 8 - канат
2. Расчет механизма подъема груза
.1 Выбор каната
Для проектируемого крана принимаем механизм
подъема, схема которого представлена на рисунке 2.
В механизмах подъема с непосредственной навивкой
каната на барабан обычно применяют сдвоенный полиспаст, при использовании
которого обеспечивается вертикальное перемещение груза, одинаковая нагрузка на
подшипники независимо от высоты подъема груза. Для крана грузоподъемностью 40т
принимаем сдвоенный полиспаст кратностью а=4 [1, табл. 10, с. 55].
Для определения максимального усилия в канате,
необходимо определить КПД полиспаста:
,
где
бл=0,97..0,98
- КПД блока на подшипниках качения;
.
Максимальное натяжение в канате,
набегающем на барабан, при подъеме груза определяют по формуле:
,
Где g
- ускорение свободного падения, g=9,8
м/с2;
- грузоподъемность крана.
кН,
Выбора каната осуществляется исходя
из условия:
где Sp - расчетное
усилие в канате, Н;
Spазр - разрывное
усилие каната (табличное значение),
kз -
коэффициент запаса прочности каната, зависящий от режима работы механизма
(табл. 1).
Таблица 1 - Коэффициент запаса прочности
каната
|
Режим
работы
|
1М,
2М, 3М
|
4М
|
5М,
6М
|
|
kз
|
5,0
|
5,5
|
6,0
|
Выбираем канат из [1, стр. 453,
приложение I I], двойной
свивки типа ЛК-3 6x19(1+6+6/6)+1 о.с. с параметрами: диаметр каната dк=22,5
мм, разрывное усилие Sразр=270000 Н, площадь поперечного сечения
F=187,03 мм2.
2.2 Определение основных размеров
блоков и барабана
Необходимо определить следующие
геометрические размеры блоков и барабана: диаметр блока по центру каната,
диаметр блока по дну желоба, диаметр барабана по центру каната, диаметр
барабана по дну канавок, а также длины основных участков барабана и общую
длину. Схемы блока и профилей канавок барабана приведены на рис. 3, схема
барабана приведена на рис. 4.
Диаметр блока и барабана по центру
наматываемого каната:
где e - коэффициент,
зависящий от режима работы и типа грузоподъемной машины [1, с. 58, табл. 12].
Диаметр блока крюковой подвески (по
центру каната) принимаем D = 450 мм.
Диаметр блока по дну желоба:
Диаметр барабана по центру каната:
б = 0,85Dбл.
Диаметр барабана по дну канавок:
б.0 = Dб
- dк.
а)
б)
Рисунок 3 - Схемы:
а) блока с основными размерами;
б) профилей канавок барабана
механизма подъема
Рисунок 4 - Схема барабана
Из стандартного ряда выбираем
ближайшее большее значение Dб.0. но так как
длина барабана в результате получится слишком большой, следовательно
целесообразно выбрать барабан большего диаметра, тем самым уменьшая габариты
тележки. Принимаем Dб.0=560 мм
Уточняем диаметр барабана по центру
каната:
б = Dб.0
+ dк.
.
Число рабочих витков для навивки полной рабочей
длины каната:
,
где Н - высота подъема груза, м;
витков.
Принимаем Zp=33 витков.
Число неприкосновенных витков (для
уменьшения усилия в канате в месте его крепления) принять по рекомендации - zнепр.= 1,5 [1, с.67].
Число витков для крепления каната zкр = 3...4.
Длина нарезного участка барабана :
.
где t - шаг
нарезки барабана, выбирается из таблицы [1, с. 475] , но так как в таблице есть
возможность принять 2 варианта, делаем предварительный расчет шага по формуле:
t = 1,2dк=
.
Окончательно принимаем шаг t=27 мм.
Длину гладкого концевого участка:
к = (4 ...
5)dк
Принимаем lк
конструктивно из полученного диапазона с учетом стандартного ряда равным 90мм.
Длину центрального гладкого участка
барабана l0 выбираем из
условия:
,
где bmin, bmax -
минимально и максимально возможная длина ненарезного участка.
Длины участков:
;
где В - расстояние между крайними
блоками крюковой подвески определяем по формуле:
где nбл -
соответствует числу кратности полиспастав.
hmin -
минимальное расстояние между осью блоков крюковой подвески и
осью барабана (мм):
;
γ - угол
отклонения каната при набегании на барабан, γ = 6о.
Из конструктивных соображений
принимаем l0=50 мм.
Определяем общую длину барабана:
Блоки изготовляют из чугуна СЧ
15-32, СЧ18-36, стали 45 Л, магниевого сплава МЛ-5ТЧ.
.3 Выбор крюка и крюковой подвески
По номинальной грузоподъемности Q = 40 т и
режиму работы 3М выбираем крюк однорогий (рис. 6) [1, стр. 462, приложение VI-VII], тип Б №22
(ГОСТ 6627-74).
Крюк изготовлен из стали 20, имеющей
предел прочности σв = 420 МПа,
предел текучести σт= 250 МПа, σ-1 = 120 МПа.
Резьба шейки крюка - трапециидальная №
с внутренним диаметром dв = 98 мм [3,
стр. 449, табл. 104].
Рисунок 6 - Сечение крюка и равновеликая
трапеция
e2
- расстояние от центра тяжести сечения до внутренних волокон,
k -
коэффициент, зависящий от кривизны и формы сечения крюка,
e1 -
расстояние от центра тяжести сечения до наружных волокон,
e1 = h0 - e2 = 196,28 -
80 = 116,28 (мм)
Так же можно определить k приближённо
по графику [1, стр. 60] по соотношениям
b/b1 = 130/41,51 » 3 и h/D = 205/210 » 1.
k = 0,1
Определим наибольшее напряжение
растяжения сечения:
Напряжение в сечении А¢
- А¢
определяют при условии, когда стропы расположены под углом 45°
к вертикали (рисунок 2.4).
Усилие разгибающее крюк,
Наибольшее напряжение растяжения внутренних
волокон в сечении
А¢ - А¢ :
Значение параметров F, D, e2, k сечения А¢ - А¢ принимаем
такими же, как для сечения А - А, так как оба сечения примерно равны между
собой.
Касательное напряжение (на срез) в
сечении А¢ - А¢:
Суммарное напряжение в сечении А¢
- А¢
третьей теории прочности:
Допускаемое напряжение [s] = sТ/nT, здесь nT - запас
прочности по пределу текучести, имеющий для легкого режима работы значение -
1,2.
в нашем случае для стали 20:
Расчётные напряжения в сечениях А - А и А¢
- А¢
меньше допускаемых
Гайка крюка. Высота
гайки должна быть не менее:
где t = 12 мм -
шаг резьбы;
р - допускаемое напряжение на
смятие; сталь по стали р =29,5…34МПа
(материал гайки сталь 45).
Для метрической резьбы высота гайки:
Н = 1,2× d2
= 1,2×
110 = 132 (мм)
Наружный диаметр гайки:
H = 1,8× d2 = 1,8× 110 = 198
(мм).
Упорный подшипник. Для крюка
диаметром шейки d1 = 120 мм
выбираем упорный подшипник, зная, что расчётная нагрузка на подшипник должна
быть равна или меньше статической грузоподъёмности:
Qp = kб× Q× g = 1,2× 40000× 9,81 =
470880 (Н)
где kб -
коэффициент безопасности (1,2) [1,
стр. 471]
Выбираем упорный однорядный
подшипник средней серии 8324 (ГОСТ 6874-75) со статической грузоподъёмностью С0
= 829000 (Н), с внутренним диаметром 120 мм [1,
стр. 469].
Траверса крюка. Она
изготовлена из стали 45, имеющей предел прочности sв = 610 МПа,
предел текучести sт = 430 МПа,
предел выносливости s-1 =250 МПа.
Рисунок 7 - Крюковая подвеска
Траверсу рассчитывают на изгиб при допущении,
что действующие на неё силы сосредоточенные; кроме того, считают, что
перерезывающие силы незначительно влияют на изгибающий момент. После конструктивной
проработки определяют расчётные размеры, т.е. расстояние между осями крайних
блоков b = 462 мм (рисунок
2.6)
Расчётная нагрузка на траверсу Qp
= 470880 (Н) (такая же, как и на упорный подшипник).
Максимальный изгибающий момент (рисунок 2.7
сечение А - А)
Так как напряжения в траверсе изменяются по
пульсирующему циклу, или приближённо принимают [s] = 58,8 …
98,1 МПа.
Рисунок 8 - Траверса
Момент сопротивления среднего
сечения траверсы (рисунок 2.7), ослабленной отверстием,
где b1 - ширина
траверсы; назначается с учётом наружного диаметра D1
посадочного гнезда для упорного
подшипника,
b1 = D1 + (10 … 20)
= 210 +10 = 220 (мм) принимаем 220(мм);
d2
= d1
+ (2 … 5) = 110 + 5 =115 (мм) принимаем 120(мм).
h - высота траверсы:
Принимаем h=215 мм
Изгибающий момент в сечении Б - Б
Выбор подшипников блоков.
Поскольку подшипники блоков работают
при переменном режиме нагрузки, то эквивалентную нагрузку определим по формуле:
где Р1, Р2, Р3,
… , Рn -
эквивалентные нагрузки;
L1, L2, L3, … , Ln -
номинальные долговечности (время в течении
которого действуют эквивалентные
нагрузки Р1, Р2, … , Рn, млн. об.
Для радиальных шарикоподшипников
эквивалентную нагрузку при каждом режиме вычислим по формуле:
где Fr -
радиальная нагрузка, Н;
Fa - осевая
нагрузка, Н; в нашем случае Fa = 0;
X и Y -
коэффициенты радиальной и осевой нагрузок, для однорядных шарикоподшипников
при Fa/(Fr×V) £ e X=1, Y=0 (здесь e -
коэффициент осевого нагружения, зависящий от угла контакта);
V -
коэффициент вращения; при вращении внутреннего кольца относительно направления
нагрузки V = 1 и при
вращении наружного кольца V= 1,2;
kd - коэффициент безопасности; kd = 1,2 [1, стр. 471];
kt -
температурный коэффициент; kt =1 (так как
рабочая температура подшипника t° < 100° C).
С учётом графика загрузки механизма
подъёма (рисунок 3.1) при среднем режиме работы радиальные нагрузки на
подшипник составляют:
Эквивалентные нагрузки при каждом
режиме:
Долговечность подшипника номинальная и при каждом
режиме нагрузки:
где Lh -
ресурс подшипника =
1000 ч [1,
стр. 472];
n - частота вращения
подвижного блока крюковой подвески, с которой
канат сматывается на барабан, при установившемся
режиме:
Эквивалентная нагрузка:
Динамическая грузоподъёмность:
C = L1/a
× Р ,
где a - показатель
степени; для шарикоподшипников a = 3, для роликоподшипников a
= 3,33.
C = 2,671/3 ×
62455,244 = 86644,1 (Н).
Для данного диаметра цапфы по динамической
грузоподъёмности выбираем шарикоподшипник 324 радиальный однорядный по ГОСТ
8338-75 , внутренний диаметр d
= 120 мм, наружный диаметр D
= 260 мм, ширина подшипника B
= 55 мм, динамическая грузоподъёмность С = 170000 (Н)
.4 Расчет мощности и выбор двигателя
Мощность двигателя механизма подъема при
установившемся режиме работы вычисляется при подъеме номинального груза:
где G = (Q + Qп)g - сила
тяжести поднимаемого груза и крюковой подвески, кН;
Qп
- вес крюковой подвески определяется по формуле:
п = (0,02 ... 0,035)Q;
т;
υ1 - скорость
подъема груза, м/с;
ηмех - К.П.Д.
механизма:
где п - КПД полиспаста;
б - КПД
барабана; на подшипниках качения - б = 0,98;
муфт - КПД муфт;
зубчатые муфты, МУВП - м = 0,98;
р - КПД
редуктора;
р=0,93 -
двухступенчатый.
Предварительно, до проверки мощности
двигателя по нагреву, принимаем ближайший по каталогу двигатель меньшей
мощности. По таблице выбираем электродвигатель переменного тока с фазовым
ротором 50 Гц, типа МТН-511-8 мощностью N=38 кВт, с
номинальной частотой вращения n=685 об/мин, максимальным моментом Мnмах=1000
, моментом
инерции ротора Iр=0,534 кг*м2,
кратность минимального пускового момента ψmin=1,2.
Номинальный момент на валу двигателя:
Максимальная кратность пускового момента
двигателя:
Средняя кратность пускового момента
двигателя:
Средне пусковой момент:
Угловая скорость вала двигателя:
Угловая скорость барабана:

2.5 Определение передаточного числа
и выбор редуктора
Передаточное число редуктора:
Редуктор механизма подъема груза
выбираем исходя из расчетной мощности, числа оборотов вала двигателя,
передаточного числа и режима работы.
По каталогу [1, стр.465] выбираем
редуктор типа Ц2-650 (
=50,94 вал
тихоходный с концом под зубчатую муфту).
Уточняем фактическую угловую
скорость вращения барабана :
.
Определяем фактическую скорость
подъема груза (м/с):
.
2.6 Выбор тормоза
Выбор производится по расчетному тормозному
моменту, диаметру тормозного шкива (DT)
и режиму работы:
где kт -
коэффициент запаса торможения; kт =1,5 (3М);
Мст.о - статический
момент сопротивления при опускании груза номинальной массы;
Мт.ф - табличный
тормозной момент.
груз подъем механизм
крюк
Выбираем колодочный тормоз типа ТТ
переменного тока с такими параметрами: ТТ-320 с диметром тормозного шкива D=320 мм (рис.
9),тормозной момент 800 Н*м, вид замыкания - нормально-замкнутый; тип привода
размыкания - гидратолкатель, масса 89 кг.
Рисунок 9 -
Колодочный тормоз типа ТТ переменного тока
2.7 Выбор муфт
Между двигателем и редуктором
устанавливаем зубчатую муфту с тормозным шкивом D=300 мм,
имеющую следующие характеристики: наибольший крутящий момент Т= 3200Н*м, момент
инерции
[ 1, прил. XLVII ].
Муфту находим по максимальному
расчетному моменту и наибольшему диаметру концов валов, которые соединяют:
где Тн - наибольший
долгосрочно действующий крутящий момент, Н*м;
К1 - коэффициент,
учитывающий степень ответственности механизма; К1=1,0;
К2 - коэффициент
учитывающий условия работы механизма; К2=1,2
[5, табл. 1.3];
К3 - коэффициент углового
смещения; К3 =1,5 [5, табл. 1.4];
[Т] - наибольший крутящий момент
передаваемый муфтой.
2.8 Компоновочная схема привода
механизма подъема
Рисунок 8-
Компоновочная схема привода механизма подъема
После того как на основании
предварительных расчетов выбраны входящие в механизм основные элементы,
приступаем к их компонованию - определяем наиболее целесообразное расположение
сборочных единиц друг относительно друга и относительно металлических
конструкций. Наилучшие показатели по габариту имеет конструкция лебедки с
установкой одной из опор оси барабана внутри консоли тихоходного вала редуктора
(рис. 8). Преимущество такого компонования лебедки - ее компактность, блочность
и передача крутящего момента непосредственно с редуктора на барабан при
помощи специальной зубчатой муфты минуя ось барабана.
3. Расчет механизма передвижения
тележки
Механизм передвижения тележки выполнен по кинематической
схеме, представленной на рисунке 1. Для передачи крутящего момента от двигателя
к приводным колесам использован вертикальный редуктор типа ВК.
3.1 Определение силы сопротивления
передвижению тележки
Сопротивление передвижения тележки с номинальным
грузом при установившемся режиме работы определяется по формуле:
где Q - вес
номинально поднимаемого груза;
GТ -
собственный вес грузоподъемной тележки, принимаем GТ=14000 кг;
DК - диаметр
ходового колеса тележки. Для данной грузоподъемности предварительно можно
выбрать диаметр колеса, пользуясь рекомендациями [1,стр.106, таблица 25].
Принимаем двухребордные колеса с цилиндрическим профилем обода диаметром DК=400 мм [1,
стр.528, приложение LIХ] с шириной рабочей части дорожки
80 мм (ГОСТ 3569-74);
d=(0,25…0,3)*DК - диаметр
цапфы:
Принимаем d=100 мм;
f=0,015 -
коэффициент трения в подшипниках колес; подшипники выбираем сферические
двухрядные [1, стр.106, таблица 26];
μ=0,5 мм - коэффициент трения
колеса по плоскому рельсу [1, стр.107, таблица 27]. Изготавливаем колеса из
стали 65Г (ГОСТ 1050-74), твердость поверхности катания НВ=300…350,
kр=2,5 -
коэффициент, учитывающий сопротивление от трения реборд колес о рельсы и от
трения токосъемников о троллеи [1, стр.107, таблица 28],
Wук -
сопротивление передвижению от уклона пути:
где α - расчетный
уклон подкранового пути:
α=0,001 - для путей,
укладываемых на металлических балках с железобетонными фундаментом. Уклон
незагруженной главной балки принимаем равным нулю;
а =
0,002 - для путей, укладываемых на деревянных шпалах с щебеночным основанием и
для подтележечных путей мостового крана.
WВ
- сопротивление передвижению от действия ветровой нагрузки (при расчете
мостовых кранов, работающих в закрытых помещениях, принимают WВ=0
Н).
Наибольшее сопротивление передвижения тележки с
номинальным грузом при установившемся режиме:
3.2 Определение мощности и выбор
двигателя
Двигатель механизмов передвижения тележки кранов
выбираем по пусковому моменту. Значение пускового момента должно быть таким,
при котором отсутствует пробуксовка ведущих колес незагруженной тележки (крана)
относительно рельсов, а коэффициент запаса сцепления должен быть не менее 1,2.
Для предварительного выбора двигателя определяем
сопротивление передвижению загруженной тележки в пусковой период:
где а - среднее ускорение тележки
при пуске, м/с2 [1, стр.108, таблица 29].
Мощность предварительно выбираемого
двигателя должна быть:
где ψср - средняя
кратность пускового момента,
ψmax , ψmin -
соответственно максимальная и минимальная кратность пускового момента.
Значения кратности пусковых моментов
для двигателей, работающих в пусковых режимах принимают:
ψmin = 1,1…1,4;
ψmax = 1,8…2,5;
ψср = 1,5…2,0.
Расчетная мощность двигателя
механизма передвижения тележки, определена с учетом инерционных нагрузок и
поэтому должна удовлетворять условию:
По каталогу [1, стр. 489, приложение
XXXIV]
предварительно выбираем двигатель с фазовым ротором типа МТКF 112-6
мощностью N=6,5 кВт
(при ПВ=15%), n=785 об/мин,
ω=82,2
рад/с
Ip=0,06 кг∙м2,
Мп.max=175 Н∙м, Мн=97 Н∙м,
Мп.max/Мн=1,82.
Определим средний пусковой момент
двигателя для разгона незагруженной тележки из условия отсутствия буксования
приводных колес и наличии необходимого запаса сцепления:
Чтобы получить численное значение Мп.ср
, следует предварительно выбрать не только двигатель, но и редуктор механизма
передвижения тележки, затем произвести расчет мощности привода и окончательно
выбрать двигатель.
3.3 Определение передаточного числа
и выбор редуктора
Определяем частоту вращения колеса:
Находим передаточное число
редуктора:
По каталогу [1, стр. 534, приложение
LXIV] принимаем
редуктор типа ВКН-560-40-2 (с передаточным числом Up=40, схемой
сборки 2).
Фактическое число оборотов колеса:
Фактическая скорость передвижения
тележки с номинальным грузом:
Минимальное время пуска двигателя незагруженной
тележки:
где ап.max -
максимально допустимое ускорение незагруженной тележки.
Для обеспечения запаса сцепления kсц=1,2 при
пуске незагруженной тележки ускорение ее должно быть не более значения,
вычисленного по формуле:
где φ - коэффициент
сцепления ведущего колеса с рельсом [1, стр.110]
Gсц - сцепной
вес тележки, принимаем Gсц = 7000 H.
Статическая сила сопротивления
передвижения незагруженной тележки:
Момент инерции подвижных масс тележки,
приведенный к валу двигателя:
где Iр.м - момент
инерции ротора двигателя и муфты (муфту предварительно выбираем зубчатую с
тормозным шкивом D=200 мм и моментом инерции 0,471
кг/м2)
Средний пусковой момент определяем по
формуле:
Расчетная мощность:
Для привода механизма передвижения
тележки окончательно принимаем электродвигатель МТF 012-6.
Средний пусковой момент МТ 111-6:

Фактическое время пуска двигателя незагруженной
тележки:
Фактическое ускорение при разгоне
незагруженной тележки:
Время пуска и ускорение тележки при
различных поднимаемых грузах приведено в табл. 3.
3.4 Выбор тормоза
При торможении тележки без груза
допустимое максимальное ускорение, при котором обеспечивается запас сцепления
колес с рельсами 1,2, определяют по формуле:

Время торможения тележки без груза,
исходя из максимально допустимого ускорения, должно быть не менее
Допускаемая величина тормозного пути [1, стр.
113, таблица 31]:
где υТ.Ф - скорость
передвижения тележки, VТ.Ф =24,6
м/мин.
Минимально допустимое время
торможения
Время торможения тележки в общем
виде находится по формуле:
откуда тормозной момент:
где Мст.т - статический
момент сопротивлению тележки при торможении, приведенный к валу двигателя.
Статический момент сопротивления
передвижению незагруженной тележки при торможении, приведенный к валу
двигателя:
Выбираем колодочный тормоз с
гидротолкателем типа ТКТ-200 с наибольшим тормозным моментом 160 Н∙м,
диаметр тормозного шкива 200 мм, шириной колодки 90 мм, тип магнита МО - 200Б.
Тормоз отрегулирован на определенный тормозной момент. Далее будут определены Wст.т, Mст.т, Iпр.т, tт и ат
при торможении тележки с грузом Q, 0.5Q, 0.25Q и
незагруженной тележки. Результаты расчетов сведены в табл. 3.
3.5 Выбор муфт
Мр = Мн×
К1× К2 £
[Т],
где Мн - наибольший, продолжительно
действующий вращательный момент, Н×м;
К1 - коэффициент, который учитывает
степень ответственности муфты [1, стр. 525];
К2 - коэффициент, учитывающий условия
работы муфты [1, стр. 525];
[Т] - наибольший
вращательный момент, который передаётся муфтой [1, стр. 513].
Мр = 97×
1,3×
1,2 = 151£ [Т]
= 700 (Н×м),
По [1, стр. 513]
выбираем упругую втулочно-пальцевую муфту с тормозным шкивом Dт
= 200 мм, наибольшим крутящим моментом [Т]
= 700 (Н×
м).
[1, с. 513, прил. XLVII].
(Н× м)
По [1, стр. 535]
выбираем зубчатую муфту номер 6, с наибольшим крутящим моментом [Т]
= 11800 (Н× м).
[1, с. 535, прил. LXV].
3.6 Компоновочная схема привода
механизма передвижения
Наиболее распространенной компоновочной
схемой приводной части является механизм с центральным приводом (рис.9), в
котором вертикальный редуктор располагают в середине колеи тележки. Двигатель
соединяют с редуктором через промежуточный вал, что позволяет допускать большие
смешения соединяемых валов, а также улучшить доступ к тормозу. Концы выходного
вала редуктора соединяют с валами ходовых колес посредством трансмиссионных
валов и зубчатых муфт.
Рисунок 9 - Компановочная схема привода
механизма передвижения
4. Проверочные расчеты механизмов
.1 Проверка двигателя механизма
подъема груза
Проверка двигателя на нагрев производится с
учетом режима работы механизма и повторно-кратковременного характера его
работы. Для этого определяется эквивалентный момент на валу двигателя при
подъеме грузов различной массы и проверяется условие:
Мн ³
Мэ,
,
где
- сумма времен пуска двигателя на
подъем и опускание груза за цикл работы двигателя;
- сумма времен работы двигателя в
установившемся режиме,
= 1/4;
Рисунок 10 - График нагружения кранового
механизма
Коэффициент, учитывающий ухудшение условий
охлаждения двигателя во время пуска и торможения, (
= 0,3 ... 0,55 - для закрытых двигателей с ребрами и внешним обдувом).
На основании приведенной диаграммы (рис. 10)
определяем статические моменты сопротивления на валу двигателя при подъеме
груза разной массы:
Время пуска двигателя при подъеме
груза:
где ηмех = 0,85;
Iпр - момент
инерции механизма, приведенный к валу двигателя:
Iр.м - момент
инерции ротора двигателя.
Vт.ф -
фактическая скорость передвижения груза
Статический момент сопротивления при
подъеме груза разной массы
Время пуска двигателя при подъеме
груза разной массы:
Статический момент сопротивления при
опускании груза разной массы:
Время пуска двигателя при опускании груза разной
массы:
Таблица 2 - Результаты расчёта проверки
двигателя
|
Qi, т
|
Мстпi
|
τппi
|
Мстоi
|
τпоi
|
|
40
|
675,67
|
2,61
|
500
|
0,28
|
|
3,8
|
64,19
|
0,49
|
47,5
|
0,43
|
|
2
|
33,78
|
0,47
|
25
|
0,44
|

Проверка двигателя выполняется.
4.2 Проверка двигателя механизма
передвижения тележки
Эквивалентную мощность двигателя
механизма передвижения тележки определим по методике ВНИИПТмаша.
Мощность, необходимая для
перемещения для тележки с номинальным грузом:
где Мст - статический
момент.
Минимальное время пуска тележки с
грузом:
Момент статический пустой тележки:
Средне пусковой момент:
Момент инерции подвижных масс
тележки, приведенный к валу двигателя:
Фактическое время пуска двигателя
ненагруженной тележки
Среднее время пуска привода тележки
при перемещении грузов Q, 0,095Q, Q, 0,05Q и
незагруженной:
где tп - время
пуска двигателя тележки при перемещении грузов Q, 0,5Q, Q, 0,25Q и
незагруженной (табл. 3)
Среднее время рабочий операции
передвижения тележки:
где Lр - средней
рабочий путь тележки, Lр =8,25м [1,
стр.79, таблица 17].
Таблица 3 - Результаты расчета
механизма передвижения тележки
|
Показатели
расчета
|
Поднимаемый
груз
|
Незагруженная
тележка
|
|
Q
|
0,05Q
|
0,095Q
|
|
|
Грузоподъемность,
кг
|
40000
|
2000
|
3800
|
0
|
|
Сопротивление
передвижению тележки при установившимся режиме Wст, Н
|
7938
|
2352
|
2616
|
2075,15
|
|
Статический
момент сопротивления передвижению тележки приведенный к валу двигателя,
Мст.п, Н∙м
|
46,69
|
13,83
|
15,3
|
12,2
|
|
Ускорение
тележки при торможении, м/с2
|
0,335
|
0,48
|
0,6
|
0,862
|
|
Тормозной
путь ST, м
|
0,753
|
0,5
|
0,42
|
0,293
|
|
Момент
инерции приведенный к валу двигателя при пуске, кг∙м2
|
1,43
|
1,3
|
0,86
|
0,39
|
|
Время
пуска tп, с
|
5,64
|
1,8
|
1,3
|
0,7
|
|
Ускорение
тележки при пуске ап, м/с2
|
0,087
|
0,219
|
0,336
|
0,555
|
|
Статический
момент при торможении, приведенный к валу двигателя, Н∙м
|
6,107
|
4,09
|
3,08
|
2,07
|
|
Сопротивление
передвижению тележки при торможении, Н
|
1113,2
|
745,2
|
561,2
|
377,2
|
|
Момент
инерции приведенный к валу двигателя при торможении, кг*м2
|
1,1068
|
0,7628
|
0,5908
|
0,4189
|
|
Время
торможения тележки tт, с
|
2,12
|
1,461
|
1,183
|
0,824
|
Отношение среднего времени пуска к среднему
времени рабочей операции tп
/ tр
= 0,725 / 20,12 = 0,03. По графику [1, стр. 112, рисунок 45] находим значение
коэффициента γ = 0,7, а затем
вычисляем:
Nэ
= γ ∙Nнг
= 1,2 ∙ 3,8 = 4,16 кВт.
Для легкого режима работы эквивалентная мощность
двигателя
Nэ25
= K∙Nэ
= 0,5∙4,16 = 2,5 кВт,
где К - коэффициент, принимаемый в зависимости
от режима работы [1, стр.107, таблица 30].
Проверка двигателя выполняется.
4.3 Проверка запаса сцепления колес
тележки
Для того чтобы обеспечить необходимый запас
сцепления приводных колёс с рельсами необходимо чтобы kсц
≥ 1,2.
Фактический коэффициент запаса сцепления
приводных колёс с рельсами:
где φ - коэффициент
сцепления ведущего колеса с рельсом; для кранов, работающих в закрытых
помещениях - φ
= 0,2 [1, стр.
107, таблица 31];
Gсц - сцепной
вес тележки, Gсц =7000 Н.
Условие выполняется. Запас сцепления
будет обеспечен.
5. Прочностные расчеты элементов
механизмов
5.1 Расчет узла барабана механизма
подъема
.1.1 Расчет барабана механизма
подъема на прочность
Принимаем барабан диаметром D=560
мм по дну канавки. Расчетный диаметр барабана Dб=582,5
мм.
Барабан отлит из чугуна СЧ 15-32 с пределом
прочности на сжатие σв=700
МПа.
Толщина стенки барабана определится из расчета
на сжатие:
где σсж = σв/k = 700/4,25
= 165 МПа;
k -
коэффициент запаса прочности для крюковых кранов k = 4,25 [1,
стр.440, приложение XV].
Из условии технологии изготовления
барабанов толщина стенки их должна быть не менее 12мм и может быть определена
по формулам:
Принимаем толщину стенки δ = 20 мм;
Кроме сжатия стенка барабана
испытывает деформацию изгиба и кручения.
Крутящий момент передаваемый
барабаном:
Изгибающий момент определяется для случая,
когда крюковая подвеска находится в самом верхнем положении (расстояние между
навиваемыми канатами lг=50 мм).
После конструктивной проработки расстояние от точки приложения усилия Smax до середины
ступицы оказалось равным 1050 мм. Тогда:
Сложное напряжение от изгиба и
кручения:
где Wp -
экваториальный момент сопротивления поперечного сечения барабана при кручении:
.
Напряжения от изгиба и кручения в
стенке барабана незначительны; при длине барабана менее трех диаметров они
обычно не превышают 15% от напряжения сжатия.
.2.2 Расчет крепления каната к
барабану
Принята конструкция крепления каната
и барабану прижимной планкой, канат удерживается от перемещения силой трения,
возникающей от зажатия его между планкой и барабаном двумя болтами. Начиная от
планки предусматривают дополнительные витки (1,5…2), способствующие уменьшению
усилия в точке крепления каната:
где e = 2,72 -
основание натурального логарифма;
f -
коэффициент трения между канатом и барабаном (f =
0,10…0,16);
α - угол обхвата канатом
барабана, принимаем α
= 4π;

Суммарное усилие растяжения болтов:
где f1 -
приведенный коэффициент трения между планкой и барабаном, при угле заклинивания
каната 2β
= 80˚:
α1 - угол
обхвата барабана канатом при переходе от одной канавки планки к другой.
Суммарное натяжение в болте при
затяжке крепления с учетом растягиваюших и изгибающих усилий:
где n
- коэффициент запаса надежности крепления каната к барабану n≥1,5;
принимаем n = 1,5;
z=2 - количество
болтов;
PН
- усилие, изгибающее болты:
d1 -
внутренний диаметр болта М22, изготовленного из стали 3, σт= 220 МПа, d1 = 20 мм.
Допускаемое напряжение для болта:
Условия проверки выполняются.
5.2.3 Расчет оси барабана механизма
подъема груза
Ось барабана изготовляют из сталь
50У (ГОСТ 1050-74) с пределом прочности
= 200 МПа.
Реакции в опорах:
Усилия, действующие со стороны
ступицы на ось:
Строим эпюры изгибающих моментов и
изгибающих сил:
При известном изгибающем моменте
диаметр оси приближённо вычисляется по формуле:
Принимаем диаметр оси барабана 75
мм.
Эпюры изгибающих моментов и
изгибающих сил изображены на рисунке 12.
Рисунок 12 - Схема к расчёту оси барабана
5.2.4 Выбор подшипников для оси
барабана механизма подъема груза
Ось барабана устанавливают на
роликоподшипники радиальные сферические двухрядные.
Подшипник опоры В (рис. 12 ) вставляем в выточку
тихоходного вала редуктора Ц2-650, имеющую следующие размеры: диаметр 160 мм,
глубина 70 мм, Поскольку ось барабана не вращается относительно вала редуктора,
то подшипник опоры В выбираем по статической нагрузке. Расчетная
нагрузка на подшипник
QP = k6RB = 1,2·56382,71= 6765 Н.
По этой нагрузке
для диаметра цапфы 75 мм выбираем подшипник, который должен иметь наружный
диаметр 160 мм.
Таким условиям
удовлетворяет роликоподшипник радиальный сферический двухрядный № 3615 (ГОСТ
5721-75) со статической грузоподъемностью 211 кН.
Ввиду того, что
подшипник опоры А работает при переменном режиме нагрузки, эквивалентную
нагрузку определяем по формуле:
Радиальные нагрузки на
подшипник при легком режиме работы (рис. 10):
Долговечность подшипника
номинальная и при каждом режиме нагрузки, млн. об.:
где п - частота
вращения барабана.
Для радиального
роликоподшипника эквивалентную нагрузку, при каждом режиме вычисляем по формуле:
где V=1, Fa=0.
Для радиальных
самоустанавливающихся двухрядных роликоподшипников при X= 1; Y=0,45ctga (здесь а -номинальный угол контакта, равный углу между
нормалью к зоне контакта ролика с дорожкой качения наружного кольца и
плоскостью, перпендикулярной к оси подшипника).
Динамическая грузоподъемность
С целью соблюдения
унификации для опоры А принимаем подшипник № 3615.
.3 расчет ходовых колес
тележки на прочность
Нагрузка на одно ведущее колесо при
условии их одинакового нагружения:
Расчетная нагрузка на колесо:
где γ- коэффициент,
учитывающий переменность нагрузки [1, с. 116, табл. 33];
k1 -
коэффициент, учитывающий режим работы механизма, для легкого режима работы k1 =1,1 [1, с.
116, табл. 34];
G0 - вес
тележки с учетом грузозахватных устройств.
Значение местных напряжений смятия
при линейном контакте:
где b
- рабочая ширина квадратного рельса 80×80;
Rk
=200 мм - радиус колеса;
Епр - приведенный
модуль упругости для стального колеса и стального рельса. Для колеса
изготовленного из стали 65Г с твердостью НВ 320…350, допустимым напряжением
смятия 850 МПа.
Выводы
В данном курсовом проекте был выполнен проект
тележки мостового крана. Для этого был выполнен: расчёт механизма передвижения
тележки; расчёт механизма подъёма груза; были выполнены проверочные расчёты
двигателя механизма передвижения тележки, двигателя механизма подъёма груза и
проверка запаса сцепления колёс тележки; были выполнены прочностные расчёты
крюковой подвески, барабана механизма подъёма на прочность, крепления каната к
барабану, вала барабана механизма подъёма груза, ходового колеса тележки на
прочность, выбраны подшипники вала барабана.
Перечень ссылок
1. Расчеты грузоподъемных и
транспортирующих машин. Иванченко Ф.К. и др. Киев, издательское объединение
«Вища школа», Головное изд-во, 1978. 576с.
. Курсовое проектирование
грузоподъемных машин: Учеб. Пособие для студентов машиностр. Спец. Вузов/ С. А.
Казак, В. Е. Дусье, Е. С. Кузнецов и др.; Под ред. С. А. Казака. - М.: Высшая
школа., 1989. - 319 с.:ил.
. Анурьев В.И. Справочник
конструктора-машиностроителя: В 3-х т.Т.1.-5-е изд., перераб. и доп. -
Машиностроение, 1978. - 728с
. Проектування валів та їх опор на
подшипниках кочення. Методичні вказівки до виконання курсового проекту з
деталей машин. Розділ 3. (для студентів напрямку "Інженерна механіка")/
Автори: О.В. Деркач, О.В. Лукічов, В.Б. Недосєкин, Проскуряков С.В. - Донецьк:
ДонНТУ, 2005. - 106 с.
. Атлас конструкций «Грузоподъемные
машины»
. Конструювання муфт і корпусів.
Методичні вказівки до виконання курсового проекту з деталей машин (для студентів
напрямку "Інженерна механіка") / Сост. : В.С. Ісадченко, П.М. Матеко,
В.О. Голдобін. - Донецьк: ДонНТУ, 2005. - 40 с.