Прерыватель-распределитель

  • Вид работы:
    Контрольная работа
  • Предмет:
    Транспорт, грузоперевозки
  • Язык:
    Русский
    ,
    Формат файла:
    MS Word
    1,31 Мб
  • Опубликовано:
    2013-05-07
Вы можете узнать стоимость помощи в написании студенческой работы.
Помощь в написании работы, которую точно примут!

Прерыватель-распределитель

Введение

Сжатая рабочая смесь в цилиндрах карбюраторного двигателя воспламеняется от искры, образующейся в свече зажигания. Ток высокого напряжения, необходимый для создания искрового раз­ряда, получают от приборов системы батарейного зажигания, которой используется электрическая энергия аккумуляторной батареи генератора автомобиля.

Различают следующие системы батарейного зажигания: контактную, контактно-транзисторную и бесконтактно-транзисторную.

Контактная система батарейного зажигания. В системе батарейного зажигания имеются две цепи - низкого и высокого напряжения. В цепь низкого напряжения последовательно включены: аккумуляторная батарея (ил и генератор), включатель зажигания, первичная обмотка катушки зажигания с добавочным резистором и прерыватель.

Цепь тока высокого напряжения состоит из вторичной обмотки катушки зажигания, распределителя, проводов высокого напряжения и искровых свечей зажигания. При включенном замке зажигания и замкнутых контактах прерывателя электрический ток от аккумуляторной батареи или генератора поступает в первичную обмотку катушки зажигания, образуя вокруг нее магнитное поле. При размыкании контактам и прерывателя цепи низкого напряжения исчезают, ток в первичной обмотке катушки зажигания и вместе с ним магнитное поле, окружающее его. Последнее пересекает витки вторичной обмотки катушки зажигания и наводит в ней ЭДС. Благодаря большому числу витков во вторичной обмотке напряжение на ее концах достигает 20...24 кВ.

От вторичной обмотки катушки зажигания через центральный провод высокого напряжения, распределитель и провода ток высокого напряжения поступает к искровым свечам зажигания, где между электродами происходит искровой разряд, который зажигает рабочую смесь.

1. Назначение, расположение и краткое устройство прерывателя-распределителя

Прерыватель-распределитель необходим для прерывания тока низкого напряжения и распределения тока высокого напряжения по цилиндрам двигателя.

Чтобы индуктировать ток высокого напряжения во вторичной обмотке катушки зажигания, необходимо периодически размыкать первичную цепь батарейного зажигания, что и выполняет прерыватель. Для распределения тока высокого напряжения по цилиндрам соответственно порядку работы двигателя служит распределитель. Оба эти прибора объединены в один - прерыватель-распределитель.

Прерыватель (рис. 1) установлен на двигателе и приводится в действие от распределительного вала.

Основными частями прерывателя являются корпус, приводной вал. Подвижный диск (на котором размещены изолированный рычажок с контактом и неподвижная стойка с контактом), неподвижный диск, центробежный и вакуумный регуляторы опережения, октан-корректор и кулачок с выступами по числу цилиндров. Кулачок соединен с приводным валиком через центробежный регулятор. Контакты прерывателя наплавлены тугоплавким металлом - вольфрамом. Рычажок прерывателя закреплен на диске шарнирно и своим контактом прижимается к неподвижному контакту пружиной.

Конденсатор служит для предотвращения вредного воздействие ЭДС и включен параллельно контактам прерывателя и в момент проявления ЭДС самоиндукции заряжается, не допуская искрения на контактах. Кроме того, заряженный конденсатор, разряжаясь в обратном направлении, приводит к быстрому исчезновению тока в первичной цепи, а, следовательно, и магнитного потока, благодаря чему напряжение во вторичной цепи повышается.

Конденсатор (рис. 2) состоит из лакированной бумаги, на которую нанесен тонкий слой цинка и олова. Эта бумага является обкладкой конденсатора и свернута в рулон. К торцам рулона припаивается по одному гибкому проводнику. Рулон обернут кабельной бумагой и пропитан маслом. Крепится конденсатор на корпусе снаружи или на подвижном диске прерывателя. Емкость конденсатора 0,17...0,2 мкФ. Конденсаторы из металлизированной бумаги обладают способностью самовостанавливается при пробое диэлектрика за счет заполнения отверстия маслом.

Распределитель установлен сверху на корпусе прерывателя и состоит из ротора и крышки (рис. 3). Ротор изготовлен в виде грибка из карболита, сверху в него вмонтирована контактная пластина. Крепится ротор на выступе кулачка.

Рис. 1- Прерыватель-распределитель

Крышка распределителя изготовлена также из карболита. На наружной ее части по окружности выполнены гнезда по числу цилиндров, в которые вставляются провода, присоединяемые к свечам зажигания. В крышке размещено центральное гнездо для крепления провода высокого напряжения от катушки зажигания. Внутри, против каждого гнезда, расположены боковые контакты, а в центре - угольный контакт с пружиной для соединения центрального гнезда с пластиной ротора. Крышка крепится на корпусе прерывателя двумя пружинными защелками.

Вакуумный регулятор служит для изменения угла опережения зажигания в зависимости от нагрузки двигателя. Полость вакуумного регулятора, в которой находится пружин а, соединена трубкой со смесительной камерой карбюратора, расположенной над дроссельной заслонкой, и в то же время полость сообщается с атмосферой. К диафрагме прикреплена тяга, которая связана с подвижным диском прерывателя .

Октан-корректор предназначен для изменения угла опережения зажигания вручную в зависимости от октанового числа топлива. Посредство м октан-корректора изменяю т угол опережения зажигания в пределах ± 12° по углу поворота коленчатого вала. Одно деление шкалы октан-корректора соответствует изменению угла опережения зажигания на 2°.

Рис. 2 - Конденсатор

Рис. 3

2. Характерные неисправности прерывателя-распределителя

При работе двигателя в распределителе могут появиться неисправности, которые приводят к перебоям в работе двигателя или полному отказу в работе системы зажигания. Наиболее характерные неисправности указаны в таблице 1.

Таблица 1 - Неисправности прерывателя-распределителя

Причина неисправности

Метод устранения

Двигатель не запускается, ток не проходит через контакты прерывателя:

загрязнены, окислены или пригорели контакты прерывателя; увеличенный зазор между контактами

зачистите контакты и отрегулируйте зазор между ними (Рис.4)

ослаблено крепление или окислены наконечники проводов в цепи низкого напряжения, обрыв в проводах или замыкание их с массой

проверьте провода и их соединения, поврежденные провода замените

пробит конденсатор

замените конденсатор

нарушена регулировка зазора между контактами прерывателя

отрегулируйте зазор между контактами

Не подается высокое напряжение к свечам зажигания:

неплотно посажены в гнездах, оторвались или окислены наконечники проводов высокого напряжения; провода сильно загрязнены или повреждена их изоляция

проверьте и восстановите соединения, очистите или замените провода

износ или повреждение контактного уголька, зависание его в крышке распределителя зажигания

проверьте и при необходимости, замените контактный уголек

утечка тока через трещины или прогары в крышке или роторе распределителя зажигания, через нагар или влагу на внутренней поверхности крышки

проверьте, очистите крышку от влаги и нагара, замените крышку и ротор, если в них имеются трещины

нарушен порядок присоединения проводов высокого напряжения к выводам крышки распределителя зажигания

присоединить в правильном порядке

неправильная установка момента зажигания

проверьте, отрегулируйте момент зажигания

чрезмерно большое биение валика распределителя зажигания; повышенный износ втулки валика

замените распределитель зажигания

Двигатель не развивает полной мощности, и не обладает достаточной приемистостью:

заедание грузиков регулятора опережения зажигания, ослабление пружин грузиков

проверьте, замените поврежденные детали

большой износ втулки подвижного контакта прерывателя

проверьте, замените контактную группу


Рис. 4 - Регулировка зазора между контактами прерывателя

3. Дефектовка и ремонт прерывателя-распределителя

После разборки и мойки детали дефектуют.

Такие дефекты, как обломы и трещины корпуса, валика, кулачковой втулки, деформация пружины молоточка прерывателя, срыв резьбы определяют внешним осмотром с применением в необходимых случаях лупы четырех кратного увеличения. Величину износов валика и кулачка определяют при помощи микрометра.

Биение шейки валика кулачка относительно шеек под втулки корпуса и погнутость валика - определяют при помощи индикатора вращением валика на призме. В зависимости от величины износа решают вопрос о ремонте, годности к сборке или выбраковке детали.

Исправность конденсатора, если на его корпусе нет явных механических повреждения, определяют проверкой его емкости и исправности диэлектрика на стендах СПЗ-6, СПЗ-8 и других.

Ремонт деталей.

Карболитовые крышку и ротор, имеющие сколы и трещины, как правило выбраковывают.

При обнаружении обломов или трещин - корпус выбраковывают.

Обломанные пружинные защелки крепления крышки - заменяют исправными или новыми. Ослабленные заклепки крепления кронштейнов пружинных заклепок закрепляют клепкой. Перед клепкой необходимо вынуть ось пружинной защелки.

Наружную поверхность хвостовика корпуса ремонтируют постановкой ремонтной втулки, хромированием, осталиванием, полуавтоматической наплавкой в среде углекислого газа или виброконтактной наплавкой. После восстановления хвостовик шлифуют на кругошлефовальном станке до номинального диаметра, базируя корпус по отверстию под втулки.

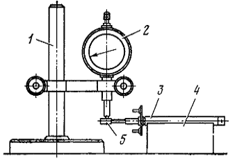
Втулки с изношенные отверстия под валик выпресовывают при помощи специальной оправки и на их место устанавливают новые. Степень износа втулок определяют замером изношенных отверстий индикаторным нутромером. Обычно увеличение отверстия во втулках более чем на 0,01 мм против наибольшего предельного значения указывает на необходимость их замены. Втулки в корпусе запрессовывают с натягом 0,02 - 0,05 мм при помощи специального приспособления (рис. 5).

Рис. 5 - Приспособление для запрессовки втулок в корпус: 1 - стол пресса; 2 - подставка; 3- сменная шайба; 4 - корпус; 5 - верхняя втулка; 6 - нижняя втулка; 7 - оплавка; 8 - фиксатор втулки

После запрессовки сверлят два отверстия диаметром 4+0,25; 4-0,25 мм: одно через отверстие масленки в верхней втулке и другое через отверстие кольцевой выточки в нижней втулке. Запрессованные втулки развертывают под размер диаметра валика.

Рис. 6

При наличии трещин валик в сборе выбраковывают. Биение валика проверяют при помощи индикатора 2 (рис. 6).

Валик 3 укладывают на призму 4, установленную на одной плите с подставкой 1 индикатора. При вращении валика на призме - биение шейки 5, на которой укреплена втулка кулачка, не должно превышать 0,04 мм. При биении выше 0,04 мм валик правят на свинцовой плите или деревянном бруске осторожными ударами молотка, имеющего боек.

Изношенные шейки валика восстанавливают хромированием с последующим шлифованием под номинальный размер. Изношенную хвостовую часть валика ремонтируют наваркой высокоуглеродистой проволокой.

В качестве присадочного материала применяют стальную проволоку ОВС, сталь 45, Г-65 или выбракованные пружины. Наварку необходимо вести ацетиленовым пламенем с избытком ацетилена. После наварки хвостовик обрабатывают под номинальный размер с последующей термической обработкой.

Ремонтируют валик также шлифованием под номинальный размер (уменьшением диаметра до 0,2 мм) В этом случаи втулки развертывают под ремонтный диаметр валика.

При ослаблении крепления оси грузиков на опорной пластине центробежного регулятора - закрепляют расклепыванием. Поврежденные или изношенные оси заменяют. Изогнутые стойки пружин центробежного регулятора правят, отломанные - приваривают. Изношенные отверстия грузиков ремонтируют постановкой втулки.

Кулачковую втулку выбраковывают при обнаружении на ней трещины любого характера, а также при износе отверстия более 0,015 мм по диаметру.

Кулачек, имеющий ступенчатый износ или задиры на рабочей поверхности, заменяют новыми или восстанавливают шлифованием по копиру. При износе выступов кулачка, не превышающем 1,5 мм на диаметр, кулачек также восстанавливают шлифованием по копиру. При износе же более 1,5 мм кулачек заменяют новым. Биение кулачка более 0,04 мм не допускается. Изношенные пазы пластины заваривают, после чего их фрезеруют или пробивают вновь.

Опорный диск прерывателя в сборе ремонтируют следующим образом. Подшипник, имеющий заедание, промывают в керосине. Если после промывки подшипник не начнет вращаться свободно, его следует заменить. Люфт наружной обоймы подшипника относительно внутренней допускается не более 0,05 мм.

Поврежденную стойку и обойму фильца выправляют, а загрязненный фильц заменяют новым, изготовленным из фетра. Вместо обломанных наконечников соединительных проводов подпаивают новые, а провода, имеющие повреждение изоляции или обрыв заменяют. Пайку ведут припоем ПОС-40 с применение в качестве флюса канифоли.

При замыкании на массу соединительной пластины рычажка прерывателя, следует установить новые изоляционные прокладки.

Если контакты имеют значительный износ, в результате которого происходит уменьшение толщины вольфрамового слоя до 0,5 мм или имеется местное выгорание вольфрама до заклепки, их следует заменить вместе с рычажком прерывателя или стойкой контакта. При невозможности замены этих деталей новыми - на них напаивают новые контакты так же, как делают при ремонте контактов реле регуляторов. Незначительно изношенные и вновь напаянные контакты зачищают стеклянной бумагой.

Рычажки прерывателя с обломами или большим износом выступа выбраковывают. Деформированные и потерявшие упругость пружины рычажков заменяют новыми. Поломанные держатели шарикового подшипника заменяют.

Конденсаторы емкостью менее номинальной, имеющие короткое замыкание обкладок или большую утечку, а также глубокие вмятины на корпусе, приводящие к повреждению диэлектрика, выбраковывают.

Вместо обломанного конца или наконечника выводного провода конденсатора - припаивают новый. Если провод имеет обрыв внутри конденсатора, то конденсатор бракуют.

Вакуумный регулятор в сборе с обломом или трещиной кронштейна крепления заменяют исправным. Погнутую тягу диафрагмы выправляют. Правку следует проводить так, чтобы тяга не изменила своей длинны и сохранила форму, соответствующую чертежу. Для этой цели желательно изготовить специальный шаблон. Изношенную втулку в отверстии тяги диафрагмы высверливают. Вместо нее устанавливают новую, которую после осадки в отверстии рассверливают под номинальный размер.

Поврежденную диафрагму заменяют, для этого вакуумный регулятор со стороны кронштейна устанавливают в оправку, закрепленную в патроне токарного станка, а в отверстие под штуцер вводят конус вращающегося центра. Развальцовывают бортик с помощью специального резца. После этого диафрагму вместе с тягой вынимают, а головку заклепки, скрепляющую две фигурные шайбы, диафрагму и тягу, спиливают. С помощью новой заклепки закрепляется исправная диафрагма. После установки диафрагмы оправку завальцовывают.

Поврежденные или потерявшие упругость пружины - заменяют.

Зазор между контактами прерывателя регулируют перемещением пластины со стойкой неподвижного контакта и при помощи эксцентрика, отвернув предварительно стопорный винт (рис. 4). После регулировки стопорный винт нужно завернуть. Замеряют зазор при полностью разомкнутых контактах пластинчатым щупом.

4. Сборка и проверка прерывателя-распределителя

Сборка производится в последовательности, обратной разборке, соблюдая следующие требования.

Все трущиеся поверхности должны быть смазаны консистентной смазкой. Грузики центробежного регулятора опережения зажигания должны свободно вращаться на осях. Характеристики пружин должны соответствовать данным технических условий.

Под головку винта должна быть подложена пружинная шайба. Продольный люфт втулки кулачка не должен превышать 1 мм. Вращение шарикового подшипника пластины прерывателя должно свободным, без заеданий. Люфт наружной обоймы подшипника относительно внутренней допускается не более 0,05 мм.

Сальник втулки должен быть изготовлен из чистого фетра и пропитан индустриальным маслом.

Ось рычажка прерыватель не должна иметь качки в месте крепления. Рычажок прерывателя должен быть укреплен на оси без люфта. Подбором текстолитовых шайб следует обеспечить совпадение контактов с точностью до 0,25 мм.

Угольный контакт в центральном гнезде крышки распределителя должен перемещаться свободно, без заеданий.

Конденсатор должен иметь емкость в пределах величин, указанных в технических условиях. Выводной проводник конденсатора должен иметь неповрежденную изоляцию. Допускаются незначительные вмятины корпуса конденсатора, не вызывающие нарушения герметичности или надежности изоляции.

Штуцер вакуумного регулятора следует плотно затянуть, а под него установить уплотнительную шайбу. Валик распределителя должен свободно вращаться во втулках корпуса. Перед сборкой он должен быть смазан смазкой ЦИАТИМ-201 или Литол-24. Этой же смазкой должна быть заполнена масленка корпуса распределителя.

Размеры, зазоры и натяги в сопряжениях при сборке должны соответствовать технической документации на ремонт.

Все отремонтированные прерыватели-распределители проверяют на специальных стендах СПЗ-8, КИ-968, СПЗ-3 или других, подобных им.

При испытаниях определяют:

сопротивление контактов прерывателя (по величине падения напряжения на замкнутых контактах);

усилие в граммах, с которым пружина рычажка сжимает контакты прерывателя;

бесперебойность искрообразования, угол чередования искр (синхронность);

угол замкнутого состояния контактов;

изменение угла опережения зажигания, создаваемое центробежным регулятором;

изменение угла опережения зажигания, создаваемое вакуумным регулятором.

Чтобы исключить влияние конденсатора при последующих проверках необходимо начать с него самого. При проверке контролируют исправность изоляции и емкость конденсатора. К конденсатору подводят постоянное напряжение 500 В. Если конденсатор исправен, то стрелка микроамперметра в период зарядки конденсатора в течение долей секунды отклониться, затем вернется на ноль. Для удобства измерения шкала прибора имеет закрашенную зону. Конденсатор подлежит замене если стрелка прибора не будет находиться в пределах закрашенной зоны.

Сопротивление изоляции конденсатора, измеренное магнометром, должно быть более 49 мОм.

Сопротивление контактов прерывателя оценивают, измеряя величину падения напряжения на замкнутых контактах. При проверке подключают прерыватель, с последовательно включенными катушкой зажигания и добавочным резистором, к аккумуляторной батарее. Повернув валик прерывателя до смыкания контактов, замеряют падение напряжения вольтметром, которое недолжно быть выше 0,1 В. На стендах начало шкалы прибора имеет зачеркнутую зону, соответствующую падению напряжения. Если при проверке стрелка прибора будет располагаться правее зачеркнутой зоны, то сопротивление контактов велико и их необходимо зачистить или заменить.

Для проверки натяжения пружины подвижного контакта прерывателя необходимо зацепить проводок динамометра за рычажок прерывателя у самого контакта, расположив динамометр вдоль оси контактов. Момент размыкания контактов при плавном наращивании усилия определяют по отклонению стрелки динамометра. При размыкании контактов стрелка прибора отклонится вправо. Зазор между контактами вследствие эрозии рабочих поверхностей с помощью щупа с достаточной точностью измерить невозможно. Поэтому на современном оборудовании измеряют и регулируют угол замкнутого состояния контактов, т.е. угол поворота кулачка, в пределах которого контакты находятся в замкнутом состоянии.

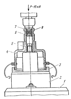
Угол чередования искрообразования проверяют при помощи синхроноскопа (рис.7) на специальных приборах и стендах по проверки аппаратов зажигания. На валу 9 синхроноскопа жестко закреплен диск 8, который вращается одновременно с кулачком проверяемого прерывателя 3. В диске сделана щель 7, под которой закреплена неоновая лампа 6. Совместив нуль градуированной шкалы лимба 1 синхроноскопа с одной из светящихся рисок диска, наблюдают за их чередованием по всей окружности. Чередование светящихся рисок должно быть для распределителей: с четырьмя выступами кулачка - через 90° , с шестью - через 60°; с восемью - через 45°. Отклонение вызываемое дефектами прерывателя не должно превышать ±1,5° во всех точках искрообразования. При большем отклонении угла необходимо заменить кулачок прерывателя.

прерыватель распределитель зажигание автомобиль

Рис. 7 - Синхроноскоп

После этого постепенно увеличивают частоту вращения до максимальной для проверяемого типа распределителя. Если при увеличении частоты вращения на диске синхроноскопа около основной светящейся риски появляются дополнительные, то это указывает на вибрацию рычажка прерывателя вследствие недостаточной упругости пружины, износа отверстия под ось рычажка или вкладышей распределителя. Частоту вращение измеряют тахометром.

Проверку и регулировку центробежного и вакуумного регуляторов опережения зажигания проводят на стендах, имеющих синхроноскоп, тахометр, вакуумметр и насос для создания разряжения в вакуумном регуляторе. Для проверки закрепляют распределитель в держателе кронштейна стенда и соединяют вал прерывателя с валом синхроноскопа. С помощью электродвигателя стенда устанавливают минимально устойчивую частоту вращения, при которой центробежный автомат еще не работает. При этом необходимо поставить лимб синхроноскопа так, чтобы одна из светящихся риск диска совпала с нулем шкалы.

При вращении кулачка проверяемого прерывателя в момент размыкания контактов прерывается ток в первичной обмотке импульсного трансформатора 4 и импульсы ЭДС вторичной обмотки трансформатора через щетку 5 и контактное кольцо 2 вызовут свечные неоновые лампы. При вращении на диске синхроноскопа будут видны светящиеся риски, число которых соответствует количеству размыканий контактов за один оборот кулачка.

Частоту вращения контролируют тахометром стенда. Как только в действие вступает центробежный регулятор, светящаяся риска на диске начинает смещаться навстречу вращению смещение риски в градусах должно соответствовать данным для конкретного распределителя. При отклонении замеренных величин регулируют изменением натяжения пружин грузиков.

5. Охрана труда при проведении работ

Техническое обслуживание и ремонт электрооборудования автомобилей необходимо выполнять только в специально предназначенных для этого местах (постах технического обслуживания и электроотделениях).

К работам по техническому обслуживанию и ремонту электрооборудования допускают лиц, прошедших соответственный инструктаж по технике безопасности. При выполнении работ, сопровождающихся выделением вредных газов, пыли, искр, а так же работ, при которых отлетают частицы металла и стружки, рабочие должны пользоваться индивидуальными защитными средствами (очками, масками и т.д.).

В электроотделении должна быть аптечка, укомплектованная медикаментами, необходимая для оказания первой помощи.

При техническом обслуживании электрооборудования непосредственно на автомобиле необходимо:

контрольно-регулировочные работы, выполняемые на работающем двигателе, проводить на постах оборудованных местным отсосом отработавших газов;

избегать попадания одежды или рук во вращающиеся детали, для этого необходимо застегнуть обшлага рукавов и проверить, чтобы не было свисающих концов одежды;

Работать только исправным и чистым инструментом;

При осмотре автомобиля пользоваться переносной лампой напряжением не выше 38 В, а при работе в осмотровой яме не выше 12 В, лампы должны иметь предохранительную сетку и отражатель.

Безопасная работа с электроинструментом напряжением не выше 36 В:

Инструмент выдается только рабочим, прошедшим специальное обучение;

Инструмент должен выдаваться только после проверки его исправности;

Присоединение к сети производится только через специальные штепсельные соединения, имеющие заземление;

Запрещается держать инструмент за провод;

ПО завершению работы инструмент немедленно отключить от сети.

Использованная литература

1.   Кузнецов А.С. Техническое обслуживание, эксплуатация и ремонт автомобиля ЗИЛ -433360. Издательский дом «Третий Рим», 2007 - 285 с.

2.      Автомобили семейства ЗИЛ-4314 (ЗИЛ-130) и ЗИЛ-4333: Альбом по техническому устройству и техническому обслуживанию. Третий Рим, 1998. - 185 с.

.        Чумаченко Ю.Т. и др. Автослесарь. Устройство, техническое обслуживание и ремонт автомобилей: учебное пособие. - Ростов н/д: Феникс, 2008. - 544 с.

Похожие работы на - Прерыватель-распределитель

 

Не нашли материал для своей работы?
Поможем написать уникальную работу
Без плагиата!
Без нейросетей!