Правила организации временных автомобильных стоянок
Содержание
1. Правила
организации временных автомобильных стоянок
. Список
используемой литературы
1. Правила организация
временных стоянок
Устройство мест стоянки для
автомобилей. При прохождении автомобильной дороги через населенный пункт около
общественных центров, административных и культурно-бытовых объектов, магазинов,
столовых, достопримечательных мест должны предусматриваться временные стоянки
автомобилей (автомобильные стоянки).
Нормативные требования к
потребности в автомобильных стоянках в основном регламентированы СНиП 2.07.01 -
89 «Градостроительство. Планировка в застройках городских и сельских поселений»
и СНиП 21-02 - 99* «Стоянки автомобилей».
Определение необходимой площади
автомобильных стоянок на основе оценок местных потребностей можно вести
следующими методами:
·по числу жителей. Число мест на
автомобильных стоянках в деловой части города принимается в пределах 0,5...1 %
общей численности населения;
·числу автомобилей в городе. В
деловой части города предусматривается одна стоянка на каждые 5 - 8
автомобилей, зарегистрированных в городе;
·транспортным потокам. Одна стоянка
на 7...9 % автомобилей, ежегодно въезжающих в деловую часть города.
Открытые стоянки для временного
хранения легковых автомобилей следует предусматривать из расчета не менее чем
для 70 % расчетного парка индивидуальных легковых автомобилей, в том числе:
жилые районы - 25 %;
промышленные и
коммунально-складские зоны (районы) - 25%;
общегородские и
специализированные центры - 5 %;
зоны массового кратковременного
отдыха - 15 %.
Следует отметить, что
предусмотренные нормы значительно отстают от уровня автомобилизации в России,
поэтому на практике площадь автомобильных стоянок должна быть существенно выше.
Схема, отображающая основные
классификационные признаки временных автомобильных стоянок, приведена на рис.
1.1.
Следует избегать в населенных
пунктах устройства стояночных полос у кромки проезжей части дороги так же, как
и разрешение стоянок на обочинах дороги. Автомобильные стоянки могут быть
линейного типа, расположенные параллельно дороге за пределами проезжей части и
отделенные от нее разделительной полосой или ограждениями, или в виде
специальных площадок за пределами дороги, как это показано на рис. 1.2.
Расстановка автомобилей на
стоянках линейного типа - продольная, на площадках - различная, в зависимости
от площади и требуемой емкости стоянки.

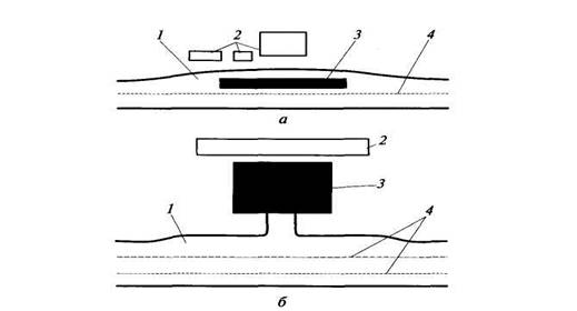
Рис. 1.2. Схемы расположения
автомобильных стоянок в населенных пунктах:
а - стоянка линейного типа; б -
площадка для стоянки автомобилей;
- переходно-скоростные полосы;
2 - объекты обслуживания;
- площадка для стоянки
автомобилей; 4 - разделительные полосы
автомобиль стоянка
потребность расстановка
Автомобильные стоянки следует
размещать за пределами проезжей части дороги в непосредственной близости от
объекта посещения на расстоянии не более 100 м. Въезды и выезды с автомобильных
стоянок не должны затруднять или задерживать движение транспортных средств по
дороге.
Необходимую площадь
автомобильной стоянки назначают в зависимости от вида объекта посещения и
интенсивности движения по дороге.
Планировочные характеристики
автомобильных стоянок (размеры ячейки для постановки автомобиля, ширина
проездов, радиусы поворотов, зоны для маневрирования) определяются схемой
расстановки автомобилей.
Размеры ячейки устанавливаются
по типу автомобиля. Для городских условий в качестве расчетного принимают тип
автомобиля, наиболее распространенный среди возможных пользователей стоянок.
В России за основу в расчетах
приняты: для стоянок личного пользования - малолитражный тип автомобиля
семейства ВАЗ, для служебных стоянок - автомобиль «Волга». Если предполагается
стоянка грузовых автомобилей и автобусов, например, в пригородной части города,
расчетный тип таких транспортных средств выбирают в зависимости от состава
транспортного потока.
Ячейка для установки одного
автомобиля должна вмещать сам автомобиль и позволять обойти вокруг него.
Для этого размеры сторон ячейки
должны быть на 0,5 м больше соответствующих размеров автомобиля (рис. 1.3), что
обеспечивает зазор 1 м между автомобилями, достаточный для прохода между ними
пешехода.
При расположении автомобильной
стоянки вдоль дороги возникают трудности с въездом в ячейку и выездом из нее.
Рис. 1.3. Размеры ячейки для
хранения автомобиля на стоянках (размеры даны в метрах):
Д, Ш - длина и ширина
расчетного автомобиля соответственно
Для облегчения пользования
такой стоянкой ячейки объединяют по две и оставляют между ними зазор не менее 2
м. При вероятной постановке на стоянку автобусов этот зазор может быть увеличен
до 3 м (рис. 1.4).
Для автомобильной стоянки на
проезжей части дорог должны быть предусмотрены специальные полосы. Ширина этих
полос меньше, чем для движения, и в зависимости от типа автомобилей,
останавливающихся на дороге, составляет 2,5...3 м.
На дорогах в жилых кварталах с
малой интенсивностью автомобильного и пешеходного движения стоянки автомобилей
допускаются с заездом на тротуар. В этом случае увеличивается поперечный уклон
тротуара и уменьшается до 5...10 см высота бортового камня. Свободная часть
тротуара должна иметь ширину не менее 1,5 м, достаточную для устройства двух
полос пешеходного движения (рис. 1.5).
Рис. 1.4.