Использование взрывных камер для утилизации осадков иловых площадок

  • Вид работы:
    Контрольная работа
  • Предмет:
    Экология
  • Язык:
    Русский
    ,
    Формат файла:
    MS Word
    464,1 Кб
  • Опубликовано:
    2013-09-04
Вы можете узнать стоимость помощи в написании студенческой работы.
Помощь в написании работы, которую точно примут!

Использование взрывных камер для утилизации осадков иловых площадок

Учреждение образования «Брестский государственный технический университет»











ИСПОЛЬЗОВАНИЕ ВЗРЫВНЫХ КАМЕР ДЛЯ УТИЛИЗАЦИИ ОСАДКОВ ИЛОВЫХ ПЛОЩАДОК


Авторы: Левчук Н.В., Вдовиченко И.Г.

В результате механической и биологической очистки городских сточных вод на очистных сооружениях образуются различного вида осадки, содержащие органические вещества. Это отбросы, задерживаемые решетками, осадок, выпадающий в первичных отстойниках, активный ил или биопленка, образующиеся в сооружениях аэробной биологической очистки воды.

Осадки сточных вод представляют собой специфический вид отходов. К их особенностям относится:

) Канализационные осадки представляют повышенную бактериологическую и эпидемиологическую опасность.

) В отличие от других видов отходов, сокращение их количества невозможно, напротив, прослеживается устойчивая тенденция к увеличению их количества. Эта тенденция связана как с ростом населения, так и позитивными социальными изменениями в жизни людей: расширением сети централизованного водоснабжения, улучшением качества очистки сточных вод.

Предварительно обезвоженные на иловых площадках, осадки сточных вод имеют теплоту сгорания около 16 800 - 21 000 кДж/кг (для сравнения: каменный уголь: до 31 000 кДж/кг; природный газ: до 53 000 кДж/кг; мазут: до 41 000 кДж/кг), что позволяет поддерживать процесс горения без использования дополнительных источников теплоты. Таким образом, 1 кг обезвоженных осадков сточных вод равнозначен 0,64 кг условного топлива, а следовательно, осадки сточных вод и осадки иловых площадок можно рассматривать как возобновляемый источник энергии, использование которого позволит сократить объемы потребления традиционных энергоресурсов: нефти, газа, угля и др.

Ежегодное количество осадков сточных вод (ОСВ) городских и промышленных очистных сооружений Беларуси составляет около 0,5 млн. т. Основное количество этих осадков размещается на иловых площадках, карьерах, площадках временного хранения, во многих случаях, не обеспечивающих экологической безопасности окружающей среды.

Большое содержание органических веществ обусловливает способность осадков быстро загнивать, а высокая бактериальная зараженность, наличие в них яиц гельминтов создают опасность распространения инфекций. Поэтому основной задачей обработки осадков является их обезвреживание: получение безопасного в санитарном отношении продукта.

На сегодняшний день основными способами использования и утилизации канализационных осадков являются:

. Использование в качестве сельскохозяйственного удобрения.

. Сброс в природные водоемы (океаны, моря, реки).

. Компостирование.

. Сжигание.

. Захоронение.

Сжигание - наиболее распространенный способ термического обезвреживания промышленных отходов. Данный метод применяется, если утилизация осадков сточных вод невозможна или экономически нецелесообразна. Процесс сжигания осуществляется в печах и топках различных конструкций. Для сжигания осадков наибольшее распространение получили многоподовые печи, печи кипящего слоя и барабанные вращающиеся печи.

Одним из относительно новых способов переработки отходов, в том числе и биологических, является пиролиз. Пиролиз представляет собой процесс разложения органических соединений под действием высоких температур при отсутствии или недостатке кислорода

Однако вышеперечисленные устройства имеют ряд существенных недостатков. Так, многоподовые печи имеют высокую стоимость, большие габариты и ненадежность работы гребковых устройств. Для печей кипящего слоя необходимо устраивать рекуператоры, (теплообменники). Также данный вид печей характеризуется большой запыленностью отходящих газов. Барабанные вращающиеся печи обладают большими линейными размерами и сложностью в эксплуатации. Для пиролиза характерно образование ядовитых веществ (диоксин, фуран и др.). Все данные виды устройств для утилизации осадков сточных вод очистных сооружений объединяет главный недостаток - потребление значительного количества топлива, для обеспечения температуры, необходимой для сжигания осадка.

Сейчас в различных отраслях промышленности все более широкое применение находят взрывные камеры. Благодаря использованию взрывных камер можно осуществлять практически все известные взрывные технологии, такие как: сварка взрывом, получение сверхтвердых материалов, штамповка и др.


Рисунок 1. Взрывная камера для обработки материалов взрывом

Известно, что продуктами пиролиза при утилизации органосодержащих твердых отходов и ила являются: топочный мазут, с различным процентным содержанием серы; газовая смесь, содержащая водород, азот, метан, этан, кислород и другие газы, а также полукокс.

Используя в небольших количествах бризантные взрывчатые вещества (то есть вещества, взрывчатое превращение которых протекает в форме детонации) во взрывных камерах, конструкция которых позволяет безопасно и эффективно проводить процесс утилизации осадков иловых площадок, можно получить высокую температуру, и как следствие, получать продукты аналогичные продуктам пиролиза.

При взрыве в замкнутом объеме может быть достигнута температура 2500 - 5000 оС, что значительно больше температуры многоподовых печей и пиролизных установок для сжигания осадка сточных вод. Давление, создаваемое при взрыве одного килограмма взрывчатого вещества, может быть равным от 20 до 50 гПа.

Можно создать камеру, позволяющую производить сушку, прессование и сжигание осадков иловых площадок, используя в качестве источника энергии - энергию взрыва.

Параметры такой взрывной камеры зависят от взрывчатых и физико-химических характеристик взрывчатых веществ.

Взрывчатые характеристики: теплота взрыва, температура продуктов взрыва, скорость детонации, бризантность - способность взрывчатых веществ производить при взрыве местное дробление твердой среды, прилегающей непосредственно к заряду.

Физико-химические характеристики: чувствительность к механическим и тепловым воздействиям, химическая и физическая стойкость, плотность.

Технологическая схема утилизации осадков иловых площадок и очистных сооружений с использованием взрывных камер показана на рисунке 2.

Рисунок 2. Технологическая схема утилизации осадков иловых площадок и очистных сооружений с использованием взрывных камер

- ил (органическое сырье), 2 - взрывная камера, 3 - газовая смесь, 4 - зола на повторный цикл, 5 - твердый остаток, 6 - твердый остаток на повторный цикл, 7 - накопитель газовой смеси с системой очистки, 8 - накопитель твердого остатка, 9 - на утилизацию обезвреженной твердой фракции, или выделение из нее определенных ценных веществ, 10 - жидкий остаток, 11 - нагретая вода на отопление или для иных нужд, 12 - очищенная газовая смесь, 13 - турбогенератор, 14 - выпуск газовой смеси в атмосферу, 15 - электроэнергия, 16 - накопитель жидкого остатка, 17 - на утилизацию обезвреженной жидкой фракции, или выделение из нее определенных ценных веществ.

утилизация канализационный осадок

Описание работы технологической схемы: осадок иловых площадок (1) подается во взрывную камеру (2); из которой газовая смесь (3) поступает в накопитель газовой смеси с системой очистки (7); из накопителя газовой смеси с системой очистки (7) зола подается на повторный цикл (4), а очищенная газовая смесь (12) поступает турбогенератор (13), откуда газовая смесь выпускается в атмосферу (14); а электроэнергия (15) идет на различные нужды; твердый остаток (5) поступает в накопитель твердого остатка (8), откуда он идет на повторный цикл (6), либо идет на выделение из данного твердого остатка ценных веществ и соединений и последующую утилизацию (9); горячая вода (11) поступает в систему отопления или используется для иных целей; жидкий остаток (10) поступает в накопитель жидкого остатка (16); откуда он либо обезвреживается и утилизируется, либо идет на выделение из данного жидкого остатка ценных веществ и соединений (17).

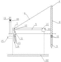
Сущность работы взрывной камеры для утилизации осадков иловых площадок поясняется рисунками, где на рисунке 3 изображен разрез взрывной камеры; на рисунке 4 вид сбоку.

Рисунок 3. Разрез взрывной камеры

Рисунок 4. Вид сбоку

Взрывная камера для утилизации осадка иловых площадок работает следующим образом:

В полость взрывной камеры для утилизации осадка иловых площадок 1 при помощи грейфера или иного механизма загружается осадок иловых площадок или осадок сточных вод 2, образующийся в результате их очистки на очистной станции. Далее производится установка взрывной капсулы, оборудованной дистанционным взрывателем 3. При помощи электролебедки 4, сообщенной с крышкой взрывной камеры для сжигания осадка сточных вод 5 посредством троса 6 и пальца 7, и закрепленной на мачте 8, прикрепленной к свае 9 с помощью анкерного болта 10, производится опускание крышки взрывной камеры для утилизации осадка иловых площадок 5. Дальнейшее закрепление и удержание крышки взрывной камеры для утилизации осадка иловых площадок 5 осуществляется посредством электролебедки 11 сообщенной с крышкой взрывной камеры для утилизации осадка иловых площадок 5 тросом 12 и пальцем 7, и прикрепленной анкерным болтом 13 к свае 14. При помощи дистанционного управления производится взрыв взрывной капсулы, оборудованной дистанционным взрывателем 3, при этом в результате взрыва в полости взрывной камеры для утилизации осадка иловых площадок 1 возникает большое давление и температура. Данные факторы вызывают сжатие и нагревание осадка сточных вод 2, в результате чего происходит испарение жидкости из осадка сточных вод 2. Образующаяся парогазовая смесь способствует осаждению пыли, возникшей в результате воздействия энергии взрыва на осадок сточных вод 2. При значительном увеличении давления в полости взрывной камеры для утилизации осадка иловых площадок 1, производится стравливание парогазовой смеси для ее очистки при помощи трубы для отвода парогазовой смеси 15. После снижения давления в полости взрывной камеры для утилизации осадка иловых площадок 1 происходит окончательное обезвоживание осадка сточных вод 2 и его сжигание с последующим прокаливанием и спеканием. После окончания процесса сжигания производится удаление парогазовой смеси на очистку при помощи трубы для отвода парогазовой смеси 15 и охлаждение стенок взрывной камеры 16 при помощи воды, циркулирующей в трубках 17. Тепло сообщенное воде может быть использовано в хозяйственно-бытовых и технических целях очистной станции. Далее производится открытие крышки взрывной камеры для утилизации осадка иловых площадок 5 при помощи ослабления натяжения троса 12 электролебедкой 11 и натягивания троса 7 посредством электролебедки 4. После чего следует выгрузка шлака и повторение цикла работы взрывной камеры для утилизации осадка иловых площадок. При возникновении критического давления парогазовой смеси в полости взрывной камеры для утилизации осадка иловых площадок 5 избыток парогазовой смеси экстренно удаляется без очистки в атмосферу при помощи предохранительного клапана 18 и выпускной трубы 19.

Таким образом, благодаря отсутствию в зоне сжигания подвижных частей упрощается конструкция устройства. В результате образования парогазовой смеси уменьшается запыленность отходящих газов. Воздействие большой температуры и давления улучшает эффективность сжигания осадка сточных вод, появляется возможность сжигания осадков с различной влажностью. В качестве взрывчатого вещества может быть использовано взрывчатое вещество боеприпасов, подлежащих утилизации. Конструкция взрывной камеры позволяет рационально использовать тепло, выделяющееся при сгорании осадка иловых площадок.

Кроме того, взрывную камеру можно использовать для утилизации не только осадков иловых площадок, но и для утилизации иных видов отходов.

Похожие работы на - Использование взрывных камер для утилизации осадков иловых площадок

 

Не нашли материал для своей работы?
Поможем написать уникальную работу
Без плагиата!
Без нейросетей!