Определение показателей эксплуатационных свойств автомобиля
Содержание
Введение
.
Определение тягово-скоростных свойств автомобиля
.1
Внешняя скоростная характеристика двигателя
.2
Тяговая диаграмма автомобиля
.
Расчёт параметров торможения автомобиля
.1
Определение остановочного времени автомобиля с полной нагрузкой и без нагрузки
.2
Определение остановочного пути автомобиля с нагрузкой и без нагрузки
.3
Определение замедления автомобиля с полной нагрузкой на уклоне и на подъёме
.4
Расчёт показателей тормозной динамики
.
Определение показателей устойчивости и управляемости автомобиля
.1
Определение критической скорости по опрокидыванию
.2
Определение критической скорости по условиям заноса
.3
Определение времени, в течение которого центробежная сила увеличится до
опасного предела
.4
Определение критического угла косогора по опрокидыванию автомобиля
.5
Определение критического угла косогора по условиям заноса (бокового скольжения)
.6
Определение критической скорости автомобиля по условиям управляемости
.
Определение динамического коридора автомобиля
.1
Определение динамического коридора автомобиля при прямолинейном движении
.2.
Определение динамического коридора одиночного автомобиля на повороте
.3
Определение динамического коридора автомобиля с прицепом на повороте
Определение
расстояния до препятствия, на протяжении которого водитель сможет совершить
маневр отворота
.Определение
пути и времени обгона с ускорением
.
Определение параметров регулирования фар ближнего света
.1
Определение дальности видимости в свете фар ближнего света
.2
Определение максимальной скорости движения автомобиля по условиям видимости
пешехода
.3
Определение возможности ослепления светом фар водителя встречного автомобиля
Заключение
Список
использованных источников
Введение
В последнее время в мире наблюдается увеличение автопарка, что приводит к
повышению скорости движения, интенсивности и плотности транспортных потоков, а
это отрицательно сказывается на уровне безопасности движения.
На безопасность движения также оказывает влияние недостаточное развитие
улично-дорожной сети и магистральных автомобильных дорог. В результате этого
усложняются условия движения, возрастает число дорожно-транспортных
происшествий, увеличивается загрязнённость воздуха и уровень создаваемого шума.
Все факторы, влияющие на дорожное движение и его безопасность, условно
делят на три взаимодействующие части, образующие систему
«Водитель-Автомобиль-Дорога».
Неудовлетворительное состояние хотя бы одного элемента системы,
отсутствие чёткой связи между ними, несоответствие одного элемента другому
приводит к отказу всей системы в целом. А это приводит к снижению интенсивности
движения вплоть до полного его прекращения и к возникновению
дорожно-транспортных происшествий.
Автомобиль представляет собой источник повышенной опасности, поэтому
безопасность движения в целом зависит от конструкции автомобиля. Структура
конструктивной безопасности представляет собой следующие аспекты: активная,
пассивная, послеаварийная и экологическая.
Активная безопасность
автомобиля - это его свойство предотвращать ДТП или снижать вероятность его возникновения.
Активная безопасность проявляется в период, соответствующий начальной фазе ДТП, когда водитель в состоянии изменять
характер движения автомобля.
Пассивная безопасность - это свойство автомобиля уменьшать тяжесть
последствий ДТП. Она проявляется в кульминационный период, когда водитель не
может изменить характер движения автомобиля и предотвратить ДТП.
Послеаварийная безопасность - это свойство автомобиля
уменьшать тяжесть последствий ДТП после остановки автомобиля (конечная фаза
ДТП). Это свойство характеризуется возможностью быстро ликвидировать
последствия происшествия, предотвращать возникновения новых аварийных ситуаций
(пожар, заклинивание
дверей, заполнение салона водой )
Экологическая безопасность - это свойство автомобиля
уменьшать вред, наносимый участникам движения и окружающей среде в процессе его
эксплуатации. Основной
вред, наносимый автомобилем, - это загрязнение атмосферы вредными веществами, а
также возникающий в процессе движения шум.
Отличительной чертой конструктивной безопасности, по сравнению с другими
эксплуатационными свойствами, является необходимость сохранения всех её
показателей на допустимом уровне в течение всего срока службы автомобиля.
Целью данной курсовой работы является приобретение практических навыков в
определении показателей эксплуатационных свойств автомобиля непосредственно
влияющих на его конструктивную безопасность.
Исходные данные к курсовой работе
Техническая характеристика транспортного средства
Техническая характеристика автомобиля BMW X5
|
№ пп
|
Параметры
|
Услов. Обознач.
|
Един. Измер.
|
Показатели
|
|
1
|
Габаритные размеры -длина
-ширина -высота
|
La Ba Ha
|
м м м
|
4,854 1,933 1,776
|
|
2
|
База
|
L
|
м
|
2,933
|
|
3
|
Передний свес
|
С
|
м
|
0,881
|
|
4
|
Колея передних колес
|
В
|
м
|
1,65
|
|
5
|
Лобовая площадь
|
Fв
|
м2
|
2,678
|
|
6
|
Коэффициент обтекаемости
|
Кв
|
Н с/ м4
|
0,32
|
|
7
|
Высота центра тяжести -без
нагрузки -с нагрузкой
|
hц бн hц cн
|
м м
|
0,64 0,78
|
|
8
|
Масса снаряженного
транспортного средства
|
Мс
|
кг
|
2075
|
|
9
|
Распределение снаряженной
массы -на переднюю ось -на заднюю ось
|
Мс1 Мс2
|
кг кг
|
1100 975
|
|
10
|
Полная масса транспортного
средства
|
М n
|
кг
|
2680
|
|
11
|
Распределение полной массы
-на переднюю ось -на заднюю ось
|
Мn1 Мn2
|
кг кг
|
1145 1535
|
|
12
|
Двигатель(тип)
|
|
|
бензиновый
|
|
13
|
Максимальная мощность
|
Ne max
|
кВт
|
200
|
14 Частота
вращения коленчатого вала двигателя при максимальной мощности nmax
|
6650
|
|
|
|
15
|
Число передач переднего
хода -передаточные числа
|
6
|
|
|
|
|
I
|
II
|
III
|
IV
|
V
|
VI
|
|
|
Uk
|
|
|
|
|
|
|
|
|
16
|
Передаточное число главной
передачи
|
Uо
|
|
3,909
|
|
17
|
Передаточное число
трансмиссии, кроме коробки передач
|
Uтр
|
|
3,909
|
|
18
|
К.п.д трансмиссии
|
ŋтр
|
|
0,9
|
|
19
|
Коэффициент сопротивления
качению
|
ƒ
|
|
0,02
|
|
20
|
Размер шин
|
|
|
255/50 R19
|
|
21
|
Радиус качения колеса
|
rk
|
м
|
0,3688
|
|
22
|
Жесткость подвески
-передней -задней
|
C1 C2
|
Н/м Н/м
|
5,85*104 4,3*104
|
|
23
|
Параметры экрана для
регулировки фар -расстояние до регулировочного экрана -высота центра фар
-смещение светового пучка фар
|
Sв1 h
e
|
м м м
|
5 0,86 0,05
|
1.
Определение тягово-скоростных свойств автомобиля
.1 Внешняя
скоростная характеристика двигателя
Внешняя скоростная характеристика двигателя - это зависимость мощности Ne (кВт) и крутящего момента Me (Н*м) на валу двигателя от частоты
вращения коленчатого вала n (мин-1).
Для построения внешней скоростной характеристики двигателя необходимо
определить значение величин крутящего момента и мощности двигателя при его
работе с различной угловой скоростью коленчатого вала.
Для определения крутящего момента двигателя воспользуемся эмпирической
формулой:
,Н/м ,
где
- угловая скорость коленчатого вала при максимальной
мощности, с-1;
- текущее
значение угловой скорости коленчатого вала, с-1;
aм ,bм ,cм
- эмпирические коэффициенты
зависящие от типа двигателя:
бензин:
ам =bм =cм=1
дизель:
ам =0,53
bм =1,56
cм =1,09
-
максимальная мощность двигателя, кВт.
Для
определения мощности двигателя при определённой угловой скорости коленчатого
вала используем следующую формулу:
, кВт
Расчёты
тягово-скоростных характеристик автомобиля производились на ЭВМ с помощью
программы, разработанной на кафедре ОАПДД.
Результаты
расчёта приведены в распечатке.
1.2 Тяговая
диаграмма автомобиля
Тяговая диаграмма автомобиля представляет собой график изменения тяговых
сил на ведущих колёсах автомобиля на всех передачах переднего хода в
зависимости от скорости движения.
Расчёт тяговых сил производится по формуле:
, Н
где
- передаточное число трансмиссии автомобиля на данной
передаче;
- КПД
трансмиссии (
=0,9);
Me -
текущее значение крутящего момента двигателя;
r - радиус
качения ведущего колеса;
-передаточное
число главной передачи (
=3,909).
На
тяговой диаграмме автомобиля необходимо построить кривую суммарных сил
сопротивления движению автомобиля на горизонтальной дороге. Для этого следует
рассчитать силы сопротивления качению и воздуха. Расчёт силы сопротивления
качению производим по следующей формуле:
,Н
где
G - вес автомобиля (26290,8 Н);
f - коэффициент
сопротивления качению (0,02). При скоростях до 50 км/ч f считаем
постоянным, а при более высоких скоростях этот коэффициент рассчитывается:
,
где
V - скорость движения автомобиля, м/с.
Расчёт
силы сопротивления воздуха производим по следующей формуле:
, Н
где
Кв - коэффициент обтекаемости (0,32);
Fв - лобовая площадь автомобиля:
,
где Ва - габаритная ширина автомобиля (1,933 м);
На - габаритная высота автомобиля (1,776 м).
Тогда:
, м2
Пример расчёта силы сопротивления для скорости 50 км/ч (Pk).
, Н
Остальные результаты расчёта приведены в таблице.
Таблица 2. Силы сопротивления движению
|
V (км/ч)
|
V (м/с)
|
Pk (Н)
|
|
10
|
2,778
|
525,816
|
|
20
|
5,556
|
525,816
|
|
30
|
8,333
|
525,816
|
|
40
|
11,111
|
525,816
|
|
50
|
13,889
|
525,816
|
|
60
|
16,667
|
623,193
|
|
70
|
19,444
|
658,346
|
|
80
|
22,222
|
698,921
|
|
90
|
25
|
744,906
|
|
100
|
27,778
|
796,302
|
|
110
|
30,556
|
853,108
|
|
120
|
33,333
|
915,302
|
|
130
|
36,111
|
982,927
|
|
140
|
38,889
|
1055,963
|
|
150
|
41,667
|
1134,409
|
|
160
|
44,444
|
1218,235
|
|
170
|
47,222
|
1307,5
|
|
180
|
50
|
1402,176
|
|
190
|
52,778
|
1502,262
|
|
200
|
55,556
|
1607,759
|
|
210
|
58,333
|
1718,626
|
|
220
|
61,111
|
1834,942
|
|
230
|
63,889
|
1956,668
|
|
240
|
66,667
|
2083,805
|
|
250
|
69,444
|
2216,304
|
|
260
|
72,222
|
2354,26
|
|
270
|
75
|
2497,626
|
|
280
|
77,778
|
2646,403
|
|
290
|
80,556
|
2800,59
|
|
300
|
83,333
|
2960,13
|
|
310
|
86,111
|
3125,136
|
|
320
|
88,889
|
3295,553
|
|
330
|
91,667
|
3471,381
|
|
340
|
94,444
|
3652,552
|
. Расчёт
параметров торможения автомобиля
.1
Определение остановочного времени автомобиля с полной нагрузкой и без нагрузки
автомобиль двигатель обгон ускорение
Водитель, заметив, препятствие оценивает обстановку, принимает решение о
торможении и переносит ногу с педали подачи топлива на педаль тормоза. Время,
затрачиваемое на эти действия, называется временем реакции водителя. Оно
зависит от опыта и квалификации водителя, его возраста, состояния здоровья,
степени усталости и т. п. При этом, чем неожиданнее возникновение препятствия,
тем больше время реакции. На ожидаемое препятствие водитель затрачивает меньше
времени реакции.
Далее водитель начинает нажимать педаль тормоза. В приводе тормозов
выбираются зазоры и перемещаются детали тормозных механизмов. Это время
называют временем срабатывания или запаздывания тормозной системы.
Остановочное время автомобиля - это время, прошедшее от момента, когда
водитель заметил препятствие, до полной остановки автомобиля.
Оно определяется по следующей формуле
, с;
где
- время реакции водителя (
с);
- время
срабатывания тормозной системы ( для гидравлического тормозного привода tС= 0,2с);
- время
нарастания тормозных сил, с;
-
начальная скорость торможения (V0=40км/ч=11.111м/с);
-
ускорение свободного падения (
);
-
коэффициент продольного сцепления с дорогой колёс автомобиля (0,6);
-
коэффициент эффективности торможения.
При
расчётах для автомобиля без нагрузки принимаем
, с
нагрузкой -
=1,2.
Время
нарастания замедления рассчитывается по формуле:
, с;
где
- вес транспортного средства, Н;
b- расстояние от
центра тяжести автомобиля до заднего моста, м;
- высота
центра тяжести автомобиля от поверхности дороги, м;
-
скорость нарастания тормозных сил на колесах переднего моста (
, кН/с).
Расстояние
от центра тяжести автомобиля до заднего моста вычисляем по формуле:
, м
где
M1- вес, приходящийся на переднюю ось автомобиля, кг;
M - вес всего
транспортного средства, кг;
-
колёсная база автомобиля (L=2,933 м).
Для
автомобиля без нагрузки: M1=975 кг,
М=2075 кг, hц=0,64 м;
Тогда
:
м;
с;
с;
Для
автомобиля с нагрузкой: M1=1145 кг,
М=2680 кг, hц=0,78 м;
Следовательно
:
м;
с;
с;
Результаты приведены в таблице:
|
V (км/ч)
|
40
|
|
V (м/с)
|
11,111
|
|
t0 (без
нагрузки)
|
3,28
|
|
t0 (с нагрузкой)
|
3,5
|
.2
Определение остановочного пути автомобиля с нагрузкой и без нагрузки
Остановочный путь- расстояние, проходимое автомобилем от момента, когда
водитель заметил препятствие, до полной остановки.
Расчёт будем проводить по следующей формуле:
, м.
Для
автомобиля без нагрузки:
м;
Для
автомобиля с нагрузкой :
м.
Остальные
результаты приведены в таблице:
|
V (км/ч)
|
40
|
|
V (м/с)
|
11,111
|
|
S0(без нагрузки)
|
24,9
|
|
S0(с нагрузкой)
|
26,28
|
2.3
Определение замедления автомобиля с полной нагрузкой на уклоне и на подъёме
При торможении автомобиля на уклоне или подъёме его силы инерции
уравновешиваются алгебраической суммой тормозной силы и силы сопротивления
подъёму. При движении на подъёме эти силы складываются , а на уклоне
вычитаются.
Расчёт ведём для уклона и подъёма с углом α=0,1 рад.
Замедление определяем по следующей формуле:
,
;
,
где
α
- угол подъёма (спуска).
Принимаем α=5,74.
При
движении автомобиля на подъём с нагрузкой
м/с2;
Без
нагрузки
м/с2;
м/с2;
Без
нагрузки
м/с2;
2.4 Расчёт
показателей тормозной динамики
Для построения графика тормозной динамики необходимо определить путь и
время торможения, а также замедления автомобиля без нагрузки и с полной
нагрузкой.
Для расчётов используем следующие формулы:
, с;
, м;
,
.
Расчёт
проводим для автомобиля без нагрузки и с нагрузкой в диапазоне скоростей 0
100 км/ч с шагом 10 км/ч.
Пример
расчёта показателей тормозной динамики для 40 км/ч:
С
нагрузкой:
с;
м;
м/с2;
Без
нагрузки:
с;
м;
м/с2;
Остальные
результаты приведены в таблице 3.
Таблица
3. Расчёт показателей тормозной динамики
|
V
|
tт, с
|
Sт, м
|
Jз, м/с2
|
|
км/ч
|
м/с
|
с нагр.
|
без нагр.
|
с нагр.
|
без нагр.
|
с нагр.
|
без нагр.
|
|
0
|
0
|
-
|
-
|
0
|
0
|
4,905
|
5,351
|
|
10
|
2,778
|
0,998
|
0,921
|
1,985
|
1,837
|
4,905
|
5,351
|
|
20
|
5,556
|
1,564
|
1,44
|
5,543
|
5,116
|
4,905
|
5,351
|
|
30
|
8,333
|
2,130
|
1,959
|
10,674
|
9,838
|
4,905
|
5,351
|
|
40
|
11,111
|
2,697
|
2,478
|
17,378
|
16,001
|
4,905
|
5,351
|
|
50
|
13,889
|
3,263
|
2,997
|
25,656
|
23,606
|
4,905
|
5,351
|
|
60
|
16,667
|
3,829
|
3,517
|
35,506
|
32,653
|
4,905
|
5,351
|
|
70
|
19,444
|
4,396
|
4,036
|
46,929
|
43,143
|
4,905
|
5,351
|
|
80
|
22,222
|
4,962
|
4,555
|
59,926
|
55,074
|
4,905
|
5,351
|
|
90
|
25,000
|
5,528
|
5,074
|
74,496
|
68,447
|
4,905
|
5,351
|
|
100
|
27,778
|
6,095
|
5,593
|
90,639
|
83,263
|
4,905
|
5,351
|
График тормозной динамики приведен в графической части курсовой работы.
3.
Определение показателей устойчивости и управляемости автомобиля
Устойчивость автомобиля - это его свойство противостоять заносу и
опрокидыванию.
Она непосредственно влияет на безопасность движения. Управляя
неустойчивым автомобилем, водитель должен более внимательно следить за дорожной
обстановкой и постоянно корректировать движение. Длительно управляя
неустойчивым автомобилем, водитель испытывает нервное перенапряжение, быстро
устаёт, что повышает вероятность возникновения ДТП.
В зависимости от направления скольжения или опрокидывания различают
поперечную и продольную устойчивость. Наиболее опасна и вероятна потеря
поперечной устойчивости, которая возникает вследствие действия на автомобиль
боковых сил.
Потеря поперечной устойчивости может произойти, как при криволинейном,
так и при прямолинейном движении. Потеря поперечной устойчивости при
прямолинейном движении может наступить, если автомобиль движется по косогору
(по дороге с поперечным уклоном). Показателями поперечной устойчивости в этом
случае является критические углы косогора, соответствующие началу заноса и
опрокидывания.
Показателем поперечной устойчивости при криволинейном движении автомобиля
является его максимальная скорость по дуге постоянного радиуса, соответствующая
началу заноса и опрокидывания.
Потеря автомобилем продольной устойчивости вызывается буксированием
ведущих колёс при движении автомобиля на подъём. Показателем продольной
устойчивости является максимальный угол подъёма дороги, преодолеваемый
автомобилем без буксования ведущих колёс.
Курсовая устойчивость автомобиля- это его свойство двигаться прямолинейно
без корректирующих движений водителя, т. е. при неизменном положении рулевого
колеса. Автомобиль с плохой курсовой устойчивостью произвольно меняет
направление движения (рыскает по дороге), создавая угрозу другим транспортным
средствам и пешеходам.
Нарушение курсовой устойчивости при прямолинейном движении может
произойти из-за бокового ветра, удара колёс о неровности дороги , разных по
величине тяговых или тормозных сил с правой или с левой стороны автомобиля,
неправильными приёмами вождения(резким торможением, разгоном, техническими
неисправностями, неправильной регулировкой тормозных механизмов, разрывом или
проколом шин).
Часть показателей для потери курсовой устойчивости является скорость
автомобиля, несоответствующая дорожным условиям, когда сила тяги приближается к
силе сцепления и возможность пробуксовывания ведущих колес.
.1
Определение критической скорости по опрокидыванию
Критическая скорость по опрокидыванию определяется по следующей формуле:
, м/с;
где
B - колея, м; (B=1,65 м);
R - радиус
поворота, м.
Расчет
проводим для гружёного и порожнего автомобиля при радиусе поворота R=50
м.
Без
нагрузки
м/с =
90,5 км/ч
С
нагрузкой
м/с =
87,3 км/ч
3.2
Определение критической скорости по условиям заноса
Критическую скорость по заносу определим следующим образом:
, м/с;
где
- коэффициент поперечного сцепления колес с дорогой.
Принимаем
радиус поворота R=100 м ,
=0,6 и
=0,2.
Тогда:
=0,2:
м/с = 50,4 км/ч
=0,6:
м/с = 87,3 км/ч
.3
Определение времени, в течение которого центробежная сила увеличится до
опасного предела
Суммарная сила, действующая на автомобиль, равна:
С
учетом того что
, а
, то
можно записать
,
Данное время определим по следующей формуле:
, с;
где
- угловая скорость поворота управляемых колес, рад/с;
Расчет
проводим для
=0,1 рад/с=0,016 с-1; V=60
км/ч=16,67 м/с;
и
.
Без
нагрузки:
При
=3,79 с;
При
=1,2 с;
С
нагрузкой:
При
=3,81 с;
При
=1,22 с;
.4
Определение критического угла косогора по опрокидыванию автомобиля
Критический угол косогора определяем по формуле:
,
Расчет
будем проводить для груженого и порожнего автомобиля.
Для
автомобиля без нагрузки:
Для
автомобиля с нагрузкой:
3.5
Определение критического угла косогора по условиям заноса (бокового скольжения)
Критический угол косогора определим следующим образом:
,
Расчет
будем проводить для различных значений
.
При
.
При
.
3.6
Определение критической скорости автомобиля по условиям управляемости
Критическую скорость автомобиля по условиям управляемости определим по
формуле:
, м/с;
где
- коэффициент сопротивления качению автомобиля;
- угол
поворота управляемых колес.
Угол
поворота управляемых колес определяем по формуле:
,
где
R - радиус поворота (R=125 м).
Приняв
и
,
получим:
м/с.
4.
Определение динамического коридора автомобиля
.1
Определение динамического коридора автомобиля при прямолинейном движении
Динамический коридор автомобиля при прямолинейном движении определяется
по эмпирической формуле:
, м;
где
- габаритная ширина транспортного средства (
=1,933 м).
Динамический коридор будем определять для диапазона скоростей от 30 до
100 км/ч с шагом 10 км/ч.
Пример расчёта для 40 км/ч:
м;
Остальные результаты приведены в таблице 4.
Таблица 4. Динамический коридор
|
V(км/ч)
|
30
|
40
|
50
|
60
|
70
|
80
|
90
|
100
|
|
V(м/с)
|
8,333
|
11,111
|
13,889
|
16,667
|
19,444
|
22,222
|
25
|
27,778
|
|
Bк (м)
|
2,683
|
2,833
|
2,983
|
3,133
|
3,283
|
3,433
|
3,583
|
3,733
|
4.2
Определение динамического коридора одиночного автомобиля на повороте
Расчет проводим по следующей формуле:
, м;
где
с - передний свес автомобиля (с=0,881м);
-
наружный габаритный радиус, м.
Подставляя
известные значения и
=50 м, получим:
м.
.3
Определение динамического коридора автомобиля с прицепом на повороте
Динамический коридор при движении автомобиля с прицепом на повороте
больше, чем у одиночного автомобиля, за счёт смещения задней оси прицепа относительно
задней оси тягача. Определяется по следующей формуле:
м;
где Ск - смещение середины задней оси прицепа относительно
середины задней оси тягача.
Расчёт ведём при Rн=50 м; Ск=1 м.
м.
5.
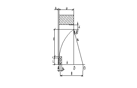
Определение расстояния до препятствия, на протяжении которого водитель сможет
совершить маневр отворота
Рис. 1 Схема маневрирования автомобиля.
;
.
Далее:
;
;
где
Y - ширина препятствия,
;
.
Отсюда
получаем:
Окончательно
формула примет вид:
, м;
где
- время реакции водителя (
с);
- время
срабатывания рулевого привода (t1=0,2 c);
- время
вывода автомобиля на траекторию постоянного радиуса R, м.
В
свою очередь:
, с;
;
.
Подставляя
м; Y=6 м, V=60 км/ч=16,67 м/с;
рад/с ,
′=0,5 м, получим:
м;
м;
;
;
м.
Наконец
искомое расстояние:
м.
6.
Определение пути и времени обгона с ускорением
Для определения пути и времени обгона с ускорением необходимо построить
график интенсивности разгона обгоняющего автомобиля. Для этого необходимо
рассчитать время и путь разгона обгоняющего автомобиля и построить
соответствующие графики.
Будем считать, что процесс обгона с ускорением происходит на
предпоследней передаче - пятой. Воспользуемся данными ускорения автомобиля,
приведёнными в крайнем правом столбце распечатки.
Для построения графика времени разгона необходимо определить время
разгона в каждом интервале скоростей движения, считая, что в пределах интервала
автомобиль движется с постоянным ускорением.
Воспользуемся следующими формулами.
Время,
необходимое для разгона автомобиля от скорости
до
скорости
, с;
,
.
При
определении пути разгона автомобиля считаем, что в интервале времени ∆t
автомобиль движется с постоянной скоростью:
, м/с.
, м.
Суммарное
время и расстояние разгона определяются по следующим формулам
,с;
,м.
Пример
расчёта:
м/с2;
c;
м/с;
м.
Остальные
результаты расчёта сводим в таблицу 5.
Таблица
5.
Расчет времени и пути разгона.

м/с



с
с
м
|
м
|
|
|
|
|
|
|
|
|
|
км/ч
|
м/с
|
|
|
|
|
|
|
|
|
|
30,769
|
8,547
|
4,8
|
-
|
0,7055
|
-
|
-
|
-
|
-
|
-
|
|
|
|
10,948
|
|
0,70844
|
6,78
|
6,78
|
74,227
|
74,227
|
|
48,058
|
13,349
|
|
|
0,71138
|
|
|
|
|
|
|
|
|
15,751
|
|
0,7041
|
6,82
|
13,6
|
107,422
|
181,649
|
|
65,348
|
18,152
|
|
|
0,69682
|
|
|
|
|
|
|
|
|
20,553
|
|
0,679325
|
7,07
|
20,67
|
145,31
|
326,959
|
|
82,637
|
22,955
|
|
|
0,66183
|
|
|
|
|
|
|
|
|
25,356
|
|
0,63412
|
7,57
|
28,24
|
191,945
|
518,904
|
|
99,926
|
27,757
|
|
|
0,60641
|
|
|
|
|
|
|
|
|
30,158
|
|
0,568485
|
8,44
|
36,68
|
254,534
|
773,438
|
|
117,215
|
32,56
|
|
|
0,53056
|
|
|
|
|
|
|
|
|
34,961
|
|
0,482415
|
9,95
|
46,63
|
347,862
|
|
134,505
|
37,363
|
|
|
0,43427
|
|
|
|
|
|
|
|
|
39,764
|
|
0,375905
|
12,77
|
59,4
|
507,786
|
1629,086
|
|
151,794
|
42,165
|
|
|
0,31754
|
|
|
|
|
|
|
|
|
44,566
|
|
0,248965
|
19,28
|
78,68
|
859,232
|
2488,318
|
|
169,083
|
46,968
|
|
|
0,18039
|
|
|
|
|
|
|
|
|
49,369
|
|
0,101595
|
47,25
|
125,93
|
2332,685
|
4821,003
|
|
186,372
|
51,77
|
|
|
0,0228
|
|
|
|
|
|
|
|
|
54,171
|
|
-
|
-
|
-
|
-
|
-
|
|
203,662
|
56,573
|
|
|
-0,15523
|
|
|
|
|
|
|
|
|
58,974
|
|
-
|
-
|
-
|
-
|
-
|
|
220,951
|
61,375
|
|
|
-0,35369
|
|
|
|
|
|
|
|
|
63,777
|
|
-
|
-
|
-
|
-
|
-
|
|
238,24
|
66,177
|
|
|
-0,57258
|
|
|
|
|
|
|
|
|
68,579
|
|
-
|
-
|
-
|
-
|
-
|
|
255,529
|
70,98
|
|
|
-0,81191
|
|
|
|
|
|
|
|
|
73,382
|
|
-
|
-
|
-
|
-
|
-
|
|
272,819
|
75,783
|
|
|
-1,07167
|
|
|
|
|
|
|
|
|
|
|
|
|
|
|
|
По результатам расчета строим график пути и времени разгона. Затем строим
график интенсивности разгона. Для этого в координатах S, t наносим время ti и путь Si, необходимый для разгона автомобиля Vi до скорости Vi+1. На графике интенсивности разгона
находим точку A, соответствующую скорости движения
обгоняемого автомобиля. Вправо от точки A откладываем отрезок равный D1+L2 и с конца этого отрезка проводим
наклонную прямую соответствующую скорости обгоняемого автомобиля. Для того
чтобы найти путь и время обгона с ускорением, находим на линиях I и II две точки C и D, расстояние между которыми по
горизонтали составляло бы D2+L1. Тогда по координатам точки D мы находим путь и время обгона.
1=L2=L=4,854
м;
Кроме того принимаем, что V=60
км/ч.
1=aоб·V2+4=0,33·16,67+4=95,667 м;
D2=bоб·V2+4=0,26·16,67+4=76,222 м;
где
- эмпирические коэффициенты, зависящие от типа
автомобиля.
1+L2=95,667+4,854=100,521 м;
D2+L1=76,222+4,854=81,074 м;
По графику определяем численное значение пути и времени обгона с
ускорением:
Sоб
=432,1 м;
tоб
=13 с.
7.
Определение параметров регулирования фар ближнего света
Для обеспечения безопасности движения большое значение имеет правильная
регулировка фар автомобиля. Регулировка фар ближнего света с европейской
ассиметричной системой светораспределения может проводиться с помощью
специального экрана, перед которым на определенном расстоянии устанавливается
автомобиль.
На рис. 2 приведены параметры фар ближнего света.
Рис. 2 Экран для регулировки фар ближнего света.
где
- расстояние между центрами фар, м;
- высота
расположения центра фар автомобиля над уровнем дороги, м;
-
смещение светового пучка фар, м.
.1 Определение
дальности видимости в свете фар ближнего света
Рис. 3 Параметры регулирования фар ближнего света
В соответствии с рис. 3 из подобия прямоугольных треугольников получим
.
Отсюда
следует, что дальность видимости в свете фар ближнего света равна:
, м;
где
- расстояние от фар до регулировочного экрана (
м);
- высота
расположения центра фар автомобиля над уровнем дороги (h=0,86 м);
-
смещение светового пучка фар (e=0,05 м).
Подставляя
известные значения, получаем
м.
.2
Определение максимальной скорости движения автомобиля по условиям видимости
пешехода
Расстояние видимости пешеходов в свете фар ближнего света определим из
соотношения:
, м
где
- минимальная высота от поверхности дороги, на которой
различим пешеход (
м).
Тогда :
м;
Условие, при котором не будет наезда на пешехода:
.
Остановочный
путь рассчитываем по формуле
.
Расчет
проводим для автомобиля с полной нагрузкой при
=0,6.
с;
м.
Решив уравнение относительно V, получим
м/с.
7.3
Определение возможности ослепления светом фар водителя встречного автомобиля
Рис. 4 Схема изменения продольной оси при загрузке
При загрузке автомобиля прогибаются упругие элементы его подвески, а
также шины. Прогиб шин по сравнению с прогибом подвески невелик, и им можно
пренебречь.
При полной загрузке прогиб элементов задней подвески, как правило, больше
передней, и продольная ось автомобиля наклоняется назад на некоторый угол β (рис. 4). Вследствие этого изменяется направление
светового пучка фар, и возможно ослепление водителя встречного автомобиля. Для
определения возможности ослепления необходимо найти фактический угол β подъёма светового пучка и сравнить
его с теоретическим.
,
где
β-
угол расхождения светового пучка фар.
Угол
βф
определим следующим образом:
,
;
где
- соответственно прогиб передней и задней подвесок
автомобиля, м.
В
свою очередь:
м;
м;
где
- соответственно вес автомобиля, приходящийся на
колеса передней и задней оси в загруженном состоянии, Н;
-
соответственно вес автомобиля, приходящийся на колеса передней и задней оси в
снаряженном состоянии, Н;
-
соответственно вертикальная жесткость подвески передней и задней оси, Н/м.
Тогда
фактический угол βф подъёма
светового пучка равен:
Угол
расхождения светового пучка фар складывается из двух углов:
.
Из
подобия прямоугольных треугольников находим:
где H - высота расположения глаз водителя
над поверхностью дороги, м;
SB2-
расстояние от фар автомобиля до глаз водителя встречного автомобиля, м (SB2 =50 м).
Тогда:
β = 0,45 + 0,57 = 1,02
;
Так
как условие
(0,240 <1,020) выполняется,
следовательно, при полной загрузке автомобиля не требуется дополнительная
регулировка фар.
Заключение
В ходе выполнения данной курсовой работы мною были определены следующие
параметры конструктивной безопасности автомобиля BMW X5: тягово-скоростные свойства, параметры торможения,
устойчивость и управляемость данного транспортного средства, путь и время
обгона с ускорением, параметры регулирования фар ближнего света. Также были
рассчитаны параметры торможения автомобиля, расстояние до препятствия, на протяжении
которого водитель сможет совершить маневр отворота. В курсовой работе
представлены следующие графические зависимости: внешняя скоростная
характеристика двигателя, тяговая диаграмма автомобиля, тормозные
характеристики, время и путь разгона и обгона.
Список
использованных источников
1. ”Краткий
автомобильный справочник НИИАТ” М:Транспорт,1979(1985).
. Афанасьев
Л.Л. и др.”Конструкционная безопасность автомобилей”, Москва, Машиностроение,
1983г
. Боровский
Б.Е. “Безопасность движения автомобильного транспорта ”, Ленинград,
Лениздат,1984г.