Модернизация четырехосной цистерны модели 15-869
Содержание
Введение
. Общее устройство вагонов
1.1
Обзор и анализ вагонов проектируемого типа, и обоснование основных предложений
по совершенствованию конструкций
1.2
Технико-экономические показатели вагона прототипа (цистерны 15-869)
.3
Вписывание вагона в габарит
.4
Кузов вагона
.5
Ходовые части вагона
1.6 Автосцепное
оборудование
1.7
Тормозное оборудование
.
Расчет кузова вагона на прочность
2.1 Расчетная схема и основные силы,
действующие на кузов
2.2
Материалы и допускаемые напряжения
.3
Расчет на вертикальные нагрузки
.4
Расчет на продольные нагрузки рамы цистерны модели 15-869
.5
Расчет от сил внутреннего давления
.6
Расчет на ремонтные нагрузки
.
Расчет ходовых частей вагона
.1
Определение основных размеров колесной пары. Расчет оси и колеса
.2
Выбор буксовых подшипников
.3
Расчет рессорного подвешивания
.3.1
Упругие элементы
.3.2
Гасители колебаний
.4
Расчет рамы и других деталей тележки
.
Расчет автосцепного устройства
.1
Расчет поглощающего аппарата
.2
Расчет автосцепки
.3
Расчет деталей упряжи
.
Разработка модернизации
Список
литературы
Введение
Железнодорожный
транспорт является основным видом транспорта России, имеет важнейшее значение
для нашей страны. Большое значение имеет рациональность конструкции вагонов и
их технико-экономических показателей, провозную способность дорог, возможность
широкого внедрения механизации и автоматизации при изготовлении и ремонте
вагонов, а также их эксплуатации.
Большую
часть парка железнодорожных вагонов составляют грузовые вагоны различных типов.
Цистерны служат для перевозки жидких и газообразных грузов. Кузовов вагонов
служит специальный резервуар (котел) обычно цилиндрической формы, имеющий люки
для налива и устройство для слива груза.
В
зависимости от перевозимых грузов цистерны подразделяются на две группы:
1. общего
назначения - для перевозки широкой номенклатуры нефтепродуктов;
2. специальные
- для перевозки отдельных видов грузов.
Специальные
цистерны разделяются на цистерны для перевозки:
·
высоковязких
грузов;
·
порошкообразных
грузов;
·
затвердевающих
грузов;
·
кислот
(азотная, соляная, серная и т.д.);
·
пищевых
продуктов;
·
сжиженных
газов.
В
зависимости от вида несущих элементов разделяются на конструкции, у которых все
основные действующие на вагон нагрузки воспринимаются рамой кузова и конструкции,
у которых эти нагрузки воспринимаются котлом - безрамная цистерна.
Кроме
того, цистерны подобно другим типам вагонов различаются по осности,
грузоподъемности, объему котла, устройству, материалу и способу изготовления
котла и другим признакам. Технические требования к цистернам регламентированы
ГОСТ 10674-75.
Поскольку
специальные цистерны строят в сравнительно небольшом количестве и обычно на тех
же заводах, что и цистерны общего назначения, они для удобства эксплуатации,
ремонта и постройки имеют унифицированные с цистернами общего назначения рамы,
узлы крепления котла, ходовые части и другие элементы.
1.Общее
устройство вагонов
железнодорожный транспорт вагон цистерна
1.1
Обзор и анализ вагонов проектируемого типа, и обоснование основных предложений
по совершенствованию конструкций
Котел
цистерны, имеющей грузоподъемность 62 тонн и предназначенной для вязких
нефтепродуктов, изготовляют из стали 09Г2С. Полезный объем 85,3м3 и
общий 88,6м3. Внутренний диаметр котла 3000 мм, толщина броневого
листа, а также днищ 12мм, верхних и средних листов - соответственно 9мм и 10мм.
Все листы и днища соединены стыковыми швами. Тара цистерны - 23,2 тонны. Этому
вагону присвоен государственный Знак качества. Цистерна модели 15-869
предназначена для светлых нефтепродуктов.
Крепление
котлов цистерн на рамах унифицировано. Котлы крепят в средине и по концам.
Котел свободно укладывают нижним (броневым) листом на деревянные брусья опор,
установленных на шкворневых балках рамы. В середине нижней части котла фасонные
лапы, приваренные к броневому листу, соединяют призонными болтами с опорными
планками, которые приварены к хребтовой балке рамы. Котел с каждого конца
крепят к опорам на шкворневых балках двумя стяжными хомутами, которые,
предотвращая вертикальное и поперечное сечения котла относительно рамы,
допускают некоторое продольное перемещение концов котла относительно рамы при
температурных деформациях. Натяжением хомутов стремятся предотвратить вибрацию
котла. Такая связь препятствует сдвигам котла относительно рамы. Болтовые
соединения предусмотрены для удобства ремонта, когда необходимо отделять котел
от рамы.
Для
обеспечения прочности опорных зон котла необходимо равномерно распределить
нагрузку на опорные брусья. С этой же целью стремятся увеличить площадь опоры,
угол охваты опорой цилиндрической части котла и расстояние от опоры до других
мест концентрации напряжений в котле.
Особенностью
конструкции рам цистерны является то, что их продольные балки почти не
участвуют в восприятии основных вертикальных нагрузок. Это объясняется большой
жесткостью котла по сравнению с жесткостью продольных балок рамы, вследствие
чего почти вся нагрузка от котла передается на крайние его опоры, а от них - на
тележки.
Шкворневые
балки рамы нагружены вертикальными силами, и при приложении к их конам усилий,
необходимых, например, для подъема кузова, в этих балках могут возникнуть
значительные напряжения.
Хребтовая
балка рамы подвержена главным образом действию ударно-тяговых (продольных)
усилий.
Для
повышения прочности и улучшения технологии изготовления ее целесообразно
выполнять из двух усиленных зетов высотой 310мм.
В
связи с завершением перевода грузовых вагонов железных дорог России на
автосцепку и снятием буферов продольные усилия воспринимаются преимущественно
хребтовой балкой, в результате чего отпала необходимость в боковых балках рамы,
а также в мощных концевых (буферных) балках. Поэтому рама рассматриваемой
цистерны имеет облегченные концевые и боковые балки, причем последние сохранены
лишь в консольной части рамы. Отсутствуют также промежуточные поперечные балки.
В результате такого видоизменения массы рамы существенно снижена (на 1,4т) по
сравнению с рамой цистерны, на которой имеются буфера.
Цистерна
оборудована наружными и внутренними лестницами с площадками у колпака, универсальным
сливным прибором и предохранительно выпускным клапаном, устройство, которое
играет важную роль. Для обеспечения полного слива груза броневой лист выгнут
так, что имеет уклон от днищ к сливному прибору.
Основные
предложения по модернизации существующей цистерны для перевозки светлых
нефтепродуктов следующие:
1. Увеличение
безопасности перевозки путем установки защитных экранов у днищ цистерн.
2. Установление
буферных устройств для более мягкого сцепления и движения вагонов.
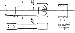
. Установка
теневого кожуха.
1.2
Технико-экономические показатели вагона прототипа (цистерны 15-869)
Грузоподъемность
62т
Тара вагона 25,3т
Нагрузка от оси колесной пары
на рельсы 22,5тс
Конструкционная
скорость 120км/ч
Габарит 01-Т
База вагона 9350мм
Длина
- по осям автосцепок 13570мм
- по концевым балкам рамы
12350мм
Высота от уровня головок
рельсов мах 4640мм
Диаметр котла внутренний 3000мм
Длина котла наружная 12950мм
Удельный объем 1,4м3/т
Объем котла
- полный 88,6 м3
Расчет технико-экономических параметров
модернизированной цистерны 15-869. Габарит 1-Т конструкционная скорость
движения 120км/ч, нагрузка от оси колесной пары на рельсы 22,5т.
Грузоподъемность:
Р=m0*P0/(1+KT)
т0 - число колесных пар
Р0 - нагрузка на ось
КТ -технический
коэффициент тары (КТ =0,35)
Р= m0*P0/(1+KT)=4*22,5/(1+0,35)=70,7
(т)
Тара вагона:
Т=Р*КТ=70,7*0,35=25,8 (т)
Объем котла:
V=Vy*P
Vy
- удельный объем
V=1*70,7=89,6м3
Диаметр котла внутренний Dвн
принимаем
3м.
Lвн=4*V/π*D2=4*70,7/3,14*32=12,90
(м)
Lвн-
внутренняя длина котла.
Наружная длина котла:
Lнар=2Lвн+2aт.ц=12,9+0,025=12,95(м)
2ат.ц - толщина стенок
котла
Наружный диаметр котла:
Dнар=Dвн+2ат.ц=2,8+0,02=3,52(м)
Длина рамы вагона:
Lp=2Lнар+2акон=11,52+1,66=13,18(м)
акон- длина консольной
части вагона
Длина вагона по осям автосцепок:
Lавт=2Lp+2aавт=13,18+1,42=13,5(м)
Погонная нагрузка:
q=(T+P)/2Lавт=(70,7+24,7)/14,6=6,53(т/м)≤qдоп=10,5(т/м)
База вагона:
l=2Lp/√2=13,18/√2=9,35(м)
1.3 Вписывание
вагона в габарит
При
проектировании вагона производится проверка его габаритности, называемая
вписыванием вагона в габарит. Сущность вписывания заключается в том, что на
основании заданного габарита подвижного состава определяют строительное, а
затем и проектное очертания вагона для всех характерных сечений по его длине.
Все элементы конструкций проектируемого вагона, имеющие номинальные размеры и
расположенные в рассматриваемом сечении, не должны выходить за пределы контура
проектного очертания.
Основные
положения.
Для
обеспечения безопасности движения поездов вагоны должны свободно проходить по
железнодорожному пути, не задевая сооружения, станционных платформ, зданий и
других устройств, а также подвижного состава, расположенного на смежных путях.
Это условие выполняется, если размеры поперечного сечения вагона находятся в строго
определенных пределах, а все указанные сооружения приближаются к пути не более
чем на определенную величину. Эти ограничения в строительстве вагонов и
сооружений определяются двумя видами габаритов (ГОСТ 9238): подвижного состава
и приближения строений. Габаритом приближения строений - предельное поперечное
(перпендикулярное оси пути) очертание, внутрь которого, помимо подвижного
состава, не должны заходить никакие части сооружений и устройств. Габаритом
подвижного состава - предельное поперечное, (перпендикулярное оси пути)
очертание, в котором, не выходя наружу, должны помещаться установленный на
прямом горизонтальном пути (при наиболее неблагоприятном положении в колее и
отсутствии боковых наклонений на рессорах и динамических колебаний) как в порожнем,
так и груженом состоянии не только новый подвижной состав, но и подвижной
состав, имеющий максимально нормируемые износы.
Между
габаритом приближения строения и габаритом подвижного состава предусмотрено
пространство, которое обеспечивает безопасные смещения вагона, возникающие при
его движении. Эти смещения обусловлены отклонениями в состоянии пути, которые
допускаются нормами его содержания, и динамическими колебаниями вагона на
рессорах.
Указанные
группы смещений составляют итоговое пространственное перемещение подвижного
состава из центрального положения (оси пути) в одну сторону.
Габарит
подвижного состава (ГОСТ 9238-83), учитывающий смещения первой и второй группы,
получил название эксплутационный. Для определения строительного очертания
подвижного состава вагона необходимо из размеров габарита подвижного состава
вычесть величину смещений третьей и четвёртой групп. Определение допускаемых
максимальных размеров подвижного состава из условий удовлетворения его
заданному габариту называется вписыванием подвижного состава в габарит.
Проектное
очертание подвижного состава получают уменьшением его строительного очертания
на величину технологических отклонений, допускаемых при построении подвижного
состава.
Габариты
подвижного состава.
ГОСТ
9238-73 устанавливает шесть единых для вагонов и локомотивов габаритов
подвижного состава: Т, 1-Т, 0-Т, 01-Т, 02-Т и 03-Т. ГОСТ 9238-83 изменил
обозначения последних четырех габаритов и ввел 2 дополнительных габарита - Тц
и Тпр.
Цистерна
модели 15-869 имеет габарит 1-Т. Этот габарит подвижного состава, допускаемого
к обращению по всем путям общей сети железных дорог России, внешним и
внутренним подъездным путям промышленных и транспортных предприятий. По этому
габариту строятся вагоны, если не удается их вписать в габарит 0-Т.
Для
цистерн целесообразен габарит Тц, имеющий, как и габарит Т
наибольшую ширину 3750 мм, наибольшую высоту 5200 мм, нижнее очертание,
соответствующее габариту 1-Т. Цистерны, построенные по такому габариту, не
требуют уширения станционных междупутий, так как наибольшую ширину вагона имеют
только в зоне горизонтального диаметра котла.
МТ
РФ разрабатывает и утверждает, габариты и степени негабаритности грузов и
правила их перевозки по железным дорогам. По верхнему очертанию габарита
определяют строительные очертания кузова вагона, нижнее очертание габарита
определяется допускаемые размеры ходовых частей.
Габариты
подвижного состава
ГОСТ
9238-73 устанавливает шесть единых для вагонов и локомотивов габаритов
подвижного состава: Т, 1-Т, 0-Т, 01-Т, 02-Т и 03-Т. ГОСТ 9238-83 изменил
обозначения последних четырех габаритов и ввел 2 дополнительных габарита - Тц
и Тпр.
Цистерна
модели 15-1250 имеет габарит 02-Т.
ОАО
РЖД разрабатывает и утверждает, габариты и степени негабаритности грузов и
правила их перевозки по железным дорогам. По верхнему очертанию габарита
определяют строительные очертания кузова вагона, нижнее очертание габарита
определяется допускаемые размеры ходовых частей.
Определим ограничения полуширины вагона для
направляющих сечений.
где
-максимальная
ширина колеи в кривой расчетного радиуса, мм;
-наибольшее
расстояние между наружными гранями предельно изношенных гребней колесной пары,
мм;
суммарное наибольшее поперечное
перемещение в направляющем сечении, в одну сторону из центрального положения
рамы тележки относительно колесной пары вследствие наличия зазоров при
максимальных износах в буксовом узле и узле сочленения рамы тележки с буксой,
мм;
то же, но кузова относительно рамы
тележки вследствие зазоров при максимальных износах и упругих колебаний в узле
сочленения кузова и рамы тележки, мм;
Рассчитываем ограничения полуширины
вагона для внутреннего сечения расположенного по середине базы:
Евн=S-d+q+w+[ Увнут.
мах + Ут - Ур]
Увнут. мах=l2/2R=(9,35/2)2/2∙250∙103=43
мм- отклонение внутри кривой (в середине вагона)
R - расчетный
радиус кривой
l- половина
базы проектируемого вагона = (9,35/2)
Ут= l2т/2R=(1,85/2)2/2∙250∙103=2
мм
lт=(1,85/2) -
для тележки 18-100
Ур=144мм - уширение
габарита приближения строения в кривой.
Евн=18+35+[ 48 + 2 -
144]<0
Т.к. Евн<0,то Евн не
учитываем
Рассчитываем ограничения полуширины вагона для
наружнего сечения расположенного в конце вагона:
Енар=(S-d+q+w)
L / l
+[ Унар. мах - Ут - Ур]
Унар. мах=(L2-
l2)/2R=73002-46502/2∙250∙103=63
мм
L=5247мм- половина
длины проектируемого вагона
Ур=144мм - уширение габарита
приближения строения в кривой.
Енар= 74,2+[ 63-2-144] <0
Т.к. Енар <0,то Енар не
учитываем
Е0= Еmax
Определяем ширину строительного очертания,
вписываемого в габарит вагона:
Встр=2В0-2Емах
В0=3150мм для габарита 02-Т -ширина
габарита
Встр=3150-2∙74,2=3002 мм
Определяем проектное очертание, вписываемого в
габарит вагона:
Впр=2Встр-2астр
астр =10мм -
допуск на строительство
Впр=3002-20=2982 мм
Условие вписывания в габарит:2Внар,<2Впр
3080<2982
Данный вагон не удовлетворяет условию вписывания
в габарит (02-Т)
Т.о. необходимо выбрать другой габарит например
1-Т:
В0=3400 мм
Встр=3400-2∙74,2=3250 мм
Впр=3250-20=3230 мм
Внар,<2Впр
3080<3230
Определяем резерв недоиспользования габарита
R=2Впр-2Внар=3230-3080=150
мм
1.4 Кузов
вагона
Кузов
цистерны получил название котел. Котел цистерны 15-869 имеет одну секцию. Котел
цистерны для вязких нефтепродуктов изготавливают из стали 09Г2С. Теплоизоляции,
теневой защиты, предохранительного клапана у котла нет, т.к. для перевозки
вязких нефтепродуктов этих приспособлений ненужно. Для облегчения слива такого
груза созданы цистерны с наружной пароподогревательной рубашкой (кожухом).
Рубашка расположена в нижней части котла. Она выполнена из листов толщиной 4мм,
каркас которого сварен из уголка 32*32*4 и гнутого швелера 190*34*4мм.
Предохранительно-выпускной клапан установлен рядом с наливным люком. Котел
содержит три лестницы: две внешнии и одну внутреннию. Внешняя необходима для
подъема наливщика к загрузочному люку, она приварена к корпусу котла.
Внутренняя лестница обеспечивает доступ ремонтникам и осмотрщикам внутрь котла.
Для обеспечения полного слива вязких нефтепродуктов нижний лист котла выполняют
с уклоном в сторону сливно-наливной трубы, размещенной в середине котла. Объем
котла, занимаемый грузом, составляет 88,6м3 при грузоподъемности 62
тонн; внутренний диаметр котла равен 3м, тара вагона 25,3 тонны.
1.5
Ходовые части вагона
Тележки
- ходовые части вагона. Они должны обеспечивать безопасность движения вагона по
рельсовому пути с необходимой плавностью хода и наименьшим сопротивлением
движению. От конструкции ходовых частей вагона во многом зависит безопасность и
плавность хода. Ходовые части цистерны модели 15-869 выполнены в виде двух
двухосных тележек.
Тележки
состоят обычно из следующих основных частей: колесные пар, буксовых узлов,
рессорного подвешивания, рамы, надрессорной балки с опорами кузова и тормозной
передачи. Современные грузовые вагоны магистрального и промышленного транспорта
имеют двух-, трех- и четырехосные тележки, большегрузные транспортеры оснащены
многоосными тележками состоящими из набора перечисленных выше конструкций.
Как
правило, это модели с одноступенчатым рессорным подвешиванием. Исключение
составляют вагоны, служащие для перевозки грузов, требующих транспортировки с
повышенными скоростями.
Тележка
модели 18-100 (ЦНИИ-Х3: ЦНИИ- прежнее название ВНИИЖТа разработавшего
конструкцию, Х - первая буква автора -Ханина, 3-третий вариант), рассчитанная
на конструкционную скорость движения 120 км/ч, состоит из двух колесных пар с
четырьмя буксовыми узлами , двух литых боковых рам , надрессорной балки , двух
комплектов центрального подвешивания с фрикционными гасителями колебаний и
тормозной рычажной передачи .
Боковая
рама отлита, из низколегированной стали 20ФЛ или 20ГЛФ. Она имеет
объединенные пояса и колонки, образующие в средней части проем для размещения
комплекта центрального рессорного подвешивания, а по концам - буксовые проемы.
Шишки, отлиты с внутренней стороны на наклонном поясе, служат для подпора
боковых рам (боковин) при сборке тележки, так как в зависимости от допускаемых
отклонений при отливке и обмере боковин некоторые из шишек срубают. Если все
шишки срублены, то рама имеет градацию №0 с размером между наружными челюстями
2181 мм, при одной оставленной шишке это расстояние равно 2183 мм, а рама имеет
градацию №1, при №№2,3,4 и5 указанное выше расстояние соответственно
увеличивается по 2 мм.
Надрессорная
балка - литая из стали марок 20ФЛ, имеет полую конструкцию замкнутого
поперечного сечения и формы, близкую к брусу равного сопротивлению изгибу. Она
отлита вместе с подпятником, служащим опорой кузова вагона и опорами для
скользунов. На каждом из двух опор скользунов размещаются перевернутые коробки
с регулировочными прокладками. Такая конструкция по сравнению с применяемой
ранее (коробки отливались заодно с надрессорной балкой, а вкладыши скользуна
укладывались в них, что в эксплуатации приводило к накоплению продуктов износа
и недопустимое уменьшение зазоров между скользунами тележки и кузова вагона),
обеспечивает самоудаление продуктов износа и постоянство отрегулированных
зазоров между скользунами.
Рессорное
подвешивание состоит из двух комплектов, каждый из которых имеет пять, шесть
или семь двухрядных цилиндрических пружин и два фрикционных клиновых гасителя
колебаний. Пять пружин устанавливают в тележки грузовых вагонов
грузоподъемностью до 50т, шесть - 60т и 7 - более 60т.
1.6 Автосцепное
оборудование
Ударно-тяговые
приборы относятся к основным и ответственным частям вагона. Они предназначены
для соединения вагонов между собой и локомотивом, удержания их на определенном
расстоянии друг от друга, передачи и смягчения действия продольных нагрузок
(растягивающих и сжимающих), которые возникают при движении поезда и при
маневрах.
Тягово-сцепные
приборы обеспечивают сцепление вагонов и локомотивов, передачу и смягчение
растягивающих усилий. Ударные приборы (буфера) передают и смягчают сжимающие
усилия и удерживают вагоны и локомотивы на определенном расстоянии друг от
друга.
Приборы,
предназначенные для непосредственного соединения вагонов и локомотивов,
называют автосцепкой, совокупность частей, передающих и смягчающих действие
тяговых усилий - упряжью. Если последняя расположена вдоль всего вагона и
передает его раме часть тягового усилия, равного сопротивлению данного вагона
движению, то такую упряжь называют сквозной. Если упряжные приборы расположены
по концам рамы вагона, и она воспринимает все тяговые усилия, передаваемые
упряжью, то упряжь называется несквозной, или разрезной. У цистерны 15-869
разрезная упряжь.
На
цистерне 15-869 установлено автоматическое ударно-тяговое сцепное устройство,
обеспечивающее сцепление без участия человека.
Переходу
к автоматической сцепке способствуют следующие преимущества:
1. достаточная
прочность сцепных приборов, соответствующая большим продольным усилиям,
возникающим в поездах большой массы.
2. уменьшение
тары вагонов тележной конструкции за счет облегчения концевых и боковых балок
рамы.
Автосцепное
оборудования состоит: из корпуса и расположенных в корпусе механизмов
(расцепной привод, ударно-центрирующий прибор, упряжное устройство, поглощающий
аппарат, опорные части).
Вагоны
и локомотивы магистральных железных дорог РФ оборудованы автоматической сцепкой
СА-3 утвержденной в 1934 году в качестве типовой (см. рис).
-большой
зуб
-замкожержатель
-замок
-малый
зуб
-упор
-отверстие
для клина.
Корпус
автосцепки СА-3 предназначен для передачи удурно-тяговых усилий упряжному
устройству и для расположения механизма. Корпус представляет собой стальную
полую отливку, которая состоит из головной части и хвостовика. Головная часть
имеет большой и малый зуб, который образуют зев. Из зева выступают части
деталей механизма - замка и замкодержателя.
Горизонтальную
проекцию зубьев, зева и выступающей части замка называют контуром зацепления
автосцепки. Для обеспечения взаимозацепляемости автосцепок контур зацепления
стандартизирован (ГОСТ 21447-75). Этот же контур зацепления принят для вновь
создаваемых автосцепок в европейских странах - -частниках ОСЖД.
Головная
часть корпуса имеет упор для передачи сжимающего усилия на раму кузова через
розетку, укрепленную на концевой балке, после полного сжатия поглощающего
аппарата и деформаций аппарата и упряжного устройства.
В
хвостовике корпуса есть отверстие для клина, соединяющего корпус с тяговым
хомутом упряжного устройства. Для облегчения горизонтального перемещения
корпуса торец его хвостовика выпилен цилиндрическим.
Автосцепное
устройство должно располагаться согласно ПТЭ и ГОСТ 3474-73 на высоте 1040-1080
мм над уровнем головки рельса.
1.7 Тормозное
оборудование
Для
регулирования скорости движения и остановки поезда нужно применять
дополнительные технические средства. Такую функцию выполняет тормозное
устройство.
Наибольшее
распространение получил колодочный тормоз, при котором торможение
осуществляется вследствие прижатия колодок к поверхности катания колес.
Передачу усилий от штока тормозного цилиндра к колодкам обеспечивает рычажная
передача. За счет соотношения плеч рычагов идет увеличение тормозной силы по
сравнению с силой, действующей на шток цилиндра.
На
современных вагонах применяется два вида тормозных колодок: чугунные и
композиционные. Последние обеспечивают лучший тормозной эффект. Их
рекомендуется устанавливать на вагоне, эксплуатируемым с большими скоростями
движения. На каждом вагоне, оборудованном тормозными площадками,
устанавливаются ручные тормоза, от тормозного штурвала усилие передается на
рычажную передачу и в случае выхода из строя пневматического тормоза ручной
является основным. Современные грузовые вагоны оборудованы стояночными
тормозами.
Цистерна
модели 15-869 имеет автоматический тормоз с воздухораспределителем № 483.000,
регулятором рычажной передачи № 574Б, стояночный тормоз. Переходной площадки с
ручным тормозом нет.
2.
Расчет кузова вагона на прочность
Расчет производится в соответствии с
"Нормами для расчета и проектирования вагонов, железных дорог МПС колеи
1520 мм 1996 (несамоходных). (далее по тексту «Нормами...»), с учетом ГОСТ
14249 "Сосуды и аппараты. Нормы и методы расчета на прочность".
Прочность котла цистерны в соответствии с
«Нормами...» оценивается при I
и III режиме:
По первому расчетному режиму
рассматривается относительно редкое сочетание экстремальных нагрузок. Основное
требование при расчете на прочность по этому режиму - не допустить появление
остаточных деформаций (повреждений) в узле или детали. В эксплуатации, первому
режиму расчета соответствует: осаживание и трогание тяжеловесного состава с
места; соударение вагонов при маневрах, в том числе при роспуске с
сортировочных горок; экстренное торможение в поездах при малых скоростях
движения.
По третьему расчетному режиму
рассматривается относительно частое возможное сочетание умеренных по величине
нагрузок, характерное для нормальной работы вагона в движущемся поезде.
Основное требование при расчете по этому режиму - не допустить усталостного
разрушения узла или детали. В условиях эксплуатации, третий расчетный режим
соответствует случаю движения вагона в составе поезда по прямым и кривым
участкам пути и стрелочным переводам с допускаемой скоростью, вплоть до
конструкционной; при периодических служебных регулировочных торможениях;
периодических умеренных рывках и толчках; штатной работе механизмов и узлов
вагона.
Дополнительно прочность элементов котла
оценивается при испытательном режиме.
Исходные данные для расчета
|
Геометрические
размеры котла, м
|
|
|
1.2.1
Длина котла наружная, Lн
|
12,95
|
|
1.2.2
Длина цилиндрической обечайки, Lц
|
9,300
|
|
1.2.3
Внутренний диаметр обечайки, D
|
3,000
|
|
1.2.4
Толщина листов обечайки котла
|
|
|
-
верхнего и среднего Sv,
|
0,010
|
|
-
нижнего Sn,
|
0,012
|
|
1.2.5
Толщина обечайки люка-лаза
|
0,012
|
|
1.2.6
Днища эллиптические ГОСТ 6533 толщина стенки, Sд
|
0,012
|
|
Нагрузки
действующие на котел
|
|
|
1.3.1
Сила тяжести (вес) цистерны брутто, Qбр, МН
|
0,922
|
|
1.3.2
Грузоподъемная сила, Qгр, МН
|
0,647
|
|
1.3.3
Условное рабочее давление в котле (избыточное давление в котле по регулировке
впускного клапана) Pп, Мпа
|
0,15
|
|
1.3.4
Давление создаваемое в котле при гидравлическом испытании, МПа
|
0,55
|
Все элементы котла запроектированы
из стали 09Г2С ГОСТ 5520-79 .
В соответствии с
"Нормами...", допускаемые напряжения для стали 09Г2С ГОСТ 5520-79,
для первого расчетного режима, при ударных продольных нагрузках принимаются
равными пределу текучести материала. Предел текучести для стали 09Г2С ГОСТ
5520-79 при толщине листов до 20 мм принимается: [σ]т
= 325 МПа
Для третьего расчетного режима, для
всех элементов котла допускаемые напряжения принимаются равными 195 МПа.
Допускаемые напряжения для
испытательного режима [σ]исп
определяются согласно «Нормам..»
[σ]исп
= 0,9[σ]т=292
МПа
В соответствии с «Нормами…», для
стали 09Г2С ГОСТ 5520-79 модуль упругости принимается равным 2.1*105
МПа, коэффициент Пуассона принимается равным 0.3.
РАСЧЕТНАЯ
СХЕМА КОТЛА ЦИСТЕРНЫ И ПРИНЯТЫЕ ДОПУЩЕНИЯ
В соответствии с рекомендациями
«Норм…» расчет производится методом конечных элементов, с использованием ANSIS.
В расчетной схеме учитывались, такие
геометрические особенности котла, как отверстия под сливной прибор, люк-лаз и
выштамповка в нижнем листе котла для слива, перевозимого продукта. Также в
расчетной схеме учитывались фасонные лапы, соединяющие котел с рамой платформы.
Вырезы в котле, под сливной прибор и люк лаз, а также фасонные лапы являются
концентраторами напряжений и учет данных особенностей котла предусмотрен
требованиями ГОСТ 14249.
Для более точного расчета
напряженно-деформированного состояния в зоне люка лаза, в расчетной схеме котла
учитывалась обечайка люка-лаза.
Для расчета используется
пластинчатая конечно-элементная модель котла.
Для расчета использовались
пластинчатые конечные элементы. Конечные элементы имеют квадратичную функцию
форму, что позволило с высокой точностью определить напряжения, возникающие в
зонах концентрации напряжений. Используемый конечный элемент имеет шесть
степеней свободы в каждом узле.
Конечно-элементная модель включает
26848 конечных элементов и 13680 узлов.
При всех расчетных режимах котел
радиально закреплялся в зонах лежневых опор, в зоне фасонных лап ограничивались
перемещения в продольном и поперечном направлениях, относительно продольной оси
вагона. Схема приложения нагрузок к котлу и конечно элементная модель показана
на рис.1
Рис.1- Кинематические, силовые граничные условия
и конечно элементная модель.
РАСЧЕТ НА
ПРОЧНОСТЬ КОТЛА
В соответствии с «Нормами…» котел
рассчитывается на прочность при первом и третьем расчетном режиме.
Сочетание нагрузок, действующих на
прочность при первом и третьем расчетном режиме, определяется в соответствии с
таблицей 2.3 «Норм…».
При расчете по первому расчетному
режиму принимается следующее сочетание нагрузок действующих на котел:
·
сила
тяжести жидкости;
·
сила
тяжести котла;
·
сила
инерции котла;
·
давление
от гидроудара, прикладывается по линейному закону, от максимального значения на
одном днище до нуля на другом;
·
рабочее
давление в котле (0,15 МПа).
Величина максимального давления от
гидроудара определяется отношением силы инерции жидкости к площади вертикальной
проекции днища
, (1)
где Nu -
cила инерции жидкого продукта, определяется по формуле
, (2)
где N - продольная сила удара,
приложенная к автосцепке вагона - равная при I режиме( удар)- - 3.5МН, при III
режиме - 1.0 МН,
Подставив значения величин в формулы
(1) и (2), получим:
) для первого режима удар
МН.
МПа.
) для третьего режима
МН.
МПа
Сила инерции котла определялась
путем приложения к конечно-элементной модели котла ускорения определяемого по
формуле
, (3)
где mбр- масса
вагона с грузом (94 т).
Подставляя данные, в формулу 3
получаем, что величина продольного ускорения котла, при первом расчетном
режиме, составляет 37,23 м/с2.
При расчете по третьему расчетному
режиму принимается следующее сочетание нагрузок действующих на стойку:
·
сила
тяжести жидкости;
·
сила
тяжести котла;
·
сила
инерции котла;
·
давление
от гидроудара, прикладываемое по линейному закону, от максимального значения на
одном днище до нуля на другом;
·
рабочее
давление в котле;
·
вертикальная
динамическая сила, определяется умножением силы тяжести груза и веса котла на
коэффициент вертикальной динамики, для котла вагона-цистерны.
Коэффициент вертикальной динамики в
соответствии с «Нормами…», определяется по формуле
, (4)
где
- среднее вероятное значение
коэффициента вертикальной динамики;
- параметр распределения, согласно
«Нормам…» принимается равным 1,13;
- доверительная вероятность, с
которой определяется коэффициент вертикальной динамики;
Среднее вероятное значение
определяется
по формуле
, (5)
где
- коэффициент, равный для элементов
кузова 0,05;
- коэффициент, учитывающий влияние
числа осей n в тележке под одним концом экипажа, определяется по формуле
; (6)
V -
конструкционная скорость движения, м/c;
- статический прогиб рессорного
подвешивания, м. Для тележки модели 18-100
принимается равный 0.05.
Подставляя данные в формулу (3)
получаем коэффициент вертикальной динамики равный 0.341.
При нагружении котла испытательным
давлением учитывался вес жидкости и котла. Величина испытательного давления
принимается согласно техническим условиям Ри= 0,55 МПа.
В результате расчета были получены
напряжения, возникающие в котле при первом, третьем и испытательном расчетных
режимах.
Максимальные эквивалентные
напряжения в котле при всех расчетных режимах возникают в зоне фасонных лап и
выштамповки нижнего листа, и составляют для первого режима (удар) 320 МПа, при
допускаемых 325 МПа. Для третьего расчетного режима максимальные напряжения
составили порядка 168 МПа, при допускаемых 195 МПа. Для испытательного режима
максимальные напряжения составили порядка 263 МПа, при допускаемых 292 МПа.
Боле подробно уровни напряжений в различных зонах котла при различных режимах
расчета приведены в таблицах 1-3.
Таблица 1 Максимальные напряжения в различных
зонах котла при при нагружении конструкции испытательным давлением
|
Зона
котла
|
Максимальные
эквивалентные напряжения, МПа
|
Допускаемые
напряжения, МПа
|
|
Зона
люка лаза
|
257
|
325
|
|
Фасонные
лапы
|
210
|
325
|
|
Днища
котла
|
64
|
325
|
|
Нижний
лист котла в зоне сливного прибора и фасонных лап
|
320
|
325
|
|
Нижний
лист котла в зоне лежневых опор
|
174
|
325
|
Таблица 2 Максимальные напряжения в различных
зонах котла при первом режиме (удар).
|
Зона
котлаМаксимальные эквивалентные напряжения, МПаДопускаемые напряжения, МПа
|
|
|
|
Зона
люка лаза
|
166
|
292
|
|
Фасонные
лапы
|
224
|
292
|
|
Днища
котла
|
98
|
292
|
|
Нижний
лист котла в зоне сливного прибора и фасонных лап
|
263
|
292
|
|
Нижний
лист котла в зоне лежневых опор
|
220
|
292
|
Таблица 3 Максимальные напряжения в различных
зонах котла при третьем режиме.
|
Зона
котлаМаксимальные эквивалентные напряжения, МПаДопускаемые напряжения, МПа
|
|
|
|
Зона
люка лаза
|
88
|
195
|
|
Фасонные
лапы
|
95
|
195
|
28
|
195
|
|
Нижний
лист котла в зоне сливного прибора и фасонных лап
|
168
|
195
|
|
Нижний
лист котла в зоне лежневых опор
|
102
|
195
|
Из полученных результатов можно
сделать вывод, что прочность котла удовлетворяет требованием «Норм…» при всех
расчетных режимах.
а)
б)
Рис.2- Распределение эквивалентных напряжений
при нагружении испытательным давлением.
а - общее напряженно-деформированное состояние;
б - зона фасонных лап.
а)
б)
Рис.3- Распределение эквивалентных напряжений
при третьем режиме
а - общее напряженно-деформированное состояние;б
- зона фасонных лап.
а)
б)
Рис.4- Распределение эквивалентных напряжений
при первом режиме (удар).
а - общее напряженно-деформированное состояние;
б - зона фасонных лап.
Общие выводы и рекомендации по результатам
расчетов
Максимальные эквивалентные
напряжения в котле при всех расчетных режимах возникают в зоне фасонных лап и
выштамповки нижнего листа, и составляют для первого режима (удар) 320 МПа, при
допускаемых 325 МПа. Для третьего расчетного режима максимальные напряжения
составили порядка 168 МПа при допускаемых 195 МПа. Для испытательного режима
максимальные напряжения составили порядка 263 МПа при допускаемых 292 МПа.
По результатам проведенных расчетов
можно сделать вывод: прочность котла при всех расчетных режимах удовлетворяет
требованием «Норм…»
3.
Расчет ходовых частей вагона
Колёсная пара (см. рис. 14) состоит из оси 1
и двух укреплённых на ней колёс 2. Типы, основные размеры и технические
условия на изготовление вагонных колёсных пар определены Государственными
стандартами, а содержание и ремонт - Правилами технической эксплуатации
железных дорог (ПТЭ) и Инструкцией по осмотру, освидетельствованию, ремонту и
формированию колёсных пар. Тип колёсной пары определяется типом оси и диаметром
колёс , а также конструкцией подшипника и способом крепления его на оси
(см.табл.4).
Таблица 4
Типы колёсных пар вагонов
|
Тип
колёсной пары
|
Тип
оси
|
Диаметр
колеса, мм
|
Тип
подшипника на колёсной паре
|
Применение
|
|
РУ1-950
|
РУ1
|
950
|
Качения
|
На
всех грузовых и пассажирских вагонах постройки после 1963 г.
|
|
РУ1Ш-950
|
РУ1Ш
|
950
|
Качения
|
На
всех грузовых и пассажирских вагонах постройки с 1979 г.
|
|
РУ-950
|
РУ
|
950
|
Качения
|
На
всех грузовых и пассажирских вагонах постройки до 1964 г.
|
|
РУ-1050
|
РУ
|
1050
|
Качения
|
На
пассажирских вагонах постройки до 1959 г.
|
|
III-950
|
III
|
950
|
Скольжения
|
На
грузовых вагонах старых типов
|
Типы вагонных осей различают по размерам и форме
шейки - для роликовых подшипников качения и подшипников скольжения. Размеры оси
устанавливают в зависимости от величины расчётной нагрузки, воспринимаемой при
эксплуатации вагона.
Рис.14 Колёсная пара и форма
шейки оси
Колёсные пары III-950
предназначены для эксплуатации с подшипниками скольжения, а колёсные пары
РУ1-950, РУ1Ш-950, РУ-950 и РУ-1050 - с роликовыми подшипниками (РУ - роликовая
унифицированная, Ш - крепление подшипников приставной шайбой). Исходя из
расчётной нагрузки, определяют диаметры шеек 3, 4, 5 (см.
рис. 2.1), подступичной 7 и средней 8 частей оси. Предпоступичная
часть 6 является ступенью перехода от шейки к подступичной части оси и
служит для установки уплотняющих устройств буксы. На подступичных частях 7
прочно закрепляются колёса 2. В настоящее время в эксплуатации находятся
ещё небольшое число колёсных пар с осями III
типа с подшипниками скольжения, которые заменяют роликовыми. На торцах их шеек 5
имеются буртики 6, ограничивающие продольные перемещения подшипников
скольжения, располагающихся в верхних частях.
Колёсные пары с осями, предназначенными для
эксплуатации с роликовыми подшипниками, различают между собой конструкцией
торцового крепления внутренних колец роликовых подшипников на шейке: 3 -
с нарезанной частью а для навинчивания корончатой гайки; 4 - при
помощи приставной шайбы, для чего на торцах делаются отверстия с нарезкой для
болтов крепле- ния. Такое крепление выполнено в двух вариантах: тремя или
четырьмя болтами. Колёсные пары с формой шейки 3 обозначают РУ1, а с формой 4 -
РУ1Ш. В эксплуатации ещё находится небольшое число колёсных пар с осями типа РУ
с диаметром шеек 135 мм. В настоящее время они изымаются. Основным типом
колёсных пар являются конструкции с цельнокатаными стальными колёсами по кругу
катания 950 мм. В пассажирских вагонах старых типов осталось малое число
колёсных пар с диаметром 1050 мм.
Большое внимание прочности и надёжности колёсных
пар уделялось при создании первых вагонов. В связи с увеличением
грузоподъёмности и тары вагонов, а также скорости движения поездов возрастали
нагрузки, действующие на колёсные пары, что требовало усиления их элементов. В
результате возрастали диаметры осей, совершенствовались конструкции колёс и
повышалась прочность посадки их на ось.
В 1948 г. по ГОСТ 4007-48 установлены четыре
типа осей, различающихся размерами в зависимости от допускаемой статической
нагрузки на ось (см. табл.5).
Таблица 3.1
Типы осей и допускаемые нагрузки
|
Тип
оси
|
Диаметр
шейки, мм
|
Диаметр
подступичной части, мм
|
Диаметр
средней части, мм
|
Нагрузка
на рельсы от оси, т. не более
|
|
I
|
110
|
155
|
140
|
12,5
|
|
II
|
120
|
165
|
145
|
17,0/15,0
|
|
III
|
145
|
182
|
160
|
20,5/18,0
|
|
IV
|
155
|
200
|
165
|
25,0
|
Примечания:
1) тип
оси IV - для
думпкаров и транспортёров;
2) в
знаменателе - для пассажирских вагонов.
Вагонная ось (см. рис. 15) является составной
частью колёсной пары и представляет собой стальной брус круглого, переменного
по длине поперечного сечения. На подступичных частях 3 оси располагаются
колёса, укреплённые жёстко или подвижно, а на шейках 1 размещаются
подшипники. Вагонные оси различаются между собой размерами, определяемыми в
зависимости от заданной нагрузки; формой шейки оси в соответствии с применяемым
типом подшипника - для подшипников качения и подшипников скольжения; формой
круглого поперечного сечения - сплошные или полые; способом торцового крепления
подшипников качения на шейке оси - корончатой гайкой или шайбой.
Кроме того, оси классифицируются по материалу и
технологии изготовления. Между шейками 1 и подступичными частями 3
находятся предпоступичные части 2, служащие для размещения деталей
задних уплотняющих устройств букс, а также снижения концентрации напряжений в
переходных сечениях от подступичных частей к шейкам оси. В местах изменения
диаметров для снижения концентрации напряжений имеются плавные сопряжения -
галтели, выполненные определёнными радиусами: от шейки 1 - к
предпоступичной 2, от предпоступичной - к подступичной 3 и от
средней 4 - к подступичной частям.
Снижение концентрации напряжений, вызванных
посадкой внутреннего кольца роликового подшипника, обеспечивается разгружающей
канавкой, расположенной у начала задней галтели шейки оси (см. рис. 15, г).
Оси для подшипников качения на концах шеек имеют
нарезную часть (см. рис. 15, а) для навинчивания корончатой гайки, на
торце имеется паз с двумя нарезными отверстиями для постановки и крепления
двумя болтами стопорной планки. В вагонных осях с креплением подшипников
качения при помощи приставной шайбы в торцах шеек делают нарезные отверстия для
болтов (см. рис.15, б) в дух вариантах: при помощи трёх или четырёх
болтов. Оси для подшипников скольжения по торцам шеек имеют буртики М (см. рис.
15, в), служащие для ограничения смещения подшипников вдоль оси наружу
при движении вагона. На торцах всех типов осей предусмотрены центровые
отверстия (см. рис.15, д, е), служащие для установки и
закрепления оси или колёсной пары в центрах при обработке на токарном станке.
Форма и размеры центровых отверстий стандартизованы.
Рис.15 Типы вагонных осей
Оси колёсных пар, оборудуемых дисковым тормозом,
а также оси, на которых предусмотрена установка привода подвагонного
генератора, имеются посадочные поверхности для установки тормозных дисков или
деталей редуктора. Основные размеры и допускаемые нагрузки для стандартных
типов осей вагонов широкой колеи, кроме вагонов электро- и дизель-поездов
приведены в табл.6.
На шейки осей РУ1 и РУ1Ш устанавливают роликовые
подшипники с наружным диаметром 250 мм, а на оси РУ - диаметром 280 мм. Поэтому
посадочные диаметры у них разные. Диаметры шеек оси III
типа, применяемой в вагонах старых типов, используемых в основном на подъездных
путях промышленных предприятий, имеет больший диаметр шеек в связи с возможными
переточками в эксплуатации. Для грузовых вагонов с повышенными нагрузка-ми от
колёсной пары на рельсы до 245 кН предусмотрена усиленная ось, имеющая
увеличенные диаметры.
Оси проектируют в исполнении УХЛ по ГОСТ 15150.
Для вагонов магистральных дорог колеи 1520 мм оси изготавливают из осевой
заготовки по ГОСТТ 4728: для вагонов основных типов применяется сталь марки
ОсВ, для вагонов электропоездов - сталь марки ОсЛ. Химический состав осевой
стали в %: углерода 0,4…0,48, марганца 0,55…0,85, кремния 0,15…0,35, фосфора -
не более 0,04, серы - не более 0,45; хрома и никеля - не более каждого по 0,3;
меди - не более 0,25.
Таблица 3.2
|
Тип
оси
|
Диаметр,
мм
|
Длина
шейки, мм
|
Общая
длина оси, мм
|
Расстояние
между центрами приложения нагрузки на шейки, мм
|
Наибольшая
статическая нагрузка от колёсной пары вагонов на рельсы, кН ( )
|
|
шейка
|
предпоступичная
часть
|
подступичная
часть
|
середина
|
|
|
|
Грузовые
|
Пассажирские
|
|
РУ1
|
130
|
165
|
194
|
165
|
176
|
2295
|
2036
|
230(23,5)
|
176,5
(18)
|
|
РУ1Ш
|
130
|
165
|
194
|
165
|
190
|
2294
|
2036
|
230
(23,5)
|
176,5
(18)
|
|
РУ
|
135
|
165
|
194
|
165
|
248
|
2390
|
2036
|
230
(23,5)
|
176,5
(18)
|
|
III
|
145
|
170
|
194
|
165
|
254
|
2330
|
2036
|
230
(23,5)
|
|
|
140
|
175
|
205
|
170
|
190
|
2216
|
2036
|
245
(25)
|
|
3.1
Определение основных размеров колесной пары. Расчет оси и колеса
При условном (приближённом) методе
расчёта на прочность ось рассматривается в статическом состоянии, на неё
действует система сил (см. рис.16), состоящая из вертикальной силы, равной
и
горизонтальной:
,
где
- максимальная статическая
расчётная или фактическая нагрузка от кол- ёсной пары на рельсы.
Множители в выражениях по
определению горизонтальной и вертикальной сил учитывают динамической действие
сил соответственно в вертикальном и горизонтальном направлениях.
Рис. 16 Схема действия сил при
условном методе расчёта оси колёсной пары
Расчёт и выбор соответствующих значений величин
будем производить, руководствуясь Нормами для расчёта и проектирования новых и
модернизируемых вагонов железных дорог МПС колеи 1520 мм (несамоходных) и
ГОСТом 4835-80.
Исходные данные:
тип оси колёсной пары - РУ1Ш;
фактический диаметр шейки оси
мм;
фактический диаметр подступичной
части оси
мм;
фактический диаметр середины оси
мм;
допускаемый износ по длине шейки оси
м.
осевая нагрузка
т;
количество осей вагона
;
вес брутто вагона
т.
Вычисление нагрузок.
Осевая нагрузка (выраженная в единицах СИ), Н:
;
Н = 0,229 МН.
Вес колёсной пары (выраженный в
единицах СИ), Н:
,
где
- масса колёсной пары РУ1Ш,
= 1,2 т;
Н.
Вертикальная нагрузка, действующая
на колёсную пару, Н:
;
Н.
1) Определение
изгибающих моментов.
Изгибающий момент в первом расчётном
сечении,
:
,
где
- расстояние от центра оси колёсной
пары до центра тяжести кузова,
= 1,45 м;
- расстояние между центрами
приложения нагрузки на шейки,
= 2,036 м;
- длина шейки оси,
= 0,19 м;
- коэффициент, учитывающий
увеличение длины шейки при износе бурта (вводится для букс с подшипниками
скольжения),
= 0;

≈ 0,020
.
Изгибающий момент во втором
расчётном сечении,
:
,
где
- половина расстояния между
центрами приложения нагрузки на шейки, м:
;
м;
s - половина
расстояния между кругами катания, м:
,
где 2s -
расстояние между кругами катания, 2s = 1,58 м;
м;
- радиус средне изношенного колеса,
= 0,45 м;

≈
≈ 0,098
.
Изгибающий момент в третьем
расчётном сечении,
:
;

≈ 0,056
.
1) Нахождение
диаметров оси.
Диаметр шейки оси, мм:
,
где
- допускаемое напряжение для шейки
оси,
Па;
мм ≈ 0,1201 м.
С учётом припусков на обработку
окончательно принимаем, мм:
;
мм ≈ 0,1221 м.
Замечаем, что условие
≤
выполняется.
Диаметр подступичной части оси, мм:
,
где
- допускаемое напряжение для
подступичной части оси,
Па;
мм ≈ 0,1823 м.
С учётом припусков на обработку
окончательно принимаем, мм:
;
мм ≈ 0,1883 м.
Замечаем, что условие
≤
выполняется.
Диаметр средней части оси, мм:
,
где
- допускаемое напряжение для
средней части оси,
Па;
мм ≈ 0,1542 м.
С учётом припусков на обработку
окончательно принимаем, мм:
;
мм ≈ 0,1602 м.
Замечаем, что условие
≤
выполняется
Вывод: по
результатам условного метода расчёта при осевой нагрузке
т условие
прочности оси колёсной пары РУ1Ш грузового вагона обеспечено, так как все
рассчитанные диаметры оси меньше допускаемых.
3.2 Выбор буксовых подшипников
В настоящее время в России более 95%
грузового вагонного парка и весе пассажирские вагоны оборудованы буксами с
подшипниками качения.
Типовая букса с глухой подшипниковой
посадкой внутреннего кольца цилиндрических роликовых подшипников на шейку оси
применяется в современных грузовых и пассажирских вагонах.
На железных дорогах России наиболее
широко распространены буксы на горячей посадке вследствие их преимуществ.
Современная типовая букса с двумя цилиндрическими роликовыми подшипниками для
любого типа грузового вагона может иметь два вида торцового крепления
внутренних колец от продольного сдвига - торцовой корончатой гайкой или
тарельчатой шайбой. Букса с торцовым креплением гайки (см. рис.17, а, б)
имеет корпус 1 с приливами 15, в котором размещены передний 2
и задний 3 подшипники с короткими цилиндрическими роликами.
Со стороны колеса корпус закрыт
лабиринтным уплотнением 4 (съёмныё лабиринт) и 5 (лабиринтное
кольцо), а впереди - крепительной 8, укреплённой болтами 16 к
корпусу и смотровой 10 крышками с болтами 6 и шайбами 9.
Крепительная крышка из стали или алюминиевого сплава прочно удерживает наружные
кольца роликовых подшипников 2 и 3 в буксе, не позволяя им
проворачиваться и перемещаться вдоль оси при вращении колёсной пары. Внутренние
кольца подшипников закреплены на шейке оси с торца корончатой гайкой 11,
стопорной планкой 13 и болтами 12. Между корпусом буксы 1
и крепительной крышкой 8 установлено уплотнительное кольцо 7,
обеспечивающее герметизацию буксового узла. Внутренняя полость буксы заполнена
консистентной смазкой, обеспечивающей надёжную работу подшипников в сложных
условиях их нагружения.
Рис.17 Букса грузового вагона с
двумя цилиндрическими роликовыми подшипниками:
а
- конструкция; б - торцовое крепление внутреннего кольца корончатой гайкой; в -
торцовое крепление внутреннего кольца тарельчатой шайбой
Другой вариант торцового крепления внутренних
колец подшипников отличается следующими особенностями (см. рис.17, в). К
торцу шейки оси тремя или четырьмя (варианты) болтами 21 укрепляется
тарельчатая шайба 17, которая своими выступающими краями нажимает на
приставное кольцо 18 и прочно закрепляет внутренние кольца подшипников 19
и 20 на шейке оси 14, удерживая их от продольного сдвига при
действии осевых нагрузок.
Буксы на горячей и втулочной посадке имеют свои
преимущества и недостатки. Преимуществами букс с глухой подшипниковой посадкой
является снижение массы вследствие отсутствия втулки и уменьшения габаритных
размеров подшипника; сокращение почти в 5 раз затрат труда на монтаж и демонтаж
подшипников, а в связи с этим в два с половиной раза снижение эксплуатационных
затрат на ремонт букс. Однако, при таком способе посадки нередко наблюдается
потеря натяга.
В буксах современных вагонов применяют
радиальные роликовые подшипники с короткими цилиндрическими роликами двух
типов: однорядные с цилиндрическими роликами и однобортовым внутренним кольцом
(см. рис.18, а); однорядные с безбортовым внутренним кольцом и плоским
приставным упорным кольцом. В буксах вагонов прежних лет постройки использовали
двухрядные сферические роликовые подшипники на втулочной посадке кольцом (см.
рис.18, б).
Рис.
18 Типы роликовых подшипников:
а
-
цилиндрический на горячей посадке;
б
- сферический на втулочной посадке
Подшипники состоят из наружного 1 и
внутреннего 3 колец, роликов 2 и сепараторов 4. Кольца и
ролики изготавливают из сталей марок ШХ4, ШХ15 и ШХ15СГ. Сталь марки ШХ4
регламентируемой прокаливаемости обладает более высокой твёрдостью
поверхностного слоя и достаточной вязкостью внутренних волокон, что
обеспечивает более высокую устойчивость хрупкому разрушению по сравнению со
сталями марок ШХ15 И ШХ15СГ.
Ролики цилиндрического подшипника имеют скосы у
торцов. У подшипников на горячей посадке ролики с 1973 г. изготавливали с
рациональным контактом с поверхностью дорожек качения колец - с так называемой
”бомбиной”.
Расчёт вагонных подшипников качения
Расчёт подшипников качения производиться на
основании ГОСТ 18855-73.
Исходные данные:
количество осей вагона
;
вес брутто вагона
т;
тип оси колёсной пары - РУ1Ш;
масса колёсной пары РУ1Ш
= 1,2 т;
диаметр средне изношенного колеса
= 0,9 м;
расчётный диаметр шейки оси (см. гл.
2.2)
мм;
количество цилиндрических роликовых
подшипников в одной буксе
;
расчётная долговечность подшипников
для грузовых вагонов
тыс. км.
Выбор цилиндрических роликовых
подшипников качения на горячей посадке.
Вес брутто (выраженный в единицах
СИ), Н:
;
Н.
Вес колёсной пары (выраженный в
единицах СИ), Н:
,
Н.
Статическая нагрузка на один
цилиндрический роликовый подшипник, Н:
;
Н.
Динамическая эквивалентная нагрузка
для цилиндрических роликовых подшипников, Н:
,
где
- коэффициент, учитывающий
динамичность приложения нагрузки,
= 1,3 (для грузовых вагонов);
Н.
Необходимая динамическая
грузоподъёмность при установленной долговечности
в тыс. км определяем по [2, (6)],
Н:
;
Н.
Учитывая полученную динамическую
грузоподъёмность С =
и диаметр шейки
мм, которая
равняется внутреннему диаметру или диаметру посадочной втулки подшипника d, выбираем
подшипники по [2, табл. 1]:
тип - 3232226Л2, 3042226Л1;
наружный диаметр - D = 230
мм;
внутренний диаметр - d = 130 мм;
ширина - B = 80 мм;
количество роликов - z = 16;
тип посадки - горячая;
динамическая грузоподъёмность -
= 481000 Н.
3.3 Расчёт рессорного подвешивания
Упругие элементы, являясь
составной частью рессорного подвешивания, смягчают толчки и удары, действующие
на движущийся вагон от рельсового пути. В качестве упругих элементов применяют
витые стальные пружины, резиновые, пневматические, торсионные, стальные
листовые рессоры. Пружина - упругий элемент, изготовленный завивкой.
В ходовых частях современных вагонов
наибольшее распространение получили витые цилиндрические пружины (см. рис.19, а),
которые по сравнению с применяемыми ранее листовыми рессорами позволяют
получать необходимые упругие характеристики при меньших массах и габаритных
размерах, а в сочетании с гасителями колебаний обеспечивать более спокойный ход
вагона. Кроме того, пружины могут смягчать горизонтальные толчки и удары, что
не могут листовые рессоры, пружины также гораздо проще в изготовлении и
ремонте, чем листовые рессоры. В силу своих преимуществ цилиндрические пружины
(см. рис.19, а) почти вытеснили широко применяемые ранее листовые
рессоры. Хотя конические рессоры (см. рис. 19, б) имеют более
благоприятную силовую характеристику, но сложны в изготовлении и ремонте.
Поэтому они не нашли широкого распространения в вагоностроении.
Рис.19 Витые пружины:
а -
цилиндрическая;
б - коническая
Под действием вертикальной расчётной
силы
(в
дальнейшем P без
индекса) пружина прогнётся, в материале возникнут напряжения. Рассматривая
произвольное поперечное сечение витка (см. рис. 20, а), приложим к его
центру равные и противоположно направленные силы P, что не
приведёт к нарушению равновесия. В результате крутящий момент M пары сил P на плече R вызовет
деформацию кручения
в
поперечном сечении прутка (рис. 20, б), а сила P,
направленная вниз, - деформацию среза
(см. рис. 20, в).
Если для обеспечения прочности и необходимых
гибких свойств однорядной пружины получаются слишком большие её габаритные
размеры, то целесообразно применять многорядные пружины. В связи с этим в
вагонах наибольшее распространение получили двухрядные пружины, а в центральном
подвешивании тележек пассажирских вагонов - трёхрядные. Заметим, что двухрядная
пружина работает по системе с параллельным их расположением в комплекте.
Рис. 20 Расчётная схема
цилиндрической пружины: а - схема действия сил; б - распределение в
сечении прутка касательных напряжений от действия крутящего момента М; в -
распределение касательных напряжений от действия перерезывающей силы Р
При проектировании рессорного подвешивания
вагона необходимо руководствоваться Нормами для расчёта и проектирования новых
и модернизируемых вагонов железных дорог МПС колеи 1520 мм (несамоходных).
Исходные данные:
вес брутто вагона
т;
конструктивная скорость
км/ч.
Определение искомых параметров
рессорного подвешивания.
Определяем массу надрессорного
строения вагона, т:
,
где
- масса тележки,
= 4,9 т
(для тележки ЦНИИ-Х3-0);
- масса надрессорной балки,
= 0,5 т;
т.
Вес надрессорного строения, Н:
;
Н.
Кузов вагона с заданной скоростью
движения при схеме рессорного подвешивания тележки по типу ЦНИИ-Х3-0 подвешен
на 4-х рессорных комплектах (по 2 комплекта на каждой тележке), каждый элемент
состоит из сети упругих элементов.
Статическая нагрузка на один упругий
элемент (пружину) определяется выражением, Н:
,
где
- количество тележек,
= 2;
- количество комплектов на тележке,
= 2;
- количество упругих элементов в
комплекте,
= 7;
Н.
Расчётная нагрузка на одну пружину,
Н:
,
где
- коэффициент конструктивного
запаса,
= 1,8
(по рекомендации [3,c.5]);
Н.
Вычислим коэффициент кривизны
прутка:
,
где
- индекс пружины,
= 6.
.
Диаметр прутка находим по условию
обеспечения прочности пружины, м:
,
где
- допускаемое суммарное напряжение
от напряжений кручения
и
касательных напряжений
,
Па;
;
м.
;
м.
Количество рабочих витков равняется:
,
где
- статический прогиб рессорного
подвешивания,
= 0,05 м (по
реко- мендации [3, с. 4];
G - модуль
сдвига материала пружины,
Па;
.
Жёсткость пружины, Н/м:
;
Н/м.
Для создания более компактного
рессорного подвешивания заменим полученную пружину эквивалентной ей двухрядной.
Наружный диаметр прутка пружины, м:
,
где s - зазор
между внутренней и наружной пружинами, s = 0,003 м
(по реком- ендации [3, c. 9];
= 0,0303 м.
Внутренний диаметр прутка пружины,
м:
;
м.
По ГОСТ 2590-71 принимаем:
наружный диаметр прутка пружины
м;
внутренний диаметр прутка пружины
м.
Средние диаметры пружин, м:
;
;
м;
м.
Количество рабочих витков наружней и
внутренней пружин:
;
;
;
.
Высота наружной и внутренней пружин
в сжатом состоянии до соприкосновения витков, м:
;
;
м;
м.
Расчётный (максимальный) статический
прогиб, м:
;
м.
Высота наружной и внутренней пружин
в свободном состоянии, м:
;
;
м;
м.
Для выравнивания высот наружной и
внутренней пружин необходимо предусмотреть прокладку под внутреннюю пружину
толщиной, м:
;
м.
Во избежание потери устойчивости или
значительного искривления пружины при сжатии необходимо выполнения следующего
условия:
≤ 3,5.
В нашем случае условие устойчивости
определяем по параметрам наружной пружины, определяющей устойчивость гнезда в
целом:
≤ 3,5;
≤ 3,5.
Вывод: таким
образом, комплект, состоящий из семи двухрядных пружин, будет устойчивым.
Жёсткости наружной и внутренней
пружин определяются так, Н/м:
;
;
Н/м;
Н/м.
Суммарная жёсткость двухрядной
пружины составит, Н/м:
;
Н/м.
Погрешность по сравнению с
необходимой жёсткостью составляет, %:
;
;
%.
Вывод: расчёт
является корректным, так как полученная погрешность не превышает 5%.
3.4 Расчет рамы и других деталей
тележки
3.4.1 Расчет рамы тележки
Настоящий расчет выполнен с целью оценки
прочности боковой рамы тележки модели 18-100.
Расчет производится в соответствии с
"Нормами для расчета и проектирования вагонов, железных дорог МПС колеи
1520 мм 1996 (несамоходных). (далее по тексту «Нормами...»).
Прочность боковой рамы в соответствии с
«Нормами...» оценивается при двух расчетных режимах:
·
По первому расчетному режиму рассматривается
относительно редкое сочетание экстремальных нагрузок. Основное требование при
расчете на прочность по этому режиму - не допустить появление остаточных
деформаций (повреждений) в узле или детали. В эксплуатации, первому режиму
расчета соответствует: осаживание и трогание тяжеловесного состава с места;
соударение вагонов при маневрах, в том числе при роспуске с сортировочных
горок; экстренное торможение в поездах при малых скоростях движения.
·
По третьему расчетному режиму рассматривается
относительно частое возможное сочетание умеренных по величине нагрузок,
характерное для нормальной работы вагона в движущемся поезде. Основное
требование при расчете по этому режиму - не допустить усталостного разрушения
узла или детали. В условиях эксплуатации, третий расчетный режим соответствует
случаю движения вагона в составе поезда по прямым и кривым участкам пути и стрелочным
переводам с допускаемой скоростью, вплоть до конструкционной; при периодических
служебных регулировочных торможениях; периодических умеренных рывках и толчках;
штатной работе механизмов и узлов вагона.
Исходные
данные
Боковая рама изготовлена из стали 20ГФЛ,
допускаемое напряжение, для которой по 3 расчетному режиму составляют 150МПа.
Расчетная
схема и принятые допущения:
Расчет производился методом конечных элементов с
использованием конечно элементного пакета ANSYS
8.0. Для расчета была создана стержневая конечно элементная модель боковой
рамы. Особенность боковой рамы, заключающаяся в наличии протяженных узлов,
учитывалось путем задания в узлах абсолютно жестких стержней. Длина абсолютно
жестких стержней принималась равной 2/3 протяженности узла, на 1/3
протяженности узла в узел заходил деформируемый стержень.
Боковая рама нагружалась тремя силами,
приложенными к нижнему поясу. Величина нагрузки складывалась из трех
составляющих:
- вертикальной статической нагрузки;
- вертикальной динамической нагрузки;
- вертикальной добавки от действия боковой силы.
Вертикальная динамическая нагрузка определялась
путем умножения статической нагрузки на коэффициент вертикальной динамики.
Коэффициент вертикальной динамики в соответствии
с «Нормами…», определяется по формуле (1):
(1)
где:
- среднее вероятное значение
коэффициента вертикальной динамики;
- параметр распределения, согласно
«Нормам…» принимается равным 1,13.
- доверительная вероятность, с
которой определяется коэффициент вертикальной динамики;
Среднее вероятное значение
определяется
по формуле (2):
(2)
где:
- коэффициент, равный для
необрессоренных частей тележки 0,05.
- коэффициент, учитывающий влияние
числа осей n в тележке под одним концом экипажа, определяется по формуле (3):
; (3)
V -
конструкционная скорость движения, м/c;
- статический прогиб рессорного
подвешивания, м. Для тележки модели 18-100
принимается равный 0.05.
Подставляя данные в формулу (2)
получаем коэффициент вертикальной динамики равный 0.52.
Расчетная схема боковой рамы
показана на рис.3.1
Рис. 3.1 Расчетная схема боковой
рамы тележки
Результаты
расчета
В результате расчета были получены напряжения,
возникающие в боковой раме. Распределение эквивалентных напряжений по теории
Мизеса показано на рис.3.2
Рис.3.2 Распределение эквивалентных напряжений в
боковой раме (вид сверху и вид снизу)
Как видно из рис.3.2 наибольшие напряжения
возникают на нижних волокнах нижнего пояса величина этих напряжений составляет
119 МПа, что не превосходит допускаемых.
Характеристики
поперечных сечений стержневых конечных элементов.
Рис.3.3 Сечение № 1 (Верхний пояс)
Рис.3.4 Сечение № 2 (Наклонный верхний пояс)
Рис.3.5 Сечение № 3 (Наклонный пояс)
Рис.3.6 Сечение № 4 (Нижний пояс)
Рис.3.7 Сечение № 5 (Колонка)
Выводы: условие
прочности рамы тележки проектируемого вагона по результатам расчёта при осевой
нагрузке
т для I режима и III режима
обеспечено, так как действительные напряжения меньше допускаемых
.4.2 Гасители колебаний
При движении вагона по периодическим
неровностям пути (стыкам рельсов, например) со скоростью, когда частоты
вынужденных и собственных колебаний близки по величине, могут возникать большие
амплитуды колебаний кузова на рессорах (резонанс), если в системе рессорного
подвешивания отсутствуют или малы силы сопротивления. Поэтому для гашения
резонансных колебаний в систему рессорного подвешивания вводят специальные
гасители, которые позволяют снизить амплитуды и ускорения колебательного
движения, а следовательно, уменьшить воздействие динамических сил на элементы
вагона и перевозимый в нём груз. Многочисленные разновидности конструкций
гасителей колебаний, применяемых в подвижном составе, можно объединить в две
большие группы: фрикционные и вязкого сопротивления. Рассмотрим только
фрикционные гасители колебаний.
Фрикционные клиновые гасители
колебаний широко применяют в тележках грузовых вагонов. Так, в двухосных
тележках типа ЦНИИ-Х3 фрикционный гаситель колебаний состоит из двух
фрикционных клиньев 2 (см. рис. 21), размещённых между наклонными
поверхностями концов надрессорной балки 1 и фрикционными планками 3,
укреплёнными на колонках 4 боковой рамы тележки. Клинья опираются на
двухрядные цилиндрические пружины 5
Рис. 3.8Фрикционный гаситель колебаний
Работа таких гасителей заключается в следующем.
При вертикальных колебаниях надрессорной балки 1 совместно с
обрессоренными массами вагона фрикционные клинья 2 перемещаются вниз и вверх
относительно фрикционных планок 3. В результате между клиньями и
планками возникают силы трения, создающие сопротивление колебательному
движению. При этом величина силы трения прямо пропорциональна прогибу пружин и
возрастает с его увеличением, так как клинья прижимаются с большей силой.
Работа сил трения преобразуется в тепловую энергию, которая рассеивается в
окружающую среду необратимо.
Такого типа гаситель называют фрикционным с
переменной силой трения, зависящей от прогиба.
Установление
параметров гасителей колебаний
Расчёт фрикционных гасителей колебаний
практически сводится к определению необходимых углов наклона поверхностей
трения и подбора трущихся пар с соответствующими коэффициентами трения.
При расчёте рассматривается равновесие надрессорной
балки и клиньев под действием приложенных к ним сил.
На рис. 22 приведена расчётная схема клинового
гасителя, на которой обозначены:
- угол наклона к вертикали трущихся
поверхностей надрессорной балки и фрикционных клиньев;
- угол наклона к вертикали трущихся
поверхностей фрикционных планок, укреплённых на боковых рамах тележки и
клиньев;
- суммарная жёсткость основных
пружин рессорного комплекта, на которые передаёт нагрузку надрессорная балка;
- жёсткость пружины, поддерживающей
фрикционный клин.
Рис.
3.9 Схема клинового гасителя колебаний
При расчёте параметров фрикционного клинового
гасителя колебаний вагона необходимо руководствоваться Нормами для расчёта и
проектирования новых и модернизируемых вагонов железных дорог МПС колеи 1520 мм
(несамоходных).
Исходные данные:
вес брутто вагона
т;
длина кузова вагона
м;
база вагона
м;
база тележки
м;
масса надрессорного строения
т = 87200
кг;
вес надрессорного строения
Н;
статический прогиб рессорного
подвешивания под нагрузкой брутто
= 0,05 м.
Определение параметров гасителя
колебаний.
Половина длины кузова, м:
;
м.
Половина базы вагона, м:
;
м.
Жёсткость рессорного подвешивания
одной тележки при деформации рессор в вертикальном направлении, Н/м:
;
Н/м.
Масса надрессорного строения, т:
,
где
- масса тележки,
= 4,9 т;
- масса надрессорной балки,
= 0,5 т;
т = 85200 кг.
Момент инерции массы кузова
относительно поперечной горизонтальной оси, проходящей через его центр масс,
:
,
- момент инерции кузова, 

.
Частота собственных колебаний кузова
в вертикальной продольной плоскости,
:
для подпрыгивания
;

;
для галопирования
;

.
Определяем фазы прохождения
колёсными парами вагона косинусоидальных неровностей рельсового пути:
;
;
,
где
- половина длины рельсового звена
25 м,
= 12,5 м;
;
;
.
Частота колебаний, Гц:
для подпрыгивания
;
Гц;
для галопирования
;
Гц.
Допускаемая амплитуда колебаний
кузова вагона, м:
для подпрыгивания
,
где
- показатель плавности хода,
= 4 (для
грузовых вагонов);
м;
для галопирования
;
м.
Параметр гасителя колебаний для
тележки из условия обеспечения устойчивого режима при колебаниях подпрыгивания
кузова,
:
,
где
- амплитуда волны профиля пути, т.
е. половина разности уровня рельса под колесом вагона в середине волны
(рельсового звена) и в низ- шей точке (зоне стыка),
= 0,005 м;

.
Параметр гасителя при колебаниях
галопирования кузова,
:
,

.
Принимаем большее значение параметра
гасителей колебаний тележки

.
В проектируемом рессорном
подвешивании устанавливаются гасители колебаний трения, развивающее
сопротивление колебаниям пропорционально перемещению упруго подвешенной части
вагона.
За основу дальнейших вычислений
принимаем результаты, полученные при колебаниях галопирования кузова (параметр
гасителей колебания тележки равняется параметру гасителей при колебаниях
галопирования).
Параметр гасителей (коэффициент
относительного трения) определим так:
;
.
Полученный параметр не должен быть
меньше рекомендуемого значения:
,
где
- количество колёсных пар в
тележке,
= 2;
;
k -
коэффициент, k = 0,8 (для центрального рессорного
подвешивания);
.
Таким образом, фрикционный гаситель
колебаний должен иметь коэффициент относительного трения
.
Анализ
конструктивных особенностей тележки ЦНИИ-Х3-0
Современные грузовые вагоны магистрального и
промышленного транспорта имеют двух-, трёх- и четырёхосные тележки,
большегрузные транспортёры оснащены многоосными тележками, состоящими из набора
перечисленных выше конструкций.
Как правило, это - модели с одноступенчатым
рессорным подвешиванием. Исключение составляют лишь изотермические и некоторые
специализированные вагоны, служащие для перевозки грузов, требующих
транспортировки с повышенными скоростями.
Тележка модели 18-100
(ЦНИИ-Х3: ЦНИИ - прежнее название ВНИИЖТа, разработавшего конструкцию, Х -
первая буква автора - Ханина, 3 - третий вариант), рассчитанная на
конструкционную скорость движения 120 км/ч, состоит (см. рис. 23) из двух
колёсных пар 6 с четырьмя буксовыми узлами 5, двух литых рам 1,
надрессорной балки 2, двух комплектов центрального подвешивания с
фрикционными гасителями колебаний 4 и тормозной рычажной передачи 7.
Рис.3.10. Двухосная тележка
грузовых вагонов с литыми боковыми рамами: 1 - боковая рама; 2 - надрсссорная
балка; 3 - комбинированный рессорный комплект; 4 - клин
фрикционного гасителя колебаний; 5 - буксовый узел с роликовымиподшипниками; 6
- колесная пара; 7 - тормозное оборудование; 8 - скользун
Боковая рама (см. рис. 24)
отлита из низколегированной стали 20ФЛ или 20ГЛФ. Она имеет объединённые пояса
и колонки, образующие в средней части проём для размещения комплекта
центрального рессорного подвешивания, а по концам - буксовые проёмы. Шишки 3,
отлитые с внутренней стороны на наклонном поясе, служат для подбора боковых рам
(боковин) при сборке тележки, так как в зависимости от допускаемых отклонений
при отливке и обмере боковин некоторые из шишек срубают. Если все шишки
срублены, то рама имеет градацию № 0 с размером между наружными челюстями 1
(см. рис. 24) 2181 мм, при одной оставленной шишке это расстояние равно 2183
мм, а рама имеет градацию № 1, при №№ 2, 3, 4 и 5 указанное выше расстояние
соответственно увеличивается по 2 мм.
Надрессорная балка
(см. рис. 25) - литая из стали марок 20ФЛ или 20ГФЛ, имеет полую конструкцию
замкнутого поперечного сечения и формы, близкую к брусу равного сопротивления
изгибу. Она отлита вместе с подпятником, служащим опорой кузова вагона и
опорами для скользунов. На каждом из двух опор скользунов размещаются
перевёрнутые коробки 8 с регулировоч- ными прокладками 9. Такая
конструкция по сравнению с применяемой ранее (коробки отливались заодно с
надрессорной балкой, а вкладыши скользуна укладывались в них, что в
эксплуатации приводило к накоплению продуктов износа и недопустимое уменьшение
зазоров между скользунами тележки и кузова вагона), обеспечивает самоудаление
продуктов износа и постоянство отрегулированных зазоров между скользунами.
Рис.3.11. Боковая рама тележки
модели 18-100: 1 - челюсти; 2 - кольцевая опора; 3 - пять приливов в
виде шишек; 4 - кронштейн для крепления подвесок тормозных башмаков; 5 -
направляющие, ограничивающие поперечное перемещение фрикционных клиньев; 6 -
бурты и бонки для фиксирования пружин рессорного комплекта; 7 - полка, служащая
для удержания триангсля в случае обрыва подвесок;
Рис. 3.12 Надрессорная балка
тележки модели 18-100: 1- подпятник; 2 - кронштейн мёртвой точки
рычажной передачи тормоза; 3 - опора для скользуна; 4 и 5 -
бурты, ограничивающие смещения наружных и внутренних пружин рессорного
комплекта при движении тележки; б - выемка, служащая для размещения фрикционных
клиньев; 7 - полка для крепления кронштейна мертвой точки; 8 - колпак
(коробка) скользуна; 9 - прокладки для регулировки зазоров между скользунами
вагона и тележки; 10 - болт, предохраняющий колпак скользуна от падения;
11 - поддон для опоры шкворня; 12 - колонка, усиливающая опору на
подпятник пятника вагона
4. Расчет автосцепного устройства
4.1
Расчет поглощающего аппарата
В автосцепном устройстве грузового 4-х осного вагона
применяется поглощающий аппарат Ш-2-В.
Расчет полощающего аппарата сводится к расчету
по энергоемкости, т. е. величины кинематической энергии удара, воспринимаемой
при ударном сжатии.
Энергоемкость поглощающего аппарата грузового
вагона:
, где
- вес вагона брутто
V - расчетная
скорость вагонов при соударении
Такую энергоемкость может осуществить
поглощающий аппарат Ш-2-В, который имеет увеличенную высоту пружин за счет отсутствия
нажимной шайбы и более высокую стабильность действия.
4.2
Расчет автосцепки.
Корпус автосцепки изготовлен из
низколегированной стали марки 20ГЛ, имеющей характеристики:
- временное сопротивление
разрыву
;
предел текучести
;
относительное удлинение
;
Разрушение корпусов, отлитых из этой стали,
происходит при усилии 4МН, если продольные силы совмещены.
Точный расчет головной части затруднен сложной
конфигурацией, а также изменением величины, степени динамичности и точек
приложения расчетных усилий в эксплуатации в связи с относительными
перемещениями автосцепок, износами поверхности их контура, переменной величиной
коэффициентов трения.
Меньше трудностей возникает при расчете
хвостовика корпуса.
Смещение осей в вертикальном направлении
допускается не более 50 мм, а в горизонтальном - не более 175 мм. Произведем
расчет корпуса по сечению I-I.
Наибольшее напряжение в этом сечении от профильных сил при максимальном
вертикальном смещении не должно превосходить предела текучести выбранного
материала.
Напряжения в сечении I-I:
, где
N -
продольное усилие , N=2,5 МН
Г - площадь поперечного сечения I-I
W - момент
сопротивления
M - изгибающий
момент
, где
E -
ексцентриситет, E = 50 mm.
Найдем напряжения в сечении I-I.
Рассчитанный хвостовик автосцепки
удовлетворяет условию прочности.
.3
Расчет деталей упряжи
Тяговый хомут автосцепки СА-3 рассчитан на
установку в нем поглощающих аппаратов с габаритными размерами 563-318-230.
Тяговый хомут отлит из стали 20 ГФЛ со временным
сопротивлением 540 МПа, пределом текучести 390 МПа, относительным удлинением
18%. Сталь нормализуют.
Напряжения в тяговом хомуте в
наиболее опасном сечении I-I с
приложением продольной силы N=2,5МН не должны превышать
.
Рассчитаем напряжения в сечении I-I.
, где
N -
продольная сила, N=2,5 МН
Г - площадь поперечного сечения
Тяговый хомут удовлетворяет данному
условию прочности.
5. Разработка модернизации
При
модернизации цистерны нужно учитывать:
1 снижение
затрат на модернизацию,
2 улучшение
технико-экономических параметров,
В данном курсовом проекте предлагается
модернизировать стяжные хомуты 4-осной цистерны, предназначенной для
нефтепродуктов модели 15-869. В ходе эксплуатации цистерн из-за атмосферных
воздействий происходит коррозия резьбовых частей хомутов что не позволяет
регулировать их натяг, а придание больших усилий при вращении стяжной муфты
приводит к деформации хомутов, что влечет снижение натяга хомута к раме вагона.
Модернизация подразумевает замену двухполосных хомутов однополосными, резьбу
стяжного винта предлагается защитить от атмосферных воздействий сильфонным
уплотнением, выполненным из армированной резины (что позволит уплотнению
выдерживать низкие температуры) сверху и стальным колпачком, заполненным
солидолом, снизу, что предотвратит коррозию металла и увеличит срок его службы.
Также наличие солидола упростит демонтаж стяжных хомутов. Стальной колпачок
крепится к резьбовой части при помощи шплинта. Также на резьбовую часть
предлагается надеть резиновую шайбу, которая по мере раскручивания гайки будет
создавать дополнительный натяг хомута.
Такая модернизация позволяет улучшить соединение
котла цистерны с рамой, приводит к увеличению натяга хомутов, создает более
удобные условия для эксплуатации данной цистерны, повышает ее
ремонтопригодность и приводит к повышению безопасности движения.
Список
литературы
1. Грузовые
вагоны колеи 1520 мм железных дорог СССР (альбом-справочник). Москва. Транспорт
1989 г.
2. “Вагоны”
под редакцией Шадура Л.А.
3. Цистерны
(устройство, эксплуатация, ремонт): Справочное пособие. Москва. Транспорт 1990
г.