Горные машины вспомогательного транспорта

  • Вид работы:
    Реферат
  • Предмет:
    Транспорт, грузоперевозки
  • Язык:
    Русский
    ,
    Формат файла:
    MS Word
    410,04 Кб
  • Опубликовано:
    2013-07-25
Вы можете узнать стоимость помощи в написании студенческой работы.
Помощь в написании работы, которую точно примут!

Горные машины вспомогательного транспорта














Реферат

Горные машины вспомогательного транспорта

Содержание

1.   Виды вспомогательного транспорта и области его применения

.     Напочвенные рельсовые и безрельсовые средства

вспомогательного транспорта

.     Подвесные монорельсовые дороги с канатной и локомотивной тягой

.     Канатные подвесные дороги

.     Пакетно-контейнерная доставка вспомогательных грузов

Литература

1.     
Виды вспомогательного транспорта и области его применения

Средства вспомогательного транспорта могут быть разделены на две основные группы: напочвенные и подвесные. В свою очередь, напочвенные средства подразделяют на рельсовые (с локомотивной или канатной тягой) и нерельсовые (самоходные вагонетки или специальные конвейеры); подвесные - на монорельсовые (с локомотивной тягой или канатным тяговым органом) и двух и моноканатные.

Общими для всех указанных средств являются средства для формирования материала в укрупненные грузовые единицы (контейнеры, поддоны, стропы, кассеты и т. п.), поскольку при транспортировании к потребителю укрупненных в грузовые единицы материалов они передаются с одного вида транспорта на другой в зависимости от назначения той или иной выработки и принятых но ней видов основного и вспомогательного транспорта.

Вспомогательные материалы по видам доставляемых грузов обычно подразделяются на: лесоматериалы (стойки, затяжки, доски, шпалы и т д.); сыпучие материалы (щебень, глина, песок, цемент, инертная пыль, известь, балласт и др.); длинномерные материалы (рельсы, металлические трубы, детали крепления камер и др.); железобетонные изделия (затяжки, бетониты, шпалы лотки); оборудование, в том числе узлы машин; жидкие материалы (горюче-смазочные эмульсии, масла, и др.); прочие материалы (запчасти, канаты, метизы и др.)

.        Напочвенные рельсовые и безрельсовые средства вспомогательного транспорта

Напочвенные рельсовые средства вспомогательного транспорта

Наиболее широкое распространение для доставки вспомогательных грузов и людей получили рельсовые средства подвижного состава с уклоном до 5%о.

В качестве локомотивов для вспомогательного транспорта в основном должны применяться: по участковым выработкам - электровозы сцепной массой до 7 т; по главным магистральным и грузолюдским магистральным выработкам - локомотивы, принятые на шахте для транспортирования основного грузопотока. В случае технической целесообразности допускается применение локомотивов меньших сцепных масс.

Платформы предназначены для перевозки вспомогательных грузов в укрупненных грузовых единицах (пакетах и контейнерах), оборудования и штучных грузов с поверхности но выработкам с углом наклона до 25° к рабочим местам или пунктам перегрузки в узлах сопряжений транспортных звеньев.

Конструктивное исполнение платформы должно предусматривать: размещение па ней специальных поддонов (пакетов) и контейнеров с различными грузами; предотвращение смещения грузов в процессе транспортирования; коэффициент продольной и поперечной устойчивости - не менее двух; клиренс - не менее 100 мм из расчета прохождения сопряжений горизонтальной и наклонной выработок. Общие требования к конструкции и эксплуатации платформ и грузовых вагонеток одинаковы. Помимо того, необходимо учитывать, что при транспортировании длинномерных материалов платформы должны соединяться удлиненными жесткими сцепками.

Концевые канатные откатки в настоящее время используют главным образом для перевозки материалов, оборудования и людей по выработкам с углом наклона более 6°, при котором обратное движение вагонеток, платформ или клетей происходит под действием их веса.

К оборудованию концевой откатки относят рельсовый путь, одно-или двухбарабанные лебедки или малые подъемные машины с диаметром барабанов от 1,2 до 2,2 м, тяговые канаты, прицепные и предохранительные устройства, поддерживающие и отклоняющие ролики и подвижной состав, представляющий один экипаж или состав экипажей различного типа.

Для транспортирования горной массы, вспомогательных грузов и людей при проведении слабонаклонных выработок с тяжелым переменным профилем рельсовых путей, где невозможно использовать локомотивную или одноконцевую канатную откатку, на угольных шахтах, опасных по газу или пыли, применяют напочвенные канатные дороги с замкнутым тяговым канатом.

Дорога типа ДКН-1 включает в себя: грузовые или людские вагонетки и буксировочную вагонетку, перемещаемую по рельсовым путям по челноковой схеме замкнутым тяговым канатом; приводную станцию для каната, снабженную многообхватным параболическим шкивом трения и ленточным и колодочным тормозами; грузовое натяжное устройство для тягового каната, установленное у приводной станции.

Приводную станцию монтируют на фундаменте в уширенной части выработки, а концевой блок для каната закрепляют в призабойной зоне проводимой выработки. Ветви замкнутого тягового канат по трассе дороги поддерживаются роликами.

На буксировочной вагонетке установлены: барабан с запасом тягового каната для удлинения дороги при проведении горных выработок; улавливающая система, срабатывающая при обрыве тягового каната или превышении допустимой скорости движения; стабилизирующие катки, охватывающие головки рельсов с обеих сторон и поднимаемые при прохождении над стрелочными переводами. Тяговое усилие от каната на буксировочную вагонетку передается через приводной рычаг, обеспечивающий также укладку каната на поддерживающие ролики.

Наибольшая длина транспортирования дорогой ДКН-1 составляет 2000 м, угол наклона выработки ±6°, регулируемая скорость движения - до 2 м/с, мощность привода - 75 кВт.

Напочвенные безрельсовые средства вспомогательного транспорта

Безрельсовые средства вспомогательного транспорта на пневмошинном механизме перемещения широко применяют при строительстве, эксплуатации и реконструкции рудных шахт, не опасных по газу или пыли.

Самоходные транспортные машины по конструктивному исполнению и назначению можно разделить на четыре группы:

промышленные автомобили и тягачи, оборудованные системами очистки отработавших газов и приспособленные для работы в подземных условиях шахт, не опасных по газу или пыли;

специализированные машины, приспособленные для перевозки одного типа грузов;

комбинированные машины, оборудованные механизмами для выполнения такелажных, транспортных и других работ;

дорожно-строительные машины.

К первой группе относят оборудование, модернизированное на базе автомобилей силами ремонтных мастерских рудных шахт; ко второй - специализированные машины для перевозки людей к местам работы, длинномерных материалов (труб или рельсов), бетонной смеси, горюче-смазочных материалов, к третьей - машины для погрузочно-разгрузочных и транспортных работ, оборудованные кранами, грузовыми платформами, тяговыми лебедками и др.; к четвертой - легкие бульдозеры, грейдеры и другое оборудование, используемое при строительстве подземных дорог.

.        Подвесные монорельсовые дороги с канатной и локомотивной тягой

Монорельсовые дороги с канатной тягой состоят из монорельсового пути, средств тяги, подвижного состава с грузоподъемными и другими вспомогательными устройствами, обеспечивающими закрепление груза на подвижном составе и механизацию погрузочно-разгрузочных работ на конечных пунктах. Применяют в выработках с искривлениями в горизонтальной и вертикальной плоскостях.

Монорельс подвешивают к крепи жестко или с помощью цепных или стержневых подвесок. В качестве средств тяги используют лебедки со шкивом трения, двух- или однобарабанные тягальные лебедки. Скорость движения тяговых канатов принимают в диапазоне 0,2- 4 м/с. Грузоподъемность монорельсовых дорог доходит до 14 т, а длина до 2000 м.

Монорельсовые дороги с дизельными локомотивами предназначены для механизированной бесперегрузочной перевозки людей, материалов и оборудования от ствола до рабочих мест в шахте. Монорельсовые дороги с локомотивами могут применяться в горизонтальных и наклонных выработках шахт третьей категории, сверхкатегорных и опасных по внезапным выбросам угля и газа, где допускается эксплуатация оборудования в исполнении РВ и обеспечиваются установленные нормы разжижения выхлопных газов. Дальность транспортировки практически неограниченна.

Монорельсовая дорога представляет собой комплекс оборудования, состоящий из пассажирского и грузового составов, дизельного локомотива, монорельсового пути и вспомогательного оборудования. Дорога имеет блочную конструкцию, что позволяет, набирая определенное число необходимых блоков, обеспечивать требуемые условия эксплуатации: скорость движения, тяговое усилие, грузоподъемность и пассажироемкость поезда. Отдельные секции соединяются в поезд с помощью сцепок. Количество оборудования в комплекте поставки определяется проектом установки дороги.


Рис.1. Монорельсовая дорога с локомотивной тягой

.        Канатные подвесные дороги

Моноканатные дороги, предназначенные главным образом для перевозки людей, включают в себя приводное устройство со шкивом трения (аналогичное канатным подвесным дорогам), натяжное устройство грузового типа и замкнутый тяговый канат, поддерживаемый роликами на подвесках. К канату прикрепляются сиденья. Канат движется со скоростью 1 м/с, посадка и сход людей происходят на ходу. Длина транспортирования до 1200м, максимальный угол наклона до 25º.

Подвесные канатные дороги применяют для перевозки: породы в отвалы на поверхности, полезного ископаемого и людей в местностях с пересеченным рельефом, грузов в горных выработках сечением 4-8 м2.

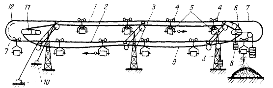
Наиболее распространены подвесные кольцевые двухканатные дороги (рис. 1), обладающие более высокой производительностью.

локомотивный канатный контейнерный рельсовый

Рис.2. Схема двухканатной кольцевой дороги: 1 - грузовая ветвь; 2 - порожняковая ветвь; 3 - опоры; 4 - ходовая тележка; 5 - подвесная вагонетка; 6 - натяжное устройство; 7 - кольцевые рельсы; 8 - натяжной груз; 9 - канат; 10 - якорь каната; 11 - шкив тяговой лебедки, 12 - цепной конвейер

Грузовая и порожняковая ветви несущего каната подвешиваются на опорах и вместе с кольцевыми рельсами по концам дороги образуют кольцевой замкнутый путь. Грузонесущие емкости, выполненные в виде подвесных вагонеток перемещаются на ходовых тележках по несущему канату и кольцевым рельсам. К вагонеткам посредством специальных зажимных устройств крепится тяговый замкнутый канат, который приводится в движение от шкива тяговой лебедки. На концевых станциях этот канат автоматически отсоединяется от вагонетки, которая по кольцевым рельсам движется самокатом либо при помощи специального цепного конвейера.

Несущие канаты выполняют закрытой конструкции, поскольку поверхность таких канатов гладкая и по ней вагонетки движутся без вибраций с малым сопротивлением.

Опоры выполняют металлическими на бетонном фундаменте. На дорогах небольшой годовой производительности до 200 тыс.т/год применяют деревянные опоры. Стандартные опоры имеют высоту от 5 до 25 м.

Вагонетки состоят из ходовой тележки (двух-, четырех- и восьми-колесной); подвески и кузова. Вагонетки разгружаются опрокидыванием при помощи специальных отбойных брусьев либо через откидывающиеся днища.

.        Пакетно-контейнерная доставка вспомогательных грузов

Система пакетно-контейнерной доставки грузов ПАКОД - это совокупность технических средств, обеспечивающих формирована материалов и изделий в грузовые единицы (пакеты, поддоны и контейнеры), приспособленные для механизированных способа погрузки, разгрузки и складирования, а также перевозки рая личными видами транспорта без переупаковки по всему пути и перемещения.

Параметры и вид грузовых единиц зависят от габаритов подвижного состава и размеров поперечных сечений горных выработок. При этом размеры и массу грузовых единиц устанавливают исходя из условий обеспечения максимального использования транспортных и грузоподъемных средств.

Для доставки различных грузов в подготовительный забой рельсовым, безрельсовым и подвесным транспортом разработаны конструкции контейнеров, поддонов, пакетирующих кассет и строп-пакетов.

Рис.3. Контейнера: а - ящичного типа, б - для металлической крепи, в - с торцевыми стенками

Контейнеры предназначены для доставки штучных, наливных и насыпных грузов и обеспечивают их сохранность от нарушения и потерь в процессе транспортирования с поверхности до рабочих мест.

Для транспортирования шахтных затяжек, водоотливных лотков, шахтных стоек, длина которых не превышает 1,5 м, применяют контейнеры, на раме которых закреплены жестко или шарнирно торцевые стенки, обеспечивающие удержание грузов от продольных смещений.

Контейнер, предназначенный для металлокрепи представляет собой раму, на которой шарнирно закреплены телескопические стойки с прижимными винтами. На торцах рамы имеются карманы, в которых хранятся при транспортировании крепежные элементы крепи. Контейнеры такой конструкции обеспечивают комплексную доставку арочной металлической крепи любого профиля.

Рис.4. Поддон и пакетерующие кассеты для рельсов и труб

Для некоторых грузов, которые невыгодно или невозможно доставлять в контейнерах, применяют плоские деревянные или специальные поддоны, предназначенные для доставки от завода до рабочего места шпал, лотков, плит перекрытий для водоотводных канав и других грузов. Поддон состоит из днища, закрепленного на раме, в нижней части которой приварены кронштейны, служащие для фиксации поддона на платформе. Крюки стропов при подъеме поддона вставляют в овальные отверстия.

Пакетирующие кассеты для рельсов и труб состоят из вертикальных стоек, несущих балок и прижимных балок. Рельсы между балками зажимаются запорным кулаком, съемной рукояткой, а трубы - зажимным винтом.

Рис.5. Пакетирующие стропы многооборотные: а - общий вид стропа; б - схема строповки пакета затяжек; в - строп для лесоматериалов; 1 - замок; 2 - строповочная петля; 3 - вертикальная тяга; 4 - горизонтальная тяга; 5 - замыкающие ветви; 6 - гибкие вставки; 7 - кольцо грузовое; 8 - кольцо стопорное; 9 - гильза; 10 - канат

Для скрепления в пакет железобетонных затяжек используют многооборотные строп-пакеты.

Масса стропа - 2,4 кг, перевозимого груза - не более 1,5 т.

Для скрепления в пакет лесных материалов после их разделки на лесном складе применяют стропы с диаметром каната до 15,5 мм. Масса поднимаемого груза - до 4 т.

Практика внедрения контейнерной доставки грузов в горные выработки показала, что контейнеры как укрупненные грузовые единицы обладают значительной собственной массой и, кроме того, на их возврат из шахты требуются большие затраты.

Поэтому в перспективе в практике более широкое распространение получит пакетирование грузов с помощью стропов, выполненных из стальных лент или из различных синтетических материалов, что упрощает организацию транспортных работ, так как упаковочный материал не возвращают на поверхность.

При этом значительно снижаются коэффициент тары и капитальные затраты.

Литература

1. Конвейеры: справ. / Р. А. Волков, А. Н. Гнутов, В. К. Дьячков и др.; ред. Ю. А. Пертен. - Л.: Машиностроение, Ленингр. отд-ние, 1984. - 367 с.: ил.

. Спиваковский, А. О. Транспортирующие машины: учеб. пособие для машиностроительных вузов / А. О. Спиваковский, В. К. Дьячков. - 3-е изд., перераб. - М.: Машиностроение, 2003. - 487 с.: ил.

. Зенков, Р. Л. Машины непрерывного транспорта: учеб. для студентов вузов Р. Л. Зенков, И. И. Ивашков, Л. Н. Колобов. - 2-е изд., перераб. и доп. - М.: Машиностроение, 1987. - 432 с.: ил.

. Марон, Ф. Л. Справочник по расчетам механизмов подъемно-транспортных машин / Ф. Л. Марон, А. В. Кузьмин. - Минск: Высш. шк., 2004. - 272 с.

. Катрюк, И.С. Машины непрерывного транспорта. Конструкции, проектирование и эксплуатация: учеб. пособие / И.С. Катрюк, Е.В. Мусияченко. - Красноярск: ИПЦ КГТУ, 2006. - 266 с.

. Ивашков, И. И. Монтаж, эксплуатация и ремонт подъемно-транспортных машин: учеб. для машиностроительных вузов / И. И. Ивашков. - М.: Машиностроение, 2001. - 335 с.: ил.

. Александров, М. П. Подъемно-транспортные машины: учеб. для машиностроит. спец. вузов. / М. П. Александров. - 6-е изд., перераб. - М.: Высш. шк., 2005. - 520 с.

. Шахмейстер, Л. Г. Теория и расчет ленточных конвейеров. Л. Г. Шахмейстер, В. Г. Дмитриев. - 2-е изд., перераб. и доп. - М.: Машиностроение, 2007. - 336 с.: ил.

Похожие работы на - Горные машины вспомогательного транспорта

 

Не нашли материал для своей работы?
Поможем написать уникальную работу
Без плагиата!
Без нейросетей!