Вилка скользящая кардана
ВВЕДЕНИЕ
В процессе эксплуатации автомобиля его рабочие
свойства постепенно ухудшаются из-за изнашивания деталей, а также коррозии и
усталости материала, из которого они изготовлены. В автомобиле появляются
отказы и неисправности, которые устраняют при ТО и ремонте.
Исправным считают автомобиль, который
соответствует всем требованиям нормативно-технической документации.
Работоспособный автомобиль в отличие от исправного должен удовлетворять лишь
тем требованиям, выполнение которых позволяет использовать его по назначению
без угрозы безопасности движения.
Повреждением называют переход автомобиля в
неисправное, работоспособное состояние, переход его в работоспособное состояние
называют отказом.
Необходимость и целесообразность ремонта
автомобилей обусловлены прежде всего неравной прочностью их составных частей.
Поэтому в процессе эксплуатации автомобили проходят на АТП периодическое ТО и
при необходимости ТР, который осуществляется путём замены отдельных деталей и
агрегатов автомобиля. Это позволяет поддерживать автомобиль в техническом
состоянии. При длительной эксплуатации автомобили достигают такого состояния,
когда их ремонт в условиях АТП становится технически невозможным или
экономически нецелесообразно. В этом случае они направляются в централизованный
текущий или КР на авторемонтное предприятие (АРП). Текущий ремонт должен
обеспечить гарантированную работоспособность автомобиля на пробеге до
очередного планового ремонта. Капитальный ремонт должен обеспечить исправность
и полный ресурс автомобиля или агрегата путём восстановления и замены любых
сборочных единиц и деталей, включая базовые.
Себестоимость КР автомобиля и их составных
частей обычно не превышает 60-70% стоимости новых аналогичных изделий. При этом
достигается большая экономия металла и энергетических ресурсов.
При КР полнокомплектных автомобилей они на
длительный срок выбывают их эксплуатации. Стремление сократить простои
автомобилей в ремонте привело к практике строительства АРП в местах высокой
концентрации автомобильного парка, с тем чтобы максимально их приблизить к
поставщикам ремонтного фонда.
Одной из прогрессивных тенденций в отечественной
практике ремонта явилось распространение агрегатов метода при ТР и автомобилей.
Он осуществляется путём плановой замены
неработоспособных агрегатов новыми или заранее отремонтированными, взятыми из
оборотного фонда.
При ремонте автомобилей агрегаты в зависимости
от их технического состояния подвергаются ТР или КР. Агрегатный метод
определяет процессы индустриального ремонта агрегатов от работ по их демонтажу
и вмонтажу в эксплуатационных условиях и тем самым обеспечить значительное
сокращение простоев автомобилей в ремонте и способствует централизации работ
как по капитальному, так и по текущему ремонту агрегатов.
Объектом курсового проекта является вилка
скользящая кардана 130-220-248 с такими дефектами:
Износ отверстия под подшипники;
Износ направляющей шейки.
1. ОБЩАЯ ЧАСТЬ
.1 Характеристика детали
Вилка, скользящая кардана номер 130-220-248
образует шлицевый наконечник который вместе со шлицевой втулкой образует
подвижное шлицевое соединение, компенсирующее изменение длины карданного вала в
результате перемещения заднего моста.
Данная деталь изготовляется из стали 45 которая
имеет следующие химический состав и механические свойства.
Таблица 1 - Химический состав Ст 45,% (ГОСТ
1050-74)
|
Наименование
и марка материала
|
Химический
элемент и его процентное содержание, %
|
|
C
|
Si
|
Mn
|
Cr
|
S
|
P
|
Cu
|
|
Ст
45
|
0,42-0,50
|
0,17-0,37
|
0,50-0,80
|
0,25
|
0,04
|
0,035
|
0,25
|
Таблица 2 - Механические свойства поковок (ГОСТ
8479-70)
|
Термообработка
|
Сечение
|
σ0,2
|
σb
|
δ5
|
φ
|
KCU,
Дж/см2
|
HB,
Не более
|
|
|
МПа
|
%
|
|
|
|
Нормализация
|
100-300
|
275
|
530
|
17
|
38
|
34
|
156-197
|
1.2 Технические требования на
дефектацию детали
Таблица 3 - Карта технических требований на
дефектацию детали
|
Наименование
детали (сборочной единицы): Вилка скользящая кардана Номер
детали (сборочной единицы): 130-220-248 Материал: Сталь 45 ГОСТ 1412-54
Твердость: - Обозначения по эскиз Наименование дефектов Способ
установления дефекта и средства контроля Размер мм Заключение По рабочему
чертежу Допустимый без ремонта 1 Срез, смятие шлицев Визуальный осмотр - -
браковать 2 Износ отверстий под подшипники Пробка 39,05 или нутромер
индикаторный НИ 18-50 ГОСТ 868-82 39+0,027 39,05 Ремонтировать Наплавка
Постановка втулок 3 Износ направляющей шейки Скоба 53,90 или микрометр
гладкий МИ 50-75 ГОСТ6507-90 54-0,05-0,08 53,92 Ремонтировать Наплавка 4
Износ шлицев по наружному диаметру Скоба 61,89 или микрометр гладкий МИ 50-75
ГОСТ 6507-90 62-0,105-0,065 61,89 Ремонтировать Наплавка 5 Износ шлицев по
диаметру делительной окружности Ролики Ø5,493,специальный
калибр с двумя роликами L=66,33мм,или микрометр гладкий МИ 50-75 ГОСТ 6507-90
66,4 не менее 66,30 Наплавка под слоем флюса, в среде углекислого газа
|
1.3 Дефекты детали и причины их
возникновения
Дефект 1- износ отверстия под подшипники.
Причины возникновения:
• недостаток смазки;
• не правильная эксплуатация;
• заводские дефекты.
Устранение:
Ремонт, наплавка.
Дефект 2- износ направляющей шейки
Причины возникновения:
• биение;
• знакопеременные нагрузки.
Устранение:
Наплавка, ремонт.
1.4 Технические требования к
отремонтированной детали
Основными поверхностями вилки, подвергшимися
износу, являются направляющая шейки, и отверстия под подшипники.
После ремонта размеры шейки и отверстия под
подшипники должны отвечать
требованиям рабочего чертежа, а именно:
диаметр шеек - должен быть равен
.
Размер соответствует 7-му квалитету точности с отклонением f, т.е. диаметр 39
f7 (
).
Шероховатость поверхности шейки Ra 0,8 мкм соответствует 7-му классу
шероховатости;
отклонение цилиндричности шеек скольжения должно
быть не более 0,01 мм, радиальное биение их относительно оси - не более 0,03
мм;
2. ТЕХНОЛОГИЧЕСКАЯ ЧАСТЬ
.1 Выбор рационального способа
восстановления детали
Выбор рационального способа восстановления
производится для детали коленчатый вал ЗИЛ 130, данная деталь относится к
детали класса «круглые стержни», группы «валы шлицевые».
Таблица 5- Выбор рационального способа
восстановления детали
|
Номер
и наименование дефекта
|
Применяемый
способ восстановления
|
Коэффициенты
|
Применяемый
способ ремонта
|
|
|
Кд
|
Кэ
|
|
|
1.
Износ отверстия под подшипники
|
1.Наплавка
в защитных газах
|
0,65
|
0,403
|
Наплавка
в защитных газах
|
|
2.
Наплавка порошковыми проволками
|
0,49
|
0,4
|
|
|
3.
Наплавка плазменной
|
0,49
|
0,56
|
|
|
2.
Износ направляющей шейки
|
1.
В защитных газах
|
0,65
|
0,403
|
Наплавка
в защитных газах
|
|
2.
Наплавка под слоем флюса
|
0,79
|
0,436
|
|
Кд - коэффициент долговечности;
Кэ - коэффициент технико-экономической
эффективности способа восстановления.
При выборе способа восстановления детали мы
учитываем оба коэффициента.
Из-за большого износа отверстия под подшипники и
направляющей шейки обработка под ремонтный размер неприемлема. Наибольший
коэффициент долговечности имеет наплавке в защитных газах. Следовательно,
учитывая коэффициент технико-экономической эффективности, наиболее рациональным
способом восстановления детали является наплавка в защитных газах. Этот метод
мы и принимаем окончательно для восстановления размеров изношенных отверстия
под подшипники и направляющей шейки вилки - скользящей кардана.
2.2 Выбор технологических баз
Правильное взаимодействие деталей в агрегате
достигается соблюдением при их изготовлении или ремонте требуемой точности не
только размеров, качества обработки поверхностей, но и взаимного расположения
осей и отдельных поверхностей. Все это зависит от правильности выбора
технологических баз при механической обработке детали.
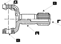
Для обработки поверхности А, используем торец
Г,она является установочной базой, лишает заготовку 3х степеней свободы; В
является направляющей базой лишает заготовку 2х степеней свободы. При обработке
направляющей шейки заготовка лишается 5 степеней свободы.
При обработке отверстия Б вилку устанавливают в
призмы, поверхностью А, которая является явной базой, двойной направляющей
лишает заготовку 4х степеней свободы. Торец Г является упорной базой - лишает
заготовку 1 степени свободы; база Д при закреплении лишает шестую степень
свободы.
Рисунок 1 - Схемы базирования
2.3 Технологические схемы устранения
дефектов
На устранение каждого дефекта детали
разрабатывается технологический процесс, который состоит из следующих операций:
подготовительные операции, восстановительные операции, черновые операции
слесарно-механической обработки, термическая обработка деталей, чистовая
механическая обработка, правка изгибов и короблений, отделочные операции.
Таблица 6 - Схема подефектного технологического
процесса
|
Дефект
|
Способ
устранения
|
Наименование
и содержание операции
|
Технологи-ческая
база
|
Ква-литет
|
Ra,
мкм
|
|
1.Износ
отверстия под подшипники
|
Наплавка
в защитных газах
|
1.Вертикально-сверильная
1.1 Развернуть отв.
|
Цилиндрическая
поверхность и торец
|
7
|
3,2
|
|
|
2.
Наплавочная
|
|
|
|
|
|
3.Вертикально-сверильная
3.1 Рассверлить отв. 3.2 Зенкеровать отв. 3.3 Развернуть отв.
|
|
9
8 6
|
6,3
3,2 0,8
|
|
|
|
|
|
|
|
2.Износ
направляющей шейки
|
Наплавка
в защитных газах
|
1.
Шлифовальная 1.1 Шлифовать
|
Цилиндрическая
поверхность и торец
|
8
|
3,2
|
|
|
2.
Наплавочная
|
|
16
|
|
|
|
3.
Токарная 3.1 Точить начерно 3.2 Точить начисто
|
|
9
8
|
6,3
3,2
|
|
|
4.
Шлифовальная 4.1Шлифовать поверхность
|
|
6
|
0,8
|
2.4 Определение промежуточных
припусков, допусков и размеров
Дефект - износ отверстия под подшипники. Диаметр
отверстия по рабочему чертежу равен
.
Общая длина вилки 260 мм. Материал детали - Ст45. Заготовка - литая.
Шероховатость обрабатываемой поверхности Ra 1,6 мкм. Диаметр изношенной шейки
вала
мм.
Операции технологического процесса:
Вертикально-сверильная 1.Развернуть отв.
Наплавка 1.Наплавить.
Вертикально-сверильная 1.Расверлить отв.
.Зенкеровать отв.
. Развернуть отв.
Диаметр шейки после шлифования d, мм, равен
размеру по рабочему чертежу:
.
Диаметр шейки после чистового точения
,
мм, равен:
, (1)
где 2h - припуск на шлифование на диаметр, мм.
Принимаем: 2h = 0,4 мм. Тогда:
мм.
Диаметр шейки после чернового точения
,
мм, равен:
, (2)
где
-
припуск на чистовое точение на диаметр, мм.
Принимаем:
=1,2
мм. Тогда:
мм.
Диаметр шейки после наплавки
,
мм, равен:
, (3)
где
-
припуск на черновое точение на диаметр, мм.
Принимаем:
мм.
Тогда:
мм.
Диаметр шейки после шлифования начисто
,
мм, равен:
, (4)
где
-
припуск на шлифование начисто на диаметр, мм.
Принимаем:
мм.
Тогда:
мм.
Припуск на ручную дуговую наплавку
,
мм, равен:
, (5)
мм.
Таблица 7 - Промежуточные припуски, допуски и
размеры
|
Наименование
операции
|
Точность
обработки
|
Промежуточный
размер детали d, мм
|
Промежуточный
припуск на диаметр 2h, мм
|
Допуск
на размер, мм
|
|
Деталь
до компенсации износа шейки
|
|
Шлифовальная
|
H7
|
38,18
|
-
|
-
|
|
Дефектация
|
-
|
38
|
0,18
|
-
|
|
Деталь
после компенсации износа шейки
|
|
Ручная
дуговая наплавка
|
S16
|
35,93
|
2.25
|
-
|
|
Токарная:
Черновая Чистовая
|
H9
|
37,93
|
2
|
-
|
|
H8
|
38,93
|
1
|
-
|
|
Шлифовальная
|
|
39
|
0,07
|
0,036
|
Дефект - износ отверстия под подшипники вилки
карданного вала.
Материал детали - Сталь 45. Размеры отверстия
под подшипники вилки не соответствуют требованиям ГОСТа.
Операции технологического процесса:
Вертикально - сверлильная 1. Развернуть
отверстие под подшипники.
Наплавка 1. Наплавить металл.
Вертикально - сверлильная 1. Рассверилть,
зенкеровать, развернуть отверстие.
2.5 Технологический маршрут
восстановления детали
Таблица 8 - Технологический маршрут ремонта
|
Номер
операции
|
Код,
наименование и содержание операции (по переходам)
|
Оборудование,
станочное приспособление и вспомогательный инструмент
|
Инструмент
|
|
005
|
4210
Вертикально-сверлильная 1)Установить деталь на коническую оправку
2)Развернуть отв. выдерживая размер 39 3)проверить размер 4)снять деталь
|
Вертикально-сверлильный
станок 2Н135
|
Быстрорежущая
сталь Р6М5, Штангенциркуль 8355 ШЦ -11-160-0,1 ГОСТ 166-89
|
|
010
|
Шлифовальная
1)Уст-ть деталь на оправку и закрепить 2)Уст-ть оправку в центре 3)Шлифовать
наружную поверхность шейки,выдерживая размер 54-0,08-0,05Ra 0,8мкм
4)Проверить размер 54-0,08-0,05;Радиальное биение 0,1 мкм;Ra 0,8 мкм.
|
Шлифовальный
станок 3У12А Оправка спец-ая. Ключ 7811-0043 ГОСТ 2839-80, Центр 7032-0035
ГОСТ 13214-79
|
Круг
шлифовальный ПП 400х40х203, 22А40-СМ2-С2К, СОЖ- укринол 12…3% ТУ
38-101-197-76 Микрометр МК 75 - 100 - 0,01 ГОСТ 6507 - 90 Образец
шероховатости Ra 0,8 ГОСТ 9378-75
|
|
015
|
93Наплавочная
1)Уст-ть в патрон деталь 2)Крепят на суппорте наплавочный аппарат. 3)От
центровать деталь. 4)Очистить поверхность детали, сбивая шлаковую корку и
выдерживая размер 39 5)Проверить качество наплавки. 6)Проверить размер 39
7)Снять деталь со станка и уложить в тару
|
Токарный
станок 16К20 Наплавочные головки АБС,А-384, Источник питания ВС-200;
Подогреватели газа; редукторы-расходомеры ДР -1-5-7
|
Электродная
проволка СВ - 12ГС. Шкурка ЛЕУ 600х30 14А 25Н ГОСТ 13344-78. Штангенциркуль.
|
|
020
|
93Наплавочная
1)Уст-ть в патрон деталь 2)Крепят на суппорте наплавочный аппарат. 3)От
центровать деталь. 4)Очистить поверхность детали, сбивая шлаковую корку и
выдерживая размер 5)Проверить качество наплавки. 6)Проверить размер 7)Снять
деталь со станка и уложить в тару
|
Токарный
станок 16К20 Наплавочные головки АБС,А-384, Источник питания ВС-200;
Подогреватели газа; редукторы-расходомеры ДР -1-5-7
|
Электродная
проволка СВ - 12ГС. Шкурка ЛЕУ 600х30 14А 25Н ГОСТ 13344-78. Штангенциркуль.
|
|
025
|
Вертикально-
сверлильная 1)Уст-ть деталь на коническую оправку 2)Развернуть отв.
3)Зенкеровать отв. 4)Развернуть отв. выдерживая размер 39 5)Проверить размер
6)Снять деталь.
|
Вертикально-сверлильный
станок 2Н135
|
Быстрорежущая
сталь Р6М5, Штангенциркуль 8355 ШЦ -11-160-0,1 ГОСТ 166-89
|
|
030
|
19149Токарная
1)Уст-ть деталь на оправку и закрепить 2)Уст-ть оправку в центры. 3)Точить
наружную поверхность кольца. Выдерживая размер54-0,08-0,05Ra0,8мкм
4)Проверить размер 3)Точить наружную поверхность кольца. Выдерживая
размер54-0,08-0,05Ra0,8мкм 5)Снять деталь со станка и уложить в тару.
|
Токарный
станок 16К20 (381162) Оправка специальная. Ключ 7811-0043ГОСТ 2839-80 Центр
7032-0035 Центр А-1-4-11 ГОСТ 8742-75
|
Резец
проходной 2102-0005 ГОСТ 18877-73 СОЖ-укринол- 13…5% ТУ 38-101-197-76.
Штанген циркуль ШЦ-ll-160-0,1 Образец шереховатости Ra0,8 мкм
|
|
035
|
19630Шлифовальная
1)Уст-ть деталь на оправку и закрепить 2)Уст-ть оправку в центре 3)Шлифовать
наружную поверхность шейки,выдерживая размер 54-0,08-0,05Ra 0,8мкм
4)Проверить размер 54-0,08-0,05 ;Радиальное биение 0,1 мкм;Ra 0,8 мкм.
|
Шлифовальный
станок 3У12А Оправка спец-ая. Ключ 7811-0043 ГОСТ 2839-80, Центр 7032-0035 ГОСТ
13214-79
|
Круг
шлифовальный ПП 400х40х203, 22А40-СМ2-С2К, СОЖ- укринол 12…3% ТУ
38-101-197-76 Микрометр МК 75 - 100 - 0,01 ГОСТ 6507 - 90 Образец
шероховатости Ra 0,8 ГОСТ 9378-75
|
2.6 Расчет режимов обработки
Токарная операция:
. Точить поверхность Ø48
начерно
.1 Выбор РИ: Резец Т5Л10 ГОСТ 18879-73 (φ=
)
.2 Глубина резани: t=h=0,8 мм
.3 Подача:
.4 Скорость резания:
.5 Частота вращения шпинделя:
.6 Частота вращения шпинделя по станку:
.7 Действительная скорость резания:
м/мин
.8 Машинное время:
=
мин
.7 Расчет норм времени:
Токарная операция:
.Общее основное время:
где
время
одного перехода
. Вспомогательное время:
.1 На установку и снятие детали:
.2 Вспомогательное время, связ. с переходом:
.3 Вспомогательное время связанное с переходом
на приемы
не вошедшие в комплексы
:
=
=
0,07+0,06+0,07+0,02+0,5=0,72
.4 Вспомогательное время на контрольные
измерения
Общее время на контрольные измерения
определяется:
время измерения
одной поверхности инструментов данного вида- количество поверхностей, контрол.
инструм. данного вида
.5 Поправочный коэффициент на вспомогат. время:
.6 Общее вспомогательное время:
.Оперативное время:
кардан вилка дефектация
0,2+1,15=1,35
4. Время на обслуживание рабочего места:
. Время перерывов на отдых и личные надобности:
. Штучное время:
. Подготовительно заключительное время:
Общее
опр-ся:
=10+7+2.5=19.5
. Штучное калькуляционное время:
. Норма выработки:
2. Шлифовальная операция:
.Основное время:
мин.
.Вспомогательное время:
.1.На установку и снятие детали:
мин.
.2. Вспомогательное время, связанное с
обработкой:
мин.
.3. Вспомогательное время на измерения:
мин.
.4. Поправочный коэффициент на вспомогательное
время:
.5. Общее вспомогательное время, мин:
. Оперативное время, мин:
мин.
. Время на обслуживании рабочего места, мин:
мин.
. Время на отдых и личные надобности, мин:
мин.
. Штучное время, мин:
мин.
. Подготовительно-заключительное время, мин:
мин.
8. Штучно-калькуляционное время, мин:
мин
где ПЗ - партия запуска деталей.
. Норма выработки деталей в смену:
Сверильная операция:
.Общее основное время:
где
время
одного перехода
. Вспомогательное время:
.1 На установку и снятие детали:
.2 Вспомогательное время, связ. с переходом:
.3 Вспомогательное время связанное с переходом
на приемы
не вошедшие в комплексы
:
=
=
0,02+0,08+0,17+0,7=0,97
.4 Вспомогательное время на контрольные
измерения
Общее время на контрольные измерения
определяется:
время измерения
одной поверхности инструментов данного вида- количество поверхностей, контрол.
инструм. данного вида
.5 Поправочный коэффициент на вспомогат. время:

.Оперативное время:
0,14+1,54=1,68
. Время на обслуживание рабочего места:
. Время перерывов на отдых и личные надобности:
. Штучное время:
. Подготовительно заключительное время:
Общее
опр-ся:
=12+6=18
. Штучное калькуляционное время:
. Норма выработки:
. Наплавочная операция
. Основное время:
мин.
.Вспомогательное время:
.1.На установку и снятие детали:
мин.
.2.Вспомогательное время, связанное с переходом:
мин.
.3.Вспомогательное время, связанное с переходом
на приемы, не вошедшие в комплексы:
мин.
.4. Вспомогательное время на измерения:
мин.
.5. Поправочный коэффициент на вспомогательное
время:
2.6. Общее вспомогательное время, мин:
(49)
мин.
3. КОНСТРУКТОРСКАЯ ЧАСТЬ
.1 Назначение, устройство и принцип
действия приспособления
Наибольшее применение имеют трехкулачковые
клиновые и рычажные патроны с механизированным приводом для перемещения
кулачков. Эти патроны используют в крупносерийном и серийном производствах для
закрепления штучных деталей, обрабатываемых на различных токарных и
револьверных станках.
В зависимости от конструкции центрирующего
механизма такие патроны с механизированным приводом подразделяют на рычажные,
рычажно-винтовые, рычажно-клиновые и клиновые. При наладке патронов необходимо
установить и закрепить накладные кулачки на требуемый размер обрабатываемой
детали.
В пазах корпуса патрона установлено три кулачка,
к которым винтами и сухарями прикреплены сменные кулачки. В корпусе патрона
установлена втулка которая винтом и тягой соеденина со штоком поршня
пневмоцилиндра. Во втулке имеются три паза с углом 15 градусов, которые входят
наклонные выступы кулачков, образуя клиновые сопряжные пары. Во время подачи
сжатого воздуха в штоковую полость пневмоцилиндра поршень со штоком
перемещаются в пневмоцилиндре влево, шток через тягу, винт и втулка передвигает
выступ кулачков вниз по наклонным пазам втулки.
.2 Расчет приспособления
Сила резания:
1
Сила зажима
Крутящий момент
М=518.53*27=14000.31 Н мм
Суммарная сила зажима детали тремя кулачками
патрона:
Сила зажима детали одним кулачком:
-
число кулачков
Сила зажима
Крутящий момент
М=518.53*27=14000.31 Н мм
Суммарная сила зажима детали тремя кулачками
патрона:
Сила зажима детали одним кулачком:
Величина силы зажима:
Сила на штоке пневмоцилиндра трехкулачкового
патрона:
Диаметр поршня пневмоцилиндра:
Фактическая сила зажима детали по принятому
диаметру:
4. ТЕХНИКА БЕЗОПАСНОСТИ
.1 Требования техники безопасности
на объекте проектирования
.1.1 Общие положения техники
безопасности
Настоящие Правила пожарной безопасности
распространяются на все действующие предприятия автомобильного транспорта
общего пользования Министерства автомобильного транспорта РФ. Настоящие Правила
разработаны в соответствии с требованиями ГОСТ 12.1.004-76, ГОСТ 1271.010-76,
ГОСТ 12.2.013-75, ГОСТ 12.3.005-75,ГОСТ 12.4.009-75, ГОСТ 12.4.026-76, ГОСТ
25289-82, С НиП 11-93-74, С НиП 11-4-79, С НиП 11-33-75, Типовых правил
пожарной безопасности для промышленных предприятий, утверждённых
Госгортехнадзором СССР 28.09.1971.; Правил и норм техники безопасности,
пожарной безопасности и производственной санатории для окрасочных цехов,
утверждённых Минхиммашем СССР 15.08.1974г.; Правил технической эксплуатации
подвижного состава автомобильного транспорта, утверждённых Минавтотрансом РСФСР
09.12.1970г.; Правил дорожного движения, утверждённых МВД СССР 02.11.1979г.
В соотвествии с действующим законодательством
ответственность за обеспечение пожарной безопасности предприятия несёт его
руководитель. Контроль и помощь в обеспечении противопожарной защиты
предприятия осуществляет вышестоящая организация.
Ответственность за пожарную безопасность мест
для стоянок, технического обслуживания (ТО) и ремонта (ТР) автомобилей,
отдельных цехов, участков и складов возлагается на их руководителей.
За нарушение настоящих Правил виновные несут
дисциплинарную, а также иную ответственность, предусмотренную действующим
законодательством, в зависимости от характера нарушения и тяжести его
последствий.
Руководители автотранспортных предприятий
обязаны: организовывать на подведомственных объектах изучение, выполнение всеми
инженерно-техническими работниками (ИТР), слушащими и рабочими настоящих
Правил, а также постановлений исполкомов местных Советов народных депутатов,
указаний и приказов вышестоящих организаций; организовывать добровольные
познанные дружины (ДПД) и пожарнотехническую комиссию и обеспечивать их работу
в соответствии с действующими положениями (приложения 1 и 2); организовывать
проведение противопожарного инструктажа и занятия по пожарно-техническому
минимуму по соответствующей программе (приложение 3); установить на территории,
в производственн0-административных, складских и вспомогательных помещениях
строгий противопожарный режим оборудовать места и допустимое количество
единовренного хранения легковоспламеняющихся горючих веществ, сырья и готовой
продукции; установить чёткий порядок осмотра и закрытия помещений после
окончания работы) и постоянно обеспечивать строгчайшее соблюдение всеми
работающими; назначать приказов лиц, явственных за обеспечение пожарной
безопасности мест cтоянок автомобилей, помещений для ТО и ТР, участков, цехов и
т.д.
4.1.2 Техника безопасности на
электротехническом участке
Дежурный электрик (сменный электромонтёр) обязан
производить gлановые профилактические осмотры электрооборудования, проверять
наличие и исправность аппаратов защиты и принимать немедленные меры к
устранению нарушений, которые могут привести к пожарам и загораниям. Результаты
осмотров электроустановок, обнаруженные неисправности и принятые меры
фиксируются в журнале.
Проверка изоляции кабелей, проводов, надёжности
соединений, защитного заземления, режима работы электродвигателей должна
производиться электриками предприятия как наружным осмотром, так и с помощью
приборов. Замер сопротивления изоляции проводов должен производиться в
установленные сроки.
Все электроустановки должны быть защищены
аппаратами защиты от токов короткого замыкания и других нормальных режимов,
могущих привести к пожарам и загораниям. Плавкие вставки предохранители должны
быть калиброванны с указанием на клемме номинального тока вставки (клеймо
ставится заводом - изготовителем или электротехнической лабораторией).
Запрещается применение самодельных вставок ("жучков"). Соединения,
оконцевания и ответвления жид проводов и кабелей во избежания опасных в
пожарном отношении переходных сопротивлений необходимо производить при помощи
опрессовки, сварки, пайки или специальных зажимов.
4.1.3 Требования техники
безопасности при выполнении основных работ
При ТО и ремонте электрооборудования необходимо
соблюдать следующие меры безопасности:
при выполнении контрольно-регулировочных работ
при работающем двигателе (проверка работы генератора, регулировка
реле-регулятора и др.) включить вентиляционный местный отсос;
во избежание захвата одежды или рук
обслуживающего персонала вращающимися частями (шкив генератора, лопасти вентилятора
и др.) перед началом работы застегнуть рукава и привести в порядок другие части
одежды и головного убора;
работать чистым и исправным инструментом;
наждачный круг защищать стальным кожухом так, чтобы открытой оставалась только
рабочая часть круга;
не работать со снятым кожухом; корпуса
электродвигателей и оборудование электротехнического отделения обязательно
заземлять.
При мойке агрегатов и деталей ТС необходимо
соблюдать следующие требования: концентрация щелочных моющих растворов должна
быть не более 5%, после мойки щелочным раствором обязательна незамедлительная
промывка горячей водой; детали работающие в контакте с этилированным бензином,
должны подвергаться нейтрализации отложений тетраэтил свинца керосином или
другой нейтрализующей жидкостью с последующей мойкой горячей водой. Моечные
ванны с керосином и другими моющими жидкостями по окончании мойки должны
закрываться крышками.
4.1.4 Пожарная безопасность
Меры противопожарной защиты можно разделить на
пассивные и активные. Пассивные меры сводятся к архитектурно-планировочным
решениям. При проектировании здания необходимо предусмотреть удобство подхода и
проник новения в помещения пожарных подразделений; снижение опасности
распростра нения огня между этажами, отдельными помещениями и зданиями,
конструктивные меры, обеспечивающие незадымляемость зданий, противопожарные
разрывы, преграды для распространения огня, выполнение конструкции зданияиз
трудногорючих материалов и т.д.
Активные меры заключаются в создании
автоматической пожарной сигнализации, установке систем автоматического
пожаротушения и др. Причинами возникновения пожара может быть: неосторожное
обращение с огнём неисправность отопительных приборов, электропроводки,
оборудования.
МЧС разделяет пожарную опасность на 5 категорий:
А - взрывопожароопасное производство
(карбюраторный участок, малярный);
Б - аналогично(участок ремонта двигателей и
других подобных узлов, зоны ТО-1, ТО-2 связаны с ГСМ);
В - пожароопасное производство (шиномонтажный
участок, деревообрабатывающий и т.п.);
Г - участки где используются вещества в горючем
состоянии, а также сжигающие твёрдые, жидкие и газообразные вещества;
Д - не сжигаемые вещества и материалы в холодном
состоянии.
4.2 Расчет отопления, вентиляции и
освещения
Расчет отопления
=q*V*n, (42)
где q - удельный расход пара в месяц, т\м3;-
объем помещения, м3;- число отапливаемых месяцев в году, мес.
= 0,09 * 339 * 8 =
244,1 т
= 0,09 * 454,5 * 8
= 327,3 т
= 0,09 * 172,6 * 8
= 124,3 т
∑Q =
+
+
=
244,1 + 327,3 + 124,3 = 695,7 т=F*H, (43)
где F - площадь отделения, м2;- высота
помещения, м.
= 80,7 * 4,2 ≈
339
= 108,2 * 4,2 =
454,5
= 41,1 * 4,2 =
172,6
=
+
+
=
454,5 + 172,6 + 339 = 966,1
Расчет вентиляции
=V*K, (45)
где K - кратность воздуха обмена, м3/ч.
= 966,1*2 = 1932,2 м3/ч;
Расчёт мощности потребляемой вентилятором
N=
, (46)
где P - давление создаваемое
вентилятором, Па;- производительность вентилятора, м3/ч;
ηВ - КПД вентилятора;
ηП - КПД передачи.
=
Определяем установочную мощность
электродвигателя
УСТ=N*αВ, (47)
где αВ -
коэффициент запаса мощности вентиляции.
УСТ = 0,91*1,2 = 1,1 кВт.
Расчет естественного освещения
Определяем, световую площадь окон отделения
ОК=FПОЛ*α,
(48)
где FПОЛ - площадь пола отделения, м2;
α - световой
коэффициент.
ОК = 249,6*0,3 = 748,8 м2.
Число окон
nОК=
, (49)
где F1ОК - площадь одного окна, м2.
ОК =
шт;
= 3,6 * 3 = 10,8
Расчет искусственного освещения
Требуемая мощность
ОСВ=R*FПОЛ, (50)
где R - норма расхода
электроэнергии, Вт/м2;ПОЛ - площадь пола, м2.
ОСВ = 249,6*18 = 4492,8 Вт;
Расчёт количества светильников
nЛ=
, (51)
где NЛ - мощность одной лампы, Вт.
Л =
шт.;
Уточненная мощность на освещение
ОСВ=nЛ*NЛ. (52)ОСВ = 23*200 = 800
Вт.
4.3 Основные мероприятия по охране
окружающей среды
Наиболее эффективной формой защиты
природной среды от выбросов промышленных предприятий является разработка и
внедрение безотходных и малоотходных технологических процессов во всех отраслях
промышленности. До всестороннего внедрения безотходной технологии важным
направлением экологизации промышленного производства следует считать:
совершенствование технологических процессов, создание новых экологически
безвредных процессов, разработку нового оборудования с меньшим уровнем выбросов
примесей и отходов в окружающую среду; замену токсичных отходов нетоксичными;
замену не утилизируемых отходов на утилизируемые; применение аппаратов и
систем, уменьшающих воздействие на природу.
К пассивным методам защиты относят
устройства и системы защиты окружающей среды, которые применяют для очистки вентиляционных
и технологических выбросов от вредных примесей; рассеяния их в атмосфере;
очистки сточных вод; глушения шума уменьшением уровней инфразвука, ультразвука
и вибраций на путях их распространения; экранирования источников
энергетического загрязнения окружающей среды; захоронения, ликвидации и
обезвреживания токсичных и радиоактивных отходов.
Очистка сточных вод от механических
примесей осуществляется процеживанием, отстаиванием, фильтрованием, отделением
механических частиц в поле действия центробежных сил; от маслосодержащих
примесей отстаиванием, обработкой в гидроциклонах, флотацией, фильтрованием,
обработкой специальными реагентами.
Для очистки сточных вод от металлов
и их солей применяют следующие методы: реагентные, ионообменные, сорбционные,
электрохимические (гиперфильтрация, электрокоагуляция, электролиз,
электродиализ), биохимические.
Основными направлениями ликвидации и
переработки твердых отходов (кроме металлоотходов) являются вывоз и захоронение
на полигонах, сжигание, складирование и хранение на территории промышленного
предприятия до появления новой технологии переработки их в полезные продукты
(сырье).
Для уменьшения шума в окружающей
среде применяют экраны, кожухи, глушители, окна с повышенными звукоизолирующими
свойствами, зеленые насаждения между источниками шума и жилой застройкой.
Широко применяется метод снижения
шума и вибраций за счет удаления от источников.
Широко применяют газо-, пыле- и
туманоулавливающие аппараты и системы.
Газопылеулавливающие установки можно
разделить на следующие группы: электролитической очистки газов (сухие, мокрые,
комбинированные); тканевые, волокнистые и пористые фильтры (мешочные, рамные,
рукавные со струйной, импульсной, обратной продувкой); сухие инерционные
пылеуловители (циклоны, мультициклоны, ротационные, вихревые аппараты,
акустические коагуляторы и др.); мокрые пылеуловители (полые, насадочные
скрубберы, барботеры и др.); установки химической очистки газов (абсорбционные,
адсорбционные, рекуперационные); печи и установки дезодорации неприятно
пахнущих веществ каталитического разложения и дожигания отходящих газов;
электрофильтры.
ЛИТЕРАТУРА
1.
Власов В. Техническое обслуживание и ремонт автомобилей.
.
Исламов М.Г. Справочно-информационные материалы. Для курсового проектирования
по предмету «Техническое обслуживание автомобилей».
.
Карагодин В.И., Карагодин Д.В.. Автомобили Камаз. Устройство, техническое
облуживание, ремонт.
.
Митрошин А.И. Проектирование производственных подразделенных подразделений АТО.
Методическое руководство.
.
Туревский И.С. Дипломное проектирование автотранспортных предприятий.