Исследование кинетических закономерностей анодного синтеза f-металлов с ацетилацетоном
МИНИСТЕРСТВО ОБРАЗОВАНИЯ И НАУКИ
РОССИЙСКОЙ ФЕДЕРАЦИИ
Федеральное государственное бюджетное
образовательное учреждение
высшего профессионального образования
«КУБАНСКИЙ ГОСУДАРСТВЕННЫЙ
УНИВЕРСИТЕТ»
(ФГБОУ ВПО «КубГУ»)
Кафедра общей и неорганической химии
и инфомационно-вычислительных технологий в химии
КУРСОВАЯ РАБОТА
ИССЛЕДОВАНИЕ КИНЕТИЧЕСКИХ
ЗАКОНОМЕРНОСТЕЙ АНОДНОГО СИНТЕЗА f-МЕТАЛЛОВ С АЦЕТИЛАЦЕТОНОМ
Работу
выполнила Несен И.М.
Факультет
курс 3
Специальность/направление
химия
Научный
руководитель,
канд. хим.
наук, доцент Фролов В.Ю.
Нормоконтролер,
канд. хим.
наук, доцент Стороженко Т.П.
Краснодар 2013
СОДЕРЖАНИЕ
1. ЛИТЕРАТУРНЫЙ ОБЗОР
.1 Общая характеристика лантаноидов
.1.1 Строение атомов
.1.2 Особенности комплексообразования ионов РЗЭ
.2 Характеристика ацетилацетона
.3 Методы синтеза ацетилацетонатов РЗЭ
.4 Преимущество электрохимического метода синтеза
комплексных соединений
.5 Выбор неводного растворителя
. ПРАКТИЧЕСКАЯ ЧАСТЬ
.1 Реактивы
.2 Принципиальная схема синтеза и конструкция электрохимической
ячейки
.3 Вольтамперные характеристики
.4 Методика синтеза
.4.1 Ацетилацетонат неодима
.4.2 Ацетилацетонат тербия
.5 Методы исследования состава синтезированных комплексных
соединений
.5.1 Определение ацетилацетона
.5.2 Определение РЗЭ комплексонометрическим титрованием
. РЕЗУЛЬТАТЫ РАБОТЫ И ИХ ОБСУЖДЕНИЕ
.1 Идентификация полученных соединений
.1.1 Обсуждение результатов фотоколориметрического анализа
.2.1 Результаты ИК-спектроскопического изучения
синтезированных соединений
Выводы
СПИСОК ИСПОЛЬЗОВАННЫХ ИСТОЧНИКОВ
ПРИЛОЖЕНИЯ
ВВЕДЕНИЕ
За последние десятилетия химия комплексных соединений лантаноидов,
занимающая вообще главенствующее положение в химии лантаноидов, получила бурное
развитие, главным образом, благодаря возрастанию масштабов практического
применения комплексных соединений.
Лантаноиды как в металлическом виде, так и в виде соединений, в том числе
и комплексных, находят применение в оптической промышленности, радиотехнике,
медицине, чёрной и цветной металлургии, химической технологии, при разделении и
получении индивидуальных элементов высокой степени чистоты, в аналитической
химии, в производстве люминесцентных материалов, лазерной технике, атомной
промышленности и военном деле, в создании новых методов физико-химического
анализа [1,2].
Особое место среди координационных соединений редкоземельных элементов
занимают β-дикетонаты, так как интерес к β-дикетонатам редкоземельных элементов
имеет фундаментальный и прикладной аспекты. Они находят применение в различных
отраслях промышленности. И поэтому актуальными являются исследования в области
изучения физико-химических свойств данных соединений, а также поиск и
совершенствование путей их синтеза.
Задачами данной работы являются:
Изучение кинетики и электродных процессов на основе
полученных вольтамперограмм;
Электрохимический синтез на основе данных вольтамперограмм;
Идентификация состава полученных координационных соединений f-элементов с ацетилацетоном;
Сравнение эффективности электрохимического синтеза без
контроля параметров процесса и проведенного на основе данных кинетических
измерений
1. ЛИТЕРАТУРНЫЙ ОБЗОР
.1 Общая
характеристика лантаноидов
.1.1 Строение атомов
Электронная конфигурация атомов лантаноидов может быть выражена общей
формулой 4f2-145s25p65d0-16s2. В основе электронной структуры атомов РЗЭ лежит
электронная структура ксенона, сверх которой, начиная с церия, происходит
заполнение 4f-орбитали, а также имеется два или три валентных электрона (6s1
или 5d16s2). В соответствии с положением в периодической системе все электроны,
имеющиеся в лантаноидах, делят на четыре группы:
1. внутренняя замкнутая оболочка ксенона (от 1s1 до 4d10);
. некомпенсированная “магнитная” 4f-оболочка;
. экранирующая 5s25p6-оболочка;
. электроны проводимости 5d16s2.
У лантаноидов электроны 4f-орбитали связаны значительно прочнее, чем
электроны 5d- и 6s- орбиталей, которые связаны примерно одинаково.
Валентности лантаноидов определяются числом электронов проводимости.
Поэтому лантан (La), гадолиний (Gd), лютеций (Lu) - трехвалентны, остальные
лантаноиды могут быть трехвалентными за счет f-d переходов, вероятность которых
и определяет их валентность. Трехвалентное состояние наиболее устойчиво для
лантаноидов (его называют характеристическим) [3,4].
.1.2 Особенности
комплексообразования ионов РЗЭ
Первым описанным в литературе внутрикомплексным соединением РЗЭ был
ацетилацетонат лантана, полученный Урбеном в начале CC в.
Однако его комплексная природа не была вскрыта, и сведения о комплексах
РЗЭ ограничивались данными о двойных солях - нитратах, сульфатах и др. В
настоящее время известно большое число устойчивых комплексов РЗЭ, образованных
полидентатными лигандами [5].
Особеннности электронного строения f-элементов объясняют ряд
специфических особенностей их комплексообразования:
. Природа связи в комплексах РЗЭ носит преимущественно ионный
характер, что объясняется сравнительно большим ионным радиусом и наличием
замкнутой электронной оболочки, экранирующей 4f-орбитали и препятствующей их
перекрыванию с орбиталями лигандов.
. Достаточно большой размер ионов РЗЭ и наличие доступных
вакантных 5d-орбиталей делает их сильными льюисовыми кислотами. Только совсем
недавно установлено, что координационное число (КЧ) в комплексах РЗЭ в
подавляющем большинстве случаев больше шести. Еще до 1966г. Все работающие в этой
области исследователи предполагали по аналогии с другими трехзарядными ионами
(например Al3+), что КЧ ионов РЗЭ всегда 6. Сейчас доказано, что КЧ может быть
7,8,9,10 и даже 12. Количество молекул координационно связанного лиганда, как
правило, зависит от способа выделения комплекса из раствора. Высокая
комплексообразующая способность соединений РЗЭ обуславливается, прежде всего,
наличием у металлов незаполненной 5dz2-орбитали [6].
. Наблюдается сильное взаимное влияние однородных и разнородных
лигандов во внутренней координационной сфере и взаимное ослабление связей
центрального иона РЗЭ с каждым из лигандов по мере последовательного вхождения
нескольких лигандов в координационную сферу [7].
. Лабильность комплексов РЗЭ и способность ионов РЗЭ образовывать
комплексы с переменными и высокими координационными числами приводит к тому,
что в растворе существует смесь комплексов РЗЭ различного состава и строения. В
твердом состоянии из раствора выделяется трудноразделяемая смесь с различным
соотношением Ln-L.
1.2 Характеристика ацетилацетона
Ацетилацетон представляет собой бесцветную жидкость с приятным запахом,
умеренно растворяется в воде (до 15%). Ацетилацетон, как в неразбавленном виде,
так и в растворах является смесью таутомерных форм - дикарбонильная форма и
енольная форма (одна или несколько), которые находятся в равновесии:

В таутомерной смеси всегда преобладает форма, имеющая меньшую кислотность.
В случае ацетилацетона это дикетоформа.
b-дикарбонильные соединения представляют собой кислоты. Константы
кислотности в зависимости от строения соединения и растворителя меняются в
широком интервале. Например, в водных растворах pKa»4….10. Дикарбонильная (кето-) форма является
СН-кислотой, а енольная - ОН-кислотой, и каждая имеет свою константу ионизации.
В кислой среде ацетилацетон, как и все b-дикетоны, протонируется с образованием катионов:
Подвижность атомов водорода при втором углеродном атоме обуславливает
растворение ацетилацетона в щелочах с образованием карбанионов. Относительная
легкость образования карбанионов у всех b-дикетонов объясняется стабилизацией карбанионов при помощи
двух карбонильных групп вследствие резонанса:

Карбанионы b-дикетонатов
являются полифункциональными лигандами. Они обладают высокой реакционной
способностью и почти со всеми элементами периодической системы образуют хелаты,
которые характеризуются высокой степенью делокализации p-электронной плотности в кольце, что
приводит к эквивалентности связей С-О и С-С.
Свойства хелатов b-дикетонатов
сильно отличаются между собой [8]. Это позволило разработать методы
определения, разделения и концентрирования многих элементов.
С
ионами металлов
<#"660677.files/image008.gif">
К - медный кулонометр; V - вольтметр; Эл - электрометр; mA -
миллиамперметр; Р.Э. - рабочий электрод; В.Э. - вспомогательный электрод; Э.С.
- электрод сравнения
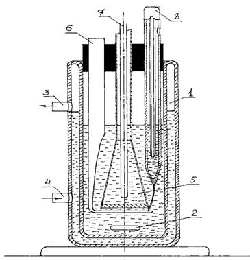
Рисунок 1 - Принципиальная электрическая схема синтеза
Рисунок 2 - Схема трехэлектродной ячейки для электрохимического анодного
синтеза
- рубашка термостата, 2 - магнитная мешалка, 3 - выходной патрубок, 4
входной патрубок, 5 - сепаратор. 6 - рабочий электрод, 7 - вспомогательный
электрод, 8 - электрод сравнения.
2.3 Вольтамперные характеристики
Вольтамперная характеристика - это зависимость силы тока в
электролитической ячейке от потенциала погруженного в анализируемый раствор
индикаторного микроэлектрода, на котором реагирует исследуемое электрохимически
активное вещество. Для получения такой зависимости использовался метод анодной
инверсионной вольтамперометрии. Сущность метода состоит в предварительном
накоплении анализируемого вещества на индикаторном (рабочем) электроде
электролизом при контролируемом потенциале с его последующим электрохимическим
растворением при линейно изменяющемся потенциале.
В
раствор ацетонитрила, содержащий соли неодима, тербия и ртути, помещают
индикаторный графитовый микроэлектрод, на котором реагируют исследуемые
электрохимически активные вещества, вспомогательный графитовый электрод
<#"660677.files/image010.jpg">
Рисунок
3 - Инверсионная вольтамперограмма для растворов солей РЗЭ в ацетонитриле

Рисунок 4 - Инверсионная вольтамперограмма для растворов солей РЗЭ,
содержащих ацетилацетон
На основе анализа сравнительных вольтамперометрических данных для
электрохимических систем, содержащих и не содержащих лиганд, обнаружено
смещение потенциала полуволны реакции анодной ионизации неодима с -1,5 до -1 В
и тербия с -1,02 до -0,502 В.
2.4 Методика синтеза
Электросинтез безводных ацетилацетонатов редкоземельных элементов
проводят следующим образом. Составляется электрическая цепь, содержащая в
качестве источника тока регулируемый понижающий трансформатор (ЛАТР) на 220 В,
электролизер, включенный последовательно выпрямительный диод (например, серии
кд 202), амперметр на 100 mА, вольтметр на 1-10 В и выключатель тока.
Электролизер составляют из стеклянного сосуда (химический стакан), в который
помещены два электрода: один из металлического редкоземельного элемента, другой
из графита. В сосуд заливается электролит, состоящий из раствора ацетилацетона
и хлорида лития в ацетонитриле в соотношении соответственно
(1-10):1:500.Трансформатор устанавливают в положение минимального выходного
напряжения, включают в цепь переменного тока на 220 B, 50 Гц, замыкают
выключатель тока и регулируют таким образом, чтобы вольтметр показал напряжение
между электродами 1-5 В, проходящий через электролизер ток при этом должен
соответствовать анодной плотности тока 10-50 mA/см2 на амперметре. Реакцию
проводят при комнатной температуре. Электролиз при таких параметрах ведут 1-2
ч. Полученный твердый продукт в виде осадка на дне сосуда декантируют,
промывают абсолютным спиртом и сушат под вакуумом или в атмосфере аргона над
Р2О5.
Механизм протекания электросинтеза заключается в анодном растворении
металла, вводимого в состав координационного соединения. Образующийся катион
металла присоединяет лиганд, образуя комплексные соединения.
K: HAA
+ ē → AA‒
+ ½ H2
H2O +ē → OH‒
+ ½ H2;: Ln 0 - 3ē → Ln 3+,
Ln 3+
+ 3AA‒ → [Ln(AA)3]
где Ln - металл, участвующий в реакции
анодного синтеза (Nd, Tb); AA- лиганд, вступающий в реакцию синтеза с металлом
(ацетилацетон); e - электрон.
2.4.1 Ацетилацетонат неодима
Анод из металлического неодима со степенью чистоты 99,99%. Соотношение
компонентов раствора 5:1:500, потенциал анода -0,5 В. Сушку осуществляли в
эксикаторе в атмосфере аргона над Р2О5.
2.4.2 Ацетилацетонат тербия
Реакцию проводят при комнатной температуре. Анод из металлического тербия
со степенью чистоты 99,99%. Соотношение компонентов раствора 10:1:500,
потенциал -0,202 В. Сушку осуществляли в вакуумном эксикаторе при 1-10 мм рт.
ст. над СаО.
Условия проведения синтеза указаны в таблице 1.
Таблица 1 - Условия электрохимического синтеза комплексных соединений
|
Лиганд
|
Концентрация лиганда,
моль/л
|
Фоновый электролит и
растворитель
|
Анод
|
Катод
|
Потенциал анода, в
|
Анодная плотность тока,
А/дм2
|
Катодная плотность тока,
А/дм2
|
Температура , Т оС
|
Выход по току, %
|
|
Ацетилацетон
|
0,5
|
LiCl, Acn
|
Nd
|
C
|
-0,5
|
10-15
|
10-15
|
25
|
91
|
|
Ацетилацетон
|
0,5
|
LiCl, Acn
|
Tb
|
C
|
-0,202
|
10-15
|
10-15
|
25
|
97
|
2.5 Методы исследования состава синтезированных комплексных
соединений
.5.1 Определение ацетилацетона
Определение ацетилацетона в координационных соединениях основывается на
интенсивной окраске его соединений с ионом Fe 3+. Причем эта окраска
сохраняется даже в сильнокислой среде, то есть при использовании в качестве
растворителя серной или соляной кислоты. Это позволяет достичь сразу трех
целей:
а) разрушить комплексное соединение с ацетилацетоном;
б) избежать гидролиза иона РЗЭ;
в) избежать образования полимерных комплексов, которые могут повлиять на
точность определения.
Готовят стандартную серию растворов по навескам ацетилацетона в 0,2 М
серной кислоте и определяют интенсивность поглощения при l = 360-380 нм. Строится калибровочный
график и обсчитывается методом наименьших квадратов. По графику или полученному
уравнению прямой определяют содержание ацетилацетона в исследуемых объектах.
2.5.2 Определение РЗЭ комплексонометрическим
титрованием
Полученный раствор титровали 0,1 н трилоном Б, приготовленным из
фиксанала, до перехода окраски в чисто-желтую.
3. РЕЗУЛЬТАТЫ
РАБОТЫ И ИХ ОБСУЖДЕНИЕ
3.1 Идентификация полученных соединений
Идентификация полученных соединений проводилась методами химического и
физико-химического (комплексонометрическое титрование, фотоколориметрия,
инфракрасная спектроскопия) анализа. Результаты проведенных анализов указаны в
таблицах 2 и 3.
Таблица 2 - Данные элементного анализа
|
Соединение
|
Вычислено, %
|
Найдено, %
|
|
М
|
С
|
Н
|
О
|
М
|
С
|
Н
|
О
|
|
Ацетилацетонат неодима
|
32,67
|
40,82
|
4,76
|
21,75
|
32,15
|
40,95
|
5,05
|
21,73
|
|
Ацетилацетонат тербия
|
34,85
|
39,52
|
4,61
|
21,06
|
34,65
|
40,15
|
4,54
|
21,74
|
Таблица 3 - Данные титриметрического анализа
|
Соединение
|
Вычислено, %
|
Найдено, %
|
|
Ln
|
HAA
|
Ln
|
HAA
|
|
Ацетилацетонат неодима
|
32,43
|
67,57
|
32,03
|
67,97
|
|
Ацетилацетонат тербия
|
34,64
|
65,36
|
34, 50
|
65,50
|
3.1.1 Обсуждение результатов фотоколориметрического
анализа
В основу фотоколориметрического анализа были положены стандартные
методики. Предварительно было проведено изучение влияния ионов металлов,
входящих в состав комплексного соединения, на точность определения содержания
лиганда. В результате того, что были выбраны для синтеза максимально простые
системы, содержащие минимальное число посторонних компонентов, фотометрический
анализ не был осложнён присутствием мешающих веществ. По данным
фотометрического анализа, после предварительного изучения фотометрического
реагента строилась калибровочная зависимость величины оптической плотности
раствора от концентрации лиганда. В дальнейшем проводился обсчёт полученной
зависимости наименьших квадратов с целью расчёта уравнения прямой
калибровочного графика. Для целей расчёта коэффициентов линейной регрессии
использовали компьютерную программу. Полученный калибровочный график или
уравнение прямой использовались для нахождения содержания лиганда в
синтезированных веществах. Таким образом, для всех веществ определено
относительное содержание лиганда в навеске.
3.1.2 Результаты ИК-спектроскопического изучения синтезированных
соединений
В ИК-спектрах синтезированных соединений основное внимание было уделено
анализу положения полос поглощения карбоксильной группы и карбоксилат-иона. Из
литературных данных следует, что карбоксильная группа имеет несколько
характерных полос поглощения: слабые полосы в области 2500 - 2700 см-1; полоса
валентных колебаний nассим
С=О группы (асимметричные колебания, имеющие высокую интенсивность поглощения);
полосы в области 1400 см-1 приписываются валентным симметричным колебаниям
карбоксильной группы.
Положение этих полос зависит от агрегатного состояния соединения или от
наличия каких-либо заместителей. В случае проведения процесса анодного синтеза
в неводных апротонных средах для тех комплексных соединений, которые не
содержат молекул сольватированного растворителя (например, комплексы Nd(III) и Tb(III), получаемые в ацетонитриле) можно
наблюдать смещение полос поглощения дополнительных к карбоксильной группе
координационных центров ОН-.
Данные анализа синтезированных комплексных соединений приведены в табл.4.
ИК-спектры ацетилацетона и ацетилацетонатов неодима и тербия приведены в
приложении А.
Таблица 4 - Отнесение полос поглощения в ИК-спектрах
|
Соединение
|
Отнесение полос поглощения
|
|
nC=C
|
n>C=O
|
nC-C + dC-CH
|
nasC-O+dC-CH2
|
|
Ацетилацетон
|
1680
|
1730
|
1255
|
952
|
|
Ацетилацетонат неодима
|
1515
|
1605
|
1255
|
|
Ацетилацетонат тербия
|
1515
|
1605
|
1255
|
952
|
Выводы
По итогам данной работы можно сделать следующие выводы:
. На основе анализа сравнительных вольтамперометрических данных
для электрохимических систем, содержащих и не содержащих лиганд, обнаружено
смещение потенциала полуволны реакции анодной ионизации неодима с -1,5 до -1
вольта и тербия с -1,02 до -0,502 вольт;
. Проведен электрохимический синтез ацетилацетонатов неодима и
тербия в трехэлектродной ячейке при контролируемом потенциале на 0,3-0,5 вольта
больше, чем потенциал полярографического максимума;
. Состав соединений по данным анализа соответствует безводным
несольватированным трис-ацетилацетонатам неодима и тербия, что согласуется с
литературными данными по аналогичным соединениям, синтезированным
электрохимически при неконтролируемом высоком электродном потенциале;
. Сравнение электрохимической эффективности синтеза показывает
увеличение выхода по току для синтеза при контролируемом потенциале на 4% по
сравнению с неконтролируемым синтезом.
СПИСОК
ИСПОЛЬЗОВАННЫХ ИСТОЧНИКОВ
1. Панюшкин,
В.Т. Лантаноиды: простые и комплексные соединения/ В.Т. Панюшкин, Ю.А.
Афанасьев, Е.И. Ханаев и др. - Издательство Ростовского Университета.
2. Надьпал,
И. Исследование комплексообразования новейшими методами/ И. Надьпал - М.: Мир,
1989. - 40 с.
3. Ионова,
Г. В. Закономерности изменения свойств лантаноидов и актиноидов / Г. В. Ионова,
В. Г. Вохмин, В. И. Спицин. - М.: Наука, 1990.
. Берсукер,
И. Б. Электронное строение и свойства координационных соединений/ И. Б.
Берсукер. - Л.: Химия, 1976. - 352 с.
. Спицин,
В. И. Координационная химия редкоземельных элементов/ под ред. В. И. Спицина,
Л. И. Мартыненко. - Изд-во Московского Университета, 1979.
. Бочкарёв,
Н.К. Органические производные редкоземельных элементов / Н. К. Бочкарёв, Г. С.
Калинина. - М.: Наука, 1989. - С.6-9.
. Костромина,
Н. А. Комплексонаты редкоземельных элементов/ Н.А. Костромина - М.: Наука,
1980. - 219 с.
. Бургер,
К. Органические реагенты в неорганическом анализе/ К. Бургер.- М.: Мир, 1975. -
272 с.
. Фролов,
В.Ю. Электрохимический синтез комплексных соединений d- и f-элементов
с карбоксил- и карбонилсодержащими лигандами: дис. …канд. хим. наук : 02.00.01/
Фролов Владимир Юрьевич. - Краснодар, 2001. - 189 с.: ил. РГБ ОД, 61
02-2/165-1.
. Цитировано
по J. Chem. Soc.: науч. журн., 1938, 1254 - ISSN 0002-7863.
. Цитировано
по Inorg. Syntheses: науч. журн., 1946, 2, 119 - ISSN 0020-1669.
. Цитировано
по Compt. Reid.: науч. журн., 1943, 157, 30.
13. Цитировано по J. Chem. Soc.:
науч. журн., 1947, 1084 - ISSN
0002-7863.
. Цитировано по J. Am. Chem. Soc.: науч. журн., 1948, 70, 3142 - ISSN 0002-7863.
. Цитировано по J. Chem. Soc.:
науч. журн., 1925, 2379 - ISSN
0002-7863.
. Цитировано по J. Org. Chem.:
науч. журн., 1948, 13, 249 - ISSN
0022-3263.
17. Цитировано
по J. Am. Chem. Soc.: науч. журн., 1953, 75, 2736 - ISSN 0002-7863.
. Цитировано
по Anal. Chem.: науч. журн., 1953, 25881 - ISSN 0003-2700.
. Цитировано
по Anal. Chem.: науч. журн., 1954, 26, 375 - ISSN 0003-2700.
20. Цитировано по Inorg. Syntheses, 1957, 5, 105 - ISSN 0020-1669.
21. Пат.7282573
США, МПК С 07 F 5/00 (2006.01). Process for making metal
acetylacetonates/ Council of Scientific and Industrial Research, Chaudhuri
Mihir Kanti, Dehury Sanjay Kumar, Dhar Siddhartha Sancar, Bora Upasana,
Choudary Boyapoti Manoranjan, Mannepalli Lakshmi Kantam. № 10/335103; Заявл. 31.12.2002; Опубл. 16.10.2007; НПК 534/11. Англ.
22. Пат.
2191190 Российская Федерация, МПК C07F5/00, C07C49/92. Процесс получения
ацетилацетонатов редкоземельных элементов/ Фролов В.Ю., Панюшкин В.Т., Зеленов
В.И. Заявл. 29.01.2001; Опубл. 20.10.2002.
. Багоцкий,
В.С. Основы электрохимии/ В.С. Багоцкий - М.:Химия, 1988. - 400 с.: ил.
. Дамаскин,
Б.Б. Электрохимия. Учеб. пособие для хим. фак. ун-тов/ Б.Б.Дамаскин,
О.А.Петрий.- М.: Высш. шк., 1987. - 295 с., ил.
. Дамаскин,
Б.Б. Электрохимия: учебник для вузов/ Б.Б. Дамаскин, О.А. Петрий, Г.А. Цирлина
- М.: Химия, 2001. - 624 с.:ил.
. Степин,
Б.Д. Неорганическая химия/ Б.Д. Степин, А.А. Цветков М.: Высш. шк., 1994. - 608
с.
. Козицина,
Л.А. Применение УФ-, ИК-, ЯМР- и масс-спектроскопии в органической химии / Л.А.
Козицина, Н.Б. Куплецкая М.: 1979. - 236 с.
. Кравцов,
В.И. Равновесие и кинетика электродных реакций комплексов металлов / В.И.
Кравцов. - Л.: Химия, 1985. - 208 с.
. Шварцебах,
Г. Комплексонометрическое титрование /Г. Шварцебах, Г. Флашка. - М.: 1970. -
360 с.
. Электрохимия
металлов в неводных растворах: сб. науч. тр./ под. ред. Я.М. Колотыркина - М.:
1974. - С.156 - 200
. Дамаскин,
Б.Б. Введение в электрохимическую кинетику/ Б.Б. Дамаскин, О.А. Петрий. - М.:
Высшая школа, 1975. - С. 380-381
. Осадченко,
Л.М. Электрохимия/ Л.М. Осадченко, А.П. Томилов. - 1990. - Т. 26, 898 с.
ПРИЛОЖЕНИЯ
ПРИЛОЖЕНИЕ А
ИК-спектры
Рисунок А.1 - ИК-спектр ацетилацетона
Рисунок А.2 - ИК-спектр ацетилацетоната неодима
Рисунок А.3 - ИК-спектр ацетилацетоната тербия