Автоматизация линии для ремонта триангеля

  • Вид работы:
    Контрольная работа
  • Предмет:
    Транспорт, грузоперевозки
  • Язык:
    Русский
    ,
    Формат файла:
    MS Word
    517,24 Кб
  • Опубликовано:
    2013-11-27
Вы можете узнать стоимость помощи в написании студенческой работы.
Помощь в написании работы, которую точно примут!

Автоматизация линии для ремонта триангеля

 
 
 
 
 
 
 
 
 
 
 
 
 
 
Контрольная работа
Автоматизация линии для ремонта триангеля

Содержание

ВВЕДЕНИЕ

. НАЗНАЧЕНИЕ, КОНСТРУКЦИЯ И ПРИНЦИП ДЕЙСТВИЯ ЛИНИИ ДЛЯ РЕМОНТА ТРИАНГЕЛЕЙ

. РАСЧЕТ ЭЛЕКТРОМЕХАНИЧЕСКОГО ПРИВОДА С ПРИМЕНЕНИЕМ ЭВМ

. ОПИСАНИЕ РАБОТЫ СХЕМЫ АВТОМАТИЧЕСКОГО УПРАВЛЕНИЯ ЛИНИИ ДЛЯ РЕМОНТА ТРИАНГЕЛЕЙ

СПИСОК ЛИТЕРАТУРЫ

ВВЕДЕНИЕ

Железнодорожный транспорт в Республике Беларусь, с каждым моментом, переходит на более высокую ступень развития. Этому способствует наметившаяся, в последнее время, тенденция к росту производительности труда.

Это достигается повышающимися темпами создания и внедрения передовой техники и прогрессивной технологии, обновлением подвижного состава и других технических средств, укреплением материально-технической и ремонтной базы транспорта, поднимающимся уровнем комплексной механизации погрузочно-разгрузочных и ремонтных работ, а также решением комплексных задач, связанных с охраной окружающей среды.

В сложившихся условиях особое значение приобретает необходимость содержания в исправном состоянии подвижного состава. Это обеспечивает созданная на железнодорожном транспорте планово-предупредительная система ремонта и технического обслуживания подвижного состава.

Для этих целей планируется дальнейшее развитие и специализация вагонных депо, заводов по ремонту вагонов и производству запасных частей, оснащение их средствами механизации.

При техническом обслуживании и ремонте подвижного состава всех разновидностей и типов выполняется большое количество различных основных и вспомогательных работ, совершенно одинаковых, выполняемых одними и теми же механизмами и технологическими приемами: подъемно-транспортные, разборочно-сборочные, сварочные, по очистке и обмывке, нанесению защитных покрытий, изготовлению и обработки изделий в литейных кузнечных и механических цехах.

Поэтому, при совершенствовании технологии ремонта особое внимание следует уделять автоматизации и механизации вышеперечисленных работ, так как именно эти процессы затрудняют организацию двухсменной работы в сборочных цехах и не позволяют существенно сократить время нахождения вагонов в ремонте.

В данной курсовой работе выполнена автоматизация линии для ремонта триангеля. Составлена схема автоматизации установки.

1. НАЗНАЧЕНИЕ, КОНСТРУКЦИЯ И ПРИНЦИП ДЕЙСТВИЯ ЛИНИИ ДЛЯ РЕМОНТА ТРИАНГЕЛЕЙ

Комплексно-механизированная линия ремонта триангелей рычажной передачи тормоза. Линия (рис. 1) включает семь специализированных позиций, связанных цепным подвесным конвейером общей протяженностью 36м. Подвесной конвейер на механизированной линии одновременно выполняет роль подвижного устройства для размещения технологического запаса ремонтируемых деталей. Особенностью этого вида конвейера является также сравнительно легкая приспосабливаемость его к возможным изменениям производственного процесса.

Рисунок 1 - Комплексно-механизированная линия для ремонта триангелей

К пластинчатой цепи 1 конвейера прикреплены каретки и специализированные подвески. К кареткам на шарнирах подвешены полуавтоматические захваты, несущие триангель и подвески. Каретки движутся по замкнутому монорельсовому подвесному пути. Захваты и подвески размещены на цепи конвейера так, что ритм механизированной линии равен 5мин при скорости движения конвейера 2,5м/мин. Движение тяговому органу конвейера сообщает электродвигатель приводной станции 8. Шаг рабочих подвесок 3м. Ремонт триаигелей производится по замкнутому технологическому циклу на подвесном конвейере пульсирующего типа на следующих позициях:- осмотр триангелей, выбивка шплинтов, отвертывание гаек, снятие тормозных башмаков. Позиция оборудована стендом 2 с электрогайковертом 3 и имеется стеллаж а для складирования триангелей на ремонт;- срезка негодных сварочных швов, наплавка изношенной резьбы цапф, сборка и сварка новых триангелей. На позиции имеется стеллаж б для складирования деталей триангелей. Цапфы наплавляют автоматической сваркой под слоем флюса, в среде углекислого газа или порошковой проволокой на специальной установке 4 (автоматическая установка, изображенная на рис. 2, имеет станину 1, на которой смонтированы подающий механизм 10, обеспечивающий подачу электродных проволок из кассет 9 в два мундштука 6. Траверсу 7 устанавливают в центрах и закрепляют патроном 5. Поперечная подача мундштуков 6 осуществляется суппортом 4 через ходовой винт 3. На станине станка установлен аппаратный шкаф 2. Для ограждения мест наплавки применены защитные кожуха 8. Углекислый газ подается к месту наплавки из баллона 11); - (см. рис. 1) - заварка разделанных трещин, выплавка выработанных частей балочки, струнки и отверстия в распорке. Окончательную сварку новых триангелей выполняют на станке 5; - фрезерование отверстий в распорке. На позиции установлен горизонтально-фрезерный станок 6;- нарезание резьбы на цапфе триангеля на станке 7; - сверление отверстий под шплинт в цапфе триангеля на вертикально-сверлильном станке 9;- навертывание гаек и шплинтование на стенде 10. Зачистку наплавленных отверстий распорок триангеля производят угловой пневматической машинкой. Испытывают триангели на специальном стенде.

Рисунок 2 - Автоматическая установка для наплавки деталей в среде углекислого газа

Сборочный стенд оборудован электрогайковёртом с шариковой муфтой, при помощи которой регулируют необходимую величину усилия затяжки гайки. Триангель, снятый со сборочного стенда пневматическим тельфером, укладывают на стеллаж, откуда отправляют на участок сборки тележек.

Трасса конвейера является пространственной, повороты в вертикальной плоскости осуществляются при помощи вертикальных перегибов, а в горизонтальной-при помощи поворотных звездочек. Загрузку и разгрузку подвесок деталями выполняют вручную, за исключением вала триангеля, который навешивают и снимают при помощи специального полуавтоматического захвата.

2. РАСЧЕТ ЭЛЕКТРОМЕХАНИЧЕСКОГО ПРИВОДА С ПРИМЕНЕНИЕМ ЭВМ

Исходные данные для расчета:

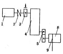
1. Вид кинематической схемы привода изображен на рисунке 3.

Рисунок 3 - Вид кинематической схемы. 1- электродвигатель; 2- входная муфта; 3-тормоз; 4- редуктор; 5 -внешнее зацепление; 8- барабан; 9- стальной канат.

2. Тяговое усилие привода, Р, Н, определяется по формуле [ 3 ]:

(1)

(2)

где  - масса перемещаемых вагонов, ;

 - ускорение свободного падения,;

- коэффициент сопротивления перемещению, .

3. Скорость перемещения - v = 0.5 м/с.

4.      Передаточное число внешнего зацепления u = 3.

5.      Коэффициент полезного действия .

Другие необходимые данные для расчета, выбираются из типовых, в соответствии с ГОСТом [ 4 ].

Результаты расчета:

Параметры электродвигателя:


-Типоразмер

4AA63B4Y3

-Мощность по расчету, кВт,

0.306667

-Мощность выбранного электродвигателя, кВт,

0.37

-Частота вращения, об/мин,

1365

Параметры входной муфты:


-Типоразмер

МУВП-1

-Передаваемый момент по размеру, Н×м,

4.148337

-Передаваемый размер выбранной муфты, Н×м

31.5

Параметры каната:


-Типоразмер

ЛК-Р 6х9

-Диаметр, м

.015

-Маркировочная группа

1960

-Расчетное разрывное усилие, Н

134887.5

-Разрывное усилие по ГОСТ, Н

137000

Параметры барабана:


-Расчетный диаметр, м

.36

.38

-Шаг нарезки барабана, м

.018

-Расчетная длина барабана, м

.6979416

-Длина барабана по ГОСТ, м

.7

Параметры редуктора:


- Типоразмер

PM-500 Y1

-Расчетное передаточное число редуктора

15.52935

-Передаточное число выбранного редуктора

15.75

Параметры тормоза:


- Типоразмер

ТКТ-200/100

-Диаметр тормозного шкива, м

.2

-Расчетный тормозной момент, Н×м

1.352278

-Момент выбранного тормоза, Н×м

40


3. ОПИСАНИЕ РАБОТЫ СХЕМЫ АВТОМАТИЧЕСКОГО УПРАВЛЕНИЯ ЛИНИИ ДЛЯ РЕМОНТА ТРИАНГЕЛЕЙ

Построение релейной схемы автоматического управления линии для ремонта триангелей можно разбить на 7 этапов.

Этап 1. Построение конструктивной схемы автоматизируемого устройства.

На рисунке 4 изображена конструкционная схема линии для ремонта триангелей.

Рисунок 4 - Конструктивная схема линии для ремонта триангелей I-VII - ремонтные позиции; 1-пластинчатая цепь; 2 - направляющие ролики

Этап 2.

Похожие работы на - Автоматизация линии для ремонта триангеля

 

Не нашли материал для своей работы?
Поможем написать уникальную работу
Без плагиата!
Без нейросетей!