Теплотехнические испытания котлоагрегатов
1. Теоретические аспекты
теплотехнических испытаний котлоагрегатов
1.1 Цели и задачи
испытаний
Теплотехнические
испытания котлов делят на три категории сложности в зависимости от их
назначения:
К I категории
сложности относят приемосдаточные испытания, при которых проверяют
характеристики котла, гарантируемые заводом-поставщиком.
Ко II категории
сложности относят эксплуатационные (балансовые) испытания котлов: вновь
вводимых в эксплуатацию; капитально отремонтированных или реконструированных;
переводимых на газовое топливо; эксплуатируемых при систематическом отклонении
параметров от нормативных.
К III категории
сложности относят режимно-наладочные и доводочные испытания котлов (в том числе
после их капитального ремонта), проводимые с целью наладки режима их работы.
Испытания, проводимые по II и III категориям сложности, различаются числом
опытов и точностью измеряемых контролируемых параметров,
В задачи балансовых
испытаний входит определение: отдельных составляющих теплового баланса; причин
превышения потерь теплоты над расчетными значениями (и разработка рекомендаций
по их уменьшению); характеристик газового и воздушного трактов; экономических
показателей работы котла при номинальной, минимальной и двух-трех промежуточных
производительностях; основных составляющих расходов теплоты на собственные
нужды; прогрессивных норм удельных расходов топлива; оптимальных режимов работы
оборудования.
В задачи
режимно-наладочных испытаний входит определение: оптимального режима горения;
оптимальных значений коэффициента избытка воздуха и подачи первичного и
вторичного воздуха; распределение газа и воздуха по горелкам; минимально
устойчивых и максимально возможных нагрузок котла; основных потерь теплоты при
различных нагрузках; составление режимных карт работы котлов; выдача
рекомендаций по улучшению работы котельной.
Режимно-наладочные
испытания, а также балансовые испытания в котельных, если к ним не
предъявляются повышенные требования, проводят по III категории точности, при
которых допускаются отклонения кпд до ± 2-3,5%.
Режимно-наладочные
работы должны проводиться не реже 1 раза в 3 года. При стабильной работе котлов
в соответствии с режимными картами сроки планового проведения работ могут быть
продлены по согласованию с местным органом госгазнадзора.
Внеплановые режимно-наладочные
работы производятся: после капитального ремонта; после внесения конструктивных
измерений, влияющих на эффективность использования газа; при систематических
отклонениях работы котла от требований режимных карт; при изменении вида и
характеристик топлива.
Состав бригады
комплектуют в зависимости от сложности и особенностей компоновки испытываемого
оборудования. Руководство работами поручают наиболее квалифицированному
работнику, допущенному к этой работе приказом. Число наблюдателей определяют исходя
из наличия приборов, их взаимного расположения и периодичности записей. Один
наблюдатель должен снимать показания не более трех-пяти приборов, размещенных
на одном щите или в одном помещении. Записи расхода пара, питательной воды и
газа следует производить через каждые 2 мин, температуры и давления пара,
температуры воды - через 5 мин, остальных параметров - через 10 мин. Снятие
показаний во время опыта все наблюдатели должны начинать одновременно и вести
их в определенной последовательности.
Каждый прибор типа
ГХП обслуживает отдельный лаборант, а на хроматографическом газоанализаторе
(включая отбор проб газа) должен работать специально подготовленный техник.
Наблюдателям во время испытаний нельзя поручать каких-либо дополнительных
обязанностей.
Определение
пределов устойчивой работы горелок, если на котле установлено несколько
горелок, должна выполнять бригада в составе трех человек, не считая
наблюдателей, из которых двое заняты регулированием испытываемой горелки и
наблюдением за ее работой, а третий следит за работой остальных горелок.
Руководитель
испытаний освобождается от наблюдения за приборами и должен в период испытаний
руководить работой лаборантов и наблюдателей, контролировать работу котла. Он
ведет журнал, куда вносит сведения, об установленных режимах, производимых
переключениях, а также данные наблюдений за работой горелок, топки,
вспомогательного оборудования.
Все виды испытаний
включают в качестве необходимых этапов: ознакомление с технической
документацией и компоновкой оборудования, данными эксплуатации, наружный и
внутренний осмотр установки для выявления дефектов монтажа и эксплуатации,
разработку перечня и проведение подготовительных работ и подготовку средств
измерений; составление бланков и ведомостей наблюдений; тренировку наблюдателей
проведением серии измерений для достижения правильности и необходимой частоты
записей.
До начала испытаний
руководитель составляет программу, включающую перечень и сроки проведения
экспериментальных режимов и требования в части соблюдения параметров
испытываемого оборудования. Программа должна быть согласована с ответственным
за газовое хозяйство, местным органом госгазнадзора и утверждена главным
инженером заказчика.
При выборе времени
проведения работ учитывают возможность обеспечения желаемого диапазона
регулирования производительности испытываемого котла и надежности паро- и
теплоснабжения потребителей.
На основании
утвержденной программы персонал котельной по указанию руководителя испытаний
устанавливает необходимый режим работы котла.
Заказчик может
сопоставить фактическую численность наладочной бригады и ее квалификацию с
численным составом, необходимым для качественного проведения измерений и
потребовать в необходимых случаях от руководства наладочной организации
доукомплектации бригады. В процессе проведения работ заказчик должен
знакомиться с соответствием утвержденной местным органом госгазнадзора методике
объема и порядка проведения опытов, качества и полноты режимных карт,
содержания отчета.
Обследование
котельной. Для определения фактического состояния оборудования, соответствия
его проектным данным, выявления дефектов проекта и монтажа, которые должны быть
устранены, до начала испытаний проводят обследование котельной. Обследование
включает; внешний и внутренний осмотр топок и газоходов, осмотр газовых
горелок; осмотр и проверку действия запорных и регулирующих органов; проверку
комплектности и состояния средств измерений и схем автоматического
регулирования; осмотр тягодутьевых машин и вспомогательного оборудования. При
обследовании выявляют характеристики оборудования по данным технической
документации или прямым обмером, соответствие его проектной документации и
фактической теплопроизводительности котельной, целесообразность замены
дефектного и морально устаревшего оборудования, соответствие мощности горелок
производительности котлов.
При осмотре и
обмере воздуховодов и газоходов выявляют завалы, неплотности, чрезмерные
местные сопротивления. При осмотре тягодутьевых машин и электродвигателей к ним
проверяют: состояние шиберов, направляющих аппаратов, запорно-регулирующих
органов, плотность их закрытия и легкость хода; наличие фиксаторов положения и
указателей перемещения, исправность дистанционного управления; правильность
расположения направляющих лопаток по отношению к выходному патрубку; уплотнение
зазора между валом и кожухом; прочность крепления подшипников и наличие
тавотниц для их смазки, поступление воды на охлаждение подшипников дымососов;
правильность установки ограждений валов и муфт; наличие заземления
электродвигателей; наличие штуцеров для измерения давления перед машиной и за
ней.
Очень важными для
нормальной работы тягодутьевых машин операциями являются выверка и центровка
вала и балансировка ротора. Работы эти должны выполняться соответствующими
специалистами с большой тщательностью и требуют определенного опыта
исполнителей. Для уменьшения шума при работе машин должны быть предусмотрены
компенсаторы или гибкие переходы от воздуховодов к вентиляторам, резиновые
подкладки под машину и электродвигатель и др.
Особое внимание уделяют
мерам по обеспечению плотности закрытия шиберов на существующих обводных
газоходах экономайзеров, дымососов, на воздуховодах и газоходах котлов при
групповых компоновках тягодутьевых машин. Выявляют неплотности топки и
газоходов, причинами которых могут явиться эксплуатационные упущения, дефекты
заводского изготовления оборудования и монтажа.
Неплотности в
обмуровке работающего или отключенного (предварительно хорошо
провентилированного) котла можно определить по отклонению горящего факела. При
проверке создают повышенное разрежение в газоходах. Затем подносят горящий
факел к различным частям обмуровки и наблюдают за его положением. При наличии
неплотности факел отклоняется в направлении места присоса.
Если на котле
установлен дутьевой вентилятор, неплотности выявляют путем подачи воздуха в
горелки при закрытом шибере за котлом. Места неплотности определяют по шуму
выходящего воздуха, с помощью мыльной эмульсии или по белым полосам, которые
обозначат неплотности, если в вентилятор забросить мел.
Во время осмотра
топки обращают внимание на целостность кладки внутренних стенок, наличие
перегородок, защитных обмазок и стенок, состояние устройств стабилизации
пламени, температурных швов, теплоизолирующего покрытия барабана, качества
уплотнения лаза.
Проверяют
целостность котельных поверхностей, барабанов, наличие загрязнений на
поверхностях. Целью осмотра и обмера горелок является сопоставление
действительных размеров с проектными и паспортными данными. При этом производят
проверку газовыходных отверстий (диаметр, число, ориентация) и элементов
воздухонаправляющего аппарата, измеряют туннели горелок (диаметр, длина, угол
раскрытия), выявляют неплотности в кладке туннелей, трещины, шероховатости.
Осматривают передвижные механизмы горелок (поворотные лопатки, языковые шиберы)
для определения легкости перемещения и наличия указателей перемещения.
Проточная часть горелок не должна иметь обгоревших и покоробленных деталей,
загрязнения должны отсутствовать. В случаях, когда отклонение числа Воббе
применяемого газа от расчетного превышает допускаемые значения или имеются
ограничения в производительности котла, следует обратиться в местный орган
госгазнадзора для определения другого типоразмера или марки горелки и получить
технические условия на ее установку. По результатам обследования руководитель
группы наладчиков совместно с представителем заказчика составляет ведомость
дефектов, в которой указаны: выявленные дефекты, меры по их ликвидации,
ответственный за работы и сроки их выполнения.
Эксплуатационный
персонал котельной при подготовке к теплотехническим испытаниям с целью
ускорения и повышения эффективности работ обязан выявить и устранить наиболее
часто встречающиеся эксплуатационные дефекты, основными из которых являются:
открытые патрубки
для присоединения средств измерений;
неплотное
вследствие деформации или отсутствия уплотнительных прокладок прилегание
гарнитуры;
неудовлетворительное
состояние и неплотное закрытие шиберов и заслонок; большие зазоры в местах
прохода вала через кожух дымососа;
неплотности взрывных
клапанов, отсутствие или недостаточный слой песка в песочных затворах;
трещины в обмуровке
котла и водяного экономайзера, оплавление огнеупорных защитных стенок,
обрушение обмазки барабанов; неудовлетворительное уплотнение мест прохода
коллекторов, барабанов, труб, металлических коробов через обмуровку;
низкое качество
тепловой изоляции, изготовления и монтажа лазов, лючков, гляделок;
нарушение плотности
прокладок между фланцами металлических коробов, экономайзерных труб;
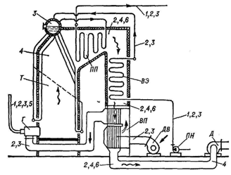
Рисунок 1 - Схема
расположения точек измерения контролируемых параметров: Г - газовая горелка; Т
- топка; ПП - пароперегреватель; ВЭ - экономаи-вер; ВП - воздухоподогреватель;
ПН - питательный насос; ДВ - дутьевой вентилятор; Д - дымосос; - расход», 2 -
температура; 3 - давление; 4 - разрежение; 5 - состав газового топлива; 6 -
состав отходящих газов
Объем и организация
измерений. Измерения, проводимые при теплотехнических испытаниях котлов, должны
быть достаточны для определения следующих показателей: максимальной и
минимальной производительности котла в его вспомогательного оборудования;
расходных характеристик горелок в диапазоне регулирования их тепловой мощности;
оптимальных коэффициентов избытка воздуха; потерь теплоты и кпд; потерь
давления в газовоздушных трактах и показателей работы тягодутьевых машин.
Средства измерений
должны быть снабжены необходимыми грэдуировочными данными, а подлежащие
периодической поверке должны иметь соответствующие клейма. Ответственность за
подбор и готовность средств измерений возлагается на руководителя испытаний на
объекте.
Независимо от того,
предназначены ли средства измерений для постоянной эксплуатации или они
применяются во время проведения испытаний, необходимо соблюдать условия их
установки, правила выполнения измерений и контроля показаний, изложенные в
инструкциях по использованию соответствующих средств измерений.
Выбирая место
расположения первичных преобразователей (датчиков) и измерительных приборов,
следует учитывать доступность и удобство пользования ими. Наиболее желательным
является выполнение измерений с дистанционной передачей показаний.
В период проведения
испытаний возрастает вероятность утечек газа в связи с временной установкой
дополнительных средств измерений. Утечки могут явиться следствием недостаточной
внимательности, например, к жидкостным манометрам. Резкие повышения давления
могут привести к выбросу рабочей жидкости и свободному выходу газа через
прибор. Утечки могут возникнуть через неплотности резиновых соединительных
трубок, в местах отбора проб газа и т.п.
Длительность опыта
зависит от его назначения. Проведение балансовых опытов следует начинать через
1,5-2 ч после установления стабильного режима. При этом число наблюдений
величин, необходимых для составления теплового баланса котла, при указанной
выше частоте записей составляет не менее 10, что считается достаточным для
получения представительных данных. Показания приборов записывают в журналы
наблюдений, которые выдают каждому наблюдателю. Форма журнала зависит от числа
и вида наблюдаемых параметров.
Стабилизация режима
работы котла в период проведения опыта обеспечивается подачей в топку
определенного количества топлива и воздуха при постоянстве параметров
питательной воды или пара на выходе из котла.
В качестве
определяющих параметров стабилизации топочного режима при постоянстве числа
работающих горелок, их настройки и состава газа служат значения давлений газа и
воздуха (степень открытия воздушно-регулировочных устройств) перед горелками, а
также разрежения в топке. Использование паромера для контроля режима работы
нежелательно в связи с инерционностью его показаний и возможными колебаниями
давления пара.
Длительность
переходного режима зависит от ряда факторов, из которых основными являются:
конструкция котла, эксплуатационное состояние оборудования, первоначальная
производительность и размер сброса или подъема производительности. Длительность
переходного режима целесообразно устанавливать экспериментально, причем начало
нового режима характеризуется стабилизацией температуры отходящих газов за
последней теплообмен ной поверхностью котла.
Поскольку
инерционность протекающих процессов при перестройке режима работы котла
различна, то выполнение измерений для составления теплового баланса (балансовых
опытов) в переходный период недопустимо. Периоды стабилизации, мин (примерно):
состав отходящих газов - 1; температура отходящих газов при изменении α на 5% - 15, при
изменении производительности на 25% - 30 (за паровым котлом) и 60 за
(водогрейным).
Продолжительность
режимно-наладочных (прикидочных) опытов связана со стабилизацией только
проверяемого параметра и может быть принята равной 30-45 мин. Продолжительность
опытов, проводимых на стабильной нагрузке для определения оптимального
коэффициента избытка воздуха в отходящих газах, при использовании прибора для
определения химической неполноты сгорания, соответствует затратам времени на
выполнение двух-трех анализов проб отходящих газов.
.2
Проведение испытаний
Испытания проводят
в определенной последовательности: сначала выполняют тарировку сечений
газоходов и воздуховодов для правильной установки измерительных устройств,
затем получают «фотографию» работы котла, определяют присосы воздуха в газоходы
и топку, проводят прикидочные опыты для определения оптимального избытка
воздуха, испытания горелок, водяных экономайзеров и тягодутьевых машин,
балансовые опыты (при оптимальных режимных условиях). При эксплуатационных
испытаниях некоторые из поставленных задач решают комплексно, что удешевляет и
упрощает экспериментальную часть работ, но увеличивает число одновременно
организуемых- измерений.
Рисунок 2. Разбивка
круглого (а) и прямоугольного (б) сечений канала на равновеликие площади
Тарировка сечений
газоходов и воздуховодов. Поля температур, скоростей и состава газов в данном
сечении газохода (воздуховода) являются, как правило, неоднородными. Степень
неоднородности зависит от различных условий и не может быть установлена
расчетным путем. Пренебрежение указанной особенностью полей недопустимо, так
как данные измерений в случайных точках могут оказаться непредставительными и
привести к значительным погрешностям. Для их уменьшения места размещения
термопар, газоотборных и пневмометрических трубок следует выбирать на
максимально возможном удалении от местных сопротивлений, в зонах отсутствия
присосов воздуха и активного теплообмена. Оценку неоднородности поля в
различных сечениях газоходов (воздуховодов) для выбора наиболее оптимального из
них производят тарировкой нескольких сечений. Сечения газоходов за дымососами в
связи с хорошим перемешиванием потока в направляющих аппаратах и улитках не
тарируют.
Каналы круглого
сечения с внутренним радиусом R разбивают на ряд концентрических колец (рис.
2). Измерения при этом производят в каждом из колец в четырех точках на
окружности, делящей кольцо на две равновеликие части. Расстояние от точки в
каждом кольце до центра канала
где п - порядковый
номер кольца от центра; а - число колец; для каналов диаметром 150-300 мм о
рекомендуется принимать равным 3-5, а диаметром 350-1000 мм - 6-16.
Сечения в
прямоугольных каналах разбивают на равнопели-кие участки посредством нанесения
сетки взаимно перпендикулярных прямых. Для каналов площадью сечения до 0,35 м2
принимают не менее 16 площадок, а при большей площади сечения число
площадок выбирают таким, чтобы каждая из них была с длиной стороны не более
150-200 мм. При обработке данных тарировки значение измеряемой величины для
канала (х) рассчитывают как среднее арифметическое из значений, измеренных
передвижным датчиком в центрах равновеликих участков прямоугольного сечения или
в четырех точках на кольцевых площадках круглого сечения.
Рисунок 3.
Интегральные трубки для измерения динамического давления среды в круглом
сечении: а - устройство трубки; б - схема установки трубок
Полученный
результат сравнивают со значением указанной величины в контрольной точке
сечения (х), измеренной стационарным датчиком, установленным в контрольной
точке. Этим же датчиком систематически контролируют постоянство режима. Режим
считается стационарным, если колебания значений измеряемой величины в
контрольной точке (на пересечении осей симметрии сечения) не выходят за пределы
погрешности измерения.
Поправочный
коэффициент (коэффициент поля) к показаниям в контроль - ной точке k - х/х.
Среднее значение величины в рассматриваемом сечении с учетом коэффициента поля
рассчитывают как х = kxK, где хк - значение величины в
контрольной точке в период последующих измерений. Для подтверждения постоянства
поправочных коэффициентов в исследуемом диапазоне производительности следует
производить тарировку поля при наибольшей и наименьшей производительности
оборудования. Поле концентрации считается однородным, если коэффициент поля
равен 1 ± 0,05, а поля температуры и скорости 1±0,1.
Рисунок 4.
Водоохлаждаемая газозаборная трубка-термопара: 1 - отбор газов для анализа: 5 -
отсос газа; 3 - изолирующий фланец; 4 - подача охлаждающей воды; 5 - кожух; 6 -
термопара; 7 - огнеупорный защитный экран; & - отвод охлаждающей воды
В связи с большой
трудоемкостью тарировки целесообразно устанавливать на воздуховодах и газоходах
две стационарные интегральные трубки. Одна из трубок, имеющая один ряд
отверстий, воспринимает полное давление, другая, имеющая два ряда, -
статическое давление. Способ установки интегральных трубок в круглом коробе
показан на рис. 3. Расстояние между трубками принимается равным 2-3 диаметрам
трубки. Распределение отверстий по длине трубки производится аналогично
разбивке каналов для тарировки сечений (рис. 2).
Учитывая
регулярность наладочных работ и проверок эффективности сжигания газа в котлах,
следует рекомендовать установку стационарных трубок с завинчивающимися
колпачками для отбора проб продуктов сгорания, измерения разрежения (давления)
в газоходах и лючков под пневмометрические трубки.
Для измерения
температуры продуктов сгорания, превышающей 500 С, следует применять
водоохлаждаемые экранированные отсосные трубки-термопары (рис. 4). Отсос газов
осуществляется с помощью малогабаритного переносного эжектора (рис. 5).
Определение
оптимального коэффициента избытка воздуха. Одной из задач испытаний является
определение оптимального коэффициента избытка воздуха за котлом,
соответствующего максимальному значению кпд брутто, при производительности 100,
75, 50 и 25% от номинальной. В каждом из этих режимов определяют не менее
четырех значений к., по которым ведется контроль топочного режима: минимальный,
максимальный и два промежуточных. В процессе опыта определяют исчезновение
продуктов химической неполноты сгорания при наименьшем значении ак.
Рисунок 5.
Малогабаритный пароводоструйный эжектор
Как правило, для
котлов, работающих на газе, оптимальный коэффициент избытка воздуха очень
близок к критическому, т.е. αопт ≈ αкр. Отклонение
коэффициента избытка воздуха от критического в сторону уменьшения вызывает
снижение кпд, главным образом за счет химической неполноты сгорания. Если αк больше αкр, то кпд характеризуется
размером потерь с отходящими газами q2.
Рисунок 6.
Зависимость дополнительных потерь теплоты с от - ходящими газами от
коэффициента избытка воздуха и разности температур tо.г. - tх.н.
Рисунок 7.
Номограмма для определения дополнительных затрат электроэнергии на тягодутьевые
машины (в процентах от расхода газа)
При заданном
давлении воздуха перед горелками в течение 20-30 мин проводят три-четыре
анализа состава отходящих газов за котлом и отбирают пробы газов для
определения продуктов неполного сгорания. При отсутствии в продуктах сгорания H2,
СО и CH4 постепенно уменьшают давление воздуха перед горелками, с
тем чтобы α уменьшился
не более чем на 0,05. Если в первой пробе обнаруживают недожог, то постепенно
увеличивают давление воздуха до полного исчезновения продуктов неполного
сгорания.
На основании
полученных данных определяют значения химической неполноты сгорания и
соответствующих коэффициентов избытка воздуха, по которым строят зависимость q3
= f (α) для различной
производительности котла (рис 8).
По этим графикам
устанавливают минимальное значенпе коэффициента избытка воздуха и минимальное
значение давления воздуха перед горелками. Учитывая, что в эксплуатационных
условиях возможны колебания давления и теплоты сгорания газа, давление воздуха
перед горелками принимают на
% выше во всем
диапазоне регулирования, чем минимально возможное значение. При уменьшении
производительности котла значение α, соответствующее исчезновению продуктов сгорания, несколько
возрастает.
При проведении
опытов на котлах, оборудованных инжекционными горелками, вместо давления
воздуха перед горелками можно менять степень открытия воздушно-регулировочных
заслонок. При наличии пропорционирующих устройств соотношения топливо-воздух их
настраивают по описанной выше методике только при максимальной
производительности котла.
Рисунок 8. Пример
зависимости q3 от теплопроизводителности и коэффициента избытка
воздуха за котлам
Очень важным
является выбор минимального значения разрежения в топке, предотвращающего
появление химической неполноты сгорания. Для этой цели устанавливают
максимальную производительность котла при равномерной загрузке всех работающих
горелок; воздухорегулирующие заслонки горелок должны быть открыты.
При заданном
давлении газа перед горелками производят ступенчатое изменение разрежения в
топке (не более чем на 0,5 кгс/м2) и определяют состав отходящих
газов за котлом, температуру газа и воздуха. Уменьшение или увеличение
разрежения в топке производят до тех пор, пока соответственно не появятся или
не исчезнут продукты неполного сгорания в отходящих газах. На основании
полученных данных можно построить график зависимости q3 = f(α), также график
зависимости неполноты сгорания от разрежения в топке. Определение присосов
воздуха в топке и газоходах. Значение коэффициента избытка воздуха за котлом
складывается из коэффициента избытка воздуха в горелке и присосов воздуха в
топку и газовый тракт. Для обеспечения экономичной работы котла необходимо
сжигание газа при оптимальном значении αг и минимальном размере
присосов воздуха. На отдельных участках газового тракта присос воздуха
определяют как разность коэффициентов избытка воздуха перед рассматриваемым
участком (элементом) тракта и за ним. Присосы не должны быть более (Тепловой
расчет котельных агрегатов. Нормативный метод. М.: Энергия, 1973):
Топка с
металлической обшивкой 0,05
То же, без
металлической обшивки 0,08
Первый котельный
пучок 0,05
Второй котельный
пучок 0,10
Стальной водяной
экономайзер 0,08
Чугунный водяной
экономайзер:
с обшивкой 0,10
без обшивки 0,20
Воздухоподогреватель трубчатый на каждую сту - 0,05 пень
Стальной газоход
(на 10 м) 0,01
То же, кирпичный
(на 10 м) 0,05
Присосы воздуха в
топке, если на котле установлены горелки с принудительной подачей воздуха,
можно определять экспресс-методом. При этом устанавливают следующие
дополнительные приборы и приспособления: газоотборную трубку (в газоходе
непосредственно за топкой), импульсную трубку для измерения разрежения над
подом топки, пневмометрическую трубку для определения расхода воздуха.
Для котлов малой
производительности расход воздуха может быть определен по гидравлическому
сопротивлению участка воздуховода от выходного патрубка вентилятора до горелки.
Имеющиеся на этом участке шиберы должны находиться в неизменном положении в
течение всего опыта.
При больших потерях
давления в горелке (например, ГМГм, ГА) постоянный расход воздуха поддерживают,
исходя из перепада давления на горелке, определяемого как разность давлений
воздуха перед горелкой и у пода топки. Для этой цели тягонапоромер подключают
«плюсом» к импульсу давления воздуха перед горелкой (за регулирующим прибором
по ходу потока) и «минусом» к импульсной трубке разрежения у пода.
Присос воздуха по
экспресс-методу ОРГРЭС определяют так:
устанавливают
производительность котла в пределах 80-90% от номинальной;
коэффициент α за топкой путем
изменения подачи воздуха на горение увеличивают до 1,3 при разрежении в верхней
части топки 2-3 кгс/м2;
определяют состав
отходящих газов, разрежение в верхней части топки и у пода, гидравлическое
сопротивление участка воздуховода или горелки (или расхода воздуха) и давление
газа перед горелкой (три-четыре наблюдения за 5-10 мин);
регулированием
разрежения в топке создают противодавление, достигающее у пода 1 -1,5 кгс/м2;
при неизменном
давлении газа перед горелкой регулированием подачи воздуха на горение
гидравлическое сопротивление участка воздуховода (перепад давления на горелке,
перепад давления на пневмометрической трубке) устанавливают равным отмеченному
в предыдущих наблюдениях;
производят
измерения указанных показателей (три-четыре наблюдения за 5-10 мин).
После завершения
измерений восстанавливают нормальный эксплуатационный режим работы котла.
Коэффициент избытка
воздуха за топкой, определенный при наличии противодавления в ней, принимают
равным αг. Присос воздуха в топку определяют как разность α при рабочем разрежении и
противодавлении в топке. Для топок, оборудованных инжекционными горелками
среднего давления, присос воздуха в топку можно оценить по известному значению αг. Ориентировочно при тепловой мощности горелок, близкой к
номинальной, и разрежении в топке 2-3 кгс/м2 значение αг может быть принято равным 1,05.
1.3 Балансовые
испытания, экспресс-метод испытаний
Балансовые
испытания производят при стабилизированном режиме работы котла. Параметры
работы котла (давление пара в барабане и паропроводе, температура пара,
питательной или сетевой воды) должны поддерживаться на уровне проектных или
допускаемых инструкциями завода-изготовителя и указаниями инспектирующих
организаций. Должны быть также предусмотрены меры, предотвращающие подачу на
горение воздуха при температурах, вызывающих обмерзание воздуховодов, и отвод
отходящих газов при температурах, вызывающих активную конденсацию водяных паров
в газоходах.
Во избежание
существенного изменения состояния поверхностей нагрева, что затрудняет анализ
экспериментальных данных, балансовые испытания проводят в ограниченные сроки
(5-10 дней). Теплота сгорания газа, сжигаемого в период проведения серии
опытов, не должна отклоняться более чем на ±3% от средней (для данного района).
Опыты, проведенные при более значительных отклонениях QH, из
рассмотрения исключаются. При сжигании газа в котлах с инжекционными горелками
следует учитывать опыты, при которых колебания числа Воббе не превышали
допустимых пределов. На каждой производительности в диапазоне от минимальной до
максимальной следует проводить не менее четырех основных и контрольный опыты.
Контрольный опыт выполняется вслед за основным с разрывом не менее суток,
причем при организации контрольного опыта обязательно проводится настройка и
стабилизация режима заново. Результаты основных и контрольного опытов считаются
совпадающими, если значения основных показателей отличаются не более, чем
рекомендовано выше, a ηб.р. p не выходит за
пределы погрешности, допускаемой методикой для соответствующего класса
точности. При более существенных отклонениях данные контрольного опыта
анализируют для выявления причин отклонений, а опыт повторяют.
Для проведения
режимно-наладочных работ в газифицированных котельных может быть рекомендован
экспресс-метод, позволяющий существенно сократить общую продолжительность
испытаний при обеспечении необходимого качества работ. Для испытаний по
экспресс-методу составляют специальную программу, определяющую
последовательность и продолжительность экспериментальных режимов. Такие
испытания проводятся при наличии в котельной нескольких котлов, что позволяет
соблюдать режим работы данного котла исключительно в интересах эксперимента.
Экспресс-метод может быть применен для оценки качества ремонта или модернизации
оборудования, выявления влияния определяющих факторов на показатели работы
котла. Он позволяет проводить опыты с колебаниями измеряемых величин в пределах
±3-4%.
Экспресс-испытания
проводятся в такой последовательности:
первичное
обследование котла для установления плотности топки и газоходов;
ориентировочное
определение расходной характеристики горелок по газу и воздуху;
оценка пределов регулирования
и показателей экономичности;
устранение
отмеченных при обследовании дефектов и ориентировочный расчет давления газа и
воздуха перед горелками для планируемых значений производительности;
уточнение рабочей
программы и проведение опытов.
Продолжительность
испытаний по экспресс-методу может не превышать 5 рабочих дней.
2.
Проектно-технологический расчет теплового котлоагрегата
.1 Расчёт объёмов и
энтальпий продуктов сгорания и воздуха
Описание котла.
Газомазутные вертикальные
водотрубные паровые котлы типа - ДЕ предназначенные для выработки насыщенного
или слабоперегретого пара. Топочная камера котлов размещается сбоку от
конвективного пучка, оборудованного вертикальными трубами, развальцованными в
верхних и нижних барабанах. Ширина топочной камеры по осям боковых экранных
труб 1790 мм, глубина топочной камеры, зависимости от паропроизводительности
1990-6960 мм.
Основные составляющие части котла:
верхний и нижний барабаны, конвективный пучок, фронтовой, боковой и задний
экраны, оборудующие топочную камеру. Трубы перегородки правого бокового экрана,
образующего так же и поверхность топочной камеры, вводятся непосредственно в
верхний и нижний барабаны. Концы труб заднего экрана привариваются к верхнему и
нижнему коллекторам диаметром 159x6 мм. Трубы фронтового экрана также
привариваются к коллекторам аналогичного диаметра. Диаметр верхнего и нижнего
барабанов 1000 мм. Расстояние между барабанами 2750 мм.
Длина цилиндрической части барабана
от 2250 мм. До 7500 мм. Изготавливаются барабаны для котлов с давлением 1,4 МПа
с толщиной стенки 13 мм, а для давления 2,4 МПа с толщиной стенки 22 мм.
Конвективный пучок отделен от топочной камеры газоплотной перегородкой. При
вводе в барабан трубы разводятся в два ряда. Конвективный пучок образован
коридорно-расположенными трубами диаметром 51 мм., развальцованы в верхним и
нижнем барабанах. Шаг труб 90 мм., поперечный шаг 110 мм. В водяном правом
верхнем барабане находится питательная труба, в нижнем - устройств для парового
нагрева воды.
Средний срок службы котла между
капитальным ремонтом при 2500 часов работы в год 3 раза. Котлы поставляются
потребителем в сборе. Производятся Бийским котельным заводом.
Исходные данные:
Тип парового котла - ДЕ-4;
Паропроизводительность котла - D=1
кг/с;
Параметры пара на выходе из котла:
давление Рo=1,6 МПа;
температура питательной воды - tп.в.=65
°С;
Вид топлива - малосернистый мазут.
Доля продувки солей - p=4%.
Основные характеристики мазута:p=3%,
Ap=0.1%, Sp=1.4%, Cp=83.8, Hp=11.2%,
Np=0, Op=0.5%.
Теплота сгорания -
=39,73
МДж/кг;
Таблица 1. Основные
характеристики котла типа ДЕ-4 и его элементов
|
Длина топки в, м
|
Ширина топки а, м.
|
Средняя высота топки hт, м.
|
Объём топки Vт, м3
|
Полная поверхность стен топки Fст, м2.
|
Экранированная поверхность стен топки Fэ, м2.
|
|
1,97
|
1,8
|
2,5
|
8,55
|
23,8
|
21,8
|
Исходными данными для расчёта
объёмов и энтальпий продуктов сгорания и воздуха служат основные характеристики
заданного вида топлива.
Теоретическое количество сухого
воздуха Vo необходимого для полного сгорания топлива при избытке
воздуха α=1, определяется по формуле:
Теоретический объём
азота
при
α=1 рассчитывается по формуле:
отел
Теоретический объём
трёхатомных газов
при
α=1 находится по формуле:
Теоретический объём
водяных паров
при
α=1 находится по формуле:
где 
Теоретический объём
продуктов сгорания
находится
по формуле:
По найденным значениям
теоретических объёмов продуктов сгорания и воздуха формируется таблица объёмов.
Принимаем камерные топки
пылеугольных и газомазутных котлов с металлической обшивкой: Δα=0,15;
1-й пучок: Δα=0,05; 2-й пучок: Δα=0,1;
экономайзер чугунный с обшивкой: Δα=0,1.
Коэффициент избытка
воздуха на выходе из топки
=1,15 (смесительные
горелки). Коэффициенты избытка воздуха на выходе из каждой следующей за топкой
поверхности теплообмена определяется суммированием присосов воздуха Δα
в ней и α′′ предыдущей поверхности.
Таблица 2. Таблица
объёмов
|
Определяемая величина
|
Элемент котла
|
|
топка
|
1-й пучок
|
2-й пучок
|
экономайзер
|
|
Присосы воздуха в поверхности нагрева Δα′
|
0,15
|
0,05
|
0,1
|
0,1
|
|
Коэффициент избытка воздуха за поверхностью нагрева α′′
|
1,15
|
1,2
|
1,3
|
1,4
|
|
Средний коэффициент избытка воздуха αср=0,5·(α′+α′′)
|
1,075
|
1,175
|
1,25
|
1,35
|
|
|
1,83
|
1,85
|
1,86
|
1,88
|
|
|
11.65
|
11.67
|
11.68
|
11.7
|
|
|
1.58
|
1.6
|
1.61
|
1.63
|
|
|
0.136
|
0.137
|
0.138
|
0.139
|
|
|
0.157
|
0.158
|
0.159
|
0.16
|
|
|
0.866
|
0.867
|
0.868
|
0.869
|
|
|
15,67
|
17
|
18
|
19,42
|
Для топки

Энтальпия продуктов
сгорания газа, при α=1, равна:

,
где υ
- температура дымовых газов, °С
Энтальпия продуктов
сгорания воздуха, при α=1, равна:

,
где t - температура
воздуха,
- средние объёмные
теплоёмкости соответственно газов и воздуха, кДж/ нм3·К (таблица
№2).
Расчёт энтальпий
продуктов сгорания газа и воздуха для 100 °С.
Для υ=100
°С,
Энтальпия в каждой графе
определяется по формуле:
Для примера рассчитаем
энтальпии в каждой графе при разной температуре.
Для топки при υ=1000
°С,
=1,15
Для 1-ого котельного
пучка: υ=300 °С,
=1,2
Для 2-ого котельного
пучка: υ=200 °С,
=1,3
Для экономайзера: υ=100
°С,
=1,4
Таблица 3. Н-υ
таблица
|
Температура, °С
|
Энтальпия газов, кДж/кг.
|

топка
=1,151-ого
пучка
=1,22-ого
пучка
=1,3Экономайзер
|
=1,4
|
|
|
|
|
|
|
|
|
|
Н
|
ΔН
|
Н
|
ΔН
|
Н
|
ΔН
|
Н
|
ΔН
|
|
100
|
1612,4
|
1379
|
|
|
|
|
|
|
2164
|
2208
|
|
200
|
3260,3
|
2779,7
|
|
|
|
|
4094
|
2125
|
4372
|
2267
|
|
300
|
4959
|
4201
|
|
|
5799
|
2033
|
6219
|
2178
|
6639
|
2322
|
|
400
|
6703,7
|
5643
|
|
|
7832
|
2095
|
8397
|
2246
|
8961
|
2398
|
|
500
|
8495,3
|
7158,3
|
|
|
9927
|
2127
|
10643
|
2276
|
11359
|
|
|
600
|
10323,7
|
8652,6
|
|
|
12054
|
2177
|
12919
|
2336
|
|
|
|
700
|
12182,5
|
10241
|
|
|
14231
|
|
15255
|
|
|
|
|
800
|
14178
|
11787,6
|
15946
|
2154
|
|
|
|
|
|
|
|
900
|
16097
|
13355
|
18100
|
2209
|
|
|
|
|
|
|
|
1000
|
18052
|
15048
|
20309
|
2250
|
|
|
|
|
|
|
|
1100
|
20059,7
|
16667,7
|
22559
|
2291
|
|
|
|
|
|
|
|
1200
|
22104
|
18308,4
|
2307
|
|
|
|
|
|
|
|
1300
|
24162
|
19969,9
|
27157
|
2348
|
|
|
|
|
|
|
|
1400
|
26256,7
|
21652,4
|
29505
|
4704
|
|
|
|
|
|
|
|
1500
|
28357,6
|
23355,7
|
31861
|
2444
|
|
|
|
|
|
|
|
1600
|
30542,8
|
25080
|
34305
|
2399
|
|
|
|
|
|
|
|
1700
|
32680,6
|
26825
|
36704
|
2458
|
|
|
|
|
|
|
|
1800
|
34873,5
|
28591
|
39162
|
2491
|
|
|
|
|
|
|
|
1900
|
37096,5
|
30378
|
41653
|
2296
|
|
|
|
|
|
|
|
2000
|
39153
|
31977
|
43949
|
|
|
|
|
|
|
|
2.2 Тепловой баланс
котла, поверочный расчёт топки
Цель составления теплового баланса
котла - определение его КПД и расход топлива. Из уравнения прямого теплового
баланса котла расход топлива В, равен:
где,
-
полное количество теплоты, воспринятое в котле рабочим телом, кВт.
- располагаемая теплота
топлива, кДж/кг.
ηка
- КПД котельного агрегата, %.
Для паровых котлов малой
мощности без пароперегревателя
, равна:

,
где, D -
паропроизводительность котла, D=1 кг/с (по заданию);пр - расход воды
на непрерывную продувку, 
доля продувки солей,
следовательно: 
энтальпия насыщенного
пара, определяется по начальному давлению,
энтальпия питательной
воды, определяется в зависимости от температуры питательной воды (tп.в.
=65 °С) и давления питательной воды:
энтальпия кипящей воды
на линии насыщения, определяется по начальному давлению,
После определения
неизвестных величин определяем
.
Располагаемая теплота
топлива для котлов малой мощности
, рассчитывается по
формуле:
где,
низшая
теплота сгорания топлива, кДж/кг,
тепло, вносимое в топку
с паровым дутьём, кДж/кг,
где, 
- расход пара на дутье,
кг/(кг топлива), 
; 
- энтальпия пара,
идущего на паровое дутье (как правило, 
), кДж/кг.
Кпд котельного агрегата
по обратному балансу определяется:
где,
-
потери теплоты с уходящими газами, %.
- потери теплоты от
химической неполноты сгорания, %.
Определяется:
=1%.
- потери теплоты от
наружного охлаждения, %.
В зависимости от D=1
(кг/с)=3,6 (т/ч).=>
- потери теплоты с
физическим теплом шлака, %,
=0%.
- потери теплоты от
механической неполноты сгорания, (таблица №5).
=0%.
В общем случае:
где,
-
энтальпия уходящих газов, кДж/кг, (определяется по Н-υ-таблице
по υух, и αух.); υух
- принимается из технико-экономических соображений и при tп.в.=100
°С, υух составляет 150 °С, =>
=1,4.
- энтальпия холодного
воздуха, кДж/кг, при температуре присасываемого холодного воздуха tх.в.=30
°С.
Определяем
:
Определяем КПД
котельного агрегата:
.
После нахождения
неизвестных величин, определяем расход топлива В, м3/с.
Расчётный расход топлива
Вр, кг/с, определяется по формуле:
Цель расчёта -
определение температуры дымовых газов на выходе из топки, конструктивные
размеры и поверхность теплообмена которой известны.
Температура газов на
выходе из топки
рассчитывается
по формуле:
где,
-
адиабатическая (теоретическая) температура горения, К;
- коэффициент;
- степень черноты топки;
- критерий Больцмана.
Полное тепловыделение в
топке
,
кДж/кг, определяется по формуле:
где,
-
тепло, внесённое в топку с воздухом, кДж/кг. При отсутствии
воздухоподогревателя 
По найденному значению
равному
адиабатической энтальпии горения
, по Н-υ-таблице
находят адиабатическую температуру горения
, °С, и
По Н-υ-таблице:
при
при
Находим адиабатическую
температуру горения, при
После интерполяции
получается, что
Коэффициент
зависит
от относительного расположения максимума температуры пламени по высоте топки
:
,
где при сжигании газа и
мазута А=0,54, В=0,2.
где
-
средняя высота топки, м.
.
- средняя высота горелок
от пода топки, м:
Находим коэффициент
:
;
Степень черноты
для
камерных топок (топливо - мазут), определяется по формуле:
,
где,
-
степень черноты факела;
- средний коэффициент
тепловой эффективности топочной камеры.
Для котлов типа ДЕ:
;
где,
-
угловой коэффициент экрана.
Определяется, в
зависимости от отношения
,
которые принимаются по данным. Для котла ДЕ-4:
,
Т.к.
,
то по (рис. №2):
;
- коэффициент
загрязнения топочных экранов. Для открытых гладкотрубных экранов при сжигании
мазута
;
экранированная
поверхность стен топки, м2. Для ДЕ-4 по табл. 1:
полная поверхность стен
топки, м2. Для ДЕ-4 по табл. 1:
При сжигании газа и
мазута эффективная степень черноты факела
определяется по
формуле:
,
где,
-
коэффициент усреднения, зависящий от теплового напряжения топочного объёма;
- объём топки, м3.
Для котлов ДЕ-4 по табл. 1:
,
Т.к.
,
то для мазута
.
- степени черноты
соответственно светящейся части факела и несветящейся. Определяются по рисунку
№3 в зависимости от
:
по
по
где,
-доля
трёхатомных газов в топке (из таблицы объёмов);
- коэффициент поглощения
трёхатомными частицами, 1/(МПа·м).
Определяется по рисунку
№4 в зависимости от:
.
Для определения
предварительно
задаются температурой газов на выходе из топки
;
, (по таблице объёмов);
- давление газов в
котле,
;
- толщина излучающего
слоя, м.
Определяем
по
графику:
.
Определения
по
формуле:
по
по
определяем по (рис. №3):
.
Определяем степень
черноты факела
:
;
Определяем степень
черноты:
;
Критерий Больцмана
рассчитывается по формуле:
,
где,
-
коэффициент сохранения теплоты,
- средняя суммарная
теплоёмкость продуктов сгорания, определяется по формуле:
где,
-энтальпия
газов на выходе из топки определяется по
при
.
Определяем критерий
Больцмана:
,
Определим температуру
газов на выходе из топки
:

,
Т.к.
то
поверочный расчёт топки считается законченным.
По Н-υ-таблице
находим
:
при
и
определяем количество теплоты, передаваемое в топке излучением:
2.3 Поверочный расчёт
1-го и 2-го котельных пучков, конструктивный расчёт водяного экономайзера
Расчёт двух котельных
пучков котлов типа ДЕ производится последовательно с целью определения
температуры газов на выходе из первого котельного пучка
и
на выходе из второго
.
Поверочный расчёт 1-ого
котельного пучка.
Задавшись двумя
значениями температур газов на выходе из 1-ого пучка
(
,
)
и определив по Н-υ-таблице энтальпии газов, соответствующие этим температурам,
находим два значения балансового тепловосприятия пучка
,
по формуле:
,
При
,
При
,
При
,
При
,
Определяем площадь
поверхности
:
где,
-
диаметр труб, м:
;
- средняя длина труб в
пучке, м:
;
- количество труб в ряду
пучка:
;
-количество рядов:
.
Все величины выбраны для
котла ДЕ-4 (таблица №6).
,
Определяем скорость
газов
,
м/с, в пучке по формуле:
,
где,
-
объём газов в пучке (по таблице объёмов):
,
- средняя температура
газов в пучке, °С.
При
,
,
При
,
;
- сечение для прохода
газов, м2,
,
где,
-
ширина газохода, выбирается по (таблица №6):
Определяем скорость
газов в пучке:
При
,
При 
Рассчитываем коэффициент
теплоотдачи конвекцией
по
формуле:
,
где,
-
коэффициент теплоотдачи, определяемый по номограмме (рис. №6) в зависимости от
скорости газов,
.
При
,
При
,
- поправка на шаг между
трубами в зависимости от продольного (S1) и поперечного (S2)
шагов, S1= S2=0,09, м. Определяется в зависимости от
:
,
следовательно,
.
- поправка на число
рядов,
.
- поправка на
фрикционный состав дымовых газов. Определяется в зависимости от
и
,
по (рис. №6).
При
;
При 
.
Находим коэффициент
теплоотдачи конвекцией:
При 
,
При 
,
Находим коэффициент
теплоотдачи излучением
,
по формуле:
,
где,
-
коэффициент теплоотдачи, определяемый по номограмме в зависимости от скорости
газов,
.
Определяется в зависимости
и
;
- температура стенки
трубы, °С:
,
- температура
насыщения,°С.
Выбирается в зависимости
от Ро=1,6МПа,
=201,37
°С. (таб. №2).
- для газов.
Определяем температуру
стенки трубы:
При 
;
При 
-степень черноты
газового потока. Определяется в зависимости от
.
Для мазута:
где,
-
для 1 пучка из таблицы объемов.
Коэффициент
определяется
аналогично таким же коэффициентам топки.
Для конвективных пучков
S находится по формуле:
.
Определяем
в
зависимости от
,
,
, (по таблице объёмов);
- давление газов в
котле,
;
При
,
,
При
,
,
Определяем
:
При
,
,
При
,
Определяем степень
черноты:
Т.к. (
,
),
то
=0,2
Т.к. (
,
),
то
=0,18
- определяется в
зависимости от
и
:
,
.
При 
;
При 
.
Определяем коэффициент
теплоотдачи излучением:
При 
;
При 
.
Определяем коэффициент
теплоотдачи от газов к стенке
, по формуле:
,
где,
-
для газоходов котлов ДЕ принимают 0,9…0,95.
При 
,
При 
.
Рассчитываем коэффициент
теплопередачи для конвективных пучков
,
где,
-
коэффициент тепловой эффективности, зависящий от вида топлива и типа
поверхностей, для котельных пучков при сжигании газа
При 
,
При 
.
Определяем средний
температурный напор
при
условии, что температура пароводяной смеси в пучке равна температуре насыщения.
Рисунок 9. Зависимость
Температурный напор
определяется по формуле:
,
,
.
При
,
,
При
,
.
Определяем количество
теплоты,
воспринятое
в 1-ом пучке через поверхность F1:
При
,
При
,
Имея по два значения
и
для
разных принятых
,
строим графики
и
.
Точка пресечения двух указанных зависимостей будет соответствовать искомой температуре
на выходе из 1-ого пучка. Для неё определяется
и уточняется
.
Температура на выходе из
первого пучка
.
Определим для
,
энтальпию газов по Н-υ-таблице:
.
Уточняем
:
.
Поверочный расчёт 2-го
котельного пучка.
Задавшись двумя
значениями температур газов на выходе из 2-ого пучка
(
,
)
и определив по Н-υ-таблице энтальпии газов, соответствующие этим температурам, находим
два значения балансового тепловосприятия пучка
, по формуле:
,
При
,
При
,
При
,
,
При
,
,
Определяем площадь
поверхности
:
где,
-
диаметр труб, м:
;
- средняя длина труб в
пучке, м:
;
- количество труб в ряду
пучка:
;
-количество рядов:
.
Все величины выбраны для
котла ДЕ-4 (таб. №6).
,
Определяем скорость
газов
,
м/с, в пучке по формуле:
,
где,
-
объём газов в пучке (по таблице объёмов):
,
- средняя температура
газов в пучке, °С.
При
,
,
При
,
;
- сечение для прохода
газов, м2,
,
где,
-
ширина газохода, выбирается по (таб. №6):
Определяем скорость
газов в пучке:
При
,
При 
Рассчитываем коэффициент
теплоотдачи конвекцией
по
формуле:
,
где,
-
коэффициент теплоотдачи, определяемый по номограмме в зависимости от скорости
газов,
.
При
,
При
,
- поправка на шаг между
трубами в зависимости от продольного (S1) и поперечного (S2)
шагов, S1= S2=0,11, м. Определяется в зависимости от
:
,
следовательно,
.
- поправка на число
рядов,
.
- поправка на
фракционный состав дымовых газов. Определяется в зависимости от
и
,
(по рис. №6).
При
;
При 
.
Находим коэффициент
теплоотдачи конвекцией:
При 
,
При 
,
Находим коэффициент
теплоотдачи излучением
,
по формуле:
,
где,
-
коэффициент теплоотдачи, определяемый по номограмме в зависимости от скорости
газов,
.
Определяется в зависимости
и
;
- температура стенки
трубы, °С:
,
- температура
насыщения,°С.
Температуру стенки
трубы:
При 
;
При 
-степень черноты
газового потока. Определяется в зависимости от
.
Для мазута:
где,
-
доля трёхатомных газов.
Коэффициент
определяется
аналогично таким же коэффициентам топки.
Для конвективных пучков
S находится по формуле:
.
Определяем
в
зависимости от
,
,
, (по таблице объёмов);
- давление газов в
котле,
;
При
,
,
При
,
,
Определяем
:
При
,
,
При
,
Определяем степень
черноты:
Т.к. (
,
),
то
=0,23,
Т.к. (
,
),
то
=0,25.
- определяется в
зависимости от
и
:
,
.
При 
;
При 
.
Определяем коэффициент
теплоотдачи излучением:
При 
;
Определяем коэффициент
теплоотдачи от газов к стенке
, по формуле:
,
где,
-
для газоходов котлов ДЕ принимают 0,9…0,95.
При 
,
При 
.
Рассчитываем коэффициент
теплопередачи для конвективных пучков
,
где,
-
коэффициент тепловой эффективности, зависящий от вида топлива и типа
поверхностей, для котельных пучков при сжигании газа
При 
,
При 
.
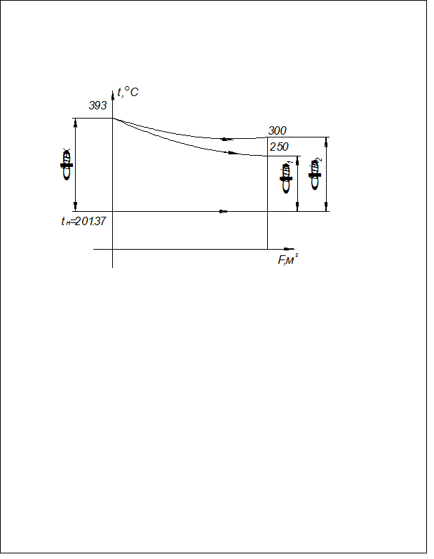
Определяем средний
температурный напор
при
условии, что температура пароводяной смеси в пучке равна температуре насыщения.
Температурный напор
определяется по формуле:
,
,
.
При
,
,
При
,
.
Определяем количество
теплоты,
воспринятое
в 2-ом пучке через поверхность F2:
При
,
При
,
Имея по два значения
и
для
разных принятых
,
стоим графики
и
.
Точка пресечения двух указанных зависимостей будет соответствовать искомой
температуре на выходе из 1-ого пучка. Для неё определяется
и
уточняется
.
Температура на выходе из
второго пучка
.
Определим для
,
энтальпию газов по Н-υ-таблице:
.
Уточняем
:
.
Целью расчёта
экономайзера является определение его поверхности теплообмена и его компоновки.
По температуре газов на
выходе из экономайзера
и
на входе в экономайзер
,
температуре воды на входе
рассчитывают
балансовое тепловосприятие экономайзера
, по формуле:
,
,
а также из уравнения
теплового баланса определим
,
,
где,
.
Тогда энтальпия воды на
выходе из экономайзера определяется по зависимости:
Находим температуру воды
на выходе из экономайзера,
:
.
Скорость газов,
,
в экономайзере ВТИ рассчитывается по формуле:
,
где,
-
объёмный расход газов в экономайзере, м3/кг. Определяется по таблице
объёмов:
;
- средняя температура
газов в экономайзере. Определяется по формуле:
- живое сечение для
прохода газов одной оребрённой трубы, м2.
По (таблица №7)
принимаем характеристики одной трубы:
где,
-длина
трубы, м;
-число труб в одном
ряду.
,
-
подбираем такими, чтобы скорость составила для газов 8…12, м/с.
.
По (рис. №8) в
зависимости от скорости газов и температуры потока определяют коэффициент
теплоотдачи:
При
;
При
.
Определяем коэффициент
теплопередачи:
.
Расчётная поверхность
теплообмена
,
рассчитывается по формуле:
,
Определяем температурный
напор
:
,
,
Определяем расчётную
поверхность теплообмена:
Зная число труб в одном
ряду
,
величины
(таб.
№7), определяют число рядов
:
,
где
-
внешняя поверхность теплообмена одной трубы.
.
Т.к.
,
следовательно, экономайзер одноходовой.
3.
Организационно-экономическая часть
.1 Расчет экономической
эффективности проекта
Исходные данные
Расчет затрат
времени на средний ремонт производится в таблице 4. работы выполняются
электрослесарями КИП. Содержание работ для выявления дефектов: очищают и
вытирают прибор или комплект арматуры, включая схему соединений; осматривают
схему контроля и регулирования, состояние и смазку механических узлов.
Таблица 4. Расчет затрат времени на
средний ремонт
|
Элементы схемы контроля и регулирования
|
Тип, марка, модификация
|
Кол-во (штук)
|
Период ремонтов
|
Кол-во ремонтов
|
Норма времени чел./час
|
|
Газоанализатор
|
Хоббит ТМ-1СО-1СН4
|
1
|
1
|
12
|
1
|
|
Датчик реле
|
ДНТ
|
1
|
1
|
12
|
0,4
|
|
Диафрагма
|
ДКС
|
3
|
1
|
36
|
0,5
|
|
Исполнительный механизм
|
МЭО 40-0,25 Р=0,1
|
4
|
1
|
48
|
2,2
|
|
Конденсационный сосуд
|
СК
|
4
|
1
|
48
|
1,5
|
|
Управляющий прибор
|
Ф34,2
|
1
|
1
|
12
|
2
|
|
Манометр сигнализирующий
|
ДМ-2005
|
2
|
1
|
24
|
1,4
|
|
Миллиамперметр
|
ДИСК 250-ДД 1051
|
7
|
1
|
84
|
2
|
|
Преобразователь
|
Метран
|
11
|
1
|
132
|
1,4
|
|
Прибор аналоговый
|
А100H
|
1
|
1
|
12
|
2,2
|
|
Регулятор
|
РС 29
|
4
|
1
|
48
|
2,4
|
|
Регулирующий орган
|
25ч32нж
|
1
|
1
|
12
|
0,8
|
|
Термопреобразователь сопротивления
|
ТСМ, ТСП.
|
2
|
1
|
24
|
0,6
|
|
термометр
|
ТБ-2Р
|
2
|
1
|
24
|
0,5
|
|
Усилитель
|
У 29,3М
|
4
|
1
|
48
|
2,5
|
|
Фотодатчик
|
ФД4
|
1
|
1
|
12
|
2,1
|
|
Манометр показывающий
|
МП4-У
|
3
|
1
|
36
|
0,2
|
Тсум=958 чел. ч/год Тсум 3р=43
чел. ч/год Тсум 4р=238 чел. ч/год
Тсум 5р=307 чел. ч/год
Тсум 6р=370 чел. ч/год
Расчет затрат
времени на снятие и установку ведется в таблице 5. снимают и устанавливают
приборы электрослесаря службы эксплуатации цеха в порядке выполнения графика
капитальных ремонтов. При подъемно-спусковых операциях применяется малая
автоматизация (блоки, тележки).
Норма времени на снятие и установку
слагается из следующих элементов: отключение от схемы, собственно снятие и
установка после ремонта. Разряд работ - третий.
Таблица 5. Расчет затрат времени на
снятие и установку
|
Элементы схемы контроля и регулирования
|
Тип, марка, модификация
|
Кол-во (штук)
|
Период снятия и установки в месяц
|
Кол-во снятия и установки в год
|
Норма времени чел./час
|
|
Газоанализатор
|
Хоббит ТМ-1СО-1СН4
|
1
|
1
|
12
|
1
|
|
Датчик реле
|
ДНТ
|
1
|
1
|
12
|
0,2
|
|
Диафрагма
|
ДКС
|
3
|
1
|
36
|
2,5
|
|
Исполнительный механизм
|
МЭО 40-0,25
|
4
|
1
|
48
|
0,8
|
|
Конденсационный сосуд
|
СК
|
4
|
1
|
48
|
1
|
|
Управляющий прибор
|
Ф34,2
|
1
|
1
|
12
|
0,2
|
|
Манометр сигнализирующий
|
ДМ-2005
|
2
|
1
|
24
|
0,1
|
|
Миллиамперметр
|
ДИСК 250-ДД 1051
|
7
|
1
|
84
|
0,2
|
|
Преобразователь
|
Метран
|
11
|
1
|
132
|
0,2
|
|
Прибор аналоговый
|
А100H
|
1
|
1
|
12
|
0,5
|
|
Регулятор
|
РС 29,0,43М
|
4
|
1
|
48
|
2,3
|
|
Регулирующий орган
|
25ч32нж
|
1
|
1
|
12
|
1,6
|
|
Термопреобразователь сопротивления
|
ТСМ, ТСП.
|
2
|
1
|
24
|
0,1
|
|
термометр
|
ТБ-2Р
|
2
|
1
|
24
|
0,1
|
|
Усилитель
|
У 29,3М
|
4
|
1
|
48
|
0,5
|
|
Фотодатчик
|
ФД4
|
1
|
1
|
12
|
1
|
|
Манометр показывающий
|
МП4-У
|
3
|
1
|
36
|
0,1
|
Тсум =Тсум 3р= 442 чел.
ч/год
Расчет суммарных затрат времени на
работы по ремонту КИПиА рассчитываются по следующей формуле:
(чел. час/год), где
- затраты времени на
средний ремонт (чел. час/год);
- затраты времени на
снятие и установку (чел. час/год);
- затраты времени на
пуск и наладку (чел. час/год);
- затраты времени на
поверку (чел. час/год);рем.сум.=958+442+654+38,5+84=2176 (чел. ч/год).
Ремонт
Расчет производиться по
формуле:
, где
№2, №3, №4, №5, №6 -
разряд работсум.р. 3=43+442+27+6+16,7=534,7 чел. час/годсум.р.
4=238+108+1,5+67,3=414,8 чел. час/годсум.р. 5=307 чел. час/годсум.р.
6=370+519+31,4=920 чел. час/год
Р=(3*534,7 + 4*414 +
5*307 + 6*920)/1618,95=4,7 чел. час/год.
Таблица 6. Баланс рабочего времени
одного рабочего в год
|
Наименование.
|
При 8-часовом рабочем дне прерывного производства.
|
|
Дни
|
Часы
|
|
1. Календарное время.
|
365
|
|
|
2. Выходные дни.
|
104
|
|
|
3. Праздничные дни.
|
12
|
|
|
4. Максимально возможный фонд рабочего времени.
|
249
|
|
|
5. Очередные и дополнительные отпуска.
|
28
|
|
|
6. Болезни (3.2% от макс. возможного фонда рабочего времени).
|
8
|
|
|
7. Учебные отпуска, гос. обязанности и др. (от макс. фонда
времени).
|
2
|
|
|
8. Полезный фонд рабочего времени.
|
211
|
|
|
ИТОГО:
|
211
|
1688
|
Расчёт численности рабочих при
прерывном производстве:
где Фз.вр. -
суммарные годовые затраты времени на работы по ремонту и поверке КИПиА, на
работы по текущему обслуживанию.
Фпол. -
полезный фонд рабочего времени в год. Количество рабочих, необходимое на
подмену вследствие невыходов - 12.5% от штатного количества рабочих.
Ч= 2176/1688 = 2 чел.
где Чр - численность
слесарей - ремонтников.
Ч= 409/1688 = 1 чел.
где Чд - численность
дежурных слесарей.
, где
ПТ1, ПТ2 -
производительность труда до и после автоматизации;, Q2 - годовой выпуск
продукции до и после автоматизации;
В1, В2 - списочное число
рабочих до и после автоматизации (данные базового предприятия);
ГДж/год чел.;
ГДж/год чел.;
Расчет
роста производительности труда

Расчет
роста выпуска продукции
Расчет снижения
себестоимости
, где
, S2 - себестоимость
единицы продукции до и после автоматизации (данные базового предприятия);
Так как нет возможности
вести расчет себестоимости продукции по всем статьям калькуляции, достаточно
рассмотреть лишь те, которые меняют свою величину при внедрении автоматизации.
Перечень затрат по изменяющимся статьям включает:
. основная заработная
плата рабочих;
. дополнительная
заработная плата рабочих;
. отчисления в фонды
(пенсионный, занятости, медицинский, социальный);
. расходы по содержанию
и эксплуатации оборудования;
. изменение
себестоимости вследствие:
a. увеличение
производительности труда;
b. изменение
объема производства;
Дополнительные
эксплуатационные расходы на единицу продукции в результате автоматизации
составляют:
руб./ГДж
За счет роста
производительности труда себестоимость уменьшилась на ΔSПТ%
ΔSПТ=(Ι-JЗП/JПТ)·IЗП·100%
ЗП-
индекс заработной платы;ПТ- индекс производительности труда;ЗП
- доля зарплаты в себестоимости продукции;
С увеличением объема
производства себестоимость единицы продукции снижается за счет снижения условно
- постоянных расходов на единицу продукции.
ΔSV=(Ι-JУП/JV)·IУП·100%
УП-
индекс условно-постоянных расходов;V- индекс объема производства;УП
- доля условно-постоянных расходов в себестоимости продукции.
,
где 1 ГДж=130 руб.
Расчет
годового экономического эффекта.
ΔК
- дополнительные капиталовложения на автоматизацию;
Ен - нормативный
коэффициент эффективности капитальных затрат: Ен=0,15
руб.
Расчет
экономии от снижения себестоимости в год (прирост прибыли)
руб.
Расчет
срока окупаемости.
Таблица 7. Расчет срока
окупаемости
|
Наименование статей
|
Единицы измерения
|
До автоматизации
|
После автоматизации
|
|
1. Годовой выпуск продукции
|
ГДж
|
841800
|
847320
|
|
2. Дополнительные капитальные затраты
|
руб.
|
-
|
1527966
|
|
3. Производительность труда
|
ГДж/год чел.
|
70150
|
77029
|
|
4. Количество рабочих
|
чел.
|
12
|
11
|
|
5. Годовой экономический эффект
|
руб./год
|
-
|
2007730
|
|
6. Срок окупаемости доп. кап. затрат
|
лет.
|
-
|
0.68
|
|
7. Увеличение выпуска продукции
|
%
|
-
|
0.66
|
|
8. Рост производительности труда
|
%
|
-
|
9,82
|
|
9. Снижение себестоимости
|
%
|
-
|
2.01
|
3.2 Основные правила и
требования техники безопасности, промышленной санитарии и противопожарной
технике
До начала проведения каких-либо
работ внутри котла, соединенного с другими работающими котлами общими
трубопроводами (паропровод, питательные, дренажные и спускные линии), а также
перед осмотром или ремонтом элементов, работающих под давлением, при
возникновении опасности ожога людей паром или водой котел должен быть отделен
(отсоединен) от всех трубопроводов.
Котельные должны быть обеспечены
рабочим и аварийным электрическим освещением в соответствии с «Правилами
устройства электроустановок». Рабочее освещение должно обеспечить во всех
помещениях, на рабочих местах, площадках, в проходах, на лестничных клетках, в
туннелях и на открытой территории освещенность согласно существующим нормам.
Аварийное освещение должно обеспечить беспрепятственное наблюдение за
показаниями контрольно-измерительных приборов, состоянием оборудования и
коммуникаций и производство необходимых переключений при аварийных положениях
оборудования котельной. Аварийным освещением должны быть обеспечены также все
лестницы, переходы и площадки котельной. Уровень освещенности должен
соответствовать действующим нормам.
Для осмотра оборудования и
сооружений, расположенных в местах, где нет аварийного освещения, должны быть в
достаточном количестве и передаваться по смене исправные аккумуляторные фонари.
Дежурный и оперативно-ремонтный персонал вне зависимости от наличия аварийного
освещения должен иметь персональные электрические фонари с батарейками.
Светильники аварийного освещения
отличаются от светильников рабочего освещения по типу, знакам или по окраске.
Переносные ручные светильники
ремонтного освещения должны питаться от сети напряжением не выше 36 В. В особо
неблагоприятных условиях, где опасность поражения электрическим током
усугубляется теснотой, повышенной влажностью, соприкосновением с большими
металлическими, хорошо заземленными поверхностями, напряжение питания ручных
светильников должна быть не выше 12 В. Переносные светильники должны иметь
защитную сетку и исправный шланговый провод.
Во взрывоопасных и пожароопасных
помещениях электрооборудование и устройства сети освещения применяют в
соответствии с требованиями правил устройства электроустановок для
соответствующих помещений. В пыльных помещениях используют светильники в
пыленепроницаемом исполнении.
Для обслуживания светильников общего
освещения должны быть специальные устройства, обеспечивающие удобный и
безопасный доступ к светильникам. Очистка светильников должна производиться при
отключенном напряжении и только электромонтерами.
Все проходы, входы и выходы,
расположенные внутри котельной, и проезды, примыкающие к территории котельной,
должны быть хорошо освещены, свободны и безопасны для движения пешеходов и
транспорта.
Лестницы, площадки, переходы и
перила необходимо содержать в исправном состоянии. Решетки и стальные листы на
них должны быть надежно закреплены. Все лестницы, площадки, переходы и проемы
следует ограждать перилами высотой не менее 1 м с обшивкой снизу высотой 10 см.
Лестницы высотой более 6 м должны иметь два марша. На вертикальных лестницах, а
также на лестницах с углом наклона: более 75О, начиная с высоты 3 м,
необходимо устраивать ограждения в виде дуг. Металлические площадки и мостики,
а также ступени металлических лестниц следует выполнять из рифленой стали или
гладкого стального листа со специальной насечкой или наплавленным металлам.
Грани ступеней металлических лестниц должны быть закруглены или закрыты
защитными козырьками.
В помещениях, где расположено
оборудование, обслуживаемое персоналом, следует вывешивать правила - оказания
первой медицинской помощи и плакаты, иллюстрирующие необходимые меры
безопасности.
Открытые токоведущие части,
расположенные на высоте менее 3,5 м, должны быть огорожены. Металлические
ограждения, оборудование и подъемно-транспортное устройство, могущие оказаться
под напряжением, подлежат заземлению. Каждый электродвигатель помимо устройств
пуска и остановок снабжается отключающими приспособлениями (предохранители) для
полного снятия напряжения на время ремонта и наладки оборудования и механизмов,
с которыми совместно работают электродвигатели.
Персоналу, допускаемому к
эксплуатации и ремонту оборудования котельной установки, в которой для
технологических нужд применяют горючие материалы (уголь, торф, сланец, мазут,
керосин, бензин, ацетилен, водород, горючие газы, нитрокраски и т.п.),
необходимо знать свойства этих материалов и правила взрывобезопасности.
Персонал, обслуживающий газовое хозяйство, кроме того, должен знать:
отравляющее действие газа, допустимые и слабые для человека концентрации газа в
воздухе и методы ее определения; перечень имеющихся в котельной мест, опасных в
отношении скопления газа; признаки отравления газом; правила эвакуации лиц,
пострадавших от газа из загазованной зоны и приема оказания им первой помощи;
правила пользования кислородным и шланговым противогазом.
Персонал, который по роду своих обязанностей
соприкасается с горячим оборудованием и может получить ожоги от горячих
поверхностей, пара, воды или топочных газов, должен быть обеспечен по
существующим нормам спецодеждой, спецобyвью и индивидуальными средствами защиты
и обязан пользоваться ими во время работ.
Доступные для случайного
соприкосновения движущиеся и вращающиеся части машин и механизмов,
расположенных на высоте менее 2 м от уровня пола или рабочих площадок, должны
иметь сплошное или сетчатое с ячейками 25*25 мм ограждения, исключающие
возможность захвата одежды обслуживающего персонала вращающимися или
движущимися частями. Чистка, обтирка и смазка вращающихся и движущихся
механизмов, а также перелезание или просовывание рук за ограждения запрещаются.
При обтирке наружной поверхности работающих механизмов запрещается наматывать
на руку или пальцы обтирочный материал.
Во избежание несчастных случаев
нельзя: становиться на барьеры площадок, предохранительные кожухи муфт,
подшипников и др., а также на трубопроводы, конструкции и перекрытия, не
предназначенные для прохода по ним и не имеющие специальных ограждений и
поручней; находиться вблизи фланцевых соединений и арматуры трубопроводов,
предохранительных клапанов, люков и лазов систем пылеприготовления и газоходов
котлоагрегатов, если это не вызвано необходимостью обслуживания оборудования.
Обслуживание, ремонт (кроме
перемотки электродвигателей) и профилактические испытания электроприводов
паровой и водяной запорной и регулирующей арматуры, шиберов, направляющих
аппаратов и др., на которые воздействует автоматика тепловых процессов, должны
производиться персоналом лаборатории автоматики и теплового контроля.
До начала производства каких-либо
работ внутри барабана, камеры или коллектора котла, соединенного с другими
работающими котлами общими трубопроводами (паропровод, питательные дренажные и
спускные линии и т.п.), а также перед осмотром или ремонтом элементов,
действующих под давлением, при наличии опасности ожога людей паром или водой
котел должен быть отделен от всех трубопроводов заглушками или отсоединен;
отсоединенные трубопроводы также должны быть закрыты заглушками. При газовом
отоплении котел следует отключить от общего газопровода в соответствии с
инструкцией предприятия по обслуживанию котельного агрегата. Заглушки, применяемые
для отключения котла, должны устанавливаться между фланцами и иметь выступающую
часть (хвостовик), по которому определяют наличие поставленной заглушки.
Допуск людей внутрь котла и открытие
запорной арматуры после удаления людей из котла должны производиться при
температуре не свыше 600С только по письменному разрешению
(наряду-допуску) ответственного лица котельной, выдаваемому после проведения
соответствующей проверки.
Работы в газоходах разрешается
выполнять при температуре не свыше 60С лишь после того, как место работы будет
провентилирована и надежно защищено от проникания газов и пыли. Время
пребывания людей в топке (газоходе) при температуре 50-60С не должно превышать
20 мин.
При работе на газообразном или
пылевидном топливе котел должен 'быть, кроме того, надежно отделен от общего
газопровода или пылепровода в соответствии с производственной инструкцией.
На вентилях, задвижках и заслонках
при отключении соответствующих участков трубопроводов, парогазопроводов и
газоходов, а также на пусковых устройствах дымососов, дутьевых вентиляторов и
питателях топлива должны быть вывешены плакаты «Не включать, работают люди»;
при этом у пусковых устройств указанных агрегатов должны быть сняты плавкие
вставки.
При розжиге газовых горелок и
мазутных форсунок не следует стоять против отверстий (гляделок растопочных
люков), чтобы не пострадать от случайного выброса пламени.
Для предотвращения простудных
заболеваний от сквозняков двери, отделяющие производственные помещения друг от
друга и от служебных помещений, должны быть оборудованы пружинами и открываться
наружу. Фрамуги оконных переплетов следует оборудовать устройствами для
дистанционного открывания и закрывания. Для очистки окон от пыли и грязи
предусматривают специальные приспособления.
Концентрация вредных газов, паров,
пыли и других аэрозолей в воздухе рабочей зоны производственных помещений не
должна превышать предельно допустимых норм. В помещениях цехов должны быть
установлены закрытые металлические ящики с отделениями для чистого и грязного
обтирочного материала. Грязный обтирочный материал из ящиков следует убирать
ежедневно.
Все горячие части оборудования,
трубопроводы, баки, теплообменники и другие элементы, могущие вызвать ожоги
персонала, должны быть изолированы. Температура на поверхности изоляции оборудования
и трубопроводов, расположенных в помещениях, не должна превышать 45С, а вне
помещений, но в зоне, доступной для обслуживания, 60С при средней температуре
окружающего воздуха 25С.
В помещении котельной должна быть
аптечка с перевязочным материалом и медикаментами. Аптечка должна, содержаться
в чистоте и порядке, а расходуемые материалы и медикаменты - систематически
пополняться согласно утвержденному списку.
Душевые помещения должны быть
оборудованы скамейками и крючками для одежды и содержаться в чистоте. Полы
душевых должны быть нескользкими и иметь специальные (шероховатые) резиновые
коврики. Вентили, регулирующие температуру и подачу воды в душевых кабинах,
должны быть установлены в местах (с наружной стороны кабины или у ее входа),
исключающих возможность ожогов горячей водой во время пользования душем.
В течение рабочего дня и после
каждой, смены производят уборку мест, проходов и проездов с помощью передвижных
или стационарных пылесосов.
Котельные следует обеспечивать
питьевой водой, отвечающей санитарным требованиям. Температура ее должна быть
не выше 200С и не ниже 10С. Для пользования питьевой водой
необходима устанавливать фонтанчики, соединенные с питьевым водопроводом, или
бачки с кружками. Не реже 1 раза в смену воду в бачках следует менять. Бачки
рекомендуется промывать горячей водой не реже 2 раз в неделю и подвергать
дезинфекции 1 раз в месяц. Кружки необходимо промывать горячей водой ежедневно.
В котельных должны быть организованы
надлежащее хранение спецодежды, ее периодический ремонт и стирка.
Вентиляция и отопление должны
обеспечивать удаление излишков влажности, вредных газов и пыли, а также
поддержание температуры: в зоне пребывания обслуживающего персонала - не ниже
120С зимой и не более чем на 50С наружную температуру
воздуха летом.
Поэтому ворота и входные наружные
двери должны иметь тамбуры или воздушную тепловую завесу.
Выбор рационального освещения
рабочего места и цветного тона окраски оборудования и помещения способствует
производительному труду и нормальному отдыху рабочих. Наилучшим гигиеничным
является естественное освещение. В связи с этим необходимо следить за чистотой
оконных стекол, систематически очищать от пыли и грязи. Степень освещенности
также зависит от цвета окраски помещений и оборудования. Выбор цвета окраски
необходимо производить в соответствии со строительными нормами. Правильно
выбранное цветное оформление снижает зрительное напряжение и утомляемость
рабочего и способствует повышению производительности труда.
ПРОТИВОПОЖАРНЫЕ МЕРОПРИЯТИЯ
При эксплуатации и ремонте котельных
необходимо соблюдать все требования противопожарной безопасности. Возникновение
пожаров, как правило, является следствием небрежного обращения с огнем,
неправильного хранения горючих и легковоспламеняющихся материалов, а также
неисправности электропроводки.
Для предотвращения пожаров следует
содержать в исправности электропроводку, не допускать захламления помещений,
территорий и рабочих мест. В помещении котельной должны быть установлены
противопожарные приспособления и устройства: пожарные краны с брандспойтами и
шлангами, огнетушители, ящики с песком и другой противопожарный инвентарь
согласно нормам и правилам противопожарной охраны.
Легко воспламеняющиеся материалы
(бензин, керосин, спирт и смазочные масла) хранить в помещении котельной
запрещается. Небольшие количества этих материалов в пределах не более
недельного постоянного эксплуатационного расхода разрешается хранить в
котельной в специальных кладовых в прочной металлической таре. Смазочные масла
в количестве суточной потребности могут храниться вблизи рабочих мест в
специальных металлических бачках, ящиках (шкафах) и масленках. Нитрокраски,
дихлорэтан и другие особо опасные в пожарном отношении вещества содержать в
кладовых котельной запрещается. Хранение указанных материалов должна
производиться в специальных кладовых вне зданий котельной. На дверях этих
кладовых должны быть сделаны надписи «С огнем не подходить».
Стены помещений, в которых возможно
отложение угольной пыли, должны быть гладкими и не иметь выступающих частей.
Места, на которых возможно оседание угольной пыли, должны быть доступны для
очистки, а электрооборудование и арматура электроосвещения в таких помещениях
должны быть во взрывобезопасном исполнении.
Способы и средства тушения пожара
разнообразны. Самое распространенное средство - вода. Однако не всякий пожар
можно тушить водой. Водой нельзя тушить горящий карбид кальция,
легковоспламеняющиеся жидкости (бензин, керосин, мазут, смазочные материалы и
др.), а также электроустановки и электропроводку. Для тушения возникшего пожара
от этих материалов применяют густопенные и кислотные огнетушители. В случае
небольших очагов пожара используют сухой, чистый и просеянный песок.
Для тушения одежды на человеке, а
также огня на небольших поверхностях применяют противопожарные одеяла -
асбестовое полотно, брезент, кошму и т.п.
Пожарный инвентарь (топоры, багры,
лопаты, ломы, ведра и др.) должны вывешиваться на видном месте и использоваться
для ликвидации пожара.
В случае возникновения в котельной
пожара обслуживающий персонал должен немедленно вызвать пожарную охрану и
принять все меры к тушению его, не прекращая наблюдения за работой котельных
агрегатов. При пожаре в котельной с котлами, работающими на газообразном
топливе, нужно немедленно отключить газопровод котельной с помощью задвижки,
установленной вне помещения котельной.
Заключение
Теплотехнические
испытания котлов делят на три категории сложности в зависимости от их
назначения:
К I категории
сложности относят приемосдаточные испытания, при которых проверяют характеристики
котла, гарантируемые заводом-поставщиком.
Ко II категории
сложности относят эксплуатационные (балансовые) испытания котлов: вновь
вводимых в эксплуатацию; капитально отремонтированных или реконструированных;
переводимых на газовое топливо; эксплуатируемых при систематическом отклонении
параметров от нормативных.
К III категории
сложности относят режимно-наладочные и доводочные испытания котлов (в том числе
после их капитального ремонта), проводимые с целью наладки режима их работы.
Испытания, проводимые по II и III категориям сложности, различаются числом
опытов и точностью измеряемых контролируемых параметров,
В задачи балансовых
испытаний входит определение: отдельных составляющих теплового баланса; причин
превышения потерь теплоты над расчетными значениями (и разработка рекомендаций
по их уменьшению); характеристик газового и воздушного трактов; экономических
показателей работы котла при номинальной, минимальной и двух-трех промежуточных
производительностях; основных составляющих расходов теплоты на собственные
нужды; прогрессивных норм удельных расходов топлива; оптимальных режимов работы
оборудования.
В задачи
режимно-наладочных испытаний входит определение: оптимального режима горения;
оптимальных значений коэффициента избытка воздуха и подачи первичного и
вторичного воздуха; распределение газа и воздуха по горелкам; минимально
устойчивых и максимально возможных нагрузок котла; основных потерь теплоты при
различных нагрузках; составление режимных карт работы котлов; выдача
рекомендаций по улучшению работы котельной.
Для проведения
режимно-наладочных работ в газифицированных котельных может быть рекомендован
экспресс-метод, позволяющий существенно сократить общую продолжительность
испытаний при обеспечении необходимого качества работ. Для испытаний по
экспресс-методу составляют специальную программу, определяющую
последовательность и продолжительность экспериментальных режимов. Такие
испытания проводятся при наличии в котельной нескольких котлов, что позволяет
соблюдать режим работы данного котла исключительно в интересах эксперимента.
Экспресс-метод может быть применен для оценки качества ремонта или модернизации
оборудования, выявления влияния определяющих факторов на показатели работы
котла. Он позволяет проводить опыты с колебаниями измеряемых величин в пределах
±3-4%.
В работе рассмотрены теоретические
аспекты наладочных испытаний котлоагрегата и его вспомогательного оборудования,
приведены расчеты в проектно-конструкторской части, обоснованы мероприятия с
точки зрения окупаемости проекта.
Список литературы
1. Бела Ф.И. Водоподготовка. 3-е издание, переработанное. М.:
Энергия, 1979 г.
2. Борщев Д.Я. Устройство и
эксплуатация отопительных котельных малой мощности. М Стройиздат., 1982 г.
. Волков М.А., Бочков В.А
Эксплуатация газифицированных котельных. М.: Стройиздат., 1983 г.
. ГОСТ 16.443-70
. ГОСТ 21.404-85
. ГОСТ 21.408-93
. ГОСТ 21.110-95
. Карауш С.А. Современные котлы
малой и средней мощности: Учебное пособие. Томск: Издательство Томского
государственного архитектурно - строительного университета, 2002 г.
. ГОСТ 36.13-90
. Правила безопасности систем
газораспределения и газопотребления, 2003 г.
. Правила устройства и безопасной
эксплуатации паровых и водогрейных котлов ПБ 10-574-03. СПб.: ЦОТПБСП, 2003 г.
. Правила устройства и безопасной
эксплуатации сосудов, работающих под давлением ПБ 03-576-03. СПб,: ЦОТПБСП,
2003 г.
. Правила устройства и безопасной
эксплуатации трубопроводов пара и горячей воды ПБ10-573-03. СПб.: ЦОТПБСП, 2003
г.
шибер экономайзер энтальпия
котлоагрегат