Расчет параметров теплоэнергетической установки с промежуточным перегревом пара и регенерацией тепла
Пояснительная
записка к курсовому проекту
по дисциплине
Основы термодинамики
Задание
Исходные данные
|
Абсолютное давление
окружающей среды
|
P0
|
754
|
мм рт. ст.
|
|
Температура окружающей
среды
|
t0
|
4
|
о С
|
|
Давление в паровом котле и
пароперегревателе
|
PП1
|
130
|
бар
|
|
Температура перегрева
|
tП
|
670
|
о С
|
|
Промежуточное давление при
вторичном перегреве пара
|
PП2
|
11
|
бар
|
|
Вакуум в конденсаторе
|
Bk
|
96
|
%
|
|
Адиабатический К.П.Д.
турбины (внутренний относительный К.П.Д.)
|
hад
|
0,82
|
-
|
|
Давление отбираемого на
регенерацию пара
|
Pрег
|
0,8
|
бар
|
|
Изменение температуры воды
в подогревателе от температуры насыщения при Pрег
|
DtВ
|
5
|
о С
|
|
Температура питающей воды
при работе по разомкнутому циклу
|
t¢В
|
75
|
о С
|
|
Температура охлаждающей
воды в конденсаторе
|
tВ охл
|
12
|
о С
|
|
Температура продуктов
сгорания в котельной установке
|
tГ
|
1450
|
о С
|
Определить:
параметры рабочего тела (P, v, T, S, u, i, ex) во всех характерных точках
идеального и реального циклов;
энергетические параметры для всех процессов, составляющих циклы (Du, Di, l, l¢, qe , Dex);
КПД идеального и реального циклов с регенерацией и без регенерации тепла;
КПД цикла Ренкина с теми же параметрами пара за турбиной;
КПД разомкнутого цикла;
величину диссипации энергии, потерь эксергии, эксергетический КПД
турбины;
расход охлаждающей воды;
составить уравнения эксергетического баланса для реального цикла.
ИЗОБРАЗИТЬ:
тепловую схему циклов с регенерацией тепла и без регенерации разомкнутого
цикла;
идеальный и реальный циклы в P - v, T - S, и i - S диаграммах (условно),
а также цикл Ренкина.
ПРИМЕЧАНИЯ.
. Определение параметров рабочего тела в реальном цикле произвести в двух
вариантах: по таблицам и T - s
диаграмме.
. Подогрев охлаждающей воды задать до температуры конденсации пара.
. Принять, что в водонагревателе греющий пар полностью конденсируется и
что переохлаждения конденсата в нем не происходит.
. Потерями тепла в окружающую среду всеми элементами установки
пренебречь.
1. Расчет идеального цикла ренкина
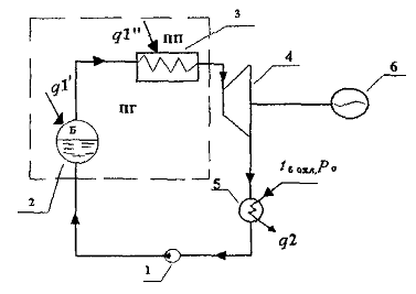
Схема теплоэнергоустановки и принцип ее работы:
1. насос
2. барабан котла
. пароперегреватель
. турбина паровая
. теплообменник (конденсатор)
. электрогенератор
С помощью питательного насоса (1) вода под давлением P2=PП1 поступает в барабан котла (2), где к
ней подводится тепло q1’ при постоянном давлении. Происходит
процесс нагрева воды до температуры кипения и парообразование. Полученный сухой
насыщенный пар перегревается в пароперегревателе (3), где к нему подводится
количество тепла q1’’. Перегретый пар поступает в
турбину (4), где, расширяясь, совершает работу. Отработавший влажный пар при
давлении Рк=Р1=Р6 поступает в конденсатор (5),
где происходит его конденсация. Конденсация осуществляется путём передачи
количества тепла q2 охлаждающей
воде с температурой tВ 0XЛ. На одном валу с турбиной находится электрогенератор
(6), который вырабатывает электроэнергию. С помощью питательного насоса вода из
конденсатора (конденсат) снова подаётся в котёл. Паровой котёл и
пароперегреватель можно объединить понятием парогенератор. P-v, T-s и i-s диаграммы идеального
цикла Ренкина:

1.1 Определение параметров рабочего тела во всех характерных
точках идеального цикла.
Определим параметры воды при давлении и температуре окружающей среды: i0, T0, s0. T0=277,15К. Значения i0 и s0 находим, пользуясь таблицами [2].
При
4
16,81
0,0611
При
0
-0,04
-0,0002
Следовательно,
параметры окружающей среды определяются как:


ТОЧКА 1
Точка находится на линии насыщения и соответствует параметрам рабочего
тела на выходе из конденсатора. Атмосферное давление 754 мм.рт.ст.; вакуум в
конденсаторе Bk=96%. Тогда давление в конденсаторе
определяется как
(1-0,96)
754
0,0401128
При
давлении P1=0,040
бар по таблицам для состояния насыщения воды и водяного пара [2] находим:
0,0010041165
0,423
121,5947
29,00675+273,16=302,16675
Определим
удельную внутреннюю энергию:
121,5947-0,0401128
0,0010041165=121,594
Эксергию
потока определим по формуле:
=(121,5947-16,85)-277,15
(0,423-0,0613)= 4,4874
ТОЧКА
2
Параметры
точки 2 определим по табл. [2].
Точка
характеризует параметры воды, поступающей в барабан котла после сжатия в
насосе. Сжатие считается адиабатным, изоэнтропным, т. е.
0,423
.
Вторым
определяющим параметром является давление в котле
130
. По этим
данным, интерполируя (используем формулу линейной интерполяции), находим
остальные параметры:
306,343 K
0,001000
150,786
=150,786-130

0,001000=137,790
=(150,786-16,85)-277,15(0,423-0,0613)=
33,69
ТОЧКА
3
Параметры
точки 3 определим по табл. [2].
Точка
соответствует состоянию насыщения воды, т.е. x=0 при давлении
130
. По этим
параметрам находим остальные:
604,2K
0,0015665
3,561
1531,402
=1531,4-130

0,0015665=1511,035
=(1531,402-16,85)-
277,15 (3,561-0,0613)= 544,61
ТОЧКА
4
Параметры
точки 4 определим по табл. [2].
Точка
насыщения пара при
130
; x=1
604,2
0,01279
5,434
2662,9
=2662,9-130

0,01279=2496,63
=(
2662,9-16,85)- 277,15 (5,434-0,0613)= 1157,0
ТОЧКА 5
Параметры
в этой точке находим по таблицам воды и перегретого пара [2]. Эти параметры
характеризуют состояние пара перед турбиной. Известно: давление в паровом котле
130
и
температура перегрева пара
670
. Тогда:
0,03200
6,9818
3777,0
=3777,0-130

0,03200=3361,0
=(3777,0-16,85)-
277,15 (6,9818-0,0613)= 1842,13
ТОЧКА
6
Характеризует
параметры влажного пара, поступающего в конденсатор. По известным параметрам
0,04 МПа и
6,9818
находим остальные параметры:
302,16
=0,001
=34,792
;
=121,40
=2553,7
;
=0,4224
=8,4735
,
где
‘- для кипящей воды, “-для сухого насыщенного пара
Определим
степень сухости пара x:
,
отсюда
0,815
0,0010041+(34,792-0,0010041)
0,815=28,36
121,4+(2553,7-121,40)
0,815=2103,72
=2103,72-0,04

28,36=1990,28
=(2103,72-16,85)-
277,15 (6,9818-0,0613)= 168,85
1.2
Определение энергетических параметров для всех процессов, составляющих цикл (∆u,
∆i, l, l’,
qe, ∆ex)
ПРОЦЕСС
1-2 - адиабатное (изоэнтропное,
обратимое) повышение давления в насосе.
=137,790-151,484=-13,694
=150,786-121,59=29,196
13,694
-29,196
, т.к.
тепло в процессе не подводится и не отводится от рабочего тела.
=33,69-4,4874=29,2026
ПРОЦЕСС
2-3 - изобарный подогрев воды в
котле.
=1511,038-137,790=1373,25
=1531,402-150,786=1380,62
7,37
1380,62
, т.к.
, а P=const
=544,61-33,69=510,92
ПРОЦЕСС
3-4 - изобарное испарение воды в
котле.
=2496,63-1511,035=985,595
=2662,9-1531,402=1131,49
1131,49
=1131,49-985,6=145,84
=1157,0-544,61=612,39
ПРОЦЕСС 4-5 - изобарный перегрев пара в пароперегревателе.
=3361-2496,63=864,37
=3777-2662,9=1114,1
1114,
1114-
864,37=249,63
1842,13-1157=685,13
ПРОЦЕСС
5-6 - адиабатное (обратимое)
расширение пара в турбине.
=1990,28-3361=-1370,72
=2103,72-3777=-1673,28
=1370,72
1673,28
=168,85-1842,13=-1673,28
ПРОЦЕСС
6-1 - изобарное охлаждение влажного
пара в конденсаторе до состояния насыщения воды при T=306,024K
=151,484-1990,28=-1838,796
=121,59-2103,72=-1982,13
-1982,13
=-1982,13-(-1838,796)= -143,334
=4,4874-168,85=-164,3626
.3
Определение КПД идеального цикла Ренкина.
Термодинамический
КПД цикла рассчитывается по формуле
,
где
q1 -
количество теплоты, подведённое в цикле к рабочему телу; q2 - количество теплоты, отводимое от рабочего тела.
Определим
величины
и
=3777-150,786=3626,214
=2103,72-121,59=1982,13
КПД
определяется как:
(3626,214-1982,13)/
3626,214=0,453 или 45 % - КПД идеального цикла Ренкина без регенерации.
2. Расчет реального цикла Ренкина
Схема установки остаётся без изменения, изменяется процесс в турбине -
адиабатный, неизоэнтропный, остальные процессы в первом приближении сохраняем
обратимыми.
.1 Определение параметров рабочего тела во всех узловых
точках
Появилась одна дополнительная точка.
ТОЧКА 6g
Внутренний адиабатный КПД турбины:
0,82,
отсюда
можем определить:
=3777-0,82(3777-2103,72)=
2404,9
Давление
0,04 бар
По
таблицам [2] определяем:
=302,16 К
=0,0010041
=34,79
;
=121,4
=2553,7
;
=0,42245
=8,4737
,
Степень
сухости:
0,94
32.7
7.99
=2404,9-0,04
∙102∙32.7=2274.1
=
(2404.9-16.85)- 277.15 (7.99-0.0613)= 190.61
Другие
точки данного цикла такие же, как и для идеального цикла.
2.2 Определение энергетических параметров для всех процессов,
составляющих реальный цикл.
Процессы, которыми реальный цикл отличается от идеального, являются
процессы 5-6g и 6g-1
ПРОЦЕСС 5-6g - адиабатное (необратимое) расширение в турбине в реальном цикле.
=2274.1-3361=-1086.9
=2404,9-3777=-1372.1
190.61-1842.13=-1651.52
Работу
расширения находим из уравнения первого закона термодинамики для ТДС:
(для
адиабатного процесса
,
)
,
где
7.99-6.9818=1.0082
, а Tси5-6g
- среднеинтегральная температура в процессе 5-6g (в первом
приближении реальный процесс 5-6g заменим политропным)
(302.16
-943.15)/ln(302.16/943.15)= 563.13
563.13∙1.0082=567.75
=567.75-(-1086.9)=
1654.65
1372.1
ПРОЦЕСС
6g-1 -
изобарное охлаждение влажного пара в конденсаторе:
=151.484-2274.1=-2122.616
=121.59-2404.9=-2283.31
-2283.31
=-2283.31-(-2122.616)
= -160.694
=4.4874-190.61=-186.12
Проверка.
Проверим
правильность определения параметров реального и идеального циклов из условий:
,
,
,
Для
идеального цикла получим:
13.694+7.3+145.84+249.63+1370.72-143.334=1644
-29.196+0+0+1673.28+0=1644
0+1381+1131+1114+0-1982=1644
Для
реального цикла получим:
-13+1372+985+864-1086-2122=0
29+1381+1131+1114-1372-2283=0
29+511+612+685-1651-186=0
13.694+7.3+145.84+249.63+1654.65-160.69=1910.4
0+1381+1131+1114+567.75-2283.31=1910.4
регенеративный отвод цикл ренкин
Условия
выполняются.
2.3 Определение КПД реального цикла
Определим КПД цикла по формуле:
где
l’Т - работа турбины, определяется как: l’Т=l’5-6д=i5-i6g;
l’Н -
работа насоса, определяется как l’Н =l’1-2=i2-i1; получим
((3777-2405)-(150.786-121.59))/(3777-150.786)
= 0.37 или 37 %
3. Определение величины диссипации энергии, потерь эксергии,
эксергетического КПД турбины
Диссипация энергии - это рассеяние энергии потока, вследствие трения и
переход этой энергии в тепло трения.
567.75
Эксергия
потока тепла q, отдаваемого телом с температурой T,
определяется как:
,
где
T0 - температура
окружающей среды. Если в элементе установки производится полезная работа lполез, то потеря работоспособности рабочего тела:
∆l=[(exвх+exq вх)-exвых]-lполез,
где
exвх -
эксергия потока на входе в элемент; exвых - эксергия потока на выходе из элемента.
В
турбине нет теплового источника, тогда
∆l=(exвх+exвых)- lполез.
Потери
эксергии обусловлены трением, теплообменом при конечной разности температур,
потери тепла элементом.
1651.52-1372.1=279.42
Определим
значение эксергетического КПД для оценки термодинамического совершенства
турбины:
1372.1/1651.52=0.83
или 83%
.1
Составление уравнения эксергетического баланса для реального цикла
Проанализируем
величины потерь в элементах установки.
В
котле и пароперегревателе полезная работа не производится. Потери
эксергии определяются в виде:
Эксергия
воды, поступающей в котёл:
33,69
.
Эксергия
пара на выходе из пароперегревателя:
1842,13
;
-
эксергия потока тепла, подводимого от горячего источника, имеющего температуру:
tГ=14500С
рабочему телу.
(3777-150,786)((1-277.15/(1450+273.15))=
3043
Получим:
=(33,69+3043)
- 1842,13=1234,56
В
конденсаторе полезная работа не совершается. Потери эксергии
определяются как:
190,61-4,49=186,12
Эксергия
воды, поступающей в насос:
exвхнас=ex1=4,49
Эксергия
воды на выходе из насоса:
exвыхнас=ex2=33,69
Для
работы насоса затрачивается работа lполез=l’1-2=-29,196
, тогда
4,5-33,7+29,2
Эксергия
теплоты, подводимой в цикле:
3043
Суммарные потери эксергии в цикле:
∆l∑=∆lк+∆lТ+∆lкон+∆lнас=1234,56+279,42+186,12+0=1700,1
Суммарная
полезная работа, выработанная в цикле:
1372,1-29,196=1342,9
Уравнение
эксергетического баланса:
3043-1342,9=1700,1
4. Определение расхода охлаждающей воды в конденсаторе.
Исходными данными для расчёта конденсатора являются следующие параметры:
T6g=T1=302,15, tв охл=120С, i1=121,59
, i6g=2404,9
,
P6g=P1=0,004 бар, P0=1,00450896 бар.
Зададим
подогрев охлаждающей воды до температуры конденсации пара (на линии насыщения),
. Для охлаждающей воды энтальпия входа и выхода
определяются в виде:
12∙4,18=50.16
(302,15-273,15)∙4,18=121,22
Запишем
уравнение теплового баланса в конденсаторе:
(2404,9-121,59)/(121,22-50,16)=
32,13
Для идеального цикла с регенерацией:
(1-0,104)(2103,7-121,59)/(
121,22-50,16)= 24,99
g=0,104- доля
пара, отбираемого на регенерацию, определена в разделе 6.2.
5. Расчет
идеального цикла Ренкина с промежуточным перегревом пара
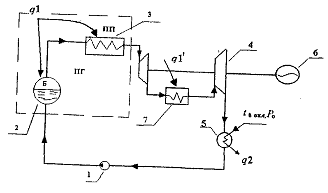
Схема теплоэнергоустановки с промежуточным перегревом пара
1. насос
2. барабан котла
. пароперегреватель
. турбина паровая
. теплообменник (конденсатор)
. электрогенератор
. дополнительный пароперегреватель
Повышение средней температуры подвода теплоты (и, следовательно, повышение
КПД всей установки) реализуется в цикле ПТУ с промежуточным перегревом пара. В
отличие от схемы без промежуточного перегрева пар после пароперегревателя
поступает в часть высокого давления турбины. Из неё пар поступает в
дополнительный (промежуточный) пароперегреватель (7), где температура
пара повышается до температуры tП. Затем пар снова поступает в турбину
низкого давления (4) и расширяется. При этом на последних ступенях турбины
получаем более сухой пар.
5.1 Параметры узловых точек и процессы цикла
Параметры точек остаются такими же, как для идеального цикла Ренкина, но
добавляются следующие точки:
ТОЧКА 10
Точка
соответствует параметрам пара после ТВД. Заданы PП2=P10=11 бар.
Т. к. процесс в турбине идеальный адиабатный s10=s5=6,9818
По таблицам [2] для перегретого пара определяем остальные параметры:
457.22K
0.17744
2780.7
2780,7-11∙0,17744=2585.5
(2780,7-16,85)-
277,15 (6,9818-0,0613)= 845,8
ТОЧКА 11
Точка
соответствует параметрам пара перед ТНД. Известны: P11=11 бар,
943,15
По таблицам [2] для перегретого пара определяем
остальные параметры:
7,815
0.39426
3855.1
8.1596
3421.5
(3855.1-16.85)-
277.15 (8.1596-0.0613)=11593.8
ТОЧКА 12
Точка
соответствует состоянию влажного пара, поступающего в конденсатор. Пользуясь
таблицами [2] для влажного пара, по параметрам: P12=P1=0,04000бар
и 
8.1596
, определяем:
302,15K
=
=
;
=
=
;
=
=
,
Определим
степень сухости пара x:
,
0.96101
33.436
2458.9
2325.1
(2458.9-16.85)-
277.15 (8.1596-0.0613)= 197.6
Рассмотрим
процессы 5-10, 10-11, 11-12 и 12-1.
ПРОЦЕСС
5-10 - адиабатное
расширение в турбине.
2585.5-3361=-775.5
2780.7-3777=-996.3
775.5
996.3
845.8-1842.13=-996.33
ПРОЦЕСС
10-11 - изобарный вторичный перегрев
пара в пароперегревателе.
3421.5-2585.5=836
3855.1-2780.7=1074.4
1074.4
1074.4-836=238.4
1593.8-845,8=748
ПРОЦЕСС
11-12 - обратимое расширение в
турбине рабочего тела.
2325.1-3421.5=-1096.4
2458.9-3855.1=-1396.2
1096.4
1396.2
197.6-1593.8=-1396.2
ПРОЦЕСС
12-1 - изобарное охлаждение влажного
пара в конденсаторе до состояния насыщения воды при
302.16 K.
151.484-2325.1=-2173.616
121.59-2458.9=-2337.31
-2337.31
-163.694
4.484-197.6=-193.116
Проверка.
-13+1372+985+-775+864+836-1096-2173=0
29+1381+1131+1114-996+1074-1396-2337=0
29+511+612+685-996+748-1396-193
=0
=13.694+7.3+145.84+249.63+777.5+238.4+1096.4-163.964=2363
-29+0+0+0+996+0+1396+0=2363
=0+1381+1131+1114+0+1074+0-2337=2363
5.2 Определение КПД цикла
Для расчёта цикла с промежуточным пароперегревом воспользуемся формулой:
0,50 или
50%
6. Расчет идеального цикла ренкина с регенеративным отбором
тепла
Схема теплоэнергоустановки с регенерацией тепла и идеальный
цикл в T-S, P-V и i-s диаграммах:
1. насос
2. барабан котла
. пароперегреватель
. турбина паровая
. теплообменник (конденсатор)
. электрогенератор
. линия отбора пара
. бак питательной воды
. водоподогреватель
. насос высокого давления
Появляется дополнительный насос (10), для повышения давления смешанных
потоков до PП1=130 бар. Насос (1) повышает давление
(1-g) части пара до Pрег=1,5бар. В этом цикле пар расширяется
в турбине до температуры t7 и давления Pрег, где часть пара отбирается на регенерацию, а остальная часть
расширяется до давления Pк. Отобранная часть пара
конденсируется в регенеративном теплообменнике (9), нагревая питательную воду
перед её поступлением в котёл. Затем конденсат смешивается с основным потоком в
питательном баке.
6.1 Параметры в узловых точках цикла и процессы цикла
Дополнительными точками к идеальному циклу Ренкина являются точки: 7, 8,
1’, 9’ и 9. Определим параметры в этих точках.
ТОЧКА 7
Отбор
пара на регенерацию при давлении
0,8
. Для идеального, обратимого расширения в турбине
6,9818
.
Остальные параметры находим по таблицам [2]:
366.64 K
0.0010385
2.0872
;
391.64
2665.2
;
1.2328
7.4339
.
Определим
степень сухости пара x:
, отсюда
0.927
1.9349
2483.32
2344.6
564.5
ТОЧКА
8
Состояние
насыщения регенерационной воды (по таблице):
0,08 МПа
366,64
0.0010385
391.64
1.2328
391.64-0,08∙0.0010385=391.56
50.10
ТОЧКА
1’
Известно
0,08 МПа. При этом давлении происходит смешивание
основной части пара и пара, отбираемого на регенерацию. Для процесса в насосе
0,423
. По
таблицам для воды и перегретого пара [2] интерполяцией определяем:
0.0010041
302.15
121.65
121.57
(121.65-16.85)-
277.15 (0.423-0.0613)= 4.55
ТОЧКА 9'
Параметры
точки 9' определим по табл. [2]. Вода недогрета до температуры насыщения t8= 93.25 о С при P=0,08 МПа на ∆tB = 5 о С, т.е.
t8
-∆tB = 93.25
о С-5 о С= 88.25 о С. Остальные параметры:
369.62
0,00
10347
1.1723
314.01-0,08∙0,0010258=
369.54
(369.62-16.85)-
277.15 (1.1723-0.0613)= 44.856
ТОЧКА 9
Параметры точки 9 определим по табл. [2].
Эта точка соответствует параметрам воды, поступающей в котёл, уже сжатой
в насосе.
По
известным
130МПа и
1.1723
находим:
362.18 K
382.94
0,0010291
369.56
(382.94-16.85)-
277.15 (1.1723-0.0613)= 58.17
ПРОЦЕСС
1-1’ - адиабатное повышение давления
при помощи конденсатного насоса.
121.6-121.6=0
121.6-121.6=0
0
4.55-4.49=0.06
ПРОЦЕСС
1’-9’ - изобарный подогрев воды в
регенеративном подогревателе.
369.5-121.6=247.9
369.6-121.6=248
248
44.856-4.55=40.3
ПРОЦЕСС
9’-9 - адиабатное повышение давления
до давления в котле.
382.94-369.6=13.34
-13.34
58.17-44.856=13.31
ПРОЦЕСС 9-3 - изобарный подогрев воды в котле.
1511-369.5=1141.5
1531.4-382.9=1148.5
1148.5
1148.5-1141.5=7
544.61-58.17=486.44
ПРОЦЕСС
5-7 - обратимое расширение пара в
турбине до давления Pрег.
2344.6-3361=-1016.4
2483-3777=-1294
1016.4
1294
564.5-1842.13=-1277.63
ПРОЦЕСС
7-6 - изоэнтропное расширение в
турбине оставшейся после отбора (1-g) пара.
1990.28-2344.6=-354.32
2103.72-2483=-379.28
354.32
379.28
168.85-564.5=-395.65
Проверка.
=0+248+0+1142+985+864-1016-354-1839=0
=0+248+13+1149-1279-396+1134+1114-1983=0
=0.06+40.3+13.31+486.44-1277.63-395.65+612.39+685.13-164.36=0
=0+0+0+7+1016.4+354.32+145.84+249.63-143.334=1659.856
=0+0-13.34+0+1294+379+0+0+0=1659.66
=0+248+0+1148.5+0+0+1131+1114-1982=1659.5
6.2 Определение доли пара, отбираемого на регенерацию
Схема регенеративного отбора пара
Тепловой
баланс бака питательной воды:
, где
- энтальпия после смещения.
Тепловой
баланс подогревателя:
.
Решая
совместно, получим:
(369.62-121.65)/(
2483.32-121.65)= 0.104
6.3 КПД цикла с регенеративным отводом.
1-((2103,72-121,59)(1-0,104))/(3777-382,94)=
0,47
7. Теплофикационний цикл
Схема теплоэнергоустановки теплофикационного цикла:
1. котёл
2. пароперегреватель
3. турбина паровая
4. бак питательной воды
. насос
. генератор
Количество тепла q2 отводится в сети тепловодоснабжения.
Диаграмма теплофикационного цикла в T-s координатах:
7.1 Параметры в точках цикла
ТОЧКА 13
Эта
точка соответствует параметрам питающей воды для теплофикационного цикла. Вода
поступает при
348.15 K и
0.100525
МПа. Находим по таблицам [2]:
314.02
1.0156
0,0010258
313.92
(314.02-16.85)-
277.15 (1.0156-0.0613)= 32.68
ТОЧКА 13’
Эта точка соответствует параметрам питающей воды, сжатой в насосе перед
подачей в котёл.
13 МПа;
1.0156
Определяем
по таблице [2]:
327.23
348.82 K
0,0010203
313.97
(327.23-16.85)-
277.15 (1.0156-0.0613)= 45.89
ТОЧКА 14
Эта
точка соответствует параметрам питающей воды для теплофикационного цикла.
Известно:
0.100525 МПа и
6.9818
Интерполируя, найдём остальные параметры: По таблицам
[2] определяем:
372.9 K
1.5813
2535.2
2376.3
(2535.2-16.85)-
277.15 (6.9818-0.0613)= 600.33
.2 Определение КПД теплофикационного цикла
((3777-2535.2)+(313.97-314.02))/(3777-313.97)=
0,358 или 35,8%
Примечание: Определить коэффициент использования теплоты не
представляется возможным, так как неизвестно какую долю от теплоты q2 составляют потери.
Параметры
узловых точек теплофикационного цикла.
|
0,45идеальный цикл без регенерации (Ренкина)
|
|
|
|
0,37действительный цикл без регенерации (Ренкина)
|
|
|
|
597,75диссипация энергии
|
|
|
|
0,83эксергетический КПД турбины
|
|
|
|
1700,1потеря эксергии в цикле (реальный цикл Ренкина
без регенерации)
|
|
|
|
24,99расход охлаждающей воды в конденсаторе для ид,
цикла с регенерацией
|
|
|
|
0,50идеальный цикл с промежуточным перегревом
|
|
|
|
0,47идеальный цикл с регенерацией
|
|
|
|
0,36теплофикационный цикл
|
|
|
Вывод
Проведя расчёты, мы получили таблицу параметров паротурбинных установок
(ПТУ), рассчитанных при различных способах осуществления цикла Ренкина. Из
данной таблицы видно, что ПТУ выдаёт больший КПД в идеальном цикле Ренкина с
промежуточном перегревом и в цикле с регенерацией. КПД в цикле Ренкина с
промежуточным перегревом пара увеличивается за счет того, что пар в пароперегревателе
нагревается до температуры, превышающей температуру насыщения при данном
давлении. В этом случае средняя температура подвода тепла увеличивается по
сравнению с температурой подвода тепла в цикле без перегрева и, следовательно,
термический КПД цикла возрастает. Термический КПД теплофикационного цикла ниже
термического КПД соответствующего конденсационного цикла, в котором пар
расширяется в турбине до очень низкого давления, производя при этом полезную
работу, и превращается в охладителе в конденсат, а отнятая от него в
конденсаторе теплота полностью теряется с охлаждающей водой. Это объясняется
тем, что в теплофикационном цикле конечное давление пара значительно
превосходит обычное давление в конденсаторе паровой турбины, работающей по конденсационному
циклу. Термический КПД идеального цикла Ренкина превышает термический КПД
реального цикла Ренкина, т.к. в идеальном цикле не учитываются потери тепла на
преодоление сил трения, и процесс считается изоэнтропным. В реальном же цикле
принимаются в расчет еще и совершение паром работы по преодолению сил трения в
турбине.
Список использованной литературы
) Крутов В. И. Техническая термодинамика. - М.: Высшая школа,
1981.
) Александров А. А., Григорьев Б. А.. Таблицы теплофизических
свойств воды и водяного пара: Справочник.- М.: Издательство МЭИ, 1999.