Проектирование электропривода качания кристаллизатора МНЛЗ ОАО 'ЗСМК'

  • Вид работы:
    Дипломная (ВКР)
  • Предмет:
    Физика
  • Язык:
    Русский
    ,
    Формат файла:
    MS Word
    1,01 Мб
  • Опубликовано:
    2013-11-15
Вы можете узнать стоимость помощи в написании студенческой работы.
Помощь в написании работы, которую точно примут!

Проектирование электропривода качания кристаллизатора МНЛЗ ОАО 'ЗСМК'

ВВЕДЕНИЕ


Основными направлениями экономического и социального развития на 1996-1999 годы и на период до 2006 года предусматривается увеличить разливку стали непрерывным способом не менее чем в два раза к уровню 1992 года.

Непрерывная разливка стали, как метод получения литых слябов, сортовых и трубных заготовок, начала применяться в СССР, а затем и в других странах 25 лет назад. За этот период машины непрерывного литья заготовок (МНЛЗ) постоянно совершенствовались, и новый технологический процесс превратился в одно из важных звеньев металлургического производства, в значительной степени определяющих его эффективность и качество всей металлопродукции.

Быстрыми темпами развивалась в 70-80-е годы непрерывная разливка в Японии, США, ФРГ, Италии, Франции и других индустриально развитых странах. Так в Японии к началу 1986 года уже было сооружено более 150-и МНЛЗ, на которых разливалось почти 90% всей выпускаемой стали. Если в 1966 году в мире было 113 МНЛЗ, то к 1980 году их число превысило 1000.

В настоящее время производительность слябовой МНЛЗ достигла двух миллионов тонн в год, а сортовой - один миллион тонн в год. К 1990 году 40% производимой в мире стали разливается на МНЛЗ. В 2000 году по прогнозам специалистов доля непрерывно разлитых заготовок превысит 50%. МНЛЗ предусмотрена планами строительства и реконструкции для большинства металлургических заводов мира.

Широкое внедрение МНЛЗ обуславливается крупными технико-экономическими преимуществами нового метода получения заготовок для листовых, сортовых, трубных и некоторых других станов. При разливке стали на МНЛЗ увеличивается выход годного проката на 10-15%, снижается его себестоимость, повышается производительность труда. Значительный экономический эффект дает сокращение капитальных затрат на строительство металлургического завода, так как из его состава исключаются линии связанные с разливкой стали в изложницы, обжимной и некоторые другие цеха. МНЛЗ позволили полностью механизировать и в значительной степени автоматизировать технологический процесс, коренным образом улучшить условия труда рабочих, занятых разливкой, сократить эксплуатационные расходы.

В России разработку и внедрение систем автоматизированного электропривода МНЛЗ ведут: Гипромез; ВНИПИ "Тяжпромэлектропроект" и ВНИИ "Метмаш". За рубежом созданием аналогичных систем занимаются фирмы: "General Electric" и "Westinghouse Electric" (США); "English Electric" (Великобритания); "Siemens" и "AEG-Telefunken"(ФРГ); "Brown, Bovery and Co" (Швейцария); "ASEA" (Швеция); "Toshiba" (Япония); "CEDA" (Италия) и другие.

Высокая надежность работы электрооборудования МНЛЗ исключительно важна, поэтому требования к нему предъявляются более жесткие, чем к электрооборудованию прокатных станов. Небольшая неисправность, которая вызывает кратковременную задержку работы прокатного стана, на МНЛЗ может привести к потере всей плавки.

Сложность систем автоматизированного электропривода МНЛЗ обусловлена такими технологическими требованиями, как стабилизация скорости при нагрузке пульсирующей с частотой 2-3 Гц, синхронизация вращения ряда приводов, слежение электропривода машины для газовой резки за перемещением слитка по двум координатам, ограничение первой и второй производной скоростей главного электропривода для защиты от повреждений оболочки образующегося слитка и прорыва жидкой стали.

Быстрый прогресс теории и практики электропривода МНЛЗ обусловлен как бурным развитием нового высокоэффективного технологического процесса, постоянным усложнением требований к главным приводам и их системам регулирования, так и общей научно-технической революцией в методах управления и средствах автоматизированного электропривода, начало которой совпало с широким применением МНЛЗ в черной металлургии.

В конце 50-х и начале 60-х годов главные механизмы вертикальных МНЛЗ: тянущая клеть, механизм качания кристаллизатора, машина для газовой резки слитка и подъемник приводились в движение двигателями постоянного тока, регулируемыми по схеме генератор-двигатель (Г-Д), Г-Д с ЭМУ (Электромашинный усилитель), магнитный усилитель-двигатель (МУ-Д).

В 1969 году в Гипромезе был создан первый отечественный проект тиристорного электропривода (ТП-Д) для главных механизмов модернизируемых вертикальных МНЛЗ электросталеплавильного цеха Новолипецкого металлургического комбината (НЛМК). Несколько позднее Волгоградское отделение Тяжпромэлектропроекта выполнило впервые в СССР рабочие чертежи тиристорных электроприводов для машины нового типа - криволинейной с многодвигательным тянуще-правильным устройством, сооруженной в 1974 году в конвертерном цехе №2 НЛМК. В этом проекте применены тиристорные преобразователи серии АТР и транзисторные регуляторы системы УБСР первого поколения. В дальнейшем в работах Тяжпромэлектропроекта и Гипромеза стали широко использоваться новые комплектные тиристорные электроприводы серии КТЭ второго поколения на мощных таблеточных тиристорах и гибридных интегральных микросхемах.

Гипромезом были проведены исследования вынужденных колебаний частоты вращения и тока в электроприводах вертикальных МНЛЗ, на основании которых определены оптимальные структуры систем автоматического регулирования, синтезированы инвариантные по возмущению системы, разработаны методы расчета мощности электроприводов и параметров регуляторов. Предложены способы уменьшения расхода электроэнергии в двигателях, преобразователях и аппаратуре. Также были усовершенствованы схемы синхронизации электроприводов и следящие системы машин для газовой резки слитка на заготовки мерной длины.

В последние годы в России и за рубежом активно разрабатывались методы воздействия электропривода на процесс кристаллизации слитка для повышения качества литых заготовок. Здесь, прежде всего, следует отметить способы формирования оптимального закона движения кристаллизатора, при котором поверхность слитка упрочняется в максимальной степени, а также применение индукторов линейных двигателей для электромагнитного перемешивания жидкой сердцевины слитка.

1. ОБЩАЯ ЧАСТЬ


1.1 Технология работы МНЛЗ


Установленная на Западно-Сибирском металлургическом комбинате восьмиручьевая машина непрерывного литья заготовок предназначена для выплавки трубных заготовок диаметром 150, 170, 200, 230, 300 мм и прямоугольной заготовки сечением 150х200 мм.

Расплавленный металл в разливочном ковше при помощи мостового крана переносится на место разливки и устанавливается на одну из двух опор поворотного стенда, представляющего собой башню с "вилками" по обеим сторонам для навешивания ковшей. После подачи сталеразливочного ковша с жидкой сталью рычаг стенда поворачивается на 180 градусов и устанавливает ковш над промежуточным ковшом, который установлен на тележке, перемещающейся по разливочной площадке по рельсам. Жидкая сталь поступает из разливочного ковша в два промковша и далее распределяется по восьми ручьям в кристаллизаторы, в которые предварительно были введены затравки для образования временного дна. Регулирование подачи стали в кристаллизаторы осуществляется при помощи стопоров. Каждый кристаллизатор приводится в движение качающимся столом параллелограмного типа с синусоидальными характеристиками. Качание кристаллизатора является важным фактором для формовки и затвердевания в фазе формирования корки. После затвердевания корки происходит вытяжка заготовки при помощи сцепленной с ней затравки.

Заготовка проходит через кристаллизатор, криволинейный охлаждающий агрегат, тянуще-правильную машину. После этого затравка отсоединяется и паркуется до следующей плавки. Далее заготовка проходит через калибрующие клети и приобретает требуемой вид, после чего, в таком виде попадает на промежуточный рольганг, который обслуживает участок между калибрующими клетями и агрегатами резки.

Резаки для кислородно-газовой резки обслуживают каждый разливочный ручей, они установлены на тележках и перемещаются над транспортировочными рольгангами. Все операции резки происходят в автоматическом режиме. Длина резки может регулироваться в очень жестких пределах (4...12м).

После этого, отлитые заготовки по транспортному рольгангу попадают в зону перед маркировочной машиной и системой отбора образцов. Здесь каждая заготовка маркируется на торце и, из некоторых, отбирается образец, который транспортируется к лаборатории при помощи скребкового транспортера.

Далее, при помощи разгрузочного рольганга, заготовки транспортируются до участка, обслуживаемого подвесным перекладчиком. Над разгрузочными рольгангами работают два перекладчика, предназначенные для передачи заготовок на холодильник или, при необходимости, на стол накопления, расположенный напротив холодильника. Обычно работает один перекладчик, а второй является резервным. Каждый из них оснащен системой взвешивания, организованной на тензодатчиках, что позволяет определить точную массу заготовок, полученных из каждой плавки.

Холодильник типа с шагающими балками. Состоит из стационарной и подвижной рам, изготовленных из прочных профилей, с опорными балками для заготовок. Подъем и подача подвижной рамы производятся при помощи гидроцилиндров. Далее, заготовка попадает на устройство сортировки, которое представляет собой рольганг - для приема заготовок с накопительного стола. На этом рольганге (рольганге осмотра), происходит сортировка заготовок в зависимости от их состояния, исходя из того, что:

·        если заготовка качественная, то она забирается с рольганга столом формирования слоев;

·        если заготовка требует доработку, то она отправляется по рольгангу на участок контроля качества.

Стол формирования слоев предназначен для приема заготовок с устройства сортировки или с рольганга, расположенного после линии контроля. Он состоит из одной стационарной и одной подвижной рамы, которые имеют опорные балки для заготовок. Подъем и продвижение подвижной рамы производится при помощи гидроцилиндров. Заготовки формируются в слои на балках. Слои перемещаются с шагом 850 мм.

Заготовки со стола формирования слоев попадают на рольганг транспортировки слоев, который предназначен для перемещения в обоих направлениях слоев заготовок на позиции упаковки и пакетирования. На этом рольганге, перед установками формирования пакетов, расположено устройство центрирования, которое состоит из комплекта боковых рычагов, опирающихся на раму рольганга и управляемые гидравлическими цилиндрами. Устройство обеспечивает центрирование слоя заготовок для их надежного отбора магнитом пакетирующего устройства.

Пакетоукладчик с электромагнитными головками обеспечивает отбор слоя заготовок с устройств центрирования и его укладку в карманы формирования пакета с системой взвешивания. Передвижные обвязочные машины предназначаются для автоматической обвязки заготовок собранных в шестиугольные или многоугольные пакеты. Предусматривается проведение трех двойных обвязок по окружности в трех точках для пакетов длиной до 4 м включительно и четыре двойных обвязки в четырех точках - для пакетов от 4 до 12 м.

Устройство для прикрепления этикетки к пакету заготовок осуществляет автоматическую транспортировку клейменых этикеток от этикетировочных машин к точке введения обвязочной проволоки.

Этикетировочная машина автоматического типа предназначена для печати данных на этикетках из алюминия или пластмассы. Приемный стол для обвязанных пакетов обеспечивает перемещение пакетов по плоскости к мостовому крану.

Заготовки, требующие дополнительной проверки, по рольгангу осмотра отправляются к дробеструйной машине, перед которой установлен стол накопления заготовок. Этот стол предназначен для накопления заготовок, поступающих с рольганга и отправки их на дробеструйную машину в соответствии с ее рабочим циклом. Подача заготовок в обоих направлениях по столу накопления осуществляется при помощи гидропривода.

После стола накопления заготовка перемещается на рольганг перед дробеструйной машиной (который является продолжением рольганга осмотра), скорость роликов этого рольганга - регулируемая. Дробеструйная машина производит очистку наружной поверхности заготовки так, чтобы можно было выполнить визуальный и электромагнитный неразрушающий контроль дефектов на поверхности заготовок.

Рольганг на выходе из дробеструйной машины транспортирует заготовки к линии автоматизированного контроля поверхности. Он аналогичен рольгангу перед дробеструйной машиной.

Линия автоматизированного контроля поверхности заготовок состоит из магнитной системы, установленной последовательно на рольганге после дробеструйной машины. Система обеспечивает автоматическое выявление поперечных, продольных и подповерхностных дефектов. Обозначение дефекта производиться оператором при нажатии на кнопку системы управления блоком распыления краски. После системы контроля заготовка транспортируется рольгангом передачи с устройством разгрузки ко второму столу формирования слоев. Заготовки, перемещаемые рольгангом, подразделяются на четыре категории:

.        бракованные;

2.      качественные;

.        подлежащие шлифовке;

.        подлежащие вырезке дефектов.

Бракованные заготовки, не подлежащие ни шлифовке, ни вырезке дефектов, выгружаются в карман-накопитель специальным устройством разгрузки для бракованных заготовок. Это устройство состоит из вала с шарнирными рычагами на опорах с подшипниками и управляется гидроцилиндрами.

Качественные заготовки выгружаются с рольганга разгрузочным устройством годных заготовок на второй стол формирования слоев. Заготовки, подлежащие шлифовке, с рольганга передачи, при помощи подвесного перекладчика заготовок перемещаются на стол накопления шлифовальных агрегатов.

Заготовки, подлежащие вырезке дефектов, подвесным перекладчиком перемещаются на рольганг, обслуживающий зону вырезки дефектов. Подвесной перекладчик может забирать заготовки с подвижной тележки и с разгрузочного стола шлифовального станка для передачи их на стол формирования слоев и/или на рольганг, обслуживающий зону отделки и отгрузки, в зависимости от состояния заготовки. Кроме того, подвесной перекладчик может выполнять (в аварийной ситуации) выгрузку заготовок на стол формирования слоев и в карман для сбора бракованных заготовок. Механизм состоит из мостовой балки, перемещающейся по двум поперечным направляющим, установленным на стальной конструкции. Балка приводится в движение двигателем постоянного тока через редуктор и передаточные валы, имеет зубчатые колеса и зубчатую передачу, оснащена рычажными механизмами для подъема и укладки заготовок. Работа производится в автоматическом режиме с возможностью перехода на ручное управление.

Шлифовальный агрегат предназначается для обработки таких поверхностных дефектов, как:

.        шлаковые включения;

2.      поперечные и продольные трещины;

.        раковины.

Разгрузочный стол за шлифовальным агрегатом принимает заготовки после шлифовки, загрузка - шагающими брусьями стола загрузки шлифовального станка с одновременной погрузкой очередной заготовки на тележку.

Рольганг передачи заготовок в зону резки служит для подачи в обоих направлениях отдельных заготовок на участок пил, а от пил до второго стола формирования слоев.

Каждую позицию резки заготовок обслуживает стол загрузки пилы, предназначенный для захвата заготовок с рольганга и передачи их на хранение на рольганги, обслуживающие пилы. Пила предназначена для холодной резки заготовок из обычной и легированной марок стали с большим сопротивлением на разрыв (до 1300 Н/мм²).

После каждой пилы установлен стол разгрузки пилы, предназначенный для того, чтобы забрать заготовку с рольганга на выходе с пил.

Каждая позиция резки оснащена разгрузочным устройством для брака, предназначенная для удаления брака с рольганга на выходе с пил. Брак сваливается в специальные карманы брака.

На рольганге у выхода пил расположена маркировочная машина после вырезки дефектов. Она служит для холодной маркировки заготовок в случае удаления маркировки во время вырезки дефектов.

Далее годные заготовки отправляются на участок формирования пакетов. Вся полученная готовая продукция пакуется в пакеты различных размеров и физической формы в зависимости от габаритных размеров отлитых заготовок.

1.2 Кристаллизатор. Цикл Юнганса


Кристаллизатор является главной деталью МНЛЗ, в нём начинается формирование литой заготовки. Назначением кристаллизатора является обеспечение выхода слитка с достаточно толстой наружной корочкой (сердцевина слитка остаётся жидкой), способной сохранить заданный профиль поперечного сечения, предотвратить прорывы металла ниже кристаллизатора. К основным требованиям в конструкции кристаллизаторов относятся :

) обеспечение интенсивного теплообмена между жидким металлом и охлаждающей водой;

) жёсткость конструкции для сохранения профиля литой заготовки;

) чистота и точность обработки внутренней рабочей поверхности.

В горизонтальном сечении внутренняя полость кристаллизатора соответствует профилю и размерам отливаемой заготовки. Используются прямоугольные, квадратные, круглые и многоручьевые кристаллизаторы.

Стенки кристаллизатора имеют большое число вертикальных каналов для водяного охлаждения. Каждый канал соединён вверху с выпускным, внизу с впускным коллектором. Внутренняя часть стенки, обращённая к жидкому металлу, должна иметь высокую теплопроводность; здесь всегда используют чистую медь марок М-1, М-2, М-3 (99,9-99,5 % Cu), иногда медь легируют серебром. Для повышения стойкости к истиранию рабочую поверхность меди иногда подвергают специальной обработке (например, хромированию).

Высота кристаллизатора в целом пропорциональна его поперечному сечению. Для крупных слитков она составляет 800 - 1200 мм.

Хороший теплоотвод через стенки достигается при больших скоростях движения воды по каналам (5 - 10 м/с), поэтому для кристаллизаторов МНЛЗ характерны значительные расходы охлаждающей воды (300 - 600 м³/ч) и высокие требования к её чистоте от механических примесей.

На МНЛЗ ранних конструкций кристаллизаторы устанавливали стационарно. Опыт их эксплуатации показал, что разливка сопровождается частыми «зависаниями» слитка в кристаллизаторе. Для снятия этого отрицательного явления корочка слитка должна быть некоторое время неподвижной относительно стенки, т. е. кристаллизатор должен периодически двигаться вниз вместе со слитком.

Первый режим возвратно-поступательного движения (цикл Юнганса) предусматривал качания кристаллизатора с амплитудой 30 - 40 мм вниз со скоростью слитка, вверх - в три раза быстрее. Позже были разработаны более эффективные циклы «с опережением», по которым кристаллизатор движется вниз со скоростью, большей, чем слиток, вверх - в два - четыре раза быстрее. При движении вниз с опережением корочка как бы уплотняется, «залечиваются» её дефекты.

В нашей стране предложен и внедрён синусоидальный цикл изменения скоростей движения кристаллизатора. На определённом отрезке времени кристаллизатор опережает слиток, т. е. в цикле есть период уплотнения корочки слитка.

1.3 Конструкция приводов качания кристаллизатора


Наибольшее распространение получил эксцентриковый привод качания кристаллизатора, где скорость перемещения изменяется по гармоническому закону.

Для качания криволинейного кристаллизатора обычно используют эксцентриковый механизм, который приближенно воспроизводит круговую траекторию на участке движения с радиусом кривизны. На современных МНЛЗ чаще применяют безредукторный электропривод. Благодаря уменьшению люфтов в кинематической цепи снижаются ударные моменты в механизме при знакопеременной нагрузке. Недостатками такого привода являются большие размеры и масса тихоходного двигателя и увеличение колебаний его частоты вращения.

Обычно применение находят тихоходные двигатели постоянного тока серий ПС, ДС и МПС в продуваемом исполнении, мощностью от 45 до 132 кВт с номинальной частотой вращения от 50 до 160 оборотов в минуту.

Так, на безредукторном приводе качания кристаллизатора криволинейной слябовой МНЛЗ НЛМК установлен двигатель типа МПС-45-50 (45 кВт, 50/100 об/мин). Электропривод развивает момент, достаточный для подъема кристаллизатора массой 23 тонны и преодоления расчетного усилия трения ("залипания") слитка 230 кН. Диапазон регулирования частоты вращения двигателя 20:1 от 100 до 5 оборотов в минуту, что соответствует диапазону изменения частоты качания кристаллизатора от 1,67 до 0,083 Гц. Амплитуда качания в пределах 2,5-12,5 мм изменением эксцентриситета.

Рама, на которой установлен кристаллизатор, перемещается вверх и вниз под действием эксцентриков, расположенных во вкладышах и связанных с выходным валом редуктора. Иногда используют маховик, служащий для уменьшения пиковых значений момента нагрузки на валу двигателя, уменьшения пульсаций скорости и экономии электроэнергии. Особенно эффективен маховик на безредукторных приводах кристаллизаторов.

Установленные мощности двигателей редукторных приводов качания кристаллизатора составляют 32-46 кВт для слябовых МНЛЗ и 5-10 кВт для сортовых машин. Применяют, как правило, двигатели постоянного тока серии Д.

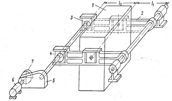
На МНЛЗ ЗСМК применен механизм качания кристаллизатора с червячным эксцентриковым редуктором. Вращательное движение двигателя преобразуется эксцентриковым редуктором в колебательное движение, которое через кронштейн передается на кристаллизатор. Кронштейн подвешен на пневматической пружине, которая амортизирует перемещения кристаллизатора. Для придания механизму необходимой жесткости кронштейн через систему рычагов соединен со станиной механизма. Кинематическая схема приведена на рис.1.

Рисунок 1 - Кинематическая схема электропривода качания кристаллизатора

1.4 Технологические требования к электроприводу качания кристаллизатора


Как показали исследования в России и за рубежом, производительность МНЛЗ, качество слитков, надежность работы механизмов и систем регулирования уровня жидкой стали, оптимизации процесса кристаллизации слитка, а также сокращения потерь металла при резке в значительной степени определяются совершенством, точностью и надежностью систем автоматизированного электропривода. Установлено, что колебания скорости двигателя кристаллизатора не должны превышать +/-2%, чтобы не было значительного отклонения от оптимального значения разности скоростей кристаллизатора и слитка в полупериоде опускания на интервале «опережения» кристаллизатором слитка и длительности этого интервала. При амплитуде колебаний скорости двигателя, равной 10%, отклонение в пути на интервале «опережения» составляет 21%, что недопустимо много.

Значительные колебания скорости двигателя кристаллизатора отрицательно сказывается на качестве слитка, сроке службы кристаллизатора и электрооборудования, устойчивости работы системы автоматического поддержания уровня жидкой стали в кристаллизаторе.

Агрегат качания является машиной, предназначенной для передачи колебательного движения кристаллизатору.

В данной установке движение качания образуется посредством эксцентриков, приводимых в движение электрическим двигателем, рычажной системой, передающей качания кристаллизатору.

Применение упругих подвесок (пневматические пружины) компенсирует действие качающихся масс и устраняет возможность образования поверхностных поперечных трещин или разрыва корки.

Привод работает в условиях повышенных температур при знакопеременной нагрузке. Непосредственная близость жидкой стали требует применения высокотемпературных кабелей и тщательной их теплоизоляции.

Конструктивные характеристики кристаллизатора.

. Габаритные размеры ........... 5600 Х 1350 Х 4500 мм

. Вес..........................................7200 кг

. Амплитуда качания...............от 0 до 16 мм

. Частота качаний............     ....от 25 до 250 кач./мин

Эксцентриковый редуктор приводится в движение от непосредственно соединенного с ним электродвигателя постоянного тока. Двигатель имеет каскадное соединение с электродвигателями приводов группы вытягивающих роликов, и поэтому с изменением скорости вытягивания заготовки изменяется также частота колебаний кристаллизатора.

2. СПЕЦИАЛЬНАЯ ЧАСТЬ


2.1 Выбор рода тока, величины напряжения и системы электропривода


На действующей МНЛЗ ОАО «ЗСМК» в качестве электропривода качания кристаллизатора используется система ТП-Д. Действительно, исходя из технологических требований к приводу качания кристаллизатора, становится очевидным, что эта система способна поддерживать заданную скорость с высокой степенью точности при синусоидально изменяющемся моменте на валу. Привод выполнен на двигателе постоянного тока типа 36l160M, управляемом современным быстродействующим тиристорным преобразователем Тру3-140l 4В. Из приведенного выше обзора всех мировых МНЛЗ видно, что никто в мировой практике не использовал для этих приводов никаких других систем. В самом деле, привод, реализованный по системе ТП-Д, является весьма быстродействующим, устойчивым к внешним возмущениям и обладающим большой точностью поддержания заданных параметров. Однако у такого привода имеется несколько существенных недостатков. Самый главный из них - высокая стоимость двигателя, частые поломки, а также большие затраты на его ремонт и, соответственно, большое время простоя. Это связанно с тем, что двигатель располагается в зоне вторичного охлаждения, и поэтому он подвергается экстремальному воздействию окружающей среды (высокая температура, влажность, загрязнённость воздуха).

Ещё несколько лет назад, ни о каких других системах для использования в приводе качания кристаллизатора не могло быть и речи. Все они проигрывали системе ТП-Д по главному параметру - точности поддержания параметров, главным из которых являлась скорость. Однако, за последние несколько лет ситуация сильно изменилась. Появились новые преобразователи частоты, удовлетворяющие всем необходимым требованиям электропривода качания кристаллизатора. В качестве двигателя разумнее всего использовать АД с КЗ ротором, так как это самый надёжный и неприхотливый двигатель, способный работать в экстремальных условиях без поломок долгое время (особенно типа IP54).

Принимая во внимание, что ожидаемая мощность двигателя получится сравнительно небольшой (в пределах 30 - 45Квт), а следовательно не накладывает существенных ограничений по току, представляется нецелесообразным превышать напряжение по отношению к стандартному напряжению питающей сети (380 В).

Функциональная схема электропривода приведена на рисунке 2.

Рисунок 3 - Структурная схема ЭП

2.2 Расчет и выбор элементов электропривода


Опыт эксплуатации ряда тиристорных приводов механизмов качания кристаллизаторов показал, что при знакопеременной нагрузке система раздельного управления группами тиристорного преобразователя КТЭУ первого поколения работает недостаточно четко, особенно при малых моментах нагрузки (работа на холостом ходу, наладочные операции при качании рамы без кристаллизатора) и использовании неадаптивного регулятора тока якоря. Слабым звеном является также датчик запирания мостов логического переключающего устройства, нечетко контролирующий малые знакопеременные нагрузки частотой 0,5 - 2,0 Гц.

В то же самое время частотно-регулируемые привода имели ряд серьёзных недостатков, ограничивающих их возможности и область применения. У них имелся небольшой диапазон регулирования, а точность регулирования оставляла желать лучшего. Однако на данный момент, за границей и в нашей стране, разработаны новые модели частотных преобразователей, удовлетворяющих самым жёстким требованиям.

Во время бестоковой паузы двигатель успевает изменить свою скорость. Неустойчивая работа двигателя иногда приводит к возникновению высокочастотных механических колебаний. В редукторных электроприводах эти явления менее выражены, чем в безредукторных, так как колебания приведенного момента инерции практически отсутствуют, а запас кинетической энергии в редукторных приводах больше в 2 - 3 раза.

Предлагается выбрать частотный преобразователь отечественного производства EL-7011 исходя из вышесказанного, а также наличия встроенного ПИД-регулятора. Наличие мощной системы самодиагностики позволяет выявлять неисправности за короткое время, а небольшие размеры позволят значительно уменьшить площадь машинного зала, что при наличии большого числа электроприводов, значительно скажется на стоимости.

Преобразователь EL-7011 3-х фазный реверсивный, статического типа, с методом управления, основанным на синусоидальной широтно-импульсной модуляции.

УВ - управляемый выпрямитель; И - инвертор; БУВ, БУИ - соответственно блок управления выпрямителем и инвертором; БЗС - блок задания скорости

Рисунок 4 - Структурная схема статического преобразователя частоты с промежуточным звеном постоянного тока

Допускается работа в четырех квадрантах с двумя направлениями момента и двумя направлениями вращения.

Параметры выбранного преобразователя:

Тип……………………….EL-7011-040H;

Полная мощность преобразователя………….40 кВА;

Номинальный выходной ток………………….70 А;

Максимальное выходное напряжение………..380÷460 В;

Номинальная выходная частота……………… до 400 Гц;

Номинальное входное напряжение и частот….380÷460 В, 50/60 Гц;

Допустимые колебания входного напряжени…….+10%, -15%;

Допустимые колебания частоты входного напряжени……±5%;

Диапазон управления по частоте…………….от 0,1 до 400 Гц;

Разрешающая способность по частоте……..0,1 Гц;

Точность частотных режимов…………….:± 0,01% для цифровой команды, ± 0,1% для аналоговой команды;

Время разгона/торможения……………… от 0,0 до 3600 с;

Защита двигателя от перегрузки…….. защищен с помощью электронного термического реле перегрузки;

Защита от токов утечек………………….. защищен электронной цепью (нарушение баланса выходных токов).

Схема подключения преобразователя представлена на рисунке 5.

Рисунок 5 - Схема подключения преобразователя EL-7011-040H

2.3 Выбор электродвигателя


Крутящий момент нагрузки на валу двигателя редукторного привода (Мс1):

При подъеме кристаллизатора:

Мс1 = Мп1 + Mв1*sinΩt , /1, стр. 42, ф.26/

где Мп1 - постоянная составляющая момента при ходе кристаллизатора вверх;

Mв1 - амплитуда синусоидальной составляющей;

Мп1 = Мред. + Мтр.э. + Мтр.п. /1, стр. 42/

Мред. - момент потерь в редукторе;

Мтр.э. - момент потерь в эксцентрике;

Мтр.п. - момент трения в подшипниках.

            ( Gкр + Fкр) * e * L1

Мв1 = ───────────── /1, стр. 43, ф.27/

                    ( L1 + L2) * i

где Gкр - вес кристаллизатора с учетом веса охлаждающей воды;

Fкр - сила трения слитка в криволинейном кристаллизаторе;

L1, L2 - расстояние от оси кристаллизатора до оси вращения рамы и оси эксцентрика;

е - эксцентриситет;

i - передаточное число редуктора.

кр = 0,5 * к1 * к2 * M * Y * P * R² * а /1, стр. 41, ф. 19/

Где:  М = 0,47...0,55 - коэффициент трения кристаллизующегося слитка о стенки кристаллизатора;= 70 кН/м³ - удельный вес жидкой стали;

Р - периметр кристаллизатора;

к1 - коэффициент учитывающий приработку кристаллизатора;

к2 - коэффициент учитывающий марку стали;

R - радиус кристаллизатора;

а - центральный угол.

При опускании кристаллизатора:

Мс2 = Мп2 ± Мв2*sinΩt /1, стр. 43, ф.30/

                ( Gкр - Fкр ) * L1 * e

где Мв2 = ───────────── /1, стр. 43, ф.31/

                       ( L1 + L2 ) * i

Постоянная составляющая Мп2 остается неизменной и определяется так же как и при подъеме кристаллизатора.

Максимальный момент на валу двигателя (для проверки по перегрузочной способности), Мmax:

= Mп1 + Ма1      /1, стр. 44, ф.34/

где Ма1 - максимальная амплитуда активного момента.

                       Мв1

Ма1 = ─────────── /1, стр. 43, ф.29/

               √ ( 1 + (Тм * Ω )²)

Предварительная проверка двигателя по нагреву производится по эквивалентному среднеквадратичному моменту в разомкнутой системе. При приближённых вычислениях можно считать Мп1 = Мп2 = Мп. В этом случае:

                         Ма1² + Ма2²    2 * Мп

Мэкв ≈ √{Мп²+ ─────── + ────*( Ма1 ± Ма2 )} /1, стр. 44, ф.36/

                                    4               π

В данной формуле знак (-) соответствует случаю, когда Gкр > Fкр, а знак (+) случаю Gкр < Fкр.

Вышеприведенные формулы хорошо отражают физическую суть процессов, изменяющих момент на валу двигателя, однако расчет двигателя по ним трудоемок и требует много технологических данных, взять которые негде.

В /5/ приведена эмпирическая формула, связывающая мощность двигателя привода качания кристаллизатора с максимальным моментом на валу двигателя, который возникает при движении кристаллизатора вверх. Принимая во внимание, что максимальная скорость движения кристаллизатора вверх равна трехкратной скорости разливки, получаем формулу для определения мощности двигателя:

                  Q*3V= 1,35* ________ * g

               60*n мех

Где: N - мощность двигателя;- общий вес кристаллизатора (Q=9000кг / 2 /);- максимальная скорость разливки (V=4м/мин / 2 /);мех - КПД механизма (n мех =0,88 / 2 /);

,35 - суммарный коэффициент трения / 2 /;=9,8 м/с² - ускорение свободного падения.

                9000*3*4= 1,35* _________ * 9,8 = 27106Вт = 27,1 кВт.

                 60*0,88

Из источника / 8 / выбираем двигатель, имеющий следующие данные:

Тип.........................................4АС200М4УЗ

Род тока.......................................переменный

Режим работы...........................................S1

Номинальное напряжение........................380 В

Номинальный ток......................................84 А

Ном. частота вращения.........................1415 об/мин

Динамический момент инерции ротора......0,37 кг*м²

Сопротивление обмотки якоря.......................0,034 Ом

Номинальная мощность...............................31,5 кВт

Номинальный момент вращения двигателя. 213 кН*м

КПД.........................................                  .......87,5 %

Статические характеристики асинхронного двигателя 4АС200М4УЗ, рассчитанные в соответствии с формулами /10, с. 77, формула 3.40/.


Рисунок 6 - Зависимость скорости двигателя от момента.

Рисунок 7 - Зависимость момента двигателя от скольжения

2.4 Датчик скорости


Датчиком скорости выбираю тахогенератор с постоянными магнитами типа BD 2510 B/2 производства компании " GEC Small Machines

Limited " филиала " General Electric Company, p.l.c.".

Технические характеристики:

Реверсивный

Коэф. передачи.........................0.03 В / об/мин

Диапазон измерения.................0 - 2500 об/мин

Изоляция....................................класс В

Температурный диапазон................... -40 +65 С°

Класс защищенности...................IP 44

Момент инерции..........................0,000021 кг*м¤

Данный тахогенератор является униполярным, что позволяет дифференцировать его напряжение, так как у него отсутствуют паразитные пульсации. А такая операция может понадобиться для выделения динамической составляющей тока якоря.

2.5 Выбор аппаратуры защит электропривода


. Вводной автомат F6Q1.

Вся схема управления электроприводом конструктивно выполнена в одном шкафу и питается от одной, общей для всех ручьев трансформаторной подстанции. На каждом ручье установлен шкаф ввода, питающий через вводной автомат сборные шины трехфазного силового напряжения 380 В, общие для всех приводов данного ручья, и через трансформатор 380/220 В шины однофазного напряжения управления 220 В, общие для всех приводов данного ручья.

Вводной силовой автомат привода качания кристаллизатора должен питать:

). Преобразователь EL-7011-040H с номинальным током 70 А;

). АД 4АС2004УЗ с номинальным током 84 А;

). Собственные нужды преобразователя EL-7011-040H с током 0,25А.

Получаем общий ток питания силовой части привода= 80+84+0,25=154,25 A.

В качестве автомата F6Q1 выбираем трехполюсный автоматический выключатель 3VB7460-OEVOO 100-160 A фирмы SIEMENS / 9 /.

. Защита статора двигателя.

Поскольку двигатель защищен преобразователем по току (токоограничение, стоянка под током), а сам преобразователь имеет электронную защиту от собственных неисправностей, то статорную цепь достаточно защитить плавкими быстродействующими предохранителями F7, F8.

Исходя из соображений, что двигатель допускает двукратную перегрузку, получим ток срабатывания предохранителей:

I=2Iн.дв=2*84=178 A

Учитывая, что ток преобразователя в нормальной работе не должен превышать номинальный ток двигателя, выбираем предохранители VDE 0636/23 160 A, что ниже расчетного. / 9 /.

. Защита частотного преобразователя.

Для защиты частотного преобразователя от перегрузки по току, выбираю три быстродействующих предохранителя с током срабатывания несколько выше номинального тока преобразователя, а именно: предохранители VDE 0636/22 125 A. / 9 /

. Защита собственных нужд преобразователя.

Согласно техническим данным на преобразователь EL-7011-040H ток потребления собственных нужд преобразователя не превышает 0,2 А. Исходя из этого, выбираю трехполюсный автоматический выключатель 3VE 1010-2D фирмы SIEMENS с током 0,16-0,25 А. / 9 /.

2.6 Возможные перспективы развития электропривода механизма


Представленный в настоящей работе привод достаточно полно соответствует всем предъявляемым к нему технологическим требованиям, с достаточной точностью поддерживает заданную скорость во всем диапазоне изменения нагрузки. Преобразователь имеет малые габариты, относительно прост в эксплуатации.

Однако, все системы автоматического регулирования, импульсно-фазового управления и логического управления инверторами построены на принципах аналогово преобразования сигналов. Это делает достаточно трудоемким процесс наладки привода, ограничивает его быстродействие и снижает надежность.

В настоящее время создаются системы управления преобразователями основанные на базе цифровых методов обработки сигналов. Основой для создания таких систем служат микропроцессоры, связанные с постоянно запоминающими устройствами и оперативной памятью.

В такие привода очень легко программно заложить все требуемые параметры, которые с очень высокой степенью точности привод будет отслеживать. Таким образом, процесс наладки привода сводится только лишь к введению в программу соответствующих параметров, что существенно упрощает эту работу.

Однако цифровая техника требует дискретизации аналоговых величин, что неизбежно приводит к потере информации на шаге дискретизации, а значит сильно уменьшает точность регулирования. В настоящее время для преодоления этой трудности ведутся работы параллельно по двум направлениям:

. Увеличение тактовой частоты процессора;

. Введение корректирующих звеньев в систему регулирования.

В настоящее время Запорожским заводом "Преобразователь" созданы КТЭ 3 поколения, в которых удачно сочетаются оба направления решения проблемы потери информации. Эти агрегаты позволяют подключить цифровую САР к аналоговому СИФУ другого преобразователя и наоборот аналоговую САР другого преобразователя к своему цифровому СИФУ.

Признанным мировым лидером в создании цифровой преобразовательной техники в настоящее время является фирма "Allen Brandly" США, которая создает очень быстродействующие, максимально надежные, малогабаритные преобразователи.

В отечественной промышленности представляют интерес опыты создания цифровых приводов в г. Новосибирске. К сожалению пока там выпускают не универсальные привода, а единичные экземпляры, жестко привязанные к конкретным механизмам. Это значительно повышает их и без того высокую цену.

Высокая стоимость цифровых приводов является в настоящее время главным тормозом для их широкого распространения. Однако, с усовершенствованием технологии и развитием микропроцессорной техники затраты на установку цифровых преобразователей будут более доступны.

3. ЭКОНОМИЧЕСКАЯ ЧАСТЬ


3.1 Расчёт капитальных вложений


Капитальные вложения на замену двигателя постоянного тока с независимым возбуждением, управляемого тиристорным преобразователем, на асинхронный двигатель с короткозамкнутым ротором, управляемый преобразователем частоты, электропривода качания кристаллизатора МНЛЗ ОАО «ЗСМК», включают затраты на основные фонды и оборотные средства. Капитальные вложения в основные фонды включают стоимость оборудования, затраты на установку, монтаж, наладку и пробный пуск оборудования и аппаратуры, затраты на транспортировку оборудования от завода поставщика до места установки.

При расчётах применяем следующие средние значения вычислений по видам дополнительных затрат (в % к стоимости оборудования) согласно /11/:

транспортировка 5%;

заготовительно-складские расходы 1,5%;

установка и монтаж 12%;

пуск и регулировка 3%;

Результаты расчёта капитальных затрат на систему ТП-Д и на ЧП-АД с КЗ электропривода качания кристаллизатора МНЛЗ ОАО «ЗСМК» приведены в табл. 1 и табл. 2 соответственно.

Таблица 1 - Капитальные вложения на систему ТП-Д.

Наименование электрооборудования

Количество, шт.

Цена 1 шт., руб.

Дополнит. затраты, руб.

Итого, руб.

 

Двигатель пост. тока типа 36l160M, Рн = 30 кВт Трёхфазный тиристорный преобразователь Тру3-140l 4В.

1   1

137000   90000

29500   19500

166500   109500

 

Всего

276000

Таблица 2 - Капитальные вложения на систему ЧП-АД с КЗ.

Наименование электрооборудования

Количество, шт.

Цена 1 шт., руб.

Дополнит. затраты, руб.

Итого, руб.

 

Асинхр. двигатель переменного тока типа Рн= =35кВт. Трёхфазный частотный преобразователь модели 13361IMPACT.

1    1

40000    87000

8600    18700

48600    105700

 

Всего

154300


3.2 Расчёт эксплуатационных затрат


Эксплуатационные затраты (С) определяются по следующей формуле:

С = Са + Сро + Сэ + Скр    /11, с. 5/

где: Са - ежегодные амортизационные отчисления, руб.;

Сро - годовые расходы на обслуживание и текущий ремонт электрооборудования, руб.;

Сэ - стоимость годовых потерь активной электроэнергии, руб.;

Скр - годовые расходы на капитальный ремонт, руб.

Ежегодные амортизационные отчисления равны:

Са = Нпв*К/100 /11, с.6/

Где: Нпв - норма амортизационных отчислений на полное восстановление, % /11, с. 27/, табл. 1.

К - капитальные вложения, руб.

Годовые расходы на обслуживание и текущий ремонт электрооборудования включают зарплату ремонтного и обслуживающего персонала и затраты на материалы, необходимые для ремонта и обслуживания электрооборудования.

Данные затраты определяются по формуле:

Сро = а*Рн /11, с. 6/.

где: Рн - номинальная мощность отдельных элементов электропривода, кВт;

а, в - коэффициенты, доли ед. /11, с. 28, табл.2/.

Стоимость годовых потерь активной электроэнергии определяется по формуле:

Сэ = ΔР*tг*Суэ    /11, с. 8/.

где: ΔР - среднегодовые потери активной мощности, кВт.;

tг-действительный годовой фонд времени электрооборудования, час;

Суэ - стоимость одного кВт. Электроэнергии, руб/кВт.

ΔР = Рн*(1 - η)*Кз/η

где: Рн - мощность электрооборудования, кВт;

η - КПД системы;

Кз - коэффициент загрузки по мощности, доли ед.

Расходы на капитальный ремонт определяются по формуле:

Скр = Нкм*К/100 /11, с. 8/.

где: Нкм - норма амортизационных отчислений на кап. ремонт и модернизацию из /10, с. 27/, табл. 1.

Результаты расчетов эксплуатационных затрат на систему ТП-Д и систему ЧП-АД с КЗ сводим в табл. 3 и табл. 4 соответственно.

Таблица 3 - Эксплуатационные затраты на систему ТП-Д.

Наименование электрооборудования

К, т.руб

Нпв, %

Нкм, %

Са, руб.

Сро, руб.

tг, час

Суэ, руб.

Скр, руб.

Сэ, руб.

С, руб.

ДПТ с НВ 36l160M, Рн= = 30 кВт. Трёхфазный ТП Тру3-140l 4В.

166,5    109,4

9,5    13

3,1    2,5

15820    14220

74000    12810

8300    8300

0,5    0,5

5160    2740

5830    900

100810    30,67


Таблица 4 - Эксплуатационные затраты на систему ЧП-АД с КЗ.

Наименование электрооборудования

К, т.руб

Нпв, %

Нкм, %

Са, руб.

Сро, руб.

tг, час

Суэ, руб.

Скр, руб.

Сэ, руб.

С, руб.

АД с КЗ, Рн=35 кВт. Трёхфазный ЧП, Рн=35 кВт.

48,6   105,7

9,5   13

3,1   2,5

4620   13700

35620   14390

8300   8300

0,5   0,5

5160   2740

6300   1060

48040   30,67


3.3 Расчёт экономического эффекта


Приведённые затраты определяются:

З = С + Ен*К /11, с. 4/.

где Ен - нормативный коэффициент эффективности, 1/год. Ен = 0,15

З1 = 131,48 + 0,15*276 = 172,88 тыс. руб;

З2 = 79,84 + 0,15*154,3 = 102,99 ≈ 103 тыс. руб.

Годовой экономический эффект:

Эг = З1 - З2 /11, с. 11/.

Эг = 172,88 - 103 = 69,88 тыс. руб.

Определим срок окупаемости дополнительных капиталовложений по формуле:

Тф = (К2 - К1)/(С1 - С2) /11, с. 11/.

Тф = (154,3 - 276)/(131,48 - 79,84) = 2,36 года.

Определяем коэффициент сравнительной экономической эффективности

Еф = (С1 - С2)/ (К2 - К1) /11, с. 11/.

Еф = (131,48 - 79,84)/ (154,3 - 276) = 0,42 доли ед.

Чистый дисконтированный доход (ЧДД) определим по формуле:

Т

ЧДД=∑(Rt - Зt)/(1 - е)^t - К

t=1

ЧДД=∑69,88/(1 - 0,13)^1 - 154,3=247,3 тыс. руб.

t=1

Где (Rt - Зt) - годовой экономический эффект (t=1 год);

Т - срок жизни проекта;

К - первоначальные капитальные вложения.

Индекс рентабельности проекта:

Т

Jрент=(∑(Rt - Зt)/(1 - е)^t)/К

t=1

5

Jрент=(∑69,88/(1 - 0,13)^1)/154,3=2,61

t=1

Срок окупаемости проекта:

Ток=К/Эг

Ток=154,3/69,88=2,2 года

Внутренняя норма рентабельности:

евн= е^[0+0] - ЧДД^[0+0]*(е^[-0]-е^[0+0])/(ЧДД[0+0] + |ЧДД^[-0]|)

где е^[-0] - ставка дисконтирования, при которой ЧДД=0 (ЧДД^[-0])

ЧДД^[-0]=∑69,88/(1 + 2,018) - 154,3= -131,1 тыс. руб.

t=1

откуда:

евн=0,13 + 247,3*(2,018 - 0,13)/(247,3 + |-131,1|)=1,48

Учитывая, что ЧДД=247,3 тыс. руб., индекс рентабельности Jрент=2,61 (что больше 1), внутренняя норма рентабельности евн=1,48, следовательно, уровень риска проекта минимален и срок окупаемости проекта Ток=2,2 года. Сравнивая Тф и Еф с нормативными Тн = 3 и Ен = 0,2 видим, что Еф > Ен и Тф < Тн, следовательно, замена электропривода качания кристаллизатора МНЛЗ ОАО «ЗСМК» системы ТП-Д на систему ЧП-АД с КЗ экономически эффективна и целесообразна.

4. ОХРАНА ТРУДА


4.1 Климатическая характеристика района


Город Новокузнецк расположен в южной части Кемеровской области на площадке, образованной поймами рек Кондомы и Томи, и окружен отлогами Кузнецкого Алатау и Салаирского кряжа. Перепад высот в пределах города составляет 250 м.

Западно-Сибирский металлургический комбинат находится на северо-восточной окраине города Новокузнецка. Промышленная площадка ОАО «ЗСМК» площадью 280 га с террасным расположением цехов находится на правом берегу реки Томь.

Расположение ККЦ-2 на ОАО «ЗСМК» юго-восточное, потому как господствующими ветрами являются: юго-западный и юго-восточный. Вследствие этого, выделяемые сталеплавильным производством вещества выбрасываются в направлении посёлков «Большевик» и «Чистогорск».

Продольная ось цеха расположена под углом 50° к направлению господствующих ветров. При этом обеспечивается наилучшая аэрация территории цеха и предотвращается занос пыли и газов на другие подразделения комбината.

Климат района континентальный, с продолжительной морозной зимой и коротким, но жарким летом. Самым холодным месяцем в году является январь (-17,8˚С), самым тёплым - июль (18,5˚С).

Ветровой режим города обусловлен с одной стороны общими циркуляционными особенностями района (преобладание юго-западного переноса), с другой стороны - особенностями рельефа.

Роза ветров таким образом, вытянута а направлении юго-запад-северо-восток. Повторяемость указанных направлений приведена в таблице №5.

Таблица 5 - Ветровой режим предприятия

Месяц                 Направл.

Повторяемость ветра и штиля, %


С

СВ

В

ЮВ

Ю

ЮЗ

З

СЗ

Январь Февраль

10 24

34 20

7 5

1 4

11 13

30 15

3 8

4 11


Рисунок 8 - Роза ветров.

Котловинная форма рельефа способствует большой повторяемости штилевых ситуаций, особенно зимой, и слабых скоростей ветра летом. Это, в сочетании с частым инверсионным состоянием атмосферы, создаёт высокий потенциал загрязнения воздуха города вредными примесями.

Санитарно-защитная зона - это территория между производственными помещениями, складами или установками и жилыми, лечебно-профилактическими стационарного типа и культурно бытового назначения зданиями жилого района. Для ОАО «ЗСМК» санитарно-защитная зона с учётом всех источников выбросов вредных веществ составляет не менее тысячи метров, что соответствует требованиям СанПиН 2.2.1./984-00 для предприятий Ι класса.

Доставка рабочих и служащих в отделение МНЛЗ осуществляется автотранспортом комбината, так же возможно по пешеходной дорожке, идущей от проходной до цеха.

Схема безопасных подходов к отделению МНЛЗ ККЦ-2 представлена на рисунке 9.

Рисунок 9 - Схема безопасных подходов к отделению МНЛЗ ККЦ-2.

4.2 Анализ условий труда


Сталеплавильное производство по характеру работы относится к числу производств, связанных с большими нагрузками на оборудование, постоянными передвижениями тепловозов с миксерами, изложницами, вагонами с готовой продукцией и оборудованием, тепловыми напряжениями на корпусах конвертеров и большой активностью кранов.

К вредным производственным факторам в сталеплавильном производстве относятся: шум, вибрация, электромагнитное излучение, загазованность.

Таблица 6 - Опасные производственные факторы

Источник фактора

Уровень фактора

Меры по предотвращению

Вид травмы

1 2   3

Горящий газ Брызги расплавленного металла  Промышленные сети электрического тока

~1200 0С ~1500 0С   220 В 380 В

Термоизоляция конструкции печей Защитная суконная одежда, очки, ватчики, сапоги, каска с подкасником Следить за наличием заземления и креплением заземляющих устройств на оборудовании

Ожог Ожог   Электроудар

4  5   6 1

Вращающиеся механизмы Повышение температуры оборудования Автомобильный и железнодорожный транспорт

_  70÷150 0С   _

Устройство защитных кожухов  Защитная одежда, экранирование   Сигнализация, дорожные знаки

Механические повреждения Ожог   Механические повреждения


В термических цехах располагается большое число источников, выделяющих вредные вещества в воздух помещений. Для удаления этих веществ от источников, используют местную вентиляцию. Она включает: приёмник для улавливания веществ, воздухопровод и вентилятор. Различают местную вытяжную вентиляцию и приточную. Разновидностями вытяжной вентиляции являются: защитные кожухи, зонты, вытяжные шкафы, кабины. К приточной вентиляции относятся: воздушные души, воздушные оазисы, завесы.

В отделении МНЛЗ предусмотрена общеобменная приточно-вытяжная вентиляция. Для ассимиляции пылевыделений используется аэрация. Для притока воздуха открыты фонари и вырубки; на крыше в летнее время открыты проёмы, оборудованные жалюзными решётками. В случае разрушения газопровода в летнее время аэрация и вентиляция обеспечивает достаточный приток воздуха на участок разливки.

Таблица 7 - Уровень шума и освещённости на рабочих местах ККЦ-2.

Рабочее место

Уровень звука, ДБА

Освещённость, лк


Факт

ПДУ ГОСТ12.1.003-88

Факт

СН

Машинист крана

79

80

45

200

Водопроводчик

84

80

27

50

Эл. монтёр по ремонту кранов

77

80

79

200

Слесарь по ремонту кранов

77

80

30

200

Слесарь по ремонту трансп. ленты

89

80

25

75

Эл. газосварщик

79

80

60

200


Как видно из таблицы 7, уровень шума почти на всех рабочих местах не превышает предельно-допустимого уровня (ПДУ). Однако на всех рабочих местах освещённость ниже необходимого. В основном это сказывается на недостаточной очистке остеклений в цехе, а также в нерациональном размещении световых точек с соответствующей осветительной аппаратурой.

Таблица 8 - Уровень вибрации в цехе

Источник

Фактич. уровень вибрации

ПДУ ГОСТ 12.1.012-90

1 2 3 4

Разливной кран Конвертор Тепловоз Рольганги

117 98 93 98

92 92 92 92

Устранение вредного воздействия вибрации достигается путём снижения вибрации в источнике, отстройки от режима резонанса, вибродемпфирования, динамического гашения вибрации, виброизоляции, использование виброгасящих оснований.

Таблица 9 - Уровень теплового излучения

Источник излучения

Факт, Вт/см²

Норма, Вт/см²

1 2

Конвертор Зона вторичного охлаждения

670 430

140 140


В ККЦ-2 для защиты рабочих от воздействия теплового излучения используются следующие меры:

) Рабочим, находящимся вблизи источника теплового излучения, выдаётся специальная одежда и тёмные защитные очки;

) Соблюдение питьевого режима (выдача чая на рабочем месте);

) Чередование труда и отдыха.

Таблица 10 - Уровень вредных примесей в цехе

Место

Наименование фактора

Концентрация, мг/м³




Фактическая

Допустимая

1

Отделение перелива чугуна

пыль сернистый ангидрид окись углерода

 5,4 8,5

 6,0 10,0

2

Отделение подачи сыпучих материалов

пыль

14,7

6,0

3

Разливочное отделение

пыль сернистый ангидрид окись углерода

7,5 12,6

6,0 10,0

4

Кабина разливочного крана

пыль сернистый ангидрид окись углерода

4,7 11,8

6,0 10,0

5

Шлаковый пролёт

пыль

8,7

6,0


Обеспечение чистоты воздушной среды в рабочем помещении является одним из наиболее необходимых условий здорового и высокопроизводительного труда. Поддержание нормальной температуры и влажности в ККЦ-2 так же является необходимым условием для нормальной работы электромонтёров.

Исследование микроклимата показало следующие данные, приведённые в таблице 11.

Таблица 11 - Температура и относительная влажность воздуха ГОСТ 121005-88 (январь 2003)

Профессия

Температура, оС

Влажность воздуха, %

Скорость воздуха, м/с


Факт

Допустимая

Факт

Допустимая

Факт

Допустимая

Машинист крана Сталевар Электрик Каменщик Контролёр ОТК

15 -16 -20 -5 -12

17-23 17-23 17-23 17-23 17-23

40 38 41 35 45

15-75 15-75 15-75 15-75 15-75

0,17 0,23 0,27 0,18 0,18

<0,3 <0,3 <0,3 <0,3 <0,3


Как видно из таблицы 11, влажность воздуха на всех рабочих местах соответствует ГОСТу. Однако температура воздуха на рабочих местах в зимнее время недостаточна для комфортной работы. Это проявляется прежде всего в быстром замерзании рабочего персонала. Во избежание обморожений и простудных заболеваний, выдаётся тёплая одежда и валенки, а так же предоставляется возможность обогрева в тёплом помещении.

4.3 Расчёт защитного заземления электропривода механизма качания кристаллизатора МНЛЗ ОАО «ЗСМК»


Рассчитаем защитное заземление для электрооборудования механизма качания кристаллизатора МНЛЗ ОАО «ЗСМК».

Отделение, содержащее механизм качания кристаллизатора, имеет железобетонный фундамент 20*60 м., который используется как естественный заземлитель. Искусственный заземлитель представляет собой систему расположенных по контуру вертикальных электродов из угловой стали с шириной полки 40 мм., длиной l=2,5 м., соединённых стальной полосой сечением 40*4 мм.

Порядок расчёта ведём согласно литературному источнику /12/.

Определяем расчётный ток замыкания на землю Iз, А и норму на сопротивление заземления Rз, Ом (по ПУЭ-2001) в зависимости от напряжения, режима нейтрали мощности и других данных электроустановки. По ПУЭ и ГОСТ 12.1.030-81. В электроустановках до 1000 В., при суммарной мощности источников N>1000 кВ*А., Rз≤4 Ом., Iз≤10 А.

Определим расчётное удельное сопротивление грунта ρ, Ом*м с учётом климатического коэффициента К, доли ед.

ρрасч = ρ*К /12, с. 144/

Приближённые значения ρ и К берём из [12], с. 145, табл. 10.1, 10.2

ρрасч = 300*1,6 = 480 Ом*м.

Рассчитываем сопротивление естественного заземления Rе, Ом.

Rе = 0,5*ρ/√S /12, с. 148, табл. 10.6/

где ρ - площадь фундамента, м².

Rе = 0,5*480/√1200 = 6,93 Ом.

Определим требуемое сопротивление искусственного заземления Rи, Ом.

Rи = Rе*Rз/Rе-Rз /12, с. 145/

Rи = 6,93*4/6,93-4 = 9,46 Ом.

Определяем фактическое сопротивление одного вертикального заземлителя Rст.од., Ом.

Rст.од.= (ρ/(2*π*l))*(ln(2*l/d)+(1/2)*ln((4*H+l)/(5*H-l))) /12, табл. 10.3/

Где d - эквивалентный диаметр стержней, м.

d=0,95*0,04=0,038 м.

Rст.од.=(480/(2*π*2,5))*(ln(2*2,5/0,038)+(1/2)*ln((4*1,75+2,5)/(5*1,752,5))) = 218,91 Ом.

Определяем число вертикальных заземлителей и расстояния между ними: по этим данным определяем коэффициент использования вертикальных стержней ηст., доли ед.

Периметр прямоугольника равен 160 м. Вертикальные стержни размещаются через каждые 4 м. - всего 40 стержней. По /12, с. 147/, табл. 10.4 ηст=0,42 доли ед.

Определяем сопротивление соединительных полос Rп., Ом, с учётом коэффициента использования полосы ηп., доли ед. по /12, с. 147, табл. 10.5/

Rп.= (ρ/(2*π*l))*ln(2*l²/(B*H)) /12, с. 146, табл. 10.3/

где В - ширина полосы, м.

Rп.= (480/(2*π*160))*ln(2*120²/(0,04*0,5))=6,66 Ом.

С учётом ηп.=0,25 доли ед.

Rп.=6,66/0,22=30,27 Ом.

Определяем сопротивление стержней (вертикальных заземлителей) Rст.,Ом.

Rст.= (Rп.*Rи)/ (Rп.-Rи) /12, с. 147/

Rст.= (30,27*9,46)/ (30,27-9,46)=13,76 Ом.

Уточняем число вертикальных заземлителей:

n=Rст.од./ (ηст*Rст.) /12, с. 147/

n=218,91/(0,42*13,76)=37,88≈40 шт.

Таблица 12 - Данные расчёта защитного заземления электрооборудования механизма качания кристаллизатора МНЛЗ ОАО «ЗСМК»

 

Данные расчёта

Значение

Грунт Тип заземлителя Длина заземлителя l, м. Соотношение а/l, доли ед.

 


Похожие работы на - Проектирование электропривода качания кристаллизатора МНЛЗ ОАО 'ЗСМК'

 

Не нашли материал для своей работы?
Поможем написать уникальную работу
Без плагиата!
Без нейросетей!