Разработка шлюза аппаратуры ВТК-12 для единой системы мониторинга и администрирования
АННОТАЦИЯ
Темой дипломного проекта являлась разработка шлюза аппаратуры ВТК-12 и
выполнялась в рамках работ, проводимых в ИТЦ СТ ОАО "МОРИОН" по
созданию единой системы мониторинга и администрирования.
В главе 1 рассмотрены основные принципы построения систем мониторинга и
администрирования коммуникационным оборудованием, описаны функции и архитектура
данных систем.
В главе 2 приведены технические характеристики и детально описан
интерфейс взаимодействия разрабатываемого программного продукта с системой управления
и мониторинга.
Описание аппаратуры ВТК-12 а также подробное описание последовательности
разработки информационной модели для данного вида аппаратуры приведены в главе
3.
В главе 4 приводится последовательность действий по созданию шлюза на
основе разработанной в предыдущей главе информационной модели.
Экономическое обоснование проекта приведено в главе 5. Произведены
расчёты затрат на разработку программного обеспечения, а также представлен
сетевой график на данный вид работ.
Вопросы безопасности жизнедеятельности описаны в главе 6. Рассмотрены
вредные факторы, воздействующие на оператора ЭВМ, их влияние на организм
человека. Произведен расчет системы искусственного освещения.
СОДЕРЖАНИЕ
ВВЕДЕНИЕ
. ЕДИНАЯ СИСТЕМА МОНИТОРИНГА И АДМИНИСТРИРОВАНИЯ (ЕСМА)
.1 Цель создания и назначение ЕСМА
.2 Основные принципы построения ЕСМА
.3 Архитектура ЕСМА
.3.1 Общая архитектура системы управления и мониторинга
.3.2 Информационная модель ЕСМА
.3.3 Агент-шлюз
.3.4 Протокол взаимодействия
.3.5 Структура СУМ
.3.6 Структура АСУМ-Пр
. ТЕХНИЧЕСКОЕ ЗАДАНИЕ НА ПРОГРАММНЫЙ МОДУЛЬ ШЛЮЗА АППАРАТУРЫ
ВТК-12
.1 Назначение
.2 Реализация
.3 Функции работы со шлюзом
.4 Требования к составу и параметрам технических средств
. РАЗРАБОТКА ИНФОРМАЦИОННОЙ МОДЕЛИ ВТК-12
.1 Аппаратура цифровой системы передачи данных ВТК-12
.1.1 Назначение аппаратуры
.1.2 Технические характеристики
.1.3 Состав аппаратуры ВТК-12
.1.4 Устройство аппаратуры ВТК-12
.1.5 Описание и работа составных частей изделия
.1.5.1 Описание и работа блока ВТК-12
.1.5.2 Описание и работа платы ВК-16
.1.5.3 Описание и работа платы ОК-14
.1.5.4 Описание и работа платы ВД-14
.3 Определение классов для информационной модели
.3.1 Классы объектов и наследование
.3.2 Принципы включения и наследования
.3.3 Выбор структуры объектов (классов)
.3.3.1 Сетевой элемент (Network Element)
.3.3.2 Платы канальных окончаний (Circuit Pack)
.3.3.3 Группы доступа (Access Group)
.3.3.4 Точки доступа в сеть (Trail Termination Point)
3.3.3.5 Link End
.3.3.6 Точка окончания соединения (Connection Termination Point)
3.4 Правила присвоения идентификаторов
. РАЗРАБОТКА ШЛЮЗА
.1 Принцип работы шлюза
.2 Структура файлов конфигурации
.2.1 Файл описания плат ОК/ВД (vtk.cfg)
.2.2 Файл коммутации (switch.cfg)
.3 Использование библиотек (DLL)
.4 Реализация интерфейсных функций
.4.1 Функция GateInit
.4.2 Функция GetNEData
.5 Создание тестирующего приложения
. ЭКОНОМИЧЕСКОЕ ОБОСНОВАНИЕ ДИПЛОМНОГО ПРОЕКТА
.1 Расчет затрат на создание программного продукта
.1.1 Расчет трудоемкости
.1.2 Определение себестоимости разработки
.2 Сетевое планирование
Выводы
. ОРГАНИЗАЦИЯ БЕЗОПАСНЫХ УСЛОВИЙ ТРУДА ОПЕРАТОРА ЭВМ
.1 Анализ условий труда оператора ЭВМ
.2 Оборудование рабочего места оператора ЭВМ
.3 Меры борьбы с вредными воздействиями
.3.1 Санитарные нормы и стандарты безопасности
.3.2 Средства защиты пользователей от ЭМП
.3.3 Требование к видеодисплейным терминалам и ПЭВМ
.3.4 Требования к помещениям с ЭВМ
.3.5 Требования к микроклимату помещений эксплуатации
мониторов и ПЭВМ
.3.6 Требования к шуму
.3.7 Требования к освещению помещений и рабочих мест с
мониторами и ПЭВМ
.4 Расчет системы искусственного освещения
.4.1 Описание помещения, в котором располагается рабочее
место
.4.2 Расчет освещения рабочего места
Выводы
ЗАКЛЮЧЕНИЕ
СПИСОК ЛИТЕРАТУРЫ
ПРИЛОЖЕНИЯ
ВВЕДЕНИЕ
Современное состояние управления и мониторинга технологического сегмента
сети связи МПС характеризуются наличием большой номенклатуры разнородного
оборудования разных производителей, которое управляется по оригинальным
протоколам оригинальными системами управления, разработанными в большинстве
случаев не по стандартам, и отдельно для каждого типа оборудования, что привело
к отсутствию единого центра управления и мониторинга с единой базой данных.
Это, несомненно, сказывается на эффективности функционирования и эксплуатации
информационной сети МПС.
Для решения этой задачи в первую очередь необходимо разработать единую
систему мониторинга и администрирования мультивендорного оборудования,
услугами, ресурсами и т.д.
1. ЕДИНАЯ
СИСТЕМА МОНИТОРИНГА И АДМИНИСТРИРОВАНИЯ (ЕСМА)
.1 Цель
создания и назначение ЕСМА
ЕСМА предназначена для обеспечения надежного функционирования всех сетей
связи, входящих в состав технологического сегмента, рационального использования
и развития связных ресурсов в целях наилучшего удовлетворения нужд Федерального
железнодорожного транспорта в услугах связи. При этом должно обеспечиваться
скоординированное экономически эффективное управление и обслуживание сетей
связи, находящихся в ведении различных железных дорог России, в повседневных
условиях и централизованное управление всеми связными ресурсами Федерального
железнодорожного транспорта в интересах МПС России в чрезвычайных ситуациях.
Функции ЕСМА
ЕСМА должна обеспечивать:
· централизацию контроля и управления всеми видами сетей связи,
с автономными системами управления телекоммуникационным многопротокольным
оборудованием, производимых разными фирмами-производителями, с возможностью
децентрализации функций управления;
· интегрированный подход к решению задач управления сетями
связи разных уровней и разных производителей;
· единое представление сети независимо от типа управляемого
оборудования, в терминах, специфичных для каждого уровня управления.
· обеспечение высокого уровня автоматизации процессов
управления за счет применения новейших технологий обработки информации;
· возможность реконфигурации и наращивания функций управления
сетью связи;
· нужную степень масштабируемости для дальнейшего развития
системы;
1.2
Основные принципы построения ЕСМА
Функциональная полнота и экономичность. Систем должна обеспечивать
автоматизацию формализуемых информационных функций при задаваемых ограничениях
на трудоемкость и стоимость ее создания, эксплуатации, сопровождения и
развития.
Интеграция. Система должна быть интегрированной и использовать единые
функциональные спецификации и интерфейсы, общие информационные и
системно-технические ресурсы, единые средства управления и администрирования,
универсальные средства аналитической обработки данных, интегрированные средства
обеспечения информационной безопасности.
Обеспечение устойчивых интерфейсов. Отдельные компоненты системы
взаимодействуют между собой на основе предварительно согласованных интерфейсов,
изменение которых допускается лишь в исключительных случаях, после
соответствующей доработки взаимодействующих компонентов.
Ориентация на использование апробированных универсальных
программных систем ведущих фирм-производителей. В первую очередь это относится к
программным инструментам хранилищ данных и систем управления распределенными
объектами.
Открытость. ЕСМА должна обеспечивать архитектурную открытость системы,
простоту функционального расширения и модификации.
Масштабируемость. Необходимо обеспечить возможность существенного роста
потоков данных, количества рабочих мест и количества задач без изменения прикладного
программного обеспечения. Такое масштабирование системы должно обеспечиваться
средствами администрирования и настройки, а также за счет увеличения мощности
технических ресурсов системы.
Надежность и защищенность. Система должна быть надежной и защищенной,
обеспечивать бесперебойную работу, получение достоверных результатов и защиту
от несанкционированных действий.
Технологичность. В систему должны закладываться регламенты обработки и
прохождения заявок для оказания услуги, отслеживать выполнение заявок.
1.3
Архитектура ЕСМА
.3.1 Общая
архитектура системы управления и мониторинга
С точки зрения обмена управляющей информацией система управления и
мониторинга представляет собой распределённую систему, состоящую из множества
одинаковых взаимодействующих элементов, обменивающихся информацией (рис.1.1.).
Рис.
1.1. Обмен информацией в ИСУ
При разработке архитектуры ЕСМА для организации иерархии управления
используется модель взаимодействия агент-менеджер в соответствии с Рек. М.3010
(рис. 1.2.). В основе пирамиды управления адаптированные системы управления и
мониторинга производителя (АСУМ-Пр).
Рис.
1.2. Многоуровневая иерархия управления.
Предложенная архитектура позволяет реализовать:
1. Возможность создания многоуровневой, иерархической, распределённой
системы мониторинга и управления, состоящей из автономных систем и центров
управления.
2. Создание гибкой архитектуры на основе методологии открытых
систем, обеспечивающей возможность масштабируемости, реконфигурации и
наращивания функций управления сетью связи.
При построении ЕСМА используются базовые принципы концепции управления
телекоммуникационными сетями TMN (Рекомендация МСЭ М.3000).
Непосредственная реализация ЕСМА предполагает использование двухуровневой
иерархии управления. Первый уровень (уровень СУ-Пр) выполняет функции по
управлению элементами сети и функции управления сети. Реализация этих функций
обеспечивается СУ-Пр на отдельных участках сети, ограниченность и автономность
которых определяются установленными: оборудованием и СУ-Пр одного
производителя.
Второй уровень обеспечивает выполнение всех функций уровня управления
сетью и части функций уровня предоставления услуг. Управление сетью в целом
выполняется через адаптированные СУ-Пр (АСУ-Пр).
Для построения единой системы управления и мониторинга необходимо
обеспечить:
· использование общей информационной модели управляющей информации второго
уровня.
· взаимодействие между элементами системы (агентом и
менеджером), которое осуществляется по определенному протоколу (тип протокола
определяется на этапе разработки);
В составе ЕСМА можно выделить (по функциональному критерию) следующие
основные компоненты (рис. 1.3):
· система управления и мониторинга (СУМ) - элемент ЕСМА второго уровня,
выполняющий функции управления сетью и управления услугами;
· транспортная магистраль, обеспечивающая взаимодействие и
передачу информации между отдельными элементами системы;
· адаптированная система управления производителя - система управления
и мониторинга, лежащая в основе иерархии управления, протоколы и информационная
модель которой унифицированы с СУМ верхнего уровня иерархии;
· агент-шлюз - обеспечивает согласование информационной модели
ЕСМА с внутренним представлением информации в СУМ-Пр.
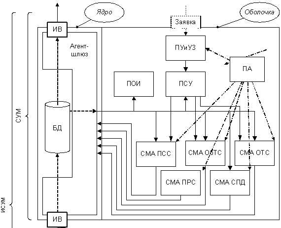
Рис. 1.3 Структура системы мониторинга и управления
.3.2
Информационная модель ЕСМА
Информационная модель представляет собой набор понятий, терминов,
объектов и правил, которая позволяет получить достаточно полное описание
какой-либо телекоммуникационной сети. Согласно концепции TMN, информационная модель является
основой для управления и мониторинга технического состояния ресурсов и
компонентов сети. Информационная модель строится в соответствии с архитектурой
сети соответствующего уровня.
Формой представления информационная модели является структурированная
база объектов - MIB (Management Information Base). Каждый из объектов MIB описывает определённый ресурс сети.
При разработке информационной модели необходимо использовать сетевую
модель (Рек. G.805), которая позволяет получить
абстрактное описание сети при помощи нескольких архитектурных компонентов.
Компонентом модели может быть функция обработки информации или отношения между
другими компонентами. Компонентами являются базовые для всех сетей понятия,
такие как сеть (подсеть), звено (связь), соединение, маршрут, точки доступа
(соединения), функции транспортной обработки. Основными принципами создания
сетевой модели являются разбиение на уровни и разбиение на части.
Изначально любая сеть может быть представлена как набор оборудования,
соединенного физическими связями. Это является «физическим» представлением сети
в информационной модели (рис. 1.4.).
Для перехода к «логическому» представлению всё оборудование объединяется
по принципу принадлежности к некоторой СУ-Пр. В результате, на «логическом»
представлении получается набор подсетей со входами и выходами, соединенных
постоянными связями (см. рис. 1.5.). Каждая подсеть соответствует одной СУ-Пр.
На эту «статическую» картину сети накладывается список проложенных маршрутов,
соединений, функций преобразования сигналов/потоков (так называемые функции
адаптации) и т.д. (см. рис. 1.6.), описывающих текущее состояние сети.
В соответствии с Рек. Х.720 информационная модель управления реализуется
с использованием объектно-ориентированного подхода. Каждый компонент
описывается в виде управляемых объектов. Управление сетью выполняется
созданием/удалением объекта, описывающего тот или иной сетевой компонент
(например, маршрут) или изменением свойств этого объекта (например, изменить
точку окончания маршрута). Связи между объектами позволяют описать реальную
структуру сети. Свойства объекта позволяют контролировать состояние реального компонента
сети.
Рис.
1.4. Физическое представление сети в информационной модели
Рис.
1.5. Выделение подсетей
Рис.
1.6. Логическое представление сети
Информация
управления СУМ-Пр, использующаяся для управления аппаратурой производителя
имеет высокую степень детализации и используется только на уровне СУМ-Пр. Так
как предусматривается объединение СУМ-Пр разных производителей, а каждый
производитель может использовать разные информационные модели управляющей
информации, то на уровне ЕСМА необходимо использовать объекты, описывающие
общие понятия, такие как сеть (подсеть), канал, маршрут, логическое соединение,
физическое соединение (звено), точка соединения и т.д., что позволит получить
независимость от объекта управления (конкретной СУМ-Пр, аппаратуры, технологии
передачи данных).
Согласование объектов уровня ЕСМА и информации уровня СУМ-Пр предлагается
выполнять при помощи механизма преобразования, выполняющегося агент-шлюзом и
разрабатываемого отдельно для каждого типа шлюза ЕСМА - СУМ-Пр.
Описанные в Рек. М.3100 объекты сетевой модели рассчитаны на
использование в общей сетевой модели TMN, и не могут полностью описать уровень ЕСМА при изолированных объектах
уровня СУМ-Пр. Поэтому, в качестве базовых объектов были приняты объекты из
Рек. М.3100 и расширены дополнительными объектами, компенсирующими недостаток
информации от объектов уровня СУМ-Пр. Таким образом, используя несколько
классов объектов, можно будет описать любую телекоммуникационную сеть уровня
СУМ-Пр. Ниже приведено примерное описание классов базовых объектов сети.
Все классы должны иметь в качестве атрибутов идентификаторы объектов, для
того, чтобы можно было различать отдельные экземпляры объектов одного класса.
Для контроля состояния объектов используется атрибуты состояния,
определенные в Рек. Х.731 и позволяющие характеризовать общие свойства объекта
в отдельный момент времени (доступен/недоступен, работоспособен/не
работоспособен/занят и т.д.).
network - (сеть) - класс управляемых объектов, которые являются
совокупностями взаимосвязанных объектов, выполняющих обмен информацией. Эти
объекты имеют одну или более общих характеристик, например, они могут
принадлежать отдельному пользователю, или связаны со специальной сервисной
сетью. Может включать в себя другие (под)сети. Имеет атрибуты: идентификатор
сети и имя, удобное для пользователя.
connectionTerminationPoint - (точка окончания соединения) -
описывает окончание соединения, имеет атрибуты: идентификатор точки, указатели
на использующееся соединение (маршрут) и функцию адаптации.
trailTerminationPoint - класс представляет точку окончания, где
заканчивается маршрут, т.е. точку доступа в сеть. Имеет атрибуты: идентификатор
точки, указатели на использующееся соединение (маршрут).
connection - (соединение) - класс управляемых объектов, ответственных
за прозрачную передачу информации между точками окончания соединения.
Соединение является компонентом маршрута. Атрибуты: идентификатор, указатели на
точки окончания и маршруты.
trail (маршрут) - класс управляемых объектов, который отвечает за
целостность передачи характерной информации между одной или несколькими сетями.
Маршрут состоит из двух или более точек окончания маршрута (ТТР) и одного или
более соединений и связанных точек окончания соединения (СТР).
adaptation - (адаптация) класс управляемых объектов, который описывает
функцию преобразования потоков/сигналов. Класс является базовым классом для
создания более специфических классов, описывающих конкретные механизмы
преобразования, такие, как (де)мультиплексирование, выравнивание и др. В
качестве атрибутов описываются точки входа/выхода, соответствующие различным
типам потоков/сигналов, и общие характеристики функции преобразования. В конкретном
случае функция преобразования должна описывать полный набор вариантов
преобразования сигнала с учетом кросс-коммутации.
В случае возникновения ситуации, при которой невозможно описать
какой-либо элемент сети существующими объектами, принципы, заложенные в данную
модель, позволят создать новый класс объектов с необходимыми свойствами, что
позволит обеспечить расширяемость системы при дальнейшем развитии сети.
.3.3
Агент-шлюз
Агент-шлюз выполняет преобразование информации из внутреннего формата СУМ
или СУМ-Пр, в формат информационной модели ЕСМА и наоборот. Для каждого шлюза
(СУМ-Пр) должен быть определен свой механизм преобразования, учитывающий
особенности конкретной СУМ-Пр.
.3.4
Протокол взаимодействия
Взаимодействие между агентом и менеджером должно быть реализовано на базе
протоколов распределенных систем, обеспечивающих необходимое масштабирование и
быстродействие. Вследствие использования объектно-ориентированного подхода для
реализации информационной модели, протокол взаимодействия должен поддерживать
взаимодействие удалённых объектов: загрузку данных и кода объекта из сервера к
клиенту, взаимодействие объектов и возврат результатов. И хотя в результате
выполненных исследований и сравнительного анализа технологий CORBA и DCOM было принято решение об использовании в качестве
транспортной магистрали технологии CORBA, на данный момент в целях упрощения системы для реализации этой функции
используется интерфейс API.
.3.5
Структура СУМ
В составе структуры СУМ можно выделить необходимую часть, «ядро», и
вспомогательную обвязку, «оболочку» (см. рис. 1.3.).
В состав ядра, то есть собственно в СУМ, входят:
·
ИВ - интерфейс
взаимодействия - обеспечивает обмен управляющей информацией с другими СУМ,
управляемыми - агентами и управляющими - менеджерами;
·
БД -база данных
выполняет хранение объектов информационной модели;
·
Агент-шлюз,
который выполняет функцию согласования с остальными компонентами СУМ.
Оболочка является набором сервисных служб (подсистем), выполняющих общие
функции управления на каждом уровне системы:
·
ПА - подсистема
администрирования - выполняет распределение прав доступа и полномочий
операторов системы, регистрацию, авторизацию, поддержку списка пользователей и
паролей.
·
ПСУ - подсистема
ситуационного управления - экспертная система, анализирующая текущее состояние
сети и формирующая рекомендации по краткосрочному и долгосрочному планированию
развития услуг электросвязи, а также по устранению отказов в объектах
управления и их последствий.
·
ПУиУЗ -
подсистема учета и управления заявками - система документооборота, выполняющая
регистрацию, распределение заявок на обслуживание между операторами СМА в
соответствии с их зонами обслуживания, а также контроль выполнения заявок
(предоставление услуг) и ведение архива.
·
ПОИ - подсистема
отображения информации обеспечивает вывод необходимой информации на устройства
статического и динамического отображения информации.
·
СМА ПСС - система
мониторинга и администрирования первичной сети связи
·
СМА ОбТС -
система мониторинга и администрирования общетехнологической связи
·
СМА ОТС - система
мониторинга и администрирования оперативной связи
·
СМА ПРС - система
мониторинга и администрирования поездной радиосвязи
·
СМА СПД - система
мониторинга и администрирования сети передачи данных
СМА ПСС, СМА ОТС, СМА ОбТС, СМА ПРС, СМА СПД выполняют функции
мониторинга и управления в рамках своей предметной области и обеспечивают
представление объектов управления для пользователей (операторов ПСС, ОТС, ОбТС,
ПРС, СПД) в удобном и привычном виде (в терминах ПСС, ОТС, ОбТС, ПРС и СПД).
.3.6
Структура АСУМ-Пр
АСУМ-Пр представляет собой связку собственно системы управления
производителя и агента-шлюза (рис. 1.7.).
мониторинг цифровой шлюз конфигурация
Рис.
1.7. Структура системы управления производителя.
Агент-шлюз выполняет преобразование информации из внутреннего формата
СУМ-Пр, в формат информационной модели ЕСМА и наоборот. Для каждого шлюза
(СУМ-Пр) должен быть определен свой механизм преобразования, учитывающий
особенности конкретной СУМ-Пр.
Созданием такого агента-шлюза для аппаратуры ВТК-12 мне и было предложено
заняться.
2.
ТЕХНИЧЕСКОЕ ЗАДАНИЕ НА ПРОГРАММНЫЙ МОДУЛЬ ШЛЮЗА АППАРАТУРЫ ВТК-12
2.1
Назначение
Для обеспечения преобразование данных о конфигурации оборудования ВТК-12
из формата производителя этого оборудования в формат ИСУМ. Взаимодействие
программы ИСУМ со шлюзом осуществляется через программный интерфейс при помощи
функций, рассмотренных ниже. Не накладывается никаких ограничений на
взаимодействие СУ производителя со шлюзом.
.2
Реализация
Шлюз оформляется в виде набора функций динамической библиотеки Windows (DLL). В качестве языка программирования рекомендуется
использовать Object Pascal в среде Borland Delphi 5.
Ниже приводится список интерфейсных функций, который должен быть
реализован (в нотации Object Pascal):
.3 Функции
работы со шлюзом
GetGateInfo - возвращает текстовую информацию о шлюзе. Формат
произвольный.
function GetGateInfo : PChar;
GateInit - возвращает список сетевых элементов (инициализация шлюза).
procedure GateInit (
idGate: word; // идентификатор шлюза: PChar; // путь к каталогу, в котором
искать файлы конфигурации
var NEList: TStringList // возвращаемый список сетевых элементов
GetNEData - получение информации о сетевом элементе
function GetNEData (
index:
LongInt; // порядковый номер сетевого
элемента, соответствует номеру записи в списке, возвращаемом процедурой GateInit;
var List: Tlist // список указателей на объекты блока
с номером index.
):Byte; // код ошибки (0 - ошибок нет; 1 -
параметр index превышает максимальное значение,
т.е. больше, чем количество элементов списка, возвращаемого функцией GateInit; 2 - файлы с конфигурацией не
найдены; 3 - неверная версия файлов конфигурации
GateClose - закрывает шлюз для использования.
.4
Требования к составу и параметрам технических средств
Программный продукт должен выполняться в среде ОС MS Windows
9x/NT/2000/XP. Персональный компьютер должен
соответствовать требованиям соответствующей ОС. Например, в случае MS Windows
NT компьютер должен иметь процессор не слабее, чем Pentium-100, оперативную
память не менее 32 МБ, жёсткий диск не менее 500 МБ.
3. Разработка ИНФОРМАЦИОННОЙ МОДЕЛИ ВТК-12
Прежде чем разрабатывать информационную модель, необходимо ознакомиться с
аппаратурой, для которой он предназначен.
3.1
Аппаратура цифровой системы передачи данных ВТК-12
.1.1
Назначение аппаратуры
Аппаратура ВТК-12 предназначена для организации синхронной цифровой
системы передачи с выделением и транзитом сигналов ТЧ и цифровых сигналов,
передаваемых по групповому первичному потоку со скоростью передачи 2048 кбит/с.
Аппаратура обеспечивает организацию сети передачи
оперативно-технологической связи на железной дороге, метрополитене со следующими
основными функциями:
мультиплексирование аналоговых и цифровых сигналов;
ввод-вывод аналоговых и цифровых сигналов и их коммутация по 6
направлениям ПЦК (первичного цифрового канала) 2048 кбит/с;
организация группового канала диспетчерской связи;
телеконтроль за состоянием оборудования оконечных и промежуточных
станций;
управление конфигурацией каналов и направлений передачи;
обеспечение резервирования группового и диспетчерского оборудования.
.1.2
Технические характеристики
Блок ВТК-12 обеспечивает транзит и выделение сигналов, а также
организацию шлейфов в любом из канальных интервалов и соответствующий режим
канала СУВ в шестнадцатом канальном интервале.
Блок ВТК-12 обеспечивает организацию до пятнадцати групповых каналов
конференцсвязи при наличии не более четырех источников сигнала.
Блок ВТК-12 обеспечивает переключение на резерв каналов ТЧ и трактов 2048
кбит/с.
Блок ВТК-12 обеспечивает обнаружение следующих аварийных состояний:
пропадание питания;
потеря хронирующего сигнала;
пропадание входного сигнала;
коэффициент ошибок более10-3 ;
прием СИАС;
получение сигнала индикации аварийного сигнала с дальнего конца;
прием ошибочного CRC4-блока;
регистрация проскальзывания цикла.
Блок ВТК-12 обеспечивает стык RS-232 с персональным компьютером для установки
программных средств, контроля работы аппаратуры и изменения параметров работы.
Блок ВТК-12 обеспечивает стык RS-485 с сетью обслуживания.
.1.3
Состав аппаратуры ВТК-12
Состав аппаратуры ВТК-12 приведен в табл. 3.1.
Таблица 3.1. Изделия, входящие в состав аппаратуры ВТК-12
|
Наименование
|
Назначение
|
|
Блок ВТК-12
|
Обеспечивает резервирование
группового оборудования по схеме 1+1. Содержит одну плату КС-010 и две платы
ВК-16.
|
|
Платы ОК-14
|
Платы предназначены для
согласования аппаратуры оконечных и промежуточных пунктов связи, имеющих двух
или четырехпроводные окончания каналов ТЧ. Платы обеспечивают организацию
четырех каналов ИКМ в блоке ВТК-12 и установку дополнительных плат аналоговых
интерфейсов.
|
|
Плата ПА-110
|
Предназначена для
организации удаленной абонентской линии через блок ВТК-12. Устанавливается на
плату ОК-14
|
|
Плата УР-01
|
Предназначена для
разделения принимаемого сигнала из четырехпроводного канала тональной частоты
на речевой сигнал и сигнал управления радиостанцией. Устанавливается на плату
ОК-14
|
|
Платы ВД-14
|
Платы обеспечивают
ввод-вывод информации четырех цифровых каналов передачи данных в групповом
потоке блока ВТК-12 и предусматривают установку до четырех плат передачи
данных, с необходимым интерфейсом цифрового канала.
|
|
Платы ПД-01
|
Платы обеспечивают
организацию передачи данных между асинхронными устройствами с интерфейсами RS-232,
RS-485/RS-422 в составе аппаратуры ВТК-12. Плата ПД-01
устанавливается на плату ВД-14.
|
|
Платы РН-12
|
Платы обеспечивают
распределение сигналов ТЧ по пяти направлениям, подключенных к четырем
четырехпроводным и одному двухпроводному (четырехпроводному) окончанию.
|
|
Комплект ЗИП
|
Комплект запасных частей и
принадлежностей предназначен для монтажа внешних соединений аппаратуры ВТК-12
при пусконаладочных работах и в процессе эксплуатации.
|
|
Комплект КМЧ-15
|
Комплект КМЧ-15
предназначен для установки блоков, выполненных в "Евромеханике" в
19" стандарте по МЭК 297 в шкаф Е600.
|
В данной работе я буду использовать только платы ОК-14, ВД-14 и ВК-16.
3.1.4
Устройство аппаратуры ВТК-12
Аппаратура ВТК-12 состоит из блока ВТК-12, устанавливаемых в него плат
канальных окончаний, комплектов монтажных частей КМЧ-15 и комплекта ЗИП.
Внешний вид аппаратуры ВТК-12 приведен на рис. 3.1. Конструктивно
аппаратура выполнена в "Евромеханике" в 19” стандарте по МЭК 297.
Блок ВТК-12 - стандартный 19-ти дюймовый, высотой 6U, с размером печатных плат 233х160
мм.
Конфигурация аппаратуры определяется потребителем, исходя из его
потребностей и возможностей аппаратуры.
Рис. 3.1 - Внешний вид аппаратуры ВТК-12 (блок ВТК-12 с установленными
платами ОК-14)
.1.5
Описание и работа составных частей изделия
3.1.5.1 Описание и работа блока ВТК-12
Назначение
Блок ВТК-12 предназначен для ввода/вывода сигналов плат канальных
окончаний в групповой первичный поток 2048 кбит/с, распределения
(конфигурирования) и задания режимов работы каналов по шести независимым
синхронным направлениям передачи 2048 кбит/с.
Технические данные
Блок ВТК-12 обеспечивает установку до 9 плат КО (канальных окончаний),
контроль за состоянием аппаратуры и переключение на резерв.
3.1.5.2 Описание и работа платы ВК-16
Назначение
Плата ВК-16 предназначена для организации групповой шины связи с платами
КО на скорости 2048 кбит/с и реализации требуемых режимов коммутации каналов 64
кбит/с и режимов ввода/выделения плат КО под управлением микроконтроллера.
Технические данные
Плата ВК-16 обеспечивает:
организацию шести стыков Е1;
организацию режима синхронизации от любого направления;
организацию режима внешней синхронизации или задающего генератора;
организацию резервирования по схеме1+1 (при установке второй платы
ВК-16).
Описание работы платы ВК-16
На плате расположены следующие основные функциональные узлы:
узлы стыка Е1 (А1 - А6);
генераторное оборудование (ГО);
задающий генератор;
приемник внешнего сигнала синхронизации;
коммутатор с цифровым обнаружителем речи (ЦОР);
генератор управляемый напряжением (ГУН) с фильтром автоматической
подстройки (ФАПЧ);
схема управления;
микроконтроллер;
интерфейс контроля и управления;
интерфейс 2 Мбит/с;
вторичный источник питания со схемой контроля.
Информационные потоки Е1 через оптоэлектронные ключи поступают на
фреймеры Е1, работающие под контролем схемы управления. Схема генераторного
оборудования позволяет осуществлять выбор направления синхронизации для цепи
захвата ГУНа с ФАПЧ. Сетка частот, вырабатываемая схемой ГО, обеспечивает
работу в синхронном режиме коммутатора каналов, схемы ЦОР, фреймеров Е1.
Оптоэлектронные ключи и буферные элементы схемы обеспечивают отключение
основной платы ВК-16 от внутренних шин и внешних стыков при подключении
резервной платы по сигналу управления от микроконтроллера.
Буферные элементы схемы интерфейса 2 Мбит/с обеспечивают организацию
информационной групповой шины 2048 кбит/с с платами КО.
Схема управления по внутренней микропроцессорной шине позволяет
осуществлять микроконтроллеру управление режимами работы всех функциональных
узлов платы, организовывать через коммутатор требуемое распределение каналов
между направлениями А1...А6 и платами КО. Основные режимы каналов приведены в
табл.3.2. Кроме приведенных в таблице, плата ВК-16 реализует также другие
произвольные сочетания режимов ТК и СУВ, в зависимости от конфигурации линии
связи.
Табл. 3.2.
|
|
РЕЖИМ
|
ТК
|
СУВ
|
|
1
|
Транзит с выводом сигналов
направлений А и В без ввода
|

|
|
|
2
|
Общий канал с двусторонним
выделением сигналов
|

|
|
|
3
|
Двусторонний вывод и односторонний
ввод направления А
|

|
|
|
4
|
Двусторонний вывод и
односторонний ввод направления В
|

|
|
|
5
|
Двустороннее выделение
сигналов
|

|
|
|
6
|
Шлейф направления А.
Двусторонний вывод сигналов направлений А, В
|

|
|
|
7
|
Шлейф направления В.
Двусторонний вывод сигналов направлений А, В
|

|
|
|
8
|
Шлейф направлений А,В.
Двусторонний вывод сигналов направлений А, В
|

|
|
|
Примечание - m,
n, j, k = 1-30 - номер ТК
|
3.1.5.3 Описание и работа платы ОК-14
Назначение
Платы ОК-14 предназначены для согласования оконечного и промежуточного
оборудования оперативно-технологической связи, имеющего стандартные
(нестандартные) четырехпроводные и двухпроводные окончания.
Технические данные
На каждой плате ОК-14 размещены устройства низкочастотных окончаний
четырех телефонных каналов.
Платы ОК-14 обеспечивают установку до четырех дополнительных плат,
обеспечивающих дополнительные аналоговые интерфейсы.
Переключение с передачи на прием в двухпроводном направлении
осуществляется речевым сигналом (голосом). Чувствительность устройства управления
голосом в точке измерительного уровня плюс 4 дБ (дБ0) не более минус 25 дБ.
Время (задержка) срабатывания устройства управления голосом - от 5 до 10
мс.
Задержка устройства управления голосом на отпускание - от 300 до 450 мс.
Параметры каналов ТЧ платы ОК-14 для двухпроводного и четырехпроводного
режимов приведены в 1.2.2 настоящего документа.
Описание работы платы ОК-14
На плате ОК-14 расположены следующие функциональные устройства:
схема управления;
микроконтроллер;
источник питания.
четыре узла НЧ окончаний, содержащих:
кофидек;
коммутатор;
два ключа;
Сигналы тональной частоты поступают на узел НЧ окончания платы ОК-14,
усиливаются входными усилителями, кодируются индивидуальными кодеками. Схема
управления объединяет восьмиразрядные сигналы с выходов кодеков в
многоканальный сигнал, передаваемый по основной и резервной шине связи с платой
ВК-16. Формирование и передача группового сигнала по цепям DATR (основная цепь) и DATTRP (резервная цепь) осуществляется с
помощью сигнала тактовой частоты (FT) и синхронизации (SYN),
формируемых платой ВК-16.
Схема управления и кодек кофидека выбирают из соответствующего канального
интервала восьмиразрядные кодовые слова ИКМ, относящиеся к данному телефонному
каналу. Кодовое слово преобразуется декодером кофидека в АИМ-сигнал, который
фильтруется и из которого выделяется исходный непрерывный сигнал конкретного
канала. Усиленный выходным усилителем сигнал НЧ поступает на выход канального
окончания платы.
Оптоэлектронные ключи каждого канального окончания обеспечивают
отключение сигнала ТЧ по сигналу управления от микроконтроллера и реализацию
выбранного варианта схемы резервирования. Плата ОК-14 обеспечивает
резервирование по схеме 1+1 выбранных окончаний, расположенных как на одной
плате, так и на разных платах ОК-14.
Для согласования канальных окончаний платы ОК-14 с каналами тональной
частоты имеется возможность устанавливать коэффициент усиления входного и
выходного усилителей канальных окончаний по программе.
Переключение коммутатора с передачи на прием в двухпроводном режиме
осуществляется речевым сигналом (голосом) со стороны канала ИКМ.
Для передачи сигналов ТЧ в ИКМ тракт и обратно служит устройство
сопряжения и кофидек. Контроль работоспособности платы и переключение на резерв
осуществляет микроконтроллер.
3.1.5.4 Описание и работа платы ВД-14
Назначение
Платы ВД-14 предназначены для организации передачи данных между
устройствами. Тип интерфейса определяется устанавливаемой платой передачи
данных.
Технические данные
На каждой плате ВД-14 размещаются до четырех плат передачи данных.
Описание работы платы ВД-14
На плате ВД-14 расположены следующие функциональные устройства:
схема управления;
микроконтроллер;
источник питания;
установочные места для плат передачи данных.
Входная информация с плат передачи данных поступает на схему управления.
Схема управления объединяет информационные сигналы в многоканальный сигнал,
передаваемый по основной и резервной шинам на плату ВК-16, откуда
сформированный двухмегабитный поток поступает на выход блока для передачи на
другую станцию. Формирование и передача группового сигнала по цепям DATR
(основная цепь) и DATTRP (резервная цепь) осуществляется с помощью сигнала
тактовой частоты (FT) и синхронизации (SYN), формируемых платой ВК-16.
Схема управления выбирает из входного потока 2048 кбит\с восьмиразрядные
кодовые комбинации (байты), относящиеся к данному каналу передачи данных.
Кодовые слова преобразуются платой передачи данных к виду, соответствующему
выбранному интерфейсу. Выбор интерфейса осуществляется установкой платы передачи
данных соответствующего исполнения.
.3 Определение
классов для информационной модели
Основой любой системы сетевого управления является база данных,
содержащая информацию о ресурсах и элементах сети, которыми нужно управлять. В
системе управления OSI эта база
называется MIB (Management Information Base). Основная структура, в соответствии с которой
проектируется и описывается MIB,
называется структурой информации управления (Structure Management Information, SMI). SMI
определяет типы данных, которые могут использоваться в MIB, описание ресурсов и их обозначение (именование) в
базе. Ресурс может быть описан как управляемый объект (Managed Object - MO).
Модель управления OSI широко
использует объектно-ориентированный подход.
Рекомендация X.720 (ISO 10165-1) определяет информационную модель
управления. Это документ содержит:
1
Определение
информационной модели управляемых объектов и их атрибутов.
2
Определение
принципов именования управляемых объектов и атрибутов, для их однозначного
определения.
3
Определение
логической структуры информации системного управления.
Описание концепции классов управляемых объектов и определение их
взаимодействия, включая наследование, специализацию, алломорфизм (так этот
стандарт называет, то, что в объектно-ориентированном программировании
называется полиморфизмом) и принципы включения.
.3.1
Классы объектов и наследование
Класс управляемых объектов (МО) - это набор свойств, которые могут быть
обязательными или условными. Определение класса включает в себя операции
управления, атрибуты, комплекты свойств, описания, уведомления. Конкретный
управляемый объект - это экземпляр (instance) некоторого класса управляемых объектов. Экземпляры одного
класса имеют одинаковую структуру, но отличаются содержанием своих атрибутов.
Новый класс МО образуется на базе существующего класса (операция
специализации) одним из следующих способов:
· добавлением новых атрибутов
· расширением или ограничением диапазона возможных значений
атрибутов
· добавлением новых операций (действий) и уведомлений
· добавлением аргументов существующих операций и уведомлений
Таким образом, подчиненный класс наследует все характеристики базового и
приобретает новые. В отличие от традиционного объектно-ориентированного
подхода, системное управление OSI не
позволяет определить подчиненный класс путем удаления каких-либо свойств
(характеристик) базового класса. Допускается множественное наследование.
Все классы МО образуются из одного, верхнего суперкласса, называемого top. Класс top определяет свойства и структуру, которые являются
универсальными для построения любого другого класса. Рекомендации Х.721 (Definition of Management Information) и Х.723 (Generic Management Information) определяют классы МО, находящиеся
на верхних уровнях иерархии наследования и описывающие предельно общие объекты,
такие как system (описывает набор аппаратных и
программных средств, формирующих автономную систему обработки и/или передачи
информации), log (определяет критерии для контроля
регистрирующей информации), logRecord (определяет записи регистрирующей информации), discriminator (определяет критерии для контроля
служб управления) и т.д.
Вследствие жесткой иерархичности, структуру наследования представляют в
виде дерева, называемого деревом наследования (Inheritance Tree). На рис. 3.2. изображен фрагмент дерева
наследования.
Рис.
3.2. Дерево наследования
.3.2
Принципы включения и наследования
Структура включения
Свойство включения позволяет одному объекту включать в себя один и более
других объектов. Включение выполняется как запись ссылки на подчиненный объект
(включаемый) объект в суперобъекте (включающем). Ссылка - это идентификатор (OID) подчиненного объекта и хранится как
значение атрибута в суперобъекте. Включающий объект может быть включенным в
объект более высокого уровня иерархии. Таким образом, структура MIB отражает иерархическую структуру
реальных объектов.
Именование
После того, как определены различия между иерархией наследования, которая
определяет взаимосвязь между классами объектов и иерархией включения, которая
определяет взаимосвязь межу экземплярами объектов в MIB, нужно выяснить различия между схемами именования для
классов объектов и схемой именования для экземпляров объектов.
Основные принципы схемы именования экземпляров объектов:
1. Каждый класс МО имеет атрибут, который используется в именовании
экземпляра этого объекта
2. Относительное отличительное имя (Relative Distinguished Name, RDN),
соответствует короткому имени, которое однозначно определяет объект среди
множества других объектов, подчиненных тому же родительскому объекту. RDN определяется атрибутом именования
объекта. Значение этого атрибута должно быть уникальным среди всех объектов, подчиненных
тому же родительскому объекту. Атрибут может быть одним из двух типов ASN.1 - INTEGER или GraphicString.
. Отличительное имя (Distinguished Name, DN), иногда называемое полным
отличительным именем (Full Distinguished Name, FDN) представляет собой последовательность RDN-имен, начинающуюся в вершине
глобального дерева имен, то есть дерева, описывающего некоторую глобальную
сеть.
. Локальное отличительное имя (Local Distinguished Name, LDN) -
это последовательность RDN-имен,
но начинающаяся не в глобальном корне, а в корне дерева имен локальной системы
управления, отвечающей за часть глобального дерева имен данной сети.
Следует отметить, что имя экземпляра МО (значение атрибута именования)
создается при создании экземпляра. Эти имена не могут быть доступны для их
изменения.
На рис. 3.3 показано дерево включений. В этом примере, MO system - корень локального дерева включений, и содержит два
МО discriminator и один МО log, который содержит три MO logRecord. Для каждого экземпляра обозначены
имя класса объекта и его относительное отличительное имя. Дерево включений
также называется деревом имен, так как отличительное имя MO получено из его позиции в дереве
включений.
Рис. 3.3. Дерево включений.
.3.3 Выбор
структуры объектов (классов)
Исходя из описанного в разделе 3.1, аппаратуру ВТК-12 можно представить
следующим образом (см. рис 3.4):
Рис. 3.4. Структурная схема аппаратуры ВТК-12
Шины G (First) и GP (Second) являются внутренними и используются для
связи с платами абонентских окончаний. ЦОР’ы являются комбинацией фильтра и
коммутатора и используются для устранения шумов при передачи аналоговой
информации, и следовательно, в информационную модель их можно не включать.
Представим блок ВТК-12 в виде модели, изображенной на рис. 3.5. Модель
включает в себя три узла стыка Е1 (все однонаправленные; два работают на прием
информации, один - на передачу) и четыре канальных окончания (одно из окончаний
- двунаправленное). Следует отметить, что в модель должны входить только те
ресурсы, которые участвуют в процессе передачи информации.
Рис.
3.5. Модель аппаратуры ВТК-12
В MIB все классы образуются из одного,
верхнего суперкласса, называемого TOP, добавлением
новых свойств (атрибутов). Поэтому необходимо определится, какие свойства будут
общими для всех классов, порождаемых из класса Top. Все объекты в разрабатываемой информационной модели
должны иметь уникальный идентификатор (OID), а также указание на принадлежность объекта к тому
или иному классу, если его рассматривать как объект суперкласса Top. Следовательно, в нотации Object Pascal класс Top
определяется следующим образом (здесь и далее к именам классов будет
добавляться символ “T”, который
указывает на принадлежность к классам):
TTop =
class
public
ID : OID; //уникальный идентификатор
TypeObj
: Word; //указатель на принадлежность к
классу
end;
где OID - целочисленный тип идентификатора,
который будет определен позже.
Атрибут TypeObj в зависимости от принадлежности к
классу может принимать следующие значения:
1 - Network Element;
- Circuit Pack;
- Access Group;
- TTPBid;
- TTPSource;
- TTPSink;
- LinkEndSourse;
- LinkEndSink;
- CTPSource;
10 - CTPSink.
3.3.3.1 Сетевой элемент (Network Element)
Весь блок ВТК-12 можно представить в виде объекта класса Network Element (NE),
являющегося потомком класса Top.
Помимо уже имеющихся атрибутов OID и TypeObj, необходимо добавить атрибуты,
которые будут отвечать за:
- тип сетевого элемента (ВТК-12, СММ-155 и т.д.);
- имя сетевого элемента в сети (например его IP-адрес, или название станции, на
которой он установлен);
количество установленных плат канальных окончаний;
количество групп доступа (Access Group);
количество задействованных канальных окончаний (узлов стыка)
потоков Е1 (LinkEnd);
состояние ресурса (доступен/недоступен).
Исходя из вышеизложенного, описание класса Network Element примет следующий вид:
TNE = class (TTop): EQUIP_Type; //тип сетевого элемента: EQUIP_Name; //имя: Word; //количество плат : Word;
//количество групп доступа
numLinkEnds : Word; //количество потоков Е1
operationalState : operationalStateType; //состояние;
где
EQUIP_TYPE = String[63];_NAME = ShortString;= (opsDisabled,opsEnabled);
3.3.3.2 Платы канальных окончаний (Circuit Pack)
Количество плат канальных окончаний может варьироваться от 0 (трансляция
или коммутация блоком потоков Е1) до 9. Информация о количестве установленных
плат будет располагаться в атрибуте NumCPacks сетевого элемента.
В свою очередь аппаратура ВТК-12 поддерживает два вида плат канальных
окончаний: ОК-14 (ввода/вывода голосовых данных) и ВД-14 (ввод/вывод цифровых
данных). Помимо этого, плата ВД-14 может работать в двух режимах: VD (обычный режим) и VDN (режим для плат ВД-14 в новой
редакции, сохранивший все старые свойства, а кроме того еще и обеспечивающий
подключение слотов для синхронной передачи Nx64К). Поэтому необходимо ввести
атрибут, который будет отвечать за тип платы. Возможные значения атрибута:
«ОК», «VD» и «VDN».
Для обеспечения совместимости информационной модели аппаратуры ВТК-12 с
информационными моделями другого типа аппаратуры необходимо также добавить
атрибут, отвечающий за доступность ресурса, хотя в случае с ВТК-12 этот атрибут
всегда будет в состоянии «Доступен».
TCPack = class (TTop): EQUIP_TYPE; //тип платы (ОК, VD, VDN):operationalStateType; //состояние;
3.3.3.3 Группы доступа (Access Group)
Группа доступа объединяет в себе несколько точек доступа в сеть (TTP). Соответственно необходимо добавить
атрибут, который будет отвечать за количество точек в группе. При этом все
точки доступа будут иметь ссылки на группу доступа, которой они принадлежат.
TAG = class (TTop)
public
numTTPs
: Word; //количество точек доступа
end;
В нашем случае будет всего две группы доступа. Первая группа будет объединять
используемые канальные окончания плат ОК-14 и ВД-14, вторая - узлы стыка
потоков Е1.
3.3.3.4 Точки доступа в сеть (Trail Termination Point)
Trail Termination Point (TTP) представляет точку окончания, где заканчивается
маршрут. Как уже было написано, все точки доступа объединяются в группы доступа
по своему функциональному назначению с присвоением специальному атрибуту каждой
точки идентификатора группы. Для удобства пользователя для идентификации точки
создадим специальный атрибут, в который будем заносить имя данного ресурса.
Обычно точки доступа располагаются на платах канальных окончаний,
следовательно, добавляем атрибут, который будет отвечать за принадлежность TTP к той или иной плате. Если же точка
доступа является узлом стыка Е1, то она находится в связи с соответствующим Link End’ом.
Основной функцией TTP
является передача информации к ресурсам, которые к ней подключены. Информацию о
соединениях будем хранить в объекте в виде атрибута, который будет указывать на
идентификатор объекта, подключенного к точке доступа.
TTTP = class (TTop): TTP_Name; //имя_id : OID; //связь с Link
End’ом_id : OID; //соединение
AG_id : OID; //принадлежность к AG
cPack_id : OID; //принадлежность к плате
SignalID : Signal_ID; //тип сигнала:operationalStateType;//состояние;
В реальных системах точки доступа в большинстве случаев являются
двунаправленными. Следовательно, произведем разделение двунаправленных ресурсов
на два независимых однонаправленных ресурса. Те объекты, которые будут являться
источниками сигнала, отнесем к подклассу «Source», а объекты - приемники сигнала - к подклассу «Sink». Это же правило будет действовать и
на классы LinkEnd и CTP, которые будут рассмотрены позже.
Помимо этого, только для TTP
создадим класс, который будет выполнять роль заголовка при передаче информации
о двунаправленных точках доступа СУМ. Таким образом, дополним информационную
модель следующим описанием:
TTTPSink = class (TTTP)
end;= class (TTTP);= class (TTop): TTP_Name; //имя_ID : OID; //приемник_ID: OID; //источник;
.3.3.5 Link End
Link End - это
виртуальное отображение потока Е1. Функцией LinkEnd’а является разбиение потока Е1 на 32 канальных
интервала, которые будут использоваться для коммутации внутри блока ВТК-12. В
качестве дополнительных атрибутов, относительно класса Top, добавим атрибуты, отвечающие за связь LinkEnd’а с физическим стыком Е1, а также за
количество CTP, входящих в данный LinkEnd.
TLinkEnd = class (TTop)_ID : OID; //связь со стыком: Word; //количество CTP;
Как и в случае TTP,
разделим ресурс на две части, отвечающие каждая за свое направление:
TLinkEndSink = class (TLinkEnd);= class (TLinkEnd);
3.3.3.6 Точка окончания соединения (Connection Termination
Point)
Точки окончания соединения (CTP) являются неким аналогом точек доступа в сеть (TTP), только используются для коммутации внутри блока. В
информационной модели ВТК-12 точки окончания будут входить в LinkEnd’ы.
TCTP =
class (TTop)
public
cPack_ID : OID; //принадлежность к плате
tp_ID : OID; //коммутация
SignalID : Signal_ID; //тип сигнала
operationalState :operationalStateType; //состояние;
TCTPSink = class (TCTP);= class (TCTP);
В каждом LinkEnd’е будут
находиться 30 точек окончания, каждая отвечающая за свой канальный интервал
потока Е1. Обусловлено это тем, что поток Е1 можно разделить на 32 канальных
интервала, но 0 и 16 канальные интервалы используются для передачи служебной
информации и в создаваемую информационную модель включены не будут.
После того, как все классы были определены, можно составить дерево
наследования (рис. 3.6.), которое будет отображать иерархию классов, а также
дерево имен (включений) (рис. 3.7), которое и будет являться информационной
моделью аппаратуры ВТК-12.
Для удобства описание всех классов вынесено в один модуль, листинг
которого приведен в приложении 1.
Рис. 3.6. Дерево наследования.
Рис. 3.7. Дерево имен (включений)
.4 Правила
присвоения идентификаторов
Единственное требование, предъявляемое к идентификатору (OID) является его уникальность. Добиться
этого можно двумя способами:
- используя сквозную нумерацию;
- используя специальные правила.
Первый случай является более простым в реализации, т.к. для его
осуществления необходимо ввести в шлюз счетчик, который будет увеличивать свое
значение при каждом создании нового объекта и присваивать в качестве
идентификатора это значение. Существенным минусом такого способа является то,
что значение идентификатора не несет никакой информационной нагрузки. Поэтому
было решено воспользоваться вторым методом.
За основу был выбран 64 битный целочисленный тип данных (int64). Первые 16 бит идентификатора
объекта являются идентификатором шлюза. Таким образом, объекты, порожденные
разными шлюзами, никогда не будут пересекаться. Так как шлюз для аппаратуры
ВТК-12 создается первым, то его идентификатор равен значению 1 (Bin 0000 0000 0000 0001). Затем идут 32
бита, в которых закодирован IP-адрес
сетевого элемента.
Первые 48 бит идентификатора определяются по общим правилам и не зависят
от типа аппаратуры (рис. 3.8). Последние 16 бит являются «внутренними»
идентификаторами объектов в блоке и определяются по правилам, установленным для
каждого типа оборудования.
хххх хххх хххх хххх хххх хххх хххх хххх хххх хххх хххх хххх хххх
|
ID шлюза | IP-адрес
блока | ID объекта |
Рис.
3.8. Структура идентификатора
Для
аппаратуры ВТК-12 «внутренние» идентификаторы определяются согласно табл. 3.3.
Таблица
3.3 Структура «внутренних» идентификаторов для аппаратуры ВТК-12
|
Объект
|
Значения (bin)
|
Примечание
|
|
Network Element
|
0001.0000.0000.0000
|
|
|
Circuit Packs
|
0010.0000.0000.NNNN
|
NNNN - порядковый номер платы
|
|
Access Group
|
0011.0000.0000.NNNN
|
NNNN - порядковый номер группы (1 или 2)
|
|
TTP Bid
|
0100.AAAA.NNNN.NNNN
|
AAAA - номер группы доступа, в которую он входит NNNN.NNNN
- номер TTPBid
|
|
TTP Source
|
0101.AAAA.NNNN.NNNN
|
AAAA - номер группы доступа, в которую он входит NNNN.NNNN
- номер TTPBid
|
|
TTP Sink
|
0110.AAAA.NNNN.NNNN
|
AAAA - номер группы доступа, в которую он входит NNNN.NNNN
- номер TTPBid
|
|
LinkEnd Source
|
0111.0000.0000.NNNN
|
NNNN.NNNN - порядковый номер
|
|
LinkEnd Sink
|
1000.0000.0000.NNNN
|
NNNN.NNNN - порядковый номер
|
|
CTP Source
|
1001.LLLL.NNNN.NNNN
|
LLLL - номер LinkEnd’а, в который он входит NNNN.NNNN
- порядковый номер
|
|
CTP Sink
|
1010.LLLL.NNNN.NNNN
|
LLLL - номер LinkEnd’а, в который он входит NNNN.NNNN
- порядковый номер
|
4. Разработка шлюза
.1 Принцип
работы шлюза
Информация о конфигурации аппаратуры ВТК-12 находится в двух файлах “vtk.cfg” и “switch.cfg”, которые в свою очередь
располагаются на флэш-диске платы МК-01 блока ВТК-12. Так как в функции шлюз не
заложен доступ к флэш-диску аппаратуры, то процесс считывания конфигурации
выглядит следующим образом (см. рис. 4.1): когда ИСУМ необходимо получить
информацию о конфигурации блоков ВТК-12, она выдает запрос в виде IP-адреса
комплекту программного обеспечения (КПО-3), в который входит файл-менеджер
флэш-диска. После того, как КПО получит запрос, он пытается соединится с
блоком, имеющим нужный IP-адрес. Если соединение установлено, то файл-менеджер
получает доступ к флэш-диску и считывает необходимые файлы. Полученные таким
образом файлы помещаются на жесткий диск компьютера на котором располагается
шлюз в специальную директорию, имя которой совпадает с IP-адресом аппаратуры. Если
ИСУМ необходимо получить информацию о нескольких блоках ВТК-12, то эти операции
повторяются несколько раз. Далее ИСУМ инициализирует шлюз с помощью
интерфейсной функции GateInit (см. раздел 2.3 «Функции работы со шлюзом»),
которая возвращает список всех найденных директорий с конфигурациями. Получив
список сетевых элементов (директорий), ИСУМ вызывает функцию GetNEData для получения информации
(конфигурации) о сетевом элементе.
Рис.
4.1. Схема работы со шлюзом
4.2 Структура
файлов конфигурации
Вся информация о конфигурации блока ВТК-12 размещается в двух двоичных
файлах vtk.cfg и switch.cfg, которые создаются в процессе
компиляции проекта с помощью программы VTK Configuration Builder,
предназначенной для задания конфигурации блока ВТК-12 путем описания ее на
языке конфигурирования для каждого блока или совокупности блоков (станций).
Проект конфигурации блока (станции) представляет собой текстовый файл,
описывающий коммутацию станции. Далее текст подвергается анализу и компиляции.
После успешной компиляции проекта будет создан каталог по имени проекта в
рабочем каталоге, который будет содержать двоичные файлы, предназначенные для
загрузки на станцию (на флэш-диск платы МК-01 блока ВТК-12).
Именно с этими файлами (vtk.cfg, switch.cfg) и
будет работать шлюз.
.2.1 Файл
описания плат ОК/ВД (vtk.cfg)
Длина файла 1590 байт.
1. Версия - 2 байта (0,2)
2. Первые 9 байт - описание состава плат блока ВТК-12
. 0 - платы не должно быть
. 1 - плата ОК-14
. 2 - плата ВД
- плата ВД, законфигурируемая как VDN
- должно быть любая плата
-254 - не используется
6. Таблица длиной 64 байта. Таблица представляет собой массив из 2-х
таблиц (по 32 байта) соответствующих шинам G и GP.
Каждый элемент таблицы идентифицирует канальный интервал 0..31. Содержимое
отличное от нуля означает, что в данный канальный интервал входят данные
канального окончания какого-то слота. Все канальные окончания нумеруются по
порядку 1…36. Т.е. для вычисления конкретного слота и конкретного канального
окончания необходимо преобразовать содержимое таблицы по следующей формуле:
SlotNumber = 1+(tab[i]-1) div 4;= tab[i]-4*((tab[i]-1) div
4),
где tab[i] элемент таблицы.
7. Затем следуют 36 записей по 16 байт:
8. описывают загружаемую конфигурацию в соответствующую плату ОК-14
или ВД
. Формат записи:
. 6 записей по 128 (080h)
байт
Даже если поток Е1-i не
используется, запись должна быть и ее начало должно быть осмысленно..
6. Таблица управления обработкой национальных битов:
7. 1 поле (8 байт)
. [0] - n
число обработчиков (0…255)
. [1] - не используется (раньше тут был «reserve index» (0 - нет, 1 - есть))
[2] - режим обработки СУВ (прозрачный или обычный: CASMode=Transparent/Normal)
в этом байте используются младшие 6 бит (0..5), которые соответствуют
потокам (A..F)
если бит =0, то режим Normal;
если бит =1, то режим Transparent;
[3] - режим автоустановки синхронизации Internal, при аварии потока, от которого
синхронизируемся (это состояние сохранится до первой перезагрузки файла
коммутации).
Бит 0 = 0 -включен режим автоустановки; 1-выключен
[4..7] - 4 байт нулей
поле (n полей по 8 байт)
[0] - “1”тип обработчика (пока существует один тип)
[1] - «1…6» номер Е1 A-F
[2] - маска битов сверхциклового синхросигнала xxxx J4 J5 J6 J7 (вместо х пишем «0»)
[3] - активное состояние битов сверхциклового синхросигнала.
[4] - маска битов синхросигнала Si x SA S4 S5 S6 S7 S8 - «1» анализ
бита разрешен.
[5] - активное состояние битов синхросигнала. -
Примечание: второй смысл S2 - извещение цикловое или Y-alarm!, J5 сверхцикловое извещение или MY-alarm!
[6] - “0” сюда программа пишет свой результат в процессе работы
[7] - “0” резерв.
10. Таблицы трансляции и вставки национальных бит (108 байт)
Таблица трансляции (6*6=36 байт): каждый элемент таблицы имеет размер 1
байт;
Каждый байт представляет собой набор битов (в скобках указан номер бита в
байте): res (7), Si1 (6), Si2
(5), Sa4 (4), Sa5 (3), Sa6
(2), Sa7 (1), Sa8 (0)
значение бит: 0 - не транслировать этот бит в поток, 1 - транслировать
Таблица вставки национальных бит при авариях в потоках (6*6*2=72 байт):
каждый элемент таблицы имеет размер 2 байта;
Каждый байт представляет собой набор битов (в скобках указан номер бита в
байте) : res (7), Si1 (6), Si2
(5), Sa4 (4), Sa5 (3), Sa6
(2), Sa7 (1), Sa8 (0)
значение бит: (байт 1) 0 - не вставлять этот бит в поток при аварии, 1 -
вставлять ; (байт 2) 0/1 - значение бита, если он вставляется
Вид обоих таблиц:
|
A
|
B
|
C
|
D
|
E
|
F
|
|
A
|
1
|
2
|
3
|
4
|
5
|
6
|
|
B
|
7
|
8
|
9
|
10
|
11
|
12
|
|
C
|
13
|
14
|
15
|
16
|
17
|
18
|
|
D
|
19
|
20
|
21
|
22
|
23
|
24
|
|
E
|
25
|
26
|
27
|
28
|
29
|
30
|
|
F
|
31
|
32
|
33
|
34
|
35
|
36
|
В таблице указан номер элемента в том порядке, в каком он идет в файле,
подробнее о структуре элемента таблиц смотри выше.
11. Таблица маскирования аварий Е1-i - 6 байт (присутствует всегда).
12. Если Е1-i не
используется то “0”.
13. Если Е1-i
используется т.е. перечислен в каких либо конференциях или коннектах то
значение по умолчанию “FF”.
. “FF” разрешает
реагировать на все виды аварий и на срабатывание национальных битов и на Y и MY сообщения.
. последний байт “0”
4.2.2 Файл
коммутации (switch.cfg)
Длина файла переменная, но не меньше 835 байт. Файл состоит из 3х
основных секций: служебная секция - содержит служебную информацию (16 байт),
секция заголовков - содержит все заголовки блоков данных, секция данных -
содержит все блоки данных, на которые ссылаются заголовки.
1. Версия - 2 байта (0,2)
2. Число заголовков - 1 байт (кроме закрывающего заголовка),13 байт
- резервные и равны «0»
. число последующих байт=(8 байт заголовка * число заголовков) +
(803 байта блока данных * число блоков данных)+(8 байт закрывающего заголовка)
Заголовок описывает состояние потоков, для которого должен использоваться
этот блок данных и указатель на следующий блок данных.
Формат заголовка (8 байт):
байт - состояние потоков A - F при котором этот блок данных
используется
Каждый байт имеет вид: 0 - поток исправен, 1 - поток не исправен, 2 -
поток исправен и для него сработала комбинация нац. бит, 4 - любое состояние
потока;
байта (High, Low) - указатель на блок данных,
соответствующих этому заголовку (смещение блока данных от начала файла). Первым
идет старший байт, затем младший байт длины.
Последним, после всех заголовков, следует завершающий заголовок, у
которого все 8 байт равны «0».
Формат блока данных (803 байта):
a.
$0000 -$01FF
Описание массива коммутатора (512 байт) по порядку следования: (8 таблиц
по 64 байта). Таблица представляет собой массив входных линий потока. По
умолчанию все соединения замкнуты сами на себя, (т.е. например A[0] <- A[0]; A[1]
<- A[1]; … A[31] <- A[31]
…). В таблице это соответствует в массиве потока А: 01 00 01 01 …01 1F.
Старший байт этой таблицы соответствует типу объекта, а младший - его
номеру. Тип объекта определяется следующим образом:
COR 11
(0Bh)
First
10 (0Ah)
Second
(F) 15 (0Fh), 06
E 14 (0Eh)13 (0Dh)090501
b.
$0200-$02FF
Описание конференций: поле длиной 4 байт. Формат:
число, соответствующее номеру конференции - 1 байт (начиная с 0)
номер вх. линии (потока) - 1 байт
номер вх. канала - 1 байт
усиление - 1 байт: шумоподавление ()+вх. ослабление()*4+ вых.
ослабление()*16
Неиспользованные поля конференций заполняются значением 1F 00 00 00 для каждого оставшегося
неиспользованного канала;
c.
$0300
Описание источника синхронизации - 1 байт (A- 1, B-2…F-6, Internal - 0);
Если старший бит = 1, то используется Auto режим переключения источника синхронизации;
FlagSecondStream - 1 байт;
d.
$0302-$0321
Описание ЦОРов. Длина 32 байта (по количеству ЦОРов). Для каждого ЦОР
задается его конфигурация по правилу:
P1*4+P2*2+P3*64
P1 -
полоса пропускания (0…4)
P2 -
чувствительность (0…3)
P3 -
время выключения (0…3)
e. $0322 = “0”
.3
Использование библиотек (DLL)
Библиотека - это один или несколько логически законченных фрагментов
кода, сохраненных в файле с расширением.dll. Этот код может быть запущен на
выполнение в процессе функционирования какой-либо другой программы, но сама DLL
не является исполняемым файлом.
Процедуры и функции, содержащиеся в динамической библиотеке, можно
разделить на два типа: те, которые могут быть вызваны из других приложений и
те, которые используются только внутри самого файла библиотеки.
Разработка динамических библиотек не представляет собой некий
сверхсложный процесс. Итак, рассмотрим те особенности создания DLL, которые необходимо
знать для создания шлюза.
Как и любой другой модуль, модуль динамической библиотеки имеет
фиксированный формат. Рассмотрим на основе листинга, представленного ниже.
library MyDLL;
uses
SysUtils,
Classes,,;Summ(a,b:integer):integer; export; stdcall;:=a+b;;
exports
Summ;
begin
end.
Первое, на что следует обратить внимание, это ключевое слово library. Оно
определяет этот модуль как модуль библиотеки DLL. Далее идет название
библиотеки. В нашем примере мы имеем дело с динамической библиотекой, содержащей
единственную функцию Summ.
Ключевое слово exports сигнализирует компилятору о том, что перечисленные ниже
функции и/или процедуры должны быть доступны из вызывающих приложений. В конце
модуля можно увидеть ключевые слова begin и end. Внутри данного блока можно
поместить код, который должен выполняться в процессе загрузки библиотеки.
Описание и реализация процедур и функций, вызываемых в пределах текущей
DLL, ничем не отличаются от их аналогов в обычных проектах-приложениях. Их
специфика заключается лишь в том, что вызывающая программа не будет иметь к ним
доступа.
В дополнение к процедурам и функциям, DLL может содержать глобальные
данные, доступ к которым разрешен для всех процедур и функций в библиотеке. Для
16-битных приложений эти данные существовали в единственном экземпляре
независимо от количества загруженных в оперативную память программ, которые
используют текущую библиотеку. Для 32-битных приложений это не так. Теперь для
каждого приложения создается отдельная копия глобальной области данных.
Уже говорилось, что код инициализации динамической библиотеки может быть
помещен в блок begin...end. Однако кроме этого зачастую необходимо
предусмотреть некоторые действия, выполняемые в процессе выгрузки DLL из
оперативной памяти. В отличии от других типов модулей, модуль DLL не имеет ни
секции initialization, ни секции finalization. К примеру, можно
динамически выделить память в главном блоке, однако не понятно, где эта память
должна быть освобождена. Для решения этой проблемы существует DLLProc -
специальная процедура, вызываемая в определенные моменты функционирования DLL.
Для начала следует сказать о самой причине существования DLLProc.
Динамическая библиотека получает сообщения от Windows в моменты своей загрузки
и выгрузки из оперативной памяти, а также в тех случаях, когда какой-нибудь
очередной процесс, использующий функции и/или ресурсы, хранящиеся в библиотеке,
загружается в память. Такая ситуация возможно в том случае, когда библиотека
необходима для функционирования нескольких приложений. А для того, чтобы
имелась возможность указывать, что именно должно происходить в такие моменты,
необходимо описать специальную процедуру, которая и будет ответственна за такие
действия. К примеру, она может выглядеть следующим образом:
procedure MyDLLProc(Reason: Integer);
beginReason = DLL_PROCESS_DETACH then
{DLL is unloading. Cleanup code here.}
end;
Однако системе совершенно не очевидно, что именно процедура MyDllProc
ответственна за обработку рассмотренных выше ситуаций. Поэтому необходимо
поставить в соответствие адрес процедуры глобальной переменной DLLProc. Это
необходимо сделать в блоке begin...end примерно так:
begin
DLLProc
:= @MyDLLProc;.
Как можно увидеть, в качестве признака того или иного события, в
результате которого вызывается процедура MyFirstDll, является значение
переменной Reason. Ниже приведены возможные значения этой переменной.
· DLL_PROCESS_DETACH - библиотека выгружается из памяти;
используется один раз;
· DLL_THREAD_ATTACH - в оперативную память загружается новый
процесс, использующий ресурсы и/или код из данной библиотеки;
· DLL_THREAD_DETACH - один из процессов, использующих
библиотеку, 'выгружается' из памяти.
Прежде чем начать использование какой-либо процедуры или функции,
находящейся в динамической библиотеке, вам необходимо загрузить DLL в
оперативную память. Загрузка библиотеки может быть осуществлена одним из двух
способов: статическая загрузка и динамическая загрузка.
Статическая загрузка означает, что динамическая библиотека загружается
автоматически при запуске на выполнение использующего ее приложения. Для того
чтобы использовать такой способ загрузки, необходимо воспользоваться ключевым
словом external при описании экспортируемой из динамической библиотеки функции
или процедуры. DLL автоматически загружается при старте программы, при этом
можно использовать любые экспортируемые из нее подпрограммы точно так же, как
если бы они были описаны внутри модулей приложения. Это наиболее легкий способ
использования кода, помещенного в DLL. Недостаток метода заключается в том, что
если файл библиотеки, на который имеется ссылка в приложении, отсутствует,
программа откажется загружаться.
Смысл динамического метода заключается в том, что загрузка библиотеки
происходит не при старте приложения, а в тот момент, когда это действительно необходимо.
Однако механизм загрузки и выгрузки библиотеки намного сложнее статического,
что нет смысла на нем останавливаться.
Для того, чтобы можно было вызывать функции (процедуры) в приложении
должно содержаться описание экспортируемой функции (процедуры). После этого
можно их использовать точно так же, как если бы они были описаны в одном из
модулей приложения. Для импорта функции или процедуры, содержащейся в DLL,
необходимо использовать модификатор external в их объявлении. К примеру, для
рассмотренной выше процедуры Summ в
вызывающем приложении должна быть помещена следующая строка:
Function Summ(a,b: integer):integer; external “mydll.dll”;
Ключевое слово external сообщает компилятору, что данная процедура может
быть найдена в динамической библиотеке (в нашем случае - mydll.dll). Далее
вызов этой процедуры выглядит следующим образом:
...
i:=4;
c:=Summ(5,i);
...
Таким образом можно убедиться, что использование динамически подключаемых
библиотек не так сложно, как это может показаться на первый взгляд.
.4
Реализация интерфейсных функций
Из четырех интерфейсных функций (GateInit, GetNEData, GateClose, GetGateInfo) интерес представляют только первые
две, так как две оставшиеся выполняют второстепенные задачи (удаление лишних
экземпляров объектов и возвращение текстовой информации о версии шлюза).
4.4.1
Функция GateInit
GateInit - возвращает список сетевых элементов (инициализация шлюза).
procedure GateInit (
idGate: word; // идентификатор шлюза: PChar; // путь к каталогу, в котором
искать файлы конфигурации
var NEList: TStringList // возвращаемый список сетевых
элементов
);
В данном случае под списком сетевых элементов понимается список
поддиректорий, которые находятся в директории «Path», имеют имена, удовлетворяющие правилам IP-адресации (например 192.168.001.255)
и включают в себя файлы конфигурации ВТК-12 («vtk.cfg» и
«switch.cfg»). При сканировании директории «Path» заполняются два списка, один из
которых будет передан вызывающему приложению, а второй будет использоваться
функцией GetNEData. Блок-схема алгоритма приведена в
приложении 2.
.4.2
Функция GetNEData
GetNEData - возвращает информации о сетевом элементе
function GetNEData (
index:
LongInt; // порядковый номер сетевого
элемента, соответствует номеру записи в списке, возвращаемом процедурой GateInit;
var List: Tlist // список указателей на объекты
блока с номером index.
):Byte; // код ошибки (0 - ошибок нет; 1 -
параметр index превышает максимальное значение,
т.е. больше, чем количество элементов списка, возвращаемого функцией GateInit; 2 - файлы с конфигурацией не
найдены; 3 - неверная версия файлов конфигурации.
GateNEDate - основная функция шлюза. Именно она, а точнее функция LoadVTK, которая является внутренней
функцией шлюза, обеспечивает преобразование данных о конфигурации оборудования ВТК-12
из формата производителя этого оборудования в формат ИСУМ.
Следует отметить, что в настоящее время алгоритм функционирует не в
полном объеме из-за ограничений, накладываемых информационной моделью:
- обрабатывается только одна конфигурация, находящаяся в файле
коммутации (switch.cfg) первой, хотя их может быть больше;
- игнорируются конференцсвязи, т.е. соединения для трансляции по
групповым каналам.
Необходимо также определить структуру ответов, т.е. ту
последовательность, с которой объекты будут находиться в списке, возвращаемом
функцией GetNEData. Перебрав несколько вариантов,
следующая структура ответов показалась более привлекательной:
1. ссылка на объект Network Element;
2. N ссылок на объекты типа Circuit Pack, где N - количество установленных плат
канальных окончаний;
. ссылка на объект Access Group (группа
канальных окончаний);
4. N ссылок на объекты TTP
(если точка доступа является однонаправленной, то в список помещается ссылка на
соответствующий объект (TTPSink/TTPSource), если же точка доступа
двунаправленная, то первой идет ссылка на объект TTPBid, а затем на TTPSource и TTPSink),
где N - количество точек доступа в группе;
(пункты 3 и 4 повторяются для второй группы доступа)
5. ссылка на объект типа LinkEnd (Sink или Source в зависимости от направления связи);
(пункты 5 и 6 повторяются для всех оставшихся LinkEnd’ов)
В графическом виде эта последовательность приведена в приложении 3.
4.5
Создание тестирующего приложения
Так как на момент разработки шлюза система управления и мониторинга еще
не существовала, возникла необходимость разработки приложения, которое будет
эмулировать СУМ, т.е. будет выдавать шлюзу запросы, которые он и будет
обрабатывать. В итоге был разработан тестирующий модуль, окно которого
представлено на рис. 4.2, а листинг программы - в приложении 4.
Рис. 4.2. Окно тестирующего приложения
Принцип работы с тестирующим приложением следующий:
1. в дереве директорий выбирается та директория, которая является
«хранилищем» конфигураций;
2. после нажатия кнопки «Сканировать» шлюзу выдается запрос
(инициализация) на поиск конфигураций сетевых элементов в директории, выбранной
в п.1, и в соответствии с полученным списком заполняется список IP-адресов сетевых элементов;
. при выборе нужного сетевого элемента вызывается интерфейсная
функция GetNEData, которая возвращает список
указателей на объекты. Получив этот список, приложение выводит информацию о
конфигурации блока в виде значений атрибутов объектов, входящих в сетевой
элемент.
5.
ЭКОНОМИЧЕСКОЕ ОБОСНОВАНИЕ ДИПЛОМНОГО ПРОЕКТА
.1 Расчет
затрат на создание программного продукта
Себестоимость продукции представляет собой стоимостную оценку
используемых в процессе производства продукции природных ресурсов, сырья,
материалов, топлива, энергии, основных фондов, трудовых ресурсов, а также
других затрат на её производство и реализацию. Себестоимость отражает величину
текущих затрат, имеющих производственный, некапитальный характер, обеспечивающих
процесс простого воспроизводства на предприятии. Себестоимость является
экономической формой возмещения потребляемых факторов производства.
Классификация затрат по статьям калькуляции позволяет
определить себестоимость единицы продукции, распределить затраты по
ассортиментным группам, установить объем расходов по каждому виду работ,
производственным подразделениям, аппарату управления, выявить резервы снижения
затрат. Калькуляционный принцип группировки затрат лежит в основе построения
плана счетов бухгалтерского учета во всех отраслях народного хозяйства в нашей
стране и за рубежом. Отчетность также составляется и анализируется
преимущественно по статьям калькуляции.
При группировке по статьям калькуляции затраты
объединяются по направлениям их использования, по месту их возникновения:
непосредственно в процессе изготовления продукции, в обслуживании производства,
в управлении предприятием и т.д.
Типовая группировка затрат по статьям калькуляции
имеет следующий вид:
1) сырье, основные материалы, полуфабрикаты,
комплектующие изделия (за вычетом возвратных отходов);
2) вспомогательные материалы;
3) топливо на технологические цели;
4) энергия на технологические цели;
5) основная заработная плата производственных рабочих;
6) дополнительная заработная плата производственных
рабочих;
7) отчисления на социальные нужды по заработной плате
производственных рабочих;
8) расходы на содержание и эксплуатацию оборудования;
9) расходы на подготовку и освоение нового производства;
10) цеховые расходы;
Цеховая себестоимость
11) общепроизводственные
расходы;
12) потери от брака;
Производственная себестоимость
товарной продукции
13) внепроизводственные расходы;
Полная себестоимость товарной
продукции.
В приведенной классификации первые семь статей затрат
осуществляются непосредственно на рабочем месте и прямо относятся на
себестоимость каждого вида продукции. Все другие статьи являются комплексными,
собирающими затраты по обслуживанию и управлению производством.
Отчисления на социальные нужды представляют собой форму перераспределения
национального дохода на финансирование общественных потребностей. Тарифы
страховых взносов ежегодно утверждаются в федеральном законе, принимаемом
Государственной Думой и одобряемом Советом Федерации. Эта группа затрат в
настоящее время представляет собой единый социальный налог отчисляемый в бюджет
в размере 35,6% от заработной платы.
Расходы по содержанию и эксплуатации оборудования включают затраты на
техническое обслуживание машин и механизмов, расходы на текущий и капитальный
ремонт оборудования, цехового транспорта и инструментов, амортизацию основных
фондов, закрепленных за цехами, износ малоценных и быстроизнашивающихся
предметов и др. В статью «Расходы на подготовку и освоение нового производства»
входят затраты некапитального характера: совершенствование технологии,
переналадка оборудования, изготовление специального оборудования и оснастки и
т.д. В состав цеховых расходов включаются затраты на управление цехов основного
производства: заработная плата цехового персонала, расходы на амортизацию,
текущий ремонт, отопление, освещение, уборку зданий и цеховых помещений, износ
инвентаря и малоценных предметов общецехового назначения и др.
«Общепроизводственные расходы» направляются на покрытие затрат по управлению и
обслуживанию общехозяйственных нужд предприятия: аппарата управления,
содержание зданий, территории, транспорта и проч., имеющих общепроизводственное
назначение. Внепроизводственные расходы включают затраты, связанные с
реализацией продукции (упаковка, отгрузка, реклама, сбытовая сеть, комиссионные
и др.), а также различного рода отчисления и платежи.
.1.1
Расчет трудоемкости
Трудоемкость программного комплекса носит вероятностный характер, так как
зависит от множества трудно учитываемых факторов [12]. Основной сложностью
является то, что разработка программного обеспечения является итеративным
процессом.
Вначале составим перечень основных этапов работ, которые необходимо
выполнить для создания приложения. Трудоемкость оценивается по сумме
трудоемкостей этапов работ, определяемых в человеко/днях и приведена в табл.
5.1.
Таблица 5.1 Трудоемкость этапов работы по созданию ПП
|
Этапы работ
|
Кол-во человек
|
Кол-во дней
|
Чел/дни
|
|
1
|
Знакомство с предметной
областью
|
3
|
6
|
18
|
|
2
|
Подготовка технического
задания
|
1
|
2
|
2
|
|
3
|
Внесение дополнений в ТЗ
|
3
|
1
|
3
|
|
4
|
Выбор классов объектов для
информационной модели
|
2
|
5
|
10
|
|
5
|
Создание информационной
модели ВТК-12
|
2
|
10
|
20
|
|
6
|
Проектирование структуры
шлюза
|
1
|
20
|
20
|
|
7
|
Разработка шлюза
|
2
|
50
|
100
|
|
8
|
Тестирование шлюза
|
2
|
3
|
6
|
|
9
|
Подготовка перечня
необходимых изменений
|
2
|
6
|
12
|
|
10
|
Обновление шлюза
|
1
|
15
|
15
|
|
11
|
Создание руководства
пользователя и документации разработчика
|
1
|
10
|
10
|
|
12
|
Финальное тестирование
|
3
|
2
|
6
|
|
13
|
Сдача
|
3
|
1
|
3
|
|
Итого:
|
|
|
220
|
.1.2
Определение себестоимости разработки
Цель расчета себестоимости разработки программной системы является
определение величины затрат на ее выполнение. В плановую себестоимость
включаются все затраты, связанные с разработкой программного продукта.
Определение затрат на проведение работ производится путем составления
калькуляции плановой себестоимости. Она является основным документом, на
основании которой осуществляется планирование и учет затрат на разработку
программного продукта. Калькуляция плановой себестоимости осуществляется по
следующим статьям затрат:
1
основная
заработная плата;
2
дополнительная
заработная плата;
3
отчисления на
социальные нужды;
4
стоимость
машинного времени;
5
лицензионное ПО;
6
прочие прямые
расходы;
7
накладные
расходы.
1. На статью «Основная заработная плата» относится заработная плата
сотрудников, непосредственно занятых разработкой системы, а также заработная
плата работников нештатного состава, привлеченных к ее выполнению. Исходными
данными для расчета служат трудоемкость выполняемых работ и заработная плата за
рабочий месяц.
Трудоемкость разработки ПП - 220 дней = 10 месяцев
Средняя заработная плата программиста - 6000 руб./месяц.
Основная зарплата - 10 чел./мес.* 6000 руб./мес. = 60 000 руб.
. На статью «Дополнительная заработная плата» относятся выплаты
предусмотренные законодательством за непроработанное время: оплата отпусков,
оплата за выполнение государственных и общественных обязанностей и др. Размер
дополнительной зарплаты в научных учреждениях составляет 10% от основной. Таким
образом, дополнительная заработная плата
Дополнительная заработная палата = 60 000 руб.*0.1 = 6 000 руб.
. К статье «Отчисления на социальные нужды» относятся обязательные
отчисления по установленным законодательством Российской федерации нормам
органам государственного социального страхования, Пенсионного фонда,
Государственного фонда занятости населения и медицинского страхования. Единый
социальный налог определяется по затратам на оплату труда работников. Величина
отчисления составляет 35,6%.
Единый социальный налог - 66 000 руб.*0.356 = 23 500 руб.
. К статье «Стоимость машинного времени» относятся затраты на
эксплуатацию ЭВМ. Для определения стоимости машинного времени воспользуемся
данными из технических паспортов вычислительной техники.
Продолжительность ЭВМ времени - 220 дней*8 часов = 1 760 часов
Стоимость ЭВМ типа Pentium III - 50 000 руб.
Срок эксплуатации ЭВМ - 3 года.
Амортизационные отчисления на ЭВМ - 50 000 руб./(3 года*12 месяцев*22 дня
*8 часов) ≈ 8 руб./час.
Потребляемая ЭВМ мощность - 350 Ватт/час.
Стоимость 1 кВатт - 0,89 руб.
Затраты на электроэнергию - 0,89 руб./кВатт* 0,35 кВатт = 0,31 руб./час.
Стоимость машинного часа - 8 руб./час+0,31 руб./час = 8,31 руб./час.
Стоимость машинного времени - 8,31 руб./час.*1 760 часов = 14 625 руб.
. К статье «Лицензионное ПО» относятся расходы на приобретение и
эксплуатацию средств разработки. Для разработки программного продукта
применялись интегрированная среда Inprise Delphi 5.0 и программный пакет для визуально
объектно-ориентированного программирования Rational Rose Enterprise Edition.
Стоимость лицензии разработчика Delphi 5.0 - 500$ = 15 500 руб.;
Срок службы среды разработки - 2 года;
Затраты на Delphi 5.0 = 220
дней * 15 945 руб./(2 года * 12 мес. * 22 дня) = 6 450 руб.
Стоимость лицензии разработчика Rational Rose - 4 500$ =
139 500 руб.
Приблизительное планируемое количество проектор, разрабатываемых с
помощью Rational Rose - 20;
Затраты на Rational
Rose = 143 500 руб./ 20 = 6 975 руб.
Полные затраты на средства разработки = 6 650 руб. + 7 175 руб. = 13 425
руб.
. На статью «Прочие прямые расходы» относятся расходы на приобретение и
подготовку материалов научно-технической информации, за использование средств
телефонной и радиосвязи и другие расходы, необходимые при разработке данного
комплекса программ. Затраты определяются на основе статистической информации в
процентах к суммарным расходам всех предыдущих статей (5-10%). Таким образом:
Прочие прямые расходы - (66 000 руб.+ 23 500 руб.+ 14 625 руб.+ 13 425
руб.)*0.05 = 5 875 руб.
. В статью «Накладные расходы» включаются расходы на управление и
хозяйственное обслуживание, которые в равной степени относятся ко всем
выполняемым работам. По статье учитывается заработная плата аппарата управления
и общехозяйственных служб, затраты на содержание и текущий ремонт зданий,
сооружений, оборудования и инвентаря, амортизационные отчисления на их полное
восстановление и капитальный ремонт, расходы по охране труда,
научно-технической информации и т.д. Процент накладных расходов -
экспериментальная величина и определяется, как отношение плановой суммы
накладных расходов к прямым затратам. Примем процент накладных расходов 30%.
Таким образом:
Накладные расходы = (60 000 руб. + 6 000 руб.) * 1,35 = 37 025 руб.
В таблице 5.2 приведена итоговая калькуляция затрат на разработку
программного продукта.
Таблица 5.2 Калькуляция затрат
|
Статьи затрат
|
Сумма (руб.)
|
|
Прямые (переменные)
затраты
|
|
|
1
|
Основная заработная плата
разработчиков
|
60 000
|
|
2
|
Дополнительная заработная
плата разработчиков (10% п.1)
|
6 000
|
|
3
|
Единый социальный налог
(0,356 от п. 1 и 2)
|
23 500
|
|
4
|
Стоимость машинного времени
(амортизация ЭВМ)
|
14 625
|
|
5
|
Лицензированное ПО
|
13 425
|
|
6
|
Прочие прямые расходы (5%
от п.1-5)
|
5 875
|
|
7
|
Итого:
|
123 425
|
|
Накладные (постоянные)
затраты
|
|
|
8
|
Накладные затраты (30% от
прямых затрат)
|
37 025
|
|
Итого:
|
160 450
|
5.2
Сетевое планирование
Традиционные методы планирования предполагают использование простейших
моделей типа ленточных или цикловых графиков.
Ленточный график координирует работу отделов и цехов, должен обеспечить
своевременное и организованное проведение всех работ. Однако такой график не
дает возможность увидеть взаимосвязь отдельных работ и значимость каждой работы
для конечной цели. Могут возникать непредвиденные простои и отсрочки, вызванные
задержками на сопряженных работах, которые трудно отобразить графически.
Необходимо уметь прогнозировать сроки работ, или изменение их в связи с
изменением выполнения сроков других работ.
Попытка ликвидировать эти недостатки при помощи СПУ (система сетевого
планирования и управления).
СПУ является комплектом графических и расчетных методов, организационных
мероприятий и контрольных приёмов, обеспечивающих моделирование, анализ и
динамическую перестройку плана выполнения сложных проектов и разработок.
В основу системы СПУ положена модель, описывающая объект управления в
виде сетевого графика. Благодаря этому система и получила свое название -
система сетевого планирования и управления.
Сетевой график по сравнению с ленточным (все еще широко применяемым)
имеет ряд преимуществ, в частности: на нем широко просматриваются взаимосвязи
между работами; в график легко вводятся ранее не предусмотренные работы; на
графике может быть легко выявлена технологическая последовательность работ,
которая определяет конечные сроки всей разработки - критический путь; по
сетевому графику можно определять резервы времени работ, не лежащих на
критическом пути, что позволяет наиболее рационально перераспределять наличные
людские, материальные и финансовые ресурсы; этот график дает возможность
оптимизировать план предстоящих работ. Сетевой график (сеть) представляет собой
план работ по созданию сначала промежуточной продукции с определенной степенью
готовности, а в конце - полному его завершению, т.е. достижению конечной цели.
Для разработки шлюза был составлен сетевой график, который представлен в
таблице 5.3 и на рис. 5.1.
Таблица 5.3 Сетевой график
|
Код работ
|
Работа
|
Номера предшествующих работ
|
Трудоемкость, чел/дней
|
Численность исполнит., чел.
|
Продолжительность
выполнения работ, дней
|
|
1
|
0 - 1
|
Подготовка ТЗ
|
-
|
2
|
1
|
2
|
|
2
|
1 - 2
|
Внесение дополнений в ТЗ
|
1
|
3
|
1
|
3
|
|
3
|
0 - 2
|
Знакомство с предметной
областью
|
-
|
18
|
3
|
6
|
|
4
|
2 - 3
|
Создание информационной
модели
|
2, 3
|
20
|
2
|
10
|
|
5
|
3 - 4
|
Выбор структуры классов
|
4
|
10
|
2
|
5
|
|
6
|
2 - 4
|
Проектирование структуры
шлюза
|
2, 3
|
20
|
1
|
20
|
|
7
|
4 - 5
|
Разработка шлюза
|
5, 6
|
100
|
2
|
50
|
|
8
|
5 - 6
|
Тестирование шлюза
|
7
|
6
|
2
|
3
|
|
9
|
6 - 7
|
Подготовка перечня
необходимых изменений в шлюзе
|
8
|
12
|
2
|
6
|
|
10
|
5 - 8
|
Создание документации
|
7
|
5
|
1
|
5
|
|
11
|
7 - 8
|
Подготовка перечня
необходимых изменений в документации
|
9
|
1
|
1
|
1
|
|
12
|
7 - 9
|
Обновление шлюза
|
9
|
15
|
1
|
15
|
|
13
|
8 - 9
|
Корректировка документации
|
10, 11
|
1
|
1
|
1
|
|
14
|
9 - 10
|
Окончательное тестирование
|
12, 13
|
6
|
3
|
2
|
Рис. 5.1. Сетевой график
Выводы
В результате расчетов было выявлено, что затраты на разработку шлюза для
аппаратуры ВТК-12 составили 160450 руб. Однако, в дальнейшем, при создания
шлюзов для другого вида аппаратуры будут учтены все нюансы, которые возникали в
процессе создания программного продукта, что позволит сократить сроки
разработки, а следовательно, и снизить затраты.
В приведенном сетевом графике критическим маршрутом является 0 - 2 - 4 -
5 - 6 - 7 - 9 - 10. Оптимизация сетевого графика в дальнейшем не возможна по
причине того, что он уже является оптимизированным. Длина критического маршрута
составляет 102 дня или 4 месяца и 3 недели. Если учесть что разработка началась
в середине января 2003 года, то окончание работ планировалось на начало июня.
Однако состояние дел на сегодняшний день (конец мая) показывает, что шлюз уже
готов к эксплуатации. Следовательно, работа велась с небольшим опережением
графика.
6. ОРГАНИЗАЦИЯ БЕЗОПАСНЫХ УСЛОВИЙ ТРУДА ОПЕРАТОРА ЭВМ
Комфортные и безопасные условия труда - один из основных факторов
влияющих на производительность людей работающих с ПЭВМ [7].
Изучение и решение проблем, связанных с обеспечением здоровых и
безопасных условий, в которых протекает труд человека - одна из наиболее важных
задач в разработке новых технологий и систем производства. Изучение и выявление
возможных причин производственных несчастных случаев, профессиональных
заболеваний, аварий, взрывов, пожаров, и разработка мероприятий и требований,
направленных на устранение этих причин позволяют создать безопасные и
благоприятные условия для труда человека. Комфортные и безопасные условия труда
- один из основных факторов влияющих на производительность служащих
инженерно-технического центра.
Работа сотрудников вычислительных центров непосредственно связана с
компьютером, а соответственно, с дополнительным вредным воздействием целой
группы факторов, что существенно снижает производительность их труда. К таким
факторам можно отнести:
а) воздействие вредных излучений от монитора и от компьютера;
б) воздействие электромагнитных излучений;
в) неправильная освещенность;
г) не нормированный уровень шума;
д) не комфортные метеорологические условия;
и другие факторы.
.1 Анализ
условий труда оператора ЭВМ
Нормальная и безопасная работа человека - оператора во многом зависит от
того, в какой мере условия его работы соответствуют оптимальным. При этом под
условиями работы подразумевают комплекс физических, химических, биологических и
психофизиологических факторов, установленных стандартами по безопасности труда
(ССБТ).
К физическим факторам относятся: вибрация и шум из-за движущихся
машин, механизмов и их элементов, запыленность и загазованность воздуха,
температура поверхностей оборудования, материалов и воздуха; плотность воздуха,
ее резкое изменение, подвижность и ионизация воздуха; ионизирующие и
электромагнитные излучения, статические заряды и повышение напряжения в цепи,
электрические и магнитные поля; отсутствие или недостаток естественного света,
повышенная или пониженная освещенность, яркость и контрастность, пульсация
светового потока; ультрафиолетовая или инфракрасная радиация.
К химическим факторам относятся: общетоксические, раздражающие,
сенсибилизирующие, канцерогенные, мутагенные; действующие через дыхательные пути,
пищеварительную систему, кожный покров.
К биологическим факторам относятся: микроорганизмы (бактерии,
вирусы, грибы и т. п.); макроорганизмы (растения и животные).
К психофизиологическим факторам относятся перегрузки: физические
(статические, динамические, гиподинамия); нервно-психические (умственное
перенапряжение, монотонность труда, эмоциональные перегрузки). Рассмотрим
некоторые из указанных факторов.
Освещение. Хорошее освещение необходимо для выполнения большинства задач,
поставленных перед оператором. Чтобы правильно спланировать рациональную
систему освещения, необходимо учитывать яркость источников света, их
расположение в помещении, яркостный контраст между устройствами ЭВМ и фоном,
блесткость поверхностей, качество и цвет светильников и поверхностей. Для малой
и средней контрастности поверхности ЭВМ при темном фоне наименьший уровень
освещенности должен быть 150 лк [9]. Для большой контрастности при светлом или
темном фоне наименьший уровень освещенности 100 лк. ЭВМ эксплуатируют в
помещениях, где необходимо предусматривать систему искусственного освещения из
люминесцентных ламп дневного света или ламп накаливания. Существуют прямая,
отраженная и диффузная системы искусственного освещения. При прямом
освещении свет попадает на объекты непосредственно от источников света
(светильников). При этом 90-100% мощности светильника направлено на рабочую
поверхность, что вызывает яркостные контрасты, резкие тени и блесткость
(свойство ярко освещенной поверхности вызывать ослепление или дезадаптацию
наблюдателя). При освещении отраженным светом 90-100% света направляется
на потолок и верхнюю часть стен, от которых свет более или менее равномерно
отражается по всему помещению. При этом достигается ровная освещенность без
теней и блескости. Диффузное освещение обеспечивает рассеянный свет,
одинаково распределенный по всем направлениям. Такая система освещения требует
меньшей мощности, чем две предыдущие, но вызывает частичное образование теней и
блескости. Оптимальные условия освещения могут быть созданы при применении
светящегося потолка, когда источники света прикрываются полупрозрачной
поверхностью. Мягкий свет, льющийся с такого потолка, почти не создает теней и
блескости. При установке светильников следует избегать направления света на
оператора. Небольшое количество света, направленное в глаза наблюдателю, так
изменяет уровень адаптации его глаз, что он лишается способности видеть
освещаемый объект. С освещением тесно связано требование оптимального сочетания
цветов потолка, стен и пола помещения и установленного в нем оборудования,
которое должно основываться на учете как физических, так и психологических
факторов. При выборе цвета нужно исходить из требования создания условий для
хорошего отражения общего освещения, что улучшает условия зрительного восприятия.
Светлые оттенки всех цветов уменьшают поглощение света. Как правило, наибольшие
коэффициенты отражения требуются для потолков, несколько меньшие - для стен и
полов. Рекомендуется выбирать цвета бледных, «пастельных» оттенков. При этом
следует использовать совместимые группы цветов, чтобы тот или иной цвет не
казался неуместным, «не выпирал» из общей цветовой гаммы. В этом случае потолок
сможет отражать 80-90% света, стены - 50-60%, пол - 15-30%. Примером
совместимой гаммы цветов служит следующая окраска помещения: потолок - белого
цвета, верхняя часть стен - бледно-зеленого цвета, остальная часть стен -
зеленого цвета средней насыщенности, пол и драпировка - зеленого цвета средней
насыщенности, мебель - зеленовато-серого или светло-коричневого цвета. При
окраске различных помещений следует помнить, что цвета теплых тонов (красный,
желтый, коричневый) стимулируют активность человека, создают впечатление
бодрости и возбуждения. Цвета холодных тонов (синий, зеленый, фиолетовый)
создают впечатление «холода».
Температура. Температура окружающей среды существенно сказывается на
работоспособности человека, особенно на его умственной деятельности.
Установлено, что температуру +50 °С, намного превышающую допустимый уровень,
человек может выдержать в течение 1 ч. При +30 °С умственная деятельность
человека ухудшается, замедляется его реакция, что ведет к появлению ошибок. При
+11°С начинается окоченение конечностей, такая температура минимально
допустима. Наиболее благоприятный диапазон температур в летнее время от +18 до
+24°С, в зимнее время от +14-17 до +22 °С. Движение воздуха позволяет увеличить
рабочий диапазон температур. Так, при скорости движения воздуха 0,1; 0,5; 0,9
м/с верхняя допустимая граница рабочего диапазона сдвигается соответственно до
+22, 24, 26 °С при интенсивном расходе энергии человеком порядка 1000 Дж/ч.
Различные сочетания температуры и влажности сдвигают допустимые температурные
диапазоны (зоны комфорта) так, как представлено на рис. 6.1. Как правило,
значение относительной влажности в рабочем помещении не должно быть выше 70% и
ниже 30%.
Рис. 6.1. Зоны комфорта при воздействии температуры и влажности
Рис. 6.2. Зона комфорта при воздействии шума
Применение вентиляции в рабочих помещениях еще более улучшает условия
деятельности человека. Рекомендуемая интенсивность вентиляции для помещений с
установленными ЭВМ 0,5 - 1,0 м3 свежего воздуха в минуту на каждый 1
м2 пола.
Акустические шумы. Акустические шумы и борьба с ними приобрели большое
значение в последние годы со все возрастающим количеством различных механизмов,
машин, самолетов и т.д., являющихся источниками туковых колебаний различной
интенсивности. Шум резко снижает производительность труда и увеличивает травматизм.
Физиологически шум воздействует на органы зрения и слуха, повышается кровяное
давление, притупляется внимание. На рис. 6.2 представлены зоны относительного
акустического комфорта в помещениях. Внешняя зона соответствует неблагоприятным
уровням шума. Внутренняя зона - зона комфорта. Цифры обозначают процент звуков
речи, которые будут правильно услышаны человеком с нормальными органами слуха
при нормальном разговоре. Снижение шума достигается: правильной планировкой,
направленной на изолирование источников звука; установкой специальных средств,
преграждающих путь звуку; изоляцией вибрирующих машин с помощью соответствующих
звукопоглощающих приспособлений, использованием звукопоглощающих материалов.
Механические вибрации. Механические вибрации не только вредно воздействуют на
организм, но и мешают человеку выполнять как мыслительные, так и двигательные
операции. Зрительное восприятие ухудшается под действием вибрации, в
особенности на частотах между 25 и 40 Гц и между 60 и 90 Гц. Вертикальная
вибрация в большей степени влияет на операторов, работающих сидя, а
горизонтальная-на работающих стоя. На рис. 5.3 приведены зависимости различных
ощущений человека на вибрацию с различной частотой и амплитудой. Вибрации с
параметрами выше внешней кривой вызывают болевые ощущения. Человеческое тело
реагирует на вибрацию в основном так же, как механические системы. Когда
частота внешних колебаний приближается к частоте собственных колебаний
человеческого тела, равной примерно 5 Гц, действие вибраций на человека
неприятно.
Рис. 6.3. Ощущения человека при воздействии вибрации: I - не ощущается;
II - ощущается; III - беспокоит
6.2
Оборудование рабочего места оператора ЭВМ
В данном параграфе описаны средства, необходимые для работы инженера-конструктора,
и их расположение в помещении.
Рассмотрим необходимые для работы средства. Для решения поставленных
задач оператору ЭВМ необходимы:
- персональный компьютер;
- письменный стол для работы с документами, чертежами и книгами, а
также для размещения необходимых для эффективной работы приборов и
приспособлений;
принтер для печати необходимых документов.
Помещение имеет площадь 112 квадратных метров. Высота помещения
составляет 4м. Окна выходят на западную сторону и на них имеются жалюзи. Пол в
помещении покрыт линолеум. Стены выкрашены в бежевый цвет. Помещение освещено
двадцатью источниками дневного света.
В комнате располагаются десять рабочих мест операторов ЭВМ. Они включают
в себя компьютеры, столы, на котором расположены компьютеры, шкафы, а также
письменные столы. Конструкция стульев позволяет регулировать их высоту и наклон
спинки.
.3 Меры
борьбы с вредными воздействиями
.3.1
Санитарные нормы и стандарты безопасности
В целях обеспечения безопасности здоровья пользователей в Российской Федерации
действуют Санитарные нормы и правила "Гигиенические требования к
видеодисплейным терминалам, персональным электронно-вычислительным машинам и
организации работ" СанПиН 2.2.2.542-96 [6]. Цель Санитарных норм -
определить такие нормированные величины факторов воздействия, чтобы их вред был
минимальным, а условия труда - комфортными. Предельно допустимые уровни,
генерируемого монитором электромагнитного поля и поверхностного
электростатического потенциала установлены СанПиН 2.2.2.542-96 и приведены в табл.
6.1.
Таблица 6.1 ПДУ электромагнитного поля и поверхностного
электростатического потенциала монитора компьютера
|
Вид поля
|
Диапазон частот
|
Единица измерения
|
ПДУ
|
|
магнитное поле
|
5 Гц- 2 кГц
|
нТл
|
250
|
|
магнитное поле
|
2 - 400 кГц,
|
нТл
|
25
|
|
электрическое поле
|
5 Гц- 2 кГц
|
В/м
|
25
|
|
электрическое поле
|
2 - 400 кГц
|
В/м
|
2,5
|
|
эквивалентный
(поверхностный) электростатический потенциал
|
В
|
500
Наиболее жесткие требования к монитору предъявляет ТСО 95. Он
ограничивает параметры излучения монитора, потребления электроэнергии, визуальные
параметры, так что делает монитор наиболее лояльным к здоровью пользователя. В
части излучательных параметров ему соответствует и ТСО 92. Разработан стандарт
Шведской конфедерацией профсоюзов.
Стандарт MPR II менее жесткий устанавливает предельные уровни
электромагнитного поля примерно в 2,5 раза выше. Разработан Институтом защиты
от излучений (Швеция) и рядом организаций, в том числе крупнейших
производителей мониторов.
В части электромагнитных полей стандарту MPR II соответствует российские
санитарные нормы СанПиН 2.2.2.542-96 Гигиенические требования к видеодисплейным
терминалам, персональным электронно-вычислительным машинам и организации работ.
6.3.2
Средства защиты пользователей от ЭМП
В основном из средств защиты предлагаются защитные фильтры для экранов
мониторов. Они используется для ограничения действия на пользователя вредных
факторов со стороны экрана монитора, улучшает эргономические параметры экрана
монитора и снижает излучение монитора в направлении пользователя.
Мониторы, прошедшие тестирование на соответствие любому из шведских
стандартов ТСО, не требуют применения дополнительных средств защиты (при
условии соблюдения правил подключения к электрической сети).
Российский стандарт ГОСТ 27954 - 88 [3] на видеомониторы персональных
ЭВМ. Требования этого стандарта обязательны для любого монитора продаваемого в
РФ. Основные требования приведены в табл. 6.2.
Таблица 6.2 Российский стандарт ГОСТ 27954 - 88 на видеомониторы
персональных ЭВМ.
|
Характеристика монитора
|
Требования гост - 27954-88
|
|
Частота кадров при работе с
позитивным контрастом
|
Не менее 60 Гц
|
|
Частота кадров режиме
обработки текста
|
Не менее 72 Гц
|
|
Дрожание элементов
изображения
|
Не более 0,1 мм
|
|
Антибликовое покрытие
|
Обязательно
|
|
Допустимый уровень шума
|
Не более 50 дБА
|
|
Мощность дозы
рентгеновского излучения на расстоянии 5 см от экрана при 40 - часовой недели
|
Не более 0,03 мкР/с
|
Мониторы персональных компьютеров и рабочих станций при обязательной
сертификационным испытаниям по следующим параметрам:
1. Параметры безопасности - электрическая, механическая, пожарная
безопасность (ГОСТ Р 50377 - 92).
2. Санитарно-гигиенические требования - уровень звуковых шумов (ГОСТ
26329 - 84 или ГОСТ 2718 - 88), ультрафиолетовое, рентгеновское излучения и
показатели качества изображения (ГОСТ 27954 - 88).
3. Электромагнитная совместимость - излучаемые радиопомехи (ГОСТ
29216 - 91).
Сертификат выдается только на весь комплекс вышеперечисленных ГОСТов.
Также рекомендуется наличие на экранах мониторов антистатического
покрытия, которое препятствует возникновению на поверхности экрана
электростатического заряда, притягивающего пыль и не благоприятно влияющего на
здоровье пользователя.
.3.3
Требование к видеодисплейным терминалам и ПЭВМ
Визуальные эргономические параметры ВДТ являются параметрами безопасности,
и их неправильный выбор приводит к ухудшению здоровья пользователей. Все ВДТ
должны иметь гигиенический сертификат, включающий, в том числе, оценку
визуальных параметров.
Конструкция ВДТ, его дизайн и совокупность эргономических параметров должны
обеспечивать надежное и комфортное считывание отображаемой информации.
Конструкция ВДТ должна обеспечивать возможность фронтального наблюдения
экрана путем поворота корпуса в горизонтальной плоскости вокруг вертикальной
оси в пределах ± 30° и в вертикальной плоскости вокруг
горизонтальной оси в пределах ± 30° с фиксацией в
заданном положении. Дизайн мониторов должен предусматривать окраску в спокойные
мягкие тона с диффузным рассеиванием света. Корпус монитора и ПЭВМ, клавиатура
должны иметь матовую поверхность одного цвета с коэффициентом отражения 0,4 -
0,6 и не иметь блестящих деталей, способных создавать блики.
Конструкция ВДТ должна предусматривать наличие ручек регулировки яркости
и контраста, обеспечивающие возможность регулировки этих параметров от
минимальных до максимальных значений.
Конструкция ВДТ и ПЭВМ должна обеспечивать мощность экспозиционной дозы
рентгеновского излучения в любой точке на расстоянии 0,05 м. от экрана и
корпуса ВДТ при любых положениях регулировочных устройств не должна превышать
7,74х10 А/кг, что соответствует эквивалентной дозе, равной 0,1 мбэр/час (100
мкР/час).
Конструкция клавиатуры должна предусматривать:
- исполнение в виде отдельного устройства с возможностью свободного
перемещения;
- опорное приспособление, позволяющее изменять угол наклона
поверхности клавиатуры в пределах от 5 до 15 градусов;
высоту среднего ряда клавиш не более 30 мм;
расположение часто используемых клавиш в центре, внизу и справа,
редко используемых - вверху и слева;
выделение цветом, размером, формой и местом расположения
функциональных групп клавиш;
минимальный размер клавиш - 13 мм, оптимальный - 15 мм;
клавиши с углублением в центре и шагом 19 ±1 мм;
расстояние между клавишами не менее 3 мм;
одинаковый ход для всех клавиш с минимальным сопротивлением
нажатию 0,25 Н и максимальным - не более 1,5 Н;
звуковую обратную связь от включения клавиш с регулировкой
уровня звукового сигнала и возможности ее отключения.
.3.4
Требования к помещениям с ЭВМ
Согласно СН 512-78 [8] и СанПиН 2.2.2.542-96 здания ЭВМ следует помещать
с наветренной стороны ветров преобладающего направления по отношению к соседним
предприятиям, являющихся источниками выделений вредных веществ и пыли.
Площадь на одно рабочее место с ВДТ или ПЭВМ должна составлять на менее 6
м2, а объем - не менее 20 м3, а в учебных помещениях
соответственно не менее 6 м2 и 24 м3. В залах ЭВМ должно
предусматриваться автоматическое пожаротушение.
Применение для тушения пожара воды, порошковых огнетушителей недопустимо
- выводится из строя ЭВМ.
Здания и помещения для ЭВМ должны быть оборудованы системами центрального
отопления, приточно-вытяжной вентиляции, хозяйственно-питьевого водопровода.
.3.5
Требования к микроклимату помещений эксплуатации мониторов и ПЭВМ
В производственных помещениях, в которых работа с мониторами и ПЭВМ
является основной (диспетчерские, операторские, расчетные, кабины и посты
управления, залы вычислительной техники и др.) должны обеспечиваться
оптимальные параметры микроклимата, которые приведены в табл. 6.3, и являются
обязательными для соблюдения.
Для повышения влажности воздуха в помещениях с мониторами ПЭВМ следует
применять увлажнители воздуха, заправляемые ежедневно дистиллированной или
прокипяченной питьевой водой.
Таблица 6.3 Оптимальные и допустимые параметры температуры и
относительной влажности воздуха.
|
Оптимальные параметры
|
Допустимые параметры
|
|
температура, Со
|
относительная влажность, %
|
температура, Со
|
относительная влажность, %
|
|
19
|
62
|
18
|
39
|
|
20
|
58
|
22
|
31
|
|
21
|
55
|
|
|
Примечание: скорость движения воздуха - не более 0,1 м/с
.3.6
Требования к шуму
При выполнении основной работы на мониторах и ПЭВМ (диспетчерские,
операторские, расчетные, кабины и посты управления, залы вычислительной техники
и др.), где работают инженерно-технические работники, осуществляющие
лабораторный, аналитический или измерительный контроль, уровень шума не должен
превышать 60 дБА.
На рабочих местах в помещениях для размещения шумных агрегатов
вычислительных машин (АЦПУ, принтеры, сканеры и др.) уровень шума не должен
превышать 75 дБА.
Шумящее оборудование (АЦПУ, принтеры и др.), уровни шума которого
превышают нормированные, должно находится вне помещения с монитором и ПЭВМ.
Снизить уровень шума в помещениях с мониторами и ПЭВМ можно
использованием звукопоглощающих материалов с максимальными коэффициентами
звукопоглощения в области частот 63 - 8000 Гц для отделки помещений
(разрешенных органами и учреждениями Госсанэпиднадзора России), подтвержденных
специальными акустическими расчетами.
Дополнительным звукопоглощением служат однотонные занавеси из плотной
ткани, гармонирующие с окраской стен и подвешенные в складку на расстоянии 15 -
20 см от ограждения. Ширина занавеси должна быть в 2 раза больше ширины окна.
.3.7
Требования к освещению помещений и рабочих мест с мониторами и ПЭВМ
Искусственное освещение в помещениях эксплуатации мониторов и ПЭВМ должно
осуществляться системой общего равномерного освещения. Допускается
использование местного освещения, предназначенного для освещения зоны
расположения документов.
Освещенность на поверхности стола в зоне размещения рабочего документа
должна быть 300 - 500 лк. Допускается установка светильников местного освещения
для подсветки документов. Местное освещение не должно создавать бликов на
поверхности экрана и увеличивать освещенность экрана более 300 лк.
Для освещения помещений с мониторами и ПЭВМ следует применять светильники
серии ЛПО36 с зеркализованными решетками, укомплектованные высокочастотными
пускорегулирующими аппаратами (ВЧ ПРА). Допускается применять светильники серии
ЛПО36 без ВЧ ПРА только в модификации "Кососвет", а также светильники
прямого света - П, преимущественного света - Н, отраженного света - В.
Применение светильников без рассеивателей и экранирующих решеток не
допускается.
Яркость светильников общего освещения в зоне углов излучения от 50 до 90
градусов с вертикалью в продольной и поперечной плоскостях должна составлять не
более 200 кд/кв.м., защитный угол светильников должен быть не менее 40
градусов.
Светильники местного освещения должны иметь не просвечивающий отражатель
с защитным углом не менее 40 градусов.
Коэффициент пульсации не должен превышать 5%, что должно обеспечиваться
применением газоразрядных ламп в светильниках общего и местного освещения с
высокочастотными пускорегулирующими аппаратами (ВЧ ПРА) для любых типов
светильников. При отсутствии светильников с ВЧ ПРА лампы многоламповых
светильников или рядом расположенные светильники общего освещения включать на
разные фазы трехфазной сети.
.4 Расчет
системы искусственного освещения
Рациональное освещение помещений - один из наиболее важных факторов, от
которых зависит эффективность трудовой деятельности человека.
Хорошее освещение необходимо для выполнения большинства задач оператора.
Для того, чтобы спланировать рациональную систему освещения, учитывается
специфика рабочего задания, для которого создается система освещения, скорость
и точность, с которой это рабочее задание должно выполняться, длительность его
выполнения и различные изменения в условиях выполнения рабочих операций.
.4.1
Описание помещения, в котором располагается рабочее место
Помещение, в котором находится рабочее место оператора, имеет следующие
характеристики:
площадь помещения 112 кв.м (8х14);
высота 4 м;
число окон 8;
количество рабочих мест 10;
окраска интерьера: белый потолок, бежевые стены, пол покрыт линолеумом
серого цвета.
.4.2
Расчет освещения рабочего места
В помещении, где находится рабочее место оператора, используется
смешанное освещение, т.е. сочетание естественного и искусственного освещения.
В качестве естественного - боковое освещение через окна. Искусственное
освещение используется при недостаточном естественном освещении. В данном
помещении используется общее искусственное освещение.
Расчет его осуществляется по методу светового потока с учетом потока,
отраженного от стен и потолка [10].
Нормами для данных работ установлена необходимая освещенность рабочего
места Ен = 250 лк (средняя точность работы по различению деталей
размером от 1 до 10 мм). [ ]
Общий световой поток определяется по формуле:
, (6.1)
где Ен - нормированная освещенность (Ен=
250 лк);
S
- площадь помещения (S
= 112 кв.м);
z1
- коэффициент, учитывающий старение ламп и загрязнение светильников (z1 =
1,5);
z2
- коэффициент, учитывающий неравномерность освещения помещения (z2 =
1,1);
V
- коэффициент использования светового потока; определяется в зависимости от
коэффициентов отражения от стен, потолка, рабочих поверхностей, типов
светильников и геометрии помещения.
Выберем из таблицы [10] коэффициент использования светового потока по
следующим данным:
коэффициент отражения побеленного потолка Rп = 70%;
коэффициент отражения от стен, окрашенных в светлую краску Rст=50%;
коэффициент отражения от пола, покрытого линолеумом светлого цвета Rp
= 30%;
индекс помещения
; (6.2)
Найденный коэффициент V=0,39.
По формуле (6.1) определяем общий световой поток
= 118460
лм;
Для организации общего искусственного освещения выберем лампы типа ЛБ40.
Люминесцентные лампы имеют ряд преимуществ перед лампами накаливания: их
спектр ближе к естественному; они имеют большую экономичность (больше
светоотдача) и срок службы (в 10-12 раз). Наряду с этим имеются и недостатки:
их работа сопровождается иногда шумом; хуже работают при низких температурах;
их нельзя применять во взрывоопасных помещениях; имеют малую инерционность.
Для нашего помещения люминесцентные лампы подходят. Световой поток одной
лампы ЛБ40 составляет не менее Fл = 2810 лм. Число N
ламп, необходимых для организации общего освещения, определяется по формуле:
= 42,
(6.3)
В качестве светильников выбираем ПВЛ-1, 2х40 Вт. Таким образом, чтобы
обеспечить световой поток Fобщ=118460 лм надо использовать 21
светильник по 2 лампы ЛБ40 в каждом.
Электрическая мощность одной лампы ЛБ40 Wл=40 Вт.
Мощность всей осветительной системы:
общ = Wл × N = 40 × 42 = 1680 Вт.
Выводы
При эксплуатации помещения основное внимание должно уделяться обеспечению
соблюдения санитарных норм и требований к помещению. Должны быть рассмотрены и
учтены такие факторы, как освещение, климат, шум, объём и площадь помещения.
Проведённый анализ рабочего места инженера-программиста ОАО
"Морион" по перечисленным выше параметрам показал, что в большинстве
случаев они соблюдаются. Однако работающие компьютеры, модемы и другая
аппаратура в совокупности вызывают большой уровень шума. По площади и объёму
помещение соответствует нормам. Предусмотрена система дымоуловителей, однако
системы автоматического пожаротушения не существует. Климатические параметры,
такие как температура и влажность, запылённость, на мой взгляд, находятся в
норме. Конструкция стульев позволяет регулировать их высоту и наклон спинки.
Так же небольшое влияние оказывают электромагнитные поля, т.к. оборудования
сконцентрировано в просторных залах.
В последней части главы был произведен расчет системы искусственного
освещения, который показал, что для нормального освещения помещения необходимо
использовать не менее 21 светильника ПВЛ-1 с двумя лампами ЛБ40 в каждом.
Заключение
В ходе проектирования были достигнуты цели, поставленные в техническом
задании. А именно, разработан шлюз для аппаратуры ВТК-12, который в дальнейшем
планируется внедрить в единую систему мониторинга и администрирования, разрабатываемую
в настоящее время на ОАО «Морион».
Важнейшей особенностью разработанного шлюза является то, что он оформлен
в виде динамической библиотеки. Это значит, что в условиях современных темпов
развития технологий программирования, выпуск и внедрение новых версий шлюза не
потребует больших затрат. Разработанная библиотека имеет законченный набор
функций и содержит простой программный интерфейс для сопряжения ее с другими
программными модулями.
Проект был реализован с помощью популярной интегрированной среды
визуального программирования Borland
Delphi 5.0. Выбор был основан на простоте, легкости освоения и мощной поддержки
со стороны разработчиков пакета.
В дальнейшем предполагается разработка аналогичных программных средств
для всего вида оборудования, выпускаемого ОАО «Морион».
Данный проект является частью исследований, проводимых на предприятии с
целью создания универсальной единой системы мониторинга и администрирования,
охватывающий широкий спектр выпускаемой продукции. Приобретенные знания и навыки
будут использоваться при проектировании СУ нового поколения.
СПИСОК ЛИТЕРАТУРЫ
1. Архангельский
А.Я. Object Pascal в Delphi 5 - М.: “ЗАО Издательство БИНОМ”, 1999.-234с.: ил.
(Все о Delphi)
2. Архангельский
А.Я. Программирование в Delphi
5 - 2-е изд., переработ. и дополн. - М.: ЗАО «Издательство БИНОМ», 2000 г. -
1072 с.: ил.
. ГОСТ
27954 - 88 Видеомониторы персональных электронных вычислительных машины. Типы,
основные параметры, общие технические требования.
4. Методическое
указание по диплом. проектированию для студентов спец. 200900 «Сети связи и
системы коммуникации», 210100 «Управление и информатика в технических системах»
/ Сост. М.С. Волковой, О.В. Гончаровский, Т.С. Леготкина, В.И. Фрейман; Перм.
гос. техн. ун-т. Пермь, 2002. 45 с.
. Олифер
В.Г., Олифер Н.А.: Компьютерные сети. Принципы, технологии, протоколы. -СПб.:
Питер, 2001.-672 с.: ил.
6. СанПиН
2.2.2.542 - 96. Гигиенические требования к видеодисплейным терминалам,
персональным электронно-вычислительным машинам и организации работ / Госкомсанэпиднадзор
России МОСКВА 1996.
. Сибаров
Ю. Б. “Охрана труда в вычислительных центрах” и др., М. Машиностроение, 1990
г.;
. СН
512-78. Инструкции по проектированию зданий и помещений для
электронно-вычислительных машин. Госстрой СССР. М.: Стройиздат, 1979. 14 с.
. СНиП
П-4-79. Естественное и искусственное освещение. Нормы проектирования/ Госстрой
СССР. М.: Стройиздат, 1980. 48 с.
. Справочная
книга по светотехнике/ Под ред. Айзенберга Ю.Б. М.: Энергоатомиздат, 1983. 472
с.
. Трофимов
С.А. Case-технологии: практическая работа в Rational Rose - М.: ЗАО «Издательство БИНОМ», 2001 г. - 272 с.: ил.
. Экономическое
обоснование дипломных проектов: Метод. пособие для студентов
электротехнического факультета (дневного и заочного отделения)/ Сост. Ю.В.
Старков; Перм. гос. техн. ун-т, Пермь, 1997 34с.
Приложение 1
Описание классов
shlusobj;cNE = 1;= 2;= 3;= 4;= 5;= 6;= 7;= 8;= 9;= 10;_TYPE =
String[63];_NAME = ShortString;_NAME = String[15];= int64;_ID = (e0CI,e1CI);=
(disabled,enabled);= (idle,busy);= (sink, source);= class: OID;: Word;;= class
(TTop): EQUIP_Type;: EQUIP_Name;: Word;: Word;: Word;: operationalStateType;;=
class (TTop): EQUIP_TYPE;:operationalStateType;;= class (TTop): Word;;= class
(TTop): TTP_Name;_id : OID;_id : OID;_id : OID;: Signal_ID;:operationalStateType;;=
class (TTTP);= class (TTTP);= class (TTop): TTP_Name;_ID : OID;_ID: OID;;=
class (TTop)_ID : OID;: Word;;= class (TLinkEnd);= class (TLinkEnd);= class
(TTop)_ID : OID;_ID : OID;: Signal_ID;:operationalStateType;: UsageStateType;;=
class (TCTP);= class (TCTP);= class (TTop): OID;: OID;: Signal_ID;;.
Приложение 2
Блок-схема процедуры GateInit
Приложение 3
Структура ответов
ПРИЛОЖЕНИЕ 4
Листинг шлюза
gate;,,,;PackType:array [1..3] of EQUIP_Type =
('OK','VD','VDN');name:array [1..6] of char =
('A','B','C','D','E','F');NEList:TList;:TList;:TList;:TList;List:TList;:TList;:TList;:TStringList;:word;:OID;:string;
{$R *.RES}
//-------------------------------------------------------------------------LoadVTK(pathip:
string):byte; export; stdcall;
//загружает и декомпилирует конфигурацияGPEnabled:boolean;,j,z:integer;:OID;:TMemoryStream;,t2,k,buf1,buf11:byte;,b1,b2:boolean;,ChanelNumb:byte;:string;,Source:
set of byte;:array[1..9] of byte;:array [0..255] of integer;:array [0..255] of
integer;:TNE;:TCPack;:TAG;:TTTP;:TList;:TTTPBid;:TTTPSink;:TTTPSource;:TLinkEndSource;:TLinkEndSink;:TCTPSource;:TCTPSink;,LinkEndindex,CTPindex:integer;PortNormalise(Port:byte):byte;
//приведение значения к стандартному для удобстваPort of
$0B: Result:=0; //Cor
$0A: Result:=1; //First
$0F: Result:=2; //Second or F
$06: Result:=2; //Second or F
$0E: Result:=3; //E
$0D: Result:=4; //D
$09: Result:=5; //C
$05: Result:=6; //B
$01: Result:=7; //AResult:=0; //вообще-то это не
допустимо;;GetID(i1,i2,i3:byte):int64;:=(i1 mod 16)*4096+(i2 mod
16)*256+i3+Int64(GateID)*65536* 65536*65536
+IPID*65536;;GetSink(oldID:OID):OID;oldID of
..255: Result:=GetID(10,0,oldID-224);
..223: Result:=GetID(10,1,oldID-192);
..191: Result:=GetID(10,2,oldID-160);
..159: Result:=GetID(10,3,oldID-128);
..127: Result:=GetID(10,4,oldID-96);
..95 : if GPEnabled then:=GetID(5,0,oldID-64):=GetID(10,5,oldID-64);
..63 :
Result:=GetID(5,0,oldID-32);Result:=0;;;GetSource(oldID:OID):OID;oldID of
..255: Result:=GetID(9,0,oldID-224);
..223: Result:=GetID(9,1,oldID-192);
..191: Result:=GetID(9,2,oldID-160);
..159: Result:=GetID(9,3,oldID-128);
..127: Result:=GetID(9,4,oldID-96);
..95 : if GPEnabled then:=GetID(6,0,oldID-64):=GetID(9,5,oldID-64);
..63 :
Result:=GetID(6,0,oldID-32);Result:=0;;;.Clear;.Clear;.Clear;.Clear;.Clear;List.Clear;.Clear;:=0;(FileExists(InitPath+PathIP+'\vtk.cfg')=false)
or
(FileExists(InitPath+PathIP+'\switch.cfg')=false) then i:=2;i <> 0
then //если нет хотя бы одного файла, то ошибка:=i;;;
//------- начало загрузки -----------------:=0;i:=0 to 3
do:=IPID*256+StrToInt(copy(PathIP,i*4+1,3));:=False;:=TNE.Create;.ID:=GetID(1,0,0);.TypeNE:='VTK-12';.Name:=PathIP;.operationalState:=enabled;.TypeOBJ:=1;:=TMemoryStream.Create;.LoadFromFile(InitPath+PathIP+'\vtk.cfg');.Position:=$02;i:=1
to 9 do //опознаем типы плат.Read(buf1,1);[i]:=buf1;buf1<>0 then:=TCPack.Create;.TypecPack:=PackType[buf1];.ID:=GetID(2,0,i-1);.TypeObj:=2;.operationalState:=enabled;.Add(tmpCPack);;;.numCPacks:=CPackList.Count;.numAGs:=2;:=false;:=0;:=0;:=TList.Create;k:=0
to 1 do.Position:=$0B+$20*k;i:=0 to 31 do // читаем шины G и GP.Read(Buf1,1);Buf1<>0
then:=TTTP.Create;k=1 then GPEnabled:=true;:=1+(buf1-1) div
4;:=buf1-4*((buf1-1) div 4);BoardType[SlotNumb] of
: s:='OK';
: s:='VD';
:
s:='VDN';;:=s+IntToStr(SlotNumb)+'['+IntToStr(ChanelNumb)+']';.Id:=(i+k*32+32);.CPack_id:=GetID(2,0,SlotNumb-1);not
((SlotNumb=t1) and (ChanelNumb=t2)):=1;BoardType[SlotNumb] of
: s:=s+'.1';
: begin s:=s+'.1'; VDNEn:=true; end;;(buf11);BoardType[SlotNumb] of
: s:=s+'.2';
:
begin:=false;:=s+'.'+IntToStr(buf11);;;;.Name:=s;.SignalId:=e0CI;.Add(tmpOK);:=SlotNumb;:=ChanelNumb;//если
плата VDNVDNEn
then:=TTTP.Create;(Buf11);.Id:=i+k*32+32;.CPack_id:=GetID(2,0,t1);:='VDN'+IntToStr(t1)+'['+IntToStr(t2)+'].'+IntToStr(buf11);.Name:=s;.SignalId:=e0CI;.Add(tmpOK);;;;
//-----коммутация-------------.LoadFromFile(InitPath+PathIP+'\switch.cfg');.Position:=$16;
//метка на адрес первой конфигурации.Read(buf1,1); //читаем адрес первой
конфигурации.Read(buf11,1);.Position:=buf1*256+buf11;i:=0 to 255 do //загрузка
таблицы коммутации.Read(buf1,1);buf1=$10 then //в таблице недопустимое значение
- возникает, когда участник в конференции[i]:=0; //заводим его на
0.Position:=tmpFile.Position+1;.Read(buf11,1);[i]:=PortNormalise(buf1)*32+buf11;;(TableSink[i]=31)
or (TableSink[i]=i) then TableSink[i]:=0; //если нет связи или заведен на
себя;.Destroy;i:=32 to 255 do //избавляемся от ЦОРов(TableSink[i]>0) and
(TableSink[i]<32)TableSink[i]:=TableSink[TableSink[i]];:=’’;:=’’;i:=32 to
255 doTableSink[i]<>0
then(Sink,i);(Source,TableSink[i]);[TableSink[i]]:=i;;:=0;i:=0 to
tmpOKList.Count-1 do:=TTTP(tmpOKList[i]).ID;(tmpID in Sink) and (tmpID in
Source) then(TTPindex);:=TTTPBid.Create;tmpTTPBid do
begin:=4;:=TTTP(tmpOKList[i]).Name+'_bid';:=GetID(4,0,tmpID-32);_ID:=GetID(5,0,tmpID-32);_ID:=GetID(6,0,tmpID-32);;.Add(tmpTTPBid);;(tmpID
in Source) then(TTPindex);:=TTTPSource.Create;tmpTTPSource do
begin:=5;:=GetID(5,0,tmpID-32);:=TTTP(tmpOKList[i]).Name;_id:=GetSource(TableSource[tmpID]);_id:=TTTP(tmpOKList[i]).CPack_id;:=TTTP(tmpOKList[i]).SignalID;;.Add(tmpTTPSource);;(tmpID
in Sink) then(TTPindex);:=TTTPSink.Create;tmpTTPSink do
begin:=6;:=GetID(6,0,tmpID-32);:=TTTP(tmpOKList[i]).Name;_id:=GetSink(TableSink[tmpID]);_id:=TTTP(tmpOKList[i]).CPack_id;:=TTTP(tmpOKList[i]).SignalID;;.Add(tmpTTPSink);;;:=TAG.Create;.ID:=GetID(3,0,0);.TypeObj:=3;.numTTPs:=TTPindex;.Add(tmpAG);GPEnabled
then //если задействована шина GP:=5:=6;:=0;:=0;
//---------------------------------i:=1 to k do:=false;:=false;j:=0 to 31
do:=256-i*32+j;(tmpID in Source) then b2:=true;(tmpID in Sink) then
b1:=true;;b1 and b2 then //если порт двунаправленный(TTPindex);:=TTTPBid.Create;tmpTTPBid
do
begin:=E1Name[i]+'_bid';:=GetID(4,1,i-1);:=4;_ID:=GetID(5,1,i-1);_ID:=GetID(6,1,i-1);;List.Add(tmpTTPBid);;b1
thenb1<>b2 then inc(TTPindex);:=TTTPSource.Create;tmpTTPSource do
begin:=5;:=GetID(5,1,i-1);:=E1Name[i];_id:=GetID(7,0,i-1);:=e1CI;;List.Add(tmpTTPSource);:=TLinkEndSource.Create;tmpLinkEndSource
do begin:=7;:=GetID(7,0,i-1);_ID:=GetID(5,1,i-1);:=0;z:=0 to 1 doj:=1 to 15
do:=TCTPSource.Create;tmpCTPSource do begin:=9;:=GetID(9,i-1,j+z*16);_id:=GetSink(TableSink[256-i*32+j+z*16]);:=e0CI;;(CTPIndex);.Add(tmpCTPSource);;:=CTPIndex;;.Add(tmpLinkEndSource);;b2
thenb1<>b2 then inc(TTPindex);:=TTTPSink.Create;tmpTTPSink do
begin:=6;:=GetID(6,1,i-1);:=E1Name[i];_id:=GetID(8,0,i-1);:=e1CI;;List.Add(tmpTTPSink);:=TLinkEndSink.Create;tmpLinkEndSink
do begin:=8;:=GetID(8,0,i-1);_ID:=GetID(6,1,i-1);:=0;z:=0 to 1 doj:=1 to 15
do:=TCTPSink.Create;tmpCTPSink do
begin:=10;:=GetID(10,i-1,j+z*16);_id:=GetSource(TableSource[256-i*32+j+z*16]);:=e0CI;;(CTPIndex);.Add(tmpCTPSink);;:=CTPIndex;;.Add(tmpLinkEndSink);;;:=TAG.Create;.ID:=GetID(3,0,1);.TypeObj:=3;.numTTPs:=TTPindex;.Add(tmpAG);.numLinkEnds:=LinkEndList.Count;.Add(tmpNE);
//-------конец загрузки-----------------.Clear;.Free;:=0;;
//-------------------------------------------------------------------------GateInit(idGate:word;
Path:PChar; var PathList:TStringList); export; stdcall;
//инициализация шлюзаsr:TSearchRec;:integer;VTKExists(pathvtk:
string):boolean;
//поиск конфигурации VTKFileExists(Pathvtk+'\vtk.cfg') and
FileExists(Pathvtk+'\switch.cfg') then:=true:=false;;
Аunction PathIsIP(pathvtk: string):boolean;digit =
['0'..'9'];i,j:byte;:=true;Length(pathvtk)<>15 then //если длина не
соответствует IP-адресу:=false;;;i:=1 to 3 dopathvtk[i*4]<>'.' then
Result:=false; //если точки в нужном местеi:=0 to 3 do //цифры на нужных
позицияхj:=1 to 3 do(pathvtk[i*4+j] in digit) = false then:=false;;;i:=0 to 3
do //числа не более 255StrToInt(copy(pathvtk,i*4+1,3))>255
then:=false;;:=idGate;:=Path+'\';.Clear;.Clear;:=FindFirst(InitPath+'*',faDirectory,sr);ires=0
do(sr.name<>'.') and (sr.name<>'..') and (sr.attr and $10
<>0) thenVTKExists(InitPath+sr.name) and PathIsIP(sr.name)
then.Add(sr.name);.Add(sr.name);;:=FindNext(sr);;(sr);;
//-------------------------------------------------------------------------GetNEData(index:
LongInt; var List: TList):byte; export; stdcall;i,j,CTPIndex:integer;(index
> VTKList.Count) or (index <= 0)
then:=1;;;.Clear;:=LoadVTK(VTKList.strings[index-1]);.Add(NEList[0]);i:=1 to
CPackList.Count do.Add(CPackList[i-1]);.Add(AGList[0]);i:=0 to OKList.Count-1
do.Add(OKList[i]);.Add(AGList[1]);i:=0 to E1List.Count-1
do.Add(E1List[i]);:=0;i:=0 to LinkEndList.Count-1 do.Add(LinkEndList[i]);j:=1
to TLinkEnd(LinkEndList[i]).numCTPs do.Add(CTPList[CTPIndex]);(CTPIndex);;;;
//-------------------------------------------------------------------------GateClose;
export; stdcall;.Clear;;
//-------------------------------------------------------------------------GetGateInfo:PChar;
export; stdcall;:='Gate VTK-12 v1.1';;
//-------------------------------------------------------------------------DLLProcService(Reason:
Integer);Reason = DLL_PROCESS_DETACH
then.Free;.Free;.Free;.Free;.Free;.Free;List.Free;.Free;;;
//-------------------------------------------------------------------------,,,;:=
@DLLProcService;:=0;:=TList.Create;:=TList.Create;:=TList.Create;:=TList.Create;List:=TList.Create;:=TList.Create;:=TList.Create;:=TStringList.Create;.
Приложение 5
Листинг тестирующего приложения
unittest;, SysUtils, Classes, StdCtrls, Controls, Forms,, ExtCtrls,
FileCtrl;= class(TForm): TEdit;: TDirectoryListBox;: TMemo;: TButton;:
TDriveComboBox;: TListBox;: TButton;: TMemo;ButtonScanClick(Sender: TObject);DriveComboBox1Change(Sender:
TObject);ButtonViewClick(Sender: TObject);FormCreate(Sender: TObject);
{ Private declarations }
{ Public declarations };: TFormMain;
{$R *.DFM}
//описание интерфейсных функцию шлюзаGetGateInfo:PChar; stdcall; external
'gate.dll';GetNEData(index: LongInt; var List: TList):Byte; stdcall; external
'gate.dll';GateInit(idGate:word; Path:PChar; var NEList:TStringList); stdcall;
external 'gate.dll';GateClose; stdcall; external 'gate.dll';
//-------------------------------------------------------------------------TFormMain.FormCreate(Sender:
TObject);.Lines.Add('Подключенные модули:');.Lines.Add(' gate.dll -
'+GetGateInfo);;
//-------------------------------------------------------------------------TFormMain.ButtonScanClick(Sender:
TObject);i:longword;:string;:TStringList;.Text:='Ждите';.Update;:=DirectoryListBox1.Directory;s[length(s)]='\'
then
s:=copy(s,1,Length(s)-1);:=TStringList.Create;(1,PChar(s),tmpList);.Text:='Количество
конфигураций: '+IntToStr(tmpList.Count);.Items.Clear;i:=1 to tmpList.Count
do.Items.Add(tmpList.strings[i-1]);;
//-------------------------------------------------------------------------Encode(List:TList);AddMemo(s:string);.MemoCfg.Lines.Add(s);;i:integer;:string;:TNE;:TCPack;:
TAG;:TTTPBid;:TTTPSink;:TTTPSource;:TLinkEndSource;:TLinkEndSink;:TCTPSource;:TCTPSink;List.Count=0
then exit;.MemoCfg.Visible:=false;.MemoCfg.Lines.Clear;i:=0 to List.Count-1
doTTop(List[i]).TypeOBJ of::=List[i];('NE ID:'+IntToStr(tmpNE.ID)+';
Type:'+tmpNE.TypeNE+'; Name:'+tmpNE.Name+';
Packs:'+IntToStr(tmpNE.numCPacks)+'; AG:'+IntToStr (tmpNE.numAGs)+';
LinkEnd:'+IntToStr(tmpNE.numLinkEnds));;::=List[i];(' CPack
ID:'+IntToStr(tmpCPack.ID)+'; Type:'+tmpCPack. TypecPack);;::=List[i];(' AG
ID:'+IntToStr(tmpAG.ID)+'; TTP Count:'+IntToStr (tmpAG.numTTPs));;::=List[i];('
TTPBid ID:'+IntToStr(tmpTTPBid.ID)+'; Name:'+tmpTTPBid. Name+';
TTPSource_ID:'+IntToStr(tmpTTPBid.TTPSource_ID)+'; TTPSink_ID:'
+IntToStr(tmpTTPBid.TTPSink_ID));;::=List[i];tmpTTPSource.SignalID ofCI:
s:='e0CI';CI: s:='e1CI';;(' TTPSource ID:'+IntToStr(tmpTTPSource.ID)+'; Name:'+
tmpTTPSource.Name+'; TP_ID:'+IntToStr(tmpTTPSource.tp_id)+'; CPack_ID:'+
IntToStr(tmpTTPSource.cPack_id)+'; LE_ID:'+IntToStr(tmpTTPSource.linkend_id)+';
Signal:'+s);;::=List[i];tmpTTPSink.SignalID ofCI: s:='e0CI';CI: s:='e1CI';;('
TTPSink ID:'+IntToStr(tmpTTPSink.ID)+'; Name:'+tmpTTPSink.Name+';
TP_ID:'+IntToStr(tmpTTPSink.tp_id)+';
CPack_ID:'+IntToStr(tmpTTPSink.cPack_id)+';
LE_ID:'+IntToStr(tmpTTPSink.linkend_id)+'; Signal:'+s);;::=List[i];(' LinkEndSource
ID:'+IntToStr(tmpLinkEndSource.ID)+';
TP_ID:'+IntToStr(tmpLinkEndSource.TTP_id)+'; CTP Count:'+IntToStr
(tmpLinkEndSource.numCTPs));;::=List[i];(' LinkEndSink
ID:'+IntToStr(tmpLinkEndSink.ID)+'; TP_ID:'+IntToStr(tmpLinkEndSink.TTP_id)+';
CTP Count:'+IntToStr
(tmpLinkEndSink.numCTPs));;::=List[i];tmpCTPSource.SignalID ofCI: s:='e0CI';CI:
s:='e1CI';;(' CTPSource ID:'+IntToStr(tmpCTPSource.ID)+';
TP_ID:'+IntToStr(tmpCTPSource.tp_id)+'; CPack_ID:'+IntToStr
(tmpCTPSource.cPack_id)+'; Signal:'+s);;::=List[i];tmpCTPSink.SignalID ofCI:
s:='e0CI';CI: s:='e1CI';;(' CTPSink ID:'+IntToStr(tmpCTPSink.ID)+';
TP_ID:'+IntToStr
(tmpCTPSink.tp_id)+';CPack_ID:'+IntToStr(tmpCTPSink.cPack_id)+';
Signal:'+s);;;;.MemoCfg.Visible:=true;;
//-------------------------------------------------------------------------TFormMain.ButtonViewClick(Sender:
TObject);List:TList;:integer;:=TList.Create;:=GetNEData(ListBoxIP.ItemIndex+1,List);i=0
then(List);.Text:='Код ошибки: '+IntToStr(i);.Clear;.Free;;.
Похожие работы на - Разработка шлюза аппаратуры ВТК-12 для единой системы мониторинга и администрирования
|