Разработка системы удаленного сбора информации в SCADA-среде
Разработка
системы удаленного сбора информации в SCADA-среде
Введение
Диспетчерское управление и сбор данных SCADA
(Supervisory Control And Data Acquisition) в настоящее время является основным
и наиболее перспективным методом автоматизированного управления сложными
динамическими системами в жизненно важных и критичных с точки зрения
безопасности и надежности областях. На принципах диспетчерского управления
строятся крупные автоматизированные системы в промышленности, энергетике, на
транспорте, в космической и военной отраслях. За последние 10-15 лет резко
возрос интерес к проблемам построения высокоэффективных и надежных систем
диспетчерского управления и сбора данных. С одной стороны, это связано со
значительным прогрессом в области вычислительной техники, программного
обеспечения и телекоммуникаций, что увеличивает возможности и расширяет сферу
применения автоматизированных систем. Так, на сегодняшний день технологии в
области передачи данных, такие как Internet, GSM-SMS и WAP, представляют особый
интерес в связи с возможностью их использования в АСУ ТП.
При разработке распределенных или рассредоточенных
систем, для которых удаленность объекта измеряется в десятках километрах, для
проектировщика предоставляются следующие пути решения:
– прокладка физического канала связи;
– беспроводная связь.
Беспроводная связь, в свою очередь делится на радио,
спутниковую, сотовую и т.д.
Сотовая связь получила наибольшее развитие в последние
годы. Среди стандартов сотовой связи по своей распространенности выделяется
цифровой стандарт GSM. В настоящее время цифровые сети GSM являются наиболее
безопасными беспроводными телефонными сетями общего назначения в мире. Для
аутентификации мобильного телефона применяются трехуровневые алгоритмы с длиной
ключа до 128 бит. Эти алгоритмы настолько надежны, что несанкционированное
подключение в сеть практически исключено. По крайней мере без физического
копирования SIM-карты (Subscriber Identification Module), находящегося внутри
телефона или сотового модема. Вся передаваемая информация также автоматически
шифруется при помощи алгоритма A5 с длиной ключа в 114 бит. Хотя, в последнее
время появились сообщения о взломе алгоритма A5, прослушивание GSM-разговоров
недоступно без применения спецсредств и вряд ли может вестись в реальном
времени.
Наиболее перспективной для телемеханики на базе GSM
является технология SMS (Short Message Service) позволяющая осуществлять обмен
между персональными компьютерами, контроллерами и сотовыми телефонами
текстовыми сообщениями, каждое из которых не превышает 160 байт. SMS является
составной частью бурно развивающейся технологии WAP (Wireless Application
Protocol) предназначенной для беспроводного доступа в Internet. Но все-таки для
активного применения в промышленности на сегодняшний день это довольно
"молодая" технология, которая имеет свои плюсы и минусы. Для систем
подобного рода необходимо учесть ряд ограничений, которые накладывает SMS-технология. Ограничения:
– невысокая скорость обмена. Связано это с тем, что передача информации
происходит пакетами посредством SMS-сообщений по 160 символов за сеанс;
– негарантированная по времени доставка информации. (Но в то же
время - передача сообщения гарантирована уведомлением от оператора о статусе
передачи)
Последний параметр весьма относительный, так как в
большинстве случаев время доставки зависит от пропускной способности оператора
и уровня сигнала в районе объекта управления.
Наши тесты показывают, что минимальное время
прохождение команд управления, при международном роуминге, составляет не более
8 секунд с момента отправки сообщения.
Исходя из этих ограничений, можно с уверенностью
использовать данный метод связи для построения информационных систем АСУ ТП не
критичных ко времени доставки. Все функции сбора, обработки данных и управления
можно выполнять локально. А накопленные результаты и технологические показания
можно передавать на центральный диспетчерский пульт, например, раз в час или в
сутки, все зависит от требований к динамике отображения информации. Для многих
технологических процессов такие системы телеуправления очень актуальны.
Например: АСУ штанговыми насосами на кустах нефтяных скважин, АСУ тепловыми
пунктами, системы учета энерго-, газо- и водопотребления и т.д. На крупных
предприятиях GSM может служить централизованной системой оперативного
оповещения специализированного рабочего персонала при возникновении нештатных
ситуаций. На сегодняшний день для руководящего персонала (а на некоторых
предприятиях и для технического персонала) уже не в новинку иметь собственный
сотовый телефон. Таким образом, применение GSM телемеханики на производстве
значительно расширяет функциональность системы. Помимо информационных систем
АСУ ТП, GSM может с успехом применяться в системах управления, там, где время
доставки команды не критично для технологического процесса. Например, подать
команду на перевод в резервный режим одного из пары насосов, работающих на
удаленных водозаборах. Тем не менее, GSM-технология в современных
SCADA-системах не являются глобальным решением звена коммуникационных систем.
Однако, это эффективное частное решение для определенного круга задач
распределенных АСУ ТП. Причем, заметим, - решение довольно дешевое и быстрое в
реализации.
1
Постановка задачи
Предлагаемые решения по составу и структуре
автоматизированной системы контроля радиационной обстановки соответствуют
структуре действующих в настоящее время постов и системы в целом.
Разрабатываемая система, как и ныне действующая, решает задачу радиационного
контроля территорий, находящихся под потенциальной угрозой радиоактивного
заражения, информирование соответствующих структур о радиационной обстановке и
оповещение об обстановке, сопровождающейся превышением уровнем облучения
естественных фоновых значений.
Как и эксплуатирующаяся система, вновь разрабатываемая
информационно-измерительная система является системой с распределенной
структурой, функционирующей в реальном масштабе времени. В ней можно выделить
два уровня: нижний уровень обеспечивает сбор и обработку данных от блоков
детектирования, контролирующих радиационные параметры, и датчиков других
параметров; верхний уровень образует централизованную систему сбора и обработки
информации.
Нижний уровень системы образуют датчики и блоки
детектирования, осуществляющие измерение основных контролируемых параметров,
аппаратура передачи информации, поступающей от датчиков и блоков
детектирования, на локальные устройства представления информации и аппаратуру
каналов передачи информации на устройства верхнего уровня.
В состав технических средств нижнего уровня входят:
датчики контроля мощности дозы фотонного излучения;
устройства приема информации от датчиков, временного
хранения, индикации и управления процессами сбора и передачи информации
(контроллеры);
средства передачи информации от постов в систему
верхнего уровня по выделенным или коммутируемым проводным каналам связи, по
радиоканалам, по сети GSM-
и/или GPRS-связи.
В дальнейшем система должна допускать возможность
увеличения числа параметров контроля и управления за счет включения в ее
состав, например, постов метеорологического контроля, измерения режимов работы
постов, обеспечивающих их нормальное функционирование, реализации некоторых
функций управления дополнительными устройствами и т. п.
При нормальном режиме работы все посты контроля на
местности функционируют в автоматическом режиме и с заданной периодичностью, по
вызову или по прерыванию передают информацию по каналам связи на центральный и
резервный посты контроля, где также в автоматическом режиме ведется непрерывный
контроль и осуществляется периодическая регистрация текущих значений
контролируемых параметров. Режим работы системы - непрерывный, круглосуточный.
Программно-технические средства верхнего уровня должны
представлять собой информационно-вычислительную систему, обеспечивающую решение
следующих задач:
– сбор, накопление и архивация информации, поступающей от устройств нижнего
уровня;
– предоставление оператору интерактивных средств взаимодействия
с программно-техническими средствами при помощи современного человеко-машинного
интерфейса;
– обеспечение иерархии видео-слайдов, представляющих данные по
сигнализации и состоянию контролируемых параметров;
– обработка и представление контролируемых параметров в форме,
удобной для восприятия, диагностики и принятия решений;
– предоставление оператору средств документирования и
архивации.
Система АСТРК-СХК - двухуровневая
информационно-измерительная система с распределенной структурой,
функционирующая в реальном времени:
– нижний уровень представляет собой оборудование постов контроля,
обеспечивающее измерения и предварительную обработку информации о
контролируемых параматрах на местности и передачу на верхний уровень, с
возможностью сохранения информации в энергонезависимой памяти в случае
аварийного отключения электропитания;
– верхний уровень представляет собой оборудование для получения
и сбора данных с нижнего уровня, ее обработку, анализ, долговременное хранение,
визуальное отображение на мониторе ПЭВМ и представление в требуемой форме.
Связь между верхним и нижним уровнями системы
АСТРК-СХК осуществляется с использованием линий связи сотовых (стандарта GSM) или проводных телефонных станций.
При этом предпочтение должно быть отдано сотовой связи.
2
Технические требования к системе (интерпретация технического задания)
2.1 Структура нижнего уровня разрабатываемой системы
АСТРК-СХК
Нижний уровень образует оборудование постов контроля.
Структура нижнего уровня макета системы АСТРК-СХК должна обеспечивать
возможность подключения датчиков различных типов. Оборудование поста контроля
должно содержать минимальное количество блоков и структурных элементов и
включать:
– стандартные датчики контроля параметров, например, блоки детектирования,
осуществляющие измерение МЭД гамма-излучения, типа БДМГ-08Р, БДМГ-02Р или
аналогичные по характеристикам;
– блок предварительной обработки информации (вновь
разрабатываемый блок на основе стандартных контроллеров), поступающей от
первичных приборов;
– стандартный IBM-совместимый
модем.
2.2 Алгоритм функционирования оборудования нижнего
уровня разрабатываемой системы АСТРК-СХК
С датчиков контроля параметров информация поступает на
блок предварительной обработки информации, который производит измерения величин
контролируемых параметров. Полученные данные с использованием модема передаются
по запросу на оборудование верхнего уровня по линиям связи сотовых (стандарта GSM) телефонных станций (должна быть
предусмотрена возможность передачи данных с использованием линий связи
проводных телефонных станций).
2.3
Структура верхнего уровня разрабатываемой системы АСТРК-СХК.
Верхний уровень образует оборудование пунктов сбора
данных. Структура верхнего уровня макета системы АСТРК-СХК должна обеспечивать
прием, обработку и отображение информации. Оборудование пункта сбора данных
должно включать:
– стандартный IBM-совместимый
модем или GSM-модем;
– ПЭВМ.
2.4 Алгоритм функционирования оборудования верхнего
уровня разрабатываемой системы АСТРК-СХК
Автоматический циклический опрос оборудования нижнего
уровня системы АСТРК-СХК производится с использованием оборудования пункта
сбора данных с заданной периодичностью штатного опроса. С помощью ПО ПЭВМ через
модем обеспечивается вызов автоматической телефонной станции (АТС), анализ
ответного сигнала, анализ состояния соединения, приём данных, анализ
достоверности принятой информации, преобразование информации в установленную
форму, запись данных и их хранение, отключение от телефонной линии. При
отрицательном результате попытки получения данных, процесс опроса повторяется
заданное число раз, после чего автоматически уменьшается период опроса до
заданного значения аварийного опроса. После положительного результата
осуществления сеанса связи период опроса автоматически возрастает до заданной
периодичности штатного опроса.
В макете системы АСТРК-СХК должна быть предусмотрена
возможность оперативного изменения числа попыток получения информации,
периодичности штатного и аварийного опросов.
контроллер модуль удаленный сервер
2.5
Требования к передаче информации
Для передачи информации на верхний уровень от
оборудования нижнего уровня в макете системы АСТРК-СХК должны использоваться
линии связи сотовых телефонных станций:
– стандарт сотовой связи - GSM-900;
– оператор сотовой связи - компания МТС.
В макете системы АСТРК-СХК должна быть предусмотрена
возможность передачи данных с использованием линий связи проводных телефонных
станций.
2.6 Технические характеристики
Первичные приборы должны быть стандартных типов. В
качестве примера даны характеристики для блока детектирования МЭД
гамма-излучения типа БДМГ-08Р.
Блок детектирования:
– диапазон измерения МЭД гамма-излучения от 10мкР/ч до 100000мкР/ч;
– диапазон рабочих температур от -30°С до +60°С;
– выходной сигнал - цифровой сигнал или импульсный поток;
– питание - от блока предварительной обработки информации.
В качестве блоков детектирования МЭД гамма-излучения в
макете АСТРК-СХК могут применяться, например, блоки детектирования типа
БДМГ-08Р, БДМГ-02Р или аналогичные им по характеристикам согласно ЖШ 2.328.655.
Блок предварительной обработки информации, должен
обеспечивать питание первичных приборов и согласование с их сигналами в
зависимости от выбранного типа датчика:
– - сигнал обмена информацией между модемом нижнего уровня и блоком
предварительной обработки информации - цифровой в формате интерфейса RS 232, со стандартным набором команд
(без дополнительной прошивки стандартного модема);
– напряжение питания 220В/50Гц;
– диапазон рабочих температур от +5°С до +35°С;
– энергонезависимая память с возможностью накопления информации
о мощности дозы гамма-излучения (1000 значений);
– предел измерений - согласно документации на применяемый блок
детектирования;
– основная погрешность измерения не более 30%;
– индикатор - семисегментный с диапазоном индикации от 0 мкР/ч
до 100 000 мкР/ч;
– режим работы - непрерывный круглосуточный;
– возможность подключения внешнего информационного табло.
Стандартный IBM-совместимый модем:
– тип модема - IDC 5614 BXL/VR ext или аналогичный по характеристикам;
– конструктивное исполнение - внешний модем;
– напряжение питания - 220В/50Гц;
– диапазон рабочих температур от +5°С до +35°С;
– режим работы - непрерывный круглосуточный.
ПЭВМ - IBM-совместимый
компьютер под управлением операционной системы «Windows».
2.7 Технические требования к программному обеспечению.
ПО должно работать под управлением операционной
системы «Windows» и обеспечивать выполнение следующих функций (см. документацию
на «Программный комплекс «Мониторинг»» инв. №26/2747):
– сбор данных от постов контроля действующей системы АСТРК-СХК на основе
разрабатываемой аппаратной части в автоматическом и ручном режимах путём периодического
опроса постов контроля;
– оперативное представление информации о результатах контроля
на экране монитора с использованием карт-схем района расположения комбината;
– обработка собранных данных на основе методов обработки ПО
действующей системы АСТРК-СХК;
– представление результатов измерений в виде таблиц, графиков и
диаграмм на экране монитора с возможностью вывода на печать;
– подача тревожной (световой и звуковой) сигнализации при
обнаружении превышения заданных уровней;
– подготовка и печать отчетов за заданный оператором период
времени.
– автоматическая диагностика состояния оборудования действующей
системы АСТРК-СХК на основе разрабатываемой аппаратной части в соответствии с
перечнем стандартных неисправностей (перечень стандартных неисправностей
предоставляется ЗАКАЗЧИКОМ).
Конкретные требования к ПО: организация и функции базы
данных, главное окно программы, дизайн, организация интерфейса, настройки и
опции программы и т.п. - определяются в рабочем порядке по согласованию сторон
на этапе разработки первой версии программного обеспечения по п.3.4.
Настоящие исходные данные и технические требования
могут уточняться в процессе выполнения работ по взаимному согласию сторон в
рабочем порядке.
2.8
Структура и состав разрабатываемой системы АСТРК-СХК
Рисунок 1 Структура и состав разрабатываемой системы
АСТРК-СХК
3
Обзор и анализ типов датчиков для работы в системе
3.1 Классические и интеллектуальные подходы к
разработке системы
На предшествующих этапах развития атомной
промышленности на предприятиях были установлены приборы, объединенные в систему
по принципу, который условно можно обозначить, как классический. Он
предполагает реализацию функций накопления и обработки данных с устройств
нижнего уровня на промежуточных устройствах (УНО), находящихся между датчиками
нижнего уровня и устройствами верхнего уровня в соответствии с наилучшими
достигнутыми на определенный момент времени техническими и эксплуатационными
параметрами. На эти устройства поступают сигналы с разного рода детекторов. В
этом случае обеспечивается передача в общем случае ненормированных сигналов
через различное число промежуточных цепей преобразования. Таким образом, к
устройствам верхнего уровня, либо на исполнительные устройства (ИУ) данные приходят
с искажениями. В течение достаточно продолжительного периода времени упомянутый
подход устраивал потребителей, позволяя удовлетворительно решить стоявшие перед
ними задачи.
На сегодняшний день положение изменилось. Стали
очевидны неустранимые недостатки классической реализации систем радиационного
контроля. Во-первых, в подавляющем большинстве случаев каждый датчик нуждается
в разработанной специально для него уникальной плате, требуя отдельного
коэффициента преобразования. Во-вторых, возникающие в ходе разработки
трехуровневых систем проблемы с рассогласованием линий передачи информации,
приводят к утрате измерительными каналами идентичности, усложняя процессы смены
рабочей конфигурации и в предельных ситуациях делая их невозможными. Кроме
того, перечисленные негативные черты систем с УНО на практике не позволяют
быстро провести их точную диагностику, настройку и перенастройку. Любое
изменение состава подобных систем радиационного контроля (как при наращивании,
так и при сокращении числа контролируемых параметров) неизбежно приводит к
необходимости переработки большей части документации, значительным изменениям в
проекте и как следствие, его удорожанию.
Классический подход принципиально расходится с
объективными тенденциями к унификации, универсализации и минимизации числа
узлов и блоков, необходимых для построения надежно функционирующей гибкой
системы. Разработчики ограничены в выборе средств повышения надежности
измерительного канала, а учет индивидуальных особенностей каждого детектора в
пределах одной серии недостижим в принципе. Все современные изделия обычно
должны быть программно управляемыми.
В связи со всем перечисленным выше, актуальным
представляется построение технических средств на основе именно
"интеллектуальных" устройств детектирования, удовлетворяющих
современным требованиям к ремонтопригодности, эргономическим показателям,
показателям технической эстетики, удобству технического обслуживания, ремонта и
хранения. Прежде всего, за последние несколько лет произошел качественный
скачок в развитии элементной базы для нужд приборостроения. В частности,
внедрение новых совершенных микроконтроллеров наделяет новую технику такими
недоступными ранее программно-аппаратными функциями, как самодиагностика,
индивидуальная настройка и возможность гибкой интеграции оборудования в
действующую систему.
Фактически, потребителю предоставляется законченный
аттестованный измерительный канал, с заранее определенными идентичными
свойствами. При этом собственно процесс поверки канала сводится к контролю
частоты в двух точках. Особенно упрощается процесс проверки связи. Обычно в
энергонезависимую память устройств детектирования помещается подробная
спецификация изделия, все потенциально востребованные коэффициенты и пороговые
значения. Интеллектуальные устройства детектирования, таким образом, становятся
взаимозаменяемыми из состава ЗИП без дополнительной настройки.
Обмен данными происходит строго в соответствии с
разработанным протоколом обмена данными, поддерживающем работу в нескольких
режимах при формировании диагностических отчетов по запросам устройства
верхнего уровня (УВУ).
В изделиях рассматриваемого комплекта основные узлы
унифицированы для всех приборов, что облегчает их эксплуатацию, размещение и
ремонт. Система становится по настоящему гибкой. Для коммутации широко
используется распространенный промышленный электрический интерфейс RS 485, что,
в свою очередь, также значительно способствует повышению надежности и удобству
обращения с устройствами.
Следует обратить внимание на то обстоятельство, что
для успешного обслуживания оборудования благодаря продуманным конструкторским
решениям больше нет необходимости ни демонтировать изделие, ни нарушать его
целостность. Наряду с органами управления существуют отдельные технологические
разъемы, через которые и проводятся необходимые операции.
Изделия выполняют в составе системы функцию
периферийного устройства и лишены возможности самостоятельно инициировать обмен
данными с УВУ.
Вследствие интеллектуализации устройств детектирования
достигается ориентация верхнего уровня системы исключительно на задачи
управления потоками данных и выполнению алгоритма работы системы в целом,
вопреки сложившейся традиции дополнительно возлагать на центральный процессор
общего назначения процедуры обработки. Все скоростные операции переносятся на
периферийные контроллеры.
После подачи напряжения питания изделия автоматически
начинают работу под управлением встроенной программы, выдерживается время
установления рабочего режима, после чего изделия должны начать исполнение
действий режима измерений. Приборы в составе системы по истечению времени
установления рабочего режима готовы к исполнению измерительных функций,
используя исключительно начальные действующие значения. Время установления
готовности изделия к обмену данными по шинам обмена не превосходит 5 с.
Устройства могут функционировать в одном из двух
режимов обмена. В подготовительном режиме обмена данными задаются скорость
обмена и сетевой адрес, а также закладываются и считываются коэффициенты
преобразования частоты импульсов детектора в значение измеряемой величины. В
основном режиме обмена данными работа начинается с проверки работоспособности
(самодиагностирования). Помимо этого, изделие по команде УВУ переходит в режим
самодиагностирования. Завершение режима самодиагностирования происходит
автоматически, после чего производится возврат в режим измерения. После
завершения режима самодиагностирования ведущее устройство может запросить его
результаты специальной командой.
3.2 Интеллектуальные блоки детектирования
В качестве примера интеллектуального подхода
рассмотрим продукцию фирмы «Атомтех».
Интеллектуальный блок детектирования гамма-излучения
БДКГ-08
Широкодиапазонный интеллектуальный блок детектирования
гамма-излучения, предназначенный для проведения контроля радиационной обстановки
на территории радиационно-опасных помещений и объектов, а также для проведения
радиационного мониторинга окружающей среды.
Измерение мощности амбиентной эквивалентной дозы
гамма-излучения в диапазоне энергий 60 кэВ - 3 МэВ до 5 Зв/ч.
Особенности:
– Широкий диапазон измерения мощности амбиентной эквивалентной дозы
гамма-излучения;
– Является интеллектуальным блоком детектирования (интерфейс
RS485);
– Возможность работы в широком диапазоне температур в полевых
условиях (IP57).
Области применения:
– Предприятия атомной промышленности;
– Радиологические медицинские учреждения;
– Промышленные предприятия;
– Радиоизотопные и дозиметрические лаборатории;
– Объекты гражданской обороны.
Основные характеристики:
– Детектор счетчик Гейгера-Мюллера СИ-29БГ;
– Диапазон измерения мощности амбиентной эквивалетной дозы
гамма-излучения 0,1 мкЗв/ч - 5 Зв/ч;
– Диапазон энергии 60 кэВ - 3 МэВ;
– Основная погрешность измерения не более ± 15 %;
– Энергетическая зависимость чувствительности -25 - +35 %;
– Чувствительность по 137Cs 6 имп•с-1/мкЗв•ч-1;
– Диапазон рабочих температур - 30 - + 50°С;
– Относительная влажность воздуха;
– при температуре 35°С до 98 %;
– Класс защиты IP57;
– Время непрерывной работы не менее 24 ч.
Интеллектуальный блок детектирования гамма-излучения БДКГ-08
может входить в комплект поставки измерителя-сигнализатора СРК-АТ2327 (системы
автоматического радиационного контроля), а также работать автономно в реальном
режиме времени путем подключения через кабель к ПЭВМ.
Интеллектуальный блок детектирования гамма-излучения
БДКГ-02
Широкодиапазонный интеллектуальный блок детектирования
гамма-излучения, предназначенный для проведения контроля радиационной
обстановки на территории радиационно-опасных помещений и объектов, а также для
проведения радиационного мониторинга окружающей среды.
Измерение мощности амбиентной эквивалентной дозы
гамма-излучения в диапазоне энергий 60 кэВ - 3 МэВ до 10 Зв/ч.
Особенности:
– Широкий диапазон измерения мощности амбиентной эквивалентной дозы
гамма-излучения;
– Является интеллектуальным блоком детектирования (интерфейс
RS485);
– Возможность работы в широком диапазоне температур в полевых
условиях (IP57).
Области применения:
– Предприятия атомной промышленности;
– Радиологические медицинские учреждения;
– Промышленные предприятия;
– Радиоизотопные и дозиметрические лаборатории;
– Объекты гражданской обороны.
Основные характеристики:
– Детектор счетчик Гейгера-Мюллера СИ-42Г;
– Диапазон измерения мощности амбиентной эквивалетной дозы
гамма-излучения 0,1 мкЗв/ч - 10 Зв/ч;
– Диапазон энергии 60 кэВ - 3 МэВ;
– Основная погрешность измерения не более ± 15 %;
– Энергетическая зависимость чувствительности -25 - +35 %;
– Чувствительность по 137Cs 4 имп•с-1/мкЗв•ч-1;
– Диапазон рабочих температур - 30 - + 50°С;
– Относительная влажность воздуха;
– при температуре 35°С до 98 %;
– Класс защиты IP57;
– Время непрерывной работы не менее 24 ч;
Интеллектуальный блок детектирования гамма-излучения
БДКГ-02 может входить в комплект поставки измерителя-сигнализатора СРК-АТ2327
(системы автоматического радиационного контроля), а также работать автономно в
реальном режиме времени путем подключения через кабель к ПЭВМ.
3.3 Неинтеллектуальные блоки детектирования
Несмотря на несомненные преимущества использования
интеллектуальных блоков рассмотрим также классические.
Блок детектирования БДМГ-08Р
Блоки детектирования БДМГ-08Р предназначены для
измерения мощности экспозиционной дозы гамма-излучения. Блоки применяются в
составе измерительных каналов аппаратуры контроля радиационной безопасности на
объектах с атомными энергетическими установками, а также на других объектах,
связанных с получением, переработкой и использованием радиоактивных материалов.
Блок регистрирует гамма-излучение в диапазоне энергий
от 19,2 до 500 ФДж ( от 0,12 до 3,0 МэВ), при этом энергетическая зависимость
чувствительности не более 25 % по отношению к радионуклиду кобальт-60.
Энергетическая зависимость чувствительности в диапазоне энергий от 6,0 до 8,0
МэВ составляет для блоков, ВДМГ-О8Р-01 и БДМГ-08Р-02 +45 %, для блока БДМГ-08Р
+200 %.
Уровень собственного фона блока не превышает значения
1,5 с-1 .
Время установления рабочего режима не превышает 9 с
(0,15 шш).
Среднее время наработки на отказ составляет не менее
8000 ч.
Нестабильность импульсного потока с выхода блока за 24
ч составляет не более ±5 %.
Питание блока осуществляется от источника питания с
параметрами:
– Напряжение питания, +12 В;
– Допустимые пульсации, не более 20 мВ;
– Ток потребления, не более 40 мА.
4
Промышленные контроллеры и выбор для системы
Ниже выполнен краткий обзор контроллеров - наиболее
вероятных претендентов на роль контроллеров для ввода информации и минимального
управления процессами в системе нижнего уровня. Для обзора выбраны контроллеры,
наиболее полно удовлетворяющие следующим требованиям:
– наличие одного или нескольких каналов частотного и числоимпульсного ввода
сигналов от радиометрических датчиков;
– минимальность конфигурации;
– минимальная стоимость;
– возможность автономной работы отдельных контроллерных
модулей;
– возможность технического расширения для выполнения
дополнительных функций при увеличении числа входов;
– наличие входа-выхода на типовые и стандартные проводные и
беспроводные модемы;
– относительная простота программного обеспечения,
предпочтительно в SCADA-системах
автоматизации проектирования и диспетчерского управления системой;
– высокая надежность, обусловленная промышленным
предназначением выбираемых контроллеров.
4.1 Моноблочный технологический контроллер ТКМ410
Рисунок 2 - Моноблочный технологический контроллер
ТКМ410
Контроллер ТКМ410 предназначен для построения
управляющих и информационных систем автоматизации технологических процессов
малого и среднего (по числу входов-выходов) уровня сложности. На его базе можно
создавать системы с широким динамическим диапазоном изменения технологических
параметров, а также отдельные подсистемы сложных АСУ ТП. Контроллер
используется для сбора, обработки информации и управления объектами в схемах
автономного управления или в составе распределенной системы управления на
основе локальных сетей уровней LAN и Fieldbus.
Высокая надежность ТКМ410 обеспечивается за счет
применения простой моноблочной конструкции, современного однокристального
микроконтроллера и оригинальных схемотехнических решений.
Контроллер соответствует современному уровню
технического прогресса и требованиям эксплуатирующих организаций. ТКМ410
создавался с учетом всех требований, предъявляемых при автоматизации объектов
теплоэнергетики и жилищно-коммунального хозяйства. На базе ТКМ410 создан
программно-технический комплекс ТЕПЛОНИК® - экономичное решение для
эффективного управления технологическим оборудованием тепловых пунктов любой
сложности и учета расходования электроэнергии, теплоносителя и холодной воды.
Реализована возможность использования ТКМ410 в системах телеметрии
территориально-распределенных, в том числе необслуживаемых объектов, и
встраивания локальной системы управления, построенной на базе ТКМ410, в единую
автоматизированную систему оперативного диспетчерского управления (АСОДУ).
4.2 Состав контроллера
Контроллер имеет металлический моноблочный корпус и
предназначен для крепления на вертикальную плоскость или DIN-рейку. Внешние
разъемы выведены на верхнюю и нижнюю сторону контроллера. ТКМ410 имеет средства
индикации включения питания и состояния контроллера, активности сети Ethernet и
состояния дискретных входов и выходов. Корпус контроллера имеет степень защиты
IP20 и предназначен для установки в монтажном шкафу. Цвет корпуса контроллера -
оранжевый.
ТКМ410 имеет 82 канала ввода-вывода (36DI, 24DO, 16AI,
2AO, 4 частотных входа) со встроенными блоками питания для датчиков. При
необходимости количество каналов ввода-вывода ТКМ410 может быть увеличено с
помощью модулей ТЕКОНИК® и интеллектуальных датчиков ТСТ11. Контроллер имеет
широкий спектр коммуникационных интерфейсов: Ethernet TCP/IP, 3хRS232,
1хRS232/485, 1xRS485 с гальванической развязкой, обеспечивающих подключение
графической панели оператора V04M, различных приборов учета,
частотно-регулируемого привода, а также телефонных, радио- и GSM/GPRS -модемов
(например, TELECON 100).
Конфигурация контроллера определяется по карте заказа.
Для упрощения заказа существует несколько типовых конфигураций.
4.3 Особенности применения ТКМ410
Программирование контроллера
Программирование ТКМ410 осуществляется с помощью
системы ISaGRAF PRO на языках стандарта МЭК 61131-3. Для быстрой и удобной
разработки пользовательской приложений рекомендуется использовать библиотеку
алгоритмов TIL PRO Std, которая включается в состав поставки при заказе
контроллера либо заказывается пользователем отдельно и активируется
самостоятельно. Конфигурирование контроллера осуществляется с помощью
встроенных средств (Конфигуратора), доступ к которым осуществляется через
Web-интерфейс по сети Ethernet или с помощью терминала через COM1. Обмен
данными со SCADA-системой реализуется посредством OPC-сервера TeconOPC.
Телеметрия и мониторинг
Контроллер ТКМ410 может применяться в качестве
устройства телеметрии, работающего в системах мониторинга и осуществляющего контроль
за функционированием необслуживаемых промышленных объектов и объектов ЖКХ:
тепловых пунктов, котельных, насосных станций, газораспределительных пунктов и
трансформаторных подстанций. Контроллер архивирует контролируемые параметры,
передает текущие и архивные данные, а также предупредительные и аварийные
сообщения в систему верхнего уровня (уровень оперативного диспетчерского
управления). В качестве канала связи для передачи сообщений о функционировании
контролируемого объекта применяются: сеть Ethernet (в том числе
волоконно-оптическая), коммутируемые и выделенные телефонные линии, радиоканал
и сети стандарта GSM.
Система верхнего уровня (СВУ) должна иметь как минимум
один модем для подключения к телефонному или к GSM-каналу. Для организации
аварийного канала можно использовать отдельный модем. По основному каналу
система верхнего уровня будет вести периодический опрос контроллеров, для
оперативной доставки инициативных сообщений от контроллеров имеется другой
свободный канал.
Использование TELECON 100
Наиболее простым и дешевым решением передачи данных в
сотовых сетях является передача данных в режиме GPRS. Контроллер ТКМ410
рекомендуется применять совместно с GSM/GPRS модемом TELECON 100.Применение
GSM/GPRS модема TELECON 100 позволяет оптимально реализовать передачу данных с
приборов учета (тепловычислителей, расходомеров, электросчетчиков), а также
текущих и архивных данных о ходе технологического процесса из энергонезависимой
памяти контроллера. Для передачи данных контроллер использует режим GPRS или
модемное соединение. Для обмена данными с контроллером ТКМ410 используется
протокол на базе TCP/IP.
Поддержка приборов учета
ТКМ410 имеет встроенную поддержку следующих
тепловычислителей:
SA-94 производства АО "АСВЕГА-М" (всего 11
модификаций);
ВЗЛЕТ ТСРВ-022 производства ЗАО "ВЗЛЕТ";
ВИС.Т производства НПО "ТЕПЛОВИЗОР".
Номенклатура поддерживаемых приборов учета постоянно
расширяется.
Характеристики каналов ввода-вывода
Каналы дискретного ввода:
– количество каналов ввода - 36;
– величина входного тока при напряжении сигнала 24 В (9±1) мА;
– постоянная времени входной цепи 2 мс;
– период опроса значений дискретного ввода 1мс;
– групповая гальваническая изоляция;
– подавление дребезга контактов.
Встроенный источник питания:
– напряжение (24±2) В;
– максимальный ток 400 мА;
– защита от короткого замыкания.
Каналы частотного и числоимпульсного ввода:
– количество каналов ввода - 4;
– тип входного сигнала: положительные однополярные импульсы
прямоугольной формы с амплитудой 24 В ±10%;
– величина входного тока при напряжении сигнала 24 В (9±1) мА;
– диапазон измерения частоты входного сигнала 0…10000 Гц;
– период обновления значений числоимпульсного ввода 10 мс;
– измерительный интервал для частотного ввода 5 с;
– групповая гальваническая изоляция;
– два режима работы: ввод импульсных сигналов; ввод частотных
сигналов.
Каналы дискретного вывода:
– встроенные цепи защиты от коммутационных помех и перенапряжений;
– встроенный настраиваемый режим ШИМ.
Каналы аналогового вывода:
– количество каналов вывода сигналов тока - 2;
– диапазон выходных сигналов 0…20 мА; 4…20 мА и 0…5 мА;
– пределы основной приведенной погрешности ± 0,25%;
– период обновления аналоговых выходов 10 мс.
Основные особенности:
– встроенные источники питания для датчиков;
– возможность расширения модулями ТЕКОНИК® и ТСТ11;
– встроенная поддержка приборов учета.
Информационная мощность:
– процессор c RISC-архитектурой 33МГц;
– Flash-память 4 Мб, оперативная память 2 Мб, энергонезависимая
память 512 Кб;
– 36 каналов дискретного ввода 24В;
– 24 каналов дискретного вывода;
– 16 каналов аналогового ввода;
– 2 канала аналогового вывода;
– 4 входных частотных/числоимпульсных канала.
Основные интерфейсы:
– Ethernet 10BASE-T, 3хRS232, 1хRS232/RS485, 1xRS485.
Дополнительное оборудование:
– панель оператора V04М;
– GSM/GPRS-модем TELECON 100.
Эксплуатационные характеристики:
– температура окружающего воздуха от -40 до +50oС;
– относительная влажность от 5 до 95 % при t +30oС;
– атмосферное давление от 66 до 106,7 кПа;
– вибрация от 5 до 9 Гц с амплитудой не более 0,075 мм;
– вибрация для частот от 9 до 150 Гц с ускорением 10 м/с2.
– питание контроллера: переменный ток напряжением 220 (+22;
-33) В и частотой 50 (+2;-3) Гц..
– потребляемая мощность: не более 100 Вт.
– габаритные размеры: 424х180х72 мм.
– вес контроллера: не более 5 кг.
Габаритно-присоединительные размеры ТКМ410
Рисунок 3 - Габаритно-присоединительные размеры ТКМ410
4.4 Модуль связи с приборами учета Т4902 ТС-RS-COM1
Модуль предназначен для применения на объектах
тепловой энергетики и коммунального хозяйства для организации сбора и передачи
информации в распределенных системах. Модуль предназначен для работы с
приборами коммерческого учета энергоресурсов - водомерами, счетчиками газа,
тепла (например, теплосчетчиками SA-94
или др.) с целью передачи телеметрической информации данных приборов на верхний
информационный уровень. Модуль также обеспечивает подключение приборов
коммерческого учета, имеющих частотный или числоимпульсный выходы.
В случае использования специализированного встроенного
программного обеспечения модуль может использоваться в качестве
интеллектуального шлюза (конвертора) на основе интерфейсов RS-232, RS-485, CAN с
протоколами Т4000/ASCII, CAN (CANopen), M-LINK или модемной беспроводной связи
стандарта GSM.
Информация о подробных характеристиках модуля
приведена в документе «Модуль связи с приборами учета Т4902. Руководство по
эксплуатации. ДАРЦ.426449.502РЭ».
Информация о заказе модуля приведена в Приложении 6 и
руководстве по эксплуатации.
Пример записи условного обозначения изделия при
заказе:
– Модуль связи с приборами учета с системным коммуникационным интерфейсом
СОМ1/RS-485 (протокол Т4000), портами СОМ2/RS-232 и СОМ3/RS-232 для подключения приборов коммерческого учета в системе
«ТЕКОНИК» и наличием аппаратных ФНЧ частотного/числоимпульсного ввода:
Т4902/1/2/2/0/1 ДАРЦ.426449.502
– Модуль связи с приборами учета с системным коммуникационным
интерфейсом СОМ2/RS-232, портом
СОМ3/RS-232 для подключения приборов
коммерческого учета к GSM-модему
и отсутствием аппаратных ФНЧ частотного/числоимпульсного ввода: Т4902/0/2/2/1/0
ДАРЦ.426449.502
Технические характеристики
Модуль имеет три последовательных коммуникационных
интерфейса: СОМ1, СОМ2 и СОМ3.
Коммуникационный порт COM1 может иметь следующие типы физического интерфейса:
– RS-232 (только сигналы RXD/TXD);
– RS-485 (одна витая пара, полудуплекс);
– CAN (ISO11898).
Коммуникационный порт COM2 может иметь следующие типы физического интерфейса:
– RS-232 (полный набор модемных сигналов);
– RS-485 (одна витая пара, полудуплекс).
Коммуникационный порт COM3 может иметь следующие типы физического интерфейса:
– RS-232 (полный набор модемных сигналов);
– RS-485 (одна витая пара, полудуплекс).
Модуль имеет 4 канала ввода дискретных сигналов.
Тип входного сигнала - уровень напряжения постоянного
тока с амплитудой 24 В ±10%.
Уровень логического «0» - от 0 до +5 В.
Уровень логической «1» - от +15 до +48 В.
Модуль имеет 2 канала ввода частотных/числоимпульсных
сигналов.
Каждый измерительный канал имеет два режима работы:
– режим ввода импульсных сигналов;
– режим ввода частотных сигналов.
Выбор режима работы осуществляется программным путем.
Тип входного сигнала - положительные однополярные
импульсы прямоугольной формы с амплитудой 24 В ±10%.
Уровень логического «0» - от 0 до +5 В.
Уровень логической «1» - от +15 до +30 В.
Диапазон измерения частоты входного сигнала -
0,2…10000 Гц.
Диапазон измерения количества импульсов входного
сигнала - 1…4294967295 импульсов (32-разрядный двоичный счетчик). При переполнении
32-разрядного счетчика (при максимальной частоте импульсов период наступления
события - один раз за 5 суток), счет продолжается с нуля.
Ток потребления модуля - не более 60 мА.
Испытательное напряжение между сигналами
последовательного коммуникационного интерфейса COM1 и землей источника питания - 500 В.
Масса модуля - не более 0,3 кг.
Более подробная информация о применении модуля и его
технических характеристиках приведена в документе «Модуль связи с приборами
учета Т4902. Руководство по эксплуатации. ДАРЦ.426449.502РЭ».
Устройство и работа
Структурная схема модуля T4902 приведена на рисунке
2.2.
Рисунок 4 - Структурная схема модуля T4902
Модуль T4902 имеет встроенный 16-разрядный
микроконтроллер с внутренней памятью программ и интегрированными периферийными
устройствами. Программно-управляемый мультиплексор переключает порты СОМ1, СОМ2
или СОМ3 на 2 внутренних приемопередатчика UART или CAN-контроллер.
При этом, системный интерфейс (по карте заказа СОМ1 или СОМ2) подключен всегда,
а интерфейс приборов переключается программно между остальными двумя
СОМ-портами. Для хранения переменных данных и параметров конфигурации модуля
предназначено электрически перепрограммируемое постоянное запоминающее
устройство (ЭППЗУ). Входные гальванически изолированные каналы ввода позволяют
ввести 4 сигнала состояния датчика типа «сухой контакт». Входные гальванически
изолированные каналы частотного или числоимпульсного ввода подключены к
внутренним таймерам процессора. Поступающие на модуль дискретные и
частотные/числоимпульсные сигналы ограничиваются входными цепями и изолируются
с помощью оптронов. Информация обрабатывается микроконтроллером (подавление
«дребезга контактов»). По команде микроконтроллер передает данные в систему
верхнего уровня.
Для исключения «зависания» или некорректного
выполнения программы модуль имеет сторожевой таймер аппаратного сброса Watchdog.
Подключение к объекту
Внешний вид модуля и расположение разъемов приведено
на рисунке 2.3.
Рисунок 5 - Модуль Т4902 (вид сверху)
Назначение контактов разъема XP2 (вилка) для подключения
внешнего источника питания +24 В идентично другим модулям и приведено в
таблице.
Назначение контактов разъема XP1 (вилка) для
интерфейсов RS-232, RS-485 и CAN
порта COM1 приведено в таблицах.
Таблица 1 - Назначение контактов разъема ХР1 для
интерфейса RS-232
|
№ контакта
|
Обозначение для RS-232
|
Назначение
|
|
1
|
RXD
|
COM1
|
Принимаемые модулем данные
|
|
2
|
GND
|
|
Общий провод линии передачи
|
|
3
|
TXD
|
|
Передаваемые модулем данные
|
Таблица 2 - Назначение контактов разъема ХР1 для
интерфейса RS-485
|
№ контакта
|
Обозначение для RS-485
|
Назначение
|
|
1
|
D-
|
COM1
|
Данные отрицательной
полярности
|
|
2
|
SH
|
|
Экран линии передачи
|
|
3
|
D+
|
|
Данные положительной
полярности
|
Таблица 3 - Назначение контактов разъема ХР1 для
интерфейса CAN
|
№ контакта
|
Обозначение для CAN
|
Назначение
|
CANL
|
COM1
|
Данные отрицательной
полярности
|
|
2
|
SH
|
|
Экран линии передачи
|
|
3
|
CANH
|
|
Данные положительной
полярности
|
Назначение контактов разъема COM2 XP3 и COM3 ХР4
(вилка типа DB-9M) для интерфейсов RS-232 (полный набор сигналов) или RS-485
приведено в таблицах.
Таблица 4 - Назначение контактов разъемов ХР3 и ХР4
для интерфейса RS-232
|
№ контакта
|
Обозначение для RS-232
|
Назначение
|
|
1
|
COM2 (для ХР3) или СОМ3
(для ХР4)
|
DCD (Несущая частота
обнаружена)
|
|
2
|
|
RXD (Принимаемые модулем
данные)
|
|
3
|
|
TXD (Передаваемые модулем
данные)
|
|
4
|
|
DTR (Готовность модуля к
работе)
|
|
5
|
|
GND (Общий провод)
|
|
6
|
|
DSR (Готовность модема или
прибора к работе)
|
|
7
|
|
RTS (Запрос модуля на
передачу)
|
|
8
|
|
CTS (Готовность модема или
прибора к приему)
|
|
9
|
|
RI (Индикатор вызова
модема)
|
|
Корпус
|
|
Клемма защитного заземления
|
Таблица 5 - Назначение контактов разъемов ХР3 и ХР4
для интерфейса RS-485
|
№ контакта
|
Обозначение для RS-485
|
Назначение
|
|
1
|
COM2 (для ХР3) или СОМ3
(для ХР4)
|
Не используется
|
|
2
|
|
D - (Данные отрицательной
полярности)
|
|
3
|
|
D + (Данные положительной
полярности)
|
|
4
|
|
Не используется
|
|
5
|
|
SHIELD (Экран линии
передачи)
|
|
6
|
|
Не используется
|
|
7
|
|
Не используется
|
|
8
|
|
Не используется
|
|
9
|
|
Не используется
|
|
Корпус
|
|
Клемма защитного заземления
|
Назначение контактов разъема XP5 (вилка) для
подключения 4-х дискретных и 2-х частотных/числоимпульсных сигналов с
индивидуальной гальванической развязкой приведено в таблице.
Таблица 6 - Обозначение контактов разъема ХР5
|
№ контакта
|
Обозначение
|
Назначение
|
|
1
|
DI1+
|
Положительный сигнал канала
ввода дискретных сигналов DI1
|
|
2
|
DI1-
|
Отрицательный сигнал канала
ввода дискретных сигналов DI1
|
|
3
|
DI2+
|
Положительный сигнал канала
ввода дискретных сигналов DI2
|
|
4
|
DI2-
|
Отрицательный сигнал канала
ввода дискретных сигналов DI2
|
|
5
|
DI3+
|
Положительный сигнал канала
ввода дискретных сигналов DI3
|
|
6
|
DI3-
|
Отрицательный сигнал канала
ввода дискретных сигналов DI3
|
|
7
|
DI4+
|
Положительный сигнал канала
ввода дискретных сигналов DI4
|
|
8
|
DI4-
|
Отрицательный сигнал канала
ввода дискретных сигналов DI4
|
|
9
|
FI1+
|
Положительный сигнал канала
ввода частотных/числоимпульсных сигналов FI1
|
|
10
|
FI1-
|
Отрицательный сигнал канала
ввода частотных/числоимпульсных сигналов FI1
|
|
11
|
FI2+
|
Положительный сигнал канала
ввода частотных/числоимпульсных сигналов FI2
|
|
12
|
FI2-
|
Отрицательный сигнал канала
ввода частотных/числоимпульсных сигналов FI2
|
Подключение к модулю выходных цепей следует
производить проводами сечением от 0,5 до 2,5 мм2.
Подключение выходных сигналов к модулю производится
при выключенном питании выходных каналов в соответствии с рисунком 2.4.
Несоблюдение этого условия может привести к повреждению модуля.
Рисунок 6 - Подключение модуля Т4902
4.5 Система интеллектуальных модулей
"ТЕКОНИК"
Рисунок 7 - Система модулей ТЕКОНИК
Система модулей ТЕКОНИК представляет собой гибкую и
расширяемую систему ввода-вывода для построения распределенных систем
управления.
Система интеллектуальных модулей ТЕКОНИК® предназначена
для построения распределенных автоматических и автоматизированных систем
измерения, контроля, регулирования, диагностики и управления производственными
процессами, технологическими линиями и агрегатами.
Система ТЕКОНИК® соответствует ГОСТ Р 51841-2001 и
относится к изделиям государственной системы промышленных приборов и средств
автоматизации.
В отличие от упрощенных зарубежных аналогов модули
имеют специальные средства защиты для применения в условиях сильных
промышленных помех по ГОСТ Р 51317.6.2 (МЭК 61000-6-2). Система ТЕКОНИК®
адаптирована для применения в отечественных условиях, имеет большую гибкость
при конфигурировании, обладает мощными вычислительными ресурсами (процессоры
семейств х86) и большим количеством каналов ввода-вывода. Модули ввода-вывода
системы ТЕКОНИК® используются также для расширения информационной мощности
контроллеров серий МФК и ТКМ, широко применяемых на объектах СХК
Состав системы
Система ТЕКОНИК® имеет проектно-компонуемый состав и
поставляется в соответствии с заказной конфигурацией. Пользователь может
самостоятельно наращивать или изменять конфигурацию системы.
Система может содержать один процессорный модуль P04
T7101, коммуникационный модуль или преобразователь интерфейсов (конвертор)
RS232/485 TCC485A, панель оператора V04 и до 250 модулей ввода-вывода в
произвольной конфигурации. Модули ввода-вывода ТЕКОНИК® имеют коммуникационный
интерфейс RS485 с максимальной скоростью 115 кбит/cек (ASCII-протокол Т4000). В
составе системы ТЕКОНИК® применяется также интеллектуальный датчик температуры
ТСТ11.совместимый процессорный модуль P04 T7101 имеет несколько исполнений,
которые отличаются наличием дополнительных COM-портов, интерфейса для местного
подключения клавиатуры и монитора, а также поддержкой той или иной системы программирования.
Существует также исполнение процессорного модуля P04М T7102* с встроенным
преобразователем интерфейсов RS232/485. Дополнительно в процессорный модуль
может устанавливаться один модуль расширения формата РС104.
В состав системы ТЕКОНИК® входит сервисное программное
обеспечение Tecon Tool Kit. Это Windows-приложение обеспечивает полный набор
функций для конфигурирования, настройки и проверки всех режимов работы модулей
ввода-вывода по протоколу Т4000. Перед началом работы программа позволяет сканировать
сеть, определять состав подключенных модулей и их параметры.
Особенности применения системы ТЕКОНИК®
– Работа системы под управлением персонального компьютера
Роль программируемого контроллера в этом случае
выполняет РС-совместимый компьютер обычного или индустриального исполнения.
Программа выполняется на компьютере, а управление объектом производится с
помощью удаленных распределенных модулей ввода-вывода.
Модули подключаются к компьютеру с помощью конвертора
ТСС485А. Количество модулей в сети определяется характеристиками интерфейса
RS485, каждый сегмент сети может включать до 30 модулей. Для увеличения
количества модулей используется ретранслятор сети RS485. Максимальное
количество модулей в сети может достигать 250.
Такое использование системы ТЕКОНИК® характерно для
небольших, преимущественно лабораторных и стендовых систем.
– Работа в составе распределенных систем управления
Роль программируемого контроллера в этом случае
выполняет процессорный модуль P04 T7101 или P04М T7102, который подключается к
единой локальной сети АСУ ТП предприятия. Такая сеть позволяет объединить
технологические контроллеры различных типов, серверы технологических баз
данных, операторские и инженерные станции. Для подключения к сети используется
интерфейс Ethernet с протоколами ТСР/IP или NetBEUI.
Модули ввода-вывода подключаются к процессорному
модулю P04 T7101 или P04М T7102 по интерфейсу RS485 через конвертор ТСС485А.
Такая структура в полной мере использует большие
коммуникационные возможности системы ТЕКОНИК®, позволяющие с помощью
стандартных интерфейсов и протоколов подключиться к вычислительным средствам
верхнего уровня, и наиболее интересна при автоматизации крупных объектов.
– Работа в качестве удаленных модулей ввода-вывода контроллеров серий МФК и
ТКМ
В этом варианте модули ввода-вывода ТЕКОНИК®
подключаются к программируемым контроллерам серий МФК или ТКМ и служат
выносными модулями УСО. Модули подключаются к порту RS232 с помощью
автоматического конвертора ТСС485А (МФК3000, МФК, ТКМ52) или непосредственно к
порту RS485 (ТКМ410). Одновременно с модулями ввода-вывода ТЕКОНИК® может
применяться интеллектуальный датчик температуры ТСТ11. Средства
конфигурирования и тестирования указанных контроллеров поддерживают работу с
модулями ТЕКОНИК® и датчиком ТСТ11. Для разработчика технологических программ
техника работы с дополнительными средствами ввода-вывода не отличается от
работы с традиционной подсистемой ввода-вывода контроллеров серий МФК и ТКМ.
Этот вариант архитектуры АСУ ТП является очень гибким
и предоставляет недорогое средство наращивания уже существующих систем. Для
вновь проектируемых систем у системного интегратора появляется возможность
более эффективно вносить элементы распределенности, располагая модули УСО в
непосредственной близости к объекту.
Модули ввода-вывода ТЕКОНИК®
Таблица 7 - Модули ввода-вывода ТЕКОНИК
|
Название модуля
|
Краткое описание
|
|
T3702
|
Модуль ввода дискретных
сигналов постоянного тока напряжением 24В. 16 каналов с групповой
гальванической развязкой, 2 группы по 8 каналов. Величина входного тока при
напряжении входного сигнала 24 В - не более 8 мА.
|
|
T3703
|
Модуль ввода дискретных
сигналов переменного тока напряжением 220В. 8 каналов с индивидуальной
гальванической развязкой. Величина входного тока при напряжении входного
сигнала 220 В - не более 8 мА.
|
|
T3601
|
Модуль вывода дискретных
сигналов до 250 В переменного тока и до 125 В постоянного тока. 8 каналов с
индивидуальной гальванической развязкой. Электромеханические реле. Формула
контактной группы - SPDT (одна контактная группа на переключение).
Максимальный коммутируемый ток канала - 8А. 10 млн. срабатываний.
|
|
T3602
|
Модуль вывода дискретных
сигналов до 250 В переменного тока. 8 каналов с индивидуальной гальванической
развязкой. Полупроводниковые симисторы. Формула контактной группы - SPST
(одна контактная группа на замыкание). Максимальный коммутируемый ток канала
- 2А. Количество срабатываний - неограничено.
|
|
T3101
|
Модуль ввода аналоговых
сигналов постоянного тока. 8 каналов с групповой гальванической развязкой, 1
группа из 8 каналов. Входные диапазоны 0...20 мА, 4...20 мА (0…5 мА для
исполнения T3101-01). Пределы допустимой основной приведенной погрешности -
±0,15%.
|
|
T3501
|
Модуль вывода аналоговых
сигналов постоянного тока. 4 канала с групповой гальванической развязкой, 1
группа из 4 каналов. Входные диапазоны 0...20 мА, 4...20 мА (0…5 мА для
исполнения T3501-02). Пределы допустимой основной приведенной погрешности -
±0,15% (для диапазонов 0...20 мА, 4...20 мА).
|
|
T3204*
|
Модуль ввода сигналов
напряжения низкого уровня и сигналов термопар. 8 каналов с групповой
гальванической развязкой, 1 группа из 8 каналов. Входные диапазоны: 0…+50mB,
0…+100mB, 0…+500mB, 0…+1000mB, ±10mB, ±50mB, ±100mB, ±500mB, ±1000mB; для
сигналов термопар - по ГОСТ Р 8.585-2001 (исполнение T3204 - 02). Встроенные
настраиваемые фильтры.
|
|
T3205*
|
Модуль ввода аналоговых
сигналов термопреобразователей сопротивления по 3-х (исполнение T3205) и 4-х
(T3205 - 01) проводной схеме подключения. 8 каналов с групповой
гальванической развязкой, 1 группа из 8 каналов. Входные диапазоны по ГОСТ
6651-94. Встроенные настраиваемые фильтры и высокий уровень защиты от помех.
|
|
T3205-02*
|
Исполнение модуля T3205 для
применения в системах термометрии (АСПС). 6 каналов, групповая гальваническая
развязка. Подключение сигналов по 4-х проводной схеме.
|
|
T3603*
|
Модуль вывода дискретных
сигналов. 16 каналов с групповой гальванической развязкой, 4 группы по 4
канала. Герконовые реле. Формула контактной группы - SPST NO (одна контактная
группа на замыкание, нормально разомкнутая). Максимальное коммутируемое
напряжение и ток при работе на резисторную нагрузку - 48VAC/0,5A или
30VDC/0,5A. 100 млн. срабатываний. Исполнение модуля T3603-01 имеет
дополнительные цепи защиты от коммутационных помех.
|
Модули, отмеченные символом '*' имеют специальное
исполнение для работы в температурном диапазоне от - 40 до + 55oС
Основные особенности:
– 10 типов модулей ввода-вывода для различных типов датчиков и
исполнительных механизмов;
– исполнения модулей ввода-вывода на рабочий диапазон
температур -40оС...+55оС;
– максимальное количество модулей ввода-вывода, работающих в
системе с одним процессорным модулем - 250.
Информационная мощность:
– процессор DX4-100 или DX5-133(по запросу);
– системное ОЗУ 4 или 16 Мб, системное ППЗУ Flash disk 16 Мб,
энергонезависимое ОЗУ 512 кб;
– дискретные входы* - до 480; дискретные выходы* - до 480;
– аналоговые входы* - до 240; аналоговые выходы* - до 120.
– * для одного сегмента RS485
Основные интерфейсы:
– P04/P04M: Ethernet 10BASE-T; 2xRS232 или 4xRS232 или 3xRS232/1x485 (два
сегмента с гальванической изоляцией), LPT1, VGA (опция);
– RS485 с гальванической изоляцией (модули ввода-вывода, кроме
Т4902);
– 3хRS232/RS485 (Т4902).
Дополнительное оборудование:
– панель оператора V04;
– преобразователь интерфейсов TCC485A.
Эксплуатационные характеристики:
– температура окружающего воздуха от +5 до +55oС и от -40oС...+55oС (для
специсполнений модулей ввода-вывода);
– относительная влажность от 5 до 95 % без конденсации влаги;
– атмосферное давление от 84 до 106,7 кПа;
– вибрация от 5 до 9 Гц с амплитудой смещения не более 3,5 мм;
– вибрация от 9 до 150 Гц с ускорением не более 10 м/с2;
– удары с ускорением 150 м/с2, длительностью ударного импульса
11 мс и количеством ударов не менее 1000.
Питание процессорного модуля и модулей ввода-вывода:
постоянный ток напряжением 24 (+5; -4) В.
Потребляемая мощность:
– процессорного модуля - не более 25 Вт;
– модуля ввода-вывода - не более 3,2 Вт.
Габаритные размеры:
– процессорного модуля - не более 200х120х90 мм;
– модуля ввода-вывода - не более 108х98х68 мм.
Вес контроллера:
– процессорного модуля - не более 1,5 кг;
– модуля ввода-вывода - не более 0,3 кг.
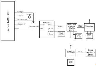
Рисунок 8 - Пример построения системы диспетчеризации
с использованием сети GSM
Рисунок 9 - Пример построения системы диспетчеризации
с использованием телефонной сети
Для обмена данными SCADA с контроллерами используется
клиет- серверная технология OPC. ОРС-сервер, разработанный ЗАО «ТЕКОН»,
позволяет связать систему верхнего уровня с любым представителем модельного
ряда контроллеров компании, на котором установлено СПО TENIX (по протоколу
TCP/IP сети Ethernet). Последнее время технология ОРС поддерживается всеми
современными SCADA.
Другой интересной особенностью системы «ТЕКОНИК» является
возможность использования встроенного SNMP-агента, обеспечивающего обмен контроллера с верхним уровнем по SNMP-протоколу. SNMP-протокол является стандартом для организации систем
управления и мониторинга состоянием сетевых устройств, таких как маршрутизатор,
коммутатор. Кроме того, таким протоколом оснащены многие источники
бесперебойного питания (UPS).
В качестве программного обеспечения верхнего уровня используются
специализированные пакеты, такие как «OPEN VIEW».
На рисунке 10 показана типовая схема построения такой
системы. Преимуществом такой системы является использование единого
программного обеспечения. Данная схема в основном используется при
автоматизации административных учреждений.
Рисунок 10 - Пример построения системы с
использованием SNMP-протокола
На рисунках 8 и 9 уже были представлены схемы
организации диспетчерских пунктов, с использованием выделенного радиоканала,
сети GSM или коммутируемого телефонного
канала. Следует отметить, что при использовании сети GSM реализована возможность инициативного выхода
контроллера на связь с диспетчерским пунктом при возникновении аварийной
ситуации на объекте.
На рисунке 11 показана схема диспетчеризации с
использованием интерфейса RS-485.
Рисунок 11 - Пример построения системы диспетчеризации
с использованием сети RS-485
4.6 Контроллер ЭЛСИ-ТМ
Контроллеры семейства ЭЛЕСИ являются одними из
претендентов для построения на их основе системы АСТРК-СХК из-за наличия канала
частотного и число-импульсного ввода сигналов, развитого состава блоков, в том
числе из-за наличия модуля радио-GSM
модема, высокой надежности, широкого и проверенного длительной эксплуатацией в
тяжелых условиях нефтегазовых объектов применения.
Основные особенности и характеристики
Назначение:
– Построение АСУ ТП высокого уровня сложности;
– Построение централизованных и распределенных систем
автоматики;
– Построение АСУ ТП предприятий с непрерывными и дискретными
технологическими процессами.
Задачи:
– Сбор информации с датчиков и вторичных преобразователей;
– Логическая обработка сигналов по заданным алгоритмам;
– Формирование управляющих воздействий;
– Контроль технологических параметров;
– Диагностика, тестирование и мониторинг аппаратных и
программных средств;
– Обмен данными в распределенных системах;
– Предоставление необходимой информации в SCADA-систему.
Производительность:
– Центральный процессор до 400 МГц;
– Информационная емкость до 640 дискретных или 240 аналоговых
точек ввода/вывода в одном крейте;
– Подключение до 8 крейтов расширения по 10 модулей в каждом:
увеличение емкости до 5120 дискретных или 1920 аналоговых точек ввода/вывода;
– Flash-память до 128 МБ;
– Оперативная память 128 МБ;
– Энергонезависимая память 32 КБ.
Функциональное оснащение:
– Дискретный ввод/вывод:
– Плотность до 64 каналов на модуль;
– Обработка сигналов типа "сухой контакт" и
"открытый коллектор";
– Высокоскоростной счет и измерение частоты;
– Аналоговый ввод:
– Плотность до 24 каналов на модуль;
– Индивидуальное и групповое гальваническое разделение каналов;
– Высокая точность измерения тока и напряжения;
– АЦП до 24 бит;
– Сохранение оперативных данных в энергонезависимой памяти;
– Watchdog-таймер и часы реального времени (RTC);
– Аварийная защита оборудования;
– Предупредительная и рабочая сигнализация.
Преимущества:
– Высокая производительность выполнения прикладных программ;
– Открытость архитектуры программного обеспечения;
– Открытость сетевой архитектуры;
– Надежность и долговечность в эксплуатации;
– Универсальность применения.
Универсальность:
– Гибкая модульная архитектура;
– Поддержка различных интерфейсов и протоколов;
– Расширенный диапазон рабочих температур;
– Широкий набор функциональных модулей.
– Открытость
Программное обеспечение:
– Разработка пользовательской программы в среде программирования OpenPCS;
– Поддержка пяти языков программирования стандарта IEC 61131-3;
– Широкая библиотека стандартных функций;
– Поддержка пользовательских и ОЕМ-библиотек;
– Мониторинг и редактирование процесса в режиме реального
времени;
– Конфигурация, диагностика.
Коммуникационное оборудование:
Прием и передача информации по интерфейсам RS-232C,
RS- 485/422, Ethernet, V.23, V.27, стык C1-ТЧ;
Поддержка протоколов: Ethernet TCP/IP, Modbus RTU,
Modbus TCP/IP, ГОСТ Р МЭК 870-5-101-2001, ГОСТ Р МЭК 608070-5-104-2004;
Наличие web-интерфейса;
Поддержка беспроводной передачи данных на основе
стандартов GSM, Global star;
Поддержка SCADA на основе OPC-интерфейса.
Надежность:
– Резервирование источников питания и модулей центрального процессора;
– Исполнение модулей в индивидуальном прочном корпусе;
– Развитая система самодиагностики и индикации;
– "Горячая замена" модулей без переинициализации;
– Устойчивость к перегрузкам входных цепей;
– Соответствие нормам индустриальных радиопомех, требованиям
устойчивости к воздействиям электрических разрядов, микро- и наносекундных
импульсных помех в цепях электропитания, динамическим изменениям напряжения
сети питания.
Таблица 8 - Климатические условия эксплуатации
|
Наименование параметра
|
Значение
|
|
Минимальная температура
окружающего воздуха, °С
|
-40
|
|
Максимальная температура
окружающего воздуха, °С
|
+60
|
|
Относительная влажность
воздуха, %, при температуре +40 °С
|
от 50 до 95
|
|
Атмосферное давление, кПа
(мм рт. ст.)
|
от 84 до 106,7 (от 630 до
795)
|
Таблица 9 - Предельно допустимые механические
воздействия
|
Наименование параметра
|
Значение
|
|
Случайная вибрация с
параметрами:
|
|
|
• частота, Гц
|
от 10 до 150
|
|
• ускорение, м/с2
|
1,0 g
|
|
• амплитуда, мм
|
0,075
|
|
Удары с параметрами:
|
|
|
• ускорение случайных
ударов, м/с2
|
до 15 g
|
|
• продолжительность, мс
|
11
|
|
• форма ударной волны
|
полусинусоида
|
Таблица 10 - Общие технические характеристики
|
Наименование параметра,
единица измерения
|
Значение
|
|
Напряжение питания от
источника постоянного тока, В
|
24±4
|
|
Напряжение питания от сети
переменного тока частотой (50±1) Гц, В
|
220±44
|
|
Потребляемая мощность, ВА,
не более
|
100
|
|
Степень защиты от внешних
воздействий, обеспечиваемая оболочкой
|
IP20
|
|
Среднее время наработки на
отказ, ч
|
80 000
|
|
Среднее время
восстановления работоспособного состояния агрегатным методом замены, мин.
|
30
|
|
Время готовности к работе,
мин.
|
2
|
|
Средний срок службы, лет
|
10
|
|
Способ защиты от поражения
электрическим током
|
Класс I
|
|
Уровень индустриальных
радиопомех
|
Класс А
|
Состав контроллера ЭЛСИ-ТМ
Рисунок 12 - Состав контроллера ЭЛСИ-ТМ
– Процессорные модули серии TC
– Интерфейсные модули серии TN
– Модули ввода/вывода серии TA
– Источники питания серии TP
– Коммутационные панели серии ТК
4.7 Модули ввода/вывода
Модификации
– Модули аналогового ввода
– Модули дискретного ввода
– Модули дискретного вывода
. Модули аналогового ввода
Назначение:
– Измерение, нормализация и обработка сигналов постоянного тока или
напряжения постоянного тока;
– Проверка и калибровка каналов.
Особенности:516 8IDC
– Интеллектуальная предварительная обработка сигналов;
– Встроенный процессор Pentium 300; оперативная память RAM 128
МБ; Flash-память 128 МБ;
– 2 интерфейса RS-232C;
– Подключение GPS-приемника.
TA 524
– Интеллектуальная предварительная обработка сигналов;
– Формирование напряжения питания датчика 24±2,4 В ;
– Интерфейс RS-232C;
– Подключение GPS-приемника.
Таблица 11 - Характеристики модулей аналогового ввода
|
Технические характеристики
|
TA 501 4IDC
|
TA 505 24 IDC
|
TA 524 2IDC
|
TA 524 4IDC
|
|
Количество входных
сигналов, шт
|
4
|
24
|
8
|
2
|
4
|
|
Диапазон измерения
напряжения постоянного тока, В
|
от -10 до +10
|
от -10 до +10
|
от -10 до +10
|
-
|
|
Диапазон измерения
напряжения постоянного тока, мА
|
Диапазон I
|
от -5 до +5
|
от -5 до +5
|
от -5 до +5
|
от 0 до +20
|
|
Диапазон II
|
от -10 до +10
|
от -20 до +20
|
от -10 до +10
|
|
|
Диапазон III
|
от -20 до +20
|
-
|
от -20 до +20
|
|
|
Максимальная прогрешность
измерения, %
|
напяряжения постоянного
тока
|
±0,15
|
±0,15
|
±0,03
|
-
|
|
постоянного тока
|
±0,15
|
±0,15
|
±0,04
|
±0,20
|
|
Входное сопротивление в
режиме измерения напряжения постоянного тока, не менее, МОм
|
1
|
1
|
1
|
-
|
|
Входное сопротвление при
имерении постоянного тока, КОм
|
Диапазон I
|
1,00
|
1,00
|
1,00
|
0,11
|
|
Диапазон II
|
0,50
|
0,25
|
0,50
|
|
|
Диапазон III
|
0,25
|
-
|
0,25
|
|
|
Гальваническая развязка
измерительных цепей
|
индивидуальная
|
групповая
|
групповая
|
индивидуальная
|
|
Напряжение гальванического
разделения (эфф.), В
|
между входами
|
500
|
-
|
-
|
500
|
|
между входами и корпусом
|
750
|
500
|
500
|
500
|
|
Время преобразования АЦП,
не более, мс
|
20
|
200
|
1
|
10
|
|
Разрешение АЦП, бит
|
14
|
14
|
18
|
24
|
Модули дискретного ввода
Назначение:
– Прием сигналов датчиков сигнализации;
– Сигналы типа "сухой контакт" и "открытый
коллектор";
Таблица 12 - Характеристики модулей аналогового ввода
|
Технические характеристики
|
TD 501L 32I 024 DC
|
TD 503 1IC
|
TD 503 2IC
|
TD 503 4IC
|
TD 505L 64I 024 DC
|
|
Количество каналов, шт.
|
2
|
1
|
2
|
4
|
1
|
|
Количество сигналов в
канале, шт.
|
16
|
1
|
64
|
|
Гальваническая развязка
каналов
|
поканальная индивидуальная
|
индивидуальная
|
групповая
|
|
Напряжение гальванического
разделения (эфф.), В
|
между входами
|
500
|
500
|
500
|
|
между входами и корпусом
|
750
|
500
|
500
|
|
Ток опроса датчиков
сигнализации, мА
|
10; 20
|
20
|
10
|
|
Временная характеристика
|
время фильтрации дребезга
сигнала от 4 до 30000 мс
|
диапазон входных частот от
1 до 10000 Гц
|
время фильтрации дребезга
сигнала от 12 до 3000 мс
|
|
Напряжение опроса датчиков
|
24
|
5, 12, 24
|
24
|
|
Тип сигнала
|
"открытый
коллектор", "сухой контакт"
|
"открытый
коллектор", синусоидальное и импульсное напряжение
|
"открытый
коллектор", "сухой контакт"
|
Модули дискретного вывода
Назначение:
– Формирование сигналов ТУ
Таблица 13 - Характеристики модулей аналогового ввода
|
Технические характеристики
|
TD 502L 16O 024 DC
|
TD 502L 32O 024 DC
|
TD 504L 64O 024 DC
|
|
Количество каналов, шт.
|
1
|
2
|
1
|
|
Количество сигналов в
канале, шт.
|
16
|
16
|
64
|
|
Максимальное коммутируемое
напряжение постоянного тока, В
|
30
|
30
|
30
|
|
Максимальный коммутируемый
постоянный ток, А
|
0,2
|
0,2
|
0,4
|
|
Гальваническая развязка
выходов
|
групповая
|
групповая
|
групповая
|
|
Напряжение гальванического
разделения (эфф.), В
|
между входами
|
500
|
500
|
750
|
|
между входами и корпусом
|
750
|
750
|
750
|
4.1
Контроллеры системы ADAM
Контроллеры серии ADAM фирмы Advantech являются мощной и вполне достаточной базой для построения самых
различных распределенных систем контроля, управления и диспетчеризации на самом
современном уровне. Существуют контроллеры серии 3000, 4000, 5000, 6000, 7000,
8000. При подробном изучении контроллеров всех серий и модулей для
использования в системе были отобраны следующие модули.
ADAM 4080/4080D
Рисунок 13 - 2х-канальный модуль счётчиков/таймеров
ADAM_4080/4080D
– Каналы: 2 независимых 32_битовых счётчика
– Измеряемая частота: от 5 Гц до 50 кГц
– Длительность входного импульса: не менее 10 мкс
– Входы: гальванически изолированные и неизолированные
– Напряжение изоляции 2500 В
– Светодиодный цифровой индикатор (ADAM_4080D)
Рисунок 14 - Технические характеристики ADAM-5080
Рисунок 15 - Технические характеристики ADAM-6051
На рисунках ниже приведены справочные данные по модулю
ADAM_4080/4080D:
– схемы расположения и компоновки системы из модулей;
– схемы подключения питания;
– схемы подключения напрямую к компьютеру по сопряжению RS-232 и USB;
– электрические схемы подключения сигнальных шин в различных
конфигурациях соединений модулей;
– справочные данные по параметрам электрических сигналов;
Пользователь найдет здесь любые интересующие его
данные по модулям ADAM и схемам их
включения в проектируемую систему. Дополнительные данные можно получить в
подробном руководстве по модулям ADAM.
Рисунок 16 - Монтирование контроллеров ADAM на
DIN-рейку
Рисунок 17 - Подсоединение источника питания
Рисунок 18 - Стандартное подключение контроллеров ADAM
к хост устройству
Рисунок 19 - Заземление клеммы INIT
Рисунок 20 - Подключение нескольких модулей
Рисунок 21 - ADAM-4080/4080D Неизолированный вход
Рисунок 22 - ADAM-4080/4080D Изолированный вход
5
Системы связи и передачи данных
Наиболее важным фактором, определяющим принципы
построения и выбор состава оборудования является выбор системы связи удаленного
оборудования с диспетчерским пунктом.
5.1 Виды систем передач данных
Системы передачи данных или системы технологической
связи (далее по тексту - "системы") предназначены для построения
территориально распределенных систем сбора данных и управления (систем
телеметрии и телемеханики) совместно с внешними логическими устройствами
(компьютерами, контроллерами и пр. - для упрощения далее по тексту - "внешние
контроллеры"). Данные системы выполняют функцию объединения локальных
логических устройств в единую сеть обмена информацией.
Можно разделить все системы передачи информации на
"прозрачные" и "непрозрачные" для внешних контроллеров, а
также на системы "с эмуляцией протокола пользователя".
"Прозрачные" системы
В большинстве случаев системы технологической связи
строятся либо по принципу "точка-точка", либо по принципу
"точка-многоточка", используя последовательный опрос. Этот принцип
реализуется, например, в протоколе ModBus, широко используемом в телемеханике.
Системы с прозрачным режимом передачи данных идеально отвечают требованиям
такого принципа. Связь внешних контроллеров через прозрачные системы
осуществляется вне зависимотсти от протокола обмена данными между контроллерами
(рисунок 1.2).
Рисунок 23 - "Прозрачные" системы передачи
данных
Система для контроллеров равнозначна проводной линии,
в которую параллельно подключены все абоненты. При этом принципы обмена данными
определяются самими контроллерами.
Преимущества "прозрачных" систем:
– просто реализуется сеть передачи данных (с помощью использования
соответствующего протокола связи);
– данные передаются вне зависимости от их типа, объема и
принципов передачи;
– при изменении структуры передаваемых данных параметры системы
не изменяются.
Недостатки "прозрачных" систем:
– технически сложны и ненадежны узловые устройства при построении систем с
ретрансляцией;
– затруднено построение сильно разветвленных и линейно-распределенных
сетей передачи информации из-за больших задержек при передаче данных;
затруднена диагностика связи между точками, и обрывы
связи обнаруживаются уже при задержке информации (например, при отсутствии
ответа точки на запрос).
"Непрозрачные" системы
В "непрозрачных" системах между контроллером
- передатчиком данных и системой организуется обмен данными по какому-либо
условленному протоколу связи, внутри системы происходит передача данных на
другой конец по своим собственным законам и алгоритмам, после чего информация
отдается контроллеру-приемнику опять же по одному из протоколов связи (см.
рисунок 1.3).
Рисунок 24 - "Непрозрачные" системы
В данном типе систем имеют значение и изначально
должны быть определены:
– протоколы связи с внешними контроллерами,
– объемы передаваемой информации ("маска" базы
передаваемых данных),
– принципы доставки информации ("по запросу",
"по инициативе снизу" и пр.).
Преимущества "непрозрачных" систем:
– возможность построения сильно разветвленных и линейно-распределенных
сетей передачи информации с произвольным количеством узлов и ветвей;
– надежность сохранения передаваемых данных (при невозможности
отправки данных в любой точке системы данные сохраняются);
– высокая гибкость в использовании каналов связи (дублирование,
резервирование, последовательное использование различных каналов связи);
– возможность получения большого объема сервисной информации о
работе системы, позволяющей точно и быстро диагностировать неисправности, а иногда
и предупреждать их.
Недостатки "непрозрачных" систем:
– необходимость изменения параметров системы (заложенной программы) при
изменении структуры передаваемых данных (количество данных, добавление новых
абонентских точек и пр.);
– сложность в обслуживании (необходим специально обученный
программированию системы персонал).
Системы с "эмуляцией протокола пользователя"
Системы с эмуляцией протокола пользователя (см.
рисунок 27) имеют промежуточное положение между прозрачными и непрозрачными
системами. С одной стороны, связь между внешними контроллерами осуществляется
по единому протоколу связи, определяемому самими контроллерами, с другой
стороны, в системе происходит перенос протокола пользователя на транспортный
протокол-носитель, работающий внутри системы.
Рисунок 25 - Системы с эмуляцией протокола
пользователя
Данные системы имеют преимущества прозрачных систем -
просты с точки зрения внешнего пользователя. Однако они имеют все достоинства и
недостатки непрозрачных систем, т.к. строятся на том же оборудовании и по тем
же принципам построения сети, но с помощью использования специального
программного обеспечения. Дополнительным недостатком является более медленная
доставка сообщений за счет:
– использования "медленных" внешних протоколов связи (обычно
опросного типа),
– дополнительной задержки на конвертацию протокола внутри
системы,
– отсутствия "избирательности" в передаче запрошенных
данных.
Системы с эмуляцией протокола имеют, как описано выше,
все достоинства и недостатки непрозрачных систем, но удобны с точки зрения
внешнего пользователя за счет:
– использования стандартных, для внешних контроллеров, протоколов связи,
– эмуляции "прямой непосредственной" связи между
контроллерами.
Оценка применимости описанных систем
С учетом описанных особенностей типов систем передачи
данных можно порекомендовать следующее:
Более уместным будет применение "прозрачных"
систем технологической связи в следующих системах:
– в простых системах со структурой связи типа "точка - точка" и
"точка многоточка" с радиальным строением;
– в системах периодически произвольно изменяемой структурой
данных;
– в "закрытых" системах телеметрии/телеуправления,
где используется внутренний нестандартный фирменный протокол обмена данными
между контроллерами.
Применять "непрозрачные" системы передачи
данных с цифровой ретрансляцией лучше в следующих системах:
– в сложных по топологии строения сети системах, использующих различные
каналы связи на пути от "передатчика" данных к "приемнику"
данных;
– если требуется высокая надежность функционирования системы
связи, резервирование каналов связи с автоматическим переходом на резерв и
обратно, дублирование информации по разным каналам;
– при необходимости передачи данных в несколько мест приема
информации (избирательно или полностью);
– при необходимости использования одного канала передачи
информации для сбора данных с различных разнородных источников (например, для
объединения отдельных систем телемеханики разных объектов);
– при необходимости наличия полной сервисной информации о
работе системы и удаленной диагностики ее составляющих.
Если к требованиям еще и добавляются технологические
требования по неизменности протокола обмена между контроллерами (например, в
системах коммерческого учета), при одновременной большой территориальной
распределенности системы, то будет оптимально применить в системе передачи
данных принцип "эмуляции протокола пользователя".
5.2 Системы на основе GPRS-связи
Системы связи на основе GPRS-доступа характеризуются
следующими особенностями:
– организация канала обмена информацией с любыми контроллерами сбора и
обработки информации по протоколу ModBus при использовании стандартных OPC-серверов и SCADA-систем;
– передача технологических параметров с любых объектов;
– возможность интеграции в систему любых устройств,
обменивающихся данными по порту RS232;
– возможность имитации обычного модема для устройств,
работающих с внешним модемом;
– организации обмена данными в системах с различными
устройствами;
– удлинение порта RS232 в любую точку мира, где есть сервис GPRS.
При этом на диспетчерском пункте должно быть
обеспечено постоянное подключение к Интернету.
Принципиально возможно (если проблемы с подключением)
ставить на центре обычный GPRS - модем и договариваться с провайдером о
выделении статичного IP-адреса (в этом случае трафик будет считаться 2 раза).
Программное обеспечение сервера работает с
ОРС-сервером и обеспечивает индивидуальные каналы на каждый адрес ModBus.
Таким образом, система «GSM-WEB» самостоятельно
обеспечивает работу с GPRS и не требует специальных настроек контроллеров, ОРС-
сервера и SCADA-системы. Вся система функционирует так, что имитирует
подключение всех контроллеров по СОМ-порту непосредственно к компьютеру с
установленным ОРС-сервером.
Использование для передачи информации сервисов сети
GSM с использованием GPRS, по сравнению, например, с созданием собственной
радиосети, позволяет:
– во-первых, существенно сократить финансовые затраты на систему телеметрии
за счет отсутствия необходимости установки радиостанций и блоков питания к ним,
установки и обслуживания антенных опор и оборудования антенно-фидерного тракта;
– во-вторых, сократить сроки развертывания системы за счет
отсутствия необходимости лицензирования частот и получения разрешений на
использование радиостанций;
– в-третьих, использование сервиса GPRS позволяет существенно
удешевить стоимость трафика по сравнению с режимом DialUp.
Преимущества системы:
– в центре сбора данных нет необходимости устанавливать GPRS-модем
(уменьшение платы за трафик в 2 раза);
– возможность установки оборудования зависит только от зоны
покрытия сотовой связи;
– SIM-карты на абонентских устройствах могут быть от разных
провайдеров (где лучше зона покрытия и качество GPRS);
– возможность подключения компьютера для выхода в Интернет без
дополнительных устройств;
– дистанционное конфигурирование абонентского контроллера;
– в случае временного отсутствия услуги GPRS возможно
переключение в режим прямого GSM-соединения;
– система может функционировать без выделения статичного
IP-адреса провайдером услуг;
– альтернативный IP-адрес центра для резервирования канала
связи.
5.3 Системы на базе радиомодемов
Оборудование Moscad
Такие решения сегодня предлагает, например, фирма
"Элком+" , в основном, в области АСУ ТП. Системы представляют собой
программно-аппаратные комплексы на базе программируемых контроллеров (ПЛК)
MOSCAD (MOTOROLA). В решениях применяются серии Moscad и Moscad L. Верхний
уровень комплексов (программное обеспечение диспетчеров) реализуется на базе
SCADA пакета InTouch и других продуктов компании WonderWare. В настоящее время
системы содержат следующие решения на базе перечисленных продуктов:
– система диспетчерского контроля и управления центральными тепловыми
пунктами (ЦТП) в области теплоэнергетики;
– система диспетчерского контроля за узловыми подстанциями и
распределительными устройствами - в области электроснабжения;
– система линейной телемеханики для управления задвижками
нефтепровода - в области транспорта нефти;
– система линейной телемеханики для управления крановыми
площадками газопровода - в области транспорта газа;
– система кустовой телемеханики - в области нефтедобычи.
Система MOSCAD представляет собой телемеханический
комплекс, предназначенный для автоматического сбора, обработки и анализа в
реальном масштабе времени параметров технологического процесса и состояния
оборудования, а также выдачи и исполнения команд управления технологическими
объектами.
В данной системе самим производителем (компанией
Motorola) объединены "полевой" контроллер (ПЛК) и система радиосвязи.
Основой системы является интеллектуальный терминал MOSCAD RTU.RTU представляет
собой функционально законченные устройства, включающие модули связи с
оборудованием КИП, логическую часть, модем, радиостанцию, источник
бесперебойного питания. Сердцем контроллера MOSCAD является модуль процессора,
обладающий мощными вычислительными, управляющими и коммуникационными
возможностями. Контроллер может принимать управляющие решения непосредственно
на объекте, основываясь как на локальной информации, так и на информации о
системе в целом, полученной от других контроллеров.
Уникальный коммуникационный протокол, разработанный
MOTOROLA специально для системы MOSCAD, позволяет использовать при построении
сети низкоскоростные, с невысокой степенью надежности (в том числе радиоканал),
обеспечивая при этом высокую достоверность передаваемых данных и разрешение
сетевых конфликтов на уровне операционной системы.
Модульная конструкция MOSCAD и большой выбор модулей
ввода-вывода позволяют сконфигурировать каждый контроллер в соответствии с
требованиями Заказчика.
В любой контроллер может загружаться программа
преобразования протоколов, которая позволит интегрировать в общую систему как
новые, так и существующие "интеллектуальные" датчики, счетчики и
измерители.поддерживает сетевую организацию связи для комплекса телемеханики,
распределенного в пространстве с возможностью использования различных каналов
связи:
– радиосвязь;
– 2- или 4-проводные выделенные линии;
– коммутируемые телефонные линии;
– каналы микроволновой связи;
– оптоволоконные каналы; и т.д.
Оптимизирован же MOSCAD для связи по радиоканалу.
Контроллер MOSCAD RTU отличается:
– высокой надежностью. Наработка на отказ составляет около 140 тыс. часов;
– устойчивостью к экстремальным условиям эксплуатации. Работа и
метрологические характеристики гарантируются при -40...+60 град. С и влажности
до 95%;
– мощной системой передачи данных. Специально разработанный
компанией Motorola для телеметрии протокол связи MDLC позволяет быстро и
безошибочно передавать данные в ДП с большого количества КП, одновременно
проводя управление и диагностику контролируемых пунктов;
– высокой гибкостью в применении. Конфигурация контроллера и
алгоритм работы определяются программой, хранящейся в его энергонезависимой
памяти;
– возможностью удаленного проведения регламентных работ.
Обновление ПО, перепрограммирование, тестирование и диагностика оборудования,
калибровка датчиков могут производиться дистанционно с диспетчерского пункта.
Мощности системы позволяют строить архитектуру (схему
связи объектов и ДП) по любому из известных принципов - "звезда",
"цепочка", "дерево", "кольцо" и пр., используя в
качестве цифрового ретранслятора данных любой из контроллеров системы.
Модульная, проектно-компонуемая конфигурация
контроллера позволяет закрыть по количеству и типу сигналов потребности
практически любого объекта, однако при нецелесообразности сведения сигналов в
одну точку, как вариант, возможно применение выносных блоков для сбора данных и
управления отдельными технологическими установками. Связь блоков с ведущим
контроллером осуществляется по интерфейсу RS485 с длиной кабельной линии до 1
км.
Системы на базе радиомодемов Motorola
Одним из вариантов прозрачных систем передачи данных
являются системы на базе радиостанций MOTOROLA GM3xxDATA.
Широко известная серия радиостанций GM Professional
Radio производства фирмы MOTOROLA включает несколько моделей радиомодемов для
передачи данных, выполненных на основе радиостанций GM-300 Professional.
Рисунок 26 - MOTOROLA GM3xxDATA
Интегрированное решение на основе радиостанции и
встроенного модема позволили создать простое и в то же время
многофункциональное изделие, способное работать в различных системах, где необходима
передача небольших объемов данных на значительные расстояния.
Применение радио-модемов GM3xxDATA оптимально в
системах с организацией связи типа "точка - точка" и "точка -
многоточка" с радиальным строением, в том числе в различных системах
телеметрии, SCADA, мониторинга и управления подвижными объектами
(автотранспорт, грузоперевозки), в составе различных охранных систем.
Радиомодемы серии GM3xxDATA имеют встроенный цифровой
модем, позволяющий передавать данные по эфиру со скоростью 9600 бит/с. Модемы
GM3xxDATA имеют встроенную коррекцию ошибок и прозрачный протокол передачи
данных.
Подключение внешних контроллеров осуществляется через
стандартный порт RS-232, который также используется для программирования всех
необходимых параметров, таких как: номиналы частот, выходная мощность, порог
срабатывания шумоподавителя и т.д. Наличие съемной панели управления позволяет
в случае необходимости оперативно переключать рабочие каналы и при наличии
ручной тангенты производить голосовую связь с диспетчером на смежной частоте.
Использование в качестве базового оборудования
радиостанций MOTOROLA позволило использовать данные модемы в сложных условиях
связи:
– большие расстояния (до 50-70 км),
– высокий уровень помех,
– большой уровень ослабления полезного сигнала в
антенно-фидерных устройствах (АФУ), что имеет место, например, при большой
высоте мачт.
Технические характеристики GM3ххDATA:
– Диапазон частот VHF: 136-174 МГц UHF: 403-470 МГц
– Количество каналов 4, 8 или 255 (в зависимости от модели)
– Шаг канальной сетки 12,5/20/25 кГц
– Напряжение питания 13,2 В
– Температура окружающей среды -30 ... +60 °C
– Стабильность частоты ±2*10-6
– Габариты 56х176х177 мм
– Вес 1400 г
Модемы в составе систем передачи данных конструктивно
могут быть в составе контроллера телемеханики либо быть выполнены в виде
отдельного устройства. В последнем случае оборудование комплектуется
бесперебойным источником питания со встроенными аккумуляторными батареями и
корпусом настенного типа. Имеется возможность передавать с блока питания на внешний
контроллер телесигнализацию о переходе на батарейное питание и разряде батареи
(10В, при исходном напряжении 12В). При использовании мачтовых устройств для
одновременной работы нескольких радиопередающих систем в близком диапазоне
частот станции передачи данных комплектуются полосовыми и режекторными
фильтрами для устранения взаимного влияния передатчиков.
Системы на базе радиомодемов DataRadio
Система выполнена на базе высоконадежных радиомодемов
производства канадской компании Dataradio. Dataradio - одна из старейших
компаний, разрабатывающих и выпускающих радиомодемы для работы в узкополосных
каналах УКВ-диапазона. Компания специализируется на разработке и производстве
только средств обмена данными по радио, что позволяет ей на протяжении более 10
лет занимать лидирующие позиции в этой области. Созданные специалистами
Dataradio устройства работают в составе более 400 действующих систем с общим
количеством более 30000 портов практически на всех континентах, включая
Антарктиду. В 1997 году модемы Dataradio были использованы в ходе американской
научной экспедиции на Марс, где подтвердили свою высокую надежность.
Основу систем составляют радиомодемы T-96SR
<#"656698.files/image027.gif">
Рисунок 27 - Асинхронный радиомодем T-96SR
Асинхронный радиомодем T-96SR представляет собой
"прозрачное" устройство реального времени. Для обмена данными не
требуется специального протокола обмена, данные передаются в радиоканал в той
последовательности, в которой были приняты радиомодемом от контроллера,
терминала или компьютера по интерфейсу RS-232 без искажений и дополнительной
обработки.
Радиомодем T-96SR предназначен для построения
современных радиосетей сбора данных и удаленного управления стационарными
объектами. В составе сложных систем может использоваться совместно с радиомодемом
T-Base, применяемым на базовой станции. Работает в симплексном или
полудуплексном режиме. Дуплексный режим работы реализуется за счет подключения
дополнительного модема через дуплексер. Гибкая архитектура T-96SR позволяет
строить радиосети обмена данными практически любого масштаба на базе
стандартного однотипного оборудования.
Восьмиканальный радиомодем T-96SR:
– полностью совместим с семействами радиомодемов RNet 9600, RNet 9600S
(Motorola), T-Modem (Dataradio) и DL-3276 (Johnson Data Telemetry);
– имеет встроенный специализированный приемопередатчик с малым
временем доступа к радиоканалу. Обеспечивает асинхронный обмен данными на
скоростях 19200, 9600 или 4800 бит/с в каналах с шагом сетки радиочастот 25 или
12,5 кГц;
– поддерживает работу основных промышленных протоколов, включая
ModBus и DNP 3.0;
– имеющиеся настройки позволяют формировать цифровой
ретранслятор из двух радиомодемов;
– монтируется на DIN-рейку.
Краткая характеристика:
– Высокая скорость обмена данными и пропускная способность.
– Программная настройка выходной мощности.
– Удаленная диагностика.
– Управлением потоком данных с использованием сигналов RTS/CTS
в полудуплексном или симплексном режимах.
– Модель T-96SR/F обеспечивает работу со 100% циклом передачи.
– Технические характеристики*
– Общие характеристики УВЧ ОВЧ
– Диапазон частот 380-512 МГц 132-174 МГц
– Рабочее напряжение 10 - 16 В
– Рабочая температура -30 град. C до +60 град. C
– Габаритные размеры 11,4 (Ш) x 8,3 (Г) x 5,4 (В) см
Все рабочие характеристики модема задаются с помощью
фирменного программного обеспечения.
Радиомодем Integra™
Рисунок 28 - Асинхронный радиомодем Integra-TR
™ - это малогабаритный модем со встроенным
приемопередатчиком. Асинхронный радиомодем Integra-TR представляет собой
"прозрачное" устройство реального времени, не требующее сложной
настройки. Для обмена данными не требуется специального протокола обмена,
данные передаются в радиоканал в той последовательности, в которой были приняты
радиомодемом от контроллера, терминала или компьютера по интерфейсу RS-232 без
искажений и дополнительной обработки.
Предназначен для построения современных радиосетей
сбора данных и удаленного управления стационарными объектами. Имеет встроенный
специализированный приемопередатчик с малым временем доступа к радиоканалу.
Обеспечивает асинхронный обмен данными на скоростях 19200, 9600 или 4800 бит/с
в каналах с шагом сетки радиочастот 25, 12,5 или 6,25 кГц. Поддерживает работу
практически всех основных промышленных протоколов.
Модем может работать в одном из трех режимов -
прозрачном, пакетном и VIS. При этом режим работы выбирается программно. В
"прозрачном" режиме модем обеспечивает работу со скоростью 9600 бит/с
(при разносе частот 25 кГц). При минимальном объеме передаваемых служебных
данных скорость информационного потока практически равна скорости передачи в
канале. В данном режиме модем является идеальным средством для систем с
архитектурой "точка - много точек", использующих протоколы
опроса.поддерживает работу в режиме DOX (data-activated transmit), не требующий
использование сигнала RTS для управления потоком: передача инициализируется
поступлением данных на порт радиомодема. Поддерживает управление сигналом CTS в
случаях, когда скорость передачи данных от терминального устройства превышает
скорость обмена данными в радиоканале.
Существенным преимуществом данного модема является
отсутствие искажений передаваемых данных (bit dribbling). Но это далеко не все.
Модем легко настраивается на работу даже с такими специфическими протоколами,
как GE Fanuc SMP и Modbus Binary. Модем действительно воспринимается внешними
устройствами как обычная проводная линия связи.
При настройке для работы в пакетирующем режиме Integra
представляет собой адресуемое устройство, оптимизированное для использования в
системах, где платформа сбора данных не имеет собственного адреса или
встроенной функции контроля ошибки. При этом остальные функции модема остаются
доступными.
Встроенная функция удаленной диагностики позволяет в
реальном масштабе времени контролировать состояние устройства (наличие питания,
температуру, напряжение, мощность сигнала, наличие соединение с
антенно-фидерными устройствами).
Радиомодем Integra™ имеет три режима сбережения
энергии (пониженного потребления) для объектов, на которых применяется питание
от аккумуляторов или солнечных батарей: режим ожидания (sleep mode),
экономичный режим (suspend mode) и режим изменяемой выходной мощности (variable
output power mode). В первых двух режимах энергопотребление составляет не более
15 мА. Перевод радиомодема из режима ожидания в рабочий режим занимает не более
100 мс без потери данных. В режиме ожидания радиомодем автоматически с заданной
периодичность проверяет состояние радиоканала. Эта уникальная функция
обеспечивает не только снижение расходов на содержание системы, но и
увеличивает ее ресурс.
Краткая характеристика:
– Высокая скорость обмена данными и пропускная способность.
– Работа на каналах с различным шагом сетки радиочастот в
полудуплексном или симплексном режимах.
– Программная настройка выходной мощности.
– Удаленная диагностика.
– Три режима энергосбережения.
– Управление потоком по данным DOX.
– Управлением потоком с использованием сигналов RTS/CTS.
– Модель Integra-TR/F обеспечивает работу со 100% циклом
передачи.
– Позволяет строить ретранслятор на базе двух радиомодемов.
– Имеет два последовательных порта: для передачи данных и
настройки.
– Монтируется на DIN-рейку.
– Технические характеристики Integra™
– Рабочее напряжение 10 - 16 В постоянного тока
– Рабочая температура -30 град. C до +60 град. C
– Габаритные размеры 12,1 (Ш) х 11,4 (Г) x 5,6 (В) см
– Масса (в упаковке) 680 г
SkyLINK-GammaTRACER с дополнительными модулями для
передачи данных по радио
Рассматривая зарубежные системы радиационного
мониторинга, нельзя кратко не упомянуть о системе SkyLINK, успешно работающей в
России на Ленинградской и Балаковской АЭС. SkyLINK - полностью автономная
свободная сеть. В отличие от общедоступных стандартных сотовых систем связи
(GSM, DEST, TETRA) SkyLINK - независимая наземная или спутниковая
инфраструктура. Поэтому, SkyLINK система может быть использована в зонах, где
стандартная сотовая связь не способна обслуживать всю сеть измерения, где
создание и обслуживание кабельных коммуникаций связано с большими затратами.
Система SkyLINK предназначена для работы в течение
нескольких лет непрерывно на открытом воздухе: компактная и удобная
конструкция, герметичность корпуса позволяет разместить ее на местности для
долговременной эксплуатации. При сборе данных передатчик SkyLINK производит
почасовые сообщения в течение более чем пяти лет без дополнительного сервисного
обслуживания и замены элементов питания.
Система SkyLINK обеспечивает предельно высокий уровень
качества данных и неограниченную их пригодность. Эти особенности только
частично могут быть отнесены к общественным сетям связи. Управление системой
SkyLINK может быть выбрано пользователем в соответствии с его практическими
требованиями: На основе лицензии (бесплатно) в ISM -диапазоне частот (433,1 -
434 МГц) на официально утвержденной рабочей частоте или в аварийном режиме на
резервных BOS-военизированных частотах.UNF-Module может быть использован с
другими измерительными датчиками, отличными от GammaTRACER. При этом возникают
новые возможности многофункциональной измеряющей сети в режиме on-line
(расстояния 10..100 км или 6...62 мили). Это особенно важно в тех случаях,
когда передача данных от датчика должна происходить с минимальным потреблением
энергии (при работе в течение нескольких лет без замены элементов питания).
Система SkyLINK обладает удивительной способностью потреблять энергию менее чем
0,5 А ч в год.
5.4 GSM-связь и GSM шлюзы
При использовании различных видов связи: сотовой и GPRS, обычной, телефонной по выделенным
и/или коммутируемым линиям связи,- всегда возникают проблемы их рационального
сочетания и разумного использования (чаще всего с экономической точки зрения).
Например, мощные GSM-шлюзы, разрабатываемые компанией Quasar Communication
Systems, позволяют существенно снизить стоимость соединений между абонентами
сотовой сети и абонентами обычной телефонной сети общего применения (ТфОП).
Как известно, тарифы сотовых операторов на
внутрисетевые соединения сотовый-сотовый намного дешевле, чем соединения, в
которых один из абонентов не является абонентом сотовой сети. Например, при
звонках с мобильного на городской номер, не говоря уже о мобильной
международной связи.
Разница в стоимости обусловлена арендой дополнительных
каналов между коммутаторами сотовых операторов и ГАТС, а также установкой
дополнительного оборудования для сопряжения двух сетей, расходами на
дополнительную тарификацию. Необходимость всего этого говорит о том, что в
обозримом будущем принципиально невозможно сотовым операторам избавиться от
дополнительных расходов, а значит разница между стоимостью внутри сетевых
соединений и звонками в город не исчезнет.
Рисунок 29 - Организация связи без использования GSM
шлюза
Рисунок 30 - Организация связи с использованием GSM
шлюза
шлюзы позволяют уменьшить расходы на мобильную связь
на 60% (эта цифра может быть и больше, в зависимости от тарифов местных
операторов сотовой связи). Сокращение расходов происходит за счет сокращения
количества соединений сотовый - городской номер, и использования вместо них
соединений сотовый-сотовый, при этом разница особенно заметно при использовании
корпоративных тарифов или "любимых" номеров. Таким образом,
обладатель GSM шлюза получает возможность звонить в город по самому дешевому из
предлагаемых оператором тарифу.шлюз может быть установлен как в офисе или
производственном помещении, так и дома для личного пользования. В шлюз
устанавливается стандартная SIM карта и для сотовой сети он становиться одним
из обычных мобильных абонентов. Соединительная линия шлюза (одна или несколько)
подключаются к офисной АТС или непосредственно к шлюзу городской АТС.
Наиболее выгодно применять GSM шлюзы в организациях
имеющих сотрудников, работа которых связана с передвижением вне офиса и
потребности быть на связи. При организации временных офисов прокладка кабеля, к
которым экономически не выгодна на небольшой срок, или же затруднена ввиду
удаленности или рельефа местности.
Операторы сотовой сети, используя GSM шлюзы, могут
отказаться от услуг проводных провайдеров и предоставлять своим клиентам прямой
доступ в сеть, что позволит предлагать новые услуги и сервисы, а также новые
существенно более выгодные тарифы корпоративным клиентам.
Используя GSM шлюзы CelluLink становиться возможным:
– предлагать новые, значительно более дешевые тарифы корпоративным
клиентам, предоставляя не только дешевую связи сотовый-сотовый, но и
комплексное решение для организации связи для компаний путем подключения
офисной АТС клиента не через посредника - проводного оператора, а на прямую в
сотовую сеть;
– установив в шлюз SIM карту с фиксированным безлимитным
тарифом снизить стоимость всех исходящих (из офиса) соединений с мобильными
сотрудниками, (а также со всеми абонентами сети) до стоимости этой SIM карты. А
стоимость вызовов от мобильных сотрудников в офис снизить до тарифа
сотовый-сотовый;
– передача SMS сообщений с мобильного телефона сотрудника
компании в офис на стационарный ISDN телефон с дисплеем (при установке шлюза с
интерфейсом ISDN BRI). При использовании шлюза с аналоговой СЛ, SMS можно
передавать на подключенный к шлюзу компьютер;
– возможность с мобильного телефона осуществлять междугородние
вызовы через любого альтернативного оператора, соединяясь с ним через ТфОП.
5.5 GSM/GPRS-модем
Siemens
/GPRS-модем Siemens MC35i Terminal выгоден там, где
требуется наладить протяженный канал связи для передачи малых объемов
информации. Тянуть провода в этом случае слишком накладно. Радиомодемы тоже не
всегда спасают положение - их использование в городских условиях зачастую
проблематично.
Уже сложившаяся сфера применения Siemens MC35i
Terminal весьма широка. В частности, это всевозможные системы телеметрии -
удаленного сбора данных. Скажем, в городском коммунальном хозяйстве на базе
Siemens MC35i Terminal возможна организация сбора данных от приборов учета
расхода холодной и горячей воды, газовых и электрических счетчиков. Еще
примеры: управление торговыми автоматами и банкоматами, аппаратура оповещения о
сложившихся аварийных ситуациях на газо- и нефтепроводах. Передачей данных по
сотовой связи активно пользуются и сети автозаправочных станций. Список был бы
неполным без охранных систем - на объектах недвижимости Siemens MC35i Terminal
применяют для передачи тревожных сигналов. Словом, применение Siemens MC35i
Terminal найдется практически в любой «распределенной» системе контроля,
управления и диспетчеризации.
Прочный корпус Siemens MC35i Terminal служит надежной
защитой от внешних воздействий, так что модем уверенно работает в очень жестких
условиях эксплуатации: при экстремально низких или высоких температурах,
сильном запылении или задымлении, вибрации и т.д. Приведем только некоторые
нестандартные примеры на основе модема Siemens MC35i Terminal.
Технические характеристики Siemens MC35i Terminal
GSM/GPRS-модема, работающего в режиме постоянного подключения
Терминал MC35i, разработанный в первую очередь для
сегмента M2M «машина-машина», находится в режиме постоянного подключения и
обладает возможностями высокоскоростной передачи данных.
Надежное двухдиапазонное GSM-устройство с поддержкой
стандарта GPRS класса 8 может использоваться для различных целей:
– .. мобильный доступ в интернет
– .. системы управления дорожным движением и навигации
– .. телесервис
– .. логистика
– .. системы безопасности
– .. торговые автоматы
– .. дистанционный контроль
– .. дистанционное управление
С помощью стандартизованных интерфейсов можно легко
подключить терминал MC35i к различным устройствам с использованием технологии
plug & play, что позволяет сократить сроки и стоимость разработки
продуктов.
Другим преимуществом является то, что терминал уже
получил одобрение R&TTE и GCF, а также сертифицирован в России, и ему
присвоена маркировка Е (необходимая для установки на транспорте в Европе).
Наиболее важные функциональные возможности терминала
MC35i:
– Работа в двух диапазонах GSM (900/1800 МГц) и GPRS класса 8
– Поддержка канала управления широковещательной передачей
пакетов (PBCCH)
– Широкий диапазон входного напряжения
– Стандартизованные интерфейсы
– Интегрированный держатель SIM-карты
– Набор инструментов для SIM-приложений
– Расширенный набор АТ-команд для промышленных приложений
Технические характеристики
Основные:
– .. Диапазоны частот: EGSM 900 и GSM 1800 МГц
– .. Соответствует фазе GSM 2/2+
– .. Выходная мощность: - Класс 4 (2Вт) для EGSM 900 МГц -
Класс 1 (1Вт) для GSM 1800 МГц
– .. Управление AT-командами
– .. SIM Application Toolkit
– .. Интерфейс RS232 с поддержкой режима Multiplex
– .. Режим энергосбережения
– .. Диапазон напряжения питания 8 - 30В
– .. Габариты: 65х74х33 мм
– .. Вес: 130г
– .. Допустимая температура окружающей среды: -20°C - +55°C
Передача данных
– .. GPRS класс 8 (до 85,6 Кбит/с)
– .. Полная поддержка PBCCH
– .. Подвижная станция GPRS, класс B
– .. CSD до 14,4 Кбит/с
– .. USSD
– .. Непрозначный режим
– .. V.110
– .. Схемы кодировки CS1, 2, 3, 4
Факс
– .. Группа 3, класс 1, 2
SMS
– .. Point-to-point MO и MT
– .. SMS cell broadcast
– .. Текстовый и PDU формат
Аудио
– .. Half rate (HR)
– .. Full rate (FR)
– .. Enhanced full rate (EFR)
– .. Основные hands-free операции - подавление эха -
шумоподавление
Дополнительные
– .. Телефонная книга
– .. Конференцсвязь
– .. Переадресация вызовов
– .. Часы с двухзонным представлением времени
– .. Управление звуковыми предупреждениями
– .. Несколько тоновых сигнала вызова
– .. DTMF (двухканальный многочастотный набор номера)
Интерфейсы
– .. Разъем для блока питания
– .. Аудио интерфейс телефонной трубки
– .. Считыватель SIM-карты
– .. Антенный коннектор FME (штырь)
– .. 9-контактное гнездо SUB-D последовательного интерфейса
V.24/V.28
– .. Светодиод рабочего состояния
Примеры применения
«Умный дом» на базе системы Siemens MC35i Terminal
В новой линейке оборудования для умного дома Siemens
MC35i Terminal применен в качестве модуля, который подключается к центральному
контроллеру и позволяет удаленно управлять системой и всем домом, а также
оповещать о срабатывании сигнализаций, событий.
С помощью системы реализуется управление следующими
домашними системами:
– Освещение
– Энергоснабжение
– AV-техника
– Климатическая техника
– Система сигнализации, предотвращения затопления и протечек
воды, канализации
– Система сигнализации и предотвращения утечек газа
– Электродвигатели
– Хозяйственные системы - полив растений, подача воды и проч.
– Система безопасности и доступа
– GSM-cигнализация охранная и пожарная
– Система управление функциями системы
В рамках данной системы сотовый терминал Siemens MC35i
Terminal позволяет реализовать следующие функции:cигнализация охранная
– мультизонная охрана
– одновременно включена функция экономии электроэнергии
– управление с пульта
– оповещение о срабатывании и состоянии на удаленные сотовые
телефоны
– снятие и постановка с охраны с удаленного сотового телефона
GSM сигнализация пожарная
– мультизонная охрана
– управление с пульта
– оповещение о срабатывании и состоянии на удаленные сотовые
телефоны
– снятие и постановка с охраны с удаленного сотового телефона
GSM управление всеми функциями системы
– удаленное включение освещения
– удаленное включение отопления
– удаленное управление кондиционерами
– удаленное включение электроприборов
– удаленное управление доступом
– удаленный запуск сценариев
– удаленная постановка и снятие с охраны
Организация сбора данных с газовых счётчиков
Основным полем деятельности в этом варианте является
проектирование, монтаж и обслуживание газового оборудования:
– узлы учета газа
– узлы учета тепла (теплоцентры)
– автоматика контроля загазованности
В рамках проектов Siemens MC35i Terminal используется
для подключения корректоров газа на узлах учёта газа на объектах города и
области, для удобства съёма и передачи информации на диспетчерские пульты -
обслуживающей и инспектирующей организаций.
6
Обзор, выбор среды и разработка программного обеспечения
6.1 Современные SCADA-системы
сокр. от англ. Supervisory Control And Data
Acquisition - диспетчерское управление и сбор данных. Под термином SCADA
понимают инструментальную программу для разработки программного обеспечения
систем управления технологическими процессами в реальном времени (АСУ ТП) и
удаленного сбора данных (телемеханика). Реже термин SCADA-система используют
для обозначения программно-аппаратного комплекса сбора данных
(телемеханического комплекса).
Основные задачи, решаемые SCADA-системами:
– Обмен данными с УСО (устройства связи с объектом, т.е. с промышленными
контроллерами и платами ввода/вывода) в реальном времени через драйверы.
– Обработка информации в реальном времени.
– Отображение информации на экране монитора в понятной для
человека форме (HMI сокр. от англ. Human Machine Interface - человеко-машинный
интерфейс).
– Ведение базы данных реального времени с технологической
информацией.
– Аварийная сигнализация и управление тревожными сообщениями.
– Подготовка и генерирование отчетов о ходе технологического
процесса.
– Осуществление сетевого взаимодействия между SCADA ПК.
– Обеспечение связи с внешними приложениями (СУБД, электронные
таблицы, текстовые процессоры и т.д.)
SCADA-системы позволяют разрабатывать АСУ ТП в
клиент-серверной или в распределенной архитектуре (DCS сокр. от англ.
Distributed Control System - распределённая система управления).
Иногда SCADA-системы комплектуются дополнительным ПО
для программирования промышленных контроллеров. Такие SCADA-системы называются
интегрированными и к ним добавляют термин SoftLogiс. Некоторые прозводители объединяют
в единый программный комплекс возможности SCADA и MES систем.
Термин SCADA эволюционировал вместе с развитием
технологий автоматизации и управления технологическими процессами. В 80-е годы
под SCADA-системами понимали любые программно-аппаратные комплексы сбора данных
реального времени. В 90-х годах термин SCADA больше используется для
обозначения только программной части АСУ ТП. В некоторых странах синонимом
термина SCADA является HMI, хотя данный термин сужает функциональные
возможности SCADA-систем.
В России больше распространены SCADA-системы
отечественного производства.
Отечественные SCADA-системы
– SCADA и MES-система InfinitySuite
– SCADA и SOFTLOGIC-система Trace Mode
– SCADA-система СТАТУС-4
– SCADA-система СПРИНТ
– SCADA-система MasterSCADA
– SCADA-система Круг 2000
– SCADA/HMI DataRate - программный продукт
класса HMI (Human-Machine
Interface)
– SCADA-система КАСКАД
– SCADA-система LanMon-3
Зарубежные SCADA-системы
– SCADA -система RealFlex
– SCADA/HMI-система InTouch
– Siemens SIMATIC WinCC
– SCADA/HMI-система GENESIS32
– SCADA/HMI-система I_Fix
– SCADA-система Citect
– Proficy HMI SCADA
Cimplicity
– SCADA-система RealFlex
– Winlog SCADA software
– SCADA-системы компании Motorola: MOSCAD, ACE-3600
6.2 Технологии COM, ActiveX
и OPC
(англ. Component Object Model - Объектная Модель
Компонентов; произносится как [ком]) - это технологический стандарт от компании
Microsoft, предназначенный для создания программного обеспечения на основе
взаимодействующих распределённых компонентов, каждый из которых может
использоваться во многих программах одновременно. Технология воплощает в себе
идеи полиморфизма и инкапсуляции объектно-ориентированного программирования.
Технология COM в принципе является универсальной и платформо-независимой, но
закрепилась в основном на операционных системах семейства Windows. В
современных версиях Windows COM используется очень широко. На основе COM также
было создано множество других стандартов: OLE Automation, ActiveX, DCOM, COM+.
История COM
Стандарт COM был разработан в 1993 году компанией
Майкрософт как основа для развития технологии OLE. Технология OLE 1.0 уже
позволяла создавать т. н. «составные документы» (англ. compound documents):
например, в пакете Microsoft Office эта технология позволяла включать диаграммы
Microsoft Excel в документы Microsoft Word). Стандарт же COM должен был
унифицировать процесс создания, внедрения и связывания таких внедряемых
объектов, а также стандартизировать разработку приложений, использующих
внедряемые объекты.
Путаница в названиях
В 1996 году Майкрософт попыталась переименовать
технологию OLE в ActiveX, но это удалось лишь частично. Например, технология
OLE позволяла создавать так называемые элементы управления OLE (англ. OLE
Controls, или OCX) - повторно используемые элементы пользовательского
интерфейса, которые были построены на стандарте COM. Эти элементы управления
OLE были переименованы в элементы управления ActiveX (англ. ActiveX controls),
хотя расширение файлов «.ocx» за ними осталось. Затем Майкрософт стала активно
продвигать ActiveX в Интернет, включив поддержку элементов ActiveX в свой
популярный браузер Internet Explorer. В результате название OLE осталось только
за технологией составных документов и локальных внедряемых объектов. А сетевые
OLE-объекты стали называть по-новому - ActiveX.
Некоторая путаница между понятиями OLE и ActiveX
сохраняется и до сих пор, но речь идёт об одних и тех же COM-технологиях.
Причём, иногда даже путают понятия OLE и COM. Так, внедряемые OLE-объекты
иногда называют COM-объектами, а OLE-контейнеры COM-контейнерами, и т. п.
Принципы работы COM
Основным понятием, которым оперирует технология COM,
является COM-компонент. Программы, построенные на технологии COM, фактически не
являются автономными программами, а представляют собой набор взаимодействующих
между собой COM-компонентов. Каждый компонент имеет уникальный идентификатор
(GUID) и может одновременно использоваться многими программами. Компонент
взаимодействует с другими программами через COM-интерфейсы - наборы абстрактных
функций и свойств. Каждый COM-компонент должен, как минимум, поддерживать
стандартный интерфейс «IUnknown», который предоставляет базовые средства для
работы с компонентом.API предоставляет базовые функции, позволяющие
использовать COM-компоненты. Библиотеки MFC и, особенно, ATL/WTL предоставляют
гораздо более гибкие и удобные средства для работы с COM. Библиотека ATL от
Майкрософт до сих пор остаётся самым популярным средством создания
COM-компонентов. Но, зачастую, COM-разработка остаётся ещё довольно сложным
делом, программистам приходится вручную выполнять многие рутинные задачи,
связанные с COM (особенно это заметно в случае разработки на C++). Впоследствии
(в технологиях COM+ и особенно .NET) Майкрософт попыталась упростить задачу
разработки COM-компонентов.
Развитие COM
Выпущенная в 1996 году технология DCOM (англ.
Distributed COM - распределённая COM) основана на технологии DCE/RPC
(разновидности RPC) и является развитием COM. DCOM позволяет COM-компонентам
взаимодействовать друг с другом по сети. Главным конкурентом DCOM является
другая известная распределённая технология - CORBA.
В составе Windows 2000 была выпущена технология COM+,
которая расширяла возможности разработчиков COM-компонентов, предоставляя им
некоторые готовые услуги, например:
– улучшенную поддержку потоков;
– доступ к контексту, в котором выполняется компонент
(например, компоненты, используемые в ASP, могут с этой возможностью получить
доступ к внутренним объектам той страницы, на которой они выполняются).
COM+ объединяет компоненты в так называемые приложения
COM+, что упрощает администрирование и обслуживание компонентов. Безопасность и
производительность - основные направления усовершенствований COM+. Некоторые
идеи, заложенные в основу COM+, были также реализованы в Microsoft .NET.
.NET и будущее COM
В 2002 году была официально выпущена платформа
Microsoft .NET, которая на сегодняшний день объявлена Майкрософт рекомендуемой
основой для создания приложений и компонентов под Windows. По этой причине в
.NET включены и средства, позволяющие обращаться к компонентам COM из
приложений .NET, и наоборот. По словам представителей Майкрософт, COM (точнее,
COM+) и .NET являются отлично взаимодополняющими технологиями. Также известно,
что Windows Vista построена с использованием технологий .NET и COM+.
6.3 OPC-сервер
Общие положения
OPC-сервер (OLE for Process Control) - программная
технология на базе Windows-технологий (OLE, ActiveX, COM/DCOM), предоставляющая
единый интерфейс для управления объектами автоматизации и технологическими
процессами.клиент. Правила игры заданы - OPC-сервер поставляет данные,
OPC-клиент их потребляет. Этим определяется вторая категория пользователей
спецификаций OPC - к ней относятся прежде всего те, кто реализует программное
обеспечение более высокого уровня, например поставщики SCADA-пакетов или
чего-то близкого по назначению.
Что же требуется от производителя “верхнего” ПО, если
он задумал обеспечить свой продукт стандартным интерфейсом? Как и в предыдущем
случае, ему надо получить нужную спецификацию и прилагаемые программные
компоненты. Затем он должен изучить COM-интерфейсы тех COM-объектов этой
спецификации, которые относятся в ней к модели OPC-клиента, и только после
этого посадить за Visual Studio достаточно опытного программиста, чтобы тот с
помощью ATL-библиотеки реализовал требуемые интерфейсы, а значит, и OPC-клиент
для Custom-интерфейса. Можно использовать Visual Basic или, скажем, Delphi, и
тогда будет создан OPC-клиент для интерфейса автоматизации (если она
предусмотрена для данной спецификации). По-прежнему сэкономить на квалификации
программиста помогает Toolkit.
Остальные потребители собирают системы из
OPC-серверного оборудования и соединяют его с OPC-клиентным ПО. Главный фокус
здесь - каждому OPC-серверу найти OPC-клиента и наоборот. Очень часто чего-то
из них не хватает, и тогда не исключена вероятность перехода потребителя в
категорию изготовителей, но чаще заказчиков OPC-продукции.
Чтобы лучше почувствовать, что такое OPC, рассмотрим
подробнее главный по большому счету стандарт Data Access (DA), предназначенный
для поставки оперативных данных от оборудования и/или к оборудованию (термин
ОРС часто используют как синоним ОРС DA). Для DA реализованы спецификации как
пользовательского интерфейса, так и интерфейса автоматизации. В качестве
функционального интерфейса последний ничем не отличается от пользовательского,
за исключением того, что не позволяет одновременно работать с несколькими
OPC-серверами и к нему добавлен упомянутый выше COM-интерфейс IDispatch,
обязательный в OLE Automation. Это позволило OPC Foundation издать “обертку”
(wrapper) в виде dll, преобразующую один интерфейс в другой. Таким образом,
разработчик ОРС-сервера заботится только о Custom-интерфейсе, а если клиент
предпочитает интерфейс автоматизации, он использует эту библиотеку в качестве
переводчика.
В 2003 году выпущена спецификация OPC DA версии 3.0.
Более интересно рассмотреть, с чем работает DA.
Основной единицей данных в OPC является переменная (Item). Переменная может
быть любого типа, допустимого в OLE: различные целые и вещественные типы,
логический тип, строковый, дата, валюта, вариантный тип и т. д. Кроме того,
переменная может быть массивом.
Каждая переменная обладает свойствами. Различаются
обязательные свойства, рекомендуемые и пользовательские. Обязательными свойствами,
понятно, обязана обладать каждая переменная. Это, во-первых, текущее значение
переменной, ее тип и права доступа (чтение и/или запись). Во-вторых, очень
важные свойства - качество переменной и метка времени. Технология OPC
ориентирована на работу с оборудованием, а оборудование может давать сбои, так
что корректное значение переменной не всегда известно OPC-серверу, о чем и
уведомляется клиент через качество (хорошее/плохое/неопределенное и
дополнительная информация). Метка времени сообщает о том, когда переменная
получила данное значение и/или качество. Еще одним обязательным свойством
является частота опроса переменной OPC-сервером, хотя его можно было бы и не
относить к обязательным, так как не все OPC-серверы работают в режиме опроса
оборудования. Последнее из обязательных свойств - описание переменной. Это
строковое значение, содержащее информацию для пользователя о том, что
представляет собой эта переменная.
Дополнительные свойства необязательны для OPC-сервера.
Это, например, диапазон изменения (выход за границы диапазона должен
специальным образом обрабатываться клиентом) и единица измерения. Есть перечень
рекомендуемых свойств, но можно добавить и свои собственные, то есть
пользовательские.
Существует три основных способа получения OPC-клиентом
данных от OPC-сервера: синхронное чтение, асинхронное чтение и подписка. При
синхронном чтении клиент посылает серверу запрос со списком интересующих его
переменных и ждет, когда сервер его выполнит. При асинхронном чтении клиент
посылает серверу запрос, а сам продолжает работать. Когда сервер выполнил
запрос, клиент получает уведомление (через интерфейс соответствующего
COM-объекта, реализованного в клиенте!). И, наконец, в случае подписки клиент
передает серверу список интересующих его переменных, а сервер затем регулярно
присылает клиенту информацию об изменившихся переменных из этого списка (опять
же через интерфейс соответствующего COM-объекта клиента!). Эти списки в
терминологии OPC называются группами. Каждый клиент может поддерживать
одновременно много групп с разной скоростью обновления.
Запись данных ничем не отличается от чтения, за
исключением того, что нет записи по подписке.
Технология OPC регламентирует только интерфейс между
OPC-клиентами и OPC-серверами (как и положено в технологии клиент-сервер,
допускаются множественные подсоединения). И она абсолютно не регламентирует
способ получения этих данных от оборудования! Разработчик сам определяет, где и
как их брать. Но тем не менее есть некоторые разумные, с точки зрения
разработчиков OPC, модели взаимодействия с оборудованием. Для их рационального
обслуживания предлагаются соответствующие механизмы. Например, можно попросить
OPC-сервер получать данные не напрямую, а извлекать их из своего внутреннего
буфера (кэша). Разумеется, если сервер не делает кэширования, он вправе эту
просьбу проигнорировать.
Переменные в OPC-сервере могут быть представлены либо
в виде простого списка, либо в виде дерева, напоминающего дерево файлов на
диске (только вместо термина “папка” в OPC говорят “ветвь”). И есть соответствующие
интерфейсы для навигации по этому дереву, позволяющие, в частности, в любой
момент запросить дерево переменных, поддерживаемых OPC-сервером. Если
оборудование допускает, дерево может изменяться динамически. Впрочем, если быть
до конца точными, интерфейс для просмотра дерева объявлен в OPC-спецификации
как необязательный. Тем не менее он настолько удобен, что практически все
OPC-серверы его реализуют.
Кроме того, есть механизм оповещения о завершении
работы OPC-сервера, запроса информации о самом сервере и списка
зарегистрированных групп. В общем, разработчики OPC-спецификаций предусмотрели
многое для облегчения организации взаимодействия поставщика данных
(OPC-сервера) и потребителя данных (OPC-клиента). Однако цель этого раздела -
описание не DA-интерфейсов, а того, как OPC ориентируется именно на работу с
оборудованием, в частности на обмен данными.
Инструментарий
Как уже было сказано, чтобы создать OPC-сервер или
OPC-клиент, нужно только взаимодействие с OPC Foundation (получить
OPC-спецификации) и Microsoft (купить Visual C++ и пр.). Но очень много сложных
вопросов придется решить при программировании OPC-интерфейсов.
Во-первых, само программирование COM не такое уж
незатейливое, даже с применением ATL. Есть над чем подумать. Во-вторых, сами
OPC-объекты и их OPC-интерфейсы достаточно сложны и громоздки. Так что придется
потрудиться. И, в-третьих, надо решить вопросы системного уровня, затрагивающие
фабрики класса (новый COM-термин!), заглушки и заместители, апартаменты (новый
COM-термин!), асинхронный обмен, многозадачность, синхронизацию, память+
Кстати, проблема памяти весьма актуальна, так как в COM допускается (и сплошь и
рядом в OPC используется) выделение памяти в сервере, а удаление ее возлагается
на клиент. Малейшая неточность - и пойдут трудно устранимые утечки памяти. А
поскольку OPC-сервер обычно должен работать стационарно, рано или поздно
происходит крах системы.
Всего этого можно избежать, если воспользоваться
специальным инструментарием разработчика. Есть достаточно много фирм, которые
реализацию OPC-спецификаций избрали своим бизнесом. Они в той или иной степени
уже “наступили на все грабли” и предлагают средства, позволяющие более-менее
безопасно и легко создавать OPC-продукцию.
Типичный инструментарий представляет собой библиотеку,
состоящую из OPC-объектов выбранной спецификации. Разработчику же, например,
OPC-сервера предлагается некий набор вызовов, достаточно простых (read, write),
которые необходимо “прицепить” к своему оборудованию для доступа к его данным.
Для тех, кто знает объектное программирование, заметим, что эти функции могут
быть реализованы как виртуальные функции некоторого класса, их нужно
перегрузить в своем приложении.
OPC и интеграция
Теперь настало время взглянуть на OPC с точки зрения
главной темы статьи. На рисунке представлена схема, иллюстрирующая возможные
области применения OPC-серверов в АСУ предприятия. Мы различаем несколько
уровней управления:
– нижний уровень - полевые шины (fieldbus) и отдельные контроллеры;
– средний уровень - цеховые сети;
– уровень АСУ ТП - уровень работы систем типа SCADA;
– уровень АСУП - уровень приложений управления ресурсами
предприятия.
Каждый из этих уровней может обслуживаться
OPC-сервером, поставляя данные OPC-клиенту на более высоком уровне или даже
“соседу”.
Возможные области применения OPC-серверов в АСУ
предприятия
Если имеется оборудование, например плата АЦП,
управляемая через драйвер на компьютере с Windows или другой ОС, поддерживающей
COM/DCOM, то это самый главный кандидат на реализацию OPC-сервера
непосредственно поверх драйвера.
Замена устройства не потребует изменения остальных
приложений: драйвер изменяется, но OPC-интерфейс поверх него остается прежним.
При наличии устройства, управляемого через
какой-нибудь сетевой протокол, вполне возможна реализация OPC-сервера,
получающего данные по этому протоколу. Единственная особенность - следует
предусмотреть механизмы восстановления связи в случае сбоев.
Несколько более сложной будет схема при работе
управляющих приложений на компьютере, не поддерживающем COM/DCOM. В этом случае
применим двухкомпонентный OPC-сервер. На стороне ОС, не поддерживающей COM,
устанавливается сетевой модуль, который, с одной стороны, связан с
приложением(ями), а с другой - через сеть с OPC-сервером. Заметим, что сетевой
модуль может быть стандартным, как, например, ISaNet в системе ISaGRAF. В этом
случае необходимо разработать только OPC-сервер. По такому принципу
функционирует OPC-сервер ISaGRAF фирмы “РТСофт” (www.rtsoft.ru). Иногда сетевой
модуль создается специально для OPC-сервера. Возможна даже реализация, при
которой этот модуль не ориентирован на конкретное приложение, а предоставляет
некоторый API-интерфейс для любых приложений, желающих обслуживаться с помощью
OPC. Так действует OPC-сервер для операционной системы OS-9, также разработанный
в “РТСофт”.
Еще одна разновидность OPC-сервера - шлюз к сети
полевой шины, такой, как Profibus или Lonworks. Реализация этой схемы очень
похожа на предыдущие случаи. Скорее всего, на компьютере с ОС Windows будет
установлен адаптер fieldbus-сети, а OPC-сервер будет взаимодействовать с этой
сетью через драйвер адаптера. В Internet можно найти немало таких примеров.
Идея подобной схемы достаточно очевидна. Сеть полевой
шины работает в жестком реальном времени, а OPC предоставляет менее
требовательный шлюз к этой сети из приложений более высокого уровня.
Можно назвать много других мест применения OPC: для
работы с базами данных в качестве вспомогательных или промежуточных
OPC-серверов и т. д. Возможности для фантазии безграничны. Одну такую фантазию
хотелось бы описать. Технология DCOM, как уже говорилось, не очень пригодна для
глобальных сетей. Поэтому для привлечения к OPC-технологии Internet-технологий
можно набросать такой путь. Расширение Web-сервера является OPC-клиентом,
собирающим данные от OPC-серверов. А на стороне клиентов запускается
динамическая html- или xml-страница, получающая данные от этого Web-сервера. Ее
можно сделать даже OPC-сервером для других приложений.
Полезность применения OPC с точки зрения интеграции
достаточно прозрачна и вытекает из самой сути OPC. Это стандарт на интерфейс
обмена данными с оборудованием. Первое преимущество - если вы заменяете
какой-нибудь компонент, то нет нужды корректировать другое ПО, так как даже при
замене драйвера поверх него работает OPC. Второе - если вы хотите добавить в
систему новые программы, нет необходимости предусматривать в них драйверы
устройств, кроме OPC-клиента, разумеется. Ну и так далее.
Состояние дел
До сих пор мы описывали технологию и ее возможности. А
каково же состояние дел с ее внедрением?
Идеальной была бы следующая картина. Все в мире
признают OPC своим стандартом. При этом поставщики оборудования, в том числе
полевых шин, снабжают выпускаемые продукты OPC-серверами, а поставщики программ
для систем управления делают собственные продукты OPC-клиентами и во многих
случаях еще и OPC-серверами. При этом и те и другие реализуют все спецификации
и поддерживают все интерфейсы OPC. А все производители операционных систем
встраивают в свои ОС технологии COM/DCOM, а также предоставляют сервисный
инструментарий как для него, так и для OPC. И при этом все делается на высоком
профессиональном уровне и очень грамотно рассказывается сборщикам систем, как
это все собирать и конфигурировать. Вот тогда вопрос обмена данными в системах
автоматизации можно было бы считать закрытым.
Но пока положение дел несколько иное. В настоящее
время общепризнанным стандартом является только спецификация DA OPC, а
остальные спецификации только начинают завоевывать себе место под солнцем. Не
все спецификации завершены, по крайней мере, с точки зрения интерфейса
автоматизации (например, для ОРС-Batch уже существует версия 2.0
custom-интерфейса, и только 1.0 - для интерфейса автоматизации. Для некоторых
других спецификаций тоже существует отставание интерфейсов автоматизации от
custom-интерфейсов; для ОРС Security спецификации на интерфейс автоматизации
вообще не существует).
Соответственно широкое распространение получил лишь
стандарт OPC DA. Можно сказать, что сейчас действительно очень многие
производители снабжают свои продукты OPC DA серверами. Чего нельзя сказать о
других спецификациях.
Среди программ высокого уровня аналогичная картина.
Спросом пользуется лишь OPC DA. Все известные нам SCADA-продукты являются
OPC-клиентами, например Wonderware InTouch, CiTect (Ci Technologies), а многие
из них и OPC-серверами (в частности, CiTect). Другое ПО подвержено влиянию OPC
в гораздо меньшей степени.
Из операционных систем технологию COM/DCOM
поддерживают следующие:
– все Windows, начиная с Windows 95. Это обеспечивается самой компанией
Microsoft;
– большинство Unix-подобных ОС, включая Linux; поддерживается
фирмой GE Software;
– ОС реального времени VxWorks; обеспечивается
фирмой-разработчиком WindRiver; имеется поддержка OPC, встроенная в систему
разработки Tornado.
В других операционных системах, насколько нам
известно, поддержки COM/ DCOM нет. Это не очень отрадный факт, поскольку
разработчиков систем автоматизации в первую очередь интересуют ОС реального
времени.
Перспективы
Итак, в настоящее время картина далеко не идеальна.
Еще довольно много оборудования и ПО не охвачено OPC-технологиями. Даже
технологией DA. Но нам представляется, что сейчас в мире налицо некий бум OPC,
по крайней мере, в отношении опять же DA. Думается также, что Microsoft рано
или поздно доведет все до желаемого уровня по всем направлениям. Тем более что
альтернативных вариантов пока нет. Мы имеем в виду не COM/DCOM, а именно
спецификации на обмен технологическими данными. Поскольку для COM/DCOM замена
как раз имеется - CORBA. Это действительно изначально платформно-независимая
технология взаимодействия приложений. Но это не обмен технологическими данными,
реализующий более высокий уровень абстракции. Кстати, заметим, что на рынке
имеются OPC-шлюзы к CORBA (это возможно, как и к любому другому протоколу).
Заключение
Технология OPC предлагает стандарты для обмена
технологическими данными, в которые заложены самые широкие возможности.
Учитывая большой авторитет вовлеченных в данную деятельность фирм, можно
ожидать, что технология OPC будет набирать силу. Это перспективная технология
для интеграции разнородных систем. Хотя процесс становления еще далеко не
завершен и есть много проблем, которые предстоит решить.
7
Разработка функциональных схем и экспериментальная проверка системы
7.1 Функциональная схема системы АСТРК-СХК
Обобщая все вышеприведенное, можно предложить
следующую функциональную схему системы АСТРК-СХК (рисунок 36). Датчики через
контроллеры, например, типа ADAM
(фирмы Advantech) непосредственно или через
преобразователи интерфейсов RS-485
- RS-232 проключаются на модемы (обычный
проводной модем и/или GSM-модем).
В диспетчерских пунктах информация через подключенные через сопряжение RS-232 непосредственно к ПЭВМ модемы
(также обычный проводной модем и/или GSM-модем) поступает в программную среду обработки данных, архивирования,
протоколирования, подготовки отчетов и т. п.
Рисунок 31 - Функциональная схема системы АСТРК-СХК
Проблема выбора структуры и типа контроллеров подробно
обсуждается в разделах 4 и 5. Здесь только отметим, что при минимизации числа
датчиков и функций, выполняемых в среде нижнего уровня, контроллер может иметь
минимальную конфигурацию, вплоть до одного-двух модулей ввода-вывода сигналов.
Расширение количества датчиков и функций потребует включения в состав устройств
на нижнем уровне процессоров для предварительной обработки информации,
логических контроллеров, устройств сопряжения и конфигурирования, блоков
питания, конструктивов, специальных модемных блоков для данного контроллера и
т. п. Кроме того, такое расширение потребует принципиально другого программного
обеспечения с передачей на нижний уровень ряда важных функций, вплоть до
автономной работы этого узла.
Очевидно, что более детально это множество вопросов
может быть изучено и решено на стадии рабочего проектирования,
экспериментального исследования ряда схем структуры системы и разработки
программного обеспечения.
Рисунок 32 - Аналог схемы доступа в системе с
GSM-модемом
Рисунок 33 - Схема системы с каналами GSM-связи и с
проводными модемами
7.2 Принцип работы схемы
Рисунок 34 - Принципиальная схема системы сбора
информации с удаленных точек контроля
Принцип работы схемы:
– Датчик БДМГ-08Р используется в качестве измерительного преобразователя
мощности полевой поглощенной дозы в частоту следования электрических импульсов.
– Данный сигнал с выхода датчика БДМГ-08Р подается на частотный
вход модуля счетчика/частотомера, где преобразуется в стандартизированный
сигнал RS-485 интерфейса.
– Поскольку GSM-модем
обладает только RS-232
интерфейсом, то сигнал необходимо преобразовать с помощью преобразователя
интерфейсов. После конвертации сигнала на выходе модуля № 3 имеем сигнал RS-232 интерфейса.
– GSM-модем подключается к преобразователю
интерфейса с помощью стандартного RS-232 кабеля. GSM-модем,
используя GSM как среду передачи данных, передает
данные к удаленной диспетчерской точке с другим GSM-модемом.
– GSM-модем подключается к COM-порту (9pin) ПК с помощью стандартного RS-232 кабеля.
– На ПК с помощью любого доступного средства (специально
разработанное программное обеспечение, конфигурационные утилиты (ограниченная
функциональность) или SCADA-система)
осуществляется сбор, обработка, анализ, хранение и представление в требуемом
виде информации, полученной от удаленной точки сбора. Также со стороны ПК
осуществляется управление удаленным модулем (задание значений тревожных границ,
управление дисплеем и т.д.), а также управление оповещением необходимых лиц и
служб в тревожных ситуациях.
7.3 Принципиальная схема системы АСТРК-СХК
Принципиальная схема для подключения оборудования
представлена на рисунке 35.
Рисунок 35 - Принципиальная схема системы
7.4 Программа испытаний
План испытаний
– Подбор необходимого оборудования;
– Подготовка элементов питания;
– Предварительная настройка ПК, модулей ADAM и GSM-модемов с помощью ПК.
– Сборка схемы;
– Проверка работоспособности с помощью фирменной утилиты ADAM Utility Software;
– Установление связи между двумя GSM-модемами;
– Снятие информации с датчика с помощью специализированного ПО.
Исходные данные и оборудование
Список необходимого оборудования:
– Датчик БДМГ - 08Р 1
шт.;
– Модуль I/O ADAM 4080D 1
шт.;
– Конвертор ADAM
4520 1 шт.;
– GSM-модем Siemens MC35i Terminal 2
шт.;
– Sim - карта 2
шт.;
– Windows-based ПК 1
шт.;
– ADAM Utility Software 1
шт.
Подготовка элементов питания
Необходимо предусмотреть питание всех элементов
системы согласно таблицы 14
Таблица 14 - Питание элементов схемы
|
Элемент системы
|
Параметры питающего
элемента
|
|
Датчик
|
+12 VDC
|
|
Модуль I/O ADAM 4080D
(подробно процесс подключения описан в ADAM-4000 Manual.pdf,
стр. 2-3)
|
Стандарт: +24 VDC.
Гарантируется работа в диапазоне +10 and +30 VDC
|
|
Конвертор ADAM
4520 (подробно процесс подключения описан в ADAM-4000 Manual.pdf,
стр. 2-3)
|
Стандарт: +24 VDC.
Гарантируется работа в диапазоне +10 and +48 VDC
|
|
GSM-модем
Siemens MC35i Terminal
|
8-30 В,
(блок питания поставляется)
|
Предварительная настройка ПК, модулей ADAM и GSM-модемов с помощью ПК
Все беспроводные терминалы Siemens оснащены
последовательным интерфейсом RS232. Как и обычный модем, беспроводный терминал
может быть подключен к любому RS232-устройству (ПК, регистратор данных, GPS и
т.п.) для организации беспроводного соединения.
Пошаговое руководство настройки беспроводного
терминала для удаленного доступа к устройству с последовательным интерфейсом.
– Запустите на ПК соответствующую коммуникационную программу, например,
Hyperterminal.
– Укажите номер COM-порта, к которому подключен модем. В нашем
примере это COM24.
– Настройте параметры порта. Например, скорость (бит/с) «9600»,
биты данных «8», четность «Нет», стоповые биты «1», управление потоком «Нет».
Рисунок 36 - Настройка параметров модема
– Убедитесь, что GSM-модем включен и подсоединен к соответствующему
COM-порту компьютера, и к модему подключена антенна.
– Вставьте SIM-карту с активированной услугой сотового
оператора «Передача данных по стандартному каналу» (CSD).
– Спустя примерно 15 секунд, дайте команду AT+COPS? Вы должны
получить отклик, содержащий название провайдера услуг сотовой связи. Это
означает, что устройство зарегистрировано в сети.
– Теперь можно приступать к настройке. Запустите команду
ATS0=1, чтобы установить устройство в режим автоответа после первого звонка.
– Если на вашем устройстве не присутствует протокол DTRii (Data
Terminal Ready), необходимо запустить команду AT&D0, чтобы отключить
DTR-обнаружение терминала. Если вы этого не сделаете, терминал может не дать
автоответа.
– Необходимо настроить последовательный порт терминала на ту же
скорость передачи, что и подключаемое устройство. Например, чтобы установить
скорость 9600 бит/с, используйте команду AT+IPR=9600. Если на шаге 3 вы указали
значение скорости порта отличное от заданного на шаге 9 командой IPR, то после
исполнения IPR вы не сможете осуществлять соединение с GSM-терминалом через
программу Hyperterminal. Вам потребуется переконфигурировать Hyperterminal на
скорость, на которую вы настроили терминал Siemens (например, 9600 бит/с).
– Сохраните текущие настройки терминала в пользовательском
профиле командой AT&W. Пользовательские настройки хранятся в энергонезависимой
памяти терминала и будут автоматически восстановлены после включения питания.
Для возврата к заводским установкам терминала используйте команду AT&F. Для
возврата к пользовательским установкам, сохраненным командой AT&W,
воспользуйтесь командой ATZ.
– Для установления соединения и осуществления передачи данных
выполните команду набора номера ATD. Пример - ATD80951111111. Для голосового
соединения (подключите телефонную трубку с разъемом RJ-11 4P4C) укажите символ
«;» в конце команды - ATD80951111111;. Для приема входящих вызовов, не имеющих
оповещения по сети о режиме передачи данных, например при схеме с одним
избирательным номером для всех типов вызовов или при вызовах с аналоговых
устройств используйте команду AT+CSNS=4 - режим приема «Данные» для всех
вызовов поступающих без указания типа вызова.
Для подключения терминала к вашему оборудованию вам
потребуется интерфейсный кабель. Если ваше оборудование предназначено для
работы с модемом, возможно оно оснащено таким же разъемом, что и ПК, и вы
сможете использовать стандартный модемный кабель. Однако если последовательное
устройство предназначено для подключения к ПК (оснащено таким же разъемом, что
и модем) вам потребуется «cross over» кабель.
Теперь вы можете соединить терминал и ваше
последовательное устройство и организовать удаленное последовательное
соединение с вашим устройством с помощью звонка на номер для передачи данных
вашего терминала.
Остальные устройства настраиваются на скорость
GSM-модема.
Настройка модемов и связи с помощью программы
GSM-Manager 1.0
Рисунок 37 - Модем Siemens МC 35i
– О программе GSM-Manager 1.0
Программа GSM-Manager предназначена для работы с
сотовыми терминалами фирмы Siemens серии TC35 (TC35i) и MC35 (MC35i), а также
стационарными сотовыми телефонами серии TSS-717, подключенными к компьютеру.
С ее помощью Вы можете принимать и осуществлять звонки
на сотовые и обычные телефоны, принимать, просматривать и передавать
SMS-сообщения, принимать и передавать на другие компьютеры, к которым
подключены аналогичные терминалы или телефоны, любые файлы. Причем, для
передачи файлов с помощью программы не требуется подключение к Интернет.
– Звонок абоненту
Для звонка абоненту необходимо сначала указать номер
его телефона в поле "Номер телефона", а затем нажать кнопку "Набрать
номер"...
Рисунок 38 - Программма GSM-Manager 1.0
Для быстрого набора и поиска номера абонента, которому
необходимо позвонить, можно использовать "телефонную книжку"
программы ...
Рисунок 39 - Набор номера
– Прием входящего звонка
Рисунок 40 - Программма GSM-Manager 1.0
– Запись номера абонента в "телефонную книжку" программы
Для быстрого поиска и набора номера его можно занести
в "телефонную книжку" программы. Записи "телефонной книжки"
сохраняются в файле numbers.txt (в папке с файлами программы на жестком диске
компьютера).
Рисунок 41 - Программма GSM-Manager 1.0
– Удаление номера абонента из "телефонной книжки" программы
Рисунок 42 - Удаление номера абонента
– Передача SMS-сообщения
Для передачи на какой-либо сотовый телефон или
терминал SMS-сообщения необходимо сначала набрать номер этого телефона, затем -
текст сообщения, а затем нажать кнопку "Послать SMS" ...
Рисунок 43 - Отправка SMS
Для быстрого набора и поиска номера абонента, которому
необходимо послать SMS-сообщение, можно использовать "телефонную
книжку" программы.
Рисунок 44 - Телефонная книга
– Прием входящего SMS-сообщения
Рисунок 45 - Работа с SMS
– Просмотр журнала поступивших SMS-сообщений на SIM-карте
После поступления SMS-сообщения на терминал оно
сохраняется в памяти SIM-карты, установленной в терминале. Для просмотра
журнала поступивших SMS-сообщений на SIM-карте необходимо нажать кнопку
"Читать SMS".
Рисунок 46 - Чтение SMS
– Передача файла
Для передачи файла на какой-либо компьютер, на котором
установлена программа GSM-Manager и к которому подключен сотовый терминал,
достаточно указать номер этого терминала и файл, который необходимо передать.
Рисунок 47 - Передача файла
– Прием файла
Рисунок 48 - Прием файла
– Задание настроек программы
Настройки программы GSM-Manager задаются очень просто.
При первом запуске программы после ее установки на экране появляется
специальное окно в полях которого нужно указать номер COM-порта, к которому
подключен терминал и скорость обмена данными для этого COM-порта (из списка
возможных значений), а также ввести PIN-код для SIM-карты (при необходимости).
Рисунок 49 - Настройки программмы GSM-Manager 1.0
После того, как на экране появится окно программы, Вы
можете задать другие настройки. В частности - язык интерфейса программы
(английский или русский) ...
Рисунок 50 - Выбор языка
Для того чтобы с помощью программы GSM-Manager можно
было принимать и посылать SMS-сообщения необходимо указать телефонный номер
центра SMS.
Рисунок 51 - Задание номера SMS-центра
Если с помощью программы необходимо обмениваться
файлами с другими компьютерами, к которым подключены сотовые терминалы,
необходимо задать настройки передачи данных. В окне задания настроек передачи
данных достаточно указать папку на жестком диске Вашего компьютера, в которую
будут помещаться доставленные файлы, а также указать с каких терминалов
разрешается получать файлы, передаваемые по сотовым каналам передачи данных
Рисунок 52 - Обмен файлами
На этом задание настроек заканчивается и Вы можете
приступать к работе с программой.
Установление связи между двумя GSM-модемами
С помощью AT-команд модема устанавливаем связь между двумя GSM-модемами. (см. инструкции по АТ-командам модема Siemens MC35i Terminal). Аналогичным образом
устанавливается связь при использования обычных модемов.
Проверка работоспособности с помощью фирменной утилиты
ADAM Utility Software
После физического создания линии связи, используя
программный продукт ADAM Utility Software, установить связь с модулем и
проверить передачу данных, руководствуясь стр. 2-2, 2-10 (см. инструкции по
эксплуатации модулей серии ADAM
4000).
Проведем испытания неизолированного входа. Подадим на
вход модуля импульсы с частотой от 1 до 60 кГц и амплитудой 3 В и периодом 1
мс. Длительность также будем изменять в пределах от 1 мкс до 1 мс. После
исследования характеристик модуля ADAM-4080D, было установлено, что они отвечают
заявленным, т.е. модуль устойчиво работает при следующих параметрах входного
сигнала:
– Минимальная длительность импульса - 0,6 мкс;
– Максимальная длительность импульса - 0,97 мс;
– Минимальная частота - 7 Гц;
– Максимальная частота - 59 кГц;
Снятие информации с датчика с помощью
специализированного ПО
Проведем данную процедуру в соответствии с приложением
А.
8
Безопасность и экологичность работы
В данном разделе рассматривается возможное влияние
используемого оборудования, энергии, и условий работы на человека и окружающую
среду; техника безопасности при работе с оборудованием и действия при чрезвычайных
ситуациях.
В качестве производственного помещения рассматривается
аудитория, в которой установлен персональный компьютер.
8.1 Анализ опасных и вредных производственных факторов
Опасные и вредные производственные факторы, по своей
природе воздействия, делятся на физические, химические, биологические и
психофизиологические (ГОСТ 12.0.003-74 “Опасные и вредные производственные
факторы”).
На оператора ЭВМ на рабочем месте могут оказывать
влияние следующие физические факторы:
– электромагнитные поля;
– рентгеновское излучение дисплея компьютера;
– недостаточное освещение рабочего места;
– микроклимат, не соответствующий санитарным нормам;
– шум;
– электрический ток.
и психофизиологические факторы:
– монотонность труда;
– умственное перенапряжение;
– перенапряжение анализаторов;
– эмоциональные перегрузки.
Излучение дисплея компьютера
Монитор является источником рентгеновского излучения и
электромагнитного поля сверхнизкой, низкой и высокой частот.
Ионизирующее излучение, воздействуя на объект, в частности,
на клетки человека, вызывает их повреждение за счет образования ионов. Эти
повреждения могут быть летальными, когда клетка погибает, и сублетальными,
когда клетка выживает, но информация, "зашитая" в нее, портится.
Такие клетки могут быть источником возникновения рака. По СанПин
2.2.2/2.4.1340-03:
– мощность
экспозиционной дозы мягкого рентгеновского излучения в любой точке на
расстоянии 0,05 м от экрана и корпуса ВДТ (на электронно-лучевых трубках) не
должна превышать 1*10-6 Зв/ч (100 мкР/ч),
Источник электромагнитного поля на рабочем месте -
система формирования изображения. Диапазон частот 5 Гц - 400 кГц. Наибольшее
значение напряженности электромагнитного поля наблюдается у задней и боковых
стенок монитора. Согласно СанПин 2.2.2/2.4.1340-03:
– напряжённость электромагнитного поля по электрической составляющей в
диапазоне частот 5 Гц - 2 кГц не должна превышать 25 В/м;
– напряжённость электромагнитного поля по электрической
составляющей в диапазоне частот 2 кГц - 400 кГц не должна превышать 2,5 В/м;
– плотность магнитного потока в диапазоне частот 5 Гц - 2 кГц
не должна превышать 250 нТл;
– плотность магнитного потока в диапазоне частот 2 кГц - 400
кГц не должна превышать 25 нТл;
– поверхностный электростатический потенциал не должен
превышать 500 В.
Согласно спецификации производителя - фирмы Samsung, мониторы которой используются в
составе ЭВМ в лаборатории, модель монитора SyncMaster 550b соответствует стандарту TCO’99 Шведского государственного департамента охраны
труда. Этот стандарт предусматривает нормирование не только мягкого
рентгеновского излучения, но и всех видов электромагнитного излучения монитора
для видов работ связанных с постоянной работой за компьютером. В настоящее
время стандарт ТСО'99 признан самым строгим стандартом в мире нормирующим
вредные факторы при работе с ЭВМ. Согласно ТСО’99:
– поглощённая доза излучения не должна превышать 300 нГр/ч,
– напряжённость электромагнитного поля по электрической
составляющей на расстоянии 50 см от видеомонитора не должна превышать 1 В/м,
– напряжённость электромагнитного поля по магнитной
составляющей на расстоянии 50 см от видеомонитора не должна превышать 0,3 А/м,
– электростатический потенциал на расстоянии 10 см от
видеомонитора не должен превышать 0,5 кВ.
Шум
Шум является одним из наиболее распространенных в
производстве вредных факторов. Проявление вредного воздействия шума на организм
человека разнообразно: так шум с уровнем звукового давления 80 дБ затрудняет
разборчивость речи, вызывает снижение работоспособности и мешает нормальному отдыху,
длительное воздействие шума с уровнями звукового давления 100-120 дБ на низких
частотах и 80- 90 дБ на средних и высоких частотах может вызвать необратимые
потери слуха (тугоухость), характеризуемые постоянным изменением порога
слышимости, а шум с уровнем звукового 120-140 дБ способен вызвать механическое
повреждение органов слуха. Импульсные и нерегулярные шумы обладают большой
степенью воздействия на состояние человека.
Действие шума не ограничивается воздействием только на
органы слуха. Через нервные волокна шум передается на центральную и
вегетативную нервные системы, а через них воздействует на внутренние органы,
приводя к значительным изменениям в функциональном состоянии организма.
Повышенный шум вызывает трудности в распознавании
цветных сигналов, снижает быстроту восприятия цвета, остроту зрения, зрительную
адаптацию, нарушает восприятие визуальной информации, снижает способность
быстро и точно выполнять координированные движения, уменьшает на 5-12%
производительность труда. Длительное воздействие шума с уровнем звукового
давления 90 дБ снижает производительность труда на 30-60%.
Уровень звука на рабочем месте оператора не должен
превышать 50дБА.
Шум на рабочих местах может создаваться внутренними
источниками: техническими средствами, устройствами кондиционирования воздуха,
компрессорами, вентиляторами ЭВМ преобразователями напряжения и другим
оборудованием.
Рациональной мерой является уменьшение шума в
источнике (вентилятор ЭВМ), акустическая обработка рабочего помещения.
Производственные помещения, в которых для работы
используются ЭВМ не должен граничить с помещениями, в которых уровни шума и
вибрации превышают нормируемые значения.
Электробезопасность
Помещение лаборатории согласно ПУЭ является помещением
с повышенной опасностью электропоражения, т.к. имеется возможность
одновременного прикосновения человека к металлическим корпусам
электрооборудования и имеющим хороший контакт с землей металлоконструкциям,
батареям отопления. В лаборатории применяется схема электропитания с
глухозаземленной нейтралью. По периметру помещения проложен контур заземления с
паспортным измеренным сопротивлением заземления Rз=1.5 Ом, удовлетворяющим
требования ГОСТ 12.1.030-81 “Электробезопасность. Защитное заземление.
Зануление”.
Персональные компьютеры относятся к классу 1 по
способу защиты человека от поражения электрическим током. То есть это “изделия,
имеющие, по крайней мере, рабочую изоляцию и элемент заземления”. Шнуры
электропитания содержат отдельную жилу заземления, и вилку, предназначенную для
включения только в розетки, имеющие контакт заземления.
Поскольку в помещении лаборатории сеть электропитания
с глухозаземленной нейтралью, то для защиты от поражения электрическим током
необходимо применить зануление. Зануление выполняется для того, чтобы при замыкании
на корпус или нулевой проводник, возникал ток короткого замыкания,
обеспечивающий отключение автомата или плавление плавкой вставки ближайшего
предохранителя.
В цепях нулевых защитных проводников не должно быть
разъединяющих приспособлений и предохранителей. Допускается применение
разъединительных приспособлений, которые одновременно с отключением нулевых
рабочих проводников, отключают также все проводники, находящиеся под
напряжением. Сопротивление заземляющего устройства, к которому подсоединены выводы
однофазного источника электропитания, с учетом естественных заземлителей и
повторных заземлителей нулевого провода не более 2.4 Ом.
Нулевые рабочие проводники, а также заземляющее
устройство применяемые в лаборатории полностью удовлетворяют вышеперечисленным
требованиям.
Статическое электричество
Разрядные токи статического электричества могут
возникать при прикосновении обслуживающего персонала к любому из элементов ЭВМ.
Такие разряды опасности для человека не представляют, однако, кроме неприятных
ощущений, они могут привести к выходу из строя ЭВМ.
Величины возникающих разрядов статического
электричества зависят от электрических свойств контактирующих материалов, в
первую очередь - от удельного электрического сопротивления материалов
.
При
=105 Ом
м и менее
материалы не электризуются, а при
=108 и
более Ом
м -
сильно электризуются.
К общим мерам защиты от статического электричества на
рабочих местах можно отнести общее и местное увлажнение воздуха.
Поверхность пола в помещениях эксплуатации ЭВМ должна
быть ровной, без выбоин, нескользкой, удобной для очистки и влажной уборки,
обладать антистатическими свойствами.
Для снижения величин возникающих зарядов статического
электричества в помещении с ПЭВМ покрытие технологического пола следует
выполнять из однослойного поливинилхлоридного антистатического линолеума марки
АСН. Другим методом защиты является нейтрализация заряда статического
электричества ионизированным газом. В промышленности широко применяют
радиоактивные нейтрализаторы.
Для защиты от электромагнитных и электростатических
полей допускается применение приэкранных фильтров, специальных экранов и других
средств индивидуальной защиты, прошедших испытания и имеющих гигиенический
сертификат.
На экран дисплея устанавливают приэкранный фильтр.
Покрытие пола выполняется плиткой.
8.2 Мероприятия по защите от опасных и вредных
факторов
Мероприятия по снижению шума
Снизить уровень шума в аудитории с ПЭВМ можно
использованием звукопоглощающих материалов с максимальными коэффициентами
звукопоглощения в области частот 63 - 8000 Гц для отделки помещений
(разрешенных органами и учреждениями Госсанэпиднадзора), подтвержденных
специальными акустическими расчетами. Звукопоглощением в аудитории могут служить
занавески из плотной ткани, гармонирующие с окраской стен и подвешенные в
складку на расстоянии 15-20 см от ограждения. Ширина занавески должна быть в 2
раза больше ширины окна.
Мероприятия по защите от рентгеновского излучения
При защите от мягкого рентгеновского излучения,
возникающего при работе ПЭВМ, основными мероприятиями являются:
– увеличение расстояния между пользователем и экраном монитора, которое
согласно СанПин 2.2.2/2.4.1340-03 должно быть в пределах 600-700мм, но не ближе
500мм.;
– сокращение продолжительности работы, за счет введения
регламентированных перерывов. Время регламентированных перерывов в течение
рабочей смены устанавливаются в зависимости от ее продолжительности, вида и
категории трудовой деятельности. При работе с ПЭВМ и категорией работы I
суммарное время регламентированных перерывов при 8-ми часовой смене составляет
30 мин.
Мероприятия по обеспечению электробезопасности
– заземление корпусов ПЭВМ;
– обеспечение недоступности токоведущих частей: применение
корпусов, изоляции;
– организация безопасной эксплуатации ПЭВМ: проведение
инструктажей, присвоение квалификационной группы по электробезопасности (не
ниже II-ой);
Мероприятия по защите от электромагнитных полей
1) Коллективные:
– Лечебно - профилактические мероприятия
Предварительные и периодические медицинские осмотры.
Льготы и компенсации в результате аттестации рабочих мест по условиям труда.
Беременные женщины переводятся на работы, не связанные с использованием ПЭВМ
или время работы ограничено (не более 3 часов в смену).
– Защита расстоянием