Разработка компьютерной сети по технологии 100 VG Any Lan Token Ring
Содержание
Введение
1. Общая часть
1.1 Роль компьютерных сетей
1.2 Общие принципы построения компьютерных сетей
2. Технологическая часть
2.1 Основные системы построения сети Token Ring
2.2 Протоколы передачи информации в сети Token Ring
2.3 Используемые топологии в сети Token Ring
2.4 Способы передачи данных в сети Token Ring
2.5 Используемые средства связи в сети Token Ring
2.6 Программное обеспечение сети Token Ring
2.7 Технология развёртывания и монтажа сети Token Ring
Заключение
3. Литература
Приложения
Введение
Организация компьютерных сетей.
Появление персональных компьютеров потребовало нового подхода
к организации системы обработки данных, к созданию новых информационных
технологий. Возникла потребность перехода от использования отдельных ЭВМ в системах
централизованной обработки данных к распределенной обработке данных.
Распределенная обработка данных - это обработка данных,
выполняемая на независимых, но связанных между собой компьютерах,
представляющих распределенную систему.
Компьютерная (вычислительная) сеть - это совокупность
компьютеров и терминалов, соединенных с помощью каналов связи в единую систему,
удовлетворяющую требованиям распределенной обработки данных.
Абонентами сети (т.е. объектами, генерирующими или
потребляющими информацию в сети) могут быть отдельные компьютеры, комплексы
ЭВМ, терминалы, промышленные роботы, станки с числовым программным управлением
и т.д.
В зависимости от территориального расположения абонентов
компьютерные сети делятся на:
глобальные - вычислительная сеть объединяет абонентов,
расположенных в различных странах, на различных континентах. Глобальные
вычислительные сети позволяют решить проолему объединения информационных
ресурсов человечества и организации доступа к этим ресурсам;
региональные - вычислительная сеть связывает абонентов,
расположенных на значительном расстоянии друг от друга. Она может включать
абонентов большого города, экономического региона, отдельной страны;
компьютерная сеть топология монтаж
локальные - вычислительная сеть объединяет абонентов,
расположенных в пределах небольшой территории. К классу локальных сетей
относятся сети отдельных предприятий, фирм, офисов и т.д.
Объединение глобальных, региональных и локальных компьютерных
сетей позволяет создавать многосетевые иерархии, обеспечивающие мощные средства
обработки огромных информационных массивов и доступ к неограниченным
информационным ресурсам.
В общем случае компьютерная сеть представляется совокупностью
трех вложенных друг в друга подсистем: сети рабочих станций, сети серверов и
базовой сети передачи данных.
Рабочая станция (клиентская-машина, рабочее место,
абонентский пункт, терминал) - это компьютер, за которым непосредственно
работает абонент компьютерной сети. Сеть рабочих станций представлена
совокупностью рабочих станций и средств связи, обеспечивающих взаимодействие
рабочих станций с сервером и между собой.
Сервер - это компьютер, выполняющий общие задачи компьютерной
сети и предоставляющий услуги рабочим станциям. Сеть серверов - это
совокупность серверов и средств связи, обеспечивающих подключение серверов к
базовой сети передачи данных.
Базовая сеть передачи данных - это совокупность средств
передачи данных между серверами. Она состоит из каналов связи и узлов связи.
Узел связи - это совокупность средств коммутации и передачи
данных в одном пункте. Узел, связи принимает данные, поступающие по каналам
связи, и передает данные в каналы, ведущие к абонентам. Базовыми требованиями,
определяющими архитектуру компьютерных сетей, являются следующие: открытость -
возможность включения дополнительных компьютеров, терминалов, узлов и линий
связи без изменения технических и программных средств существующих компонентов;
живучесть - сохранение работоспособности при изменении
структуры;
адаптивность - допустимость изменения типов компьютеров,
терминалов, линий связи, операционных систем;
эффективность - обеспечение требуемого качества обслуживания
пользователей при минимальных затратах;
безопасность информации. Безопасность - это способность сети
обеспечить защиту информации от несанкционированного доступа.
Указанные требования обеспечиваются модульной организацией
управления процессами в сети, реализуемой по многоуровневой схеме. Чисдо
уровней и распределение функций между ними существенно влияет на сложность
программного обеспечения компьютеров, входящих в сеть, и на эффективность сети.
Формальной процедуры выбора числа уровней
не существует. Классической является семиуровневая схема. Эта
архитектура пришита в качестве эталонной модели.
Уровень 1 - физический - реализует управление каналом связи,
что сводится к подключению и отключению канала связи и формированию сигналов,
представивших передаваемые данные.
Уровень 2 - канальный - обеспечивает надежную передачу данных
через физический канал, организованный на уровне 1.
Уровень 3 - сетевой - обеспечивает выбор маршрута передачи
сообщений по линиям, связывающим узлы сети.
Уровни 1-3 организуют базовую сеть передачи данных как
систему, обеспечивающую надежную передачу данных между абонентами сети.
Уровень 4 - транспортный - обеспечивает сопряжение абонентов
сети с базовой сетью передачи данных.
Уровень 5 - сеансовый - организует сеансы связи на период
взаимодействия процессов. На этом уровне по рапросам процессов создаются порты
для приема и передачи сообщений и организуются соединения - логические каналы.
Уровень 6 - представительный - осуществляет трансформацию
различных языков, форматов данных и кодов для взаимодействия разнотипных
компьютеров.
Уровень 7 - прикладной - обеспечивает поддержку прикладных
процессов пользователей. Порядок реализации связей в сети регулируется
протоколами. Протокол - это набор коммутационных правил и процедур по
формированию и передаче данных в сети.
Базовые принципы организации компьютерной сети определяют ее
основные характеристики:
операционные возможности - перечень основных действий по
обработке данных. Абоненты сети имеют возможность использовать память и
процессоры многих компьютеров для хранения и обработки данных. Предоставляемая
компьютерной сетью возможность параллельной обработки данных многими
компьютерами и дублирования необходимых ресурсов позволяет сократить время
решения задач, повысить надежность системы и достоверность результатов;
производительность - представляет собой суммарную
производительность компьютеров, участвующих в решении задачи пользователя;
время доставки сообщений - определяется как статистическое
среднее время от момента передачи сообщения в сеть до момента получения
сообщения адресатом;
стоимость предоставляемых услуг.
1. Общая
часть
1.1 Роль
компьютерных сетей
В наше время компьютерные сети используются во всех жизненных
сферах, таких как:
Наука - для передачи научной информации на большие
расстояния.
Медицина - для передачи информации о больном или каких-либо
медицинских документов.
Промышленность - для заказов сырья и связи с поставщиками.
Сельское хозяйство - для связи с городом и какой-либо
администрацией
Военная область - для связи с командованием и передачи
разного рода информации.
Космическая область - связь от станции к ЦУП.
В быту - обычные домашние КС, для различных целей от
развлечения до поиска разного рода информации.
И т.д.
1.2 Общие
принципы построения компьютерных сетей
Топологии.
Шина - Все компьютеры сети подключаются к одному кабелю; этот
кабель используется совместно всеми рабочими станциями по очереди. При таком типе
соединения все сообщения, посылаемые каждым отдельным компьютером, принимаются
всеми остальными компьютерами в сети.
Достоинства: в топологии "общая шина" выход из
строя отдельных компьютеров не приводит всю сеть к остановке.
Недостатки: несколько труднее найти неисправность в кабеле и
при обрыве кабеля (единого для всей сети) нарушается работа всей сети.
Кольцо - Данные передаются от одного компьютера к другому;
при этом если один компьютер получает данные, предназначенные для другого
компьютера, то он передает их дальше (по кольцу).
Достоинства: балансировка нагрузки, возможность и удобство
прокладки кабеля.
Недостатки: физические ограничения на общую протяженность
сети.
Звезда - Каждый компьютер через специальный сетевой адаптер
подключается отдельным кабелем к объединяющему устройству. При необходимости
можно объединить вместе несколько сетей с топологией "звезда", при
этом конфигурация сети получается разветвленной.
Достоинства: При соединении типа "звезда" легко
искать неисправность в сети.
Недостатки: Соединение не всегда надежно, поскольку выход из
строя центрального узла может привести к остановке сети.
Витая Пара - вид кабеля связи, представляет собой одну или
несколько пар изолированных проводников, скрученных между собой (с небольшим
числом витков на единицу длины), покрытых пластиковой оболочкой. Свивание
проводников производится с целью повышения связи проводников одной пары
(электромагнитная помеха одинаково влияет на оба провода пары) и последующего
уменьшения электромагнитных помех от внешних источников, а также взаимных
наводок при передаче дифференциальных сигналов. Для снижения связи отдельных
пар кабеля (периодического сближения проводников различных пар) в кабелях UTP
категории 5 и выше провода пары свиваются с различным шагом.
Коаксиальный кабель также известный как коаксиал (от англ.
coaxial), - электрический кабель, состоящий из расположенных соосно
центрального проводника и экрана и служащий для передачи высокочастотных
сигналов.
Разделяются на толстый и тонкий кабель.
Витая пара - один из компонентов современных
структурированных кабельных систем. Используется в телекоммуникациях и в
компьютерных сетях в качестве сетевого носителя во многих технологиях, таких
как Ethernet, Arcnet и Token ring. В настоящее время, благодаря своей дешевизне
и лёгкости в монтаже, является самым распространённым решением для построения
локальных сетей.
Оптоволоконный кабель - Оптоволоконные линии предназначены
для перемещения больших объемов данных на очень высоких скоростях. В
оптоволоконном кабеле цифровые данные распространяются по оптическим волокнам в
виде модулированных световых импульсов. Это относительно надежный (защищенный)
способ передачи, поскольку электрические сигналы при этом не передаются.
Следовательно, оптоволоконный кабель нельзя вскрыть и перехватить данные, от
чего не застрахован любой кабель, проводящий электрические сигналы. Кроме того,
такие проблемы передачи информации по проводам как электромагнитные помехи,
перекрестные помехи (переходное затухание) и необходимость заземления,
полностью устраняются. Вдобавок, чрезвычайно уменьшается погонное затухание,
позволяя протягивать оптоволоконные связи без регенерации сигналов на много
большие дистанции, достигающие 120 км.
Так же используются телефонный кабель и беспроводное
соединение.
Аппаратные средства
Используются такие средства как:
Комутатор (или Свитч) - устройство, предназначенное для
соединения нескольких узлов компьютерной сети в пределах одного сегмента. В
отличие от концентратора, который распространяет трафик от одного подключенного
устройства ко всем остальным, коммутатор передаёт данные только непосредственно
получателю. Это повышает производительность и безопасность сети, избавляя
остальные сегменты сети от необходимости (и возможности) обрабатывать данные, которые
им не предназначались.
Маршрутизатор - сетевое устройство, на основании информации о
топологии сети и определённых правил принимающее решения о пересылке пакетов
сетевого уровня (уровень 3 модели OSI) между различными сегментами сети.
Концентратор (или Хаб) - сетевое устройство, предназначенное
для объединения нескольких устройств Ethernet в общий сегмент сети. Устройства
подключаются при помощи витой пары, коаксиального кабеля или оптоволокна.
Термин концентратор (хаб) применим также к другим технологиям передачи данных:
USB, FireWire и пр.
В настоящее время почти не выпускаются - им на смену пришли
сетевые коммутаторы (свитчи), выделяющие каждое подключенное устройство в
отдельный сегмент. Сетевые коммутаторы ошибочно называют
"интеллектуальными концентраторами".
Программные средства:
Программные средства в сетях это различные
Операционные системы, сетевые драйвера и программы. К
примеру:фирмы Novell;Server фирмы IBM;фирмы Banyan Systems;
LAN Manager фирмы Microsoft;NT Server фирмы Microsoft
Протоколы:
Сетевой протокол - набор правил, позволяющий осуществлять
соединение и обмен данными между двумя и более включёнными в сеть устройствами.
Разные протоколы зачастую описывают лишь разные стороны
одного типа связи; взятые вместе, они образуют стек протоколов. Названия
"протокол" и "стек протоколов" также указывают на
программное обеспечение, которым реализуется протокол.
Новые протоколы для Интернета определяются IETF, а прочие
протоколы - IEEE или ISO. ITU-T занимается телекоммуникационными протоколами и
форматами.
Наиболее распространённой системой классификации сетевых
протоколов является так называемая модель OSI, в соответствии с которой
протоколы делятся на 7 уровней по своему назначению - от физического
(формирование и распознавание электрических или других сигналов) до прикладного
(API для передачи информации приложениями- Internet Protocol. Межсетевой
протокол, который обеспечивает транспортировку без дополнительной обработки
данных с одной машины надругую.- Transmission Control Protocol. Протокол управления
передачей, обеспечивающий транспортировку с помощью IP с проверкой установления
соединения.- User Datagram Protocol. Протокол пользовательских датаграмм,
обеспечивающий транспортировку отдельных сообщений с помощью IP без проверки
ошибок HTTP - HyperText Transfer Protocol.
Протокол передачи гипертекста. По этому протоколу происходит
пересылка пакетов в web. По умолчанию web-сервер висит на 80-ом порту.
Используется web-сервером и броузером.
2.
Технологическая часть
2.1 Основные
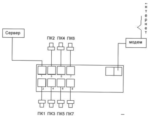
системы построения сети Token Ring
Коммутаторы Cisco обеспечивают VLAN 1 по умолчанию и
назначает все активные порты в эту VLAN. Так же объявлены по умолчанию другие
VLAN для FDDI и Token Ring. Если ваша сеть состоит из множества коммутаторов,
вы имеете два варианта обмена информацией между коммутаторами о VLAN в вашей
сети. VLAN Trunk Protocol, разработанный Cisco, позволяет добавлять, удалить и
изменять сети VLAN с центральной точки администрирования. Вы можете создать
коммутатор "сервер" и все другие коммутаторы будут клиентами; или они
все могут быть серверами, которые могут обновлять информацию о VLAN в вашей
сети. Другой возможностью является перевод вашего коммутатора в
"прозрачный" режим и вручную настроить сети VLAN в каждом
коммутаторе. Потратьте время для разработки процесса добавления, перемещения и
изменения пользователей, так как это будет иметь значение при изменении VLAN во
всех коммутаторах. Если ваши пользователи будут перемещаться с этажа на этаж
или между зданиями. Если ваши пользователи не будут перемещаться или вы имеете
централизованное место для серверов, "прозрачный" режим может быть
лучшим решением. Когда ресурсы централизованы в VLAN в одном месте, и вы
используете DHCP для IP адресации рабочих станций, расположение
пользовательской VLAN не играет роли. Добавления, перемещения и изменения
просты и не зависят от VLAN.
2.2 Протоколы
передачи информации в сети Token Ring
Требование безразрывности кольца усложняет кабельное
хозяйство Token Ring, использующее четырехпроводные экранированные и
неэкранированные витые пары и специальные коммутационные средства.
Облегченный вариант разводки обеспечивает подключение до 96
станций к 12 восьмипортовым хабам с максимальным удалением станции от хаба не
более 45 м. Длина кабеля между хабами может достигать 45 м при их суммарной
длине не более 120 м.
Стационарная разводка обеспечивает подключение до 260 станций
и 33 хабов с расстоянием между устройствами до 100 м при общей длине кольца
хабов до 200 м.
Оптоволоконный кабель увеличивает длину сегмента до 1 км.
Информация по кольцу передается только в одном направлении по
цепочке от станции к станции, скорость передачи 4 или 16 Мбит/с. Адаптер узла
копирует в свой буфер только адресованные ему пакеты.
Использование системных ресурсов PC и конфигурирование
адаптеров аналогичны Ethernet. Программное обеспечение кроме обычного для всех
сетевых адаптеров содержит дополнительные модули-агенты как на сервере, так и
на рабочей станции.
2.3
Используемые топологии в сети Token Ring
ring - "маркерное кольцо", архитектура кольцевой
сети с маркерным (эстафетным) доступом в сеть. В Token Ring кабели подключаются
по схеме "звезда”, однако он функционирует как логическое кольцо.
При построении больших сетей token ring приходится
использовать большое число колец. Отдельные кольца связываются друг с другом,
как и в других сетях, с помощью мостов. Мосты бывают "прозрачными"
(IEEE 802.1d) и с маршрутизацией от источника. Последние позволяют связать в
единую сеть несколько колец, использующих общий сетевой IPX - или IP-адрес.
Использование мостов позволяет преодолеть и ограничение на
число станций в сети (260 для спецификации ibm и 255 для IEEE). Мосты могут
связывать между собой фрагменты сетей, использующих разные протоколы, например,
802.5, 802.4 и 802.3 Пакеты из кольца 1 адресованные объекту этого же кольца
никогда не попадут в кольцо 2 и наоборот. Через мост пройдут лишь пакеты,
адресованные объектам соседнего кольца. Фильтрация пакетов осуществляется по
физическому адресу и номеру порта. На основе этих данных формируется
собственная база данных, содержащая информацию об объектах колец, подключенных
к мосту. Схема деления сети с помощью мостов может способствовать снижению
эффективной загрузки сети.
Мосты с маршрутизацией от источника могут объединять только
сети token ring, а маршрутизация пакетов возлагается на все устройства,
посылающие информацию в сеть (отсюда и название этого вида мостов). Это
означает, что в каждом из сетевых устройств должно быть загружено программное
обеспечение, позволяющее маршрутизировать пакеты от отправителя к получателю (в
случае netware это route.com). Эти мосты не создают собственных баз данных о
расположении сетевых объектов и посылают пакет в соседнее кольцо на основе
маршрутного указания, поступившего от отправителя самого пакета. Таким образом,
база данных о расположении сетевых объектов оказывается распределенной между
станциями, хранящими собственные маршрутные таблицы. Программы маршрутизации
используют сетевой драйвер адаптера. Мосты с маршрутизацией от источника
просматривают все поступающие кадры и отбирают те, которые имеют индикатор
информации о маршруте RII=1. Такие кадры копируются, и по информации о маршруте
определяется, следует ли их посылать дальше. Мосты с маршрутизацией от
источника могут быть настроены на широковещательную передачу по всем маршрутам,
либо на широковещательную передачу по одному маршруту.
В сетях со сложной топологией маршруты формируются согласно
иерархическому протоколу STP (spanning tree protocol). Этот протокол организует
маршруты динамически с выбором оптимального маршрута, если адресат достижим
несколькими путями. При этом минимизируется транзитный трафик. Для решения
задачи мосты обмениваются маршрутной информацией.
2.4 Способы
передачи данных в сети Token Ring
В ЛВС с передачей маркера сообщения передаются последовательно
от одного узла к другому вне зависимости от того, какую топологию имеет сеть -
кольцевую или звездообразную. Каждый узел сети получает пакет от соседнего
узла. Если данный узел не является адресатом, то он передает тот же самый пакет
следующему узлу. Передаваемый пакет может содержать либо данные, направляемые
от одного узла другому, либо маркер. Маркер - это короткое сообщение,
являющееся признаком незанятости сети. В том случае, когда рабочей станции
необходимо передать сообщение, ее сетевой адаптер дожидается поступления
маркера, а затем формирует пакет, содержащий данные, и передает этот пакет в
сеть. Пакет распространяется по ЛВС от одного сетевого адаптера к другому до
тех пор, пока не дойдет до компьютера-адресата, который произведет в нем стандартные
изменения. Эти изменения являются подтверждением того, что данные достигли
адресата. После этого пакет продолжает движение дальше по ЛВС, пока не
возвратится в тот узел, который его сформировал. Узел-источник убеждается в
правильности передачи пакета и возвращает в сеть маркер. Важно отметить, что в
ЛВС с передачей маркера функционирование сети организовано так, что коллизий
возникнуть не может. Скорость передачи данных сетей Token Ring достигает 16
Мбит/с. Оборудование для сетей Token Ring производят многие фирмы, в том числе
IBM, 3COM.
Кадр маркера состоит из трех полей, каждое длиной в один
байт. З Поле начального ограничителя появляется в начале маркера, а также в
начале любого кадра, проходящего по сети. Поле состоит из уникальной серии
электрических импульсов, которые отличаются от тех импульсов, которыми
кодируются единицы и нули в байтах данных. Поэтому начальный ограничитель
нельзя спутать ни с какой битовой последовательностью. З Поле контроля доступа.
Разделяется на четыре элемента данных: PPP T M RRR, где PPP - биты приоритета,
T - бит маркера, M - бит монитора, RRR - резервные биты. Каждый кадр или маркер
имеет приоритет, устанавливаемый битами приоритета (значение от 0 до 7, 7 -
наивысший приоритет). Станция может воспользоваться маркером, если только она
получила маркер с приоритетом, меньшим или равным, чем ее собственный. Сетевой
адаптер станции, если ему не удалось захватить маркер, помещает свой приоритет
в резервные биты маркера, но только в том случае, если записанный в резервных битах
приоритет ниже его собственного. Эта станция будет иметь преимущественный
доступ при последующем поступлении к ней маркера.
2.5
Используемые средства связи в сети Token Ring
В качестве среды передачи в сети IBM Token-Ring сначала
применялась витая пара, но затем появились варианты аппаратуры для
коаксиального кабеля, а также для оптоволоконного кабеля в стандарте FDDI.
Витая пара применяется как неэкранированная (UTP), так и экранированная (STP).
Основные технические характеристики сети Token-Ring следующие.
Максимальное количество концентраторов типа IBM 8228 MAU -
12.
Максимальное количество абонентов в сети - 96.
Максимальная длина кабеля между абонентом и концентратором -
45 м.
Максимальная длина кабеля между концентраторами - 45м.
Максимальная длина кабеля, соединяющего все концентраторы -
120м.
Скорость передачи данных - 4 Мбит/с и 16 Мбит/с.
Все приведенные характеристики относятся к случаю
неэкранированной витой пары. В случае применения другой среды передачи
характеристики сети могут отличаться. Например, при использовании
экранированной витой пары количество абонентов может быть увеличено до 260
(вместо 96), длина кабеля - до 100 м (вместо 45), количество концентраторов -
до 33, а полная длина кольца, соединяющего концентраторы - до 200 м. Оптоволоконный
кабель позволяет увеличивать длину кабеля до 1 км.
Как видим, сеть Token-Ring уступает сети Ethernet как по
допустимому размеру сети, так и по максимальному количеству абонентов. Что
касается скорости передачи, то в настоящее время ведется разработка версий
Token-Ring на скорость 100 Мбит/с и на 1000 Мбит/с. Фирма IBM вовсе не
собирается отказываться от своей сети, рассматривая ее как достойного
конкурента Ethernet.
2.6
Программное обеспечение сети Token Ring
К программным компонентам сетей относятся: операционные
системы и сетевые приложения или сетевые службы. Сетевая операционная система -
это основа любой вычислительной сети.
Сетевая операционная система необходима для управления
потоками сообщений между рабочими станциями и серверами. Она может позволить
любой рабочей станции работать с разделяемым сетевым диском или принтером,
которые физически не подключены к этой станции.
В сетевой операционной системе отдельного компьютера можно
выделить несколько частей.
Средства управления локальными ресурсами компьютера, к
которым относятся: функции распределения оперативной памяти между процессами,
планирования и диспетчеризации процессов, управления процессорами в
мультипроцессорных машинах, управления периферийными устройствами и другие
функции управления ресурсами локальных ОС.
Средства предоставления собственных ресурсов и услуг в общее
пользование - серверная часть ОС (сервер). Эти средства обеспечивают, например,
блокировку файлов и записей, что необходимо для их совместного использования;
ведение справочников имен сетевых ресурсов; обработку запросов удаленного
доступа к собственной файловой системе и базе данных; управление очередями
запросов удаленных пользователей к своим периферийным устройствам.
Средства запроса доступа к удаленным ресурсам и услугам и их
использования - клиентская часть ОС. Эта часть выполняет распознавание и
перенаправление в сеть запросов к удаленным ресурсам от приложений и
пользователей, при этом запрос поступает от приложения в локальной форме, а
передается в сеть в другой форме, соответствующей требованиям сервера.
Клиентская часть также осуществляет прием ответов от серверов и преобразование
их в локальный формат, так что для приложения выполнение локальных и удаленных
запросов неразличимо.
Коммуникационные средства ОС, с помощью которых происходит
обмен сообщениями в сети. Эта часть обеспечивает адресацию и буферизацию
сообщений, выбор маршрута передачи сообщения по сети, надежность передачи и
т.п., то есть является средством транспортировки сообщений.
В зависимости от функций, возлагаемых на конкретный
компьютер, в его операционной системе может отсутствовать либо клиентская, либо
серверная части.
Сетевые операционные системы
ОС Unixпредставляет собой очень мощную, гибкую и динамичную
операционную систему, которая в состоянии обрабатывать практически любую
предложенную пользователем задачу. Обладает широким набором предлагаемых
средств, с помощью которых можно решить большинство проблем, возникающих при
работе с информационными технологиями. К преимуществам UNIX относятся мощность
работы, стабильность и надежность, полная автоматизация, а также поддержка
множества языков программирования.
Эта операционная система предлагает оптимальные решения для
работы с Internet, включая доступ к ресурсам Web, Telnet, FTP, базам данным и
т.п. Поскольку система UNIX создавалась специально для обработки больших
массивов данных и полной интеграции с сетевой средой, она почти всегда
превосходит по быстродействию любую другую комбинацию аппаратного и
программного обеспечения. Linux представляет собой версию UNIX, адаптированную
для процессоров Intel.
ОС NetWare фирмы Novellбыла одной из первых компаний, которые
начали создавать ЛВС. В качестве файлового сервера в NetWare может
использоваться обычный ПК, сетевая ОС которого осуществляет управление работой
ЛВС. Функции управления включают координацию рабочих станций и регулирование
процесса разделения файлов и принтера в ЛВС. Сетевые файлы всех рабочих станций
хранятся на жестком диске файлового сервера, а не на дисках рабочих станций.
Сетевые ОС фирмы Microsoft
Сетевая ОС Windows NT
Первоначально Windows NT существовала в двух версиях: Windows
NT Advanced Server устанавливалась на серверах сети NT, a Windows NT
Workstation представляла собой мощную настольную операционную систему с
функциональными возможностями.
Следующая версия Windows NT, предназначенная для
использования на серверах, была переименована в Windows NT Server. Высокая
производительность и улучшенная поддержка приложений сделали ее одной из самых
популярных операционных систем.NT 4.0 объединяла в себе улучшенную интеграцию с
Internet и корпоративными сетями, повышенную производительность, отличную
совместимость с другими операционными системами компании Microsoft.
Семейство программных продуктов Microsoft Windows 2000 Server
Семейство программных продуктов Windows 2000 Server -
является следующим поколением серии операционных систем Windows NT Server, в
котором надежные, удобные для работы в интернете службы каталога, сетевые
службы и службы приложений, объединенные с мощным комплексным управлением.2000
Server - для серверов рабочих групп и отделов.2000 Advanced Server - для
приложений и более надежных серверов отделов.2000 Datacenter Server - для
наиболее ответственных систем обработки данных.
Семейство программных продуктов Windows Server 2003
Семейство программных продуктов Windows Server 2003 является
следующим поколением серверных операционных систем Windows. Windows Server 2003
основана на Windows 2000 Server. Она является платформой высокой
производительности для поддержки связанных приложений, сетей, и веб-служб XML
для рабочих групп, отделов и предприятий любого размера.
Состав Windows Server 2003:Server 2003 Standard Edition - это
сетевая операционная система для предприятий малого бизнеса и отдельных
подразделений организации.Server 2003 Enterprise Edition предназначена для
удовлетворения общих ИТ-потребностей.Server 2003 Datacenter Edition
предназначена для решения ответственных задач, требующих очень высокого уровня
масштабированности, доступности и надежности.Server 2003 Web Edition - это
операционная система для Web-серверов.Windows Server 2008Server 2008 - это
операционная система нового поколения. В основу Windows Server 2008 положена
операционная система Windows Server 2003. Она предназначена для обеспечения
пользователей наиболее производительной платформой, позволяющей расширить
функциональность приложений, сетей и веб-служб, от рабочих групп до центров
данных. При совместном использовании клиентских компьютеров Windows Vista и
серверов под Windows Server 2008 значительно повышается производительность,
надежность сети.
2.7
Технология развёртывания и монтажа сети Token Ring
Максимальная длина ответвительного кабеля зависит от типа
концентратора, типа кабеля и скорости передачи данных. Обычно для скорости 16
Мб/с максимальная длина кабеля Type 1 может достигать 200 м, а для скорости 4
Мб/с - 600 м. Концентраторы Token Ring делятся на активные и пассивные.
Пассивные концентраторы обеспечивают только соединения портов внутри
концентратора в кольцо, активные выполняют и функции повторителя, обеспечивая
ресинхронизацию сигналов и исправление их амплитуды и формы. Естественно, что
активные концентраторы поддерживают большие расстояния до станции, чем
пассивные.
Остальные станции сети соединены в кольцо непосредственными
связями. Такие связи называются магистральными (trunk cable). Обычно связи
такого рода используются для соединения концентраторов друг с другом для
образования общего кольца. Порты концентраторов, предназначенные для такого
соединения, называются портами Ring-In и Ring-Out.
При подключении станции в кольцо через концентратор,
устройства TCU встраивают в порты концентратора.
Максимальное количество станций в одном кольце - 250.
Кроме экранированной витой пары существуют сетевые адаптеры и
концентраторы Token Ring, поддерживающие неэкранированную витую пару и
оптоволокно.
Инструкция по технике безопасности. Введение.
Настоящая инструкция предназначена для предотвращения
неблагоприятного воздействия на человека вредных факторов, сопровождающих
работы со средствами вычислительной техники и периферийным оборудованием.
Настоящая инструкция подлежит обязательному и безусловному
выполнению. За нарушение инструкции виновные несут ответственность в административном
и судебном порядке в зависимости от характера последствий нарушения.
Соблюдение правил безопасной работы является необходимым
условием предупреждения производственного травматизма.
Общие положения.
Область распространения и порядок применения инструкции:
Настоящая инструкция распространяется на персонал,
эксплуатирующий средства вычислительной техники и периферийное оборудование.
Инструкция содержит общие указания по безопасному применению
электрооборудования в учреждении. Требования настоящей инструкции являются
обязательными, отступление от неё не допускаются.
Требования к персоналу, эксплуатирующему средства
вычислительной техники и периферийное оборудование:
К самостоятельной эксплуатации электроаппаратуры допускается
только специально обученный персонал не моложе 18ти лет, пригодный по состоянию
здоровья и квалификации к выполнению указанных работ.
Перед допуском к работе персонал должен пройти вводный и
первичный инструктаж по технике безопасности с показом безопасных и
рациональных приёмов работы. Затем не реже одного раза в 6 месяцев проводится
повторный инструктаж, возможно, с группой сотрудников одинаковой профессии в
составе не более 20 человек. Внеплановый инструктаж проводится при изменении
правил по охране труда, при обнаружении и нарушении персоналом инструкции по
технике безопасности, изменении характера работы персонала.
В помещениях в которых постоянно эксплуатируется
электрооборудование должны быть вывешены в доступным для персонала месте
"Инструкции по технике безопасности", в которых так же должны быть
определены действия персонала в случае возникновения аварий, пожаров и
электротравм.
Руководители структурных подразделений несут ответственность
за организацию правильной и безопасной эксплуатации средств вычислительной
техники и периферийного оборудования, эффективность их использования;
осуществляют контроль за выполнением персоналом требований настоящей инструкции
по технике безопасности.
Виды опасных и вредных факторов.
Эксплуатирующий средства вычислительной техники и периферийные
оборудования персонал может подвергаться опасным и вредным воздействиям,
которые по природе действия подразделяются на следующие группы:
Поражение электрическим током
Механические повреждения
Электромагнитные излучения
Инфракрасное излучение
Опасность пожара
Повышенный уровень шума и вибрации
Для снижения или предотвращения влияния опасных и вредных
факторов необходимо соблюдать "Санитарные правила и нормы, гигиенические
требования к видеодисплейным терминалам, персональным электронно-вычислительным
машинам и организация работы" (Утверждено Постановлением
Госкомсанэпиднадзора России от 14 июля 1996 г. №14 СанПиН 2.2.2.542-96), и
приложение 1.2.
Требования электробезопасности.
При пользовании средствами вычислительной техники и
периферийным оборудованием каждый работник должен внимательно и осторожно
обращаться с электропроводкой, приборами и аппаратами всегда помнить, что
пренебрежение правилами безопасности угрожает здоровью и жизни человека.
Во избежание поражения электрическим током необходимо твёрдо знать
и выполнять следующие правила безопасного пользования электроэнергией:
Необходимо постоянно следить на своём рабочем месте за
исправным состоянием электропроводки, выключателей, штепсельных розеток, при
помощи которых оборудование включается в сеть, и заземления. При обнаружении
неисправности немедленно обесточить электрооборудование, оповестить
администрацию. Продолжение работы возможно только после устранения
неисправности.
Во избежание повреждения изоляции проводов и возникновения
коротких замыканий не разрешается:
А) Вешать что-либо на провода;
Б) Закрашивать и белить шнуры и провода;
В) Закладывать провода и шнуры за газовые и водопроводные
трубы, за батареи отопительной системы;
Г) Выдёргивать штепсельную вилку из розетки за шнур, усилие
должно быть приложено к корпусу вилки.
. Для исключения поражения электрическим током запрещается:
А) Часто включать и выключать компьютер без необходимости;
Б) Прикасаться к экрану и к тыльной стороне блоков
компьютера;
В) Работать на средствах вычислительной техники и
периферийном оборудовании мокрыми руками
Г) Работать на средствах вычислительной техники и
периферийном оборудовании, имеющих нарушения целостности корпуса, нарушения
изоляции проводов, неисправную индикацию включения питания, с признаками
электрического напряжения на корпусе;
Д) Класть на средства вычислительной техники и периферийном
оборудовании посторонние предметы.
. Запрещается под напряжение очищать от пыли и загрязнения
электрооборудование.
. Запрещается проверять работоспособность электрооборудования
в неприспособленных для эксплуатации помещениях с токопроводящими полами,
сырых, не позволяющих заземлить доступные металлические части.
. Ремонт электроаппаратуры производится только
специалистами-техниками с соблюдением необходимых технических требований.
. Недопустимо под напряжением проводить ремонт средств
вычислительной техники и периферийного оборудования.
. Во избежание поражения электрическим током, при пользовании
электроприборами нельзя касаться каких-либо трубопроводов, батарей отопления,
металлических конструкций, соединённых с землей.
. При пользовании электроэнергией в сырых помещениях
соблюдать особую осторожность.
. При обнаружении оборвавшегося провода необходимо немедленно
сообщить об этом администрации, принять меры по исключению контакта с ним
людей. Прикосновение к проводу опасно для жизни.
. Спасение пострадавшего при поражении электрическим током
главным образом зависит от быстроты освобождения его от действия током.
Во всех случаях поражения человека электрическим током немедленно
вызывают врача. До прибытия врача нужно, не теряя времени, приступить к
оказанию первой помощи пострадавшему.
Необходимо немедленно начать производить искусственное
дыхание наиболее эффективным из которых является метод "рот в рот"
или "рот в нос", а так же наружный массаж сердца.
Искусственное дыхание поражённому электрическим током
производится вплоть до прибытия врача.
Требования по обеспечению пожарной безопасности.
На рабочем месте запрещается иметь огнеопасные вещества
В помещениях запрещается:
А) Зажигать огонь;
Б) Включать электрооборудование, если в помещении пахнет
газом;
В) Курить;
Г) Сушить что либо на отопительных приборах;
Д) Закрывать вентиляционные отверстия в электроаппаратуре.
Заключение
Сети с кольцевой топологией известны давно и используются
широко. Среди их многочисленных достоинств есть одно особо важное - это не
среда с множественным доступом, а последовательность соединений точка-точка,
образующих кольцо. Соединения точка-точка хорошо изучены, могут работать на
разных физических средах: витая пара, коаксиал или оптоволокно. Способ передачи
в основном цифровой, в то время как у 802.3 есть значительная аналоговый
компонент.
3. Литература
Интернет:
1. Wikipedia.ru
2. Yande.ru
3. Google.ru
Учебники:
4. Попов
И.И. Максимов Н.В. "Компьютерные сети”
5. Дуглас
Э., Крамер В. "Cети TCP/IP”
. Фейтс
С. "TCP/IP”
Приложения
