|
Вивід порту
|
Альтернативна функція
|
|
P0.0/AD0-P0.7/AD7
|
Мультиплексна шина адресу-даних
|
|
P1.0/T2
|
Зовнішній рахунковий вхід-вихід таймеру T2
|
|
P1.1/T2EX
|
Керуючий ввід таймеру T2
|
|
P1.2/ECI
|
Зовнішній рахунковий лічильний вхід масиву PCA
|
|
P1.3/CEX0
|
Вхід-вихід модулю PCA0
|
|
P1.4/CEX1
|
Вхід-вихід модулю PCA1
|
|
P1.5/CEX2
|
Вхід-вихід модулю PCA2
|
|
P1.6/CEX3
|
Вхід-вихід модулю PCA3
|
|
P1.7/CEX4
|
Вхід-вихід модулю PCA4
|
|
P2.0/A8-P2.7/A15
|
Старший байт шини адреси для доступу до зовнішньої
пам'яті
|
|
P3.0/RXD
|
Вхід послідовного порту
|
|
P3.1/TXD
|
Вихід послідовного порту
|
|
P3.2/ Зовнішній вхід запроса переривання 0
|
|
|
P3.3/ Зовнішній вхід запиту переривання 1
|
|
|
P3.4/T0
|
Зовнішній лічильний вхід таймеру 0
|
|
P3.5/T1
|
Зовнішній лічильний вхід таймеру 1
|
|
P3.6/ Строб запису у зовнішню пам'ять
даних
|
|
|
P3.7/ Строб читання у зовнішню пам'ять
даних
|
|
2. Розробка принципової схеми
2.1
Розробка структури ЕОМ
ЕОМ найчастіше будують відповідно до структури: ) загальна
шина - отримали найбільші розповсюдження в промисловому устаткуванні. У машинах
даного типу адреси і дані передаються по одних і тих же проводах. Дана шина
об'єднує в собі:
− магістраль даних;
− магістраль управління;
− магістраль адреси;
б) ЕОМ з двома шинами даних. У дану ЕОМ входять:
− шина пам'яті;
− шина пристроїв введення - виводу.
Шина пам'яті сполучає процесор з внутрішньої пам'яттю.
Шина пристроїв введення - виводу сполучає процесор із
зовнішньою пам'яттю, периферійними пристроями введення - виводу.
Щодо технічної характеристики адаптера каналу:
а) тип каналу - загальна шина;
б) призначення АК - для зв'язку МП з блоками сполучення
верстата.
Отже, однією із частин структурної схеми проектованої ЕОМ
буде загальна шина (QBUS). Вона забезпечує зв'язок процесора з блоками
сполучення верстата і управління ними.
Дана шина не володіє високою продуктивністю, але для
промислового устаткування вона підходить по всіх параметрах
Дана шина дозволяє адресувати 64 Кбайта інформації, та
організувати обмін за принципом активний - пасивний.
Активні пристрої управляють пасивними і мають прямий доступ
до пам'яті, пасивні видають інформацію під управлінням активних пристроїв.
При зверненні МП до пам'яті або зовнішніх пристроїв можливі
наступні види циклів:
а) Введення (читання);
б) Виведення (запис);
в) Введення / пауза/ виведення (читання/ модифікація/ запис).
Структурна схема приведена на рисунку 2.1.
У структурну схему входять:
а) Центральний процесор (ЦП) - потрібний для виконання
арифметико - логічних операцій і операцій обміну за програмою. Взаємодіючи з
пам'яттю машини, виконує управління зовнішніми пристроями;
б) Пристрій (ОЗП), що оперативно запам'ятовує, або оперативна
пам'ять. Дуже важливий елемент ЕОМ. Саме з неї процесор бере програми і дані
для обробки, в неї заносить отриманий результат. Назву «оперативна» отримала
тому, що вона працює дуже швидко, і процесору майже не доводиться чекати при
читанні з пам'яті і запису в пам'ять. Проте дані при відключенні живлення
стираються.
в) Пульт оператора (ПО) - в нього входять:
Клавіатура - пристрій для введення даних в ЕОМ і ручного
управління ЕОМ. Так само в ЕОМ можна вводити програму з клавіатури.
Індикація. Як індикація може використовуватися дисплей,
сегментний індикатор, рідкокристалічний дисплей.
г) Інтерфейс зв'язку - в даному випадку це контролери вимірювальних
перетворювачів і електроавтоматики. Контролери електроавтоматики потрібні для
підключення виконавчих реле і прийому сигналів стану контактів реле і кнопок.
д) Пристрій (ПЗП), постійно запам’ятовуючий пристрій
запам'ятовує, або постійна пам'ять. Дуже важливий елемент ЕОМ. Саме з неї
процесор бере програми для роботи та ініціалізації пристроїв.
Назву «постійна» отримала тому, що вона при відключенні
живлення данні не стираються.
Контролер приводу призначений для завдання сигналів, що
управляють, на схеми управління приводами устаткування.
Дана машина відноситься до спеціалізованих ЕОМ. Її основна
функція - управління. Вона так само зможе виконувати рахункові функції,
управляти в автоматичному режимі. До ЕОМ додаються високі вимоги до надійності
і швидкодії. Повинна бути проста в управлінні.
Рахункові ЕОМ вирішують величезний круг завдань, можуть
виконувати різні функції алгебри.
Рисунок 2.1 - Структурна схема проектованої ЕОМ
2.2Розробка
принципової схеми модуля процесора
В останні роки при розробці систем керування об'єктами
різного типу та рівня складності все більше уваги приділяється контролерам. Це
пов'язано з її бурхливим розвитком і широким асортиментом пропонованої
продукції. Використання мікроконтролерів дозволяє конструювати пристрої, що
володіють такими якостями, як невеликі габарити, відносна дешевизна, простота і
надійність, сумісність з персональним комп'ютером через стандартні інтерфейси.
При розробці пристрою виникає необхідність у виборі
мікроконтролера, що задовольняє вимогам по продуктивності, надійності, умовам
застосування і т.д.
Вибір мікроконтролера є одним з найбільш важливих рішень, від
яких залежить успіх або провал усього проекту. При виборі мікроконтролера
існують численні критерії.
Основна мета - обрати контролер з мінімальною ціною (щоб
знизити загальну вартість системи), але в той же час щоб він задовольняв
системній специфікації, тобто вимогам по продуктивності, надійності, умовам
застосування і т.д.
Другий крок - пошук мікроконтролерів, які задовольняють всім
системним вимогам. Вони включають підбір літератури, технічних описів і
технічних комерційних журналів, а також демонстраційні консультації.
Остання стадія вибору складається з кількох етапів, мета яких
- звузити список прийнятних мікроконтролерів до одного. Ці етапи включають в
себе аналіз ціни, доступності, засобів розробки, підтримки виробника,
стабільності та наявності інших виробників.
На основі викладених вище вимог та завдання на проектування в
даній системі управління ухвалено рішення використовувати 8-розрядний
мікроконтролер фірми Intel MCS-51 (мікросхема 80С51). Контролери MCS-51 є
функціонально завершеними одно кристальними ЕОМ Гарвардської архітектури, що
містять всі необхідні вузли для роботи в автономному режимі, і призначені для
реалізації різних цифрових алгоритмів управління.
Технічні характеристики центрального процесора
мікроконтролерів MCS-51:
розрядність АЛУ - 8 битий;
число виконуваних команд - 111;
довжина команд - 1, 2, або 3 байти;
число регістрів загального призначення (РОН) - 32;
число прямоадресуємих бітових змінних - 128;
число прямоадресуємих бітів в області;
регістрів спеціальних функцій - 128;
максимальний об'єм пам'яті програм - 64 кбайта;
максимальний об'єм пам'яті даних - 64 кбайта;
максимальний об'єм внутрішньої пам'яті даних - 256 байт;
час виконання команд при тактовій частоті 12 Мгц:
складання - 1 мкс;
пересилки “регістр - зовнішня пам'ять даних” - 2 мкс;
множення/ділення - 4 мкс;
методи адресації операнда - регістровий, непрямий, прямій,
безпосередній.
Зокрема, підродина 80XC51FX, в яке входить ряд мікросхем, має
наступні додаткові можливості:
три 16-бітові таймери лічильника;
програмований частотний вихід;
таймер/лічильник з можливістю прямого і зворотного рахунку;
матриця програмованих лічильників, що реалізовують режими:
сторожового таймера (Watch Dog Timer);
широко-імпульсного модулятора;
захоплення/порівняння;
високошвидкісного виходу.
трирівнева система захисту пам'яті;
256-байтное резидентне ОЗП;
чотирьохрівнева система переривань;
7 зовнішніх джерел переривань;
2 режими зменшеного енергоспоживання;
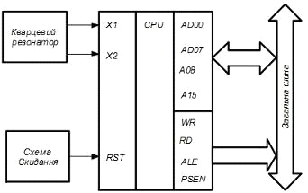
Умовне графічне позначення мікросхеми К1816ВЕ51 приведене на
рисунку 2.2.
Рисунок 2.2 - Умовне графічне позначення мікросхеми К1816ВЕ51
Структурна схема модуля процесора приведена на рис. 2.3.
Рисунок 2.3 - Структурна схема модуля ЦП
Базовим інтервалом часу, на якому заснована синхронізація
роботи всього мікроконтролера, є машинний цикл, показаний на рисунку 2.4.
Машинний цикл має фіксовану тривалість і містить 6 станів S1-S6, кожен з яких
по тривалості відповідає такту і, у свою чергу, складається з двох тимчасових
інтервалів, визначуваних фазами P1 і P2. Тривалість фази рівна періоду
проходження зовнішнього сигналу синхронізації.
Рисунок 2.4 - Тимчасова діаграма машинного циклу
Таким чином, кожен машинний цикл складається з 12 періодів
вхідного тактового сигналу і при частоті останнього12 Мгц складає 1 мкс. Двічі
за один машинний цикл формується сигнал ALE.
Вхідний тактовий сигнал виробляється або вбудованим тактовим
генератором мікроконтролера при підключенні до його виводів X1 і X2 кварцового
резонатора або LC-ланцюга, або зовнішнім джерелом тактових сигналів, схема
підключення кварцового резонатора та LC-ланцюга представлена на рисунку 2.5.
Рисунок 2.5 - Схема підключення кварцового резонатора та
LC-ланцюга
У разі зовнішнього тактового генератора його вихід
підключається до входу X1, а вивід X2 підключається до загальної шини.
Початкова установка (апаратне скидання) проводиться з метою
запуску або перезапуску мікроконтролера після подачі на нього напруги живлення.
Скидання здійснюється подачею на вхід RESET високого рівня сигналу і утриманням
його в перебіг не менше двох машинних циклів. Цей сигнал може подаватися
асихроно по відношенню до сигналу татового генератора. По входу RESET
проводиться постійне опитування контролером у момент S5P2 кожного машинного
циклу. Після сигналу скидання порти введення-виводу знаходяться в незмінному
стані протягом 19 періодів тактового генератора, після чого в проміжку між 19-м
і 31-м тактом переводяться в початковий «одиничний» стан. При цьому сигнали ALE
і PSEN знаходяться в неактивному високому стані. По сигналу скидання
мікроконтролер встановлює всі службові регістри в початковий стан. На вміст
внутрішньої пам'яті даних сигнал RESET не впливає. При включенні живлення вона
встановлюється в довільний стан. Тривалість сигналу RESET повинна бути не менше
часу, необхідного для запуску внутрішнього генератора, плюс 2 машинних циклу. У
свою чергу, час установки генератора залежить від частоти синхронізації і
добротності кварцового резонатора. При частоті 10 Мгц він зазвичай складає
близько 1 мкс.
2.3
Розподіл адресного простору ОЗП
Адресним простором є впорядкована безліч код, що
виставляються активним пристроєм на адресних шинах. Адресний простір визначає
число можливих відмінних один від одного кодових комбінацій адрес, які може
видавати на шину активний пристрій, але це не означає, що кожній такій
комбінації відповідає програмно доступний елемент.
Загальний адресний простір ОЗП залежить від розрядності шини,
тобто:
= 2n, (2.1)
де n - розрядність шини.
Відповідно до формули 2.1 адресний простір ОЗП проектованої
ЕОМ дорівнює:
N = 216 = 65536 байт = 64Кб.
Оскільки процесор 16 розрядний то адресний простір розбивається трьома
старшими розрядами на 8 частин по 8 кілобайт.
Адресний простір ОЗП складається з: ОЗП і зовнішніх
регістрів.
Для визначення меж адресного простору необхідно знати, що
адреси указуються у шістнадцятирічному коді, при зверненні до слова адреси
мають парні значення, до байта - непарні.
Визначимо нижню межу адресного простору, враховуючи те, що 8
Кб нижньої границі належить до зони регістрів зовнішніх пристроїв:
к = N × 1024 = А10 (2.2)
де N - об'єм пам'яті в кілобайтах;
к - 1024 байт;
Відповідно до формули 2.2 проведемо розрахунок нижньої
границі адресного простору пам’яті:
А10 = 56×1024 = 5734410;
Переведемо дане значення у шістнадцятирічну систему:
Отримаємо наступне:
А10 = 5734410 А16 = Е00016;
У проектованій машині адресний простір розбитий на внутрішню
та зовнішню ОЗП та зовнішні регістри. Відповідно до формули 2.2 проведемо
розрахунок зони адресного простору відповідно до завдання:
а) ОЗП (16Кб):
А10 = 16×1024 = 1638410;
Переведемо дане значення у шістнадцятирічну систему:
Отримуємо наступне:
А10 = 1638410 А16 = 400016;
З розрахунку видно, що ОЗП складається з 1638410 комірок
пам’яті, під неї відводяться адреси 000016 - 400016 у
шістнадцятирічному коді.
б) Вільна зона (40Кб):
А10 = 40×1024 = 4096010;
Переведемо дане значення у шістнадцятирічну систему:
Отримуємо наступне:
А10 = 4096010 А16 = A00016;
З розрахунку видно, що вільна зона складається з 4096010
комірок пам’яті, під неї відводяться адреси 400116 - A00016 у шістнадцятирічному коді.
в) Зовнішні регістри (8Кб):
А10 = 8×1024 = 819210;
Переведемо дане значення у шістнадцятирічну систему:
Отримуємо наступне:
А10 = 819210 А16 = 200016;
З розрахунку видно, що під зовнішні регістри відведено 819210
комірок, під неї відводяться адреси A00116 - FFFF16
у шістнадцятирічному коді.
Графічно адресний простір зображено на рисунку 2.6.
Рисунок 2.6 - Адресний простір ОЗП проектованої ЕОМ
2.4
Розподіл адресного простору ПЗП
Загальний адресний простір ПЗП залежить від розрядності шини,
тобто:
N = 2n, (2.3.1)
де n - розрядність шини.
Відповідно до формули 2.3.1 адресний простір ПЗП проектованої ЕОМ дорівнює:
N = 216 = 65536 байт = 64Кб.
Оскільки процесор 16 розрядний то адресний простір розбивається
трьома старшими розрядами на 8 частин по 8 кілобайт.
Відповідно до формули 2.3.2 проведемо розрахунок нижньої
границі адресного простору пам’яті:
А10 = 64×1024 = 6553610;
Переведемо дане значення у шістнадцятирічну систему:
Отримаємо наступне:
А10 = 6553610 А16 = FFFF16;
У проектованій машині адресний простір розбитий на внутрішню
та зовнішню ПЗП та зовнішні регістри. Відповідно до формули 2.3.2 проведемо
розрахунок зони адресного простору відповідно до завдання тільки для мікросхем
зовнішньої пам’яті:
а) ПЗП (24Кб):
А10 = 24×1024 = 2457610;
Переведемо дане значення у шістнадцятирічну систему:
Отримаємо наступне:
А10 = 2457610 А16 = 600016;
З розрахунку видно, що ПЗП складається з 2457610
комірок пам’яті, під неї відводяться адреси 000016 - 600016
у шістнадцятирічному коді.
б) Вільна зона (40Кб):
А10 = 40×1024 = 4096010;
Переведемо дане значення у шістнадцятирічну систему:
Отримаємо наступне:
А10 = 4096010 А16 = A00016;
З розрахунку видно, що вільна зона складається з 4096010
комірок пам’яті, під неї відводяться адреси 600116 - FFFF16
у шістнадцятирічному коді.
Графічно адресний простір зображено на рисунку 2.7.
Рисунок 2.7 - Адресний простір ПЗП проектованої ЕОМ
2.5 Розробка пам’яті ЕОМ
Модуль ОЗП виконаний на мікросхемах К537РУ17, її доцільно
використовувати, оскільки в корпусі інтегральної схеми передбачений інтерфейс
зв'язку накопичувача ОЗП з каналом ЕОМ. Це дозволяє підключати її до каналу
безпосередньо, без додаткових апаратних засобів, що скорочує габарити і
реалізацію ЕОМ.
Даний тип мікросхем сумісний з процесором К1816ВЕ51. К537РУ17 забезпечує інформаційну ємкість 65536 біт. Час циклу 200 нс, вихідні рівні ТТЛ - 3 (2,4/0,4 В), напруга живлення
5В, споживана потужність - 0,4 Вт.
Розрахуємо загальну кількість мікросхем ОЗП:
(2.3)
де N - загальний об'єм ОЗП в кіло словах (2Кб = 1Кслову).
Відповідно до формули 2.3 проведемо розрахунок кількість мікросхем ОЗП:
Адреса кожної мікросхеми визначається розрядами А0 - А12,
згідно адресного простору в БІС ОЗП зашиваються внутрішні
п'яти розрядні коди. Цикл читання даних з пам'яті приведений на
рисунку 2.8. Цикл запису даних у пам'ять приведений на рисунку 2.9.
Умовне графічне позначення приведене на рисунку 2.10, номери виводів
приведені в таблиці 2.2.
Основними циклами є запис (вивід), читання (введення).
Таблиця 2.2 - Призначення виводів К537РУ17
|
Вивід
|
Назва
|
Позначення
|
|
2, 3-10, 21, 23-25
|
Адресні входи
|
A0 - A12
|
|
11-13, 15-19
|
Входи - виходи даних
|
D0 - D7
|
|
20, 26
|
Сигнал вибірки
|
CE1, СЕ2
|
|
27
|
Сигнал запису/читання
|
WE
|
|
22
|
Дозвіл за виходои
|
OE
|
|
28
|
Напруга живлення
|
Ucc
|
|
14
|
Загальний
|
GND
|
Відповідно до розрахованої кількості мікросхем ОЗП побудуємо
таблицю адресів мікросхем ОЗП. За даною таблицею дешифратор мікросхем буде
обирати до якої мікросхеми ОЗП звертається контролер. Оскільки обрано для
реалізації 8 Кб мікросхеми пам’яті то потрібно 3 розряда (А13-А15) передавати
на дешифратор адреси.
Таблиця адрес мікросхем наведена у таблиці 2.3.
Рисунок 2.8 - Цикл читання даних з ОЗП
Рисунок 2.9 - Цикл запису даних в ОЗП
Таблиця 2.3 - Таблиця адрес мікросхем ОЗП
|
ІМС
|
Розряд
|
|
А13
|
А14
|
А15
|
|
DD4
|
0
|
0
|
0
|
|
DD5
|
1
|
0
|
0
|
Рисунок 2.10 - Умовне графічне позначення К537РУ17
Як ПЗП використовується БІС К573РФ6, ППЗП з ультрафіолетовим
стиранням об'ємом 8Кбіт, час вибірки 200 нс. Інтерфейс відповідає типу
«загальна шина». Дана БІС призначена для побудови блоків пам'яті ЕОМ різного
призначення.
Основні технічні параметри:
а) Вихідна напруга високого рівня 5В;
б) Вихідна напруга низького рівня 0,5В;
в) споживана потужність в режимі зберігання 220 мВт, обміну
330 мВт;
г) Вихідний струм високого рівня 15мА;
д) Вихідний струм низького рівня 15мА;
е) Час вибірки 300 нс.
Розрахуємо загальну кількість мікросхем щодо завдання:
(2.4)
де N - загальний об'єм ПЗП в кілословах (2Кб = 1Кслову).
Відповідно до формули 2.4 проведемо розрахунок кількість мікросхем ПЗП:
Формування сигналу вибірки мікросхеми вирішує роботу мікросхеми при
збігу трьох старших розрядів адреси.
Діаграма роботи мікросхеми ПЗП К573РФ6 приведена на рис.2.12.
Сигнал SYN забезпечує запис адреси у вхідний регістр БІС. За допомогою
сигналу RD забезпечується читання інформації, по сигналу SYN. CS дозволяє
здійснювати додаткову вибірку. Умовне графічне позначення приведене на рисунку
2.11, призначення виводів таблиця 2.4.
Таблиця 2.4 - Призначення виводів ПЗП К573РФ5
|
Вивід
|
Назва
|
Позначення
|
|
2-10, 21, 23-25
|
Адресні входи
|
A0 - A12
|
|
11-13, 15-19
|
Входи - виходи даних
|
D0 - D7
|
|
20, 26
|
Сигнал вибірки
|
CS, ER
|
|
1
|
Напруга програмування
|
Upr
|
|
22
|
Строб старшої адресної частини
|
OE
|
|
28
|
Напруга живлення
|
Ucc
|
|
14
|
Загальний
|
GND
|
|
27
|
Сигнал запису-читання
|
PR
|
|
|
|
|
Рисунок 2.11 - Умовне графічне позначення К573РФ6
Рисунок 2.12 - Діаграма роботи мікросхеми ПЗП К573РФ6
Відповідно до розрахунку кількості мікросхем ОЗП побудуємо
таблицю адрес мікросхем ПЗП. Для мікросхем з 8Кб організацією пам’яті потрібно
3 розряди (А13- А15). Таблиця адрес мікросхем наведена у таблиці 2.5.
Таблиця 2.5- Таблиця адрес мікросхем ПЗП
|
ІМС
|
Розряд
|
|
А13
|
А14
|
А15
|
|
DD6
|
0
|
0
|
0
|
|
DD7
|
1
|
0
|
0
|
|
DD8
|
0
|
1
|
0
|
2.6
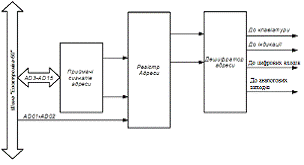
Розробка селектора адреси
Структурна схема селектора адреси наведена на рисунку 2.13.
Приймачі сигналів виконують функцію прийому сигналів адреси
та налаштовуються на певну адресу і виконані на елементі К555ЛА2. Селектор
адреси налаштований на адреси E03016 і E03716 розрахований
на 5 зовнішніх пристроїв. Дані
отримані з приймачів фіксуються регістрі адреси виконані на ІМС К555ТМ8.
Дешифратор адреси виконує функцію дешифрації адреси отриманої
з регістра адреси та вибір пристрою за чиєю адресою звертається процесор.
Дешифратор адреси виконан на ІМС К555ИД4.
Рисунок 2.13 - Структурна схема селектора адреси
2.7
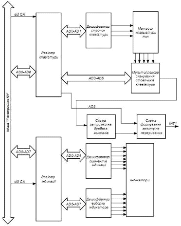
Розробка клавіатури та індикації
Органи управління і індикації повинні забезпечити введення,
редагування, виконання програм і управління устаткуванням різні режимах.
Структурна схема модуля клавіатури і індикації приведена на рисунку 2.14. Даний
модуль вибирається адресами Е03016 або 11100000001100002(клавіатура) та Е03116 або
11100000001100012 (індикація).
Щодо завдання використовуємо цифрові сегментні індикатори
типу АЛС 318, клавіші типу ПКН - 150.
Клавіатура є поширеним пристроєм введення даних дій, що
управляють в ЕОМ. За допомогою клавіатури можна ініціювати різні режими роботи.
При такій реалізації, схеми МП забезпечують сканування клавіатури і індикації.
Функцію відповідну натиснутій клавіші виконує програма обслуговування
переривання від клавіатури.
При зверненні до модуля МП на лінії AD0 - AD15 виставляється
адреса регістра клавіатури або дисплея, адреси поступають на селектор адреси,
розшифровуються і фіксуються у регістрі по сигналу синхронізації.
Рисунок 2.14 - Структурна схема модуля клавіатури і індикації
При зверненні в канальному циклі «ЗАПИС» селектор адреси
виробляє сигнал вибору регістрів клавіатури або індикації. Залежно від адреси
клавіатури, що поступила, МП записує в регістр клавіатури двійкові коди по
сигналу від СА. Сигнал на виході мультиплексора з'являється тільки при
натисненні клавіші і при занесенні коди відповідного цієї натиснутої клавіші в
регістр клавіатури.
Завдяки інтегрованому RC ланцюжку пригнічується брязкіт
контактів клавіш, що складається з конденсатора С4 і резистора R12, за
допомогою тригера Шмідта DD25.1, установка і зняття сигналу відбувається
"чисто". Цей сигнал здійснює радіальне переривання. Сигнал зі схеми
виключення брязкоту використовується і для виявлення моменту відпуску клавіш,
щоб виключити повторне виконання функції раніше натиснутої клавіші. Як пристрій
виведення інформації використовують дисплей, але в нашому випадку
використовуємо семи сегментні індикатори, що складаються з 8 світло діодів із
загальним анодом в одному корпусі. Такий індикатор може відображати цифри від 0
до 9 і деякі букви.
Рисунок 2.15 - Умовно-графічне позначення К514ИД2
Таблиця функціонування ІМС К555ИР35 приведена в таблиці 2.6,
а умовно-графічне позначення на рис.2.16.
Рисунок 2.16 - Умовно-графічне позначення К555ИР35
Таблиця 2.6 - Функціонування ІМС К555ИР35
|
Режим Вхід
|
CD1-D8Q1-Q8
|
|
|
|
|
Завантаження «1»
|
B
|
x
|
H
|
B
|
|
Завантаження «0»
|
B
|
x
|
B
|
H
|
|
Скидання
|
H
|
x
|
x
|
H
|
2.8
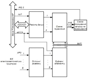
Розробка модуля цифрових входів
На рисунку 2.17 показана структурна схема для прийому
цифрових двійкових сигналів від об'єкту управління.
Для гальванічної розв'язки тут використовуються діодні
оптрони АОД109А, виходи підключені до входів керованих інверторів К564ЛН1.
По команді процесора «читання вхідних даних на виході СА
формується сигнал читання, що підключає виходи інверторів до приймачів. Вісім
вхідних сигналів передаються по шинах адрес-даних в порт Р1 МК.
Багато вхідних сигналів опитується за програмою ЕОМ або по
таймерних мітках вказаним вище способом. Проте існує ряд цифрових сигналів, що
наприклад визначають аварійний стан об'єкту, які при нормальній роботі не
потрібно опитувати за програмою процесора. В той же час при аварійній ситуації
ЕОМ повинна швидко опитати цю групу сигналів і прийняти відповідні заходи. Для
цього пристрій введення цифрових сигналів повинен виробляти запит на
переривання (ЗПР) в ЕОМ при всякій зміні вхідних сигналів, тобто потрібно
виконати цифрове диференціювання вхідних сигналів.
Рисунок 2.17 - Структурна схема для прийому цифрових
двійкових сигналів від об'єкту управління
Для реалізації цифрового диференціювання вхідні сигнали
одночасно з передачею в ЕОМ фіксуються в регістрі RG. Схеми що «виключає АБО»
постійно порівнюють значення зафіксованих в регістрі код і значення вхідних
сигналів. Як тільки зміниться хоч би один з вхідних сигналів, виробляється
запит на переривання в ЕОМ. ЕОМ прочитує адреса вектора перериваючого пристрою
і переходить до обслуговування цього пристрою.
Даний блок вибирається адресою Е03216 або 11100000001100102 та E03316 або 11100000001100112.
Умовно-графічне позначення схеми порівняння К561ИП2 приведене
на рисунку 2.18. Умовно-графічне позначення К564ЛН1 приведене на рисунку 2.19.
Рисунок 2.18 - Умовно-графічне позначення схеми порівняння
Рисунок 2.19 - Умовно-графічне позначення буферного
керованого підсилювача
Таблиця 2.7 - Функціонування ІМС К555ИР22
|
Режим Вхід
|
CD1-D8Q1-Q8
|
|
|
|
|
Завантаження «1»
|
B
|
x
|
H
|
B
|
|
Завантаження «0»
|
B
|
x
|
B
|
H
|
|
Скидання
|
H
|
x
|
x
|
H
|
2.9
Розробка модуля зв’язку з давачами (АЦП)
На рисунку 2.20 показана функціональна схема АЦП відповідно
до завдання.
Рисунок 2.20 - Функціональна схема підключення АЦП
Для вирішення задачі використаємо послідовне АЦП ADS7816 фірми Burr-Brown.
Мікросхема випускається в 8-вивідному корпусі. Схема її
з’єднання з МК, а також її розташування виводів приведені на рис 2.20.
Дві ніжки мікросхеми є аналоговими входами (вхід -IN рекомендується з’єднати із загальним
дротом), на вхід Vref
подається опорна напруга, Vcc і GND - відповідно живлення і
«земля». Для обміну з МК використовуються 3 ніжки, що залишилися.
На вхід CS МК подає сигнал старту перетворення, по входу DCLOCK він тактує АЦП, а з виходу DOUT - приймає результат перетворення,
битий за бітом. Часові діаграми сигналів на ніжках CS, DCLOCK і DOUT приведені на рис. 2.21.
Алгоритм роботи з ADS7816 нескладний. При включенні МК повинен встановити на ніжках CS і DOUT одиничні рівні сигналів, а на
DCLOCK -нульовий. Запуск перетворення здійснюється установкою нульового рівня
на ніжці CS. Після цього МК повинен
сформувати на DCLOCK три позитивні імпульси. По спаду останнього з них на
виході DOUT з'явиться старший біт результату перетворення (DB11). Прочитавши
його, МК повинен сформувати на DCLOCK наступний позитивний імпульс. По спаду
його на виході DOUT з'явиться наступний біт результату перетворення (DB10).
Прочитавши його, МК знову формує імпульс на DCLOCK, по спаду якого на DOUT
з'явиться біт DB9 і т. д., аж до DB0. Прочитавши останній, МК повинен залишити
DCLOCK нульовим, а CS повернути в одиницю. На цьому цикл запуску перетворення і
читання інформації завершується. Даний блок вибирається адресою Е03616 або 11100000001101102.
Рисунок 2.21 - Часова діаграма роботи АЦП
Висновок
електронний обчислювальний машина сигнал
У проекті представлена спеціалізована МЕОМ виконана на основі
контролера К1816ВЕ51. Розраховано адресний простір для заданих параметрів
пам'яті машини, виконано проектування пам'яті машини відповідно до технічних
умов на проектування. Розроблено модуль клавіатури та індикації для корегування
роботи машини та відстеження її стану.
Розроблено модулі ЦАП для перетворювання цифрових сигналів до
аналогових та цифрових входів для відстеження стану електроавтоматики.
Для управління технологічними процесами спроектований
пристрій сполучено з об'єктом управління.
Процес проектування потребував знання загальних принципів
функціонування МЕОМ, принципів побудови пам'яті МЕОМ, пристроїв сполучення,
знання елементної бази МЕОМ.