Разработка и создание СКС на базе сетей Ethernet при подключении пользователей жилого дома к глобальной сети
Уральский
Государственный Технический Университет – УПИ
Физико –
Технический факультет
Кафедра ФМПК
“Разработка
и создание СКС на базе сетей
Ethernet
при
подключении пользователей жилого дома к глобальной сети INTERNET”
ПРЕДДИПЛОМНАЯ
ПРАКТИКА
ОТЧЕТ
|
Преподаватель
|
В.Г. Исаков
|
Куратор
|
В.Н. Голотюк
|
|
Студент
|
А.Е.Мамаев
|
|
Группа
|
ФТ-619
|
Екатеринбург
1999
Содержание
Введение
3
Доступ в Internet
3
Wingate
3.0.x 4
Mdaemon V2.7
sp5 5
Web-server Apache
1.3.9 6
Выводы
6
Библиографический список
7
Введение
Компания INSYS была
организована 25 января 1999 года. Главный офис компании расположен по адресу
ул. Токарей 24. Одним из направлений деятельности компании является
подключение пользователей жилых домов к сети INTERNET , создание
инфраструктуры собственной вычислительной сети основанной на технологии Ethernet 10 и 100Mb.
Доступ в Internet осуществляется
через выделенную линию на скорости 128 Кб/сек. Для доступа пользователей
локальной сети в Internet был создан шлюз на базе Windows
NT 4.0 Sever.
Шлюз представляет из себя компьютер PII
266/ 64Mb / 9,1 Gb UW-SCSI 2 /
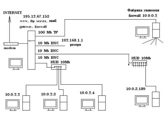
Топология сети INSYS

Рис.1
Доступ в Internet
Способ доставки INTERNET – выделенная
линия, представляет собой соединение по медной паре 2х модемов US
Robitics Courier V.Everything with V.34, один из которых установлен на стороне
провайдера, а другой в офисе компании INSYS. Сама среда
передачи представляет собой телефонную пару, которая арендуется у ЕТС. Отличие
выделенной линии от коммутируемого соединения состоит в том, что выделенные
провода жестко закоммутированы на АТС , что позволяет обеспечить более высокие
скорости передачи (до 4 Мб) по медной паре.
На коммуникационном оборудовании у
провайдера модему в офисе присваивается постоянный IP – адрес
(195.12.67.153)
Для того чтобы обеспечить доступ в Internet
из
внутренней сети потребовалось установить на компьютер под управлением Windows
NT Server 4.0 программный
роутер (маршрутизатор). Таким программным маршрутизатором стала программа Wingate
3.0.х
Wingate 3.0.х
Программный роутер Wingate
3.0.х
представляет программу, которая позволяет транслировать запросы из внутренней
сети (instranet)
во
внешнюю
Internet и получать
ответы обратно . При этом, Wingate 3.0.х предоставляет
в использование удобные сетевые средства подсчета траффика, разграничения
доступа пользователей в Сеть, а так же кэшируюший прокси-сервер. В сочетании
удобным win
– интерфейсом урпавления GateKeeper этот маршрутизатор является легким в
освоении, удобным и простым в использовании.
Интерфейс GateKeeper

Рис.2
В установленом Pro варианте
Wingate позволяет
осучествлять доступ к Internet неограниченного количества
пользователей из внутренней сети. Ограничение налагается на канал связи,
равный в нашем случае 128Кб/с . Как показывает опыт создания подобных
распределенных сетей (1,3) данная пропускная способность позволяет работать в
Сети одновременно 100-150 пользователей без заметных затруднений в работе.
Пользователи из внутренней сети работают
в Сети через прокси –сервер роль которого выполняет Wingate (адрес
машины с wingate прописывается
в настройках Internet
Explorer’ a.) На нашей машине
прокси- сервер работает , как видно из рисунка, через порт 3333. Как
известно, (2,3,4) все сервисы в работают через определенные порты. Например,
почта использует 25 и 110 порты. Для работы из внутренней сети на шлюзе эти
порты должны быть открыты. Именно так было сделано для работы ICQ (популярной
программы для коммуникации).
Mdaemon V2.7 sp5
Для приема- отправки почты был
установлен Mdaemon. Это почтовый
сервер, обладающий большим набором сервисных функций.
Интерфейс Mdaemon.

Рис.3
Поскольку доменное имя, прописанное в DNS
(1,2,3) провайдера
insys.e-burg.ru
то адреса, получаемые в компании INSYS выглядят как
<имя пользователя>@insys.e-burg.ru
Web-
server Apache 1.3.9
Также
был установлен популярный Web-
server Apache 1.3.9
, позволяющий кроме выдачи по запросам страниц, создавать виртуальные сервера
на одном IP-
адресе,
разграничивать доступ к Web-
директориям по
паролю. В частности были созданы 4 виртуальных сервера, которые доступны с
любой точки планеты 24 часа в сутки.
http://amamaew.rosincom.ru
С точки зрения реализации шлюза, чем я
занимался непосредственно, запланирован переход с Windows NT 4.0 на Linux
или
FreeBSD.
Библиографический
список
1.
Администрирование
сети Microsoft
Windows NT . Учебный
курс/пер. с англ. – М.: Издательский отдел «Русская редакция» –1997. – 496 с. :
с илл.
2.
С.Золотов
Протоколы INTERNET
– СПб.:
BHV
– Санкт-
Петербург 1998. – 304 с., илл
3.
Р.Петерсен
Linux:руководство по
операционной системе: пер. с англ. –К.: Издательская группа BHV, 1997. –
688с.,илл
4.
Э.Немет,
Г.Снайдер, С.Сибас, Т.Хейн UNIX:руководство системного администратора:
пер. с англ. – К.:BHV,1998 – 832с.,илл
5.
И.Лепаж,
П.Яррера UNIX:
библия
системного администратора: пер. с англ.- М.:Диалектика, 1999.- 528 с., илл
6.
А.Робачевский
UNIX:
операционная
система. – СПб.: BHV – 1999. – 528 с.,илл