Разработка привода главного движения станка модели 1Б140

  • Вид работы:
    Курсовая работа (т)
  • Предмет:
    Другое
  • Язык:
    Русский
    ,
    Формат файла:
    MS Word
    128,15 Кб
  • Опубликовано:
    2013-10-22
Вы можете узнать стоимость помощи в написании студенческой работы.
Помощь в написании работы, которую точно примут!

Разработка привода главного движения станка модели 1Б140

Введение

Производственные процессы в большинстве отраслей народного хозяйства выполняют машины, и дальнейший рост материального благосостояния тесно связан с развитием машиностроения. Непрерывное совершенствование и развитие машиномтроения связано с прогрессом станкостроения, поскольку металлорежущие станки с некоторыми другими видами технологических машин обеспечивают изготовление любых новых видов оборудования.

К важнейшим требованиям, предъявляемым к проектируемой машине, относятся экономичность в изготовлении и эксплуатации, удобство и безотказность обслуживания, надёжность и долговечность.

Для обеспечения этих требований детали должны удовлетворять ряду критериев, важнейшие среди которых - прочность, надёжность, износостойкость, жёсткость, виброустойчивость, теплостойкость, технологичность.

1. Назначение станка, выполняемые операции. Задачи проектирования (модернизация)

Токарно-револьверный автомат модели 1Б140 предназначен для серийного и массового производства деталей из круглого, квадратного и многогранного калиброванного прутка. Максимальные размеры обрабатываемой детали: диаметр - 40 мм, длина - 90 мм. При применении приспособления для внешней подачи максимальный диаметр детали - 45 мм. Кроме загрузки автомата прутком все процессы автоматизированы.

В универсальном исполнении автомат имеет револьверную головку с 6-ю гнездами для инструмента, четыре поперечных суппорта (один суппорт имеетдополнительное и продольное перемещение), приспособление для быстрого сверления, качающийся упор.

Дополнительно станок может быть оборудован приспособлением для внешней подачи, приспособлением для заправки прутка, приспособлением для поперчного сверления, магазинным устройством, винтовым транспортером, приспособлением для проточки конусов.

Пределы чисел оборотов шпинделя и подачи суппортов позволяют обрабатывать широкий диапазон изделий на рациональных режимах.

Целью модернизации является изменение диапазона размеров обрабатываемых деталей до Æ30 мм и увеличение количества материалов, которые можно обрабатывать на рациональных режимах. Это можно осуществить применением более мощного двигателя и увеличением диапазона регулирования.

2. Определение технических характеристик станка

Параметры обработки:

Максимальный диаметр обрабатываемой деталиmax=30 мм

Минимальный диаметр обрабатываемой детали

min= dmax/(4…8)=30/(4…8)=4…8 мм; принимаем dmin=8 мм

Обрабатываемые материалы: сталь ув≥750 МПа, БрОЦС6-6-3.

Инструментальные материалы: твёрдые сплавы, HSS.

станок привод шпиндельный технический

2.1 Выбор параметров обработки при точении

Рассмотрим последовательность определения режимов резанья при точении для dmax=30 мм материала сталь ув≥750 МПа обрабатываемого твёрдым сплавом. Остальные данные сведём в таблицу

Глубина резанья

t = 4 мм

Подача. При точении без ограничивающих факторов выбираем максимально допустимую по прочности твердосплавной пластины подачу

S = 0,7 мм

Скорость резанья [5]:

, м/мин,

где Т=60 - период стойкости инструмента;

Cv, q, m, y - эмпирические коэффициенты;v - общий поправочный коэффициент.


где Кmv-коэффициент на обрабатываемый материал;

Кuv-коэффициент на инструментальный материал;

Кnv-коэффициент, учитывающий глубину сверления.

Кmv =1; Кuv =1; Кnv =1v=1×1×1=1

Cv=350; m=0,2; x=0,15; y=0,35

Тангенциальная составляющая силы резания [5]

, Н,

где Сp, n, x, y - имперические коэффициенты

Сp=300; n=0,15; x=1; y=0,75;

Kp - общий поправочный коэффициент

,

где  - коэффициенты, учитывающие обрабатываемый материал, геометрию инструмента

 Н

Частота вращения заготовки

мин-1

Мощность резанья

кВт

Остальные расчёты сведены в таблицу 1

Таблица 1 - Параметры обработки при сверлении

Обрабатываемый материал

Инструментальные матерьлы

Вид обработки

Режимы резания




t мм

Sо мм/об

v м/мин

n мин-1

N кВт

Сталь бв>750 МПа

Твердые сплавы ВК8 Т15К6

dmax

30

4

0,7

142

1506,7

9,1



dmin

8

1,5

0,7

164,5

4545

3,9


Быстрорежущая сталь Р6М5

dmax

30

3,0

0,3

211,6

2245,6

8,2



dmin

8

1

0,3

208,6

5460

3,2

БрОЦС6-6-3

Твердые сплавы ВК8 Т15К6

dmax

30

4

1,0

37,9

401,7

0,75



dmin

8

1

1,0

44,7

1779

0,22


Быстрорежущая сталь Р6М5

dmax

30

3,0

0,4

55,1

585

0,6



dmin

8

1

0,4

62,9

2502

0,23

 

2.2 Выбор электродвигателя


Выбор электродвигателя произведём по наибольшей требуемой мощности. Из таблици 1 видно что наибольшая мощность 9,1 кВт. По заданию двигатель должен иметь двухступенчатое регулирование. Для токарно-револьверных автоматов с повторно-кратковременной нагрузкой целесообразно принимать мощность двигателя Рд=Nэф.

Выбираем асинхронный электродвигатель 4А132М4/2У3 мощностью 8,5 и 9,5 кВт при частотах вращения 1460 и 2910 мин-1 соответственно (синхронная частота 3000/1500 мин-1).

3. Выбор структуры, кинематический расчет привода главного движения

.1 Выбор структуры привода главного движения

Из таблицы 1 видно, что максимальная частота

nmax=5460 мин-1

Минимальная частотаmin=401,7 мин-1

Диапазон регулирования привода


Знаменатель геометрического ряда j=1,26

Число ступеней вращения привода


Определяем частоты вращения шпинделя

Таблица 2 - Частоты вращения шпинделя


n мин-1

1

400

2

500

3

630

4

800

5

1000

6

1250

7

1600

8

2000

9

2500

10

3150

11

4000

12

5000


Составим структурную формулу привода

Z=12=2э(3) 3 (1) 2 (6)

Строим структурную сетку привода

Рисунок 1 - Структурная сетка привода

Рисунок 2 - кинематическая схема привода

Исходя из кинематической схемы привода и структурной сетки привода, строим график частот

Рисунок 3 - График частот вращения шпинделя

Определяем передаточные отношения для каждой передачи. Покажем расчёт для первой пары зубчатых колёс остальные расчеты сведём в таблицу 3.1=0,5479; I1¢=1,825

Суммарное число зубьев åZ=80; z1=28 z2=52

Таблица 3 - Передаточные отношения

номер

Передаточные отношения

Числа зубьев

Фактическое передаточное отношение






i



1

0,5479

1,825

Z1

28

Z6

52

0,538

2

0,6849

1,460

Z2

33

Z5

47

0,702

3

0,8562

1,168

Z3

37

Z4

43

0,860

4

0,5

2

Z7

18

Z10

36

0,50

5

2

2

Z8

36

Z9

18

2,0

6

1

1

d1


d2


1,0


Определяем фактические частоты и их отклонения от стандартных значений n1=nэ i1 i4 i6=1460 0,538 0,5 1 =393,1 мин-1

Отклонение от стандартного значения:

Аналогично находим значения для других частот (таблица 4)

Таблица 4 - Частоты и их отклонения от стандартных значений


n

nф

б, %

1

400

393,1

1,7

2

500

512,6

2,5

3

630

628,1

0,5

4

800

783,5

0,5

5

1000

1021,6

2,2

6

1250

1252

0,2

7

1600

1572,3

1,7

8

2000

2050,2

2,5

9

2500

2512,6

0,5

10

3150

3133,8

0,5

11

4000

4086,4

2,2

12

5000

500,9

0,2


3.2 Определение моментов на валах и КПД привода главного движения

Определим расчётную частоту вращения шпинделя и построим расчётную цепь:

nр=nmin мин-1

По графику частот (рисунок 3) принимаем np=n5=1000 мин-1

Определяем крутящие моменты на валах по расчётной цепи [4]

Тэ=9550 Н×м

Т1э = 31,18 0,98 = 30,55 Н×м

Т21 Н×м

Т32 Н×м

Т43 Н×м

Общий КПД привода главного движения:



4. Силовой, прочностной расчет основных элементов привода главного движения

.1 Проектный расчет цилиндрических зубчатых передач на выносливость зубьев при изгибе

Модуль передачи должен удовлетворять условию [2]:

, мм,

где km=13 - вспомогательный коэффициент для прямозубых передач;

M1F - крутящий момент на шестерне, Н мм;

kF=1,4 - коэффициент нагрузки на шестерне;

YF1 - коэффициент, учитывающий форму зуба;

z1 - число зубьев шестерни;

ybm - отношение ширины колеса к модулю;

sFP1 - допускаемое напряжение для материала шестерни, МПа.

sFP=0,4sFlimbkFL,

где sFlimb=504 - предел выносливости зубьев, МПа;

kFL - коэффициент режима нагружения и долговечности.

,

где mF=6 - показатель кривой усталости;

NF0=4×106 - базовое число циклов перемены напряжения при изгибе;

NFE - эквивалентное число циклов перемены напряжений.

NFE=60×n×t,

где t=104 - расчетный срок службы передачи, часов.

Теперь определим значения величин для первой передачи (z1=33, z2=47 рисунок 2) - с первого на второй вал и для второй передачи (z1=18, z2=36) - со второго вала на третий (рисунок 2).

Первая передача:

NFE=60×2910×104=174,6×107

sFP=0,4×504×0,363=73,2 МПа


YF1=3,9 при эквивалентном числе зубьев 33, M1F=30,55 Н×м

мм.

Вторая передача:

NFE=60×2000×104=120 ×107

sFP=0,4×504×0,386=77,8 МПа

YF1=4,2 при эквивалентном числе зубьев 18, M1F=42,64 Н×м

мм.

4.2 Проектный расчет передач на контактную выносливость зубьев

Начальный диаметр шестерни должен удовлетворять условию [2]:

, мм,

где kd=770 - вспомогательный коэффициент;

kH=1,4 - коэффициент нагрузки;

и (и≥1) - передаточное число;

sHP - допускаемое контактное напряжение, МПа.

МПа;

u=z2/z1;

где sHlimb=1050 МПа - базовый предел контакной выносливости поверхностей зубьев;

SH=1,2 - коэффициент безопасности.

sHP=0,45 (sHP1+sHP2)=0,45 (787,5+787,5)= 708,8 МПа

Проверяем условие:

sHP<1,25sHpmin; 708,8<1,25×787.5=984,4 МПа - выполняется

Первая передача:

u=47/33=1,42


мм

мм

Принимаем больший модуль из полученных при расчете передачи на выносливость при изгибе и на контактную выносливость, и округляем до стандартного m=3 мм.

тогда d1=m×z1=3×33=99 мм;

b=ybm×m=8×3=24 мм.

u=36/18=2

мм

мм

Принимаем больший модуль из полученных при расчете передачи на выносливость при изгибе и на контактную выносливость, и округляем до стандартного m=4 мм;

тогда d1=m×z1=4×18=72 мм;

b=ybm×m=8×4=32 мм.

4.3 Проверочный расчет цилиндрических зубчатых перелач на выносливость зубьев при изгибе

Удельная расчетная окружная сила [2]:

, Н,

где kFv=1,1 - коэффициент, учитывающий динамическую нагрузку в зацеплении;

kFb=1,05 - коэффициент, учитывающий неравномерность распределения нагрузки по ширине венца;

kFa=1 - коэффициент, учитывающий распределение нагрузки между зубьями.

Первая передача:

Н

Вторая передача:

Н

Расчетное напряжение изгиба зубьев

, МПа,

где Ye=1 - коэффициент, учитывающий перекрытие зубьев;

Yb =1 - коэффициент наклона зуба.

МПа для первой передачи;

МПа для второй передачи.

Допускаемое напряжение при расчете зубьев на выносливость при изгибе определяем по формуле [2]:

, МПа,

где kFg=1,1 - коэффициент, учитывающий влияние шлифования переходной поверхности зубьев;

kFa=1,1 - коэффициент, учитывающий влияние упрочнения переходной поверхности зубьев;

kFc=0,7 - коэффициент, учитывающий особенности работы зубьев при реверсивной нагрузке;

kxF=1 - коэффициент, учитывающий размеры зубчатого колеса;

YS - коэффицент, отражающий чувствительность материала зубьев к концентрации напряжений;

YR=1,1 - коэффициент, учитывающий параметры шероховатости;

SF=2,2 - коэффициент безопасности.

YS=1,1m-0,09

Первая передача:

YS=1,1×3-0,09=0,996

МПа

Условие sF<sFP  42,1<77,2 МПа выполняется.

YS=1,1×4-0,09=0,97

МПа

Условие sF<sFP  42,75<79,9 МПа выполняется.

4.4 Расчет передачи на контактную выносливость зубьев

Удельная расчетная окружная сила [2]:

, Н

где kHv=1,1 - коэффициент, учитывающий динамическую нагрузку в зацеплении;

kHb=1,05 - коэффициент, учитывающий неравномерность распределения нагрузки по ширине венца;

kHa - коэффициент, учитывающий распределение нагрузки между зубьями

kHa=1+0,0025 (0,17N)4v+0,02 (N-6)1,35,

где N=7 - степень точности зубчатой передачи;

v - окружная скорость в зацеплении, м/с


Первая передача:

 м/с;

kHa=1+0,0025 (0,17×7)415,1+0,02 (7-6)1,35=1,03;

Н

Вторая передача:

 м/с;

kHa=1+0,0025 (0,17×7)47,54+0,02 (7-6)1,35=1,02;

Н

Расчетное контактное напряжение [2]:

, МПа,

где zH=1,76 - коэффициент, учитывающий форму сопряженных поверхностей зубьев;

zM=274 - коэффициент, учитывающий механические свойства материалов сопряженных колес;

ze - коэффициент, зависящий от коэффициента торцового перекрытия

и коэффициента осевого перекрытия ea, который для прямозубых колес равен 0.

Допускаемое контактное напряжение для прямозубых передач [2]:

, МПа,

где zR=0,95 - коэффициент, учитывающий параметры шероховатости;

zv - коэффициент, учитывающий окружную скорость;

kL=1 - коэффициент, учитывающий влияние смазочного материала;

kxН=1 - коэффициент, учитывающий размеры зубчатого колеса;

kHL - коэффициент режима нагружения и долговечности

,

где NH0=25×106 - базовое число перемены циклов напряжений;

NHE=NFE - эквивалентное число циклов перемены напряжений.

Выполним расчеты для каждой передачи.

Первая передача:

 принимаем kHL=0,9;

МПа;

 коэффициент ze=0,88;

МПа

Проверим выполнение условия

sН £ sНР - 303,72£543,5 МПа выполняется.

Вторая передача:

 принимаем kHL=0,9;

МПа;

 коэффициент ze=0,9;

МПа

Проверим выполнение условия

sН £ sНР - 404,2£519,1 МПа выполняется.

4.5 Расчет поликлиноременной передачи

Задаемся расчетным диаметром ведущего и ведомого шкивов d1=d2=140 мм, так как передаточное отношение и=1. Сечение ремня выбираем в зависимости от мощности, передаваемой ведущим шкивом, и его частоты вращения:

кВт,

где п=1000 мин-1 - расчетная частота вращения ведущего шкива;

Т1=83,58 Н×м - крутящий момент на выходном валу коробки скоростей.

Принимаем сечение Л.

Определяем ориентировочное межосевое расстояние [6]:

а≥0,55 (d1+d2)+Н=0,55×(140+140)+9,5=97,5 мм,

где Н=9,5 - высота сечения поликлинового ремня, мм.

Расчетная длина ремня [6]:


значение округляем до ближайшего большего стандартного l=900 мм.

Скорость ремня:

станок привод шпиндельный технический

м/с

Число клиньев поликлинового ремня [6]:

,

где [PП] - допускаемая мощность передаваемая ремнями, кВт

[PП]=[P0]×Ср×Сa×Сl=11×0,9×1,0×1,0=9,9 кВт,

где [P0]=11,0 - допускаемая приведенная мощность, передаваемая поликлиновым ремнем с десятью клиньями;

Ср=0,9 - коэффициент динамичности нагрузки и длительности работы;

Сa=1,0 - коэффициент угла обхвата;

Сl=1,0 - коэффициент зависящий от длины ремня.

 принимаем z=9

Сила предварительного натяжения поликлинового ремня [6]:

Н

Сила давления на вал [6]:

Н,

где a1=180о - угол обхвата ремнем ведущего шкива.

4.6 Выбор муфт

Электродвигатель и вал коробки скоростей соединены упругой муфтой с торообразной оболочкой вогнутого профиля ГОСТ 20884-93. Выбор муфты производим не по передаваемому вращающему моменту, а по диаметру внутреннего отверстия. Принимаем муфту с номинальным вращающим моментом 100 Н×м и внутренним отверстием d=35 мм. Отверстие одной полумуфты, соединяемой с валом электродвигателя, необходимо перед сборкой расточить до d=38 мм.

Выбор электромагнитных муфт контактного типа Э1М…2 производится в зависимости от крутящего момента на валу и угловой скорости w [6].

МН=k×T, Н×м,

где k=1,3 - коэффициент запаса.

, с-1,

где п - частота вращения вала, мин-1

Вал I:

МН=1,3×30,55=40 Н×м

 с-1

Вал II:

МН=1,3×42,64=55,4 Н×м

 с-1

Вал III:

МН=1,3×83,58=108 Н×м

 с-1

Конкретные типоразмеры муфт примем после расчета диаметров валов коробки скоростей

4.7 Расчёт диаметров валов и предварительный выбор подшипников

Ориентировочно диаметры валов определяем из соотношения [2]:

,

где Т-момент на соответствующем валу

мм

мм

мм

Диаметры валов необходимо согласовать с диаметрами внутренних колец подшипников, а также с посадочными отверстиями электромагнитных муфт.

Диаметр выходного конца электродвигателя d=38 мм.

Диаметры валов необходимо принять несколько больше, так как подача смазочной жидкости будет осуществляться через отверстия в валах.

На первом и втором валу будут установлены электромагнитные муфты Э1М07.2, имеющие посадочное отверстие d=25 мм, следовательно принимаем диаметр валов d1=d2=25 мм.

На третьем валу устанавливаем муфту Э1М08.2 с отверстием d=30 мм. Принимаем d3=30 мм.

Предварительно выбираем подшипники шариковые радиальные однорядные ГОСТ 8338-75 средней серии для установки в корпус и легкой серии для зубчатых колес.

4.8 Силовой расчет вала

Рисунок 4 - Схема приложения нагрузки

Наиболее нагруженным валом в коробке скоростей является III (рисунок 4), на который действует помимо сил в зубчатом зацеплении сила давления, передаваемая от поликлиноременной передачи.

Определим окружную силу в зацеплении [4]:

Н,

где d2=т×z2=4×36=144 мм - делительный диаметр колеса;

Т2=83,58 Н×м - крутящий момент на колесе.

Радиальная сила:

Н,

где a=20° - угол зацепления.

По чертежу определяем места расположения сил и расстояние до точек их приложения, переносим их на рисунок. Для облегчения расчёта применим относительную систему координат совпадающую с направлениями сил Fr и Ft.

Рассмотрим плоскость ZOY:

А=FОПZ×l1-Fr×l2-RBZ(l2+l3)=0,

B=FОПZ(l1+l2+l3)+Fr×l3-RAZ(l2+l3)=0,

Откуда:

H

H

Проверка:

SFz=-FОПZ+RAZ-Fr-RBZ=1811,3+2267,6-422,5-33,8=0

Рассмотрим плоскость XOY:

А=-FОПX×l1-Ft×l2+RBX(l2+l3)=0,

B=-FОПX(l1+l2+l3)+Ft×l3+RAX(l2+l3)=0,

Откуда:

H

H

Проверка:

SFz=FОПX-RAX-Ft+RBX=1811,3-1383,2-1160,8+732,7=0

Силы реакции в опорах:

Н,

Н

Строим эпюры изгибающих и крутящих моментов (рисунок 5)

Рисунок 5 - Эпюры изгибающих и крутящих моментов

.9 Расчет вала на сопротивление усталости

 

Самым нагруженным является III вал, так как на нем наибольший крутящий момент. Наиболее опасное сечение вала расположено под электромагнитной муфтой, где, согласно построенным эпюрам, наибольший изгибающий момент. Концентраторами напряжений являются: шпоночный паз и переходная посадка муфты на вал.

Для опасного сечения определяем коэффициент запаса прочности по усталости S и сравниваем его с допускаемым значением [4]:


где Sу и St - коэффициенты запаса по нормальным и касательным напряжениям, определяемые по зависимостям [4]:

,

где у-1=410 МПа и t-1=240 МПа - пределы выносливости материала соответственно при изгибе и кручении;

уa и ta - амплитуды напряжений цикла, МПа;

ут и tт - средние напряжения цикла, МПа;

yу=0,2; yt=0,1 - коэффициенты характеризующие чувствительность материала к асимметрии цикла напряжений;

КуD и КtD - коэффициенты, учитывающие влияние всех факторов на сопротивление усталости соответственно при изгибе и кручении

,

где Ку и Кt - эффективные коэффициенты концентрации напряжений;

Кd - коэффициент влияния абсолютных размеров поперечного сечения;

КF=1 - коэффициент влияния шероховатости поверхности;

КV=1,4 - коэффициент влияния упрочнения

Для каждого концентратора напряжений определим коэффициенты К:

шпоночный паз

Ку=2,2; Кt=2,0; Кd=0,77

переходная посадка


В расчет принимаем тот концентратор, у котороко больше , таким концентратором является шпоночный паз.


,

где М=181900 Н×мм - результирующий изгибающий момент;

МК=83600 Н×мм - крутящий момент;

W - осевой момент сопротивления сечения вала, мм3;

WК - полярный момент сопротивление сечения вала, мм3

мм3,

где b=8, t1=4 - размеры шпоночного паза, мм;

с=d0/d=12/30=0,4

мм3

МПа;

МПа

Запас прочности больше допустимого

4.10 Расчет вала на статическую прочность

Проверка статической прочности проводится по условию [4]:

, МПа,

где уЕ - эквивалентное напряжение;

[s]=0,8sT=0,8×750=600 МПа - предельное допускаемое напряжение;

КП=1,6 - коэффициент перегрузки

МПа £ [s]=600 МПа

Условие прочности выполняется

4.11 Проверочный расчет подшипников по динамической грузоподъемности

Сопоставим расчетную динамическую грузоподъемность Срасч с базовой С:

Срасч £ С

Для радиальных подшипников условие имеет вид [4]:

,

где Сr расч - расчетная радиальная грузоподъемность, Н;

Рr - эквивалентная радиальная динамическая нагрузка, Н;

р=3 - для шариковых подшипников;

п=1000 мин-1 - частота вращения внутреннего кольца подшипника;

Lh=12×104 ч - требуемая долговечность подшипника;

а23=0,75;

КНЕ=0,18 - коэффициент режима нагрузки;

Сr=29,1 кН - базовая радиальная динамическая грузоподъемность.

Pr=VXRrKБКТ, Н;

где V=1 - коэффициент вращения;

Х=0,56 - коэффициент радиальной нагрузки;

Rr=2656,2 H - наибольшая радиальная нагрузка действующая на подшипник;

КБ=1,4 - коэффициент безопасности;

КТ=1 - температурный коэффициент.

Pr=1×0,56×2656,2×1,4×1=2082,5 Н

Н=25 кН £ Сr=29,1 кН

Проверку на статическую грузоподъемность не проводим, так как подшипники не работают на частотах ниже 10 мин-1.

5. Разработка конструкции, расчет шпиндельного узла на точность, жесткость, виброустойчивость

.1 Разработка конструкции шпиндельного узла

Определим диаметр шпинделя из условия работоспособности [3]:


где d-диаметр шпинделярасстояние между опорами

мм

Подшипники шариковые радиально-упорные серии 36200 и роликовые радиальные серии 3182100К 5 класса точности.

Расстояние между опорами принимаем конструктивно из условия возможности размещения между ними механизма подачи прутка.

5.2 Расчет шпиндельного узла на жесткость

Станок нормальной точности обеспечивает получение деталей с размерами по 8 квалитету точности. Лимитирующий диаметр обрабатываемой детали 30 мм. Допуск на этот диаметр по 8 квалитету составляет ∆д=33 мкм. Допускаемое радиальное биение переднего конца шпинделя должно быть [3]:

[∆]£∆д/3=33/3=11 мкм

Изобразим схему нагружения шпинделя, заменив подшипники опорами и определим реакции, возникающие в подшипниковых опорах.

Рисунок 6 - Схема нагружения шпинделя

Составим уравнение моментов относительно опоры В:

В=Q×c+RA×l-P×(l+a)=0,

где Q=2561,2 Н - консольная сила, вызванная натяжением поликлинового ремня; P=3930 Н - максимальная сила резания.

H

Составим уравнение равновесия на вертикальную ось:

SF=RB+RA-Q-P=0B=Q+P-RA=2561,2+3930-4236,4=2254,8 H

Передняя опора представляет собой роликовый радиальный двухрядный подшипник с короткими роликами диаметром d=80 мм. Радиальная жесткость jA=800 Н/мкм (8×105 Н/мм).

Задняя опора комплексная, состоящая из двух шариковых радиально-упорных подшипников, которые представляют собой две условные опоры. Сила предварительного натяга FH=1140 H.

Радиальная жесткость комплексной опоры [2]:

, Н/мм,

где ja - осевая жесткость опоры [2], Н/мм;

a=15° - угол контакта в подшипнике;

k4 - коэффициент, характеризующий распределение нагрузки между телами качения и зависит от соотношения между силой натяга и радиальной нагрузкой в опоре

 следовательно k4=0,62

,

где

Н/мм,

где z=15 - число тел качения в подшипнике;

dШ=18 мм - диаметр шарика.

Н/мм

 Н/мм

Получили радиальную жесткость опор:

передней jA=8×105 Н/мм;

задней jB=3,5×105 Н/мм.

5.3 Расчет шпиндельного узла на точность

Вычислим радиальное перемещение переднего конца шпинделя [2]:

,

где d1 - перемещение, вызванное изгибом тела шпинделя;

d2 - перемещение, вызванное податливостью опор;

d3 - сдвиг, вызванный защемляющим моментом.

Когда приводной элемент расположен на задней консоли на расстоянии с от задней опоры, перемещение переднего конца шпинделя с учетом защемляющего момента в передней опоре [2]:


где Е=2,1×105 МПа - модуль упругости материала шпинделя;

e=0,3 - коэффициент защемления в передней опоре;

I1 - среднее значение осевого момента инерции сечения консоли, мм4;

I2 - среднее значение осевого момента инерции сечения шпинделя в пролете мужу опорами, мм4.

Определим осевые моменты инерции:

мм4,

где d2=80 мм - диаметр шпинделя в передней опоре;

d1=46 мм - диаметр отверстия в шпинделе.

 мм4,

где d1, d2 - наружный и внутренний диаметры шпинделя в задней опоре, мм.

∆ = d = 8,4 мкм £ [∆]=11 мкм

5.4 Расчет шпинделя на виброустойчивость

Приближенный расчет собственной частоты шпинделя, не имеющего больших сосредоточенных масс, можно проводить по формуле [3]:

, с-1,

где т=80 кг - масса шпинделя;

- относительное расстояние между опорами:

- коэффициент, зависящий от l.

Гц

Полученная частота собственных колебаний удовлетворяет требованиям к данному типу станков.

6. Выбор системы смазывания станка, привода

Смазочная система представляет собой совокупность устройств для подачи смазочного материала к трущимся поверхностям и возврата его в резервуар. В станке применена централизованная циркуляционная система подачи смазочного материала разбрызгиванием и струйным методом.

В узлы с электромагнитными муфтами смазочный материал подводят для того, чтобы смазывать трущиеся поверхности их деталей, удалять продукты изнашивания и отводить теплоту, выделяющуюся вследствие потерь энергии в катушках и дисках муфт, а также в зубчатых передачах и подшипниках. Подвод масла к муфтам осуществляется внутренним способом через центральные отверстия, просверленные в валу, на котором находится муфта.

Подшипники, на которых установлены зубчатые колеса, связанные с муфтами, смазываются струей масла через радиальные отверстия, просверленные в валу. В соответствии с габаритами электромагнитных муфт, установленных в коробке скоростей Э1М07.2, Э1М08.2 и Э1М10.2 подача масла должна быть не менее 0,4…0,5 л/мин.

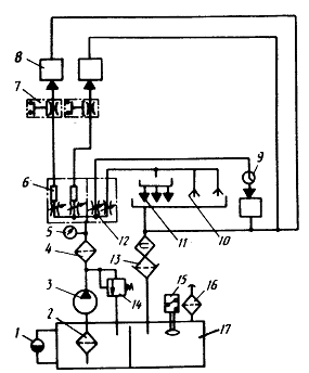
Рисунок 7 - Схема импульсной централизованной смазочной системы дроссельного дозирования:

-указатель уровня смазочного материала; 2-приемный фильтр; 3-насос; 4-фильтр напорной магистрали; 5-манометр; 6-смазочный    дроссельный блок; 7-реле расхода смазочного материала; 8-точки смазывания; 9-указатель потока; 10-точки смазывания с форсункой; 11-точки смазывания; 12-смазочный дроссельный блок; 13-сливной магнитосетчатый фильтр; 14-предохранительный клапан; 15-реле уровня; 16-воздушный фильтр резервуара; 17-резервуар.

Масло, применяемое для смазки, должно быть чистым безкислотным, не должно содержать воды и твердых частиц. Механизмы коробки скоростей смазываются от специального насоса, подающего масло из специального резервуара. При работе станка масло, подающееся от насоса, разбрызгивается быстровращающимися колёсами и благодаря этому, подаётся на все рабочие поверхности механизма коробки скоростей

В период эксплуатации станка необходимо следить за наличием смазочного материала в резервуаре не допуская падения его ниже 1/3 от уровня, обозначенного на маслоуказателе, а так же следить за работой маслонасосов по указателям.

Систему смазывания шпинделя жидким материалом выбираем исходя из его быстроходности

dnmax=80×5000=4×105 мм×мин-1,

где d=80 мм - диаметр шпинделя в передней опоре;

nmax=5000 мин-1 - максимальная частота вращения шпинделя.

Применяем циркуляционное смазывание, осуществляемое системой, общей для шпинделя и коробки скоростей. Подвод смазочного материала непосредственно к подшипникам шпинделя производится чере отверстия в буксе задней опоры и отверстия в корпусе у передней опоры. Контроль смазки шпинделя производится через смотровое окно в крышке шпиндельной бабки.


Литература

станок привод шпиндельный технический

1 Дунаев П.Ф., Леликов О.П. Конструирование узлов и деталей машин: Учебное пособие для машиностроительных специальностей ВУЗов. - 4-е изд., перераб. и доп. - М.: Высшая школа, 1985.

Кочергин А.И. Конструирование и расчет металлорежущих станков и станочных комплексов. Курсовое проектирование. Учебное пособие для ВУЗов. - Мн.: Вышэйшая школа, 1991.

Металлорежущие станки: Учебник для машиностроительных ВТУЗов / Под ред. В.Э. Пуша. - М.: Машиностроение, 1985.

Санюкевич Ф.М. Детали машин. Курсовое проектирование: Учебное пособие - Брест: БГТУ, 2003.

Справочник технолога-машиностроителя. / Под. ред. А.Г. Косиловой и Р.К. Мещерякова. М.: Машиностроение, 1972.

Шейнблит А.Е. Курсовое проектирование деталей машин: Учебное пособие. - 2-е изд. перераб. и доп. - Калининград: Янтар. Сказ, 1999.

Похожие работы на - Разработка привода главного движения станка модели 1Б140

 

Не нашли материал для своей работы?
Поможем написать уникальную работу
Без плагиата!
Без нейросетей!