Разделение изотопов урана. Переработка обогащенного гексафторида урана

  • Вид работы:
    Курсовая работа (т)
  • Предмет:
    Другое
  • Язык:
    Русский
    ,
    Формат файла:
    MS Word
    789,37 Кб
  • Опубликовано:
    2013-10-01
Вы можете узнать стоимость помощи в написании студенческой работы.
Помощь в написании работы, которую точно примут!

Разделение изотопов урана. Переработка обогащенного гексафторида урана

Комитет образования и науки Курской области Курчатовский филиал Областного бюджетного образовательного учреждения среднего профессионального образования "Курский государственный политехнический колледж"







Курсовая работа

по дисциплине: "Эксплуатация оборудования" на тему: "Разделение изотопов урана. Переработка обогащенного гексафторида урана"












Курчатов 2013

Содержание

Введение

. Разделение изотопов урана

.1 Газодиффузионное разделение

.2 Термодиффузионное разделение

.3 Жидкостная термодиффузия

.4 Центрифужное разделение

.5 Аэродинамическое разделение

.6 Электромагнитное разделение

.7 AVLIS (испарение с использованием лазера)

.8 Химическое разделение

.9 Эффузия газов

.10 Организация каскада разделения изотопов

. Гексафторид урана

.1 Требования к качеству гексафторида урана

.2 Переработка обогащённого гексафторида урана

.3 Водные методы переработки обогащённого урана

.3.1 АДУ-процесс

.3.2 АУК-процесс

.4 Безводные методы переработки обогащённого урана

.4.1 Восстановление гексафторида урана водородом

.5 ВОУ-НОУ процесс

Заключение

Литература

Введение

Разделение изотопов урана является основой ядерного топливного цикла. В природном уране содержится 0,71% изотопа 235U. Для реакторов АЭС необходим уран, обогащенный изотопом 235U до (2,7-5) %, в оружейном уране содержание 235U - 90%. Стоимость добычи урана из извлекаемых запасов, где содержание урана не менее чем в 103 раз превышает среднее в литосфере, 80 долл. США за килограмм элементного урана. Требуется ~ 6 кг природного урана (480 долл. США) для получения 1 кг урана с обогащением 3,2% и обеднением отвала до 0,2%. При этом услуги по обогащению обходятся в (350-400 долл. США) за 4,3 кг ЕРР (условные единицы работы разделения) и составляют 45% стоимости обогащенного урана. Масштаб производства в США - тысячи тонн обогащенного урана в год со стоимостью услуг по обогащению ~ 1 млрд долл. в год. При широкомасштабном производстве обогащенного урана совершенствование методов разделения изотопов урана является актуальной и очень не простой задачей Россия занимает лидирующее положение в центробежной технологии обогащения урана. Разработаны и внедряются в производство машины нового поколения. В настоящее время проблем с ядерным топливом в России нет, и в ближайшем будущем не предвидится. Это даёт возможность разрабатывать новые технологии обогащения без излишней спешки и избежать дорогостоящих ошибок в определении оптимальной технологии, тщательно изучая физико-химические процессы, отрабатывая элементную базу для получения надёжных данных о перспективности метода и по стоимости единицы работы разделения, и по уровню инвестиций в строительство промышленного предприятия, и по глубине извлечения 235U.

Изотопы урана:

Уран имеет 14 изотопов, при этом только три из них встречаются в природе. Примерный изотопный состав природного урана следующий:


Хотя содержание изотопа U-235 в общем постоянно, могут иметься некоторые колебания его количества, в следствии обеднения руды из-за реакций деления.

Содержание U-234 в руде очень незначительно. В отличие от U-235 и U-238, из-за своей короткой жизни, все количество этого изотопа образуется вследствии распада атомов U-238:

U238 -> (4.51 миллиарда лет, альфа-распад) -> Th234

Th234 -> (24.1 дней, бета-распад) -> Pa234

Pa234 -> (6.75 часов, бета-распад) -> U234

Обычно U-234 существует в равновесии с U-238, распадаясь и образуясь с одинаковой скоростью. Однако распадающиеся атомы U-238 существуют некоторое время в виде тория и протактиния, поэтому могут химически или физически отделиться от руды (выщелачиваться подземными водами). Поскольку U-234 обладает относительно коротким временем полураспада, весь этот изотоп, находящийся в руде, образовался в последние несколько миллионов лет. Примерно половину радиоактивности природного урана составляет вклад U-234.обладает периодом полураспада 23.9 миллиона лет и не встречается в природе в значительных количествах. Он накапливается, если уран облучается нейтронами в реакторах, и потому используется как "сигнализатор" отработанного уранового ядерного топлива.

В природном уране только один, относительно редкий, изотоп подходит для изготовления ядра атомной бомбы или поддержания реакции в энергетическом реакторе. Степень обогащения по U-235 в ядерном топливе для АЭС колеблется в пределах 2-4.5%, для оружейного использования - минимум 80%, а более предпочтительно 90%.

Чистый U-238 имеет удельную радиоактивность 0.333 микрокюри/г.

Важная область применения этого изотопа урана - производство плутония-239. Плутоний образуется в ходе нескольких реакций, начинающихся после захвата атомом U-238 нейтрона. Любое реакторное топливо, содержащее природный или частично обогащенный по 235-му изотопу уран, после окончания топливного цикла содержит в себе определенную долю плутония.и U-232: Этот изотоп урана с периодом полураспада 162 000 лет не встречается в природе. Его можно получить из тория-232, облучением нейтронами, наподобии производства плутония:


Практически важное соединение урана - гексафторид урана UF6. Это единственное стабильное и легколетучее соединение урана, использующееся при разделении его изотопов - газовой диффузии и центрифугировании. В этом аспекте его применения важно и то, что фтор имеет всего один изотоп (это не вносит дополнительной усложняющей разницы в массах) и то, что UF6 - стехиометрическое соединение (состоящее в точности из 6 атомов фтора и 1 атома урана).

При комнатной температуре оно представляет собой бесцветные кристаллы, а при нагреве до 56 °С сублимируется (испаряется без перехода в жидкую фазу).металл радиоактивность

Приблизительные энергетические эффективности указанных методов по отношению к газовой диффузии:

Многие страны заявляют о программах создания или развития парка энергетических ядерных реакторов. Согласно прогнозу Всемирной ядерной ассоциации, к 2020 году установленные мощности АЭС в мире увеличатся с текущих 360 ГВт (2007г.) до 446 ГВт. Поэтому увеличится потребность в обогащении урана, поскольку большинство существующих и планируемых к строительству реакторов используют в качестве топлива уран, обогащенный до 3,5-4 % по изотопу 235U.

В целом, развитие европейских обогатительных компаний имеет твердую основу в виде надежной технологии, значительных существующих мощностей и надежной производственной базы центрифуг.

1.      Разделение изотопов

Изотопы - химические элементы с одинаковым количеством протонов (одинаковым зарядом) и разным количеством нейтронов. У чётных атомов изотопов может быть много, у нечётных обычно не более двух.

Уникальность гексафторида урана заключается в том, что фтор не имеет изотопов т.е. молекулярная масса гексафторида урана зависит только от массы изотопов самого урана. Второй немаловажный фактор - газообразное состояние гексафторида урана уже при 56оС при атмосферном давлении.

Для выяснения места технологии разделения изотопов необходимо напомнить, что технология урана подразумевает передел рудного сырья в уранилнитрат, уранилнитрат через стадию оксидов и тетрафторида превращается в гексафторид, гексафторид разделяется на гексафторд урана-235 и гексафторид урана-238, а затем из гексафторида обогащенного изотопом U235 производится диоксид урана для ТВЭлов.

Исходный ядерно-чистый гексафторид урана, содержащий 99,3% гексафторида урана-238 и 0,7% гексафторида урана-235. Необходимо из этой смеси выделить гексафторид изотопа урана-235.

Существует множество методов разделения изотопов:

. Газодиффузионный;

. Центрифугирование;

. Дистилляция (ректификация)

. Электромагнитный

. Термодиффузионный

. Изотопный обмен

. Лазерное разделение

Это не далеко полный список всех методов разделения изотопов, на практике сейчас применяется только три первых метода. Остальные методы не носят промышленного масштаба и используются только в экспериментальных работах, хотя часто являются более качественными нежели многотоннажные промышленные способы.

Газодиффузионным и центрифужным методом обычно разделяют изотопы тяжелых элементов ( U235 от U238), дистилляция или ректификафия применяется для разделения изотопов лёгких (обычно H1 от Н2 и Н3 или Li6 от Li7).

Коэффициент разделения α=1,003 для газодиффузионных машин, и α=1,3 для центрифужных машин.

.1 Газодиффузионное разделение изотопов

Первым удачным способом позволившим получит уран обогащённый изотопом U235, был способ газодиффузионного разделения.

Теоретически способ газодиффузионного разделения основан на зависимости скорости диффузии отдельных молекул от их веса.


Из формулы видно, что чем меньше вес молекулы тем больше её скорость. Т.е. лёгкие молекулы диффундируют дальше тяжёлых. Тогда можно представить коэффициент разделения, как отношение скоростей диффузии в следующем виде:


Зная, что масса гексафторида урана-238 равняется 352 г/моль а масса гексафторида урана-325 равняется 349 можно вычислить теоретический коэффициент разделения:  = 1,0043

Реально  = 1,003

Рассмотрим устройств газодиффузионной машины. Основной элемент представляет собой пористую перегородку (рис. 1) в которой происходит диффузия гексафторида урана. Как уже отмечалось, лёгкие молекулы имеют более длинный диффузионный пробег, и проникают за перегородку, тяжелые частицы перегородку не проходят.

Рис.1 Пористая перегородка

Разделитель представляет собой трубку из прессованного никелевого порошка с диаметром пор 1-10 мкм, наружная поверхность трубки покрывается непосредственно разделительной мембраной, диаметр пор которой составляет уже 0,03 мкм. Именно слой разделительной мембраны и задерживает некоторую часть тяжёлых молекул гексафторида урана-238. Мембраны представляют собой пленки с образованными травлением порами. Например, азотная кислота протравливает сплав 40/60 Au/Ag (Ag/Zn); либо электролитическим травлением алюминиевой фольги можно получить хрупкую алюминиевую мембрану. Составные барьеры собираются из маленьких дискретных элементов, упакованных в относительно толстую пористую перегородку.

 Газ - гексафторид урана поступает в диффузионную машину и разделяется на две фракции. Одна фракция прошла через пористую перегородку и потеряла часть тяжёлых молекул, т.е. обогатилась лёгкими. Другая фракция через пористую перегородку не прошла, в отличие от части лёгких молекул, т.е перед перегородкой осталась фракция обеднённая лёгким изотопом.

Схематично газодиффузионную машину можно представить следующим образом:

Рис.2 Устройство газодиффузионной машины

Поступающий в газодиффузионную машину газ прогоняется барабаном через разделительные трубки. Предварительно газ нагревают до 75оС, давление 40-80 мм.рт.ст. Поскольку диффузия идёт с выделением тепла, то машину необходимо охлаждать.

Основные недостатки газодиффузионного метода разделения изотопов:

. Недостаточная степень разделения

. Разрушение Ni-перегородки. Гексафторид урана медленно реагирует с металлическим никелем по формуле:

Ni + UF6 = UF4 + NiF2

В разделительном элементе постепенно происходит накапливание тетрафторида урана, который впоследствии удаляют, промыванием в трифториде хлора:

UF4 тв + ClF3 ж = UF6 газ + ClF газ

3.Периодичность процесса из-за выключения на регенерацию.

. Большие энергозатраты.

. Большой расход охлаждающей воды

. Большие производственные площади. Цеха по разделению изотопов занимают огромные площади в несколько гектар, обслуживающий персонал по цеху передвигается на велосипедах.

Ввиду всех перечисленных недостатков, в настоящее время большинство разделительных заводов переходит на новую технологию разделения изотопов - центрифугирование.

 

.2 Термодиффузия

 

Термодиффузия осуществляется в газовой или жидкой фазах в противоточной колонне, вдоль оси которой расположена нагретая металлическая нить (или трубка), а наружная стенка охлаждается. Перепад температур вызывает диффузионный поток, что приводит к появлению разности концентраций <#"655758.files/image007.gif">

Рис. 3

Давление газа в гравитационном поле зависит от его молекулярной массы, расстояния над точкой измерения и ускорения свободного падения.


Перепишем это уравнение для центробежного поля. Заменим давление на концентрацию, Ускорение свободного падения на центростремительное ускорение, высоту на радиус.


Тогда коэффициент разделения запишется, как отношение концентрации тяжёлого изотопа к лёгкому:


Таким образом если в диффузионных машинах коэффициент разделения зависел от отношения масс гексафторида урана-235 иурана-238, то в центрифугах он зависит от разности масс. Нетрудно посчитать, что в центрифугах коэффициент разделения равен 1,3.  = 1,3

Только на центрифугах возможно получать гексафторид урана обогащенный U235 до 98%.

Коэффициент разделения зависит от двух факторов:

. От разности масс изотопов

. От скорости вращения центрифуги

Рассмотрим устройство центрифужной машины.

Рис. 4. Устройство центрифуги для разделения изотопов

Центрифуга представляет собой цилиндр диаметром 15см, высотой 0,5м . В герметичном кожухе находится вращающийся ротор. В этот ротор подается газ (UF6). За счет центробежной силы, в сотни тысяч раз превышающей поле тяготения Земли, газ начинает разделяться на "тяжелую" и "легкую" фракции. На дне центрифуги имеется корундовая игла для снижения трения, во время вращения центрифуга приподнимается "взлетает" и вращается без соприкосновения с частями кожуха. Скорость вращения достигает 100 тыс. об/мин. Легкие и тяжелые молекулы начинают группироваться в разных зонах ротора, но не в центре и по периметру, а в верху и в низу. Это возникает из-за конвекционных потоков - крышка ротора имеет подогрев и возникает противоток газа. Вверху и в низу цилиндра установлены две небольших трубочки - заборника. В нижнею трубку попадает обедненная смесь, в верхнюю - смесь с большей концентрацией атомов 235U. Эта смесь попадает в следующую центрифугу, и так далее, пока концентрация 235-го урана не достигнет нужного значения. Цепочка центрифуг называется каскад.

1.5 Аэродинамическое разделение

 

Аэродинамическое разделение разработано в ЮАР (процесс UCOR, использующий вихревые трубки с давлением 6 бар) и Германии (используются искривленные сопла, работающие с давлением 0,25-0,5 бар).

Единственная страна, применявшая этот метод на практике - ЮАР, где было произведено 400 кг оружейного урана на предприятии в Валиндабе, закрытом в конце восьмидесятых. Коэффициент разделения ~1,015, энергозатраты ~3300 кВт-ч/МПП-кг.


.6 Электромагнитное разделение

Метод электромагнитного разделения основан на различном действии магнитного поля на одинаково электрически заряженные частицы различной массы. По сути дела такие установки, называемые калютронами, являются огромными масс-спектрометрами. Ионы разделяемых веществ, двигаясь в сильном магнитном поле, закручиваются с радиусами, пропорциональными их массам и попадают в приемники, где и накапливаются. Этот метод позволяет разделять любые комбинации изотопов, обладает очень высокой степенью разделения. Обычно достаточно двух проходов для получения степени обогащения выше 80% из бедного вещества (с исходным содержанием желаемого изотопа менее 1%). Однако электромагнитное разделение плохо приспособлено для промышленного производства: большая часть веществ осаждается внутри калютрона, так что его приходится периодически останавливать на обслуживание. Остальные недостатки - большое энергопотребление, сложность и дороговизна технического обслуживания, низкая производительность. Основная сфера применения метода - получение небольших количеств чистых изотопов для лабораторного применения. Тем не менее, во время второй мировой войны была построена установка Y-12, вышедшая с января 1945 на мощность 204 грамм 80% U-235 в день. Из-за высоких накладных расходов Y-12 был закрыт в 1946 г.

Рис.5.

Схематическое изображение электромагнитного разделительного устройства (рис.5); точки показывают направление магнитного поля, перпендикулярное плоскости рисунка.

Внимания заслуживают методы, пока промышленно неприменяемые:

Испарение с использованием лазера

Химическое разделение

Разделение изотопов при помощи светового давления

Фотохимические реакции электронно-возбужденных частиц

Двухступенчатое возбуждение атомов и молекул

Селективная фотопредиссоциация

Возбуждение молекул излучением инфракрасного диапазона

Изотопный эффект в химических реакциях, протекающих в термодинамически неравновесных условиях

Конденсация газа колебательно-возбужденных молекул

Изотопный эффект в химических реакциях, протекающих в магнитном поле

Разделение при адсорбции

Селективная диффузия, стимулированная лазерным излучением

Резонансное управление процессами на поверхности лазерным излучением

Лазерная химия на поверхности раздела двух сред

Лазерное стимулирование химических реакций на границе раздела двух жидкостей


1.7 AVLIS (испарение с использованием лазера)

Различные изотопы поглощают свет с немного различной длиной волны. При помощи точно настроенного лазера можно избирательно ионизировать атомы какого-то определенного изотопа. Получившиеся ионы можно легко отделить, допустим, магнитным полем. Такая технология имеет чрезвычайную эффективность, однако в промышленных масштабах пока не применяется. Технология, разрабатываемая в США, но до сих пор не развита далее опытных образцов. Имеет большой недостаток, а именно трудность в перестройке аппаратуры с одного изотопа на другой.

Рис.6. Лазерное разделение изотопов.

1.8 Химическое разделение

Химическое разделение использует разницу в скорости протекания химических реакций с различными изотопами. Лучше всего оно работает при разделении легких элементов, где разница значительна. В промышленном производстве применяются реакции, идущие с двумя реактивами, находящимися в различных фазах (газ/жидкость, жидкость/твердое вещество, несмешивающиеся жидкости). Это позволяет легко разделять обогащенный и обедненный потоки. Используя дополнительно разницу температур между фазами, достигается дополнительный рост коэффициента разделения. Химическое разделение урана разрабатывалось в Японии и Франции, но, как и AVLIS, никогда не использовалось. Французкий метод Chemex использует противоток в высокой колонне двух несмешиваемых жидкостей, каждая содержащая растворенный уран. Японский метод Asahi использует реакцию обмена между водным раствором и мелкоизмельченной смолой, через которую медленно просачивается раствор. Оба способа нуждаются в катализаторах для ускорение процесса концентрации. Процесс Chemex нуждается в электричестве на уровне 600 кВт-ч/МПП-кг.

Ирак разрабатывал эту технологию (в виде смешанного производства Chemex/Asahi) для обогащения U-235 до 6-8% и последующем дообогащением в калютроне.

 

1.9 Эффузия газов

изотоп уран гексафторид термодиффузия

Эффузия газов основана на том, что при молекулярном истечении (эффузии)

смеси изотопно замещенных молекул <#"655758.files/image015.gif">

.10 Организация каскада разделения изотопов

Уже говорилось о том, что для разделения изотопов необходимо большое количество разделительных машин ( центрифужных или диффузионных).

Одну диффузионную машину можно схематично представить на схеме (рис.7) следующим образом:


Сбоку входит исходная смесь. Через перегородку проходит частично обогащённый лёгким изотопом газ, вниз уходит частично обеднённый легким изотопом (тяжёлый) газ. Для достаточного разделения необходимо соединить в каскад сотни таких машин (рис.8).

Рис.8 Разделительный каскад.

Верхняя часть каскада называется стадией обогащения, нижняя стадией обеднения.

Для получения гексафторида урана с содержанием U235 не менее 90% необходим каскад из 600 стадий разделения.

Разделение изотопов один из наиболее дорогих операций в технологии урана, приведём примерные цены на килограмм урана в долларах США, в зависимости от степени обогащения (цены значительно зависят от объёмов производства и спроса):прир - 27$2% - 130$5% - 440$90% - 10000$

Всего на заводах СССР было получено около 600 тонн урана обогащенного на 90%по изотопу U235 .

После разделительных заводов. Обеднённый уран идёт на захоронение. В нашей стране накопилось более 100 тыс. Тонн обеднённого урана. Обеднённый гексафторид урана закачивается в специальные контейнеры, если эти контейнеры поставить на железнодорожные платформы то такой эшелон займёт всю дорогу от Москвы до Владивостока. Отвальный гексафторид урана представляет некоторую экологическую опасность и уже разработаны схемы по его конверсии, ведь гексафторид урана огромный источник так необходимого производству фтороводорода и фтора.

В Табл.3 на примере трех видов изотопов проведено сравнение методов разделения изотопов для водорода, углерода и урана.



2. Гексафторид урана

ПДК - 0,015 мг/м3

Производство UF6 - главная и неразрывная часть ЯТЦ. Через UF6 проходит весь уран, добываемый из недр. Также как и весь регенерируемый уран после переработки на РХЗ для возвращения в ЯТЦ проходит снова фторирование и последующее дообогащение.

Для проведения цепной ядерной реакции необходим изотоп U235, которого в природном уране содержится лишь 0,72%.

Рис. 9. Фазовая диаграмма состояния UF6.


.1 Требования к качеству UF6

Существует две марки гексафторида урана в зависимости от степени обогащения по изотопу U235.6 - коммерческий - природный или содержанием до 3% U2356 - обогащенный (регенерированный, оружейный).

При концентрации лёгкого изотопа менее 3% уран считается ядерно безопасным, т.е у него нет критической массы способной с самопроизвольной цепной реакции. Коммерческий уран является обычным химическим реактивом, имеющим свободную рыночную стоимость. Все торговые операции с оружейным ураном запрещены по закону о нераспространении ядерного оружия.

2.2 Переработка обогащённого гексафторида урана

После газодиффузионного завода обогащённый изотопом U235 гексафторид урана необходимо переработать до диоксида урана, а из диоксида изготовить ТВЭЛы ядерных реакторов. ТВЭЛы бывают металлические, оксидные, силицированные и др. Их изготовление очень сложный и наукоёмкий процесс, к исходным веществам предьявляются повышенные требования по чистоте. Металлические ТВЭЛы используются для наработки плутония; оксидные - применяются в энергетических реакторах. Обогащение гексафторида урана является одной из ключевых стадий всей ядерно-химической технологии. Методы переработки обогащённого гексафторида урана делятся на два стандартных типа:

Водные методы переработки

а) Гидролиз с нитратом алюминия

б) Аммонийдиуранатный процесс (АДУ)

в) Аммонийуранлкарбонатный процесс (АУК).

Безводные методы переработки

Восстановление гексафторида урана водородом.

Также разработан т.н. ВОУ-НОУ процесс позволяющий переводить оружейный высокообогащённый уран (ВОУ) в энергетический низкообогащённый уран (НОУ).

2.3 Водные методы переработки

Первой стадией переработки является гидролиз гексафторида урана водой до уранилфторида. Гидролиз происходит с большим выделением тепла по уравнению:

UF6 + 2H2O = UO2F2 + 4HF

Этот процесс можно осуществить путём барботажа газообразного гексафторида урана через воду или смешением жидкого гексафторида под давлением с водой. В обоих случаях предусматривается отвод тепла от аппаратов гидролиза. В результате гидролиза получается водный раствор UO2F2 и HF с концентрацией урана 100 г/л. На отечественных заводах применяется метод гидролиза гексафтоида урана с использованием нитрата алюминия. Этот способ позволяет уже на начальной стадии связать F-ион в прочное соединение и вывести его из растворов на стадии экстракции. Химизм процесса описывается следующей схемой:

UF6 + 2H2O = UO2F2 + 4HF2F2 + Al(NO3)3 = UO2(NO3)2 + AlF2NO3

HF + 2Al(NO3)2 = 2AlF2NO3 + 4HNO36+ 3Al(NO3)2 + 2H2O = UO2(NO3)2 + AlF2NO3+ 4HNO3

Комплексы AlF2NO3 и AlF(NO3)2 подавляют диссациирующие действие F-иона на процесс экстракции урана и защищают аппаратуру от коррозионной нестойкости. В результате гидролиза получается водный раствор UO2F2 и HF с концентрацией U 100 г/л. В процессе гидролиза идет бурное выделение тепла. После гидролиза нужно проводить контроль содержания U и HF.

Таблица 10.Растворимость UF6 в H2O в зависимости от концентрации HF

Конц. HF %

Конц. UO2F2 %

Конц. H2O

0

65.5

34.5

3.6

39.8

56.6

9.7

32.2

57.6

20.7

22.29

47.01

25.75

18.29

56.01


По аппаратурному оформлению различают два метода гидролиза: барботажный и струйный. Барботажный метод заключается в подаче гексафторида урана в раствор через газоподводную трубку в аппарат с мешалкой. Струйный метод - более современный и производительный. По струйному методу гексафторид урана подаётся в верхнюю часть вертикального аппарата, а водный раствор тангенциально вводится через стенку и по винтовой траектории опускается вниз.

Рис.10. Барботаж UF6 Рис.11.Струйный метод

Производительность струйного метода:25 кг/ч по UF6, 50 л/ч по H2O; давление: 4 атм.; t=104 °C. Экстракцию проводят в экстракторах ящечного типа. Операция состоит из 8 ступеней экстракции и 4-х ступеней реэкстракции. В качестве экстрагента используется 30% раствор ТБФ в керосине. На экстракцию подаётся раствор с концентрацией урана 20-30 г/л, концентрация азотной кислоты 180-220 г/л. Соотношение органической фазы к водной 1/(3-4). Концентрация урана в органической фазе составляет 70-90 г/л. Экстракцию ведут противоточным методом. Реэкстракцию проводят слабым раствором азотной кислоты при рН=1. Из полученных растворов нитрата уранила проводят осаждение полиураната аммония.

2(NO3)2 + NH4OH → (NH4)2U4O13+ NH4NO3

Прокаливанием из полиураната аммония получается закись-окись урана. Прокаливание проводят в горизонтальных вращающихся печах. Температура в печи 690о -730оС.

(NH4)2U4O13 → U3O8 + NH3 +N2+H2O

Восстановление проводится большим избытком водорода в горизонтальных вращающихся печах при температуре 650о -750оС.

U3O8 + H2 →UO2 + H2O

Схема водного гидролиза гексафторида урана с использованием нитрата алюминия приведена на рис.12.

Рис.12. Технологическая схема водного гидролиза UF6.

В случае некондиции произведённых таблеток, их можно вновь прокалить до U3O8. Закись-окись урана растворяют в азотной кислоте, а полученный таким образом азотнокислый уранил перечищают экстракцией на трибутилфосфате. Затем из очищенного уранилнитрата осаждают аммиаком полиуранат аммония, прокаливают его до закиси-окиси и восстанавливают снова до диоксида урана.

.3.1 АДУ-процесс

Своим названием АДУ-процесс обязан аммонийдиуранату, являющемуся исходным продуктом для получения многих соединений, в том числе и керамического UO2.

Обычно под АДУ-процессом подразумевают классическую схему получения керамического UO2 из UF6 (гидролиз UF6 в воде или в растворе аммиака - осаждение полиураната аммония - сушка - прокалка - восстановление).

АДУ-процесс реализуемый во фторидных системах, предназначен для переработки UF6, содержащего повышенную концентрацию 235U либо обедненного по изотопу 235U. Получаемый порошок UO2 с содержанием до 5% U используется для изготовления таблетированного топлива энергетических реакторов типа ВВР, а порошок UO2, обедненный по изотопу 235U, - для топлива зоны воспроизводства реакторов на быстрых нейтронах.

Осаждение полиураната аммония ведётся большим избытком аммиака по следующей схеме:

HF + NH4OH = NH4F + H2O

UO2F2 + 6NH4OH = (NH4)2U2O7 + 4NH4F + 3H2O

при недостатке аммиака возможна реакция.

UO2F2 + 3NH4OH = (NH4)3UO2F5 + 3HF + 3H2O

Извлечение урана в осадок составляет более 99,5%. Для осаждения можно использовать агитаторы с мешалками, а фильтрацию осуществлять на барабанных вакуумных фильтрах. Отфильтрованный осадок полиураната аммония содержит несколько процентов фтора. Его дальнейшая переработка заключается в термической диссоциации до U3O8 и последующем восстановлением до диоксида урана. Процесс удобно проводить в печах кипящего слоя. Последующая переработка UO2 заключается в холодном прессовании и затем спекании образцов в атмосфере водорода при температуре 1750оС. Ввиду того, что из полиураната аммония получается мелкодисперсный диоксид циркония, прессованные образцы имеют очень высокую плотность - не менее 95% от теоретической, т.е ~10 г/см3.

.3.2 АУК-процесс

АУК-процесс берёт своё название от аммонийуранилкарбоната Промышленный способ получения керамического UO2 из UF6 осуществляется через промежуточное соединение (NH4)4UO2(CO3)3 .

Аммонийуранилкарбонат образуется по реакции:

6 + 5H2O + 10NH3 + 3CO2 → (NH4)4UO2(CO3)3 + 6NH4F.

Далее (NH4)4[UO2(CO3)3] подвергают термическому разложению с последующим восстановлением промежуточных продуктов разложения до UO2. Процесс протекает по следующей схеме:

(NH4)4[UO2(CO3)3] → 4 NH3 + 3CO2 + 1,75 H2O +UO3 ∙ 0,25 H2O .

Конечным продуктом прокаливания является U3O8 (на воздухе) и UO2 (в водороде). Разложение (NH4)4[UO2(CO3)3] протекает ступенчато, сначала до моногидрата триоксида урана с постепенной потерей воды в дальнейшем. Процесс дегидратации можно представить следующим образом:

UO3∙H2O → UO3 ∙0,65H2O → UO3 ∙ 0,5H2O → UO3 ∙ 0,25H2O.

Соединение UO3 ∙ 0,25H2O образуется в качестве промежуточного продукта при прокалке в атмосфере всех газов и существует вплоть до температуры 653К.


3(UO3 ∙ 0,25H2O) + H2 → U3O8 + 1,75 H2O + 74,8 кДж.

В соответствии с данными рентгенодифракционного анализа продукт этой реакции идентифицирован как U3O8. Конечным продуктом восстановлением является порошок UO2.

.4 Безводные методы переработки обогащённого урана

.4.1 Восстановление UF6 водородом

Гексафторид урана водородом восстанавливают до тетрафторида и фтороводорода, далее тетрафторид сплавлением с кальцием восстанавливают до металлического урана и дифторида кальция.

Взаимодействие гексафторида урана в водородом описывается уравнением:

UF6 + H2 = UF4 + 2HF + 16,5 кДж/моль

Реакция протекает со значительной убылью свободной энергии. Однако энергия активации реакции восстановления UF6 водородом очень велика и для успешного проведения процесса необходим подвод тепла. Восстановление гексафторида водородом - реакция первого порядка.

Для реализации рассматриваемого процесс существует два метода подвода тепла: либо через стенку, либо в реактор впрыскивают небольшое количество фтора, который взаимодействуя с водородом выделяет достаточное количество тепла. Аппаратура для восстановления гексафторида урана водородом делится на два типа по способу подвода тепла:

. Реактор с горячими стенками;

. Реактор с холодными стенками.

Разбавление гексафторида азотом, вплоть до эквимолярного состава газов на входе, не снижает эффективности процесса. Уменьшение избытка H2 приводит к повышению удельного веса UF4. Существенным недостатком процесса восстановления гексафторида урана водородом в реакторе с горячей стенкой, является перегрев стенок за счёт тепла реакции, особенно в первых по ходу газа зонах. Это приводит к сплавлению твёрдого материала, в связи с чем необходимо периодически прекращать работу и очищать стенки. Обычно реактор работает 78 часов , а затем останавливается на чистку. Для воспрепятствования накапливания на стенках мягкого порошка UF4 необходима вибрация реактора.

Выход был найден в виде совместной подачи в реактор UF6 и F2. За счёт тепла реакции сжигания водорода во фторе.

H2 + F2 = 2HF + 30,6 кДж/моль

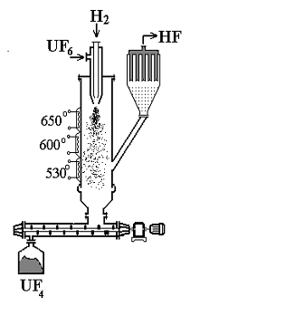
в факеле возбуждается реакция восстановления гексафторида урана водородом. На Рис.13 представлена конструкция аппарата с горячими стенками.

Рис. 13. Аппарат с горячими стенками для восстановления гексафторида урана.

Реактор представляет собой вертикальную трубу (рис.13), в верхний фланец реакторавмонтирована форсунка для смешения реакционных газов и впрыска их в зону реактора. Обогрев трёхступенчатый.

Такой способ, проводимый в реакторе с холодными стенками, вполне удовлетворителен, как со стороны эксплуатационных характеристик, так и со стороны качества производимого тетрафторида урана. Однако необходимость сжигания F2 в значительно дешёвый HF снижает экономическую эффективность такого способ переработки.

Рассмотрение тех или иных химических реакций в системе начинают с термодинамического анализа, который позволяет оценить наиболее вероятные варианты химических превращений, их последовательность и глубину, влияние основных внешних факторов (температуры, давления) на протекание процессов.

В газовых методах гидролиз UF6 проводят при повышенных температурах (обычно при 473-973 К). Поэтому правильнее этот процесс назвать пирогидролизом. В реальных процессах в присутствии водорода приходится считаться с существованием двух многоступенчатых цепочек превращений UF6, ведущих к образованию твердых промежуточных соединений.

Цепочка превращений UF6 → UO2F2 → UO2:

6 + 2H2O = UO2F2 + 4HF2F2 + H2 = UO2 + 2HF 2F2 + H2O = UO3+ 2HF3 + H2 = UO2 + H2O 2F2 + 2/3H2O +1/3H2 = UO2,67 + 2HF2,67 + 2/3H2 = UO2 + 2/3H2O 2F2 + H2 = 1/2UO2 + 1/2UF4 + H2O

/2UF4 + H2O = 1/2UO2 + 2HF

Цепочка превращений UF6 → UF4 →UO2:

6 + H2 = UF4 + 2HF, 4 + 2H2O = UO2 + 4HF.

Суммарной реакцией взаимодействия гексафторида урана со смесью водорода и водяного пара является реакция :

UF6+ 2H2O + H2 = UO2 + 6HF.

Термодинамический анализ взаимодействия в системе UF6 - H2O - H2 состоит в определении основных термодинамических параметров и определении условий протекания процесса. Оценивая влияние температуры на общий характер протекания химических реакций в процессах газовой конверсии UF6 , можно отметить, что увеличение температуры должно способствовать обесфториванию и постепенному переходу от уранилфторидного продукта реакции конверсии к оксидным системам. В связи с тем, что реакции обесфторивания протекают с увеличением объема системы, снижение общего давления в системе должно способствовать получению оксидов урана с меньшим содержанием остаточного фтора.

Цепочка превращений при кислородно-водородной конверсии гексафторида урана.

Цепочка превращения:

UF6 + H2 = UF4 + 2HF,

UF4 + 2H2O = UO2 + 4HF,

H2 + O2 = 2H2O,

или6 + 2H2O = UO2F2 + 4HF,2F2 + H2= UO2 + 2HF,

или2F2+ H2O = UO3 + 2HF

UO3 + H2 = UO2+ H2O

Суммарная реакция восстановительного гидролиза в кислородно-водородном пламени может быть записана в следующем виде:

UF6 (г) + Н 2 изб + О2 изб → UO 2 тв + 6HF + Н2О остаточная

Ход изменений энергии Гиббса при повышении температуры, протекающих при гидролизе гексафторида урана парами воды, благоприятно сказывается на глубине прохождения гидролиза и последующей реакции восстановления уранилфторида водородом. Необходимо отметить что, гидролиз уранилфторида до триоксида обратим и при относительно высоких температурах протекает в прямом направлении.

В продуктах реакции пламенного реактора (температура около 1300°С) обнаружены UО2, UO3, UF4, U(OH)4, Н2О, UО2F2. Основным элементом, загрязняющим конечный продукт, был фтор, содержание которого составляло 4-8%.

Содержание фтора в продукте, полученном пламенным пирогидролизом, значительно снижалось при термической обработке его в водороде при 1000°С и достигало значения менее 3·10-3, что вполне удовлетворительно. Подача исходных продуктов организована следующим образом. Три газа (UF6, O2 и F2) поступают по центральной трубке, a H2 - по кольцевому зазору; F2 подают только в самом начале для инициирования процесса взаимодействия UF6 с водородом.

.5 ВОУ-НОУ процесс

Технология ВОУ-НОУ включает операции по переводу высокообогащённого урана (ВОУ) в низкообогащённый уран (НОУ). Необходимость такой конверсии возникла в середине 1990-х годов вследствие двустороннего разоружения США и России. Наработанный ранее высокообогащенный (90%) уран необходимо переводить в низкообогащенный (1,6 - 4,4%), пригодный для использования в мирных целях для изготовления ТВЭлов для ВВЭР. Поставленная задача решается методом разбавления высокообогащенного урана низкообогащенным через стадию фторирования. Поскольку гексафторид урана газообразное соединение, то таким образом достигается равномерная гомогенизация смеси. Преимуществами такого смешения является являются менее затратная организация обеспечения ядерной безопасности и требуемой точности дозирования смешиваемых продуктов, оперативность управления процессом смешивания. Промышленная технологическая схема такого производства представлена на рис.14.

Рис.14 Технологическая схема процесса ВОУ-НОУ.

К НОУ предъявляются высокие требования по чистоте. В нем, в частности, должно быть гарантировано содержание

плутония < 0,05 Бк/г U

нептуния < 0,01 Бк/г U

урана -234 < 10 000 мкг/г U - 235

урана -236 < 5 000 мкг/г U - 235

Исходя из этих треобований, в технологическую схему перевода оружейного урана из элементного состояния в его гексафторид и разбавления низкообогащенным ураном были введены две дополнительные операции:

во-первых, была введена стадия экстракционной очистки оксидов высокообогащенного урана от плутония, продуктов деления и легирующих добавок.

во-вторых, была организованна наработка из природного урина гексафторида урана-разбавителя с 1,5% содержанием урана-235 с пониженным содержанием изотопов урана-234 и урана-236 .Из рис. 1 видно, что важнейшим элементом в технологии переработки оружейного урана в ядерное энергетическое топливо является процесс фторирования оксидов высокообогащенного урана. На фторирование поступает порошкообразная закись-окись урана (октаоксид триурана) и фтор, предварительно прошедший очистку от фтористого водорода методом селективной сорбции последнего на гранулах фторида натрия. Реакция фторирования протекает при температуре 350 -г 400 °С. Процесс фторирования осуществляют в непрерывном режиме в период переработки одной партии при противотоке твердой и газообразной фаз реагентов. Твердые порошкообразные остатки от фторирования, в которых концентрируются нелетучие фториды продуктов распада радионуклидов, продукты коррозии (фториды Fe, Ni , Си ), а также нелетучие фториды плутония, в микроскопических количествах присутствующего в уране, после переработки одной или нескольких партий оксидов урана выгружаются из реактора и направляются для извлечения урана. Газовая фаза, выходя из реактора ,проходит двухступенчатую фильтрацию от уносимой твердой фазы и поступает на десублимацию полученного гексафторида урана из газового потока. Кроме того, на первой технологической цепочке перед десублимацией газовый поток проходит сорбционную колонну, в которой селективно улавливается плутоний, который подвергся возгонке вместе с гексафторидом урана, по реакции

Собранный в десублиматоре гексафторид урана при размораживании десублиматора подвергается вакуумной тренировке с целью удаления из него неконденсирующихся газов и примеси фтористого водорода, после чего гексафторид урана пере- конденсируется из десублиматора в транспортные емкости и отправляется потребителю (заводу по разделению изотопов).

Технологические газы после десублиматора, содержащие в основном неконденсирующие газы F2, 02 и другие, проходят очистку от гексафторида урана путем улавливания его на гранулах фтористого натрия по реакции:

F6 + 2 Na F = U F6 • 2 Na F ,

а затем направляются на нейтрализацию фтора и санитарную очистку в систему газоочистки Аппаратурное оформление технологических процессов на установке определяется свойствами перерабатываемых материалов и реагентов, главными из которых являются;

высокая химическая токсичность фтора, фтороводорода, гексафторида урана и других летучих и нелетучих фторидов, участвующих в технологическом процессе. По химической опасности большинство из них относятся к веществам 1 класса;

высокая радиотоксичность высокообогащенного урана и других нуклидов, присутствующих в нем: следовые количества плутония, урана-232 и продуктов их распада; это относит перерабатываемый материал по радиоопасности к веществам класса А;

высокообогащенный уран является ядерно-опасным, т. е. при определенных условиях возможно возникновение самопроизвольной цепной реакции распада (СЦР).

Вопросы ядерной безопасности на установке решены тем, что все технологическое и вспомогательное оборудование, включая: реактор-фторатор, бункер, десублиматор, сорбционные колонны, санфильтры - имеют либо ядернобезопасную геометрию, либо ограничения по объему и загрузке аппаратов и величине одновременно перерабатываемой партии высокообогащенного урана

Заключение

Несмотря на то, что уран низкого обогащения - ценное сырье для производства высокообогащенного урана, газодиффузионные установки низкого обогащения невозможно легко переделать для производства урана высокого обогащения. Высокое обогащение требует много меньших по размеру ступеней, из-за резкого снижения коэффициента обогащения и проблем с критичностью (накопление критической массы урана) у больших по размеру блоков.

Огромные размеры обогатительной системы ведут к длительному времени заполнения ее материалом (обогащаемым веществом), до начала выхода продукта. Обычно это время установления равновесия составляет 1-3 месяца. Технология газовой диффузии широко использовалась во множестве стран, даже Аргентина создала действующее обогатительное предприятие для своей тайной оружейной программы (в настоящее время прекращенной). В 1979 году более 98% всего урана производилось с использованием этого процесса. К середине 1980-х эта доля сократилась до 95% с освоением метода центрифугирования.

Доминирующий способ разделения изотопов для новых производств, хотя уже существующие мощности - по большей части газодиффузионные. Каждая центрифуга обеспечивает гораздо больший коэффициент разделения, чем одна газовая ступень. Требуется много меньше ступеней, всего около тысячи, правда стоимость каждой центрифуги гораздо выше.

Газовое центрифугирование требует ~1/10 часть энергии, требующейся газовой диффузии (его энергопотребление 100-250 кВт-ч/МПП-кг) и обеспечивает более легкое наращивание масштаба производства.

Из развивающихся ядерных стран этой достаточно сложной технологией владеют Пакистан и Индия.

Многие страны заявляют о программах создания или развития парка энергетических ядерных реакторов. Согласно прогнозу Всемирной ядерной ассоциации, к 2020 году установленные мощности АЭС в мире увеличатся с текущих 360 ГВт (2007г.) до 446 ГВт. Поэтому увеличится потребность в обогащении урана, поскольку большинство существующих и планируемых к строительству реакторов используют в качестве топлива уран, обогащенный до 3,5-4 % по изотопу 235U.

В целом, развитие европейских обогатительных компаний имеет твердую основу в виде надежной технологии, значительных существующих мощностей и надежной производственной базы центрифуг.



Литература

1.       Громов Б.В. Введение в химическую технологию урана, М.Госатомиздат, 1978.

.        Справочник по ядерной энерготехнологии: пер. с англ./ Ф.Ран, А.Адамантиадес, Дж.Кентон, Ч.Браун; под.ред. В.А.Легасова. -М.:Энергоатомиздат, 1989.-752с.

.        Галкин Н.П., Майоров А.А., Верятин И.Д Химия и технология фтористых соединений урана, М.:Госатомиздат, 1961.

.        Ч.Харрингтон, А.Рюэле Технология производства урана, М.:Госхимиздат, 1961.

.        В.С.Емельянов, А.И.Евстюхин Металлургия ядерного горючего, М.:Атомиздат, 1968.

.        Жиганов А.Н, Гузеев В.В., Андреев Г.Г. Технология диоксида урана, как керамического ядерного топлива, Томск, 2003.

.        Шевченко В.Б, Судариков Б.Н. Технология урана. - М.:Госатомиздат, 1961.

.        Майоров А.А., Браверманн И.Б. Технология получения порошков керамической двуокиси урана. М.:Энергоатомиздат, 1985.

.        Смайли С. Аппаратурное оформление гетерогенных процессов в технологии урана.-М.:Госатомиздат, 1963.

.        Химия актиноидов, под ред Дж.Каца, Г.Сиборга, Л.Морсс. Том 1. М."Мир",1991.

.        Петерсон З, Уаймер Р. Химия в атомной промышленности.-М.:Атомиздат, 1967.

Похожие работы на - Разделение изотопов урана. Переработка обогащенного гексафторида урана

 

Не нашли материал для своей работы?
Поможем написать уникальную работу
Без плагиата!
Без нейросетей!