Обґрунтування комплексу методів геофізичних досліджень свердловин при розвідці Носачівського апатит-ільменітового родовища

  • Вид работы:
    Дипломная (ВКР)
  • Предмет:
    Геология
  • Язык:
    Украинский
    ,
    Формат файла:
    MS Word
    2,32 Мб
  • Опубликовано:
    2013-07-24
Вы можете узнать стоимость помощи в написании студенческой работы.
Помощь в написании работы, которую точно примут!

Обґрунтування комплексу методів геофізичних досліджень свердловин при розвідці Носачівського апатит-ільменітового родовища

ВСТУП

Найбільші у світі родовища багатих титанових і фосфатно-титанових руд пов'язані з породами габро-анортозитової формації.

Ендогенні родовища титанових і фосфатно-титанових руд, у колишньому СРСР, зосереджені в межах Джугджуро-Станового анортозитового поясу, Українського та Балтійського щитів. На Україні вони виявлені на Коростенському і Корсунь-Новомиргородському плутонах. На Корсунь-Новомиргородському плутоні, в результаті геолого-зйомочних і пошукових робіт, в габроїдах виявлені ільменітові та апатит-ільменітові рудопрояви з високим (до 40% і більше) вмістом TiО2: Носачівський, Межирічський, Калинівський, Південно-Цвітковський, Волковський, Воронівський I і II, Цвітковський.

Зацікавленість в подальшому вивченні цих об'єктів, як потенційних джерел титанової сировини, і доцільність проведення геологорозвідувальних робіт обумовлені, насамперед, гострою потребою в даній сировині. Існує серйозна незадоволеність попиту споживачів в кольоровій металургії та у хімічній промисловості (пігментний TiО2).

З перерахованих вище рудопроявів Корсунь-Новомиргородського плутону найбільший практичний інтерес представляє Носачівський, як найбільш вивчений. За результатами технологічних досліджень руди високотехнологічні, ільменіт в них слабозмінений, практично не містить шкідливих домішок. Одержані з руд ільменітові концентрати Носачівського родовища за своєю природою є унікальною сировиною для виробництва пігментного двоокису титану сірчанокислотним способом і, в даний час, за всіма показниками можуть служити еталоном якості титановмісної сировини.

Загальний ресурсний потенціал Носачівського родовища попередніми роботами оцінюється в 44 млн. т. двооксиду титану і 11 млн. т. пентоксиду фосфору.

Перед комплексом геофізичних досліджень у свердловинах були поставлені наступні геологічні завдання:

завірка літологічної будови розрізу геофізичними методами і контроль виконання бурових робіт;

визначення меж рудних тіл;

попутні пошуки радіоактивної сировини;

- визначення просторового положення стволів свердловин.

Завдання вирішувалися комплексом методів: стандартного каротажу (методами У.О; ПC); ГК; ГГК-Щ; МЕП; каротаж магнітної сприйнятливості (ǽ ), інклінометрія (І), кавернометрія (К).

Автор цієї роботи безпосередньо приймав участь у виконанні польових робіт, та первинної обробки польових матеріалів,за допомогою яких були вирішені поставлені задачі.

Дана кваліфікаційна робота спеціаліста складається з восьми розділів, вступу та висновків.

1. ЗАГАЛЬНІ ВІДОМОСТІ ПРО РОДОВИЩЕ

Носачівське родовище розташоване в середньому Придніпров'ї (північно-східна частина аркуша М-36-ХХVI) і в адміністративному відношенні, знаходиться в межах Смілянського району Черкаської області України (рисунок 1.1).

Площа робіт розташована на північно-західній окраїні с. Носачів і становить 6 113 тис. м2 (див. рисунок 1.2). Площа виходу руд під породи осадочного чохла становить 786,9 тис. м2. Руди Носачівського родовища частково залягають під однойменним населеним пунктом. Безпосередньо через ділянку проходять Одеська залізниця і шосе Черкаси - Умань, на охоронні зони яких припадає 28,5тис. м2 (або 3,6% площі родовища); 28,8% поверхні родовища зайнято орними землями; біля 288,5 тис. м2 (36,7%) площі займають житлові будови та присадибні господарства жителів с. Носачів; 18,3% становлять невгіддя (рисунок 1.3). Докладний розподіл земельних угідь на площі робіт і родовища наведено в таблиці 1.1.

Таблиця 1.1 - Розподіл земельних угідь на площі робіт і родовища.

№ п/п

Категорія земельних угідь

Площа робіт

Площа родовища



у тис. м2

у відносних %

у тис. м2

у відносних %

1

Землі громадян с. Носачів

2 124,0

34,7

288,5

36,7

2

Землі Одеської залізниці

316,5

5,2

99,3

12,6

3

Землі Черкаського облавтодору (шосе Черкаси - Умань)

94,6

1,5

28,5

3,6

4

Землі резерву сільської ради

1 364,0

22,3

-

-

5

Орні землі фермерських господарств

1 191,0

19,5

226,5

28,8

6

Невгіддя (залісені балки)

682,1

11,2

144,1

18,3

7

Орні землі Городищенського району

340,9

5,6

-

-


Разом

6 113,1100,0786,9100,0




Оголеність території району вкрай незадовільна. Породи кристалічної основи скрізь перекриті чохлом осадочних порід потужністю, в середньому, близько 70м.


СИТУАЦІЙНИЙПЛАН ПЛОЩІ РОБІТ


Район родовища являє собою горбисте лісостепове плато, посічене ярами та балками з крутістю схилів до 15-20º. Мінімальні відмітки припадають на долину р. Серебрянка і становлять 130-140 м, максимальні досягають 200-210 м.

Район робіт розташований у лісостеповій зоні, характеризується помірно континентальним кліматом: з сухою погодою влітку та малосніжною взимку з частими відлигами. Середньорічна температура повітря + 7,4ºС. Період без морозів триває 180-200 днів. Середньорічна кількість опадів складає 450-520 мм, найбільша їх частина випадає у весняно-літній період. Сніжний покрив непостійний і становить, в середньому, 0,3-0,4 м. За даними Київської метеорологічної станції глибина промерзання ґрунту в районі досягає 1,03 м.

Район характеризується високорозвиненим сільським господарством, добре налагодженою системою комунікаційних зв’язків. Крім залізничного і автомобільного видів транспорту, що проходять безпосередньо через родовище, в 55 км знаходиться річковий порт міста Черкаси на р. Дніпро, що має зв’язок з портами Чорного моря. Найближча вузлова залізнична станція розташована в 4 км у селі Цвітково.

Потреба району робіт в паливі забезпечується за рахунок привізного вугілля. Місцевими паливними ресурсами є ліс і торф (25 км на північ - Ірдинська торфобрикетна фабрика).

Постачання місцевого населення питною водою не централізоване - з неглибоких приватних колодязів. У безпосередній близькості від родовища бере свій початок невелика річка Серебрянка, лівий приток р. Тясмин. Планується будівництво водогонно-каналізаційної системи с. Носачів.

Район густо населений, має ресурси робочої сили. У безпосередній близькості розташований район з розвинутою гірничовидобувною промисловістю. Це буровугільні шахти м. Ватутіно та м. Звенигородка Черкаської області і рудоуправління Кіровоградської області (м. Смоліно, м. Кіровоград). Через закриття нерентабельних підприємств в районі є достатня кількість кваліфікованої робочої сили, зайнятій у гірничій промисловості.

2. ГЕОЛОГО-ГЕОФІЗИЧНА ВИВЧЕННІСТЬ РАЙОНУ РОБІТ

.1 Геологічна вивченість

Самими ранніми роботами на Носачівській ділянці є роботи, виконані при геологічній зйомці масштабу 1:50 000 в 1959-1961р.р. (аркуш М-36-100-В, І.Ф. Піддубний та ін., 1961р. [4, 5, 6]; аркуш М-36-100-А, В.К. Рябчун та ін., 1961 р.). За результатами геолого-зйомочних робіт у межах гравітаційних аномалій виявлено декілька тіл олівінових габро з мінералізацією ільменіту, але випробування на TiО2 і P2O5 не проводилося. Скороченим хімічним аналізом випробували боксити, бокситоподібні породи і рідко кори вивітрювання. Окремими аналізами встановлений високий вміст TiO2.

В 1982 році при складанні звіту за темою «Аналіз і оцінка виявлених раніше рудопроявів і аномалій по Кіровоградському блоку» [5, 6]. Волковська ділянка, під назвою Цвітковська, була рекомендована, як перспективна, на виявлення фосфатно-титанових руд.

В 1983 році, під час глибинного геологічного картування геолого-зйомочною партією Черкаської геологорозвідувальної експедиції, виконано великий обсяг бурових робіт на площі ділянки [4, 5,6].

На Волковському гравітаційному максимумі було пробурено 2 глибокі пошукові свердловини (№№ 216, 218) в епіцентрі аномалій. Свердловини розкрили олівінові габро-норити з бідним вкрапленим зруденінням по всьому стволу свердловин.

Крім того, було пробурено ще ряд глибоких і кілька профілів картувальних свердловин у південній частині ділянки з метою перевірки аномалій викликаної поляризації, але за межами гравітаційної аномалії. Буріння свердловин в епіцентрі інтенсивного (5,7 мГл) Волковського гравітаційного максимуму дало негативний результат на предмет виявлення фосфатно-титанового зруденіння. Інші гравітаційні аномалії, що утворюють разом з Волковським максимумом єдине аномальне поле, були виключені з подальших пошуків. [4]. У східному і південному бортах аномалій виявлена потужна зона графітизації в габро-анортозитах, яка обумовила аномалію викликаної поляризації. Швидше за все, зони графітизації є фронтально-фланговими ореолами багатого ільменітового зруденіння.

У зв'язку з гострим дефіцитом сировини для титанової промисловості, роботи з виявлення фосфатно-титанових руд у межах Корсунь-Новомиргородського плутону, були продовжені. Тут, під час геолого-зйомочних робіт на Межиричській, Волковській і Воронівській ділянках, був виявлений ряд рудопроявів ільменіту і апатиту в основних та ультраосновних породах, які просторово співпадають з гравітаційними і магнітними аномаліями. Геологічним завданням передбачалось: оцінка перспективних рудопроявів багатих фосфатно-титанових руд, визначення морфології рудних покладів, їх структурної позиції, виділення площ з прогнозними ресурсами категорії Р2 на Межирічському масиві основних порід.

При проведенні пошукових робіт за результатами гравіметричної зйомки на Волковській ділянці було виділено декілька локальних гравітаційних аномалій, які представляють потенційний інтерес:

) Носачівська аномалія, в західному борту якої виявлені багаті ільменітові руди, а свердловиною № 76 встановлено зруденіння і у східному борту аномалії;

) Калинівська аномалія, яка розташована в 2,5 км на північний схід від Носачівської аномалії, по ізолінії 1 мГл разом з Носачівською утворює єдине аномальне поле, а свердловиною № 73 у східному борту аномалії розкриті малопотужні зони багатих руд у габро-анортозитах;

) Волковський гравітаційний максимум (в 6 км на схід від Калинівської аномалії), де двома глибокими свердловинами в епіцентрі вскриті габро-норити з бідним вкрапленим зруденінням;

) Східно-Волковська аномалія розташована в 3,5 км на схід від Волковського максимуму, в зоні переходу широтного Носачівського масиву в субмеридіональний Смілянський масив;

) Південно-Цвітковська аномальна зона північно-західного простягання з трьома епіцентрами в 3,5 км на південний захід від Носачівської аномалії;

) Цвітковська аномалія 0,25 мГл знаходиться в 3 км на захід від Носачівської аномалії, у борті кільцевої кайнотипної структури центрального типу.

В результаті пошукових робіт 1985-1989 р.р. у полі Носачівської аномалії геологом Лукіних А.Д. був виявлений раніше невідомий рудопрояв багатих ільменітових руд. Встановлено зв'язок багатого ільменітового зруденіння з тектонікою II і III порядку. Визначені основні закономірності локалізації титанового і фосфатно-титанового зруденіння, головні пошукові ознаки та критерії пошуків багатих руд. Проведено оцінку прогнозних ресурсів категорії Р1 і Р2 Носачівського рудопрояву, дані рекомендації на проведення пошуково-оцінювальних робіт. Комплекс наземних геофізичних, геологічних і геохімічних досліджень дозволив розробити геологічну модель рудної формації, визначити критерії рудоносності продуктивних габро-анортозитових масивів, скласти прогнозні карти на багаті титанові руди.

Пошуково-оцінювальні роботи [5, 6] стали логічним продовженням планомірного вивчення Носачівського рудопрояву багатих титанових руд. Роботи проведені не в повному обсязі (60% від проектних робіт) і були припинені через відсутність асигнувань.

За даними випереджаючих наземних геофізичних робіт (проведення граві- і магніторозвідки масштабу 1:5 000), пошуково-оцінювального буріння та аналізу отриманих геологічних даних встановлено, що Носачівський рудопрояв просторово та генетично пов'язаний з крутопадаючою штокоподібною структурою норитового складу, розташованою в північно-східній частині масиву основних порід, який є перспективним для постановки наступних геологорозвідувальних робіт на комплексні апатит-ільменітові руди.

2.2 Геофізична вивченість

Площа району робіт досить детально вивчена різномасштабними геофізичними дослідженнями (рисунок 2.1).

Перші відомості про фізичні поля району були отримані за даними дрібномасштабної гравіметричної зйомки масштабу 1:200 000, магнітометричної зйомки масштабу 1:50 000 і матеріалів вертикального електрозондування по мережі 2х2км 5х1км (Горячко І.В., 1947 р.; Балабушевич І.А., 1955 р.; Шаган Л.П., 1956р.; Болобах К.А., 1958 р.; Харитонов В.Д. 1958 р.). [4]. Встановлено, що район робіт розташований у зоні зчленування двох регіональних гравітаційних аномалій: Кіровоградського мінімуму на південному сході та області підвищених значень сили тяжіння, обумовленої впливом основних порід Корсунь-Новомиргородського плутону.

За даними вертикального електрозондування вивчено рельєф кристалічного фундаменту. Недоліком цих робіт є факт їх виконання апаратурою низької точності і дрібномасштабність: магнітометричні зйомки характеризувалися точністю ±20-25 нТл, гравіметричні - ± 0,20 мГал.

З 60-х років у районі робіт розпочинаються середньомасштабні геофізичні зйомки (Сергій Г.В., 1963 р.; Шаган Л.Н., 1965 р., 1978 р.), які характеризуються більш високою точністю визначення аномальних значень полів Dga (±0,07-0,14 мГал) і Za (5-7 нТл).

Більш детальне вивчення досліджуваної площі проводилося ДГГЕ починаючи з 1980 р. Так, в 1980 році, вперше в практиці магнітометричних робіт по однотипній методиці, вивчено характер розподілу магнітного поля над великою територією - Кіровоградським тектонічним блоком, включаючи Корсунь-Новомиргородський плутон.

Аеромагнітну зйомку масштабу 1:10 000 магнітометрами ЯМП-3 і АСГ-71 виконувала аерогеофізична партія (Тесленко А.В., 1980 р.). У той же час, при виконанні цих робіт допущений істотний недолік - зйомка велася тільки на одній висоті (50-60 м), що знизило її інформативність.

На підставі профілю № 24 геолого-сейсмічного зондування і МОВЗ («Земля-вибух») Корсунь-Новомиргородський плутон виділений як самостійний блок земної кори (Трипільський А.А., 1977 р.). Отримано дані про наявність субгоризонтальних меж розділу земної кори та верхньої мантії.

Глибина до поверхні К2 становить 10-12 км, до поверхні Мохоровичича - 39-40,5 км, глибина поширення габроїдних утворень - близько 4-5 км.

В 1980-1984 роках при глибинному геологічному картуванні масштабу 1:200 000 (Воробей А.І. та ін., 1984 р. [6]), за результатами гравіметричної зйомки масштабу 1:50 000, виконаною Правобережною геофізичною партією, виділена Носачівсько-Волковська площа, як перспективна на титанове зруденіння. Носачівсько-Волковська площа перебуває в межах розвитку двох великих гравітаційних аномалій: Носачівської, що має північно-східне простягання, та Волковської ізометричної аномалії.

Продовженням і розвитком рекомендацій, які були отримані за результатами геологічних і геофізичних робіт, глибинного геологічного картування, явилися пошукові роботи на титан, виконані на Носачівсько-Волковській площі в 1985-1989 р.р. (Сикало Н.І. та ін., 1989 р. [6]).

У комплекс геофізичних методів входила площинна гравірозвідка по мережі 100 х 100 м, площинна електророзвідка в модифікації ВП-СГ по мережі 100 х 50 м і електророзвідка методом дрібномасштабного заряду установкою «свердловина-поверхня».

Крім площинних робіт, для винесення на місцевість і деталізації аномалій Dgа і DТа для оптимального розміщення структурно-пошукових свердловин, виконані профільні роботи методом гравірозвідки (крок 50 м) і магніторозвідки (крок 25 м).

Були складені карти комплексної інтерпретації геофізичних матеріалів масштабу 1:10 000 з урахуванням результатів обробки гравімагнітних даних по програмі «СКІД» з використанням ЕОМ ЄС-1022.

Пошуково-оцінювальні роботи, які проводилися з 1990 р., стали продовженням планомірного вивчення Носачівського рудопрояву багатих апатит-ільменітових руд. [4]. Весь комплекс наземних геофізичних досліджень був спрямований на вирішення таких геологічних завдань, як уточнення просторових меж рудопрояву, визначення морфології рудних тіл, а також встановлення рудоконтролюючих факторів локалізації багатих апатит-ільменітових руд.

Геофізичні дослідження виконувалися Правобережною геофізичною партією і включали площинну гравіметричну і магнітометричну зйомки масштабу 1:5000 та електророзвідку методом заряду в модифікації “свердловина-поверхня” масштабу 1:5 000 (Вернидуб А.Ю. та ін., 1996 р. [5]).

Рис.2.1 Схема геофізичної вивченості

2.3 Гідрогеологічна вивченість

Носачівська ділянка розміщена на схилі вододілу у верхів’ї р. Серебрянки, яка є маловодною і в літній період пересихає, але в період випадання активних атмосферних осадків відновлюється і доволі помітно поповнює водоносний горизонт в середньочетвертинних водольодовикових і озерних відкладах прохідних долин (f,lgPII), представлений як пласт-полоса. [10].

Водяні потоки по балкам ізольовані від першого водоносного горизонту товщою глин і суглинків. В межах Дніпробасу полтавські, харківські і київські піски характеризуються низькими фільтраційними параметрами. Це підтверджується досвідом гідрогеологічних вивчень на родовищах, а також осушувальними роботами на підготовчих етапах розробки площ. Цей горизонт безнапірний в зв’язку з великим розповсюдженням в плані, граничні умови характерні як для безграничної полоси.

Водоносний комплекс бучацьких відкладів (Р2bč) має в плані практично повсюдне розповсюдження і приймається до розрахунку, як напірний безграничний пласт.

Водоносний комплекс у відкладах крейди (К1sm) має в плані смугоподібну форму, яка орієнтована на північний схід. Горизонт напірний.

Водоносний горизонт (PR) тріщинуватої зони кристалічних порід і продуктів їх вивітрювання має повсюдне розповсюдження і пов’язаний з розломами і тріщинуватістю. Горизонт напірний.

Гідрогеологічні умови родовища в розрізі осадочної товщі характеризуються, як багатошарова товща з роздільними слабопроникливими прошарками, яка лежить на кристалічному (PR) фундаменті. [3, 5, 10].

Таким чином в межах Носачівського родовища виділяються наступні водоносні горизонти, які будуть мати основний вплив при розробці родовища:

- водоносний горизонт в середньочетвертинних водольодовикових і озерних відкладах прохідних долин (f,lgPII);

водоносний комплекс полтавських і харківських відкладів (P3-N1pl, Р2-3hr);

водоносний комплекс бучацьких відкладів (Р2bč);

водоносний комплекс у відкладах крейди (К1sm);

водоносний горизонт тріщинуватої зони кристалічних порід і продуктів їх вивітрювання (РR).

3. ГЕОЛОГІЧНА БУДОВА РОДОВИЩА

.1 Загальні риси геологічної будови району робіт

В структурному відношенні Носачівське родовище розташовано в межах Носачівського масиву основних порід, який є складовою частиною Смілянського габро-анортозитового масиву, що входить до складу Корсунь-Новомиргородського плутону - складного магматогенного спорудження протоплатформного етапу геологічного розвитку Українського щита. [1].

Корсунь-Новомиргородський плутон розташований серед палеопротерозойських гнейсів і сланців інгуло-інгулецької серії, гранітів і мігматитів кіровоградського комплексу. Площа плутону близько 6 000 км2, в тому числі площа анортозитових масивів складає більше 1 200 км2. Анортозити залягають серед гранітів рапаківі корсунь-новомиргородського комплексу і тільки на окремих ділянках, контактують з вміщуючими кристалічними породами. [9].

Плутон утворює склепінне-брилове підняття в осьовій частині Кіровоградського блоку. Контакти порід плутону з вміщуючими кристалічними породами „рами” тектонічні [4. 7]. В результаті глибинного геологічного картування на північно-західній окраїні плутону встановлені активні інтрузивні контакти гранітів рапаківі з інтенсивним ороговикуванням і скарнуванням вміщуючих порід, А.І., [6]. Ці контакти ускладнені скидами з утворенням еруптивних брекчій, впровадженням пегматитів та інтенсивним гідротермальним зміненням порід.

Глибинним сейсмічним зондуванням встановлена значна потужність плутону, що змінюється від 2-3 км у центральній частині до 5-6 км на периферії [4]. Як і в Коростенському плутоні, анортозити залягають серед гранітів рапаківі у вигляді субгоризонтальних пластиноподібних тіл, що переходять у крутопадаючі штокоподібні тіла, які розглядаються як підвідні канали основної магми.

Територія характеризується складною внутрішньою будовою, що пояснюється багатоетапністю і різноманітністю геологічних процесів, які мали місце в ході тривалого історичного розвитку земної кори.

Верхній структурний поверх („осадочний чохол”) представлений субгоризонтально залягаючими, стратифікованими, неметаморфізованими мезо-кайнозойськими утвореннями, які мають повсюдне поширення. [14].

Нижній структурний поверх, на рівні мезо-кайнозойського ерозійного зрізу, представлений глибоко метаморфізованими архей-нижньопротерозойськими утвореннями, інтрузивними породами корсунь-новомиргородського комплексу і в структурно-тектонічному плані, характеризується складчато-блоковою будовою.

Серед розломів субмеридіонального простягання впевнено виділяється Канівсько-Новомиргородський („осьовий”) глибинний розлом, приурочений до осьової частини склепінне-брилового Новоукраїнського підняття, пов'язаного з впровадженням Корсунь-Новомиргородського плутону. При перетинанні зонами глибинних розломів широтного простягання осьовий розлом зазнає декілька зсувів в східному напрямку. Найбільш чітко розлом виділяється морфоструктурним аналізом та при дешифруванні аеро- і космознімків дрібного масштабу. Все це свідчить про активізацію розлому аж до неоген-четвертинного часу. Розлом пов'язаний винятково з платформенним етапом розвитку території.

Для району в цілому характерний розвиток розломів субширотного напрямку, які притерпіли активізацію в пізньому протерозої. Ця група розломів визначає просторове положення блоків II-го й більш високих порядків. Глибинні розломи, головним чином, представлені зсувами, іноді розсувами, визначають фрагментарно-східчасту будову субмеридіональних розломів. [2].

Діагональна система розломів в геологічній будові району грає не менш важливу роль, ніж ортогональна. Розломи діагональної системи чітко простежуються у вигляді окремих фрагментів як у межах плутону, так і в рамі. Закладення діагональної системи розломів і наступні активізації пов'язані, насамперед, з розвитком найбільшої структури платформного етапу - Дніпровсько-Донецької западини. Найбільш проявлені розломи північно-західного простягання паралельні осьовій частині ДДЗ, для яких характерні, в основному, вертикальні рухи (структури типу підкидів, скидів).

Розломи діагональної системи утворюють каркасну структуру, в межах якої формувалися масиви Корсунь-Новомиргородсього плутону. Так, з розломами північно-західного напрямку пов'язане становлення меланократових диференціатів габро-анортозитового субкомплексу, що чітко проявлено в простяганні тіл меланократових габроїдів Руськополянського, Смілянського, Городищенського масивів, а з розломами північно-східного напрямку - Носачівського масиву основних порід.

Носачівський масив основних порід є складовою частиною Смілянського анортозитового масиву, площа якого 350 км2, і розташований в центральній частині Корсунь-Новомиргородського плутону (граф. дод. 1, 2). [14].

Він являє собою витягнуте в субширотному напрямку тіло площею близько 110км2. Нижня межа основних порід, за даними глибинного сейсмічного зондування, фіксується на глибині близько 4 км.

Крім Носачівського, в складі Корсунь-Новомиргородського плутону виділяються Новомиргородський, Городищенський, Руськополянський, Межиричський анортозитові масиви, а також Корсунь-Шевченківський (північний) і Шполянський (південний), масиви гранітів рапаківі [6].

Південний екзоконтакт масиву характеризується високо диференційованим знакозмінним магнітним полем полюсового концентрично-зонального малюнка. Такий характер поля спостерігається від південно-східного закінчення Городищенського масиву до Тернівського масиву. [7].

Характер гравімагнітного поля свідчить про неглибоке залягання основних порід над гранітоїдами Корсунь-Новомиргородського комплексу на південь від Носачівського масиву і дозволяє припустити значне збільшення розмірів Носачівського масиву з глибиною.

На підставі аналізу геолого-геофізичної інформації можна зробити висновок, що Носачівський масив формувався в тектонічно найбільш активній частині плутону - у вузлі перетинання субширотної глибинної Тарасівської зони розломів з осьовою субмеридіональною Канівсько-Новомиргородською зоною. Ця ділянка земної кори характеризується високою тектонічною активністю протягом тривалого часу, аж до мезокайнозою.

Вміщуючі смілянські анортозити залягають серед гранітів рапаківі у вигляді субгоризонтальних пластоподібних тіл, що переходять у крутопадаючі штокоподібні тіла, які розглядаються в якості підвідних каналів основної магми, котрі контролювали формування Носачівського масиву габро-анортозитів. Граніти також утворюють плитоподібні масиви з глибокопоринаючими кореневими частинами [4]. Носачівський масив розташовано у центрі плутону в рамі гранітів рапаківі. На контакті масиву - кварцові монцоніти, монцоніти, габро-монцоніти, монцо-габро-норити. До складу порід Носачівського масиву відносяться анортозити, габро-анортозити, норити, монцоніти, норит-монцоніти, монцо-норити.

Анортозити (JPR1kn) переважаючі породи масиву, що складають близько 60% його площі. Породи світло-сірі, грубозернисті, масивні.

Габро-анортозити (nJРR1kn) мають підлеглий розвиток (15-20%), складаючи великі лінзи і пластоподібні тіла в центральній частині та переривчастий пояс на периферії масиву. Породи грубозернисті масивні, вміст темноколірних мінералів до 20-25%.

Норити, олівінові норити (n1PR1kn) займають близько 25% площі масиву. Основна частина габроїдів розташована на периферії масиву, де вони утворюють подовжені шароподібні тіла потужністю від сотень метрів до 1,5 км. Великі лінзо- і штокоподібні тіла габроїдів встановлені й у внутрішніх зонах розломів, де вони залягають серед калішпатизованих габро-анортозитів і кварцових андезинітів (JPR1kn).

Монцоніти (xPR1kn), норит-монцоніти (nxPR1kn), монцо-норити (n1xPR1kn) мають розвиток безпосередньо на контакті анортозитового масиву з гранітами, а також в обрамленні тіл габроїдів у внутрішніх зонах розломів. Потужність порід монцонітового ряду коливається від перших метрів до сотень метрів. Породи темного або рожево-сірого кольору з характерною тонкозернистою монцонітовою структурою. [4].

Унікальність структурної позиції Носачівського масиву в цілому, і Носачівського родовища зокрема, в структурі плутону полягає в наступному:

зсув (перегин) границі «Мохо» з амплітудою 5-6 км;

глибинний розсувний характер Тарасівської зони розломів;

формування масиву в умовах розтягання - сприятливих для міграції рудоносних флюїдів;

знаходження Носачівського родовища в надрозломній зоні у висячому, найбільш роздробленому, крилі скиду на деякій відстані від площини головного розриву;

приуроченість родовища до зовнішнього концентру низькопорядкової морфоструктури з діаметром близько 20 км.

Розповсюдження основних порід Носачівського масиву в металогенічному плані контролює контури Волковсько-Носачівського апатит-ільменітового рудного поля, складовою частиною якого, крім Носачівського родовища, є Південо-Цвітковський, Цвітковський, Калинівський та Волковський рудопрояви (граф. Дод. 1. 2).

Волковський рудопрояв. Площа розвитку продуктивної товщі складає 0,8км2, зруденіння магматогенного Волинського типу габро-норитової рудоносної формацій в габро-анортозитах, морфологія рудних тіл - штокоподібна. Середньозважений вміст ТіО2 складає 4,32% (в окремих інтервалах досягає 7,5%), Р2О5 - 0,38%. Потужність продуктивної товщі - 470 м, коефіцієнт рудоносності - 0,4, питома продуктивність - 12,1 млн. т/км2.

Підрахунок прогнозних ресурсів категорії Р2 виконаний до глибини 500м. Прогнозні ресурси ТіО2 оцінені в 9,7 млн. т, Р2О5 - 0,86 млн. т.

Калинівська ділянка. На площі ділянки розвинуті породи крайового монцо-норитового комплексу у вигляді протяжної субширотної смуги. Середній вміст ТіО2 у бідних рудах коливається від 3,0% до 7,0% і, в середньому, становить 5,0%; у більш багатих рудах - 6,0-7,8% (max - 13,05%). Вміст Р2О5: min - 0,05%; max - 3,28%.

Цвітковська ділянка. На площі ділянки два дайкоподібних тіла габро-норитів, які витяглися в субширотному напрямі серед інтенсивно катаклазованих і калішпатизованих анортозитів та габро-анортозитів. Руди бідні: середній вміст ТіО2 складає 5,8%; Р2О5 - 1,2% (max - 1,26%).

Південно-Цвітковська ділянка. Тіло габроїдів витягнуто в субширотному напрямку та має потужність до декількох десятків метрів з прослідженою довжиною по простяганню біля 300м. Рудні габро-норити утворюють невитримані за потужністю та простяганням тіла з переважаючим бідним вкрапленим апатит-ільменітовим зруденінням з середнім вмістом ТіО2 - 5,5% (max - 30.22%) і Р2О5 - 0,6% (max - 2.41%).

При порівнянні речовинного складу корінних руд Волківсько-Носачівського рудного поля (та Корсунь-Новомиргородського плутону взагалі) з рудами Коростенського плутону відмічається характерна якісна риса в розподілі двооксиду титану за мінеральними формами. Так, наприклад, на Федорівському родовищі апатит-ільменітових руд з ільменітом пов’язано 78,8-82,6% двооксиду титану, з титаномагнетитом - 8,2%, з піроксеном і плагіоклазом - 8,1% [7]. На Носачівському ж родовищі з ільменітом пов’язано 98% ТіО2 і лише 2% з піроксеном та плагіоклазом. Титаномагнетит і магнетит присутні в знаковій кількості, максимальний вміст до 0,3%.

3.2 Геологічна будова і склад Носачівської інтрузії рудних норитів

Носачівська інтрузія рудних норитів розташована в північно-східній частині Носачівського габро-анортозитового масиву, у вузлі зчленування зон розломів двох напрямків - субширотної Тарасівської з субмеридіональною Канівсько-Новомиргородською. Вузол зчленування цих великих тектонічних структур ускладнено двома кільцевими і серією субмеридіональних лінійних тектонічних порушень. [4].

В цілому, складаючі інтрузію породи основного складу представлені норитами та їх олівінвмісними різновидами. Вміщуючі породи представлені габро-анортозитами і анортозитами, що обрамляють інтрузію в плані, а також у вигляді ксенолітів закартованих серед норитів. Такі ксеноліти - це невеликі, за рідким винятком, тіла лінійно-витягнутої, лінзоподібної форми. [9, 14].

У трансформованому гравітаційному полі площа розвитку норитів визначається великим Носачівським гравітаційним максимумом з двома епіцентрами. Габро-анортозити виражені зонами понижених значень позитивного гравітаційного поля. Основна площа розвитку анортозитів відповідає негативним значенням гравітаційного поля.

Тривалість та багатоетапність формування Носачівської інтрузії обумовили велику різноманітність їх видів, присутність представників майже всіх груп - від ультраосновних до сублужних, лужних і кислих. [7].

Якщо нижня межа основних порід Носачівського масиву, за даними глибинного сейсмічного зондування, фіксується на глибині близько 4 км, то за результатами геофізичного моделювання розповсюдження рудних норитів Носачівської інтрузії прогнозується до глибини 1600 м. Крім того, за результатами комплексної інтерпретації геолого-геофізичних даних виділено два основних підвідних канали впровадження габроїдів. Перший, найбільший за розмірами, розташований у центрі максимально розширеної північно-східної частини інтрузії. Другий (на порядок менший по площі) - у південно-східній частині інтрузії, безпосередньо в центрі вузла перетину субширотної Тарасівської і субмеридіональної Канівсько-Новомиргородської зон розломів.

Після аналізу накопиченої геолого-геофізичної, геохімічної, петрохімичної та іншої інформації автори прийшли до висновку, що, за умовами формування, досліджуваний об’єкт - це або аномально розшарована інтрузія, або впровадження норитів, яке відбувалося не менше, ніж в два етапи (фази). За робочу гіпотезу був прийнятий останній варіант, як найбільш наближений до реальності.

Утворення Носачівської інтрузії, швидше за все, відбувалося в завершальну стадію тектоно-магматичної активізації двофазним впровадженням норитів у тектонічно ослаблені ділянки, сформувані субширотною Тарасівською зоною розломів. В першу чергу, впроваджувались олівіновінвмисні апатит-ільменітові і ільменітвмисні норити, які складають основну частину інтрузії. В другу фазу впроваджувались ільменітові норити, в яких вміст олівіну і апатиту на рівні акцесорієв, на відміну від норитів першої фази, де вони являються петрогенними. Отже, інтрузія складена норитами першої та другої фаз впровадження.

Попередніми дослідниками [6] усі різновиди були детально охарактеризовані як з петрографічного, так і петрохімічного боків. Нижче приводиться характеристика найбільш розповсюджених порід Носачівського родовища - це рудовміщуючі анортозити, габро-анортозити і рудні норити. За підвищеними вмістами кремнезему і лугів, в анортозитовій асоціації виділяються нормальні анортозити і габро-анортозити та іх змінені різновиди. В рудному комплексі відокремлюються монцо-норити і норити відносно апатит-ільменітових і ільменітових норитів, які відрізняються один від одного за петрохімічними властивостями та відсотковим вмістом рудних компонентів.

Комплекс вміщуючих порід - це анортозити, габро-анортозити (умовна робоча назва „вміщуючі 2”) та метасоматично змінені їх аналоги (вміщуючі 1), а також присутні в підлеглій кількості олівінвміщуючі габро-анортозити і андезиніти.

При польовому опису керну і петрографічному вивченні шліфів автори керувалися прийнятою класифікацією плутонічних гірських порід, відбображеної в петрографічному кодексі [4, 7]. На підставі цього, піроксен-плагіоклазові породи основного ряду, що містять 0-10% піроксену, називалися анортозитами, а 10%-35% - відповідно, габро-анортозитами.

Попередніми дослідниками була відзначена тісна парагенетична асоціація цих різновидів, поступові взаємопереходи, подібні структури, мінералогічний склад і петрологічні особливості формування. На підставі цього пропонується загальна характеристика текстурно-структурних особливостей і мінералогічного складу анортозитів і габро-анортозитів.

Макроскопічно породи вміщуючого комплексу, у більшості випадків, це крупно-середньозернисті масивні породи. Загальний розмір зерен порід коливається від 2,2 до 9,6 мм. Зустрічаються порфіробластові різновиди з великими, до гігантських розмірів ( 30 мм), виділеннями таблитчастого чи короткопризматичного плагіоклазу і вкрай неравномірнозернистою (від 0,9 до 20 мм) основною масою з елементами трахітоїдності. Відзначені малопотужні (до 1,0 м) мономінеральні породи лінзоподібної чи жилоподібної форми, що складені майже на 100% з напівпрозорого, з жовтуватим відтінком, крупно-середньозернистим (4,5-15 мм) плагіоклазом олігоклаз-андезинового ряду.

Породи вміщуючого комплексу, звичайно, складені на 69-99% плагіоклазом. Інші мінерали містяться в наступних кількостях: 7-22% піроксену, до 10% ільменіту, 5-7% олівіну, до 8% калішпату, до 6% кварцу. У підлеглих кількостях присутні апатит, графіт, сфен, сульфіди, відмічаються одиничні знахідки шпінелі та циркону. Вторинними мінералами є кварц, серпентин-хлоритові агрегати і скупчення, серицит, кальцит, сидерит, епідот, глинисті мінерали, гідроокисли заліза та марганцю, біотит, тальк, рідко - амфібол, халцедон.

Породи комплексу мають світло-сірий, з різними відтінками зеленого, кольору. У слабо змінених різновидах грубозернистих анортозитів порфіробласти іризують у сіро-синіх тонах. У зонах інтенсивної гранітизації - набувають плямистого забарвлення за рахунок виділень калінатрового польового шпату цегляно-червоного кольору, розкислених освітлених плагіоклазів і сірого кварцу. А також часто нерівномірно забарвлені через різний характер і ступінь вторинних змінень: хлоритизації, серицитизації, карбонатизації, прокварцювання, сосюритизації. У міжзерновому просторі скрізь відзначаються вічкоподібні виділення кварцу в карбонат-хлоритовій облямівці.

Темноколірні мінерали - піроксен і олівін - звичайно ксеноморфні. В олівінвмісних різновидах ромбічний піроксен утворює вінцеві структури навколо більш ідіоморфного олівіну.

Рудні мінерали представлені ільменітом, піротином, піритом, рідше халькопіритом. По породі розподілені нерівномірно у вигляді одиничних зерен, скупчень і прожилків.

На контактах з рудними норитами анортозити - габро-анортозити інтенсивно тріщинуваті. Відзначаються характерні тріщини двох типів: ранні - субгоризонтальні, виповнені кварц-польовошпатовим матеріалом та пізні - з сидеритом, кальцитом, хлоритом, гідроокислами марганцю. Вони часто містять тонкі прошарки рудних норитів (до 0,5 м) та прожилки мономінерального ільменіту (потужністю до 4-6 мм). Метасоматичні контактові зміни представлені біотитизацією, сульфідизацією та присутністю скупчень тонкопластинчастого графіту.

У переважній більшості мікроскопічно породи характеризуються гіпідіобластовою і офітовою структурами. Гіпідіобластовий різновид утворює, за ступенем зменшення ідіоморфізму, середньо-грубозернистий плагіоклаз, дрібнозернистий плагіоклаз і темноколірний мінерал, ксеноморфні калінатровий польовий шпат і кварц. При відсутності гранітної складової відносини плагіоклазу і темноколірного мінералу офітові, тобто піроксен виповнює простір між табличками або призмами плагіоклазу. Грубозернисті індивіди плагіоклазу і піроксену часто містять дрібні пойкілітові включення рудного мінералу, плагіоклазу, циркону, піроксену, голчастого апатиту. Кристали мають сітку мікротріщин, що складені кальцитом, сидеритом, серицитом, хлоритом [4, 7]. Ці ж мінерали в міжзерновому просторі часто утворюють друзоїдну структуру, виповнюючи первинні порожнини вилуговування.

Мономінеральні андезиніти мають алотриоморфну структуру. Габро-анортозити в зоні контакту з рудними норитами - кріптові (тобто проміжки між відносно великими нещільно дотичними один з одним табличками плагіоклазу виповнені тонко- дрібнозернистими рудними норитами.

Плагіоклаз є головним породоутворюючим мінералом порід габро-анортозитової асоціації. Його склад і оптичні властивості визначалися, в основному, на п’ятивісному Федіровському столику з використанням, в окремих випадках, чотиривісного. Ступінь впорядкування кристалічної решітки аналізувався за допомогою діаграм для кислих і середніх плагіоклазів.

Звичайно форми кристалів таблитчасті і короткопризматичні, рідко лейстові. Розмір тонко-дрібнозернистих - 0,1-1,0 мм, середньо-грубозернистих - не перевищує 20 мм, гігантозернистих - 30-40 мм та більше.

Плагіоклази мають дуже мінливий склад: від середнього олігоклазу до кислого лабрадору (Ng = 1.547-1.565, Nm = 1.544-1.560, Np = 1.540-1.557, Ng-Np = 0.005-0.009, 2V = +73-(+88), № 23-№ 55). Найбільш часто зустрічаємий плагіоклаз - андезинового складу, значна кількість олігоклазу і одиничні визначення лабрадору. У породах порфіробластової структури великі кристали плагіоклазів більш кислі і відрізняються від основної, середньо-дрібнозернистої маси, на 8-12 номерів.

Більшість зерен здвійніковані за альбітовим законом, іноді за периклиновим. Часто зустрічаються «висячі» двійники, що утворюють фрагменти решіток. Ступінь упорядкування кристалічної решітки олігоклазів і андезинів середня (до 0,5-0,7), у кислого лабрадору - найбільша (від 0,7-1,0).

Плагіоклази помітно катаклазовані, часто пластично деформовані, ушкоджені метасоматичними перетвореннями. На ділянках інтенсивної гранітизації краї зерен резорбіровані, оточені мірмекітовими облямівками чи облямівками більш кислого плагіоклазу олігоклазового складу. Відзначаються антипертитові вростки, навколо яких утворюються зони розкислення, що надають згасанню мозаїчно-плямистий або хмароподібний характер. Нерідко зустрічаються зональні плагіоклази з помітною різницею в складі центральних і периферійних зон. Спостерігається і зворотна зональність у плагіоклазах, що містять у центрі кристалу антипертитові вростки калієвого польового шпату.

Піроксен - головний темноколірний мінерал в анортозит - габро-анортозитовому комплексі. Розмір зерен у гіганто-крупнозернистих різновидах від 5,5 до 15мм і більше, у середньозернистих - 2,2-4,6 мм. Присутні моноклінні і ромбічні піроксени. Раніше відзначено, що найбільш характерні для крупно-гігантозернистих анортозитів і габро-анортозитів високозалізисті (F=52.8-53.7%) і субкальциєві авгіти, а для світло-сірих середньозернистих анортозитів - магнезіальні (F=39%). [2].

За одиничними вимірами оптичних констант (кут с:Ng = 0º-6º, Ng-Np = 0.009-0.013, кут 2V = -60 по двох виходах ОО) на ділянці деталізації Носачівського родовища піроксен визначений, як ромбічний з вмістом фаялітової молекули до 72%, що відповідає бронзиту (Mg до 28% по Трегеру [48]). Кристали піроксену у свіжому стані часто ускладнені мікроволокнистою або мікропегматоїдною графічною структурами. Волокна і пластинки проростаючого мінералу представлені або авгітом, або більш залізистим ромбічним піроксеном (кольори інтерференції не перевищують оранжево-червоні 1-го порядку, кут с:Ng  0º-8º). У прохідному світлі кристали безбарвні, не плеохроюють. По тріщинах спайності і роздільності фрагментами, іноді заповнюючи весь кристал, спостерігаються серії тонких пластинок темно-фіолетового кольору, що нагадують ільменітову слюдку (можливо мінерал марганцевої групи. Заміщають піроксен карбонати, хлорит, біотит, залізисті окисли, рідко ураліт або залізистий амфібол, у контактових зонах - бурий непрозорий агрегат вторинних мінералів.

Спектральним аналізом у піроксенах габро-анортозитів Корсунь-Новомиргородського плутону виявлені мідь, свинець, кобальт, нікель, хром, ванадій, скандій. Відзначене дуже низьке співвідношення Ni/Co = 0.1-0.5.

Ільменіт. В анортозитах і габро-анортозитах вміст його не перевищує 1-3%, у контактових ділянках з рудними норитами вміст ільменіту зростає до 7-10%. Характерні великі розміри і ксеноморфні обриси. Звичайно утворює скупчення, що складаються з дрібних полігональних кристалів, нерідко зустрічаються сидеронітові фрагменти, мікропрожилки. Крім того у вигляді пойкілітових включень входить у плагіоклази і піроксени. [1].

У відбитому світлі - сірий. Внутрішні рефлекси рожево-коричневі. Анізотропний. Містить дрібні округлі чи кулясті вростки піротину, рідше піриту. Рідко тріщинуватий. По тріщинках спостерігаються хлорит і карбонати. Рідкі вторинні мінерали по ільменіту представлені лейкоксеном, який звичайно утворює характерні петельчасті структури. Інтенсивніше лейкоксенізується мікрокристалічний та ільменіт гранітизованих ділянок (до 80-100% від площі поверхні зерна).

Дрібно-середньозернистий заміщується не більше ніж на 5-15%. В обрамленні рудних покладів ксеноморфний грубозернистий ільменіт заміщується скупченнями буро-коричневого тонкокристалічного клиноподібного сфену.

Мікротвердість ільменіту складає 498-612 кг/мм2. Діфрактограми істотно не відрізняються від стандартних. Хімічний склад ільменітів характеризується низьким вмістом Mg.

Олівін - розповсюджений темноколірний мінерал серед порід комплексу. Часто розпізнається тільки за характерними тріщинами, виповненими агрегатами хлорит-серпентинового складу і окислами заліза. Звичайно, майже цілком заміщене, округле зерно олівіну оточене келіфітовою облямівкою ромбічного піроксену.

Незмінені ділянки мінералу безбарвні, мають пряме згасання, великий негативний кут оптичних осей (2V ≈ -67, по Трегеру Fa близько 70%) і приблизно відповідає гортоноліт-ферогортоноліту. У складі мінералу провідна роль належить фаялітовій (до 70%) і форстеритовій (до 30%) молекулам. За даними В.С. Тарасенко у вигляді незначної, але дуже характерної для олівінів залізистого ряду домішки, присутня тефроїтова (Mn2Si04) і монтичелітова (Ca2Si04) молекули.

Апатит присутній у всіх різновидах габро-анортозитового комплексу. Вміст його в породах нерівномірний. Утворює різнозернисті ксеноморфні, округлі, короткопризматичні кристали в інтерстиціях плагіоклазів. Часто катаклазований, вкритий сіткою мікротріщин. Нерідко відзначаються скелетні форми. На окремих ділянках утворює скупчення у вигляді гнізд та лінз (у поперечнику до 10 мм) з вмістом у породі до 5-7%.

Мінерал, звичайно, безбарвний. Оптичні константи відповідають стандартним значенням для апатиту магматичних порід: No = 1.635-1.638, Ne =1.632-1.634, No-Ne = 0.002-0.005. Хімічний склад близький до теоретичного. Головні лінії на діфрактограмах свідчать про належність вивчених зразків до фтор-апатиту, що більш характерно для кислих і лужних магматичних порід (для порід основного ряду характерний хлор-апатит).

У змінених породах тонко-дрібнозернистий довгопризматичний апатит утворює мікропрожилки або рівномірну вкрапленість.

Калінатровий польовий шпат і кварц присутні, практично, у всіх різновидах порід анортозит - габро-анортозитового комплексу. Утворюють дрібні ксеноморфні виділення в інтерстиціях плагіоклазу, антипертитові та пегматоїдні проростання (рис. 2.18). Вміст їх складає від часток до декількох відсотків. На контактах тіл і в зонах тектонічних порушень породи часто інтенсивно калішпатизовані і прокварцьовані, з утворенням крупно-середньозернистих пегматоїдних і бластопегматоїдних структур. Вміст калінатрового польового шпату і кварцу на цих ділянках досягає від 35-60% до 100%.

Калішпат, звичайно, має мезо- і мікропертитову будову. Лужні польові шпати представлені переважним пертитовим ортоклазом і проміжним пертитовим мікрокліном.

Кварц ксеноморфний, на ділянках прокварцювання складається з декількох крупно-середньозернистих індивідів або закономірно проростає польові шпати в зонах гранітизації, формуючи мікропегматитові та мірмекітові структури. У зонах низькотемпературних перетворень асоціюється з карбонатами, хлоритом, серицитом та ін. Утворює дрібні шестигранники в міжзерновому просторі або виповнює центральні зони друзоїдних ділянок.

Амфіболи обмежено розповсюджені у породах рудовміщуючого комплексу. Зустрічаються як вторинний мінерал, що заміщає піроксен. Представлені волокнистим ромбічним різновидом (с ║ Ng, Ng-Np = 0,052). Характеризуються високою залізистистю (F = 60-80%).

Біотит в анортозит - габро-анортозитах має незначне поширення. Вміст коливається від часток відсотків у незмінених породах, де найчастіше він утворює келіфітові облямівки по піроксену, до декількох відсотків у біотитизованих прошарках зон перешарування габроїдів. Рідко містить циркон і мікровключення радіоактивного мінералу. На біотитизованих ділянках колір від темно-червоно-коричневого і темно-коричневого за Ng, до ясно-жовтого за Np. У келіфітових облямівках плеохроїчні кольори менш насичені: світло-жовто-коричневий за Ng і безбарвний за Np. Підданий хлоритизації, серицитизації. У зонах тектонічних порушень лусочки деформуються, утворюються двійникові структури. [1].

Графіт зустрічається у вигляді гнізд (0,6-0,7 см), лінзоподібних включень, прожилків і скупчень (3-5 мм) в анортозитах - габро-анортозитах на контакті з норитами і рудними норитами. Іноді - у вигляді примазок по тріщинах з сульфідами і карбонатами. Скупчення графіту на окремих ділянках рудних зон досягає 80% від складу породи. Потужність таких ділянок від 0,3 м до 0,5 м. Мікроскопічно скупчення графіту дендритоподібні, тонковолокнисті, тонколусковаті найчастіше в інтерстиціях разом з агрегатами вторинних мінералів, іноді нерівномірно вкраплений в плагіоклаз.

Петрографічні дослідження, проведені [6] для порід Корсунь-Новомиргородського плутону, свідчать, що графіт кристалізувався багатостадійно - на магматичному і постмагматичному етапах. Виділено три морфологічні різновиди графіту:

лускатий пінакоїдальний;

пінакоїдально-гостродіпірамідально-призматичний і призматично-пірамідальний;

призматично-тупопірамідальний.

Часто на графіт першого різновиду наростают кристали другого різновиду.

Рентгеноструктурним методом визначена двійникова будова призматично-тупопірамідальних різновидів, прояв на них поліцентричного росту і утворення кулястих агрегатів. Це свідчить про швидку кристалізацію графіту з пересиченого вуглецем середовища. Розмір кристалів графіту 0,2-0,5 мм, рідко досягає 1мм у площині (0001). Кристали другого різновиду часто асоціюють з піритом. Ізотопні дослідження виявили дуже великий діапазон варіацій δ13С графіту з загальною тенденцією полегшення ізотопного складу від -9,5 ÷ -14,7‰ на ранніх, до -19,5 ÷ -28,3‰ на пізніх стадіях кристалізації.

Рудний норитовий комплекс представлений дрібно-середньозернистими лейко-, мезо- і меланократовими порфіроподібними норитами, а також калішпатизованими, олівінвмістними та олівіновими різновидами. У підлеглій кількості присутні середньо-крупнозернисті ортопіроксеніти, трахітоїдні норити, олівінвмісні норити, мікрозернисті апатит-олівінвмісні монцоніти.Відповідно до прийнятої класифікації основні породи, що містять 30-60% ортопіроксену, називалися норитами. В залежності від вмісту ільменіту поділялися на рудні (15% і більш ільменіту), слаборудні (від 8-15%), ільменітвмісні (3,5-8%) і безрудні (< 3,5%).

Мінеральний склад, характерний для даного сімейства, представлений: плагіоклазом (до 65%), ромбічним піроксеном (від 35 до 95%), моноклінним піроксеном (до 5%), олівіном (від 3% до 45%), ільменітом (до 84%), апатитом (до 10%), біотитом (до 10%), калінатровим польовим шпатом (до 40%), кварцом (до 15%). Акцесорні - пірит, халькопірит, циркон, рутил; вторинні - карбонати, низькотемпературний кварц, хлорит-серпентин, серицит, біотит, мінерали епідотової групи, амфібол.

Рудний норитовий комплекс по генетичним умовам поділяється на норити першої і другої фаз впровадження.

Норити першої фази. За структурно-текстурними особливостями і речовинному складу породи першої фази впровадження - це дрібно-середньозернисті істотно олівінові і олівінвмісні мезо- і лейкократові норити і апатит-ільменітові норити масивної, рідко трахітоїдної текстури з вмістом апатиту більше 2,5%. Вони містять 60-70% плагіоклазу і 15-35% піроксену, що наближає їх до габро-анортозитів. Порфіроподібні, нерівномірнозернисті. Розмір зерен від 0,2 мм до 9,2 мм, у середньому - 3,5-5,0 мм. Колір сірий, світло-сірий з різними відтінками зеленого у залежності від характеру і ступеню вторинних змінень. Окремі порфіробласти плагіоклазів іризують у сіро-синіх тонах.

Контакти з габро-анортозитами і анортозитами різноманітні: від тектонічних чітких до хвилястих і поступових. На контактах посилюються калішпатизація, прокварцювання і тріщинуватість. По тріщинах примазки гідроокислів марганцю, сульфідів, хлориту, посилюються калішпатизація і прокварцювання. Потужність міняється від перших метрів до перших десятків метрів.

Найчастіше - це слаборудні (6-10% ільмениту) породи незначно (до 3%) біотитизовані. Часто збагачені апатитом (до 7% ). Від вміщуючого комплексу відрізняються хімічним складом, характером виділення породоутворюючих мінералів, тобто структурно-текстурними особливостями. Порфіроподібні норити мають мілко-середньозернисту габро-офітову структуру основної маси з елементами трахітоїдності. Порфіробласти як плагіоклазові, так і піроксенові. Пойкілобластові ділянки утворює середньозернистий піроксен, що містить включення ільменіту і апатиту.

Піроксен більш дрібнозернистий, має гіпідіоморфні обриси, на відміну від ксеноморфного в габро-анортозитах, містить діалагові облямівки. Ромбічний піроксен утворює одиничні кристали або зростки дрібно-середньозернистих агре-гатів. Представлений істотно переважним гіперстеном - ферогіперстеном - еулітом (-2V = 60-82º) і моноклінним авгітом (2V = 48-53º), що утворює тісні зрощення стілуотерского типу. Тріщинуватий, по тріщинах - дрібні лусочки біотиту, окисли заліза, хлорити, карбонати. [1, 2].

Плагіоклаз більш лейстоподібний, короткопризматичний, на збагачених ільменітом ділянках - ксеноморфний. Розміри вкраплеників плагіоклазу, що формують порфіроподібну структуру породи, складають від 0,5-1,5 см, рідше 2-3 см по довжині. Окремі порфіробластові кристали катаклазовані, перекристалізовані, уламки зміщені, інтерстиції виповнені дрібнозернистим рудним норитом. Спостерігається інтенсивна грануляція таблитчастих зерен плагіоклазу з утворенням округлих лейстоподібних і неправильної форми гранул розміром від долей до 2-3мм. Центральні частини вкраплеників плагіоклазу складені полісинтетично здвійникованим лабрадором (Аn50-55), а периферія - кислим андезином (Аn38-45). Плагіоклаз основної маси також розкислений і нерідко насичений тонкими виділеннями калішпату.

Апатит більш тонкозернистий. Часто кристали тріщинуваті і деформовані. Поверхня зерен нерідко кородована, призматичні грані вкриті численними “кавернами”. На гранях призми спостерігаються: косе штрихування, скульптурні грані росту і сліди розчинення у вигляді порожнин гексагональних і тригональних обрисів.

Щільність апатиту коливається в межах 3,15-3,29 г/см3. Коливання щільності обумовлені наявністю мікровключень у мінералі. Значення мікротвердості змінюються від 424 кг/мм2 до 647 кг/мм2. Хімічним аналізом встановлена приналежність апатиту до оксі-гідроксил-фтористого різновиду з загальною, близькою до теоритичної, формулою: Ca5(PO4)3(O, OH, F).

Відзначаються деякі розходження апатитів анортозит - габро-анортози-тового комплексу і рудних габроїдів за вмістом SrО (відповідно 0,04% і 0,47%), СО2 і фтору. У габро-анортозитах вмісти фтору підвищені, а СО2 відсутнє або відзначаються знижені значення в порівнянні з норитами. Вміст РЗЕ в апатиті, за даними хімічного аналізу, витримується на рівні 0,4-1,0%. Рідкі землі ізоморфно заміщують іони кальцію в структурі апатиту, що пояснюється близькістю їх іонних радіусів.

Нейтронно-активаційний аналіз апатиту, виконаний у ІМГРЕ, дозволив установити деякі закономірності в розподілі РЗЕ. Так в апатиті габро-анортозитів міститься 510 г/т лантану, 1300 г/т церію і 160 г/т самарію. В апатиті олівінових норитів вміст легких лантаноїдів зростає: 590-710г/т лантану, 1500-1600 г/т церію і 190-220 г/т самарію. Максимальні вмісти легких РЗЕ встановлені в апатиті норитів - 880 г/т лантану, 2000 г/т церію і 240 г/т самарію. В апатиті меланократових габроїдів трохи зростає і вміст європію - від 13 г/т у габро-анортозитах до 25 г/т у троктолітах. Вміст важких РЗЕ і торію залишаються на одному рівні і трохи зменшуються в апатиті олівінових норитів і троктолітів У зв'язку з цим, La/Yb відношення зростає в апатиті норитів до 20,9%.

Ільменіт, в основному, ідіоморфно-гіпідіоморфний дрібнозернистий, вкраплений, рідко утворює сидеронітову структуру скупченнями окремих дрібних кристалів.

Олівін в олівінвмісних різновидах і троктолітах розвинутий у вигляді дрібних округлих або злегка деформованих зерен (-2V = 70-72º, Ng = 1.785-1.795;

Np = 1.740-1.750; Ng-Np = 0.045; F = 55-60%), що утворюють шлірові скупчення (рис. 2.28) або пойкілітово включених у середньо-грубозернистий ортопіроксен. Більш великі кристали мають характерні реакційні облямівки, що складаються з ромбічного піроксену і самі включають тонкозернисті апатит і ільменіт. По мікротріщинках розвиваються серпентин-хлоритові, з окислами заліза агрегати. Колір мінералу зеленувато-жовтий, розмір 0,1-0,5 мм, форма округла ксеноморфна чи подовжена ромбічна. Мінерал високозалізистий з чіткою тенденцією збільшення вмісту фаялітової молекули в породах монцонітового ряду. Спектральним аналізом в олівіні встановлено зниження концентрацій ванадію, кобальту, нікелю, свинцю та міді, в порівнянні з олівіном габро-анортозитів, і незначне збільшення вмісту цирконію і скандію.

Олівінвмісні і олівінові лейкократові норити відмічаються переважно в північно-східній частині родовища. Структура порід середньозерниста габро-офітова, місцями порфіровидна, трахітоїдна. Важлива роль належить олівіну, вміст якого до 30%. Він, розповсюджений як окремо, так і в зростках з піроксеном, утворює округлі, витягнуті ромбовидні та неправильні зерна з тонкими включеннями плагіоклазу й ільменіту. Основні характеристики та риси останніх породоутворюючих мінералів олівінових норитів аналогічні розглянутим вище рудним норитам.

Норити другої фази. Для порід другої фази впровадження (мелано-мезократові ільменітови норити) характерна майже повна відсутність олівіну і апатиту (присутні в акцесорних кількостях), крупно-середньозерниста структура, трахітоїдна, з елементами такситової і пегматоїдної (рідко масивної), текстура. Найчастіше відзначається явно накладений (тектонічний) характер контактів порід другої фази впровадження з вміщуючіми породами Носачівської інтрузії в цілому, у тому числі, з раніше утвореними слаборудними норитами і апатит-ільменітовими норитами першої фази.

Вони містять від 25% до 50% піроксену, від 15% до 80% ільменіту, до 35% плагіоклазу, незначну кількість апатиту (до 1%) і, звичайно, слабко біотитизовані. Колір сірий, темно-сірий до сіро-чорного. Порода масивна, з ділянками шлірової та трахітоїдної текстури. Неоднорідні по верствах. Спостерігаються коливання зернистості та вмістів породоутворюючих мінералів. Дрібнозернисті рудні норити монолітні, ільменіт рівномірно вкраплений. На окремих ділянках (потужністю перші десятки сантиметрів) гломерозернистий рудний норит переходить у піроксеніти, представлені рудним середньо-грубозернистим пойкілобластовим або трахітоїдним ортопіроксеном. Скупчення зерен піроксену утворюють паралельно орієнтовані мікропрошарки потужністю перші сантиметри. [2].

Контакти з вміщуючими породами часто тектонічні. Характер контактів затокоподібний, хвилястий, іноді чіткий. Потужність рудних габроїдів від перших сантиметрів до сотні метрів, які оконтурюються тектоно-метасоматичними зонами. На ділянках стиску утворюються катаклазити з дзеркалами ковзання і мілонітовими швами. Метасоматично змінені вміщуючі породи представлені високотемпературними пегматитами і монцонітами, а також прожилками і ділянками розвитку низькотемпературних утворень серицит-хлорит-кварц-карбонатного складу.

У незмінених породах виявлені габрова і габро-офітова структури з елементами гломеробластової, гіпідіобластової, пойкілобластової, трахітоїдної та шлірової. На окремих ділянках взаємовідношення піроксену з плагіоклазом і рудним мінералом пегматоїдні.

Плагіоклаз присутній у вигляді таблитчастих і округлих полісинтетично здвійникованих кристалів (Аn45-50) з антипертитовими виділеннями калішпату і тонкою олігоклазовою облямівкою розкислення по периферії зерен (Аn30).

У молярному складі для основних порід норитового комплексу плутону звертає увагу більш високий, в порівнянні з анортозитами, вміст альбітової (41,9-53,4%) і ортоклазової молекул (3,0-12,6%). Хімічним аналізом у плагіоклазах встановлені незначні вмісти окислів заліза, титану, марганцю і магнію, пов'язані, швидше за все, з домішками темноколірних і рудних мінералів. Індекс упорядкованості плагіоклазу, розрахований по Слеммонсу, склав для норитів 92-95 (на дифрактограмах гранульованих плагіоклазів норитів помітно слабшає інтенсивність характерних рефлексів (6,4; 4,65; 3,75А0)).

Піроксен утворює витягнуті гіпідіоморфні округлі і пойкілобластові кристали, іноді мікроверстви. Представлений гіперстеном-ферогіперстеном (-2V=48-60º, Ng = 1,725-1,745; Np = 1,710-1,728; Ng-Np = 0,015-0,017; F = 45-65%). Клинопіроксен представлений авгітом (+2V = 50-56; Ng = 1,723-1,730; Np = 1,699-1,703; Ng-Np = 0,024-0,027; F = 40-55%). Утворює тонкі діалагові облямівки і мікрографічні емульсійні вростки, що інтерпретуються як структури розпаду твердих розчинів. Такі тонкі проростання, звичайно, характерні для інвертируваного піжоніту, що зазнав серію структурних перетворень і реакцій розпаду. На дифрактограмах цих піроксенів, звичайно, проявлені характерні рефлекси гіперстену (d/n = 1,486; 2,89-3,20А0) і авгіту (1,619; 2,522А0). На діаграмі складів фігуротивні точки моноклінних піроксенів розташовані в полі авгітів, а співіснуючих ортопіроксенів - у центральній частині поля піжонітів.

Ільменіт утворює вкрапленість таблитчастих, пластинчастих, полігональних, округлих і ксеноморфних зерен або сідеронітові фрагменти, які у відбитому світлі виявляють тонкоагрегатну мікроструктуру з рідкими кулястими вростками піротину. Для округлих і ксеноморфних зерен характерні кулясті вростки породоутворюючих мінералів, іноді заміщених агрегатом вторинних мінералів. Мікротвердість ільменіту порід рудного норитового комплексу складає 627-709 кг/мм2. Спектральним аналізом в ільменіті встановлені підвищені вмісти скандію, ванадію, хрому. Значення коефіцієнту термо-ЕДС коливаються від 360-720мкв/град.

Біотит у породах комплексу утворює келіфітові облямівки навколо ільменіту і розвитий по тріщинках у піроксені. Плеохроює у червоно-коричневих тонах по Ng і солом'яно-жовтих по Np. Містить одиничні темно-коричневі плеохроїчні дворики.

Олівін в олівінвмісних різновидах розвинутий у вигляді дрібних округлих або злегка деформованих зерен. [1].

Апатит дрібнопризматичний діпірамідальний. Присутній у зростках з рудними і темноколірними мінералами.

Амфібол, одиничні зерна, представлений звичайною роговою обманкою і волокнистим різновидом амфіболів. Рогова обманка має характерне зелене забарвлення, плеохроює у темно-зелених - жовто-зелених тонах.

Монцо-норити, норит-монцоніти - масивні середньозернисті, часто нерівномірнозернисті породи. Приурочені до тектоно-метасоматичних зон, центри яких виповнені мікропегматитом. З віддаленням від них зменшується і монцонітовість норитів.

Мають габро-офітову структуру, місцями гіпідіобластову і порфіровидну з ознаками монцонітової. Якщо зростає вміст рудного компоненту, структура близька до шлірово-такситової.

Плагіоклаз безбарвний, найчастіше відсутній ефект іризації. Форма зерен різна. Крупно-середньозернистий, за звичай, таблитчастий; середньо-дрібнозернисти, пластинчастий, призматичний, лейстоподібний; на ділянках збагачених ільменітом - ксеноморфний. Склад вкраплеників більш основний (Аn45-50) у порівнянні з дрібним лейстоподібним (Аn40) плагіоклазом основної маси. У дрібних гранулах, в обрамленні калішпату і кварцу, плагіоклаз розкислений до олігоклаз-альбіту (Аn10-15). У порівнянні з норитами порода характеризується посиленням грануляції, калішпатизації і розкисленням плагіоклазу. Широкий діапазон основності плагіоклазу обумовлений різним ступенем його грануляції і розкислення зі збереженням більш високої основності в центрі зерен і значним розкисленням дрібних гранул. Індекс упорядкованості по Слеммонсу склав 72-85. Серед елементів-домішок встановлені титан, ванадій, хром, фосфор та ін.

Калішпат і кварц ксеноморфні, розвинуті в міжзерновому просторі. Калішпат-пертит утворює більш великі самостійні зерна в інтерстиціях плагіоклазу. Місцями на контактах зерен калішпату і розкисленого плагіоклазу відзначаються мірмікитові відокремлення кварцу.

Ромбічний і моноклінний піроксени утворюють тонкі взаємопророщення. Істотно переважає ромбічний піроксен-ферогіперстен.

У породах монцонітового ряду, в порівнянні з норитами, більш інтенсивний процес біотитизації темноколірних мінералів та ільменіту.

Ільменіт присутній у вигляді витягнутих пластинчастих і жердиноподібних, а також великих таблитчастих і скелетних кристалів.

Апатит представлений правильними діпірамідально-призматичними, голчастими і жердиноподібними кристалами. Звичайний в асоціації з темноколірними і рудним мінералами. Тонкожердиноподібний до голчастого рівномірно розподілений по породі або заповнює мікротріщинки.

Монцоніти утворюють тіла невеликої потужності і мають чіткі тектонічні контакти з породами комплексу. Характеризуються тонкозернистою аж до афонітової структурою, монцонітовою мікроструктурою, масивною плямистою або смугастою текстурами. У мінеральному складі провідна роль належить калінатрієвому польовому шпату (25-40%), який пойкілітово включає лейстовий плагіоклаз, призматичний піроксен, дрібний округлий олівін. Часто порода насичена голчастим апатитом і тонкопризматичним ільменітом. Калішпат, звичайно, має мезо- і мікропертитову будову. Представлений переважним пертитовим ортоклазом і проміжним пертитовим мікрокліном. Плагіоклаз інтенсивно гранульований і розкислений (до Аn35). Піроксен, в основному, ферогіперстен-еуліт. Олівін гранично залізистий.

4. ФІЗИКО-ГЕОЛОГІЧНІ ПЕРЕДУМОВИ ПОСТАНОВКИ ГЕОФІЗИЧНИХ ДОСЛІДЖЕНЬ

Метою наземних геофізичних досліджень являлося, головним чином, простеження та вивчення рудної зони Носачівського родовища. Завдяки геофізичним дослідженням уточнювалося структурне положення родовища в рудному полі, тип рудолокалізуючої структури, морфоструктура родовища та розташування в ній рудних покладів багатих апапатит-ільменітових руд.

Крім того, з метою визначення природи та розбраковки аномалієзбурюючих об¢єктів, що можуть представляти собою пошуковий інтерес на багаті апатит-ільменітові руди, було виконано узагальнення фізичних властивостей гірських порід Носачівського родовища.

Відомості про фізичні властивості гірських порід Носачівського родовища (табл. 4.1) подані за результатами узагальнення матеріалів, отриманих при проведенні геолого-зйомочних, пошукових, пошуково-оцінювальних, геологорозвідувальних робіт та Інститутом геотехнічної механіки НАН України (м. Дніпропетровськ).

Таблиця 4.1 - Фізичні властивості гірських порід і руд Носачівського родовища

Назва порід та їх властивості

Кількість визначень (N)

Мінімальне значення (min)

Максимальне значення (max)

Середньоариф. значення (Х)

Мода (MO)

Середньоквадрат. похибка Х

Середньоквадрат. відхилення (ε)

1

2

3

4

5

6

7

8

Анортозити

156







Щільність (δ) г/см3


2,56

3,14

2,74

2,72

0,01

0,12

Магнітна сприйнятливість (æ··10-6 СІ)619038323,0137,6








Залишкове намагнічування (Іr·10-3 А/м)


2

510

64

42

8,3

103,7

Фактор (Q=)0,0112,23,082,600,22,49








Габро-анортозити

210







(δ)


2.64

3.14

2.78

2.79

0.007

0.10

(æ)


4

580

60

46

7.95

115.2

Ir


2

730

92

68

10.05

145.6

Q


0.01

12.6

3.06

2.70

0.17

2.5

Норити

236







(δ)


2,74

3,48

3,07

-

0,009

0,15

(æ)


11

760

111

106

9,6

147

Ir


7

1060

148

118

13,4

206

Q


0,15

10,8

2,71

2,86

0,14

Норити рудні  (ТіО2) > 10%

48







(δ)


3,14

4,00

3,32

3,28

0,03

0,20

(æ)


11

392

160

146

13,2

94

Ir


9

450

158

140

15,2

105

Q


0,30

6,2

2,04

1,85

0,20

1,4


Дані лабораторних визначень параметрів щільності (δ), магнітної сприйнятливості (æ), залишкового намагнічування (Іr), та фактору Q, оброблені на ПЕВМ і представлені у вигляді таблиць вказаних параметрів, пораховані їх середні значення для окремих характерних петрофізичних класів, вивчені кореляційні залеж-ності між вмістом ТіО2 в основних породах та величиною їх щільності і магнітної сприйнятливості (рис. 4.1; 4.2).

Аналіз всього комплексу вивчених фізичних властивостей гірських порід родовища дає можливість досить достовірно відобразити петрофізичні характеристики, як вміщуючих апатит-ільменітове зруднення основних порід, так і самих рудних покладів.

Як видно з таблиці, самими легкими утвореннями поміж порід основного складу, є анортозити. Вони являють собою польовошпатові породи, середня щільність яких складає - 2,74 г/см3.

При переході анортозитів в габро-анортозити середня щільність останніх збільшується до величини 2,78 г/см3 завдяки підвищеному вмісту темноколірних мінералів.

Досить високими значеннями середньої щільності характеризуються норити, що об’єднані в окремий петрофізичний клас. Середнє значення щільності даних порід складає - 3,07 г/см3.

Рисунок 4.1 Залежність об’ємної маси від вмісту двоокису титану для основних порід Носачівського родовища

Рисунок 4 .2 Залежність магнітної сприйнятливості від вмісту двоокису титану для основних порід Носачівського родовища

Необхідно відмітити, що для цієї групи порід характерний бімодальний розподіл параметру щільності, тобто наявність двох модальних інтервалів 2,96-3,00 і 3,06-3,10 г/см3. Перше модальне значення щільності притаманне для нориту безрудного, наявність другого модального інтервалу зумовлена тим, що у вибірку цієї групи порід були включені зразки слабозруденілих порід.

Максимальні значення щільності притаманні рудним різновидам норитів, що вміщують більше 10% ТіО2. Середнє значення їх щільності складає 3,32 г/см3, причому спостерігається широкий варіаційний розмах значень від 3,14 г/см3 до 4,00 г/см3, що зумовлено, головним чином, нерівномірним вмістом рудних мінералів в зразках.

Загалом спостерігається тісний кореляційний зв’язок між параметрами щільності від вмісту ТіО2. Іноді спостерігається порушення кореляції, що зумовлено непостійним вмістом і складом нерудних мінералів, головним чином, темноколірних.

Таким чином, аналіз обробки параметру щільності свідчить про наступне:

щільність безрудних норитів - 3,01-3,05 г/см3;

- щільність слабозруденілих різновидів норитів - 3,11-3,20 г/см3;

- щільність рудних норитів - 3,32 г/см3.

За магнітними властивостями породи Носачівського родовища поділяються на дві петрофізичні групи: немагнітні та слабомагнітні. Немагнітні представлені анортозитами та габро-анортозитами, що характеризуються середньою магнітною сприйнятливістю 38-60х4π∙10-6 СІ.

До слабомагнітних утворень відносяться різновиди норитової формації. Середня магнітна сприйнятливість безрудних норитів складає 111х4π∙10-6 СІ, а для рудних - 160х4π∙10-6 СІ.

Загалом, для основних порід родовища спостерігається кореляційна залежність магнітних властивостей порід від їх основності.

Для рудних різновидів спостерігається залежність магнітної сприйнятливості також від вмісту ТіО2. Вона існує лише до значень æ = 200х4π∙10-6 СІ, а при подальшому зростанні вмісту ТіО2 залишається незмінною.

Відомості про питомий опір гірських порід отримані за лабораторними даними та даними електрокаротажу свердловин. Для основних порід він змінюється в межах 500-4000 Ом∙м, середня величина питомого опору досягає 2500 Ом∙м. В межах рудних інтервалів опір приблизно на два порядки нижчий, ніж у вміщуючих породах і змінюється в межах 0-2000 Ом∙м.

Значення коефіцієнту поляризації, що притаманні основним породам, складають 0-2%, для рудних різновидів норитів він збільшується і іноді досягає 20%.

Порівняльний аналіз керну за фізичними властивостями порід відомого Федорівського родовища з аналогічними породами Носачівського свідчить про те, що основні породи родовищ за параметром щільності не відрізняються, в магнітних же властивостях спостерігаються досить суттєві відмінності. Так для Носачівського масиву характерні дуже низькі значення магнітної сприйнятливості, що не перевищують кілька сотень одиниць, тоді як аналогічні породи Федорівського родовища мають магнітну сприйнятливість на порядок вищу 3000-14259х4π∙10-6 СІ. Цей факт зумовлений відсутністю магнетиту та титаномагнетиту в породах Носачівського родовища.

Враховуючи всі ці обставини, процес інтерпретації матеріалів каротажу вимагав виконання попереднього аналізу фізичних властивостей порід безпосередньо зустрічаємих на території дослідження.

На першому етапі були зібрані і при необхідності переінтерпретовані матеріали каротажу попередніх років. Принцип відбору таких свердловин був наступний. Відібрані типові свердловини в попередні роки досліджувались оптимальним геофізичним комплексом каротажу і включали матеріали по максимально можливій кількості окремих літотипів та стратиграфічних підрозділів. Крім того, вибрані свердловини по можливості повинні бути рівномірно розповсюджені по площі. Всього разом з свердловинами, пробуреними за даним проектом (169 свердловин), були проаналізовані матеріали по 89 свердловинам.     Типовим взірцем характеру змін фізичних особливостей порід на території є результати досліджень в свердловині 1901.

Дані про фізичні параметри порід, які складають геологічний розріз є типовими. Воно підтверджується в багатьох свердловинах. Тому отримані результати можна розповсюдити на всі свердловини, пробурені на досліджуємій території.

Зустрінуті в розрізі піски характеризуються фоном природного гамма - випромінювання на рівні 2,5 - 3,5 мкР/г. та позірним електричним опором коло 100 Ом.м (градієнт - зонд). Такі фізичні параметри пісків відносяться до аналогічних відкладів, зосереджених як в межах четвертинних відкладів (Q), так і для пісків іншого віку (наприклад палеогенові піски Бучацького віку Pbc). Збільшення в пісках вмісту глауконіту приводить до збільшення фону гамма - випромінювання вдвічі (до 7 мкР/г) та зменшенню позірного електричного опору до 40 Ом.м. Глини, алевроліти та суглинки в середньому відмічаються рівнем природного гамма - випромінювання в межах 8 - 10 мкР/г. Їх позірний електричний опір знаходиться в межах 20 - 40 Ом. м. Ці параметри в першу чергу відносяться до порід Обухівського віку (P2ob).

Характерним геофізичним репером в розрізі являються крейдяні поклади з їх дуже низьким рівнем природного гамма - випромінювання характеризуються (1,5 - 2,0 мкР/г). В той же час їх електричний опір дуже високий і може досягати 80 - 120 Ом.м.

          Вищевказані фізичні параметри порід були визначені при аналізі матеріалів каротажу свердловин, пробурених до відкладів крейди. Але на досліджуємій площі в попередні роки геологічні дослідження виконувались і для вирішення інших геологічних задач. Саме тому були додатково проаналізовані матеріали геофізичних досліджень в інших свердловинах. Такий аналіз дозволив вивчити фізичні властивості порід осадового чохла.

Дані про фізичні параметри порід, які складають геологічний розріз є типовими. Воно підтверджується в багатьох свердловинах. Тому отримані результати можна розповсюдити на всі свердловини, пробурені на досліджуємій території.

Визначення геофізичних параметрів окремих літотипів перекривають один одного. Тому автоматично без системного аналізу всього отриманого матеріалу в його послідовності неможливо виконати літологічне розчленування розрізу. Але характер та послідовність змін тих чи інших фізичних величин та знання принципових основ геологічної будови досліджуємої території дозволяють з великою імовірністю виявляти та визначати той чи інший літотип, відмічати його наявність або відсутність в окремих свердловинах.

          Аналізуючи зміни фізичних властивостей порід безперевно за розрізом, необхідно відмітити, що на діаграмах дуже часто наявні характерні зміни кривих (характерні репери). Такі зміни фізичних властивостей можуть бути пов'язані з наявністю стратиграфічних границь між породами. За своїми основами методи каротажу відображають тільки зміни фізичних властивостей геологічного середовища. Але при співставленні конкретних глибин цих змін з визначеними за геологічними даними стратиграфічними границями, можна з досить великою вірогідністю стверджувати, що геолого - геофізичний аналіз дозволяє досить часто ототожнювати такі зміни фізичних характеристик з границями між стратиграфічними підрозділами. Треба ще раз підкреслити, що визначення за даними каротажу стратиграфічного віку порід можливо тільки після попереднього детального співставлення геологічного та геофізичного матеріалів.

Можливість використання результатів каротажу не тільки для літологічного, а і для стратиграфічного розшарування розрізу гірських порід не визиває сумніву. Треба тільки враховувати і наявність фаціальних особливостей при формуванні горизонтів порід певного віку і їх відображення на кривих каротажу. На тому ж додатку породи Обухівської світи палеогену чітко поділяються на два горизонти. Цей поділ відображається як на кривих електрокаротажу, так і на кривих гамма - каротажу. Верхня частина порід Обухівської світи характеризується відносним мінімумом фонових значень природної радіоактивності і деяким підвищенням рівня електричного опору. Нижня частина порід даної світи навпаки відмічається підвищенням фону природного радіоактивного випромінювання і зменшенням рівня електричного опору. Поняття підвищення та зменшення відносяться тільки до інтервалу діаграм розташованих в межах досліджуємої світи (P2ob). Таким чином, за даними каротажу можна стверджувати, що верхня частина Обухівської світи більш збагачена піщаним матеріалом, в той час, як нижня навпаки збагачена глинами. В той же час самі породи Обухівської світи чітко відрізняються за даними комплексу каротажу.

Вищевказані принципи інтерпретації геофізичних досліджень в свердловинах були використані при аналізі матеріалів по всім пробуреним свердловинам. По кожній свердловині був побудований зведений планшет, на якому показані фактичні результати досліджень, окремі літотипи порід, визначені за даними каротажу, а також стратиграфічні границі геологічних утворювань. Зведені планшети були використані при подальшій детальній геологічній документації всіх пробурених свердловин. (дивись граф. дод. №3). При системному аналізі матеріалів каротажу були вивчені можливості побудови кореляційних схем, які дозволили б простежувати розповсюдження тих чи інших горизонтів між свердловинами.

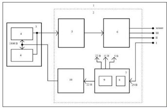
Враховуючи вище зазначені обставини, був сформован раціональний комплекс методів ГДС: Перед комплексом геофізичних досліджень у свердловинах були поставлені наступні геологічні завдання:

          завірка літологічної будови розрізу геофізичними методами і контроль ви-конання бурових робіт;

          визначення меж рудних тіл;

-         попутні пошуки радіоактивної сировини;

          визначення просторового положення стволів свердловин.

Завдання вирішувалися раціональним комплексом методів ГДС: стандартний каротаж (методами УО; ПC); ГК; ГГК-Щ; МЕП; каротаж магнітної сприйнятливості (ǽ ), інклінометрія (І), кавернометрія (К), МЕК оскільки:

          стандартний електрокаротаж (КО та ПС) буде виконуватися метровим градієнт- ,та потенціал-зондом (A1.0M 0.1N, N1.0M0.1A). Зонд дає диференційовану криву, що досить точно відображає породи з різним електричним опором і зводить до мінімуму вплив свердловини, а зареєстровані значення ρк - близькі до дійсних значень. За кривими КО визначають зони з дуже низьким значенням ρк, які вказують на зони тектонічних порушень і рудні тіла з великим вмістом ТіО2;

          метод ГК застосовується в усіх свердловинах для літологічного розчленування розрізу, виділення корисних копалин і пошуків радіоактивної сировини;

          гама-гама каротаж щільнісний (ГГК-Щ) - цей метод є основним при визначенні меж рудних тіл, оскільки щільність апатит-ільменітових руд значно більша, ніж щільність вміщуючих порід;

          методом МЕП визначають місця скупчення вкрапленості сульфідів;

          магніторозвідка є основним методом для визначення меж апатит-ільменітових руд. Це пояснюється тим, що в рудах є магнітні мінерали;

          інклінометрія - для визначення просторового положення свердловин;

          кавернометрія проводилася для відбракування аномалій по кривих ГГК-Щ;

          метод електричної кореляції (МЕК)- при проведенні як пошукових, так і розвідувальних робіт застосовувалися методи свердловинної геофізики з метою вивчення електропровідних зон (рудні тіла, тектоніка та ін.), виявлених каротажними методами. Метод електричної кореляції (МЕК), що є однією з модифікацій методу заряду, виконувався в варіантах “свердловина-поверхня” та “свердловина-свердловина”. Перший варіант застосовувався для визначення елементів залягання лінійних зон підвищеної електропровідності, другий - для вивчення структурних особливостей родовища (морфологія рудних тіл, їх суцільність, ув’язка рудних тіл та окремих прошарків багатих руд при перетині їх різними свердловинами) та пошуків рудних тіл в міжсвердловинному просторі.

5. МЕТОДИКА, ОБСЯГИ І ЯКІСТЬ ВИКОНАНИХ РОБІТ

5.1 Наземні геофізичні роботи

При геологічному вивченні Носачівського родовища застосовувалися геофізичні методи таких технологічних груп: наземні, свердловинні та методи каротажу. [6]. При геологорозвідувальних роботах у 2002-2006 р.р. виконувалися геофізичні дослідження свердловин та електророзвідувальні роботи методом МЕК у варіантах «свердловина-поверхня» та «свердловина- свердловина». Нижче представлена методика і техніка геофізичних досліджень за видами робіт.

Комплекс наземних геофізичних досліджень включав наступні види робіт: метод заряду в модифікації “свердловина-поверхня” у масштабах 1:10 000 і 1:5 000 відповідно.

Електророзвідка.

Метод заряду виконувався з метою картування та простежування зон високої електричної провідності, які представлені покладами багатих фосфатно-титанових руд. Зйомка методом заряду була виконана на 4 свердловинах родовища, що розкрили багате зруденіння. Заземлення проводилося в рудний інтервал в свердловинах № 04 на глибині 422 м, № 013 на глибині 212 м, № 65 на глибині 230м і № 92 на глибині 140 м. Розміри ділянки досліджень для свердловин №№ 04, 013 становили 2х2 км і 1,6х1,4 км для свердловин №№ 65 і 92.

Загальний обсяг робіт склав 6,24 км2. Зйомка виконувалася по мережі 50х50м установкою “свердловина - поверхня” за схемою градієнта потенціалу.

Спостереження виконувалися за допомогою автокомпенсатора АЕ-72 з використанням генераторної групи електророзвідувальної станції ВП-62. Обсяг контрольних спостережень склав 4,9% від загальної кількості точок. Середня відносна похибка визначення різниці потенціалів склала 4,5%.

За даними робіт методом заряду складені карти графіків градієнту потенціалу ΔU і карти потенціалів U масштабу 1:5 000. Зведені дані про електророзвідувальні роботи методом заряду наведені в таблиці 5.1.

Таблиця 5.1 - Обсяги і основні відомості про методику та точність електророзвідки методом заряду.

Метод заряду (МЗ)

Тип приладу

Масштаб зйомки

Крок зйомки, мережа, м.

Площа ділянки, км2

 % контролю

АЕ-72, генераторна установка ВП-62

1:5 000

50х50

6,24

4,9

 

5.2 Геофізичні дослідження у свердловинах

Методика проведення ГДС.

Перед комплексом геофізичних досліджень у свердловинах були поставлені наступні геологічні завдання:

завірка літологічної будови розрізу геофізичними методами і контроль виконання бурових робіт;

визначення меж рудних тіл;

попутні пошуки радіоактивної сировини;

визначення просторового положення стволів свердловин.

Завдання вирішувалися комплексом методів: стандартного каротажу (методами КО; ПC); ГК; ГГК-Щ; МЕП; каротаж магнітної сприйнятливості (ǽ ), інклінометрія (І), кавернометрія (Кв). Масштаб запису 1:200.

 

5.2.1 Стандартний електричний каротаж

Загальні положення методики робіт.

Як відомо, під стандартною електрометрією свердловин розуміють наступні види досліджень: запис кривих уявного опору стандартним зондом (градієнт та потенціал), у конкретному випадку це метровий електричний зонд та запис кривої СП.

Запис уявного електричного опору у свердловині проводять двома зондами, оскільки градієнт-зонд (А1,0М0,1N) більш детально відбиває межі пластів (особливо підошву високоомного пласту за максимальними показаннями), а дані потенціал-зонда (N1,0М0,1А) краще віддзеркалюють дані уявного електричного опору пласта, який є найбільш наближеним до істинного.

Дані методу СП разом з даними методу уявного опору дозволяють більш точно розчленувати розріз свердловини та уточнити літологію вивчаємих пластів.

Каротажні криві записуються у пошуковому і деталізаційному масштабах глибин. Пошуковим масштабом є: 1500; 1:200, деталізаційними - 1:50; 1:20.

Масштаби запису кривих - це числове значення вимірюваного фізичного параметра, що відповідає відхиленню кривої на 1 см. Вибирається на родовищі таким чином, щоб амплітуди аномалій розміщувались у межах доріжки для запису і не виходили часто за її межі. [8].

Виходячи з вибраного масштабу запису, необхідно обчислити максимальне значення вимірюваного фізичного параметру в межах лінійної частини передатної характеристики каналу опору.

У даному випадку при масштабі 50 Ом*м/см.

-й гальванометр відхиляється на 40 см.

-й гальванометр відхиляється на 8 см.

-й гальванометр відхиляється на 1,6 см.

При більшому відхиленні гальванометра 1/5 необхідно перейти при запису кривої опору на діапазон більш грубий - вимірювання опору.

Масштаби запису кривих на родовищі вибираються стандартними.

Для кожного типу реєструючої апаратури і при записі відповідних кривих підбирають оптимальну швидкість підйому кабелю, за оптимальну приймається така швидкість, при котрій різниця в показаннях у порівнянні з найменшою швидкістю, похибка вимірювання не перевищує 5 % від аномалії

(10)

Для кожного методу досліджень встановлюється певна похибка вимірювань досліджуваного параметра на кожному родовищі.

При каротажних роботах похибка вимірювань у каротажі опору і СП встановлюється 10 %.

Допустиме зміщення кривої СП за рахунок поляризації електродів не повинно перевищувати 1 см зміщення кривої на 100 м свердловини. Допустиме зміщення нульової лінії опору в колоні не більше двох міліметрів (за рахунок витоків електричного струму, індуктивними завадами).

На оригіналах каротажних діаграм обов’язково на початку і в кінці запису фіксується нульове положення пишучого пристрою, відхилення від стандарт-сигналу згідно з вибраним масштабом запису, довжина запису обох сигналів не менше 2-х см.

Дослідження у свердловинах починають з пошукового масштабу глибин. Раніше каратований інтервал перекривається в об’ємі 50 м, здійснюють контрольний запис в об’ємі 50 м на інтервалах різкої зміни кривих, допустиме відхилення в колоні від 0,2 см для кривих опору. Обов’язковий запис у колоні зондами великої довжини, якщо колона розташована не більше 200 м від інтервалу досліджень. Якщо у водонасичених інтервалах крива опору підходить до нульової лінії ближче ніж на 1 см, криву обов’язково переписують у пошуковому масштабі глибин у більш крупному масштабі запису. Крива опору переписується на інтервалах її виходу за межі лінійної частини передатної характеристики каналу опору, змінивши при цьому діапазон вимірювання опору, наприклад, при роботі на одножильному кабелі у зазначеному випадку необхідно перейти з діапазону вимірювання 200 Ом*м на діапазон 1000 Ом*м., а якщо така картина спостерігається і на діапазоні 100 Ом*м, то переходять на діапазон 5000 Ом*м.

При роботі з панеллю ПКМК переходять на запис кривої опору при менших коефіцієнтах підсилення або зменшують силу струму в колі АВ. [12].

На інтервалах, де крива не розміщується в межах частини великої лінійної характеристики при великих опорах, можуть спостерігатися незакономірності коливань пишучого пристрою.

Перезапис таких інтервалів починається за 10 м до нього. За 10 м до колони починають запис і в колоні, при кожному перезапису кривих в іншому масштабі запису обов’язково фіксують відхилення від стандарт сигналів і нуль положення записуючого пристрою.

Електрокаротаж (КО та ПС) виконувався зондом (A1.0M 0.1N). Зонд дає диференційовану криву, що досить точно відображає породи з різним електричним опором і зводить до мінімуму вплив свердловини, а зареєстровані значення ρк - близькі до дійсних значень.

Для контролю якості вимірів на кожній свердловині виконувалися повторні виміри в обсязі 10% від метражу. Додатковим критерієм якості робіт є запис в обсадних трубах.

В інтервалах, де крива КО виходила за межі доріжки запису, проводився запис у масштабах кратних 5 і 25. Розходження в значеннях кривих при повторних записах не перевищувало 10%. Каротаж опору і ПC проводився одночасно зворотним підошовним градієнт зондом М 1.0А 0.1В.

5.2.2 Гамма-каротаж

Метод ГК застосовується в усіх свердловинах для літологічного розчленування розрізу, виділення корисних копалин і пошуків радіоактивної сировини.

Крива ГК використовується для визначення глинистості порід і вмісту в породах радіоактивних елементів. Показання ГК не залежить від мінералізації промивальної рідини в свердловині, а тому глинистість по кривій ГК визначається точніше, ніж методом СП.

Масштаб запису кривої ГК вибирається на підставі радіоактивності порід по розрізу, при вибраному масштабі крива ГК повинна мати “max” амплітуду в межах ширини доріжки для запису.

У піщано-глинистому розрізі масштаб запису ГК вибирають 0,2 (пА/кг)/см, а у карбонатних породах 0,1( пА/кг)/см.

Масштаб запису встановлюють по відомій потужності експозиційної дози, що задається поблизу детектора від радієвого еталона. Така установка масштабу запису здійснюється на базі каротажного загону. При цьому детектор ГК розташовують на висоті не менше 2 м від землі. Готують апаратуру до роботи, еталонування здійснюють на всіх діапазонах панеді РК.

Спочатку реєструють нуль індекатора при закороченому каналі на вході панелі, затим на діапазоні, що еталонується регулюванням сталої за напругою в канала вимірювання, виставляють відхилення гальванометра на 1-2 см.

Нуль індекатора прописують на діаграмі по довжині 2-3 см. Відхилення від натурального фону і наступні відхилення гальванометра прописують по довжині 4-5 см протягом однієї хвилини. Такі умови відповідають масштабу глибин 1:500.

Сталу часу інтегратора вибирають “max”. Щоб зменшити вплив статистичних флуктуацій, зумовлених нерівномірних розпадів атомів у часі . Після цього з допомогою радієвого еталону задають відому потужність експозиційної дози від радієвого еталона, розмістивши його на розрахованій відстані згідно з формулою:

 (5.2.1)

де: Ie - потужність експозиційної дози γ-випромінювання на відстані R;
А - потужність експозиційної дози γ-випромінювання на відстані 1 м від еталона.

А = 840а

де: а - кількість радію в міліграмах в еталоні.

Отримана потужність А виражається в мкР/год.

Під дією Ie гальванометр додатково відхиляється від натурального фону на величину le см, а повне відхилення буде дорівнювати:

повне = lнф + lе (5.2.2)

Визначимо масштаб запису  (5.2.3)

повне = nγ*lповне, щоб знайти Iповне.

Виставляють потрібний масштаб запису згідно з формулою:

 (5.2.4)

Регулюванням сталої за напругою добиваються цього відхилення.

Після цього перемикають панель вимірювання на реєстрацію імпульсів на такій його частоті, при котрій відхилення буде близьким до l при даному масштабі.

Таким чином показання кривої ГК переводять у потужність експозиційної дози. Після цього проводять еталонування апаратури з метою побудови еталонувальних графіків, задаючи поблизу детектора відомі потужності експозиційної дози, фіксуючи відхилення по довжині 4-5 см. [18].

Еталонувальний графік являє собою залежність потужності експозиційної дози по відхиленню гальванометра від заданої Ie радіоеталону.

Отримані відхилення наносять на графік і продовжують його до перетину з віссю Ie. Точка перетину графіка з віссю Ie дає нам новий нуль, з урахуванням показань натурального фону і відносно цього нуля наносять нову шкалу і визначають максимальну потужність експозиційної дози в межах лінійної частини еталонувального графіка.

Кожен діапазон панелі РК розрахований на певну кількість імпульсів, якщо кількість імпульсів перевищує допустиму, то графік починає завалюватись, тобто порушується пропорційність між вихідним і вхідним сигналами. Цю потужність експозиційної дози визначають на кожному діапазоні і розраховують “max” відхилення кривої в межах лінійної частини харктеристики.

Криву ГК обов‘язково записують лише в межах лінійної частини еталонувального графіка. Якщо потужність зареєстрованої експозиційної дози перевищує “max”, то переходять на реєстрацію кривої на більш грубому діапазоні, де потужність експозиційної дози розширюється.

Шкалу Iγ після еталонування переносять на шкалу відхилення і таким чином отримують у гальванометра потужність експозиційної дози. Сталу часу інтегратора при проведенні вимірювання вибирають згідно з формулою

 (5.2.5)

де Іγсер - середня потужність експозиційної дози по свердловині.

Ε - відносна похибка вимірювань (імп/с).

Швидкість розраховують за формулою:

 (5.2.6)

де h - товщина пласта. Котрий представляє практичний інтерес.

τ - стала інтегратора.

Практично швидкість вибирають такою, щоб V*τ не перевищувала 500.

Установка масштабу запису кривої ГК

Визначаємо ЦЖК та ОК на головці свердловинного приладу і підключаємо його до панелі КУРА-2М. Вмикаємо станцію, виставляємо нуль гальванометра коректором нуля, підключаємо вихід другого каналу на вхід першого каналу реєстратора. Закорочуємо вхід каналу ГК на панелі, перемикач роду робіт у положенні „скваженный прибор”, діапазон третій. Стала часу інтегратора мінімальна, вмикаємо живлення панелі, гальванометр повинен бути на „0”, при необхідності коректуємо його коректором нуля. Перемикаємо сталу часу на “max” на четверту позицію, t (тау) дорівнює 6 секунд. Отримуємо відхилення від натурального фону, регулюванням сталої за напругою виставляємо 2 см.

Радієвий еталон виставляємо на відстані від детектора, при котрій Ie.= 0,4 пА/кг/см.

Отримали додаткове відхилення 3,5 см, проміжний масштаб запису дорівнює 0,4/3,5 = 0,11.

Повне відхилення складає 5,5 см.

повне = 0,11*5,5 = 0,6

Заданий масштаб nγ = 0,1

Переключаємось на лічбу імпульсів від калібратора, на частоті 50 Г. Регулюванням сталої за напругою добиваємось відхилення 6 см.

 (5.2.7)

Після цього переходимо до еталонування апаратури.

Результати еталонування фіксуються на діаграмі. Пропонуємо нуль індекатора, відхилення від калібратора натурального фону і робочого радієвого еталону. Додаткове відхилення від цього еталону є контрольним показанням роботи апаратури, протягом місяця не повинно змінюватись більше-менше 10%.

Робочий еталон ставиться на корпус свердловинного приладу у поміченому місці. Після цього робочий еталон знімають і приступають до еталонування апаратури, розміщуючи еталон на розрахованих відстанях, відповідних відомим потужностям експозиційних доз, прописуючи відхилення 1 і 2 гальванометра при прямому і зворотньому ходах.

Вимірювання здійснюють до тих пір, доки не буде чітко простежуватись завал по графіку.

Апаратура радіометричного каротажу

При проведенні радіоактивного каротажу переважно застосовується комплексна радіометрична апаратура, яка за один спуско - підйом свердловинного приладу забезпечує одночасний запис кривих природної і штучної радіоактивності. У гамма - каротажі по свердловині вивчається природна радіоактивність гірських порід і корисних копалин. Апаратура складається зі свердловинного приладу і наземного пульта керування. Інформація про те чи інше випромінювання надходить від детектора у вигляді імпульсів, середня частота прямування яких перетворюється вимірювальною схемою на поверхні в постійний струм, змінювання якого являє собою криву відповідного методу радіоактивного каротажу. [16]

Незалежно від типу радіометричної апаратури й області її застосування свердловинні прилади і наземні панелі обробки інформації мають багато спільних вузлів і блоків, а тому розглянемо загальну схему одного з типів радіометричної апаратури інтегрального типу, представлену на рис. 5.1 (КУРА- 2м).

Рис. 5.2.1Функціональна схема приладу КУРА-2М

У верхній частині свердловинного приладу розташований блок детектування каналу ГК (фотопомножувач із кристалом йодистого натрію), а в нижній частині - блок детектування каналу штучної радіоактивності (фотопомножувач із кристалом для реєстрації гамма - квантів або теплових нейтронів - залежно від методу досліджень).

Невелика постійна напруга живлення свердловинного приладу подається на його виводи ЦЖК (центральна жила кабелю) і ОК (обплетення броньованого кабелю або корпус приладу), яка через діод V1 забезпечує нормальну роботу електронної схеми. Але цієї напруги недостатньо для забезпечення нормальної роботи фотопомножувачів (напруга на анодах близько 1800 В). Тому невисока напруга живлення свердловинного приладу перетворюється перетворювачем у високу стабілізовану постійну напругу живлення фотопомножувачів. [12]

Імпульси струму помножувачів надходять на пристрій узгодження, де перетворюються в імпульси напруги. Низький вхідний опір цього пристрою забезпечує необхідне узгодження з виходом фотопомножувача й практично виключає вплив ємності з’єднувального проводу між фотопомножувачем і погоджувальним пристоєм. З пристрою узгодження надходять імпульси різної тривалості і амплітуди, залежно від енергії гамма - квантів, що діяли на детектор. До того ж на виході фотопомножувача виникають імпульси невеликої амплітуди, зумовлені можливими завадами при роботі перетворювача та темновим струмом фотопомножувача, від яких треба позбавитись. Цю роль виконує дискримінатор (обмежувач амплітуди), що спрацьовує тільки від імульсів, амлітуда яких перевищує деякий поріг, характерний для гамма - квантів певної енергії (30  5 кеВ). Для регулювання порога дискримінації в дискримінаторі передбачений спеціальний дільник напруги. Одночасно дискримінатор забезпечує формування вихідних імпульсів, однакових за амплітудою і тривалістю. Вихідні сигнали дискримінатора являють собою імпульси негативної полярності амплітудою близько 10 В і тривалістю 4 - 5 мкс.

Негативні імпульси дискримінаторів надходять на нормалізатори, які формують майже прямокутні позитивні імпульси амплітуди 4,5 В і тривалості (15  5) мкс, кількість яких може бути зменшена у 2, 4, 8 і 16 разів дільником частоти. Позиція перерахунку залежить від завантаження каналу й вибирається такою, щоб позбавитись прорахунку імпульсів.

Позитивні імпульси з нормалізаторів обох каналів надходять на змішувач, в якому вони змішуються, формуються за полярністю, підсилюються за потужністю й передаються по геофізичному кабелю на пульт керування. Змішувач являє собою каскад із двома роздільними входами і спільним виходом, яким є вторинна обмотка трансформатора Тр1. Відповідною розпайкою виводів трансформатора забезпечується необхідна полярність вихідних імпульсів - в каналі ГК імпульси негативні, у каналі штучної радіоактивності - позитивні.

При одночасній передачі різнополярних імпульсів по двох каналах можливий їх збіг у часі, що може призвести до взаємного знищення імпульсів або до зміни їх параметрів. У цьому випадку імпульси не реєструються або в одному каналі, або у двох. Втрата інформації підвищує похибку вимірів - вона тим більша, чим менша частота прямування імпульсів у каналі.

Сцинтиляційні детектори забезпечують у каналі ГК середню частоту прямування імпульсів близько 200 імп/с, а в каналі штучної радіоактивності - близько 3000 імп/с. При тривалості імпульсів 20 - 50 мкс відносна похибка вимірів за рахунок збігів досягає в каналі ГК близько 30 %, а в каналі штучної радіоактивності - близько 1 %. Це означає, що треба захищати канал ГК від імпульсів каналу штучної радіоактивності. Для цього в складі змішувача є додатковий каскад, який блокує канал штучної радіоактивності на час проходження імпульсів каналу ГК. [8]

Одночасно змішувач забезпечує узгодження каскадів із кабелем, покращує форму вихідних імпульсів і зменшує викиди (як кажуть, „хвости”) протилежної полярності відносно основних імпульсів. Негативний імпульс ГК має позитивний викид, а позитивний імпульс каналу штучної радіоактивності - негативний. Позбавлення від викидів досягається в панелі керування автоматично при встановленому рівні дискримінації в кожному каналі.

Розглянемо принцип роботи універсального наземного пульта керування апаратури радіоактивного каротажу типу „ КУРА - 2 м”( рис. 5.2).

Пульт керування забезпечує приймання, розділення й обробку у чотирьох ідентичних вимірювальних каналах статистично розподілених імпульсів, що надходять на його вхід по одножильному або трижильному кабелю для запису відповідних кривих радіоактивного каротажу.

Для живлення електронних блоків пульта керування служить блок стабілізованих напруг 10, а для живлення свердловинного приладу стабілізованим струмом - стабілізатор струму 9.

Рис. 5.2.2 Функцірнальна схема пульта керування апаратури КУРА-2М

Вихідні імпульси блока розділення надходять на входи вимірювальних каналів, що являють собою вимірювачі середньої частоти прямування імпульсів. До складу вимірювачів входять нормалізатор 15 (формує імпульси однакової амплітуди і тривалості, що зручно при їх реєстрації)), перетворювач частоти прямування імпульсів у постійний струм, виконаний за схемою з дозуючою ємністю 16, і підсилювач постійного струму 17. При перемиканні дозуючої ємності перемикачем „Масштаб” можна ступінчато змінювати в кожному каналі діапазон реєстрації максимальної кількісті імпульсів (від 3000 імп/хв до 384000 імп/хв) при кратності 2. Перетворення нормалізованого імпульса в постійний струм залежить від сталої часу τ (вимірюється в секундах) перетворювача, під якою можна розуміти час, протягом якого імпульс перетворюється в постійний струм. Перемикання сталої часу здійснюється перемикачем „Постоянная времени” й може бути установлена 0,75;1,5;3 і 6 секунд. Зі збільшенням τ зменшується вплив статистичних флуктуацій на результати вимірів. При вимірах натурального фона τ установлюють максимальною, що забезпечує вимір вихідного струму з незначним відхиленням від середньої величини.

При запису кривих радіоактивного каротажу стала часу τ в каналах розраховується згідно з формулою

τ = 5·103/ 22 Iсер (8),

де  - допустимий рівень впливу статистичних флуктуацій (наприклад, для методу ГК вона складає 0,15), Iсер - середня швидкість лічби по свердловині (імп/с). Оскільки середня швидкість лічби в каналі ГК значно менша від її значення в каналі штучної радіоактивності, то τ в каналі ГК установлюється більшою, ніж у каналі штучної радіоактивності. Так, наприклад, при запису кривої ГК τ переважно вибирають 3 с, а при запису кривих штучної радіоактивності - 0,75 - 1,5 с.

Вихідні струми вимірювачів, пропорційні середній частоті прямування імпульсів, подаються на входи каналів панелі масштабів каротажної станції для реєстрації каротажним осцилографом, або з панелі масштабів - на вхід аналогово - цифрового перетворювача цифрового реєстратора „Фозот”.

Для установки масштабів запису кривих і перевірки роботи апаратури в панелі керування використовується калібратор, до складу якого входять кварцовий автогенератор 6, дільник частоти 7 і таймер 8. Від калібратора на вхід кожного з вимірювачів середньої частоти імпульсів можна подати стандатризовані імпульси з частотою прямування 1, 10, 25, 50, 100, 200, 400, 800, 1600, 3200 імп/с при позиції „Калібратор” перемикача S1. При позиції „Скв. прибор” цього перемикача канали панелі керування реєструють імпульси свердловинного приладу.

П’ятирозрядний десятковий лічильник імпульсів , незалежно від позиції перемикача S1, забезпечує лічбу кількості імпульсів у кожному з каналів пульта керування з експозиціями, що визначаються автоматично таймером 8 при позиції відповідного перемикача „1 с”,”10 с”,”100 с”, або по секундоміру при позиції „”. Імпульси з виходу будь - якого каналу пульта керування подаються на вхід лічильника через логічний елемент 11, індикація числа зареєстрованих імпульсів здійснюється цифровими індикаторами 14, керування якими відбувається дешифратором 13. Запуск і зупинка лічильника забезпечується відповідними кнопками.

У пульті керування розташований блок його живлення 10 і блок 9 живлення стабілізованим струмом свердловинного приладу. Контроль живлення здійснюється по відповідному стрілковому індикатору на пульті керування. Контроль нульових сигналів на виході кожного каналу пульта керування провадиться при їх закорочених входах відповідними кнопками. [16].

Розглянемо структурну схему модуля ГК - М при цифровій реєстрації природної радіоактивності у свердловині, який є типовим для приладів радіоактивного каротажу інтегрального типу (рис. 5.3). Модуль містить об’єднані в комбінований блок 1 блок детектування гамма - квантів 3 та електронний блок 2, що забезпечує живлення блока детектування й первинну обробку інформації, що надходить від нього. Реєстрація гамма - квантів у блоці детектування здійснюється двома сцинтиляційними детекторами з кристалами NaJ (Tl) розмірами 30 х 70 мм і фотопомножувачами ФЕП-74А, електричні імпульси з яких надходять на дискримінатор 5, що забезпечує необхідне підсилення й обмеження амплітуди вхідних імпульсів, а також перерахунок середнього прямування інформаційних сигналів і їх формування за амплітудою і тривалістю.

Рис. 5.2.3 Модуль ГК

Вихідні імпульси дискримінатора подаються на вхід телеметричної лінії зв’язку (ТЛЗ) 6 і передається на поверхню по жилах кабелю.

Порядок проведення робіт на свердловині при гамма-каротажі

Перед запуском свердловинного приладу у свердловину його ставлять вертикально у певному місці, це ж роблять після закінчення вимірів і на діаграмній стрічці фіксують нуль індикатора, відхилення від калібратора згідно із заданим масштабом. відхилення від натурального фону і від робочого еталону. Після цього свердловинний прилад опускають у свердловину на заданий інтервал дослідження. У процесі спуску контролюють роботу апаратури по відхиленню гальванометра. Налаштовують схему відбиття міток глибин. як і в інших методах.

У призабійній частині свердловини ще раз контролюють відхилення від калібратора: якщо відхилення змінилось, то його встановлюють до заданого значення, яке було на поверхні.

Здійснюють запис кривої. У процесі запису контролюють, особливо максимальне відхилення з тим, щоб визначити інтервал, де крива виходить за межі лінійної частини еталонування графіка з тим, щоб після закінчення запису повторно перекрити ці інтервали на більш грубому діапазоні. [12].

Діапазон змінюють до тих пір, поки запис не буде здійснений в межах лінійної частини, при цьому виставляють відхилення від калібратора і нуль індекатора на цих діапазонах згідно з заданим масштабом.

При основному запису раніше каротований інтервал перекривають в об'ємі 50 м, у цьому об'ємі здійснюється контрольний запис. Похибка вимірювань між основним і контрольним записом повинна бути в межах, що відповідає даному типу апаратури.

Якщо у розрізі свердловини зустрінуті аномалії радіоактивності, то на цих інтервалах здійснюють перезапис кривої так, як описано вище. Ці ж аномалії деталізують у масштабі глибин 1:20, 1:50. Деталізацію аномалій підвищеної радіоактивності деталізують зразу, якщо вони складають 100 мкР/год або 7,2 пА/кг, без введення поправок. Аномалії підвищеної радіоактивності взагалі деталізують тоді, коли вони досягають 30 мкР/год. [18].

Після введення поправок на поглинання гамма-випромінювань, у промивальній рідині, обсадній колоні і у цементному кільці

(5.2.8)

де Пв-Пт-Пц - коефіцієнт поглинання в % у воді.

Якщо свердловина заповнена глинистим розчином, то товщину глинистого розчину переводять в еквівалентний шар води.

(5.2.9)

де d - діаметр свердловини в місці аномалії

dсп - діаметр свердловинного приладу

δ - густина промивальної рідини в г/см3.

Після виконання цих робіт здійснюють подальшу деталізацію пластів. При цьому записують одну деталізаційну криву, а при деталізації зон високої радіоактивності записують дві криві. Після цього прилад вилучають на поверхню і фіксують на діаграмі ті ж самі вихідні дані.

Швидкість підйому для апаратури типу „КУРА” становить 600 м/год.

Гама - каротаж (ГК) проводився свердловинним приладом “КУРА-2”, який попередньо був градуйований відповідно до вимог „Інструкції по ГК при масових пошуках урану”. Записи „натурального фону” і „робочого еталону” здійснювалися на тих діапазонах, на яких проводилася реєстрація кривих.

Градуювання апаратури проводилося з джерелом випромінювання, при розміщенні центрів детектора і джерела на висоті не менше 2 м від поверхні землі. При градуюванні використовувалося еталонне джерело γ-випромінювання Ra226, яке має індивідуальний паспорт і зберігається в заводському контейнері. Враховуючи систематичну роботу приладів, градуювання виконувалося один раз у три місяці, а також після заміни монокристалів, ФЕУ та інших ремонтних робіт.

Всі аномалії ГК деталізувалися двічі в масштабі 1:50, при визначенні інтервалів деталізації передбачався вихід у нормальне поле не менше, ніж на 1м в обидва боки від аномальної зони. Для оцінки якості ГК проводилися виміри робочим еталоном, повторні виміри на кожній свердловині, контрольні виміри іншим приладом. Похибка вимірів ГК на ділянці робіт становила не більше 10%.

5.2.3 Гама-гама каротаж щільнісний (ГГК-Щ)

Гама-гама каротаж щільнісний (ГГК-Щ) проводився апаратурою „КУРА-2” одночасно з ГК. Як джерело випромінювання гамма-квантів, використовувався радіоактивний ізотоп Со60, зонд являє собою свинцевий екран 10см довжиною. Цей метод є основним при визначенні меж рудних тіл, оскільки щільність апатит-ільменітових руд значно більша, ніж щільність вміщуючих порід. [17].

Негативні аномалії (стосовно вміщуючих порід) тим більші, чим більш багаті руди. Довжина зонда „L” і настроювання апаратури визначалися дослідним шляхом. Для контролю якості діаграм виконувалися повторні записи до 10% від основного.

Для загальної оцінки можливості використання ГІС з метою визначення відсоткового вмісту ТіО2 був проведений каротаж методом ГГК-С (селективний) в двох свердловинах.

Каротаж проводився радіометром РУР-2 (одноканальний варіант) з використанням джерела гама-квантів малої енергії < 200 кев Аm241, довжина зонду 5 см.

Істотним недоліком методу ГГК-С є, в даному випадку, те, що визначається сумарний вміст титану та інших більш важких елементів, зокрема заліза.

Метрологічне забезпечення апаратури радіоактивного каротажу здійснювалося при періодичній перевірці стандартності робочих приладів (один раз у квартал), систематичній перевірці стандартності й калібрування перед кожним дослідженням у свердловині і після нього. Це забезпечення регламентувалося ОСТ-41-06-164-81.

5.2.4 Метод електродних потенціалів (МЕП)

Каротаж методом електродних потенціалів (МЕП) здійснювався двухелектродним зондом MN. Різниця потенціалів вимірялася між двома електродами, один з яких (М) представлений у вигляді притискного, який доторкається до стінки свердловини, а другий (N) - у вигляді з'єднаних між собою двох циліндрів довжиною по 10см, які перебувають у буровому розчині. Електроди зондів МЕП виготовлені з цинку, що визначає їх достатню механічну міцність, стабільність електродного потенціалу (МЕП = -0,76мв) і відсутність впливу сторонніх іонів, які присутні в розчині. Крива МЕП записувалася так, що амплітуда відхилення приладу в трубах була не менше 3см. Для контролю якості діаграм, в обов'язковому порядку, виконувалися виміри в трубах і повторні записи.

Методом МЕП визначають місця скупчення вкрапленості сульфідів, графіту (які відзначаються позитивними аномаліями), а також зон тріщинуватості та каверн (негативні аномалії). При запису кривих МЕП, як перешкода, великий вплив має бурове мастило КАВЗ, оскільки воно є діелектриком.

5.2.5 Свердловинна магніторозвідка

Свердловинна магніторозвідка виконувалася апаратурою КМВ-38. При цьому реєструвалася магнітна сприйнятливість порід ( ).

Оцінка якості вимірів проводилася за результатами повторних вимірів, а також за характером запису при вході свердловинного прибору в обсадну колону.

Магніторозвідка і метод ГГК-Щ є основними методами для визначення меж апатит-ільменітових руд. Це пояснюється тим, що в рудах є магнітні мінерали. Градуювалась апаратура до і після каротажу тестами з магнітною сприйнятливістю 360х10-6 од. Сі; 600х10-6 од. Сі.

5.2.6 Інклінометрія

Визначення просторового положення свердловин здійснювалося за допомогою інклінометру «Мир-36». Прилади регулярно перевірялися на еталонному столі «УСІ - 2», про що є відповідні записи в журналах. Точність визначення магнітного азимуту, при відхиленні свердловини від вертикалі на величину, що не перевищує 4°, становить ± 5°, точність визначення кута нахилу ± 0°30´. Виміри виконувалися через 20 секунд після зупинки приладу на точці. Глибини точок виміру визначалися по мітках на кабелі.

Викривлення свердловини вимірюють магнітоелектричними інклінометрами в окремих точках свердловини через 20 - 25 м у вертикальних свердловинах і через 5 - 10 м - у нахилених. Перший вимір виконують на 2 - 3 м вище зупинки приладу на вибої свердловини, щоб переконатись у збігові його осі з віссю свердловини, а наступні 2 - 3 виміри - через інтервали 5 - 10 м. Азимути вимірюються на відстані не менше 5 м від башмака колони або залишених у свердловині металічних предметів. Через кожні 5 точок у вертикальних свердловинах і в кожній точці в нахилених свердловинах виконують контрольні виміри, піднімаючи прилад вище основної точки на 1м. При сумнівних вимірах або різких змінах викривлення інклінометр установлюють на попередню точку й виміри проводять через 5 - 10 м.

Основні виміри викривлення свердловини гіроскопічним інклінометром ІГ - 36 проводять при спускові, а контрольні - при підйомі. Швидкість спуску приладу в точку виміру і його підйому не повинна перевищувати 120 м/год. Виміри виконують не менше ніж через 5 с після установки приладу на точку. Глибини розташування точок визначають по лічильнику глибин і по мітках на кабелі.

5.2.7 Кавернометрія

Каверноміри вимірюють середнє значення діаметра свердловини, а каверноміри-профілеміри середнє значення діаметра і два профілі свердловини у двох взаємоперпендикулярних напрямках.

Для визначення діаметра свердловини застосовують прилад типу СКП.

У приладі СКП кожна пара важелів відповідає своєму профілю, а кожен важель має окремий датчик. Датчики з’єднані попарно.

Кавернограми записуються в масштабі глибин 1:200. У свердловинах на воду застосовується масштаб запису кавернограм і профілеграм в основному 5 см/см, а при деталізації - 2 см/см. Точкою запису кавернограми є нижні кінці важелів каверноміра.

Перед підключенням каверноміра до кабелю вимірюють опір ізоляції його схеми і визначають призначення жил.

Масштаби запису всіх кривих виставляються за відомим розкриттям важелів. Для цього використовують калібрувальні пристрої. Після установки масштабу запису фіксують відхилення гальванометра від декількох кілець відомого діаметра, при цьому масштаб запису виставляється за формулою:

 , (5.2.10)

де: l - відхилення гальванометра;

dк - діаметр кільця;

nd - потрібний масштаб запису;

При установці масштабу запису профілеграм відомі розкриття важелів задають за допомогою калібрувального ромба, виставляючі профілі по великій і малій його діагоналі (відповідно 400 і 200 мм). При цьому добиваються відхилень:

 ,  (5.2.11)

де d1 - мала діагональ ромба;

d2 - велика діагональ ромба.

У каналі діаметра маємо відхилення:

 (5.2.12)

Регулюванням сталої за напругою добивається потрібних відхилень у кожному каналі відповідно до заданого масштабу запису. Після цього ромб розвертають на 90º. Відхилення повинні помінятись місцями, а в каналі діаметра відхилення повинні залишатись без змін. Якщо при установці масштабу запису кривих профілеграм отримали відхилення l1 і l2, то у каналі діаметра встановлюють відхилення, рівне їх півсумі.

Перед початком і після закінчення робіт у свердловині на фотопапері фіксується нуль або відхилення при складених важелях та відхилення при складених важелях та відхилення від калібрувальних кілець (ромба). Швидкість підйому СП залежить від технічного стану свердловини, і вибирається 1000-2000 м/год. Незалежно від величини інтервалу досліджень обов‘язково записують кавернограму і профілеграми в колоні у об‘ємі не менше ніж 10 м з відбиттям башмака колони. Раніше проведені дослідження перекриваються в об‘ємі не менше 50 м.

Після установки масштабу запису каверномір опускають на інтевал досліджень і по команді з поверхні розкривають важелі.

Похибка вимірювання діаметра оцінюється за результатами повторних вимірювань і по запису в колоні, і не повинна перевищувати + 1,5 см.

Виміри діаметру свердловин проводилися каверномером КМ-2. При наявності обсадної колони передбачався обов'язковий запис каверномером у трубах. Крім того, перед початком і після закінчення робіт проводилися виміри в тарированих кільцях, враховуючи затиснені важелі. На проведення кавернометрії впливає бурове мастило. Кавернометрія проводилася для відбракування аномалій по кривих ГГК-Щ.

5.2.8 Метод електричної кореляції (МЕК)

При проведенні як пошукових, так і розвідувальних робіт застосовувалися методи свердловинної геофізики з метою вивчення електропровідних зон (рудні тіла, тектоніка та ін.), виявлених каротажними методами.

Метод електричної кореляції (МЕК), що є однією з модифікацій методу заряду, виконувався в варіантах “свердловина-поверхня” та “свердловина-свердловина”. Перший варіант застосовувався для визначення елементів залягання лінійних зон підвищеної електропровідності, другий - для вивчення структурних особливостей родовища (морфологія рудних тіл, їх суцільність, ув’язка рудних тіл та окремих прошарків багатих руд при перетині їх різними свердловинами) та пошуків рудних тіл в міжсвердловинному просторі.

В обох варіантах лінія живлення складалася з двох електродів. Електрод А (плюс) заземлювався в свердловині в зоні низького опору, електрод В (мінус) відносився в “нескінченність” - на відстань 1,2-1,5 км. Джерелом живлення служив генератор постійного струму, вимірювальна апаратура - автокомпенсатор АЕ-72.

При проведенні наземних робіт виміри проводилися за схемою градієнту потенціалу установкою М 40 N по кількох (2-5) профілях, відстань між якими складала 40-60 м, крок по профілю - 10 м.

При проведенні робіт методом електричної кореляції в міжсвердловинному варіанті електричне поле вивчалося шляхом вимірювання потенціалу по стволу свердловини з інтервалом 10м. Величина сили струму в лінії живлення складала 0,1-0,4 А, середня відносна похибка визначення електричних параметрів (∆U, u) не перевищувала 5%.

6. ОБРОБКА ТА ІНТЕРПРЕТАЦІЯ МАТЕРІАЛІВ ГЕОФІЗИЧНИХ ДОСЛІДЖЕНЬ

 

.1 Інтерпретація кривих стандартного каротажу

Інтерпретація кривих уявного опору (УО).

Для визначення положення покрівлі пласта необхідно від точки “а” відкласти вверх у масштабі глибин діаграми довжину підошвового граді-єнт-зонда. Оскільки крива покрівельного зонда являє собою дзеркальне відображення кривої підошвового зонда, то границю покрівлі становлюють шляхом відкладання довжини зонда вниз від точки (хибного) максимума. Для визначення положення меж пласта по кривій підошвового градієнт-зонда необхідно від точок “max” та “min” відкласти униз MN/2,оскільки точка запису відноситься до середини MN.

Для визначення границь пластів низького опору необхідно пом‘ятати, що підошва і покрівля пласта високого опору являється відповідно підошвою і покрівлею пласта низького опору, тому підошва пласта низького опору великої товщини на кривій підошвового градієнт-зонда відмічається мінімумом, а покрівлі - максимумом; для покрівельного зонда - навпаки. Правила визначення границь ті ж самі, що і для пластів високого опору.

Навпроти пластів низького опору крива КО йде по нульовій лінії. Положення однієї з границь на кривій градієнт-зондів встановлюють за мінімумом ρк (з урахуванням MN/2), а другу - від початку нульових опорів шляхом відкладання вверх (вниз) довжини підошвового (покрівельного) градієнт-зонда. На кривій потенціал-зонда границям такого пласта відповідають точки, що стоять на АМ/2 від початку (підошва) і кінця (покрівля) нульових знвчень ρк .

При вимірюваннях підошвовим градієнт-зондом у пластах складної будови, товщина яких більше довжини зонда прошарком низького опору відповідають мінімуми і максимуми кривої ρк, а прошаркам високого опору - максимуми і мінімуми, а у випадку покрівельного зонда, - навпаки. Впевнене виділення прошарків можливе тільки тоді, коли товщина кожного з них перевищує MN (для градієнт-зонда), або АМ (для потенціал-зонда).

Інтерпретація кривих самочинної поляризації (СП)

Як відомо, при прямому ході кривої СП (мінералізація пластових вод більша за мінералізацію бурового розчину) позитивні аномалії СП відповідають переважно глинистим породам, сульфідним, поліметалічним, магнетитовим рудам, антрацитам, графіту, бокситам, а від’ємні - піскам, піщаникам, вапнякам, доломітам, ангідритам, кам’яному вугіллю, кам’яній і калійній солі. [4],[11]

Інтерпретація кривої СП утруднюється у зв’язку з різною мінералізацією промивальної рідини і пластових вод, що може зумовити протилежні аномалії в одних і тих же породах (пряма і обернена крива СП).

У пластах товщиною h > 4 d контактам пласта на кривій СП відповідають точки на половині амплітуди кожної гілки аномалії (з боку підошви і покрівлі пласта). У пластах товщиною h < 4 d ширина аномалії hф (на половині її амплітуди) більше від товщини пласта h, яку визначають за спеціальними палетками залежності hф/d = f (h/d; ρп с). При великому опорові пласта його контакти на кривій ПС зміщуються до основи аномалії й точно їх можна визначити за спеціальними палетками.

Диференціація кривої ПС у рудних свердловинах залежить від того, в якому вигляді проявляється рудний поклад - суцільний він чи вкраплений. У суцільних покладах руд з електронною провідністю аномалії ПС мають чітку форму, а у вкраплених вони занадто згладжені й практично не інтерпретуються

 

6.2 Інтерпретація кривих гамма-каротажу


Літологічне розчленування розрізу по кривій ГК проводиться відповідно до вмісту нерозчинного залишку. Радіоактивність осадових порід пропорційна їх глинистості, а карбонатних порід - зворотньо-пропорційна вмісту нерозчинного залишку.

Теоретичні криві ГК при однаковій радіоактивності вміщуючих порід симетричні відносно середини пласта.

Фактичні криві ГК відрізняються від теоретичних завдяки впливу постійної часу інтегратора τ і швидкості Vпр переміщення приладу. При великих значеннях Vпрτ амплітуда аномалії зменшується, і остання стає асиметричною; точки кривої, що відповідають границям пласта, зміщуються у бік руху свердловинного приладу, збільшується фіктивна товщина пласта hф (визначається на половині амплітуди аномалії), не включається пропуск пластів малої товщини. Зменшення Vпрτ призводить до скривлення кривих за рахунок нерівномірного розпаду атомів у часі (статистичні флуктуації).

Як відомо, швидкість запису розраховують за формулою:

 ,

де h - товщина пласта. Котрий представляє практичний інтерес.

τ - стала інтегратора.

Практично швидкість вибирають такою, щоб V*τ не перевищувала 500.

Для пластів hп > 1 м при Vпрτ = 1000, hп = hф; зміщення Z у бік руху свердловинного приладу точок на половині амплітуди аномалії складає менше 10 см.

Для інших значень Vпрτ величини hп, Z i Vj оцінюють за спеціальним графіком.

При hп/dc > 3 контактам пласта відповідають точки на кривій ГК, у котрих приріст аномалій рівний половині її амплітуди.

За даними ГК у породах визначають загальний вміст радіоактивних елементів.

6.3 Інтерпретація кривих ГГК-Щ

Гама-гама каротаж щільнісний (ГГК-Щ). Цей метод є основним при визначенні меж рудних тіл, оскільки щільність апатит-ільменітових руд значно більша, ніж щільність вміщуючих порід.

За матеріалами пошукових робіт (1986-1989 р.р.) проведено співставлення діаграм ГГК з лабораторними даними визначення щільності зразків керну і вмісту двоокису титану в пробах по свердловині № 92. Результати робіт показані на рисунках 6.3.1 і 6.3.5.

Як бачимо, спостерігається обратна залежність інтенсивності розсіяного g-випромінювання Со60 від щільності порід. Пласти гірських порід або рудні тіла підвищеної щільності відображаються на діаграмі ГГК пониженими значеннями інтенсивності розсіяного g-випромінювання. (рис. 6.3.3, 6.3.4). В той же час, спостерігається досить тісний кореляційний зв’язок між вмістом ТіО2 і щільністю габроїдів Носачівського родовища. Залежність між цими параметрами описується рівнянням прямої регресії: у = 0,0259х+2,8746

В найбільш сприятливих умовах практично досягнута точність визначення щільності порід в свердловинах методом ГГК і складає ± 0,03 г/см3, що відповідає приблизно 1% вмісту ТіО2.(рис. 6.3.1) Отже, при розробці родовища, цілком можливо вико-ристання ГГК, як методу експрес аналізу, для визначення щільності порід і, як наслідок, вмісту ТіО2 в свердловинах безкернового буріння. Проте для вирішення цієї задачі є більш ефективні інші ядерно-геофізичні методи. Для визначення вмісту ТіО2 методами ГІС необхідно провести дослідні роботи методами СНГК (спектральний нейтронний гама-каротаж), активаційний спектральний метод.


Рисунок 6.3.2 Діаграма ГГК-Щ в співставленні зі щільністю зразків керну та вмістом TiO2 в габроїдах свердловини №92

Рис. 6.3.5 Залежність інтенсивності розсіяного гамма-випромінювання від щільності порід та вмісту TiO2 по св.№92 інт. 55-320м.

6.4 Інтерпретація кривих МЕП

Методом МЕП визначають місця скупчення вкрапленості сульфідів, графіту (які відзначаються позитивними аномаліями), а також зон тріщинуватості та каверн (негативні аномалії). При запису кривих МЕП, як перешкода, великий вплив має бурове мастило КАВЗ, оскільки воно є діелектриком. Амплітуда аномалії МЕП залежить від співвідношення площ досліджуваного провідника і електрода М.

При рівності обох площ виміряний електродний потенціал практично дорівнює потенціалу сульфіду. Це означає, що метод ЕП впевнено виділяє у свердловині електронопровідні провідники розмірами в декілька сантиметрів. Зі збільшенням площі ковзного електрода величина ΔUеп напроти сульфідного тіла зменшується.

Якщо, наприклад, площа електрода М перевищує площу сульфіду в 100 разів, то цей сульфід на кривій МЕП практично не виділяється. Положення контактів електронопровідного провідника відповідає точкам на серединах різкого збільшення і зменшення електродного потенціалу з боків підошви і покрівлі покладу (А/2).

6.5 Інтерпретація данних свердловинної магніторозвідки

Матеріали магнітної сприйнятливісті порід ( ) симетричні відносно середини пласта і характеризують ступінь насиченості магнітосприйнятливими мінералами гірськи породи (чим більше амплітуда аномаліі тим вище насиченість магнітосприйнятливими мінералами-у конкретному випадку це титано-ільменіт). Межам пласта відповідають точки середини амплітуди аномалії.

Оцінка якості вимірів проводилася за результатами повторних вимірів, а також за характером запису при вході свердловинного прибору в обсадну колону.

Магніторозвідка і метод ГГК-Щ є основними методами для визначення меж апатит-ільменітових руд. Це пояснюється тим, що в рудах є магнітні мінерали. Градуювалась апаратура до і після каротажу тестами з магнітною сприйнятливістю 360х10-6 од. Сі; 600х10-6 од. Сі.

6.6 Інтерпретація даних інклінометрії

Результати точкових вимірів викривлення свердловини представляють у вигляді таблиці кутів, азимутів і дирекційних кутів (при малих кутах викривлення) або у вигляді профілю чи плану свердловини (з додатком таблиці).

Дирекційним кутом називають кут між північним кінцем осьового меридіана (середнього меридіана даної смуги або віссю х географічної координатної сітки даної зони) і заданим напрямом; його відлічують від північного кінця меридіана за стрілкою годинника. Дирекційний кут визначається за формулою

 

α = А + γ D (6.6.1),

де А - магнітний азимут, γ - кут зближення меридіанів - кут між осьовим меридіаном і меридіаном у даній точці, D - магнітне схилення (східне зі знаком „ +”, західне зі знаком „-“). Дирекційний кут може бути як позитивним, так і від’ємним. Значення γ і D указуються на топографічних картах.

Профіль свердловини будують на геологічних розрізах у відповідному масштабі глибин, починаючи з гирла свердловини. При цьому відкладають відстані між точками вимірів під визначеним зенітним кутом, з’єднуючи кінець попереднього відрізка з початком наступного.

При зенітних кутах понад 2о будують план свердловини - проекцію стовбура свердловини на горизонтальну площину. При цьому спочатку задаються орієнтованим напрямом, відносно якого за стрілкою годинника відкладають у кожній точці виміру дирекційний кут (або виміряний магнітний азимут), і на отриманому промені наносять величину проекції інтервалу вимірів у заданому масштабі глибин (переважно 1:200), обчисленої за формулою (…). Побудову плану свердловини починають з її гирла, з’єднуючи кінець попереднього відрізка з початком наступного. З’єднавши точки гирла і вибою, отримують загальне зміщення свердловини від вертикалі і його дирекційний кут. Приклад побудови плану свердловини зображений на рис. 6.6.1.

Рис. 6.6.1 Приклад побудови плану свердловини

Програмне забезпечення гіроскопічних інклінометрів дозволяє оперативно видавати проміжні результати досліджень глибини по вертикалі й кривизни свердловини в графічному й цифровому вигляді.

За результатами точкових вимірів магнітоелектричними і гіроскопичними інклінометрами можна побудувати план свердловини з допомогою комп’ютера за відповідною заданою програмою.

6.7 Інтерпретація данних кавернометрії

 

Кавернограма визначає діаметр свердловини на різних глибинах, це дозволяє визначити місце знаходження башмаку обсадної колони, фільтрів, забезпечити якісну інтерпретацію комплексу методів ГДС , уточнити геологічний розрізу свердловини. Діаметр свердловини котрий відповідає діаметру долота або коронки називається номінальним. Номінальний діаметр відмічається в щільних непроникних породах. Збільшення діаметру- утворювання каверн характерно для глинистих порід і пісковиків,нещільних корінних порід, зменшення - для порід колекторів , в котрі проникає фільтрат бурового розчину. Зменшення діаметру свердловини обумовлене виникненням глинистої кірки на стінках свердловини в результаті фільтрації бурового розчину в пласти.

Кавернометрія проводилася для відбракування аномалій по кривих ГГК-Щ.

6.8 Інтерпретація данних МЕК

Роботи методом електричної кореляції (МЕК) в варіанті “свердловина-поверхня” виконані на родовищі в невеликому обсязі (11 свердловин на пошуковій стадії та 3 свердловини в межах блоку деталізації на стадії розвідки). Обмеженість обсягів робіт, особливо в блоці деталізації, що припадає на село, викликана технічними завадами (електрифікована залізниця, автострада, щільність забудови території) при проведенні електророзвідувальних робіт.

Результати визначення елементів залягання зон підвищеної електро-провідності приведені в таблиці 6.1. Звертає увагу позірна невідповідність в простяганні рудної зони (північно-східне) та зон підвищеної електропровідності (північно-західне субмеридіональне) виявлених МЕК. Це пояснюється тим, що при проведенні робіт, виміри значень градієнту потенціала проводились на профілях, орієнтованих в північно-східному напрямку, що дозволило закартувати окремі рудні тіла, або тектонічні порушення від північно-західного до субмеридіонального напрямків.

Таблиця 6.1 - Елементи залягання зон підвищеної електропровідності.

№ св.

Глибина заряду, м

Азимут профілів, º

Азимут простягання, º

Азимут падіння, º

Кут падіння, º

Опис пройдених порід

1

2

3

4

5

7

76

179.6

102

6 26

276 -

90 90

Інт. 178,0-180,6 м - габро-анортозит круп-нозернистий, катаклазований, окварцований, хлоритизований, безрудний; рудний в інт. вище 175,8-178,4 м, де вміст TiO2 - 5-7%


245.6


22 27

292 297

83 85

В інт. 245,3-246,7 м габро-анортозит розкислений; низькі КО, по МЕП - графіт, сульфіди.

85

157,5

34

314 307

224 217

74 74

Інт. 156,3-158,3 м - змінена порода по габро-анортозитах; вміст TiO2 - 2%. Інт. 158,3-159,6 м - норит змінений зруденілий дрібно-середньозернистий; вміст TiO2 - 4.8%.


198.0


320 312

230 222

72 72

Інт. 198,0-201,7 м - норити сереньозернисті сірі, слабо хлоритизовані; вміст TiO2 - 3.5%.


298.5


330 312

240 222

68 66

Інт. 297,5-300,0 м - норит олівінвмісний дрібно-середньозернистий, з вмістом TiO2 - 5%; до глибини 359,5 м норит з вмістом TiO2 - 5,0-6,8%. Глибина свердловини 522,0 м.

86

112.0

59

315

225

50

Інт. 109,6-112,0 м - анортозит крупнозернистий, по тріщинам хлоритизований; вміст TiО2 - 2.1%.


159.0


302

212

78

Інт. 158,4-160,9 м - анортозит крупно-середньозернистий карбонатизований, окварцований; вміст TiO2 - 1,3%.

86

295.0

59

301

211

46

Інт. 292,0-295,5 м- анортозит середньо-крупнозернистий слабо сосюритизований, карбонатизований; вміст TiO2 - до 1%. Безрудні зони тріщинуватості пов’язані з розломом.

87

108.0

61

344 303

254 213

69 69

Інт. 105,0-106,8 м - норит лейкократовий середньо-дрібнозернистий, вміст TiO2 - 21,7%; КО менше 1000 Ом м в інт. 105,6-108,0 м. Заземлення на 1 м нижче богатих руд і максимума провідності.


136,0


330 311

240 221

55 55

В інт. 134,8-135,6 м по КО зона зниженого опору, в інт. 135,3-137,5 м за ГГК - руда (6,35% TiO2), лейко-норити дрібнозернисті, сосюритизовані. Заземлення в підошві провідної верстви.

92

96,0

60

335

245

31

Інт. 92,2-98,2 м - контакт габро-анорто-зита з норитом олівіновим світло-сірим дрібнозернистим; за КО - 400 Ом м зона зниженого опору; заряд - в підошві рудних норитів 7,7% TiO2).


146,0


333

243

22

Інт. 144,2-147,3 м - норит рудний сірий дрібно-середньозернистий окварцований, 25-30% TiO2; низькі КО (менше100 Ом м) в інт. від 134,0 до 158,0 м.


222,0


333

243

38

Інт. 221,1-222,5 м - норит дрібнозернис-тий, TiO2 - 6-8%; низькі КО (< 400 Ом м).

115

115.0

59

348 330

258 240

63 63

В інт. 98,0-125,0 м - рудна зона в норитах з вмістом TiO2 - 4-5%.


185.0


335 314

245 224

31 29

Інт. 164,0-197,0 м - кварцовий андезиніт, який складається майже з одного плагіок-лазу, безрудний, зустрічаються одиничні зерна ільменіту.


216.0


326 311

236 221

28 29

Інт. 197,0-498,0 м - габро-анортозит середньозернистий катаклазований, подрібнений, світло-сірого кольору, плямистий, безрудний.

117

110.0

73

349 341

259 251

66 66

До 115,5 м анортозит світло-сірий, змінений, вміст TiO2 - до 1%.


154.0


352 345

262 255

64 64

Інт. 115,5-201,5 м -норит олівіновий монцонітизований темно-сірий дрібнозернистий, рудний; TiO2 - 4%.

117

207.0

73

350

260

32

Інт. 201,7-285,5 м - анортозит світло-сі-рий крупнозерн. безрудний (< 0,5% TiO2).

119

110.0


352 325

262 235

76 76

Інт. 65,1-115,7 м - габро-анортозит середньозернистий подрібнений, катаклазований, слабо хлоритизований, лімонітизований, окварцований, слабо розкристалізований, вміст TiO2 - 1%.


150.0


343 338

253 248

71 71

Інт. 150,2-207,0 м - норит монцонітизований, меланократовий, олівінвмісний, вміст TiO2 - 2-3%.


210.0


354

264

45

Інт. 207,0-230 м - норит монцонітизований, меланократовий, олівінвмісний, вміст TiO2 - 4-5%.

116

107.0

52

329 320

239 230

80 80

Інт. 95,3-125,8 м - анортозит зеленувато-сірий середньо-крупнозернистий калі-шпатизований, окварцований, безрудний (0,4% TiO2); в інт. 97,4-99,3 м - виві-трелий; в інт. 127,1-136,3 м - жили руд з вмістом TiO2 до 26%.


169.0


320

230

74

В інт. 163,1-170,8 м - анортозит сірий щільний середньозернистий калішпати-зований безрудний (до 0,5% TiO2).


198.0


322

232

73

Інт. 194,8-199,5 м - норит дрібнозернистий сірий, з одиничними лусками бурого біотиту, TiO2 - 4,6%; в інт. 199,5-199,85 м - TiO2 -23,4%, а в інт. 199,8-200,4 м - TiO2 - 6,6%.

118

135.0

61

353 311

263 221

73 77

Інт. 130,9-142,5 м - габро-анортозит темно-сірий середньозернистий, спорадично зустрічаються зерна кварцу у вигляді «вічок». Зона провідности - в габро-анортозитах можливі сульфіди, графіт. Різкий пік за МЕП КО (500 Ом м на фоні 4-5 тис. Ом м). В інт. 135,4-135,7 м; 135,9-136,5 м TiO2 - 2%.


186.0


336 318

246 228

57 58

В інт. 186,4-187,4 м знижений КО до 1000 Ом м на фоні 3-4 тис. Ом м в норитах олівінових темно-сірих дрібнозернистих біотитвмісних, TiO2 - 5%.

118

221.0

61

326 318

236 228

55 57

Інт. 220,2-221,4 м - норит олівіновий темно-сірий дрібнозернистий з бідним апатит-ільменітовим зруденінням, (TiO2 - 4%); зона зниженого опору (КО біля 1000 Ом м на фоні 2000 Ом м).

121

146.0

68

353 342

263 252

53 53

До глибини 202,9 м норит монцонітизований світло-сірий середньозернистий слабо зруденілий тонким ільменітом по всій масі породи, вміст TiO2 - 4,5%.


212


325 316

235 226

25 25

В інт. 202,9-307 м - анортозит строкатий катаклазований середньо-крупнозерни-стий ділянками змінений, TiO2 - 1,5%. Слабо виражений перехід градієнт-по-тенціалу через «0» визначається не впевненно.

1801

100

60

16 8

286 278

53 53

В інт. 100,0-102,8 м жила дуже богатих руд, виділених за ГГК-Щ (max в інт. 100-101,8 м); æ - 350 од.; КО - 50-100 Ом м (інт. 100,0-103,0 м); МЕП до 80mV (інт. 100,0-101,4 м). В інт. 100,0-117,8 м рудна зона: норити з вмістом TiO2 - 10,3-21,6%

1902

130

40

320 330

50 60

84 84

Богаті руди в рудній зоні (інт. 122,0-169,7м) за ГГК-Щ (інт. 122,0-144,5 м), æ - 250-600 од. (інт.122,0-144,5 м) та зона низьких опорів (КО - 100-400 Ом м) в інт. - 123,3-145,2 м; в інт. 124,2-130,8 м æ максимальна.

2003

125

40

347 337

77 67

58 58

В інт. 112,1-440,0 м знижене КО (500-600Ом м); max ГГК-Щ (інт. 124-126,4 м), підвищене значення æ (200-350 од.) в інт. 115,0-129,0 м; рудна зона в норитах (інт. 111,9-163,2 м TiO2 - 10,7-36%), а в інт. 124,5-126,6 м - TiO2 - 25,4-27,6%.


Метод заряду, проведений в площинному варіанті при заземленні в рудні тіла в свердловинах № 65 та № 92, коли профілі спостережень на денній поверхні були орієнтовані на північний захід, показав дійсний північно-східний напрямок простягання рудної зони в цілому, що підтверджено геологічними даними.

Метод електричної кореляції в варіанті “свердловина-свердловина” також виконаний в обмежених обсягах через те, що більшість свердловин пробурені на приватних городах і виявилися недоступними для подальших досліджень через їх ліквідацію, згідно договору, відразу після закінчення буріння та каротажу.

На стадії пошуків МЕК проведено в свердловинах №№ 04-05 та 012-013; за звітний період - в 9-ти свердловинах (№№ 1601-1604, 1702-1704, 1902-1903).

Основні обсяги робіт виконано з метою кореляції рудних перетинів. Незалежно від абсолютного значення співпадання максимуму кривої потенціалу з рудним інтервалом вважається доказом суцільності зруденіння, що загалом не завжди вірно. При зарядженому квазіеквіпотенціальному провіднику в місці його перетину іншою свердловиною значення потенціалу завжди буде максимальним. Проте, максимум потенціалу спостерігається також при перетині усамітненого незарядженого провідника, що знаходиться між джерелом струму і профілем спостереження.

Дані для висновку про ступінь електричного зв’язку між рудними інтервалами, що використовуються для характеристики суцільності зруденіння, отримувались шляхом послідовних вимірів по одній із свердловин при зарядах в рудні інтервали інших свердловин, або шляхом прямих і зворотних вимірів між двома свердловинами.

Розподіл потенціалу не змінюється при розташуванні джерела струму в різних місцях в одному і тому ж еквіпотенціальному рудному тілі.

На рисунках у вигляді графіків потенціалу відображені результати кореляційних спостережень в свердловинах, що знаходяться на профілях №№ 16, 17, 19.

Найбільш повно роботи проведені по лінії розрізу № 16 (рис. ). За наведеними вище ознаками рудні інтервали в свердловинах 1601 → 1602 → 1603→ 1604 чітко ув’язуються між собою за даними прямих і зворотних вимірів, а місцеположення максимуму потенціалу по св. № 1604 не змінюється при розміщенні джерела струму (зарядів) в інших свердловинах. Це свідчить, що рудні інтервали корегуються між собою і належать до одного рудного тіла.

В той же час значення потенціалу в св. №№ 1601, 1602 значно вищі ніж в св. №№ 1603, 1604. Така різка зміна потенціалу характерна для перетину свердловиною рудного тіла недалеко від його кінця. Найбільше значення потенціалу в свердловині № 1602 може свідчити про порушення суцільності рудного тіла в проміжку між свердловинами №№ 1602 та 1603, що може бути спричинене розломом зі зміщенням, або кулісоподібним заляганням окремих прошарків багатих руд в межах одного рудного тіла.

Між лініями розрізів рудні тіла ув’язуються в свердловинах №1603-1903, 1703-1902, 1704-1902, 1704-1903 (рис. 2.72-2.76).

Сукупна обробка даних каротажу та МЕК дає можливість провести ідентифікацію рудних тіл, а за даними буріння визначити елементи залягання пласта при його перетині трьома свердловинами, які не лежать на одній прямій. Так підрахунки елементів залягання для рудного тіла, що розкрите свердловинами:

№№ 1603 (гл. 166,0 м, альтітуда - 13,3 м), 1704 (гл. 171,0 м alt -26,0 м), 1903 (гл. 131,0 м alt + 26,4 м) дають простягання 83º, азимут падіння 173º, Ð23º. Для цього ж рудного тіла перетнутого свердловинами №№ 1704 (гл. 171,0 м alt -26,0 м), 1902 (гл. 130,0 м, alt + 33,4 м), 1903 (гл. 131,0 м alt + 26,4 м) - простягання 95º, аз падіння 185º Ð22º. Близькі значення елементів залягання підраховані за двома варіантами підтверджують достовірність ув’язки рудних інтервалів методом електричної кореляції.

Рис. 6.8.1 Результати робіт методом електричної кореляції по профілю №16.

Рис. 6.8.2 Результати МЕК по профілю №17 (умовні позначення на рис. 6.8.1)

Рис. 6.8.3 Результати МЕК по профілю №19 (умовні позначення на рис. 6.8.1)

 

Рисунок 6.8.4 Результати МЕК в свердловинах між профілями № 16-19

Рисунок 6.8.5 Результати МЕК в свердловинах між профілями № 16-17

родовище інтрузія норит свердловина

Рисунок 6.8.6 Результати МЕК в свердловинах між профілями № 17-19

Рис.6.8.7 Результати МЕК між свердловинами №1704 та 1903 .

Результати робіт МЕК, хоча через певні причини вони виконані в явно недостатньому обсязі, підтверджують досить високу ефективність методу при вивченні структури рудних покладів та ув’язки рудних інтервалів при геологічних побудовах.

7. ОХОРОНА ПРАЦІ І НАВКОЛИШНЬОГО СЕРЕДОВИЩА

Охорона праці - це система правових, соціально-економічних, організаційно-технічних, санітарно-гігієнічних і лікувально-профілактичних заходів та засобів, спрямованих на збереження здоров‘я та працездатності людини в процесі праці. [13]

 

7.1 Виробнича санітарія


Всі робітники перед виїздом на полігон повинні пройти медичне обстеження і при необхідності зробити профілактичні щеплення для уникнення інфекційних захворювань. Окрім того, для робітників проводиться інструктаж з питань санітарії та гігієни. До польових робіт не допускаються особи, котрі мають виразкові захворювання, захворювання крові, нирок, глаукомою, психічні захворювання, а також травматичні ушкодження.

Не дозволяється приймати на роботу в польові партії осіб віком до 16 років, а при проведенні робіт у пустелях, напівпустелях, ненаселених і тундрових місцевостях - до 18 років. Кожен робітник повинен вміти надавати першу медичну допомогу.

Особливо слід приділяти увагу профілактиці різних захворювань (енцефаліт, малярія, бруцелез тощо). [13]

У польовому підрозділі повинні суворо виконуватись вимоги санітарії і особистої гігієни. Місце стоянки і житлові приміщення слід тримати в чистоті. Для сміття необхідно видіілити спеціальне місце на відстані не ближче 50 м від житлових приміщень.

 

7.2 Техніка безпеки при проведенні ГДС

 

1. ГДС проводиться у спеціально підготовлених свердловинах.

. Забороняється монтаж геофізичної апаратури на свердловині без підпису акту готовності до ГДС, що підписується геологом, буровим майстром та начальником каротажного загону. В акті вказуються відомості про конструкції свердловини, промивальну рідину, роботи по підготовці свердловини, про особливі умови проведення робіт.[18]

3. Підготовка до ГДС. Свердловина повинна забезпечувати спуск і підйом кабелю протягом часу, необхідного для проведення всього комплексу ГДС.[9]

4. Бурова повинна мати під‘їзні шляхи, що забезпечують безперешкодний під‘їзд до бурової і каротажної станції, горизонтальну робочу площадку з містком для установки каротажних автомобілів. Всі сторонні предмети між робочою площадкою і гирлом свердловини повинні бути прибрані, щоб забезпечити пряму видимість між гирлом і каротажною станцією.

. Бурова лебідка і її привід під час ГДС повинні бути справні. Буровий інструмент і інвентор розташовують так, щоб не було перешкод під час ГДС. Підключення каротажної станції і підйомника до силової мережі здійснює електромонтер під наглядом начальника каротажного загону. Напруга в електромережі не повинна перевищувати 380 В. При відсутності електромонтера підключення здійснює спеціально-проінструктований працівник під наглядом начальника загону або сам начальник. У нічний час бурова повинна підсилено освітлюватись. Під час ГДС до робіт може залучатись бурова бригада.

Під час проведення ГДС на буровій забороняється:

. Ремонт бурового обладнання без дозволу начальника каротажного загону.

. Вмикати без дозволу бурову лебідку та інші силові агрегати.

. Переносити і пересувати по підлозі бурової важкі предмети і бурове обладнання поблизу з‘єднувальних проводів каротажної станції.

. Ходити по кабелях і проводити електрозварювальні роботи в радіусі 400 м.

Підготовчі роботи на свердловині.

По прибутті на свердловину начальник загону виясняє у бурового майстра стан свердловини. Якщо бурова і свердловина підготовлені до каротажу з вимогами технічної інструкції , то начальник загону дає дозвіл на розгортання лабораторії та підйомника.

Підйомник і лабораторія встановлюється на горизонтальній площині поблизу гирла свердловини на відстані, що перевищує 1,5 висоту бурової вишки.

Автомобіль підйомника ставлять на гальма, під колеса підкладають клинки, щоб вона не зрушила у випадку прихвату. Лабораторію і підйомник заземлюють. У якості заземлення використовують контур бурової або металічний стержень, що вбитий у вологий грунт на глибину не менше 0,5 м. Після цього електромонтер бурової або начальник загону під‘єднує лабораторію до мережі з напругою не більше 380 В. Підключення до мережі виконують тільки тоді, коли роз‘єм на котушці з‘єднаний, вилка на силовому блоці лабораторії встановлена у положення, що відповідає напруженню в мережі, а вимикач лабораторії вимкнений. У холодну пору року лабораторію вмикають на підігрів.

Над гирлом свердловини встановлюють і закріплюють блок-баланс, таким чином, щоб площина його ролика проходила через середину барабана лебідки і кабель опускався по вісі свердловини.

Спуско-підйомні операції у свердловині зручно виконувати через підвісний блок, так як у цьому випадку виключається необхідність у багатократному залученню бурової бригади для спуску у свердловину і підйому на поверхню різних приладів, виключається зіскакування кабелю з блок-балансу і проходить вихід свердловинного приладу або кабельного наконечника на блок-баланс.

На блок-баланс надівається датчик глибин таким чином, щоб при спуску кабелю лічильник глибин станції і підйомника збільшували свої показання. При вимкненому живленні панелі контроля коротажу датчик глибин під’єднують відповідними кабелями до лабораторії і підйомника.

За тим перевіряють опір ізоляції жил кабелю, при необхідності продзвонюють колекторний провід і з‘єднують ним колектор лебідки з вимірювальною схемою лабораторії або панеллю керування свердловинного приладу. Збирають необхідні схеми вимірювань, готовлять до роботи апаратуру станції, перевіряють на поверхні працездатність свердловинних приладів, виконують необхідні перевірки, калібрування.

Упевнившись в нормальній роботі апаратури, зонд або прилад опускають у свердловину; на блок-балансі або на роторі, поближче до кабелю (при роботі з підвісним блоком) встановлюють магнітний міткоуловлювач і підключають його до датчика глибин. При знаходженні кабельного наконечника або першої мітки на кабелі навпроти точки відліку глибин на механічному лічильнику глибин каротажної станції встановлюють відповідно нульові показання або ціну першої мітки

 

7.3 Техніка безпеки при спуско-підйомних операціях (СПО)


При під‘єднанні СП і вантажів до кабелю роблять послаблення кріплення, котре не повинне перевищувати 2/3 розривного зусилля кабелю. СП і вантажі масою більше 40 кг і довжиною більше 2 м незалежно від маси спускають у свердловину за допомогою бурової лебідки каротажного підйомника. [13].

При проведенні СПО забороняється нахилятись під кабелем, переходити через нього і під ним, братись за кабель руками, поправляти сигнальні мітки під час прихвату кабеля, виконувати його ремонт.

При підході СП до гирла свердловини машиніст підйомника повинен уважно слідкувати за командами і діями співробітника, що стоїть на гирлі, щоб у будь-який момент зупинити підйом. Для запобігання аварій необхідно дотримуватись таких умов:

. Контролювати рух кабелю по лічильнику і попереджувальних мітках (датчику магнітних міток).

. Машиніст лебідки повинен уважно слідкувати за кабелем при його виході із свердловини і за сигналом з гирла.

. Контролювати перед кожним спуском положення попереджувальних міток. Правильно вкладати кабель на барабан.

Якщо кабель не спускається під дією ваги, то спуск виконують за допомогою задньої швидкості двигуна.

На кабель обов‘язково наносяться 3 попереджувальні мітки: 1-а за 100 м до кабельного наконечника, 2-а за 50 м, 3-а за декілька метрів. При появі 3-ї мітки підйом кабеля припиняється незалежно від того, чи була команда „стоп”. На кабелі після першого спуску наноситься мітка вибою і при її появі під час спуску швидкість зменшується до 250 м/год. Також швидкість знижується до 250 м/год. При підході СП до башмака колони. Установка приладів на забій здійснюється зі швидкістю не більше 50 м/год. Тривалість перебування приладу на вибої не більше 2 хв.

Швидкість спуску кабеля не повинна складати більше 5000 м/год і зменшується на інтервалах можливої аварійної зупинки кабеля. Ці інтервали вказують в акті готовності свердловини до ГДС.

Потрібно уважно слідкувати за спуском, щоб при ратовій зупинці СП не допустили перепуску кабелю, що може призвести до утворення на кабелі вузлів і виникнення аварій, особливо це стосується нових кабелів.

У свердловинах, глибина яких перевищує 1500 м необхідно працювати з датчиком натягу. Довжина кабелю на барабані не повинна значно перевищувати глибину свердловини, що досліджується. На барабані повинно залишатись не менше половини витків останнього шару кабелю.

Підйомник встановлюється на ручне гальмо, під заднє колесо підставляється опора. Щоденно перед початком робіт перевіряється гальмівний механізм лебідки.

Під час роботи підйомника забороняється його лагодити, закріплювати, змащувати ті частини, що рухаються, знімати захисні засоби, надівати, скидати чи послаблювати ременеві чи ланцюгові передачі, гальмувати частини механізмів, що рухаються за допомогою сторонніх предметів або безпосередньо руками та ногами, заправляти двигун пальним. Стороннім особам забороняється перебувати в лебідочному відділенні під час роботи.

Забороняється користуватись лебідкою з несправною гальмівною системою при відсутності захисних огорож. Забороняється укладати кабель руками або крючком при глибинах більше 2000 м.

При укладанні кабелю крючком швидкість повинна складати не більше 4000 м/год., при цьому лебідник повинен бути на відстані не менше 2 м від кабелеукладчика. Вихлопні гази двигуна не повинні проникати в кабіну водія, лебідника чи лабораторії.

7.4 Техніка безпеки при роботі з електрообладнанням


При роботі на буровій забороняється користуватися напругою більше 380 В. Лабораторія і підйомник обов‘язково заземлюються до контуру бурової, опір заземлення не повинен перевищувати 4 0м.

Перехідний опір повинен бути не більше 0,1 Ом. Заземлення робиться гнучкими дротами, для заземлення використовують неізольований мідний дріт з поперечним перерізом 4 мм або ізольований - 1,5 мм.

Опір дроту заземлення не більше 10 м. При відсутності контуру бурової заземленням служить металічний стержень, забитий на глибину не менше 0,5 м. [13]. Кабель живлення розташовується в безпечних місцях, де він не може бути випадково пошкоджений. Кабель підвішують на підставках (козлах) на висоті не менше 0,5 м.

Забороняється наступати на кабель, класти на нього речі, доторкатись до нього, коли він під напругою. Підключати кабель до джерела живлення дозволяється тільки після заземлення всіх агрегатів.

Машиніст, що працює на лебідці з електроприводом, при підвищеній вологості повітря повинен бути в гумових чоботях і рукавицях. Персонал повинен бути попереджений про ввімкнення струму.

7.5 Охорона довкілля. Заходи запобігання забруднення навколишнього середовища


Заходи, спрямовані на запобігання шкідливого впливу геофізичних робіт і збереження корисних копалин, включають роботи по відновленню первинних умов у надрах, порушеннях у результаті геофізичних виробок - свердловин, шахт тощо. Зміст даних робіт визначається видом виробок і в основному зводиться до їх ліквідації. [13]

Заходи охорони грунту складаються з ліквідації наслідків геофізичних робіт на поверхні землі та рекультивації сільськогосподарських земель. Після закінчення робіт необхідно проводити прибирання та утилізацію всіх залишків матеріалів, вирівнювання робочих майданчиків і відновлення грунтів.

Геологічні партії та загони систематично зобов‘язані впроваджувати заходи щодо охорони повітряного середовища шляхом скорочення об”ємів робіт з використанням установох з двигунами внутрішнього згорання і їх змінами на електродвигуни

8. РЕЗУЛЬТАТИ РОБІТ

В процесі інтерпретації матеріалів каротажу була розроблена принципова схема кореляційних побудов, яка складалась з цілої низки положень:

.         Вибираються репери, які присутні у всіх геологічних розрізах, скритих свердловинами (наприклад, у нашому випадку це: шар крейди Сеноманського періоду смілянської товщі K1sm, мергель Палеогенового періоду P2kv, товща строкатих глин Неогенового періоду N1sg) та інші.

.         Абсолютні значення фізичних параметрів окремих частин розрізу повинні співпадати в визначених межах.

.         Діаграми фізичних параметрів додержують певну послідовність змін за розрізом.

.         По свердловинах рудні поклади і тіла найбільш достовірно відображені на діаграмах ГГК-Щ, які за щільнисними змінами речовинного складу порід і руд досягнута точність визначення щільності порід в свердловинах ± 0,03 г/см3, що відповідає приблизно 1% вмісту ТіО2

.         Виявлені закономірності, що особливо стосуються осадових порід простежуються від однієї свердловини до іншої закономірно.

Додержується несуперечність кореляційних побудов загальним принципам геологічної будови досліджуємої території.

Використовуючи вищевикладені основні принципи кореляційних побудов і проаналізувавши каротажні матеріали як в окремих свердловинах так і по площі, були побудовані кореляційні розрізи, які відобразили принципову схему розповсюдження основних геологічних утворювань на території аркушу М-36-XXVI. Виявлені геофізичні репери (шар крейди Сеноманського віку смілянської товщі K1sm, мергель Палеогенового віку P2kv та інші), які простежуються на відстані в кілька десятків кілометрів. На побудованих кореляційних розрізах показано розповсюдження або виклинювання окремих горизонтів, зміни в їх потужності. Співставлення побудованих кореляційних реперів з геологічним описом свердловин дозволило окремі кореляційні осі ув'язати з стратиграфічними підрозділами.

Використовуючи кореляційні розрізи та їх співставлення з геологічною інформацією, були побудовані схематичні геолого - геофізичні розрізи за профілями . Ні в якому разі не претендуючи на можливість складання геологічного розрізу тільки за даними каротажу, можна стверджувати, що геолого - геофізичні розрізи представляють собою перше наближення до відображення дійсної геологічної будови досліджуємої території. Такі геолого - геофізичні розрізи представляють додатковий інтерес ще і тому, що при їх побудові використовується незалежна геофізична інформація. Вони в подальшому можуть бути використані як одне з обгрунтувань при побудові геологічних розрізів.

В результаті виконання геофізичних досліджень в свердловинах були вирішені наступні геологічні задачі:

.         Проведено узагальнення матеріалів каротажу, виконаних різними виконавцями в попередні роки.

.         Побудовані схематичні геолого - геофізичні розрізи.

.         Виконано літологічне розшарування розрізу свердловин.

.         Геофізичні репери ув'язані з стратиграфічними границями.

.         Побудовані зведені “Планшети” за всіма дослідженими свердловинами, на яких показані фактичні дані геофізичних досліджень та результати їх геологічної інтерпретації.

.         Побудовані за даними каротажу кореляційні схеми, які показують загальні риси геологічної будови досліджуємої території.

ВИСНОВКИ

Таким чином, в результаті проведених досліджень був сформований раціональний комплекс методів ГДС, який дозволив вирішити вище приведені задачі при розвідці Носачівського апатит-ільменітового родовища:

завірка літологічної будови розрізу геофізичними методами і контроль виконання бурових робіт;

визначення меж рудних тіл;

попутні пошуки радіоактивної сировини;

- визначення просторового положення стволів свердловин.

Завдання вирішувалися комплексом методів: стандартного каротажу (методами УО; ПC); ГК; ГГК-Щ; МЕП; каротаж магнітної сприйнятливості (ǽ ), інклінометрія, кавернометрія. В процесі роботи були виконані всі геологічні задачі передбачені комплексом геофізичних досліджень в свердловинах.

список ВИКОРИСТАНОЇ літератури

1.  Байсарович М.М., Бєланов В.М. та ін.Атлас “Геологія і корисні копалини України“ - К.: ІГН НАН України, УІЦПТ “Геос-ХХІ століття“, 2001.

2.       Байсарович М.М., Кендзера О.В. та ін. Атлас “Літосфера України“- К.:тов. “Географіка“, 2005.

3.  Барыбина З. , Лаврик В. Гидрогеологическая карта масштаба 1:200000, Центральноукраинская серия, лист М-36-XXVI . - К., 1976.

4.       Болобах К. Геологическое строение Корсунь-Новомиргородского плутона по данным геофизических и геологических исследований - Геофизич. сб., вип. 30, 1969. - 80-96 с.

5.       Вернидуб А.Ю. Отчёт о поисках коренных апатит-ильменитовых руд на Новомиргородском, Канижском, Аврамовском, Константиновском и др. участках - К., 1994.

.         Вернидуб А.Ю. и др. Отчёт по поисково-оценочным работам на коренные апатит-ильменитовые руды Носачёвского рудопроявления Корсунь-Новомиргородского плутона - Черкассы, 1996.

7.       Видоменко Х.Р. Геологическая карта Днепровско-Донецкой впадины масштаба 1:50 000. - 1955.

.         Геофизические методы исследования скважин. Справочник геофизика. М., Недра, 1983.

9.       Геологическая карта СССР масштаба 1:200 000. Серия Центральноукраинская серия, лист М-36-XXVI. - К., 1974.

.         Гидрогеологическая карта СССР масштаба 1:200 000. Серия Центральноукраинская серия, лист М-36-XXVI. - К., 1976.

.         Дьяконов Д.И., Леонтьев Е.И., Кузнецов Г.С. Общий курс геофизических исследований скважин. М., Недра, 1984.

.         Заворотько Ю.М. Геофизические методы исследования скважин. М., Недра, 1975.

13.     Кабанцев А.И., Бочаров А.И. Охрана труда на геолого-разведочных работах. М.,Недра, 1986.

.         Ковалев Б.С., Козловская А.Н. Государственная геологическая карта СССР масштаба 1:1 000 000 листа Лист Центральноукраинская серия, лист М-36-XXVI Госгеолтехиздат, 1957.

15.     Латышова М.Г., Вендельштейн Б.Ю., Тузов В.П.. Обработка и интерпретация материалов геофизических исследований скважин. М., Недра, 1975.

16.     Померанц Л.И., Чуркин В.Т. Аппаратура и оборудование ГИС. М., Недра, 1978.

.         Толстой М.І., Гожик А.П., Рева М.В., Степанюк В.П., Сухорада А.В. Основи геофізики. К., 2006.

.         Хаматдинова Р.Т. Техническая инструкция по проведению геофизических исследований и работ.- М., 2001

Похожие работы на - Обґрунтування комплексу методів геофізичних досліджень свердловин при розвідці Носачівського апатит-ільменітового родовища

 

Не нашли материал для своей работы?
Поможем написать уникальную работу
Без плагиата!
Без нейросетей!