Проект реконструкции кислородно-конвертерного цеха №1 ОАО 'Евраз ЗСМК'
Аннотация
Ласкин А.А. Проект реконструкции
кислородно-конвертерного цеха №1 ОАО «Евраз ЗСМК» с целью улучшения качества
металлопродукции. Дипломный проект по специальности «Металлургия черных
металлов» специализации «Металлургия стали» (110102).
Целью реконструкции кислородно-конвертерного
цеха №1 (ККЦ-№1) ОАО «ЕВРАЗ ЗСМК» является повышение качества выплавляемой
стали. Проектом реконструкции предусматривается внедрение комплекса мероприятий
по совершенствованию технологии внепечной обработки и разливки стали: установка
трайб-аппаратов для ввода порошковой проволоки на установках доводки металла
(УДМ), установка системы для отсечки шлака, замена футеровки в шлаковом поясе.
Капитальные затраты потребуются при установке трайб-аппаратов и системы отсечки
шлака.
Annotation
A.A. The project of reconstruction
of oxygen and converter shop № 1 of JSC ZSMK Evraz for the purpose of
improvement of quality of steel products. The degree project in
"Metallurgy of ferrous metals" specializations "Steel
metallurgy" (110102). Novokuznetsk, 2013. - pages 175, tables 29,
illustrations 32, sources 31, drawings 8.purpose of reconstruction of oxygen
and converter shop № 1 (KKTs-№1) of JSC «ZSMK EVRAZ» is improvement of quality
of melted steel. The project of reconstruction provides introduction of a
complex of actions for improvement of technology of extra oven processing and
steel pouring: installation of trayb-devices for input of a powder wire on the
installations of operational development of metal (IODM), system installation
for a slag cut-off, lining replacement in a slag belt. Capital expenditure be
required at installation of trayb-devices and systems of a cut-off of slag.
Введение
В основных направлениях экономического и
социального развития в черной металлургии предусмотрено обеспечение прироста
производства стального проката без роста выплавки чугуна при снижении его
расхода, а также дальнейшее расширение производства конвертерной стали.
Планируемое улучшение структуры сталеплавильного производства, наращивание мощностей
конвертерного производства, характеризующегося более высоким удельным расходом
жидкого чугуна на получение стали, делает особенно актуальными проблемы
экономии чугуна и снижения его расхода путем улучшения тепловой работы
конвертеров, замены его в шихте металлоломом.
Комплексное применение методов понижения доли
чугуна и увеличения доли металлического лома в шихте конвертеров основан на
предварительном подогреве лома перед заливкой чугуна.
Увеличение расхода лома в конвертерном
производстве стали приобретает все большее значение как в нашей стране, так и
во многих индустриально развитых странах, в связи с ростом металлофонда,
выводом из эксплуатации мартеновских печей и возможностью использования
амортизационного лома.
Целью настоящего дипломного проекта является
реконструкция ККЦ №1 ОАО «ЕВРАЗ ЗСМК» с целью повышения качества выплавляемой
металлопродукции.
1. Общая часть
.1 История ОАО «ЕВРАЗ Объединенный
Западно-Сибирский металлургический комбинат»
Первого июля 2011 года создано ОАО «ЕВРАЗ
Западно-Сибирский металлургический комбинат», в состав которого вошли два
комбината - ОАО «НКМК» и ОАО «ЗСМК».
Решение об объединении ОАО «НКМК» и ОАО «ЗСМК» в
одно предприятие было продиктовано рядом причин, таких как необходимость
повышения конкурентоспособности предприятий, снижения производственных
издержек, управленческих и административных затрат, формирование единой
корпоративной культуры, единого стандарта в области управления персоналом и
социальной политики.
) История Новокузнецкого Металлургического Комбината
началась со строительства гиганта советской индустрии - Кузнецкого
металлургического комбината (КМК), который был возведен за 1000 дней. В июне
1929 года начались первые земляные работы на площадке Кузнецкстроя, а уже в
апреле 1932 года был получен первый чугун. 30 декабря 1932 года были прокатаны
первые рельсы Сибири. Так впервые в мировой практике металлургический цикл
замкнулся за один год.
- 1940 годы - идет формирование «кузнецкой
металлургической школы» под руководством главного инженера Кузнецкстроя Ивана
Павловича Бардина. Осваиваются новые производственные мощности, технологии,
зарождаются и укрепляются традиции рационализаторства, изобретательства,
трудовых соревнований. Мощность завода по сравнению с проектной увеличена в 1,5
раза.
В годы Великой Отечественной войны перед
Кузнецким металлургическим комбинатом поставлена задача стратегической
важности: наладить производство броневой стали, броневого листа, качественных и
легированных профилей проката. С поставленной задачей кузнецкие металлурги
справились в рекордно короткие сроки. Уже в июле 1941 года на комбинате был
получен первый броне металл.
За успешное выполнение заданий Государственного
Комитета Обороны по обеспечению страны высококачественным металлом для
производства танков, самолетов, вооружения и боеприпасов в годы Великой
Отечественной войны КМК награжден: 10 апреля 1943 года - орденом Ленина; 31
марта 1945 года - орденом Трудового Красного Знамени; 13 сентября 1945 года -
орденом Кутузова 1 степени.
февраля 1971 года КМК награжден орденом
Октябрьской Революции за большие достижения в выполнении пятилетнего плана по
увеличению выпуска металла на действующих мощностях и в повышении эффективности
производства.
-1980 годы - кузнецкие металлурги устанавливают
трудовые рекорды, добиваясь по ряду производств наивысших показателей в истории
советской металлургии. Благодаря таланту и самоотверженному труду инженеров и
рабочих комбинат в четыре раза превысил свою проектную мощность.
В сентябре 1984 года отгружены последние рельсы
для соединения трассы БАМа. Кузнецкие металлурги получили почетное право
укладки «Золотого звена» Байкало-Амурской магистрали.
В 1992-1993 годах была осуществлена приватизация
КМК, комбинат был преобразован в акционерное общество открытого типа «Кузнецкий
металлургический комбинат».
В 1998 году на комбинате вводится внешнее
управление, в ходе которого были предприняты меры для экономического
оздоровления КМК. Однако общая сложная ситуация, кризис на мировом рынке
металлопродукции не позволили в полной мере восстановить платежеспособность
предприятия.
В 2003 г. по окончании конкурсного производства,
основные цеха и подразделения КМК были объединены в рамках ОАО «НКМК».
Новокузнецкий металлургический комбинат стал частью крупнейшей российской
горно-металлургической группы «ЕвразХолдинг». Функции единоличного
исполнительного органа были переданы управляющей организации ООО
«ЕвразХолдинг».
мая 2003 г. на Международной выставке-ярмарке
«Экспо-Сибирь» продукция комбината НКМК удостоена Золотой медали.
октября 2003 г. вступил в строй действующих
агрегат комплексной обработки стали (АКОС) в ЭСПЦ.
октября 2003 г. РБЦ впервые прокатаны 130 тонн
трубной заготовки диаметром 120 мм.
В августе 2004 г. на НКМК освоено производство
нового вида рельсов - заэвтектоидных, обладающих повышенной
износоустойчивостью, предназначенных для кривых участков пути малого радиуса.
В декабре 2004 г. в ЭСПЦ после модернизации
запущена в производство электродуговая печь №2 с эркерной подиной.
В октябре 2005 г. введена в эксплуатацию
газоочистка электродуговой печи № 2 в ЭСПЦ.
В феврале 2006 года в головной части
рельсобалочного цеха введена в строй нагревательная печь с шагающими балками
фирмы Techint. Она позволила обеспечить работу ЭСПЦ и рельсобалочного цеха в
единой связке и коренным образом изменила структуру производства, улучшила
качество рельсовой продукции.
В январе 2007 г. введен в эксплуатацию цех
разделения воздуха, который позволил полностью обеспечить комбинат кислородом и
азотом собственного производства.
В марте 2008 года начал работу ковшевой
вакууматор в ЭСПЦ, ввод в строй которого позволил значительно повысить качество
рельсовой стали НКМК.
В 2009 г. НКМК начал выпуск новых рельсов из
модифицированных барий-содержащих сплавов, которые получили высокую оценку ОАО
«РЖД».
С 1 марта 2010 г. на НКМК создано новое
обособленное подразделение «Энергокомплекс - филиал НКМК», в который вошли ТЭЦ,
газовый цех и цех водоснабжения.
В октябре 2010 г. завершен первый этап проекта
технического перевооружения рельсового производства ОАО «НКМК».
) Западно Сибирский Металлургический Комбинат -
последний из построенных в Советском Союзе металлургических заводов с полным
металлургическим циклом.
апреля 1957 г. Совет Министров СССР принял
постановление об утверждении проектного задания на строительство Западно-Сибирского
металлургического завода.
марта 1964 г. Высший Совет народного хозяйства
Совета Министров СССР утвердил проектное задание ЗСМЗ. Первая группа строителей
приехала на Антоновскую площадку, выбранную для возведения завода, 27 мая 1957
г. Именно этот день до сих пор считается праздником первостроителей Запсиба.
Полный металлургический цикл на Запсибе был
замкнут 17 апреля 1970 г. В этот день прокатали первый блюмс на непрерывно -
заготовочном стане обжимного цеха. А ровно через десять лет, 21 апреля 1980 г.,
вступило в строй последнее из крупнейших запсибовских производств - метизное. В
середине 80-х годов Запсиб освоил уникальную производственную технологию,
позволяющую отливать сталь без использования необработанного железа, что
явилось абсолютно новым словом в мировой металлургии.
Вскоре после получения патента несколько
зарубежных стран закупили лицензию на использование изобретенного на Запсибе
нового метода отливки стали.
июня 1983 г. Западно-Сибирский металлургический
завод получил статус комбината. В июле 1986 г. была получена 100-милионная
тонна запсибовской стали - через семнадцать с половиной лет после запуска
первого сибирского конвертера.
ноября 1992 г. Западно-Сибирский
металлургический комбинат стал открытым акционерным обществом. Решение было
принято на общем собрании трудового коллектива ЗСМК.
В 2002 г. Управляющей компанией ОАО «ЗСМК»
становится ООО «ЕвразХолдинг», с приходом которой комбинат начинает интенсивно
развиваться и модернизироваться.
Февраль 2004 года - выведена на проектную мощность
восьмиручьевая сортовая машина непрерывного литья заготовок (МНЛЗ).
февраля 2005 года во втором конвертерном цехе
сдан в эксплуатацию двухпозиционный агрегат «печь-ковш».
ноября 2005 года введена в эксплуатацию
двухручьевая слябовая машина непрерывного литья заготовок (МНЛЗ)
производительность до 2,5 млн. тонн в год
декабря 2005 года - пуск после коренной
реконструкции коксовой батареи №1.
апреля 2006 года постановлением Правительства РФ
комбинату во второй раз присуждена Премия Правительства Российской Федерации в
области качества 2005 года (первая была присуждена в 1999 году).
В июле 2007 года Запсибу - единственному
металлргическому предприятию в России - вручена Благодарность Президента России
В.В.Путина за особый вклад в развитие металлургической промышленности.
марта 2009 года ЗСМК посетил Председатель
Правительства РФ Владимир Путин, находившийся с рабочей поездкой в
Новокузнецке. В ходе визита премьер-министр осмотрел кислородно-конвертерный
цех комбината, ознакомился с работой уникальной слябовой машины непрерывного
литья заготовок (МНЛЗ).
В 2007 и 2009 годах ЗСМК был награжден дипломом
лауреата конкурса “Золотая медаль” Европейское качество” в номинации “100
лучших организаций России. Экология и экологический менеджмент“.
В 2009 г. продукция Западно-Сибирского
металлургического комбината подтвердила высокое качество, получив золотые и
серебряные награды на Всероссийском конкурсе «100 лучших товаров России». Два
вида продукции прокатного производства Западно-Сибирского металлургического
комбината - профили горячекатаные для крепи горных выработок и прокат
термомеханический упрочненный класса АC500C повышенной хладостойкости -
отмечены наградами на федеральном этапе конкурса «100 лучших товаров России
2009 года».
В 2010 г. продукция Западно-Сибирского и
Новокузнецкого металлургических комбинатов получила признание на 13-м
всероссийском конкурсе «100 лучших товаров России» и региональном конкурсе
«Лучшие товары и услуги Кузбасса 2010 года».
ОАО «ЕВРАЗ ЗСМК» выставляет свою продукцию на
конкурс «100 лучших товаров России» с 2001 года. За это время 6 видов изделий
были удостоены звания «Лучшие товары и услуги Кузбасса» и 15 видов получили
статус «100 лучших товаров России».
1.2 Краткая характеристика сырьевой
базы комбината
Для обеспечения производственного цикла
комбината поступают следующие сырьевые материалы:
Коксующиеся угли для нужд коксохимического
производства поставляют следующие шахты и разрезы: разрез Тайбинский, разрез
Березовский, разрез Шестаки, разрез Красный Брод, разрез Красный углекоп, шахта
Анжерская-Южная, шахта Алардинская, Шахта №12, шахта Томусинская, шахта
Конюхтинская-Южная.
Для производства агломерата используется
следующее сырье: Абагурский и Мундыбашский концентрат (поставщик ОАО
«Евразруда»), Коршуновский концентрат (поставщик ООО «ТД «Мечел»),
Высокогорский концентрат (поставщик ОАО «Высокогорский ГОК»), Лебединский
концентрат (поставщик ОАО «Лебединский ГОК»), Михайловский концентрат
(поставщик ОАО «Металлоинвест-Руда»).
Для производства извести используется Гурьевский
известняк.
Чугун поступает из доменного цеха комбината.
Металлолом используется как оборотный, так и приобретенный на стороне.
Известь в сталеплавильные цеха поступает из
аглоизвесткового производства (цех обжига известняка).
В качестве охладителя так же могут использоваться
Качканарские окатыши, агломерат.
Ферросплавы поставляются: ООО «ФерроТрейдинг»,
ЗАО «СГМК-Трейд», ООО ТД «ЗАО «ПТК «Ферросплав»», ООО «ПТК «Втормет»»
Огнеупоры на комбинат поступают от следующих
поставщиков: ООО «Магнезит», ООО «ОгнеупорТрейдГрупп», ООО «ВТ Технологии».
Строительная площадка ОАО «ЕВРАЗ ЗСМК» очень
энергоемкое предприятие так как на комбинате в технологическом процессе и на
вспомогательных участках и цехах огромное количество электрических машин.
Электроэнергия подается по высоковольтным линиям с Томь-Усинской ГРЭС.
Кислород, аргон и азот производят два
кислородных цеха. Мощность этих цехов позволяет работать с большим запасом
кислорода, аргона и азота.
Природный газ комбинат получает по трубопроводу
с месторождения Северо-Западной Сибири.
Коксовый и доменные газы, также как и кислород,
аргон и азот, на ОАО «ЕВРАЗ ЗСМК» свои. Они получаются при работе КХП и
доменного цеха.
Пар и вода на комбинат подаются с Запсибовской
ТЭЦ. Вода на ТЭЦ забирается через каналы с реки Томь. Сжатый воздух производят
на компрессорной станции.
1.3 Сортамент выплавляемых сталей
В сталеплавильных цехах комбината выплавляются
следующие марки стали:
спокойная углеродистая: ст1-ст5; 10-50; 16Д;
60-70 кан; 54пп; 55пп; 60пп;
конструкционная: А12; А20; А30; А35; А40Г; А75;
низколегированная: 09Г2; 09Г2Д; 09Г2С; 09Г2СД;
10Г2С1; 10Г2С1Д; 10ГТ; 14Г2; 35Г2С; 35ГС; 14ГСР; 22С; 28С; 10ХНСД; 15ХСНД;
cв08ГС; cв08Г2С; 08К;
легированная: 20Г, 14Г2, 20Г2, 20Х, 30Х, 35Х,
40Х, 45Х, 20Г2Р, 12Г1Р, 30Г1Р, Cв08Г2С и легированные азотом.
Химический состав стали, и допустимые отклонения
по химическому составу в заготовках должны соответствовать требованиям ГОСТ
380-94, ГОСТ 1050-88, ГОСТ 4543-71, ГОСТ 5781-82, ГОСТ 19281-89 и другим
стандартам и техническим условиям.
1.4 Краткая характеристика основных
цехов завода
.4.1 Коксохимическое производство
В состав коксохимического производства входят
следующие цехи: углеобогатительный (ЦОФ-1), углеподготовительный, коксовый №1 и
№2, химического улавливания №1 и №2, ректификации бензола,
смолоперерабатывающие, фталевого ангидрида, ремонтно-механический и цех
энергообеспечения, вентиляции и очистки технологических сточных вод.
Углеобогатительный цех, введен в эксплуатацию в
ноябре 1966 года.
Проектная производительность - 6400 тыс. т.
рядовых углей в год.
Назначение цеха - обеспечение коксовых батарей
низкозольным концентратом с оптимальной влажностью и выполнения плана отгрузки
на сторону.
В состав цеха входят:
а) главный корпус, включающий:
грохота классификации угля - 4 шт.;
тяжелосредние сепараторы «Теска» - 2 шт.;
отсадочные машины - 4 шт.;
осветители шлама - 4 шт.;
оборудование обезвоживания и транспортировки
продуктов обогащения;
флотационные машины - 4шт;
б) сушильное отделение, в котором установлено
десять сушильных барабанов с пылеулавливающим оборудованием;
в) наружный механизированный шламовый отстойник
с площадью осаждения 1870 м2;
г) склад полупродуктов обогащения, состоящий из:
дозировочное отделение закрытого склада рядового
угля общей емкостью 71400 м3;
конвейерные мосты и галереи для подачи рядовых
углей в главный корпус, а продуктов обогащения - на коксование и для отгрузки
на сторону;
наружный склад флотореагентов емкостью 50 м3
каждый - 6 шт.
Углеподготовительный цех, проектная
производительность - 6339,5 тыс. т. сухой угольной шихты и с учетом
термоподготовителъной шихты 7114,4 тыс.т.
1.4.2 Агломерационное производство
Агломерационно-известковое производство
находится на территории комбината.
В состав производства входят:
агломерационный цех;
дробильно-сортировочная фабрика;
цех обжига известняка;
насосно-шламовый цех.
Агломерационный цех включает три агломашины типа
АКМ 252/312 общей площадью спекания 852 м2.
Аглошихта состоит из (80-85)% тонко измельченных
концентратов. В качестве интенсификаторов применяются известь (20-30 кг/т
агломерата) и кислород (4-6 нм3/т агломерата). Спекание шихты двухслойное.
Технологической схемой предусмотрен подогрев
шихты до (55-60)°С горячим возвратом.
Агломерат после спекания дробится и сортируется
на самобалансных грохотах [2]. Охлаждение отгрохоченного агломерата с каждой
агломашины производится на прямолинейном охладителе ОП-315 с последующим
выделением холодного возврата. Холодный возврат на грохотах ГР-173 делится на
возврат и «постель».
Готовый агломерат по конвейерным трактам подается
в доменный цех. Перед загрузкой в скип из агломерата отделяется класс минус 5
мм и направляется в смеси с холодным возвратом в корпус первичного смешивания.
Агломерационное сырье, известняк для получения
конвертерной извести, а так же окатышей и доменная руда разгружаются на двух
роторных вагоноопрокидывателях и подаются по конвейерным трактам на склады. На
ДСФ имеются три закрытых склада концентрата емкостью 97000 м3 каждый и одну
открытый склад, вмещающий 75 тыс т известняка.
Дробление кокса, поступающего на агломерацию с
КХП, производится в две стадии: на короткоконусной дробилке до крупности 15 мм
и затем на четырехвалковых дробилках типа 700х900 до крупности 0-3 мм.
Дробление известняка для агломерации
производится на трех лотковых дробилках типа ДМРИЭ-14,5х13х1000 для крупности
0-Змм.
С декабря с 1971 года для известкового
концентрата в потоке эксплуатируется установка №1, а с августа 1977 г. -
установка № 2.
В цехе десять шахтных печей производительностью
по 200 т извести в сутки каждая и две шахтные печи производительностью по 500 т
извести в сутки.
Обжигу подвергается известняк фракции (32-80)
мм. Мелочь известняка менее 32 мм отсевается в отделении сортировки известняка
и направляется на агломерацию или на внешний склад для отгрузки.
Обожженная известь сортируется. Известь менее 10
мм додрабливается на молотковой дробилке и пневмотранспортом подается на ДСФ.
Известь крупнее 10 мм перевозится в конвертерные цехи.
.4.3 Доменный цех
Доменный цех ОАО «ЕВРАЗ ЗСМК» является одним из
крупнейших в России. Всего в составе три печи: одна - объемом 2000 м3, две 3000
м3. Общий полезный объем доменный печей по цеху - 8000 м3 (данные представлены
в таблице 1).
В составе доменного цеха имеются:
четыре разливочные машины конструкции ИЗТМ с
оборотным циклом водоснабжения;
депо ремонта чугуновозных ковшей;
отделение приготовления огнеупорных масс;
два склада холодного чугуна емкостью 900 т;
шлаковый отвал;
два приемных устройства для разгрузки сырья.
Таблица 1 - Характеристика доменных печей
|
Характеристика
печей
|
Объем
печи, м3
|
|
2000
|
3000
|
|
Диаметр
горна, мм
|
9750
|
11600
|
|
Диаметр
распара, мм
|
10900
|
12800
|
|
Диаметр
колошника, мм
|
7300
|
8400
|
|
Полезная
высота печи, мм
|
29400
|
34000
|
|
Число
фурм на одной печи
|
20
|
28
|
|
Количество
воздухонагревателей на одной печи
|
4
|
4
|
|
Поверхность
нагрева одного воздухонагревателя, м2
|
31800
|
48784
|
Доменная печь №1 объемом 3000 м3 (реконструкция
с увеличением полезного объема выполнена в 1976 г.) имеет три летки для чугуна,
одну летку для шлака и двадцать восемь воздушных фурм. Количество выпусков
чугуна при максимальной производительности доменной печи 16-18 в сутки.
Проект доменной печи №2 объемом 2000 м3 с двумя
чугунными летками разработана Сибгипромезом.
В состав доменной печи входят следующие объекты:
собственно доменная печь;
литейный двор и поддоменник;
грузопассажирский лифт;
блок воздухонагревателей;
здание колошникового подъемника;
колошниковый наклонный мост;
пылеуловитель с газопроводом грязного газа;
здание пункта управления печью;
сооружение комплекса шихтоподачи.
Доменная печь №2 имеет двадцать четыре воздушные
фурмы. Верхний шлак не отрабатывается, при максимальной производительности
количество выпусков чугуна на печи 14-15 в сутки.
Доменная печь №3 с полезным объемом 3000 м3
имеет три чугунные летки, двадцать восемь воздушных фурм, верхний шлак не
отрабатывается, количество выпусков чугуна 16-18 в сутки.
Кожух печи рассчитан на внутреннее рабочее
давление газовой среды у фурм в 4,2 атмосфер (атм), на колошнике до 2,5 атм и
давление при взрыве на колошнике 6 атм.
Разливка чугуна и шлака на доменной печи
механизирована, установлены желоба «ванного» типа. Для передвижения ковшей
установлены электротолкатели.
Весь выплавляемый передельный чугун отправляется
в конвертерные цехи № 1 и № 2 в ковшах емкостью 140 т и 420 т - миксерного
типа.
Шлак в ковшах 16,5 м3 отправляются на
шлакопереработку (гран-шлак, щебень). Передельный чугун выплавляется согласно
техническим условиям для переработки в кислородных конвертерах.
1.4.4 Сталеплавильное производство
В состав сталеплавильного производства входят:
конвертерный цех № 1, конвертерный цех № 2, цех подготовки состава,
смоломагнезитовый цех, копровый цех, цех ремонта металлургических печей, цех
ремонта сталеплавильного оборудования.
Сталеплавильное производство является ключевым в
технологической цепочке производства продукции на комбинате.
Конвертерный цех № 1
Кислородно-конвертерный цех № 1 предназначен для
производства стали в слитках и является неотъемлемой частью в технологической
цепи металлургического предприятия.
Конвертерный цех №1 включает в себя:
конвертерное отделение;
разливочное отделение с участком ремонта
стальковшей;
миксерное отделение;
приемное устройство подачи сыпучих материалов;
отделение магнитных материалов (шихтовый двор);
шлаковый двор;
дымососное отделение;
участок по производству теплоизолирующей
засыпки;
административно-бытовой корпус.
Главное здание цеха многопролетное, состоящее из
конвертерного отделения, отделения разливки стали, участка ремонта стальковшей,
участка ферросплавов.
Конвертерное отделение (многопролетное, шириной
69м, длиной 216м и высотой 53м) предназначено для размещения 3 конвертеров,
технологического оборудования, сооружений, необходимых для подачи сыпучих
материалов в конвертер, кислорода, отвода и охлаждения конвертерных газов, а
также связанных с их эксплуатацией различных вспомогательных устройств и
механизмов, в том числе: энергопролет, загрузочный пролет, конвертерный пролет
с отделением прокаливания ферросплавов. На нулевой отметке энергопролета
размещены машинные залы №№1-4, на отметке +8,18 энергопролета размещены
подсобные помещения - помещения ремонтных служб, инструментальная. Между
отметками +11,4 до +13,7 расположен кабельный полуэтаж с автоматической
системой пожаротушения. На отметке +13,7 расположены главные пульты управления
конвертерами и котлами-утилизаторами.
Для обслуживания конвертеров пролет перекрыт
рабочей площадкой на отметке +8.18 м на которой расположен железнодорожный путь
для подачи жидкого чугуна и железнодорожный путь для подачи металлолома. По
высоте здания конвертерного отделения имеется ряд вспомогательных площадок,
предназначенных для обслуживания газоотводящего тракта, тракта сыпучих
материалов, машины для подачи кислорода в конвертер. На рабочей площадке по оси
конвертеров расположены машины для торкретирования футеровки конвертера, посты
управления торкретмашинами, вспомогательные пульты управления конвертерами,
сталевозами при сливе металла, шлаковозами при сливе шлака, а также переносные
площадки для проведения горячих ремонтов футеровки конвертеров и сталевыпускных
отверстий. Под рабочей площадкой на отметке ±0.0м размещены пути
сталевозов-шлаковозов, насосные станции, маслостанции централизованной смазки
привода конвертера, участок ремонта кислородных (продувочных) фурм и мастерские
электротехнического персонала.
Машины для подачи кислорода в конвертер 2-х
стендовые и обеспечивают перемещение кислородных фурм в вертикальной и
горизонтальной плоскостях. Приводы машин расположены на отметке +37 м, что
позволяет при необходимости работать одним или другим стендом. В стендах на
каретках устанавливается по фурме диаметром 219 мм, имеющие автономное
подключение воды и кислорода металлорукавами.
Над каждым конвертером расположен газоотводящий
тракт, который включает в себя комплекс сооружений, обеспечивающих улавливание,
отвод, охлаждение и очистку конвертерных газов, выработку насыщенного пара
давлением 35 кг/см2 в количестве 250 т/час. Газоотводящий тракт работает по
системе полного дожигания газов, выделяющихся из конвертера в процессе продувки
плавки кислородом. Физическое тепло конвертерных газов используется для
выработки насыщенного пара. Очищенный до санитарных норм и охлажденный до
температуры 600 ˚С конвертерный газ выбрасывается в атмосферу.
Участок разливки стали предназначен для разливки
стали из сталеразливочного ковша в изложницы через шиберный затвор сверху.
Производительность участка определяется
производительностью конвертеров.
Участок расположен в главном здании
конвертерного цеха в рядах колонн А-Б-В и осях 1-19.
В состав участка разливки стали входят два разливочных
пролёта (1-ый пролёт в рядах колонн Б-В в осях 1-19, 2-ой пролёт в рядах колонн
А-Б в осях 1-19) и участок ремонта футеровки сталеразливочных ковшей (в рядах
колонн В-Г, осях 15-19).
В первом разливочном пролете находятся:
Две разливочные площадки (№ 1 и № 4) с
возможностью разливки по одному составу с изложницами на каждой; три
разливочных крана (№№5, 6, 24, грузоподъемностью 200/50/16 т), оборудованные
тензовесами фирмы «Метрипонд» для взвешивания ковшей с жидким металлом и
разливки стали с минимальными потерями в виде недоливков. Разливочную площадку
№ 1 обслуживает разливочный кран №5, разливочную площадку № 4 - кран № 24,
между этими кранами работает кран № 6 для подготовки сталеразливочных ковшей
под плавку и постановку их на сталевозы.
Самоходные сталевозы №№ 1, 2, 3, предназначенные
для транспортировки сталеразливочных ковшей с жидким металлом после слива
плавки из конвертеров на установки внепечной обработки стали и далее в
разливочные пролеты № 1 и № 2.
Передаточные тележки: сталеразливочных ковшей и
бункеров с ферросплавами для установок внепечной обработки стали.
Стенды сборки сталеразливочных ковшей под плавку
с манипуляторами для установки шиберных затворов на ковш - 3 шт.
Стенды для сталеразливочных ковшей - 3 шт.;
стенды для шлаковых чаш - 2 шт.
Два стенда сушила №2 для сушки огнеупорной
футеровки сталеразливочных ковшей по одной газовоздушной горелки на каждом.
Защитный экран обработки стакана
сталеразливочного ковша кислородом после разливки металла.
Телескопическое устройство для кладки футеровки
конвертера.
Домкратное устройство, для установки днища после
перефутеровки конвертера.
Мастерская для сборки шиберных затворов.
Во втором разливочном пролете находятся:
Разливочные площадки № 2 и № 3 с двумя
постановочными местами для составов с изложницами на каждой площадке и
возможностью одновременной разливки в два состава.
Два сушила (№№ 3, 4) с тремя стендами для сушки
огнеупорной футеровки сталеразливочных ковшей и тремя газовоздушными горелками.
Резервный стенд для сборки сталеразливочных
ковшей под плавку с манипулятором для установки шиберного затвора на ковш - 1
шт.
Стенды для сталеразливочных ковшей - 5 шт.;
стенды для шлаковых чаш - 3 шт.
По одному защитному экрану для обработки
кислородом ковшей после разливки плавки у каждой из разливочных площадок №№2,
3.
Разливочные краны №№ 7, 8, 25 грузоподъемностью
200/50/16 т и кран №22 - 200/50т, оборудованные тензовесами фирмы «Метрипонд».
Стенды для установки шлаковых чаш - 3 шт.
Шлаковые чаши в пролеты подаются по
железнодорожным путям № 40 и № 80. В шлаковые чаши кантуется жидкий шлак после
разливки металла из сталеразливочного ковша.
Для обработки стали в ковше инертными газами,
доводки металла в ковше по темпертуре, химическому составу, окисленности по
ряду «Б» с выходами в первый и второй разливочные пролеты, над путями
сталевозов построены установки внепечной обработки стали (УВОС). Внедрение
технологии обработке металла на УВОС позволило:
Усреднить температуру металла в ковше перед
разливкой;
Корректировать металл в ковше по химическому
составу и окисленности, рафинировать металл инертным газом.
Каждая установка оборудована пультом управления,
с которого производится управление самоходным сталевозом, фурмами для продувки
металла в ковше инертными газами, запорной арматурой подачи инертного газа. На
пульту установлены приборы КИПиА для контроля за технологическими параметрами.
УВОС имеет манипулятор для замера температуры стали в ковше, замера
окисленности металла, отбора ковшевой пробы металла для экспресс-анализа.
Корректировка стали по температуре производится присадкой в ковш с металлом
извести, доломита под конвертером или вводом в металл разливочным краном
металлической штанги квадрата 100 мм или квадрата 150 мм.
К началу выпуска металла из конвертера на
разливочной площадке должен находиться состав с изложницами. Состояние изложниц
контролируются разливщиком стали и контроллером ОТК с площадки расположенной на
специальной передвижной тележке, которая перемещается над изложницами.
Управление тележкой для осмотра изложниц производится разливщиком стали как с
площадки тележки так и с разливочной площадки. При необходимости эта тележка
используется и для очистки изложниц от мусора специальным пылесосом.
Конвертерный цех № 2
Площадка цеха расположена на северо-восточной
окраине заводской территории, которая в свою очередь находится в 20 километрах
северо-восточнее г. Новокузнецка на правом правобережье реки Томи. На
территории строительства в прошлом было Костино болото. На всей территории
строительства снят верхний слой торфа и заменен суглинистым грунтом (планомерно
возведенная насыпь). Климат района - резко континентальный. Расчетная
температуры - 37 градусов. Снеговой покров держится 6 месяцев, средняя его
мощность 500 миллиметров. Гидрогеологические условия площадки характеризуются
наличием двух водоносных горизонтов. По данным химанализа воды этих горизонтов
не являются агрессивными по отношению к бетону разных марок. Сообщение с
городом обеспечивается по асфальтированной магистральной автодороге с мостовым
переходом через реку Томь, а также по электрифицированной однопутной железной
дороге.
Площадка цеха ограничена с западной стороны
действующим конвертерным цехом №1 и цехом подготовки составов, с северной
стороны площадкой аглодоменного производства, с южной стороны - действующим блоком
ремонтно-вспомогательных цехов.
В состав комплекса входят: объекты конвертерного
цеха №2, цеха подготовки составов, известкового цеха, кислородная станция №1 и
ПВС. Существенное развитие получают все хозяйства завода: газовое,
теплосиловое, электрическое, железнодорожное, связи, водоснабжение и другие.
) Объекты конвертерного цеха №2 (основного
производственного назначения):
Конвертерное отделение с двумя конверторами №4 и
5, емкостью 350 тонн каждый, с двумя котлами-утилизаторами ОКГ-250-2, с трехступенчатой
газоочисткой мокрого типа, системой отвода продуктов горения «без дожигания СО»
в газоотводящем тракте.
Двухпролетное отделение разливки стали с
четырьмя разливочными площадками.
Дымососное отделение с двумя нагнетателями типа
7500-130-1 для отсоса дымовых газов производительностью 30000 м3/ч и
дожигающими устройствами.
Отделение перелива чугуна, предназначенное для
приема чугуновозов миксерного типа, слива чугуна в чугуновозные ковши.
Приемное устройство и тракт подачи сыпучих
материалов длиной около 500м.
Отделение подготовки лома (первая очередь) с
закромами, вмещающими 7500 тонн скрапа, с эстакадой подачи совков с ломом в
конвертерное отделение.
Шлаковое отделение, состоящее из двух шлаковых
полей и участка кантования твердого шлака.
) Объекты подсобного производственного и
обслуживающего назначения:
Расширение цеха подготовки составов, в том
числе: а) двор изложниц №2; б) отделение раздевания слитков №2; в) отделение
гидроочистки изложниц №2; г) отделение смазки изложниц №2.
Отделение ремонта футеровки ковшей миксерного
типа (первая очередь).
Расширение известкового цеха за счет
строительства двухшахтных печей №9 и 10.
Кустовая лаборатория №2.
Расширение АТС.
Административно-бытовой корпус (АБК).
Пешеходная галерея от АБК до конвертерного и
разливочного отделений.
Провешенный металлолом в конвертерное отделение
подается на скраповозе в совках емкостью 50 м3 и с помощью завалочной машины
заваливается в конвертер. После завалки на лом через течки сыпучих отдается
50-60 % расчетной извести на плавку и конвертер поворачивается в положение под
заливку чугуна (в осенне-зимний период и при необходимости экономии чугуна
используется технология подогрева металлолома в конвертере, в этом случае после
отдачи извести в конвертер отдается 3-5 тонн угля, конвертер поворачивается,
фурма опускается, подается кислород и производится подогрев лома в течение 3-10
мин). Чугун по весу, заданному машинистом дистрибутора, подается в конвертерное
отделение в заливочном ковше на самоходном чугуновозе, поднимается заливочным
краном и по команде сталевара заливается в конвертер. После заливки чугуна
конвертер ставится вертикально, машинист дистрибутора опускает фурму и
открывает кислород. Продувка длится 18-22 мин с интенсивностью 600-1100 м3/мин,
за это время отдаются остальные 40-50 % извести и при необходимости руда,
агломерат, доломит и т.д. Во время продувки подручный сталевара подвозит
автопогрузчиком с участка подготовки ферросплавов необходимое количество
провешенных ферросплавов согласно заданной марки и размещает их в совке. По
окончании продувки плавки осуществляется повалка конвертера, во время которой
сталевар конвертера с подручным производит скачивание шлака в чашу на
шлаковозе, отбирает пробу металла и шлака и производит замер температуры. При
соответствии температуры и хим.анализа металла заданной марки стали
производится слив и раскисление стали. Слив металла из конвертера в ковш,
установленный на сталевозе, осуществляет машинист дистрибутора по команде
мастера. Во время слива мастер со сталеваром раскисляет и доводит металл по
химическому составу согласно ГОСТу или ТУ путем отдачи ферросплавов,
науглероживателя из совка через течку в ковш. После слива плавка на сталевозе
выдается в разливочный пролет, остатки шлака частично сливаются в чаши. На
остаточный шлак отдается известь (флюс или обоженный доломит) и наводится
шлаковый гарнисаж. Конвертер после осмотра футеровки мастером и сталеваром
отдается под следующую плавку. Средний цикл плавки 45-50 мин.
1.4.5 Прокатное производство
Обжимной цех
Развитие прокатного производства на комбинате
характеризуется последовательным наращиванием объемов проката до 5 млн. тонн в
год, увеличением выпуска экономичных видов продукции.
В состав обжимного цеха входят: блюминг «1300»,
непрерывно-заготовочный стан 850 / 750 / 500 , отделение нагревательных
колодцев, склад полупродукта, помещение для подачи и хранения коксика и уборки
шлака.
Проектная мощность блюминга по всюду составляет
6,0 млн т/год Производственная мощность 6300 тыс т.
Посад слитков в колодце и нагрев их производится
по схемам и в соответствии с разработанными нормами температуры и времени.
Прокатанные на стане блюмы и станы сечением
350х350 мм и 140 -160х580¸720 мм при необходимости
подвергаются зачистке в горячем состоянии на спаренной машине огневой зачистке,
установленной в технологическом потоке за блюмингом.
Обрезка концов раскатом производится на ножницах
с усилием резания 1250 т и в соответствии с разработанными нормами обрези.
Порезка полупродукта на мерные длины производится согласно заказам по
действующим ГОСТам и ТУ.
Непрерывно-заготовочный стан 850 / 750 / 500
введен в эксплуатацию в 1970 г, фирма - изготовитель оборудования «Шкода» ЧССР
Проектная мощность - 4900 тыс. т / г
Основным сортаментом стана являются заготовки
квадратного и прямоугольного сечения 80х80 мм, 150х150 мм, 150х200 мм и 165х200
мм.
Блюмы, прокатанные на стане «1300», после обрези
на ножницах 1250 т транспортируются по рольгангу к непрерывно-заготовочному
стану.
Полученный раскат сечением 150х150 мм, 150х200
мм, 165х200 мм транспортируется 400-т летучим ножницам для обрези передних
концов и задних концов и порезки на мерные длины. После порезки и клеймения
заготовки собираются в пакеты и передаются на холодильник.
Основная часть продукции передается для
дальнейшего передела в мелкосортном и среднесортном цехах, а часть продукции
отправляется на сторону в виде товарной заготовки.
Сортопрокатный цех
Включает в себя три стана: проволочный,
мелкосортные станы 250-1, 250-2.
Мелкосортный стан 250-1:
проектная мощность - 630 усл. тыс т.;
производственная мощность - 820 усл. тыс т.;
тип стана - непрерывный двухниточный.
Стан предназначен для проката заготовки сечением
80 х 80 мм длиной 10500 -11800 мм на мелкий и средний сорт. Сталь угловая
равнобокая 20 х 20 х 4 мм, 25 х 25 х 3 мм, 25 х 25 х 4 мм, 32 х 32 х 3 мм, 32 х
32 х 4 мм, 36 х 36 х 4 мм, 40 х 40 х 4 мм, сталь круглого и периодического
сечения 12-14 мм.
Установленная мощность главных приводов стана
-12,0 тыс кВт.
Максимальная скорость прокатки в чистовой клети
- 20 м/с
Часовая производительность стана, в зависимости
от сортамента от 64 до 138т.
Продолжительность работы стана составляет 7400
ч/г.
Мелкосортный стан 250 - 2:
проектная мощность -1300 усл. тыс т;
производственная мощность -1350 усл. тыс т;
тип стана - непрерывный двухниточный.
Стан предназначен для прокатки мелкого и
среднего сорта сечением 80 х 80 мм, длиной 10500 - 11800 мм следующего
сортамента: 16-30 мм, №16-28.
Мелкосортный стан 250-2 имеет в своем составе
технологическое оборудование, в основном, аналогичное оборудованию первого
стана и специализируется по сортаменту на выпуск более крупных профилей.
Часовая производительность стана, в зависимости
от сортамента составляет от 150 до 190 т.
Проволочный стан 250:
проектная мощность - 800 усл. тыс т;
производственная мощность -1000 усл. тыс т;
тип стана - непрерывный четырехниточный.
Стан предназначен для прокатки круглой стали 6 -
10 мм, из заготовки квадратного сечения размером 80 х 80 мм, длиной 10500 -
11500 мм.
Среднесортный цех:
проектная мощность -1600 усл. тыс т;
производственная мощность -1620 усл. тыс т.
Стан предназначен для проката заготовки сечением
150П150 мм и 150 0200 мм, длиной 4,5 - 12 м на средний сорт из углеродистой,
качественной и легированной стали.
1.5 Краткое описание
технологического процесса выплавки стали
После выпуска плавки мастер или сталевар
осматривает футеровку конвертера. При необходимости производится горячий ремонт
футеровки (подварка) путем забрасывания приклазоизвестковых кирпичей на
смоляной связке по специальному желобу или торкретирование. Торкретирование
производится напольной торкрет - машиной, установленной на рабочей площадке со
стороны сталевыпускного отверстия. Управление торкретмашиной производится с
пульта, установленного на рабочей площадке возле торкретмашины.
Если после слива металла остается шлак
предыдущей плавки, то машинист дистрибутора засыпает в конвертер до трёх тонн
извести и производит покачивание конвертера до полного загустения шлака. Так же
возможна раздувка шлака азотом с расходом 400 - 450 м3/мин в течение 2,5 - 3 мин
с положением фурмы от 0,8 до 2 м , до полного исчезновения жидкой фазы шлака.
Возможна присадка сырого доломита (не менее 3 т), также для сворачивания шлака
с последующей наводкой гарнисажа (раздувка азотом).
Затем производится завалка металлолома. Металлолом
поступает в конвертерное отделение по эстакаде на уровне рабочей площадки, в
совках емкостью 40 м3 из отделения магнезитных материалов, где они загружаются
и взвешиваются. Совки установлены на лафеты с поворотным устройством. По
команде подручного сталевара загрузочный кран зацепляет совок вспомогательным
подъемом за задний борт и поворачивает его на 90°, затем за открытые «уши»
зацепляется главным подъемом и поднимает совок.
По команде сталевара конвертер наклоняется в
сторону завалки и производится завалка металлолома в конвертер. Металлолом в
совок загружается таким образом, чтобы сначала заваливался легковесный лом, а
затем тяжеловесный, что оберегает рабочий слой футеровки от сильных ударов.
Расход металлолома на плавку составляет 28 % от веса металлозавалки. После
завалки лома машинист дистрибутора производит несколько покачиваний конвертера
для равномерного распределения металлолома на днище конвертера и засыпает около
60 % извести (6,5 т), что улучшает процесс шлакообразования в начальный момент плавки.
После извести присаживается уголь в количестве
до 1,0 тонны. На нагрев лома расход кислорода в первые 3 минуты должен быть не
более 150 м3/мин, далее 200 м3/мин. По ходу нагрева присаживается уголь
порциями по 100÷150 кг,
либо непрерывно по ходу продувки из бункера-накопителя в течение первых 4
минут. Положение фурмы в течение всего времени нагрева поддерживается на высоте
не менее 4,0 метров.
Чугун на рабочую площадку конвертерного
отделения подается из миксерного отделения тепловозом в чугуновозных ковшах
емкостью 140 т, которые стоят на специальных лафетах. В конвертерном отделении
производится замер температуры чугуна. По команде сталевара ковш с чугуном
поднимается краном и подвозится к конвертеру, заваленному металлическим ломом.
Машинист дистрибутора наклоняет конвертер в сторону загрузочного пролета под
заливку чугуна.
После заливки чугуна конвертера устанавливается
в вертикальное положение и опускается продувочная фурма. Продувка ведется через
5-сопловую фурму техническим чистым кислородом (99,6 % O2 и 0,4 % N2).
Продувка заканчивается по углероду металла перед
раскислением. Машинист дистрибутора в течение всего времени продувки плавки
контролирует ход процесса. Существует несколько способов определения количества
углерода, оставшегося в металле:
- по шуму в конвертере;
- по яркости пламени между конвертером и котлом
охладителем;
- по количеству СО и СО2 в отходящих газах и др.
По окончании продувки машинист дистрибутора
поднимает фурму в крайнее верхнее положение и наклоняет конвертер в сторону
завалки.
Во время «повалки» производится скачивание
шлака, отбор пробы металла и шлака на химический анализ, замер температуры. Эти
операции производятся сталеваром и подручными сталевара в течении 2 - 3 мин.
Проба металла отправляется на экспресс-анализ в химлабораторию по пневмопочте.
Через 2 - 3 мин после отправления по громкой связи объявляется химанализ пробы.
При необходимости производится додувка металла
на углерод или на фосфор и серу. При додувке на углерод фурма опускается в
рабочее положение 1,2 м и вдувается расчетное количество кислорода с расходом
450 м3/мин, а при додувке на серу или фосфор фурма опускается в положение 1,7 -
1,8 м, устанавливается расход кислорода 200 - 300 м3 /мин и добавляется 2 -
4 т извести. Производится повторный отбор пробы и замер температуры стали.
Разрешается слив металла без повторного химанализа пробы.
Корректировка химического состава металла
производится на установке доводки металла. Подача ферросплавов начинается после
1/3 наполнения ковша и заканчивается после 2/3 наполнения.
По окончании выпуска плавки производится отсечка
вторичного шлака путем вдувания азота в летку пневматическим стопором,
закрепленным на кожухе конвертера возле летки, и на зеркало металла подается
некоторое количество извести (1 - 1,5 т), что предотвращает процесс
рефосфорации.
1.6 Расчет шихты. Материальный
баланс плавки
.6.1 Исходные данные
Расчет материального баланса производится на 100
кг металлической завалки (чугун + скрап) [3]. Доля чугуна 72 %.
Химический состав чугуна, скрапа, металла перед
раскислением и готовой стали, приведен в таблице 2.
Температура чугуна при заливке в
конвертер принята равной tчуг=1324°С. Температура стали (металла) в конце
продувки
=1630°С.
Таблица 2 - Химический состав металлошихты
и металла
|
Наименование
материала
|
Содержание
элементов, %
|
|
С
|
Mn
|
Si
|
P
|
S
|
Cu
|
Ni
|
Аl
|
Сr
|
|
Жидкий
чугун
|
4,55
|
0,65
|
0,7
|
0,11
|
0,035
|
-
|
-
|
-
|
-
|
|
Стальной
скрап
|
0,23
|
0,55
|
0,20
|
0,022
|
0,025
|
-
|
-
|
-
|
-
|
|
Металл
перед раскислением*
|
0,1
|
0,17
|
следы
|
0,017
|
0,017
|
-
|
-
|
-
|
-
|
|
Готовая
сталь 35ГС ГОСТ 5781-82
|
0,3-0,37
|
0,8-1,2
|
0,6-0,9
|
до
0,04
|
до
0,045
|
до
0,3
|
-
|
до
0,3
|
|
*Содержание
марганца, фосфора и серы в металле перед раскислением будет уточнено расчетом
|
1.6.2 Расчёт расхода дополнительного
топлива
Основность конечного шлака B=3,2.
Принимаем химический состав на повалке (перед
раскислением): С=0,3%; Mn=0,17%; Si=следы; P=0,017%; S=0,017%.
Избыточное тепло процесса (
)
представляет собой разность между общим приходом тепла и минимальным его
количеством, необходимым для нагрева системы до заданной температуры и
возмещением тепловых потерь конвертера, когда продувка ведётся без
принудительного охлаждения, т.е. на одном чугуне. С достаточной для
практических целей точностью оно может быть определено по следующему выражению,
ккал на 100 кг чугуна:
(1)
где знаки элементов - окислившееся их
количество, % от веса чугуна;- желаемая основность шлака (СaO/SiO2);
- температура заливаемого чугуна,
°С;
- температура металла на выпуске,
°С.
Избыточное тепло чугуна
рассчитывается
на 100 кг чугуна по уравнению (1). Во время продувки выгорит следующее
количество основных примесей чугуна:
;
;
.
При таком избытке тепла чугуна
расход металлолома - охладителя (на 100 кг завалки) составит:
, (2)
где
- охлаждающий эффект лома, ккал/кг.
Охлаждающий эффект металлолома
рассчитывается по формуле:
(3)
где
- теплоемкость твердого лома,
равная 0,167 ккал/кг;
- температура плавления лома, ˚С
(принимается равной температуре плавления выплавляемой стали 1519,5 ˚С);
- скрытая теплота плавления лома,
равная 68 ккал/кг;
- температура металла в конце
продувки, ˚С;
- теплоемкость жидкого лома, равная
0,2 ккал/кг.
;
При 28 % лома в шихте, недостаток
лома составит:
В этом случае недостаток тепла
составит:
угля =
/(0,35*6000)=
1,55%
1.6.3 Определение среднего состава
металлошихты и количества примесей, окисляющихся по ходу продувки
Количество примесей, внесенных
металлической шихтой, приведено в таблице 3.
Таблица 3 - Количество внесенных
примесей
|
Наименование
материала
|
Содержание
элементов в металлошихте, %(кг)
|
|
C
|
Mn
|
Si
|
P
|
S
|
|
Чугун
|
4,55
∙ 0,72 = 3,276
|
0,65
∙ 0,72 = 0,468
|
0,7
∙ 0,72 = 0,504
|
0,11
∙ 0,72 = 0,079
|
0,035
∙ 0,72 = 0,025
|
|
Скрап
|
0,23
∙ 0,28 = 0,064
|
0,55
∙ 0,28 = 0,154
|
0,2
∙ 0,28 = 0,056
|
0,022
∙ 0,28 = 0,006
|
0,025
∙ 0,28 = 0,007
|
|
Уголь
|
66∙0,013∙0,7
=0,6
|
-
|
-
|
-
|
0,5∙1,3/100
=0,0065
|
|
Итого:
|
3,94
|
0,622
|
0,56
|
0,085
|
0,038
|
1.6.4 Предварительное определение
количества и состава шлака в конце продувки
Количество шлакообразующих окислов, получающихся
при окислении примесей металлошихты (не учитывая окисление железа) и вносимых
шихтовыми материалами, миксерным шлаком и футеровкой конвертера, приведено в
таблице 4.
Из таблицы 4 следует, что суммарный вес
шлакообразующих (без оксидов железа) равен: 11,140− 0,094−0,15=10,898
кг.
Таблица 4 - Расчет количества шлака
|
Источники
|
Коли-чество,кг
|
Поступило
в шлак, кг
|
п.п.п.
|
∑Мокс
|
|
|
CaO
|
SiO2
|
MnO
|
P2O5
|
FeO
|
Fe2O3
|
MgO
|
AL2O3
|
S
|
|
|
|
От
окисления примесей чугуна
|
-
|
-
|
1,2
|
0,601
|
0,341
|
-
|
-
|
-
|
-
|
0,021
|
-
|
2,163
|
|
Известь
|
7,394
|
6,507
|
0,097
|
-
|
-
|
-
|
0,071
|
0,126
|
0,036
|
0,004
|
0,554
|
6,804
|
|
ФМ1+
ФОМИ
|
1,5
|
0,03
|
0,01
|
-
|
-
|
-
|
0,06
|
0,90
|
-
|
-
|
|
1
|
|
Футеровка
|
0,15
|
0,003
|
-
|
-
|
-
|
-
|
-
|
0,147
|
-
|
-
|
-
|
0,15
|
|
Миксерный
шлак
|
0,5
|
0,038
|
0,273
|
0,025
|
0,001
|
0,094
|
-
|
0,017
|
0,053
|
0,001
|
-
|
0,5
|
|
Зола
угля
|
0,173
|
0,002
|
0,060
|
-
|
-
|
-
|
0,005
|
0,0004
|
0,019
|
-
|
-
|
0,087
|
|
Загрязнение
стального скрапа
|
0,4
|
0,012
|
0,272
|
-
|
-
|
-
|
0,012
|
0,008
|
0,096
|
-
|
-
|
0,4
|
|
Итого:
|
|
6,591
|
1,911
|
0,626
|
0,342
|
0,094
|
0,15
|
1,198
|
0,204
|
0,026
|
0,554
|
11,140
|
1.6.5 Уточнение количества и состава
конечного шлака
Полученные данные о составе металла в конце
продувки позволяют уточнить состав и количество шлака в этот момент плавки.
Новая сумма шлакообразующих без оксидов железа
составит:
Mок = 10,898-(0,601+0,341+0,021) +
(0,589+0,329+0,017) = 10,87 кг.
Отсюда уточненное количество шлака в конце
продувки
Mшл=
кг.
Уточненный состав конечного шлака:
CaO
SiO2
P2O5
AL2O3
S
= 13,897 %;Fe2O3 = 5,559 %.
Итого: 100,00%.
При этом основность шлака:
Коэффициенты распределения:
марганца
25,778;
фосфора
110,289;
серы
7,636.
В настоящее время в конвертерных
цехах при производстве углеродистой и низколегированной стали для получения
необходимого содержания кремния в готовом металле применяются кремнийсодержащие
ферросплавы.
1.6.6 Материальный баланс плавки
Результаты расчета материального
баланса плавки приведены в таблице 5.
Выход годной стали определяется
вычитанием из выхода жидкой стали, потерь металла в ковше и в процессе
разливки.
,060 -1,500=92,560 кг.
Отсюда расход металлошихты (включая
раскислители) на 1 тонну годной стали составит:
(100,000+2,758)/92,560=1,110 т или
1110 кг.
Расход технического кислорода на 1 т
годной стали
,482/92,560*100*10=59,22 м3/т
Таблица 5 - Материальный баланс
плавки
|
Поступило
|
Вес,
кг
|
Получено
|
Вес,
кг
|
|
Жидкий
чугун
|
72,000
|
Жидкий
металл
|
94,060
|
|
Стальной
скрап
|
28,000
|
Шлак
|
13,80
|
|
Известь
|
7,783
|
Газы
|
9,940
|
|
ФМ-1+ФОМИ
|
1,500
|
Пыль
в виде Fe2O3
|
1,000
|
|
Коксик
|
0,400
|
Пыль
за счет выдуваемой извести
|
0,389
|
|
Технический
кислород
|
7,795
|
Корольки
в шлаке
|
0,300
|
|
Размыв
футеровки
|
0,150
|
Выбросы
и выдувка
|
1,000
|
|
Миксерный
шлак
|
0,500
|
Угар
раскислителей
|
0,283
|
|
Раскислители
|
2,758
|
Неусвоенный
уголь
|
0,156
|
|
Уголь
|
1,55
|
|
|
|
Итого
|
120,739
|
Итого
|
120,678
|
1.6.7 Тепловой баланс рабочего
пространства сталеплавильного агрегата
Итоговые данные расчета теплового баланса плавки
приведены в таблице 6.
Таблица 6 - Тепловой баланс плавки
|
Приход
тепла
|
ккал
|
%
|
Расход
тепла
|
ккал
|
%
|
|
Физическое
тепло чугуна
|
22852,80
|
50,13
|
Физическое
тепло жидкой стали
|
31034,371
|
68,04
|
|
Тепло
окисления металлозавалки
|
Физическое
тепло шлака
|
6886,830
|
15,11
|
|
[C]→{CO}
|
6883,86
|
15,10
|
Физическое
тепло отходящих газов
|
4328,344
|
9,49
|
|
[C]→{CO2}
|
364,39
|
0,80
|
Тепло,
уносимое выбросами
|
304,000
|
0,67
|
|
Тепло
окисления угля
|
Тепло,
уносимое пылью
|
429,522
|
0,94
|
|
[C]→{CO}
|
2493,50
|
5,47
|
Тепло
разложения извести
|
39,805
|
0,09
|
|
[C]→{CO2}
|
1781,90
|
3,91
|
Тепло
диссоциации окислов железа
|
191,839
|
0,42
|
|
Тепло
окисления
|
Тепло,
уносимое корольками металла
|
97,800
|
0,21
|
|
[Si]→(SiO2)
|
4131,68
|
9,06
|
|
|
|
|
[Mn]→(MnO)
|
764,05
|
1,68
|
|
|
|
|
[P]→(P2O5)
|
834,38
|
1,83
|
|
|
|
|
[Fe]→(FeO)
|
1561,01
|
3,42
|
|
|
|
|
[Fe]→(Fe2O3)
|
796,30
|
1,75
|
Потери
тепла конвертером
|
2279,359
|
5,00
|
|
[Fe]→(Fe2O3)пыль
|
1232,00
|
2,70
|
|
|
|
|
Теплота
шлакообразования
|
1672,98
|
3,67
|
|
|
|
|
Тепло
миксерного шлака
|
218,31
|
0,48
|
|
|
|
|
|
|
|
|
|
|
Итого
|
45587,18
|
100
|
Итого
|
45591,871
|
100
|
2. Проект агрегата
.1 Основные положения кислородного
конвертера
В кислородно-конвертерном цехе №1 в настоящее
время установлено 3 конвертера емкостью 160 т каждый.
Привод конвертера состоит из редуктора
специального и навесных редукторов с электродвигателями. Корпус конвертера
цельносварной из листовой стали 09Г2С, имеет отъемное днище. Опорное кольцо
сварное из листовой стали 09Г2С, собранное вместе с цапфовыми плитами из стали
35Л.
Футеровка конвертера выполняется в два слоя:
арматурный и рабочий. Кладка арматурного слоя. Футеровка арматурного слоя
центральной части днища выполняется в два слоя периклазовым кирпичом. Первый
ряд к броне толщиной 65 мм, второй толщиной 115 мм развернуть на 450
относительно первого ряда.
По перефирии днища футеровка выкладывается в два
ряда периклазовым кирпичом на ребро, толщиной по 115 мм каждый, не допуская
совпадения швов.
Кладка арматурного слоя днища выполняется насухо
без прокладок. Швы между периклазовым кирпичом просыпаются периклазовым
порошком фракции 0-1 мм. Совпадения вертикальных швов в кладке днища не
допускаются.
Арматурный слой цилиндрической части конвертера
выполняется периклазовым кирпичом, уложенным на ребро торцом к броне, толщиной
230 мм, швы между кирпичом заполняются периклазовым порошком 0-1 мм.
Арматурный слой горловины выполняется
периклазовым кирпичом, уложенным на ребро торцом к броне конвертера, толщиной
230 мм.
Кладка арматурного слоя горловины выполняется на
сухо, швы между кирпичом заполняются периклазовым порошком фракции 0-1 мм.
Кладка арматурного слоя конуса ведется с
опережением кладки рабочего слоя на 2-3 ряда.
Кладка рабочего слоя днища конвертера футеруется
кирпичом толщиной 550 мм на торец к броне без прокладок. По перефирии в местах
сопряжения рабочих
|
Параметры
|
Условные
обозначения
|
Ед.
изм.
|
величина
|
|
|
|
|
Удельный
объем конвертера Vуд м
/т
,862
|
Глубина
металлической ванны в спокойном состоянии
|
Н0
|
м
|
1,69
|
|
Внутренний
диаметр конвертера
|
Dв
|
м
|
5,329
|
|
Слой
шлака
|
hш
|
м
|
0,316
|
|
Общая
глубина ванны в спокойном состоянии
|
Нi
|
м
|
2,006
|
|
Объем
металлической ванны
|
Vм
|
м3
|
22,857
|
|
Внутренний
диаметр днища конвертера
|
Dдн
|
м
|
2,846
|
|
Диаметр
горловины конвертера
|
d
|
м
|
2,513
|
|
Рабочий
объем конвертера
|
V
|
м3
|
137,931
|
|
Высота
горловины
|
Нг
|
м
|
2,439
|
|
Высота
цилиндрической части конвертера
|
Нц
|
м
|
4
|
|
Внутренняя
(полезная) высота конвертера
|
Нв
|
м
|
8,444
|
|
Отношение
внутренней высоты к внутреннему диаметру
|
Нв/Dв
|
|
1,584
|
|
Толщина
футеровки в цилиндрической части Р конвертора
|
tц
|
м
|
0,771
|
|
Толщина
футеровки в конической части конвертора
|
tк
|
м
|
0,621
|
|
Толщина
футеровки днища конвертора
|
tдн
|
м
|
0,896
|
|
Толщина
металлического кожуха конвертера в цилиндрической части
|
δц
|
м
|
0,081
|
|
конической
части конвертера
|
δдн
=δк
|
м
|
0,041
|
|
Наружный
диаметр конвертера
|
Dн
|
м
|
7,034
|
|
Полная
высота конвертера
|
Нн
|
м
|
9,382
|
|
Отношение
полной высоты к наружному диаметру конвертера
|
Нн/Dн
|
|
1,334
|
|
Диаметр
выпускного отверстия
|
dотв
|
м
|
0,153
|
слоев днища и цилиндрической части производится
разбутовка периклазоуглеродистым кирпичом с подсыпкой массой фракции 0-1 мм.
Швы заполняются периклазовым порошком фракции 0-1 мм.
Кладка первых семи колец рабочего слоя
цилиндрической части конвертера выполняется огнеупорами толщиной 1100 мм в два
оката (550+550). До 48 кольца включительно кладка выполняется огнеупорами
толщиной 930 мм в два оката (550+330). Кладка ведется кольцами, в перевязку,
замковые кирпичи устанавливаются в районе завалки, швы заполняются периклазовым
порошком фракции 0-1 мм.
Футеровка рабочего слоя горловины начиная с 48
кольца выполняется огнеупорами толщиной 1050 мм в два оката (525+525мм).
Верхнее кольцо кладки рабочего слоя горловины
пробивается; огнеупорной массой на основе периклазового порошка.
Отъемное днище снимается домкратным устройством,
устанавливаемом на пути сталевоза. Кладка футеровки конвертера осуществляется с
уровня пола цеха с использованием телескопического подъемника.
Основные размеры конвертера приведены в таблице
7.
2.2 Расчет параметров кислородной
фурмы
Задача проектирования сверхзвукового дутьевого
сопла состоит в удовлетворении следующим требованиям:
сопло должно обеспечить строго определенный
расход и максимально возможную скорость истечения кислорода при заданном
давлении перед ним;
сохранение постоянства заданных аэродинамических
характеристик кислородных струй на возможно длительное время;
конструкция и технология изготовления сопла
должны быть возможно простыми.
Для получения скорости истечения газа большей,
чем скорость звука нужно применить сопло определенной конфигурации - сопло
Лаваля [5]. Расчет сопла Лаваля сводится к определению длины сопла и размеров
его критического, входного и выходного сечений. Исходными данными для этого
являются расход кислорода (V0), давление (P1) и температура (t1) его перед
соплом в фурме. Основные размеры и эксплуатационные данные фурмы представлены в
таблице 8.
Таблица 8 - Основные размеры и эксплуатационные
данные фурмы
|
Наименование
|
Условное
обозначение
|
Единица
измерения
|
величина
|
|
Удельный
расход технического кислорода
|
|
м3/т
|
59,22
|
|
Удельная
интенсивность продувки
|
|
м3/т
|
2,50
|
|
Давление
перед соплом
|
Р1
|
атм
|
150
|
|
Температура
перед соплом
|
Т1
|
К
|
298
|
|
Количество
сопел в фурме
|
|
шт
|
5
|
|
Плотность
кислорода в критическом сечении сопла
|
Ркр
|
кг/м3
|
11,42
|
|
Критическая
температура
|
Ткр
|
К
|
244,17
|
|
Скорость
в критическом сечении
|
Wкр
|
м/с
|
297,83
|
|
Площадь
критического сечения сопла
|
Fкр
|
м2
|
0,00056
|
|
Диаметр
сопла в критическом сечении
|
dкр
|
м
|
0,035
|
|
Площадь
сечения сопла на выходе
|
Fвых
|
м
|
0,0013
|
|
Скорость
кислорода на срезе сопла
|
W2
|
м3
|
508,79
|
|
Длина
закритической части сопла
|
lзакр
|
м
|
0,08
|
|
Длина
докритической части сопла
|
lдокр
|
м
|
13,40
|
|
Диаметр
критического сечения
|
dкр
|
м
|
0,035
|
|
Общая
длина сопла
|
l0
|
м
|
0,93
|
|
Расположение
фурмы при продувке
|
Нф
|
м
|
0,92
|
|
|
|
|
|
Толщину стенки сопла берем равной 10 мм (обычно
она равна 8-12 мм). Принимаем угол наклона сопел к вертикальной оси равным 15°
при размещении сопел на торцевой части головки в один ряд.
По полученным данным о размерах сопел, а также
угла наклона их к оси фурмы путем графических построений определяем размеры и
проектируем конструкцию коллектора и торцевой части головки фурмы.
На основании данных о расстоянии от уровня
спокойного металла в конвертере до фурменного окна в камине, а также крайнего
верхнего положения каретки закрепления фурмы определяем длину последней в 16м.
С учетом удаления патрубков фурмы от
стационарных точек подвода кислорода и воды к агрегату выбираем длину гибкого
металлического рукава в 15 м.
2.3 Футеровка сталеразливочного
ковша
Выход жидкой стали после раскисления составляет
94,06 кг/100кг металлозавалки.
Масса металла в ковше:
т,
следовательно, выбираем ковш
ёмкостью 160т. Основные размеры сталеразливочного ковша приведены на рисунке 1.
Рисунок 1 - Основные размеры кожуха 160-т
сталеразливочного ковша
Назначение огнеупорной футеровки:
защита металлоконструкций ковша от воздействия
жидкого металла
снижение потерь температуры металла через днище
и стены стальковша
Способы изготовления футеровки сталеразливочных
ковшей:
) футеровка штучным огнеупорным кирпичом вручную
(ККЦ-1)
) монолитная футеровка
метод мокрого торкретирования
набивная с использованием шаблонов
Арматурный слой футеровки стальковша выполняется
из шамотного кирпича. Рабочий слой футеровки - периклазоуглеродистый.
После наполнения ковша металлом агрессивное
химическое воздействие испытывает кольцо шлакового пояса, поэтому заменяем
футеровку шлакового пояса МКРКП-45 №16 (муллито-кремнеземистый кирпич плотный)
на МКТП-85 №87 (муллито-корундовый термостойкий плотный). На рисунке 2
представлены кирпичи описываемых огнеупоров.
Рисунок 2 - Огнеупорные кирпичи МКТП - 85 №87 и
МКРКП - 45 №16
Проблемные зоны футеровки стальковша
представлены на рисунке 3.
Рисунок 3 - Проблемные зоны футеровки стальковша
Преимущества замены огнеупоров для футеровки
стальковша:
получение максимально возможной стойкости
футеровки шлакового пояса;
исключение промежуточных ремонтов ковшей;
высокая химическая стойкость к действиям
расплавленного металла и шлака;
повышенная стойкость к абразивному изнашиванию.
Сравнивая стойкость футеровки до и после замены
получаем, что шлаковый пояс, футерованный МКРКП-45 №16 до промежуточного
ремонта выстоял 16 плавок, общая стойкость ковша - 35 плавок; а шлаковый пояс,
футерованный МКТП-85 №87 без промежуточных ремонтов выстоял 42 плавки, до
промежуточного ремонта - 30 плавок, общая стойкость - 46 плавок.
Сравнительная стойкость футеровки
сталеразливочного ковша до промежуточного ремонта и по общей стойкости за
компанию представлена на рисунке 4.
Рисунок 4 - Сравнительная стойкость футеровки
сталеразливочного ковша
Дополнительные преимущества замены футеровки
шлакового пояса стальковша:
уменьшение воздействий вредных производственных
факторов (снижение времени работы с виброинструментом, запыленности);
снижение объема ж/д и автомобильных перевозок
огнеупорного кирпича и боя кирпича после ремонтов;
снижение парка ковшей, находящихся в
эксплуатации;
высвобождение одной газовой горелки,
используемой для нагрева футеровки ковшей после ремонта.
2.4 Аппарат для подачи порошковой
проволоки
Для подачи ферросплавов в виде порошковой
проволоки на УВОС установлены три трайб - аппарата.
Трайб - аппарат является устройством для
введении порошковой проволоки в расплав черных металлов при внепечной обработке
с целью придания им необходимых свойств. Имеет две дорожки и позволяет работать
по любой из них или по двум одновременно.
Трайб - аппарат позволяет:
подать заранее запрограммированное количество
проволоки;
производить ступенчатое регулирование скорости
подачи;
подачу проволоки вперед и назад.
Техническая характеристика установки типа
30-024-2 представлена в ниже приведенной таблице 5.
Принцип работы трайб - аппарата основан на
протягивании проволоки через направляющие вследствие прижима ее прижимными
роликами к приводным роликам.
При помощи трайб-аппаратов
порошковую проволоку
<#"655444.files/image041.gif">
Рисунок 5 - Устройство для подачи проволоки
30-024-2
Рисунок 6 - Передняя панель заправочного пульта
Установка трайб-аппаратов на УДМ ККЦ-1 позволит
производить модифицирование неметаллических включений силикокальциевой
проволокой в процессе обработки на УДМ, что положительно скажется на качестве
слитков.
Схема подачи порошковой проволоки представлена
на рисунке 32 приложение В.
2.5 Система отсечки шлака типа
«Монокон»
В металлургии одной из проблем на пути повышения
качества производимого продукта, является проблема обнаружения шлака в струе
металла, переливаемого из конвертора в сталь-ковш.
Влияние шлака, попадающего из конвертера в сталь
ковш на основные показатели качества процесса:
Толстый слой шлака на поверхности металла
вызывает образование твердой корки, которая мешает проведению дополнительных
операций по обработке (разогреву) металла в стальковше;
Высокий уровень FeO и MnO в шлаке приводит к
высокому общему содержанию кислорода в стали. Неустойчивые оксиды в шлаке
реагируют с алюминиевыми и другими добавками, что приводит к обеднению сплава;
Большое количество алюминия, требующееся из-за
наличия оксидов, приводит к образованию включений оксида алюминия (Al2O3),
которые засоряют выходной канал и шиберный затвор стальковша;
Фосфор, находящийся в шлаке, попадает в сталь во
время подготовки (разогрева) стальковша и ухудшает свойства стали;
Находящийся в шлаке оксид железа (FeO) реагирует
с огнеупорными материалами и разрушает их.
Для снижения количества шлака, попадающего в
сталеразливочный ковш на выпуске металла, необходимо оборудование конвертеров
№1, 2, 3 системой отсечки шлака типа «Монокон».
Манипулятор «Монокон» позволит повысить
эффективность производства за счет уменьшения угара ферросплавов, раскислителей
и увеличения срока службы футеровки сталеразливочных ковшей. Также следует
отметить, что машины-манипуляторы уверенно работают на повышение качества.
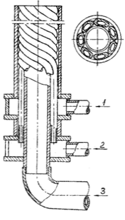
Рисунок 7 ‒ Манипулятор «Монокон» для
отсечки шлака при сливе стали из конвертера
Для эффективной отсечки окисленного шлака в
конвертер на заключительном этапе выпуска вводят отсечной элемент поплавкового
типа рисунок 8. Для эффективного разделения металла и шлака отсечной элемент
должен находиться на границе раздела двух фаз. При полном выпуске жидкой стали
поплавок должен закрывать лётку и отделять шлак, оставляя его в конвертере.
Рисунок 8 ‒ ввод отсечного элемента
поплавкового типа (конус)
Исследования поведения поплавка проводили на
физической модели кислородного конвертера. Из полученных результатов видно, что
соблюдение выше изложенных требований приводит к перекрытию сталевыпускного
отверстия без попадания в него шлака (рисунок 9,а). В противном случае
наблюдается затягивание шлака с различной степенью в лётку конвертера (рисунок 9
б,в).
Рисунок 9 - Поведение поплавков во время
моделирования процесса: а - без попадания шлака; б, в - с различной степенью
затягиванием шлака
Для выполнения этой функции поплавок должен
иметь среднюю кажущуюся плотность между плотностями жидкой стали и жидкого
шлака. Также его геометрические размеры должны обеспечивать полное закрытие
выпускного отверстия и предотвращение затягивания шлака в образующуюся воронку.
При использовании автоматических систем раннего
обнаружения шлака на конвертере отсечка шлака может происходить простым
поворотом конвертера в исходное, вертикальное положение или с помощью
специальных устройств - "затычек".
Рисунок 10 ‒ Отсечка шлака из конвертера с
помощью конуса
Раннее обнаружение шлака и его своевременная
отсечка позволяют добиться следующего:
‒ уменьшение затрат алюминия, как было
сказано выше, при попадании шлака в сталь-ковш приходится увеличивать добавку
алюминия. По некоторым оценкам при своевременном обнаружении шлака удается
экономить около 20 кг алюминия за плавку.
‒ увеличение срока службы футеровки ковша
и шиберного механизма. Сроки службы футеровки ковшей и шиберных механизмов
увеличиваются при уменьшении количества "пропущенного" шлака
‒ уменьшение затрат на шлакоотсекающие
устройства. При автоматическом определении проникновения шлака пропадает
необходимость использовать специальные шлакоотсекающие приспособления.
‒ улучшение качества металла. Уменьшение
количества "пропущенного" шлака сокращает объем вредных примесей,
таких как фосфор.
3. Проект цеха
.1 Определение годовой
производительности цеха
В задании предлагается работа конвертора с
удельным расходом чугуна 788 кг/т годной стали. Расход металошихты в
кислородно-конвертерном процессе составляет 1120-1160 кг/т. Принимаем в проекте
1104 кг/т, в том числе расход ферросплавов 10 кг/т. Тогда расход металлолома в
металлошихте составит:
-(788+10)=306 кг/т годного.
В этом случае расход металлолома и чугуна
металлозавалке соответственно составят
и
Известно, что замкнутый тепловой
баланс кислородно-конверторной плавки можно получить при доле лома в шихте в
пределах 22-25%. В нашем случае доля лома в шихте составляет 28%. В данном
проекте применяем технологию кислородно-топливного процесса с вводом твёрдого
топлива (антрацита) в процессе завалки лома. Выход годных слитков из
металлической завалки определяется потерями металла в процессе плавки, т.е.
выходом жидкой стали, потерями металла в процесса разливки.
Выход жидкой стали колеблется в
сравнительно узких пределах и обычно равен 0,90 - 0,93 от массы металлической
завалки, включающей массы чугуна, скрапа и раскислителей.
Продолжительность плавки зависит от
большого количества факторов и в целом определяется продолжительностью продувки
и продолжительностью вспомогательных операций.
где
- продолжительность продувки, мин;
- продолжительность вспомогательных
операций, мин.
В целом продолжительность
вспомогательных операций составляет от 10 до 30 мин.
Затраты времени по периодам плавки и
в целом на процесс следующие, мин:
. Завалка лома 3
. Подогрев лома 6
. Заливка чугуна 4
. Продувка 18
. Отбор проб на химанализ и замер
температуры металла 4
. Слив металла 6
. Наводка гарнисажа и слив остатков
шлака 6
. Подготовка конвертера и неучтенные
задержки 3
Итого: 50 мин (0,85 ч)
Цех работает по схеме: три
конвертера в работе, и тогда годовая производительность
кислородно-конвертерного цеха определяется по формуле:
,(4)
где N - количество постоянно
работающих конвертеров;
- садка конвертера, т;
- выход годного;
- общая продолжительность плавки, ч
(50 мин. или 0,85 ч);
- доля простоев конвертера
(принимаем 0,25%).
При выходе жидкой стали
= 0,94 и
потерь металла при разливке в изложницы выход годного составит:
(или 86% от массы садки)
Производительность цеха при трех
работающих конвертерах составит:
т/год
Масса плавки по жидкой стали
составляет:
т
Масса плавки по годным слиткам
составит:
т
Максимальное количество плавок в
сутки по цеху при работе трех конвертеров и продолжительности плавки
= 0,85 ч
составит:
плавки.
Тогда максимальная суточная производительность
цеха по годным слиткам составит:
т.
3.2 Выбор типа и определение
количества необходимого оборудования в цехе
В своем составе
кислородно-конвертерный цех №1 имеет следующие отделения:
) Главное здание:
энергетический пролет;
загрузочный пролет;
конвертерный пролет с отделением
прокаливания ферросплавов;
ковшевой пролет;
) Миксерное отделение;
) Отделение шихтовых и магнитных
материалов соединено с главным зданием эстакадой на уровне рабочей площадки
загрузочного пролета:
приемное устройство и тракт подачи
сыпучих материалов;
отделение магнитных материалов;
) Внепечная обработка и разливка
металла производится в 2х разливочных пролетах;
) Дымососное отделение;
) Шлаковый двор;
) Административно-бытовой корпус;
3.2.1 Главное здание цеха
Загрузочный пролет
Заливка чугуна и завалка лома в
конвертер осуществляется мостовыми кранами [10].
Количество заливочных кранов
определяем по формуле:
, (5)
где 1,13 - коэффициент
неравномерности;
А - суточный расход чугуна, тыс.
тонн;
- суммарная задолженность
заливочного крана на 1т чугуна.
Суточный расход чугуна составит:
тыс т,
где 11508 - максимальная суточная
производительность цеха по годным слиткам, тыс т;
,788 - коэффициент расхода чугуна на
тонну годных слитков, т/т.
Принимая
= 0,18
мин/т, количество заливочных кранов составит:
крана.
Принимаем в проекте два мостовых
крана. Тогда загруженность кранов составит:
Таким образом, загрузочный пролет
конвертерного отделения имеет 2 мостовых крана грузоподъемностью 180/63/20,
железнодорожные пути для подачи жидкого чугуна и металлолома. Литейные краны
предназначены для завалки металлолома в конвертер и заливки чугуна, а также для
обслуживания конвертеров и перемещения технологических грузов.
Принимаем насыпную плотность лома в
совках равной
т/м3. Тогда,
при загрузке лома одним совком его объем составит:
, (6)
где Т - садка конвертера по
металлозавалке, т;
- масса металлолома в
металлозавалке, %.
м3.
Принимаем объем совка 40 м3 и,
следовательно, загрузка лома производится двумя совками.
Следовательно, при числе плавок в
течение суток, равном
, в
конвертеры потребуется загрузить
совков с ломом. Если принять
продолжительность цикла оборота совка равным 3,6 часа, то потребное количество
совков составит:
,
где
- коэффициент запаса (1,3);
- длительность цикла оборота совка,
ч;
- число часов в сутках.
Принимаем 16 совков.
В цикл оборота совка входят:
транспортировка от загрузочного пролета к шихтовому отделению, загрузка лома в
совки, ожидание загрузки лома в конвертер в загрузочном пролете, загрузка лома
в конвертер.
Конвертерный пролет
В конвертерном пролете находится
отделение прокаливания ферросплавов. В конвертерном пролете, размещены 3
конвертера емкостью по 160 тонн каждый. Для обслуживания конвертеров, пролет
перекрыт рабочей площадкой, на отметке + 8,18 м. На рабочей площадке рядом с
конвертерами располагаются: вспомогательный пульт управления конвертером и
сталевозом, из которого производится слив металла из конвертера, а также размещены
передвижные площадки для обслуживания и проведения горячих ремонтов
конвертеров.
Каждый конвертер оснащен машиной
подачи кислорода, оборудованной двумя фурмами, установленными в каретках
перемещающихся с помощью индивидуального привода в своих направляющих.
Основными элементами машины для
подачи кислорода в конвертер являются: 2 продувочные фурмы диаметром 219 мм,
имеющие автономное подключение кислорода и воды металлоруковами, направляющая,
по которой движется каретка с закрепленной в ней фурмой в вертикальном
направлении; механизмом подъема и опускания фурм.
Рабочий проем конвертеров огражден
металлическим ограждением (шлаковая защита), предохраняющим приводы конвертера
и рабочую площадку от попадания выбросов шлака и брызг металла.
На отметке + 0,0 на рельсах под
конвертером передвигается самоходный шлаковоз, который предназначен для уборки
шлака из колеи под конвертером и транспортировки сливаемого шлака из
конвертера. Сталевоз предназначен для транспортировки слитого металла в
разливочное отделение.
В торце конвертерного пролета
расположен участок ферросплавов на уровне рабочей площадки отметка + 8,18 м.
Участок ферросплавов имеет восемь расходных бункеров по 40 тонн, восемь печей
прокаливания, оборудованных вибропитателями, и весами для каждой пары бункеров,
пульт управления печами прокаливания, бункерной эстакады. Под эстакадой имеется
самоходная тележка транспортировки ферросплавов.
Раскислители из бункера - весов
пересыпаются в специальный бункер, установленный на самоходной передаточной
тележке. С самоходной тележки бункер с ферросплавами снимается автопогрузчиком
и подается к конвертеру на устройство, с которого по специальной течке в виде
трубы раскислители подаются в ковш при сливе плавки. Прокаливание ферросплавов
осуществляется в специальных печах, оборудованных газовоздушными горелками до
температуры 800°С, с целью удаления гидрантной влаги и снижению охлаждающего
эффекта при раскислении металла во время выпуска.
Над конвертером размещен
газоотводящий тракт, который включает в себя комплекс сооружений,
обеспечивающих улавливание, отвод, охлаждение и очистку конвертерных газов от
пыли, выработку насыщенного пара давлением 35 кг/см2 в количестве 260 т/час.
В осях 15 - 19 располагается
отделение по ремонту стальковшей. В отделении имеется следующее оборудование:
мостовой кран (грузоподъемность
75/15 т);
растворный узел;
механизированный стенд для ломки
футеровки ковшей;
машина для ломки футеровки ковшей;
шиберная мастерская для сборки
затворов;
стенды для сушки ковшей;
площадки для хранения огнеупоров.
Общее количество сталеразливочных
ковшей будет складываться из условий: количество ковшей, находящихся в работе;
количество ковшей одновременно находящихся в ремонте; 10%-ный запас ковшей на
непредвиденные задержки; необходимое дополнительное количество ковшей при
разливке методом «плавка на плавку». Принимаем 3 ковша. Количество
сталеразливочных ковшей, находящихся в работе:
ковшей
Принимаем 18 ковшей.
где
- количество плавок по цеху в
сутки, пл./сут.;
- время оборота одного ковша
(обычно 3 - 6 ч.), принимаем 5 ч (300 мин.).
Количество сталеразливочных ковшей,
одновременно находящихся в ремонте, зависит от стойкости ковша (обычно 10 - 15
плавок) и продолжительности ремонта (обычно 6 - 10 часов). принимаем
соответственно 42 плавок и 6 часов. В этом случае в ремонте за сутки находится:
ковша.
Одновременно в ремонте будет:
(1 ковш).
Тогда общее количество
сталеразливочных ковшей в проектируемом цехе составит: 18 + 2 + 1 =21 ковш.
3.2.2 Миксерное отделение
Здание миксерного отделения
представляет собой отдельно стоящее однопролетное здание с размерами в плане:
ширина 30 м, длина 72 м и высота до головки подкранового рельса 30 м. Отделение
оснащено следующим оборудованием: два миксера емкостью 1300 тонн каждый;
заливочные мостовые краны грузоподъемностью 180+50/16 тонн - 2 шт.;
железнодорожные весы для взвешивания жидкого чугуна, грузоподъемностью 250 тонн
- 2 шт.; чугуновозный ковш емкостью 140 тонн - 3 шт.; стенды под чугуновозный
ковш - 2 шт.; ковш для жидкого доменного шлака емкостью 16м3 - 1 шт.; стенд
переносной для шлакового ковша - 1 шт.; техника для шлакового ковша - 1 шт.;
траверса для шлакового ковша - 1 шт.; стенд под траверсу шлакового ковша - 1
шт.; таль электрическая ТЭ - 10Н, Н - 36 м.
Подача чугуна из доменного цеха в
миксерное отделение осуществляется в чугуновозных ковшах емкостью 140 тонн на
специальных лафетах тепловозом.
Перед поставкой чугуна в миксерное
отделение чугун взвешивается на железнодорожных весах. Поступивший чугун в
миксерное отделение переливается в миксер. Чугун из миксера наливается в
чугуновозный ковш и подается тепловозом в конвертерное отделение.
3.2.3 Отделение магнитных материалов
Металлолом в конвертерный цех №1
поступает в отделение магнитных материалов, представляющее собой однопролетное
отдельно стоящее здание с шириной 30м, длиной 84,0 м. Для приема и создания
запаса металлолома предусмотрена яма для скрапа площадью 864,2 м2, объемом 2400
м3, что обеспечивает 5-ти - 6-ти суточный запас металлолома для работы
конвертеров. Яма находится в центре между железнодорожными путями №1 и №2.
Для разгрузки металлолома и его
погрузки, отделение магнитных материалов оборудовано 4-мя магнитными кранами
грузоподъемностью 15 т. Металлолом в отделение поступает в железнодорожных
вагонах или платформах, кранами разгружается в яму или сразу грузится в совки
емкостью 40 м3, установленные на лафеты с поворотным устройством. Погрузка
металлолома в совки осуществляется на железнодорожных путях №2 и №3. Кроме
этого уже подготовленные совки с ломом поступают из копрового цеха
Емкость бункеров зависит от
суточного расхода материалов и принятых норм их запаса. Количество материалов
на одну
плавку годных слитков:
, (8)
где
- расход материалов на 100 кг
металлической завалки, кг;
- коэффициент выхода жидкой стали
(0,91);
- коэффициент выхода годных
слитков.
т/т годного.
3.2.4 Приемное устройство и тракт
подачи сыпучих материалов в конвертерное отделение
Тракт подачи сыпучих материалов
предназначен для приема, хранения, транспортировки, дозирования шлакообразующих
материалов в конвертер
(таких как известь, доломит,
окатыши, антрацит, агломерат, разжижители шлака и др.).
Тракт подачи сыпучих материалов
включает в себя:
приемное устройство с двумя механизированными
разгрузочными подъемными площадками и тремя приемными бункерами, оснащенными
вибропитателями;
ленточный конвейер №1;
ленточный конвейер №2; передвижной
реверсивный конвейер РЛК;
расходные бункера по 5 над каждым
конвертером; перегрузочное устройство для каждого конвертера включающий в себя
весовой бункер и поперечный конвейер;
промежуточные бункера по одному на
конвертер; желоб для подачи материалов в конвертер из промежуточного бункера;
вентиляционные и аспирационные системы.
Приемное устройство представляет
собой здание длиной 20 м, шириной 10,5 м, высотой 22 м. здание имеет подземную
и наземную части. Приемное устройство оборудовано автоматическими распашными
воротами, подъемными площадками с гидросистемой, системами вентиляции и аспирации,
тремя приемными бункерами.
.2.5 Дымососное отделение
Дымососное отделение представляет
собой отдельно стоящее отапливаемое здание длиной - 48 м, шириной - 18 м и
высотой 19,8 м. Помещение имеет стальной каркас и керамзитобетонное стеновое
ограждение. В дымососном отделении установлено: задвижка газовая диаметром 200
мм - 3 шт.; нагнетатель площадью 4200 нм2/мин - 3 шт.; электродвигатель - 3
шт.; дроссельная задвижка диаметром 2000 мм - 4 шт.; воздухоотделитель ВПУ - 16×16×500
- 4 - 6 шт.;
электромостовой кран грузоподъемностью 15 тонн для ремонтных нужд.
В дымососное отделение включается:
здание дымососной, газопроводы диаметром 2620 мм, дымовая труба высотой 80 м,
дымоотводящий боров, свечи частичного дожигания газов. Нагнетатели типа 6500 -
12 - 1 используются в качестве дымососов для отсоса продуктов горения из
конвертера во время ведения плавки.
3.2.6 Шлаковой двор
Здание шлакового отделения имеет
длину - 150 м, ширину - 30 м и высоту - 19,35 м. Для приема шлака отделение
имеет следующее оборудование: шлаковоз самоходный ШС - 215 - 3600 - 3 шт.;
шлаковые чаши емкостью 16 м3 - 12 шт.; переносной стенд для шлаковых чаш - 12
шт.; кран мостовой общего назначения грузоподъемностью 100/20 тонн - 2 шт.;
кран мостовой магнитогрейферный грузоподъемностью 15 + 15 тонн - 2 шт.;
экскаватор ЭКГ - 46 Б - 2 шт.; пульт управления самоходными шлаковозами; пульт
управления кантующимися шлаковозами.
Самоходный шлаковоз предназначен для
транспортировки жидкого шлака из под конвертера на шлаковый двор. Шлаковоз
используется для очистки путей под конвертером, установленным на нем скребком.
Электроснабжение шлаковоза производится с надземных троллей.
3.3 Схема технологических потоков
Металлолом поступает из
скрапоразделочного цеха в отделение шихтовых и магнитных материалов в вагонах
МПС и вагонах парка завода (чугуновозки) где складируется магнитными кранами в
яму разделяя тяжеловесный и легковесный металлолом. Здесь же происходит
подготовка лома к завалке - загрузка металлолома в совки грузоподъемностью 15 т
установленные на тележки. Дозирование совков на плавку осуществляется по заявке
сменного мастера конвертеров. Металлическая шихта на тележках подается из
отделения шихтовых и магнитных материалов в конвертерное отделение и, при
помощи реечного толкателя, загружается в конвертер.
Чугун из доменного цеха
транспортируется тепловозами по железной дороге в чугуновозных ковшах
установленных на лафеты. При поступлении состава с чугуном в миксерное
отделение чугун из ковшей сливается в два стационарных миксера емкостью 1300 т
поочередно. По заявке сменного мастера конвертеров чугун на плавку из миксера
наливается в чугуновозный ковш установленный на лафет. Чугун из миксерного
отделения в ковшах емкостью 140т тепловозом подается к конвертерам и заливался
краном. После заливки чугуна конвертер устанавливается в вертикальное
положение.
Сыпучие материалы: плавиковый шпат,
известь, агломерат, руда автотранспортом завозятся на ПТС (приемное тракта
сыпучих) и далее по транспортерам поступает в приемные бункера конвертеров (по
4 бункера на каждом конвертере).
Загружается первая порция сыпучих
материалов и опускается фурма для продувки плавки кислородом чистотой 99,5%,
давлением 15 кг/см2. Время продувки плавки 22-24 мин. По окончании продувки
отбирается проба на экспресс-анализ стали и замеряется температура.
При достижении необходимой
температуры 1605-1630 °С и
необходимого химического анализа, металл выпускается в сталеразливочный ковш
емкостью 130 т, где осуществляется его раскисление и доводка металла до
заданного параметра по химическому составу. Сталеразливчный ковш установлен на
самоходной тележке - сталевозе. После выпуска металла из конвертера сливается
шлак в шлаковую чашу емкостью 16 м3. Сталеразливочный ковш с металлом подается
в один из разливочных пролетов, где поднимается разливочным краном и
транспортируется на разливочную площадку. Вдоль разливочной площадки установлен
состав с изложницами в которые металл разливается разливщиками. Для перекрытия
струи металла при переезде с одной изложницы на другую используется стопорное устройство.
По окончании разливки стали и отстоя состава для кристализации слитков, состав
тепловозом транспортируется в отделение раздевания слитков. Далее слитки
транспортируются на блюминг, либо на склад слитков, а изложницы в отделение
очистки и смазки.
В период строительства и «имитации
производства» выявились слабые стороны в проекте цеха, узкие места в
организации работ на технологических участках. Конвертерщиков не устраивала
предусмотренная проектом завалка лома совками грузоподъемностью 15 т. На эту операцию
предусматривалось 5 минут. Практически же в зимних условиях эту работу
приходилось выполнять гораздо большее время.
В настоящее время металлолом
подается в конвертерное отделение в совках емкостью 40 м3, что позволяет
производить погрузку металлолома на плавку как в отделении шихтовых и магнитных
материалов конвертерного цеха, так и в копровом цехе комбината.
Интенсивность продувки увеличилась
до 400 м3/мин. Претерпел изменения и участок подготовки ферросплавов на плавку.
Схема технологических потоков
представлена на рисунке 11.
Рисунок 11 - Принципиальная схема
технологических потоков производства стали в слитках
4. Специальная часть
.1 Исследование особенностей
технологии производства стали в конвертерах с пониженным расходом чугуна
В основных направлениях экономического и
социального развития в черной металлургии предусмотрено обеспечение прироста
производства стального проката без роста выплавки чугуна при снижении его
расхода, а также дальнейшее расширение производства конвертерной стали.
Планируемое улучшение структуры сталеплавильного производства, наращивание
мощностей конвертерного производства, характеризующегося более высоким удельным
расходом жидкого чугуна на получение стали, делает особенно актуальными
проблемы экономии чугуна и снижения его расхода путем улучшения тепловой работы
конвертеров, замены его в шихте металлоломом.
Обычным соотношением доли лома к чугуну
составляет, чугуна в ходе плавки расходуется 75% , а лома 25%. С понижением
расхода чугуна увеличивается расход лома. Освоение таких процессов наряду с
повышением степени использования ежегодно образующихся ресурсов лома позволит
улучшить структуру отрасли и увеличить объем производства стали без
дополнительной выплавки чугуна. Считается, что по экономическим показателям
такая технология сможет конкурировать с выплавкой стали в дуговых электропечах.
Комплексное применение методов понижения доли
чугуна и увеличения доли металлического лома в шихте конвертеров основан на
предварительном подогреве лома перед заливкой чугуна.
Металлолом является дешевым сырьем для
производства стали. Использование металлолома обеспечивает значительную
экономию основных материалов, топлива и энергоресурсов, а также снижает затраты
труда. Увеличение расхода лома в конвертерном производстве стали приобретает
все большее значение как в нашей стране, так и во многих индустриально развитых
странах, в связи с ростом металлофонда, выводом из эксплуатации мартеновских
печей и возможностью использования амортизационного лома.
4.2 Энергоемкость основных сырьевых
материалов металлургического производства и энергоносителей
В последние годы в нашей стране и за рубежом
благодаря возросшему вниманию специалистов к вопросам энергетики
металлургического производства, частично вскрыты и использованы резервы
снижения энергоемкости чугуна, стали, проката. Большая же часть имеющихся
резервов нуждается в поиске новых эффективных путей их реализации.
К настоящему времени в качестве энергоемкости
какого-либо продукта производства, в том числе и стали, принимают затраты
первичной энергии в виде потенциальной тепловой энергии в данном производстве и
на всех предшествующих этапах получения материалов, использованных на плавку,
включая энергоносители (топливо, электроэнергию, тепловую энергию) [2]. Иными
словами энергоемкость стали представляет собой сумму энергоемкостей,
затраченных на ее получение материалов и энергоносителей. Для отдельного
материала в его энергоемкости учитываются затраты энергии на добычу сырья, его
транспортировку, подготовку к производству (с учетом всех компонентов шихты).
Энергоемкость топлива прежде всего включает его теплотворную способность, а
также затраты первичной энергии на добычу, переработку и транспортировку.
Определяя энергоемкость участвующих в производстве материалов, вычитают
потенциальную тепловую энергию побочных продуктов производства, обладающих
теплотворной способностью или значительным теплосодержанием и поддающихся
утилизации для дальнейшего полезного применения в качестве тепло- или
энергоносителей (например, при получении кокса - газа, смолы, бензола; при
производстве чугуна - доменного газа и т.д.).
Ниже, приведена таблица энергоемкостей основных
сырьевых материалов металлургического, в том числе сталеплавильного
производства; стали, полученной по различным технологическим схемам [5].
Следует заметить, что для определения как энергоемкости сырьевых материалов,
так и непосредственно стали, достаточно учитывать затраты только наиболее
энергоемких материалов и энергоносителей.
В таблице 10 приведены данные энергоемкости
основных шихтовых материалов, топлива и огнеупоров, технологических газов,
использующихся в сталеплавильном производстве.
Таблица 10 - Удельная энергоемкость основных
материалов сталеплавильного производства
|
Материалы
|
Энергоемкость
|
|
Материалы
|
Энергоемкость
|
|
|
Агломерат,
МДж/кг Кокс, МДж/кг Уголь, антроцит, МДж/кг Природный газ, МДж/м3 Мазут, МДж/
кг Чугун, МДж/кг Металлолом, МДж/ кг Металлезированные окатыши , МДж/кг
Ферросплавы, МДж/кг: ФМН75 ФС45
|
|
2,2
40,4 31,0 37,6 41,0 23,8 0,2 17,0 55,02
|
Известь,
МДж/кг Огнеупоры, МДж/ кг Электроды графи- тированные, МДж/кг Кислород, МДж/
м3 Азот, МДж/м3 Аргон, МДж/м3 Компрессорный воздух, МДж/ м3 Электроэнергия
МДж/кВт • ч
|
5,4
16,5 186,0 5,8 2,5 35,6 1,15 11,25
|
|
|
|
|
|
|
|
|
|
|
|
|
|
|
|
|
|
|
|
|
|
|
|
|
|
|
|
|
|
|
|
|
|
|
|
|
|
|
|
|
|
|
|
|
|
|
|
|
|
|
|
|
|
|
|
|
|
|
|
|
|
|
70,34
|
|
|
|
Как видно из таблицы 10 , максимальный уровень
энергозатрат характерен для процессов с высокой долей чугуна в шихте. Поэтому
важнейшими резервами снижения энергоемкости является экономия топлива и энергии
при получении чугуна и снижение его расхода в производстве стали. Снижение
расхода чугуна необходимо добиваться совершенствованием тепловой работы
современных сталеплавильных агрегатов и создание новых высокоэффективных
энергосберегающих технологий выплавки стали , за счет увеличения доли
металлического лома в шихте до 30 - 50%. При таком содержании металлического
лома в шихте, энергоемкость металла, полученного в кислородном конвертере ,
существенно снижается, что в целом определяет перспективность указанных
процессов с позиции энергетики переработки в стали с указанной долей
металлического лома в металлошихте в таблице 29 и рисунке 31 (Приложение А)
приведены энергомкости выплавки стали при различной доле лома в шихте [2].
Все комбинированные процессы, позволяющие
увеличить долю лома в металозавалке, приводят к снижению удельных энергозатрат
на выплавку стали. Прежде всего это связано с различной энергоемкостью чугуна и
стали. При определении энергозатрат в килограмма условного топлива,
энергоемкость одной тонны лома составляет 252 кг у.т., в то же время
энергоемкость одной тонны чугуна составляет более 811 кг у.т. Поэтому
соответствующая замена в металлозавалке одной тонны чугуна на одну тонну
металлического лома, позволяет сэкономить не менее 559 кг.у.т.
Высокая энергоемкость чугуна приводит к тому,
что при получении стали только из из чугуна, общие энергозатраты в 3-4 раза
больше, чем при выплавке ее из стального. Снижения расхода чугуна необходимо
добиваться совершенствованием тепловой работы современных сталеплавильных
агрегатов и созданием новых высокоэффективных энергосберегающих,
высокопроизводительных технологий выплавки стали,
Таким образом, повышение доли металлолома в
шихте сталеплавильных агрегатов, всемерное увеличение степени использования
образующихся ресурсов лома черных металлов резко снижают расходы первичной
энергии в отрасли и энергоемкость стали. При современной структуре металлошихты
в стране и ожидаемом в будущем повышении доли лома в ней до 50 % наиболее энергетически
выгодна структура сталеплавильного производства, с максимальной степенью
участия кислородно-топливного процесса с расходом лома 40-50 %.
4.3 Тепловой баланс
кислородно-конвертерной плавки
Уровень и структура материальных и
энергетических затрат характеризуют состояние технологии и техники процесса, их
анализ позволяет вскрыть резервы, наметить пути их реализации. Материальный и
тепловой балансы конвертерного производства стали взаимно обусловлены.
В таблице 11 приведены средние данные о тепловом
балансе конвертерных плавок при использовании в качестве охладителя стального
лома.
Таблица 11 - Средние данные о тепловом балансе
конвертерных плавок при использовании в качестве охладителя стального лома
|
Приход
тепла
|
%
|
Расход
тепла
|
%
|
|
1.
Физическое тепло чугуна
|
49
- 53
|
1.
Физическое тепло стали в том числе на нагрев и расплавление
|
68
- 72 15 - 21
|
|
2.
Тепло реакций окисления в том числе: углерода до СО углерода до СО2 кремния
марганца железа фосфора
|
45
- 49 17 - 22 6 - 7,5 6,5 - 10,5 0,6 - 2,5 5 - 8 0,5 - 1,5
|
2.
Физическое тепло шлака
|
12
- 17
|
|
|
3.
Физическое тепло газов
|
6,5
- 9,5
|
|
|
4.
Тепло, уносимое плавильной пылью
|
1,5
- 2,0
|
|
3.
Тепло реакций шлакообразования
|
2,5
- 5
|
5.
Потери тепла в том числе: через корпус с водой фурмы через горловину
излучением и конвекцией
|
1,8
- 3,0 0,3 - 0,7 0,4 - 0,7 1,1 - 2,0
|
|
Всего
|
100,0
|
Всего
|
100,0
|
|
Примечание.
Общий приход (расход) тепла составляет 180 - 200 МДж/100 кг металлозавалки
|
Кислородно-конвертерные процессы производства
развивались как процессы, не требующие использования дополнительного топлива.
Количество жидкого чугуна, его состав и температура определяют, как правило,
расходы кислорода не процесс и охладителей для поглощения избыточного тепла. В
большинстве случаев охладителем служит стальной лом.
Как видно из таблицы 11 основным источником
тепла в конвертере является физическое тепло чугуна, составляет ~50 % приходной
части теплового баланса, остальные ~50 % тепла вносят экзотермические реакции
окисления примесей металлозавалки просуммированные с теплотой шлакообразования.
Большую долю составляет тепло от окисления углерода (50 - 65 % всего тепла,
выделяемого в ванну протекающими химическими реакциями). Если бы весь углерод
окислялся до СО2, приход тепла от его окисления увеличился в 2,5 - 2,6 раза. В
последние годы отношение СО2/(СО + СО2) в газах на срезе горловины конвертера
снизилось в связи с повышением удельной интенсивности продувки до 3 - 4
м3/(т•мин) и динамического напора истекающего из фурмы кислорода. Величина
этого отношения определяется, главным образом, конструкцией применяемых
кислородных фурм и конструкцией наконечников последних. Увеличение числа сопел
и угла наклона их к вертикали при одних и тех же расходах дутья и положения
фурмы вызывает увеличение общей боковой поверхности струй, следовательно, и
объема зоны свободной струи со скоростью ниже критической, что уменьшает
жесткость дутья. Это сопровождается некоторым увеличением приходной части
теплового баланса плавок при возрастании удельного расхода кислорода (для
дожигания СО).
Теплота реакции окисления кремния достигает 13 -
20 % от общего количества теплоты химических реакций при переработке обычных
передельных чугунов. Содержание Mn в металлическом расплаве при использовании
обычных передельных чугунов играет менее значительную роль. Следует отметить,
что мировая конвертерная практика характеризуется тенденцией снижения
содержания марганца в чугуне. Эта величина уменьшилась от 1,0 - 1,3 до 0,4 -
0,6 % и ниже, чему способствует экономии марганца.
Теплота от окисления фосфора при продувке передельных
чугунов почти не влияет на тепловой баланс плавки.
Основной расход тепла составляют (таблица 11):
физическое тепло стали (68 - 72 %);
физическое тепло шлака (12 - 17 %);
физическое тепло газов (6,5 - 9,5 %).
Следующей, наиболее значимой величиной расходной
части теплового баланса является:
тепловые потери конвертером (2 - 3 % и более), в
том числе:
тепловые потери теплопроводностью через
футеровку (потери через корпус конвертера, средняя величина которых составляет
0,3 - 0,4 %, возрастая к концу кампании конвертера до 0,7 - 0,9 % от приходной
части);
потери тепла футеровкой конвертера в
межпродувочный период (тепло, аккумулируемое «активным» слоем футеровки в
процессе продувки ванны кислородом и теряемое в межпродувочный период);
потери тепла излучением через горловину
конвертера;
потери тепла на охлаждение кислородной фурмы;
потери тепла на нагрев кислорода продувки.
Остальные статьи расходной части теплового
баланса плавки составляют от 3,0 до 5,0 % приходной части, в том числе:
тепло, уносимое выбросами 0,5 - 0,7 %
тепло, уносимое плавильной пылью 0,5 - 0,8 %
тепло диссоциации карбоната кальция шихты 0,5 -
0,8 %
тепло диссоциации оксидов железа шихты 0,8 - 1,3
%
тепло, уносимое железом корольков шлака 0,3 -
0,7 %
тепло, уносимое железом выбросов 0,4 - 0,6 %
Итого 3,0 - 4,9 %
Таким образом , для улучшения теплового баланса
кислородно-конвертерного процесса необходимо, увеличение вносимого физического
тепла и снижение теплопотерь по ходу плавки. Выполнение этих условий позволит
выгодно изменить соотношение чугун-металлолом в сторону увеличения доли
металлического лома в шихте.
4.3.1 Основные способы улучшения
теплового баланса кислородно-конвертерного процесса
Улучшить тепловой баланс возможно либо путем
увеличения вносимого физического тепла и снижение теплопотерь [4]. Практическое
применение нашли следующие приемы:
повышение температуры заливаемого чугуна;
применение ковшей миксерного типа большой
емкости (600 т);
подогрев сталеразливочных ковшей перед выпуском
металла из конвертера;
дополнительный нагрев чугуна в миксере;
предварительный нагрев лома в конвертере и вне
его;
повышение использования энергии углерода путем
увеличения доли его окисления до СО2 в полости конвертера;
увеличение химически связанного тепла углерода
путем ввода в конвертер кускового или порошкообразного углеродсодержащего
материала, других специальных добавок, при окислении которых выделяется большое
количество тепла;
улучшение организации производства, направленное
на снижение всех видов потерь тепла конвертером;
использование вспомогательной фурмы-зонда не
только с целью управления и контроля технологического процесса, но и для
уменьшения послепродувочного периода (до слива металла) и снижения
соответствующих теплопотерь;
повышение качества материалов, используемых в
процессе выплавки, для уменьшения затрат энергии на их усвоение и исключения
отклонений от оптимальной технологии.
Необходимо отметить, что выпуск более горячего
чугуна из доменных печей - путь нерентабелен, поскольку связан, с повышенным
расходом кокса в доменном производстве, в доменном процессе высокая температура
чугуна на выпуске всегда сопровождается высоким содержанием кремния в чугуне,
что существенно влияет на дальнейший передел чугуна в сталь в сталеплавильных
процессах, в том числе и в кислородно-конвертерном. Хотя, при этом, содержание
серы в чугуне уменьшится.
Наиболее рациональным способом является
уменьшение потерь теплоты на пути движения чугуна от доменного к
кислородно-конвертерному цеху. Это возможно осуществить либо, используя большие
ковши для транспортировки чугуна от доменных печей, либо использовать
положительно зарекомендовавшие ковши миксерного типа емкостью 420 и 600 т, в
которых в процессе выдержки и транспортировки температура чугуна снижается на
10ºС/ч,
что в 8 - 10 раз меньше, чем в обычных 140-тонных ковшах. Надежным и реальным
способом снижения теплопотерь является применение чугуновозных ковшей с
крышками, хотя в этом случае добавляются новые операции на снятие крышек и
закрывание ими ковшей, что может вызвать организационные трудности. При этом
почти полностью устраняются теплопотери излучением через горловину ковша,
которые обычно составляют 16,3 - 18,5 кВт/т и приводят к снижению температуры
чугуна за 1 с на ~0,019 К. Возможен и другой наиболее простой способ - засыпка
на поверхность чугуна теплоизолирующих смесей (опилки с коксиком и др.).
Средняя температура заливаемого чугуна
соответственно в 160-т конвертеры составляет 1324 и 1409ºС.
Углерод, содержащегося в конвертерной шихте,
позволяет улучшить тепловую работу агрегатов. Эту роль надо усиливать,
поскольку повышение количества перерабатываемого в конвертерах углерода не
вызывает таких нежелательных побочных эффектов, как увеличение содержания
кремния и фосфора. При этом, главным образом, происходит снижение расхода
чугуна и удлинение продувки в случае невозможности ее интенсификации. Эта роль
еще более усилится при организации в полости конвертера частичного (полное
нецелесообразно) дожигания СО до СО2 с эффективной передачей полученного тепла
металлической ванне.
Снижение температуры чугуна уменьшает
растворимость в нем углерода, который выделяется в виде спели и теряется для
конвертерного производства, т.е. резко падает приход физического и химического
тепла чугуна. Следует также в конвертерную ванну вводить дополнительно углеродсодержащие
материалы, использовать дутьевые устройства, предназначенные для дожигания СО в
объеме конвертера.
Использование в конвертерной плавке
углеродсодержащих материалов и организация дожигания СО в полости конвертеров
имеют ряд технологических особенностей, являющихся самостоятельными
технологическими вариантами конвертерного производства стали.
Вторым направлением использования тепловых
резервов обычного кислородно-конвертерного процесса является повышение качества
материалов, используемых при плавке, для уменьшения затрат энергии на их
усвоение ванной и исключения отклонений от оптимальной технологии. В этом
случае должны быть выделены повышение плотности и чистоты металлолома,
максимальное его использование для погашения избыточного тепла процесса, передел
чугунов с 0,6-0,8 % Si, поставка для конвертеров мягкообожженной
высокореакционной извести, применение кислорода высокой чистоты (> 99,5 %),
отбраковка дутьевых устройств даже при небольшой течи воды.
Однако кардинально решить задачу повышения
расхода металлолома в конвертерах доступным для металлургов изменением состава
и температуры чугуна, повышением качества используемых в плавке материалов и
сокращением теплопотерь очень трудно.
Также задача не решается, как было уже показано,
и путем повышения расхода металлолома за счет сжигания железа (увеличение
потерь железа в 2 и более раз в виде бурого дыма и в 1,5 раза со шлаком в виде
оксидов и сокращение периода службы конвертерной футеровки).
В результате необходимо искать пути ее решения в
коренном изменении технологии производства стали. Этими путями являются подвод
тепла или энергоносителей от внешних источников.
Для улучшения теплового баланса
кислородно-конвертерного процесса, и в связи с этим, увеличения доли лома в
шихте можно выделить ряд способов:
предварительный подогрев лома, посредством
сжигания твердого или газообразного углеродосодержащего топлива;
ввод твердого углеродосодержащего материала в
завалку или по ходу плавки;
повышение использование энергии углерода путем
увеличения доли его окисления до СО2 в полости конвертера.
4.4 Возможности увеличения расхода
лома в шихте кислородных конвертеров
.4.1 Методы увеличения доли лома в
шихте кислородных конвертеров
Развитие кислородно-конвертерного производства
стали при одновременном уменьшении доли мартеновского производства металла,
расширяющимся строительстве двухванных печей и недостатке чугуна на ряде
металлургических заводов создает острую необходимость решения проблемы
увеличения расхода лома в конвертерах.
Расход лома в конвертерах, определяемый составом
чугуна, сортаментом выплавляемого металла, емкостью конвертеров и длительностью
плавки, по расчетам материальных и тепловых балансов (соответствующих
многолетней практике конвертерных цехов) составляет максимально 30-31 % от
массы чугуна. С учетом реальной загрязненности лома расход его в отечественных
конвертерных цехах уже соответствует этому максимуму и колеблется в пределах
29,9-34,8% (260-299 кг/т стали).
В будущем некоторого увеличения расхода лома
можно ожидать в результате увеличения средней емкости конвертеров и уменьшения
длительности продувки и плавки. Зависимость расхода лома от емкости
конвертеров, объясняемая уменьшением теплопотерь при увеличении емкости, в
первом приближении линейна - при переходе от 10-т к 300-т конвертерам расход
лома увеличивается от 280 до 325 кг/т стали. Увеличение расхода лома с
уменьшением длительности продувки и плавки обратно пропорционально уменьшению
теплопотерь конвертеров и может дать прирост расхода лома не более 10-20 кг/т
стали при сокращении длительности плавки в пределах 5-10 мин.
Таким образом, ни повышение емкости конвертеров,
ни уменьшение длительности плавки не решают проблемы увеличения расхода лома,
решение которой следует искать в разработке специальных мероприятий.
Увеличение расхода лома в конвертерах возможно в
результате:
) изменения химического состава чугуна;
) присадки в конвертерную ванну химических
теплоносителей или топлива перед продувкой или во время нее;
) дожигания окиси углерода отходящих газов в
полости конвертера;
) предварительного подогрева лома в конвертере
или вне его;
) повышения температуры жидкого чугуна.
Следствием применения любого из методов
повышения расхода лома в конвертерах является изменение показателей процесса и
прежде всего расхода металлошихты. Для ряда методов даже при некотором общем
снижении расхода металлошихты характерно повышение необратимых потерь железа со
шлаком и отходящими газами, поэтому эффект применения того или иного метода
следует оценивать и по величине потерь железа, поскольку расход металлошихты и
выход годного уже не являются в таких случаях достаточно объективными
показателями из-за различного угара примесей чугуна и лома.
4.4.2 Изменение химического состава
чугуна
Изменение химического состава чугуна возможно
практически лишь в направлении увеличения содержания в нем кремния.
Теоретическими расчетами, и экспериментально установлено, что увеличение на
каждые 0,1% концентрации кремния сверх оптимальных для конвертерного процесса
пределов (0,5 - 0,7%Si) при переработке чугуна обычного состава сопровождается
повышением расхода лома на 10 кг/т стали при одновременном увеличении расхода
извести на 7 кг/т стали, выхода шлака на 13 - 15 кг/т стали и потерь железа,
как минимум, на 0,15% от массы металлошихты. Неизбежно также увеличение расхода
огнеупоров вследствие снижения стойкости футеровки конвертеров на 20-25 плавок.
Конъюнктурные соображения, основанные на различиях цен на чугун и лом, иногда
заставляют металлургические заводы США идти на повышение концентрации кремния в
чугуне. Однако этот опыт не может служить примером для отечественных цехов; в
связи с изложенным этот метод, повышения расхода лома не может быть
рекомендован для практического использования.
Увеличить концентрацию кремния в металле можно
также путем присадки ферросилиция в ванну конвертера. Однако и этому способу
присущи все недостатки, указанные выше, и он также не может быть рекомендован
для практического применения.
4.4.3 Использование химических
теплоносителей
За рубежом исследовано применение карбида
кремния (SiC) и карбида кальция (СаС2) для увеличения расхода лома, причем
применение SiC считается одним из самых экономичных методов повышения расхода
лома [2, 3]. Ниже приведены расчетные и практические показатели конвертерного
процесса при присадке карбида кремния:
Показатели по расчету фактически.
Количество присаженного SiC, кг/т чугуна 10 10.
Увеличение расхода извести, кг/т чугуна 64,8
32,68.
Увеличение количества шлака, кг/ч чугуна 79,9
Н.св.
Увеличение потерь железа, кг/т чугуна 11,8.
Тоже.
Повышение прихода тепла, ккал/т чугуна 39798,0».
Увеличение расхода лома:
кг/т чугуна 117,3 78,9.
кг/т металлошихты 63,0 48,0.
Уменьшение выхода жидкого металла, % 0,3 Н.св.
Повышение расхода кислорода, м3 8,3 4,9.
Отличие расчетных данных от фактических
объясняется различием состава SiC (расчет проведен на чистый SiC) и неполным
его усвоением. Теоретически на 1 т SiC следует присаживать дополнительно 12 т
лома [4].
Опробование этого метода было проведено при
переделе жидкого полупродукта, полученного из ванадиевого чугуна в условиях
Нижнетагильского металлургического комбината [4], с использованием карбида
кремния, содержащего 45-54% Si и 22,3-27% С (при чистом SiC эти содержания
составляют 75 и 25% соответственно). Повышение расхода лома составило 6 т/т,
при этом расход кислорода увеличился на 700 м3/т SiC, расход плавикового шпата
возрос на 200-300 кг на плавку, а выход годного снизился на 0,9%.
Приведенные данные однозначно свидетельствуют о
бесперспективности применения SiC в связи с ухудшением всех показателей
процесса, особенно если учесть, что для народнохозяйственных расчетов стоимость
лома следует приравнивать к стоимости чугуна.
Применение в качестве химического топлива СаС2 с
термодинамической точки зрения является более перспективным, поскольку ввод
этого соединения должен обеспечить экономию извести и не должен сопровождаться
увеличением выхода шлака и снижением выхода жидкой стали. Однако опыты
американской фирмы «Pittsburgh Steel» («Питтсбург стил»), проведенные в 180-т
конвертерах, свидетельствуют о том, что показатели процесса применение СаС2 не
лучше, чем при применении SiC:
Расход СаС2, т. 5,0 9,0.
Количество переплавляемого лома, % от массы
металлошихты 40,0* 51,0*.
Ориентировочный расход СаС2, кг/т дополнительно
переплавляемого лома 270 236.
Теоретический расход СаС2, кг/т переплавляемого
лома 130 130.
Увеличение длительности плавки, мин (обычная
длительность плавки 45 мин) 10,0 15,0.
Увеличение расхода кислорода, м3/т стали 9,5
15,0.
Снижение выхода жидкого металла, % 1,0 1,5.
Увеличение расхода CaF2, кг/т. 3 4.
Увеличение содержания железа в конечном шлаке, %
5,0 5,0.
Снижение расхода извести, т/плавку 2,3 4,0.
Следует отметить существенное снижение выхода
годного, что объясняется высокой окисленностью шлака и увеличением потерь
металла с плавильной пылью. Высокую окисленность шлака, по-видимому, можно
объяснить кинетикой усвоения СаС2 - карбид кальция не растворяется в металле,
он усваивается шлаком, для которого коэффициенты диффузии и массопереноса
значительно ниже, чем в металле, поэтому для усвоения кальция шлаком необходимо
значительное его переокисление по сравнению с обычным процессом.
Приведенные данные показывают, что в целом
применение СаС2 нельзя рассматривать в качестве достаточно эффективного метода
увеличения расхода лома в конвертерах.
4.4.4 Дожигание монооксида углерода
в конвертере
Интересным методом подогрева жидкой ванны с
конструктивной и технологической точек зрения является дожигание окиси углерода
отходящих газов в полости конвертера с помощью двухъярусных фурм. В этом случае
не требуется подача в конвертер дополнительного топлива, дожигание СО до СО2
происходит без увеличения объема газов, что не ограничивает интенсивности
подачи кислорода при заданной производительности дымососов, конструктивные
изменения фурм относительно несложны.
Однако этот метод отличается двумя весьма
серьезными недостатками. Во-первых, температура горения СО в кислороде
достигает 3000° С. Во-вторых, резкое увеличение содержания СО2 в образующихся
газах сопровождается увеличением окисленности шлака в течение всей плавки.
Воздействие высокотемпературного
кислородно-топливного факела и повышенной окисленности шлака должно привести к
резкому снижению стойкости футеровки конвертеров.
Практика подтверждает, что в таком процессе при
увеличении расхода лома на 7-15% от массы чугуна стойкость футеровки снижается
на 20-25%. Следует учитывать также возможность уменьшения выхода жидкого
(годного) металла как вследствие повышения окисленности шлака, так и в
результате выбросов, обусловленных ею.
В связи с изложенным такой метод работы
конвертеров в настоящее время не может быть рекомендован для промышленного
применения.
Перспективным способом улучшения теплового
баланса кислородно-конвертерного процесса является повышение степени
использования тепла, выделяющегося при дожигании отходящих газов в полости
конвертера за счет применения кислородных фурм специальной конструкции. Такой
способ не требует использования дополнительных энергоносителей и является
экономичным, с минимальными энергозатратами. К специальным дутьевым устройствам
обычно относят такие фурмы, которые применяют как для подачи кислорода на
продувку и окисление примесей конвертерной ванны, так и для решения других
специальных технологических задач, например, дожигания оксида углерода в
полости конвертера.
В соответствии с современными представлениями
основное количество углерода, содержащегося в конвертерной ванне, окисляется до
СО и лишь 10 % углерода металла - до СО2. При этом повышение содержания СО2 в
отходящих газах только лишь на 1 % позволяет увеличить приходную часть
теплового баланса плавки и снизить расход чугуна примерно на 3,3 кг/т стали.
Для решения такой задачи наиболее целесообразным
является применение специальных двухъярусных или двухконтурных фурм (рисунок
12) с раздельным подводом кислорода, предназначенного на рафинирование ванны и
на дожигание оксида углерода. Дополнительный поток кислорода на дожигание в
этом случае организуют при помощи как отдельной запорной и регулирующей
арматуры, так и в виде ответвления от основного потока с меньшим проходным сечением
трубопроводов и сопел внутри фурмы.
Опыт применения в промышленных конвертерах
двухъярусных фурм показал, что таким методом можно увеличить массовое
содержание в шихте лома на 6 - 7 %, одновременно повышая интенсивность продувки
и производительность конвертеров при том же газоотводящем тракте. Возможность
использования того же газоотводящего тракта обусловлена дожиганием СО до СО2 и
уменьшением выхода газов на единицу вводимого кислорода.
Рисунок 12 - Специальные продувочные фурмы,
приспособленные для дожигания СО в полости конвертера: а - двухконтурная; б -
двухъярусная; 1 - кислородные сопла для продувки металла; 2 - кислородные сопла
для дожигания отходящих газов
Производительность конвертеров повышается
вследствие сокращения продолжительности продувки на 10 - 27 % [28].
При продувке металла двухъярусной фурмой
(рисунок 12, 1-й вариант), имевшую во втором ярусе 6 сопел диаметром 15 мм с
углом наклона 45º, удаленных от
торца фурмы на расстояние 1650 мм, наблюдался значительный местный износ
футеровки конвертера против каждого из сопел верхнего яруса на 400 - 800 мм
выше точки пересечения оси сопла и поверхности кладки (в зоне горловины
конвертера). Поэтому в дальнейшем для снижения скорости истечения струи кислорода
из сопла и уменьшения угла встречи струи с футеровкой количество сопел во
втором ярусе увеличили до восьми, их диаметр - с 15 до 18 мм и уменьшили угол
наклона оси сопел к вертикали с 45 до 30º (вариант
2). При использовании фурм с такими параметрами и расходе кислорода 2,5 м3/с и
более зона локального износа футеровки смещалась к середине цилиндрической
части конвертера (к зоне интенсивного износа на обычных плавках). При расходе
кислорода менее 2,5 м3/с (~35 % расхода через нижние сопла) зона локального
износа футеровки практически исчезает, однако происходит равномерный повышенный
износ огнеупоров горловины конвертера.
Наиболее высокие показатели получили при
использовании фурм варианта 2 с удалением второго яруса сопел от ее торца на
расстояние 1650 мм и подачей кислорода в количестве 30 - 35 % от расхода через
рафинировочные сопла. Благодаря значительному поступлению теплоты в ванну от
дожигания СО удалось увеличить расход лома на 7 %, сократить продолжительность
продувки на 22 %, снизить расход извести, известняка и плавикового шпата,
повысить основность конечного шлака, степень десульфурации и дефосфорации
металла. Окисленность металла и содержание в нем азота на опытных и
сравнительных плавках находились на одном уровне, окисленность шлаков на исследовательских
плавках была на 2 - 3 % выше, чем на сравнительных. Данные о величине брака на
первом переделе свидетельствовали о том, что качество металла на опытных
плавках не ухудшалось по сравнению с обычными плавками. Механические свойства
готового проката из опытной стали, по данным сдаточных испытаний, также не
ухудшались. Вынос пыли и железа из конвертера на опытных плавках был ниже, чем
на сравнительных, на 35 - 40 %).

Рисунок 13 - Специальная многорядная продувочная
фурма, приспособленная для дожигания СО в полости конвертера: 1 - трубы подвода
основного потока кислорода; 2 - подвода охлаждающей фурму воды; 3 - подвода
вторичного кислорода на нижний и верхний ярусы сопел; 4 - отвода воды; 5 -
штампованная медная чаша; 6 - цельноточеный медный корпус головки фурмы; 7 -
медные сопла для подачи основного потока кислорода; 8 и 9 - сопла для подачи
кислорода на дожигание оксида углерода; 10 - цельноточеный медный сопловый
насадок; 11 - проточки в медном корпусе головки для воды; 12 и 13 -
соответственно проточки для кислорода и воды; 14 - кольцевая полость для
подвода вторичного кислорода
Поскольку теплопередача металлической ванне, в
данном случае от факела горения СО, осуществляется недостаточно эффективно
(термический КПД составляет 30 - 35 %), а стойкость футеровки в верхней части
снижается (~ на 30 %), процесс дожигания газов в полости конвертера необходимо
еще совершенствовать.
Возможным решением вопроса повышения
эффективности дожигания оксида углерода в полости конвертера может быть
использование специальных многорядных фурм, сочетающих конструктивные элементы
двухконтурных фурм (рисунок 13) [4].
Данная фурма за счет обеспечения одновременного
интенсивного протекания процессов шлакообразования и обезуглероживания при
оптимальной окисленности шлака в течение всей продувки металла, а также
ориентации встречных и сопровождающих потоков кислорода, истекающих из
составных сопловых насадок, позволяет более эффективно дожигать СО до СО2,
способствуя интенсивному перемешиванию кислорода и окиси углерода во встречных
потоках, в пределах образующихся реакционных зон с непосредственной передачей
тепла металлическому и шлаковому расплаву.
Расход технического кислорода, подаваемого на
продувку, составляет 75 % суммарного кислорода, поступающего в фурму.
Применение двухконтурных, двухъярусных и
многорядных продувочных фурм облегчает решение задачи улучшения теплового
баланса конвертерного процесса. Однако относительно низкая технологическая стойкость
таких фурм, сложность конструкции ограничивает широкое использование последних
в конвертерных цехах отрасли.
4.4.5 Использование твердого топлива
Введение в конвертер твердого топлива для
подогрева лома перед заливкой чугуна, загрузке металошихты или в процессе самой
плавки так же является одним из методов увеличения расхода лома, поскольку
использование такого топлива не может существенно повлиять на балансовые
показатели процесса.
Ввод топлива в виде антрацитового штыба и
скрапоугольных брикетов был опробован в 130-т конвертерах Криворожского
металлургического завода [5]. Применяли антрацит марки ДС фракции 6-13 мм с
содержанием золы менее 10% и серы менее 1,0%, антрацитовый штыб фракции 0-6 мм
с содержанием золы 16-18% и серы менее 1,0%, а также скрапоугольные брикеты. В
последнем случае содержание топлива составляло 10-15% от массы брикетов при
количестве связки (битум Б-3) 0,5-0,7% от массы брикета. Поскольку при
изготовлении брикетов выявились значительные трудности, наиболее приемлемым
методом ввода топлива в конвертер является присадка твердого топлива на лом
перед заливкой чугуна. При расходе топлива в количестве 12,8 кг/т стали
увеличение количества переплавляемого лома составляло 64 кг/т стали, при этом
выход годного повышался до 89,3% против 88,6 % на обычных плавках, а
коэффициент использования топлива составлял 24,3%. Опробованный метод
характеризуется следующими достоинствами:
) отсутствием необходимости использования
какого-либо дополнительного оборудования;
) отсутствием влияния добавок топлива на
характер конечного шлака и стойкость футеровки конвертеров;
) простотой организации процесса.
Недостатками метода являются:
) увеличение длительности плавки;
) пропорциональное увеличение расхода лома (т.
е. расхода топлива) и низкий коэффициент использования топлива, не смотря на
высокую степень его усвоения ванной.
) увеличение длительности продувки составляло
около 4 мин при расходе топлива 1,6% от массы садки;
) расход кислорода возрастал на 2000 м3/плавку..
Важно отметить, что усвоение топлива ванной
происходило в течение всей продувки. Это дает основание предположить, что
механизм процесса заключается в растворении углерода в жидком металле и
последующем его окислении. Очень малая величина коэффициента использования
топлива объясняется при этом, во-первых, определенными затратами тепла на
растворение углерода в металле, и во-вторых, окислением углерода практически
только до СО, что резко снижает величину коэффициента использования топлива.
В таблице 12 приведены расчетные показатели
процесса при различном количестве лома в шихте, основанные на результатах
работы [2].
Таблица 12 - Показатели конвертерного процесса
при увеличении доли лома в шихте в результате присадки в конвертер твердого
топлива
|
Показатели
|
Доля
лома в шихте, %
|
|
28
|
30
|
32
|
34
|
36
|
38
|
40
|
|
Расход
лома, кг/т стали
|
312
|
335
|
357
|
379
|
402
|
424
|
446
|
|
Увеличение
расхода лома, кг/т стали
|
33
|
56
|
78
|
100
|
123
|
145
|
167
|
|
Расход
топлива, кг/т стали
|
5,65
|
9,6
|
13,4
|
17,5
|
20,1
|
24,8
|
28,6
|
|
Дополнительный
расход кислорода, м3/т стали
|
5,19
|
8,8
|
12,9
|
15,7
|
19,4
|
22,9
|
26,3
|
|
Увеличение
длительности продувки, мин
|
1,3
|
2,2
|
3,1
|
3,9
|
4,85
|
5,70
|
6,5
|
Анализ экспериментальных данных и результатов
расчетных позволяет сделать вывод о том, что использование твердого топлива для
увеличения расхода лома благодаря сравнительно высоким технологическим
показателям и простоте организации процесса может быть рекомендовано для
внедрения, несмотря на низкий коэффициент использования топлива.
Необходимо, однако, отметить, что отсутствие
влияния топлива на величину потерь железа трудно объяснить.
Так как процесс растворения топлива в металле и
окисления углерода протекает во времени, часть топлива неизбежно должна
попадать в шлак; это в свою очередь должно вызвать повышение окисленности
конечного шлака для окисления углерода шлака (как в случае применения CaС2).
Кроме того, с увеличением длительности продувки
увеличиваются потери железа с отходящими газами.
4.4.6 Использование газообразного и
жидкого топлива
Нагрев лома с помощью кислородно-топливных
горелок с применением газообразного и жидкого топлива возможен непосредственно
в конвертерах перед заливкой в них чугуна, в чугуновозных ковшах перед сливом в
них чугуна из доменных печей и в специальных совках (коробах) перед завалкой
лома в конвертер.
Подогрев лома в конвертерах технологически и
теплотехнически достаточно подробно исследован в СССР и за рубежом.
Отечественные исследования, проведенные в 10-, 130- и 250-т конвертерах , дали
идентичные результаты при практически одинаковой технологии нагрева лома и
последующего ведения плавки. Никаких существенных технологических трудностей
при этом не отмечено.
Предварительный расчет общего расхода
подогретого лома в шихте
Коэффициент использования топлива при нагреве
лома в конвертерах зависит от количества нагреваемого лома, продолжительности
его нагрева, отношения количеств подаваемых в конвертер топлива и кислорода.
Согласно отечественным и зарубежным
экспериментальным данным максимальное использование топлива может быть
достигнуто при количестве лома в шихте 30-45%. Длительность нагрева лома
зависит от мощности применяемых горелок и колеблется от 6 до 12 мин; наиболее
мощные горелки для 300-т конвертеров обеспечивают продолжительность нагрева
лома за 10 мин при тепловой нагрузке 252 млн. ккал/ч (расход кислорода 507
м3/мин, расход СН4 376 м3/мин).
Средние расчетные теплотехнические показатели
процесса нагрева лома в конвертерах природным газом и мазутом представлены
ниже:
Прир. газ Мазут
Низшая теплотворная способность топлива, ккал/м3
(ккал/кг) 8100 9000.
Коэффициент использования топлива 0,5 0,7.
Расход топлива, м3/т (кг/т) дополнительно
переплавляемого лома 20,3 18,3.
Расход кислорода, м3 40,6 85,6.
Продолжительность нагрева лома, мин 10,0 10,0.
Достоинством этого метода являются простота
организации процесса и возможность нагрева больших количеств лома без его
дополнительной подготовки. При этом расход лома целесообразно увеличить до
40-45% от массы металлошихты, поскольку при таких количествах лома
обеспечивается максимальный коэффициент использования топлива.
К недостаткам нагрева лома газообразным и жидким
топливом в конвертерах перед заливкой чугуна относятся снижение
производительности конвертеров на 20-30%, уменьшение стойкости футеровки
конвертеров.
Нагрев лома в специальных совках или коробах
перед подачей в конвертер не обеспечивает существенного увеличения количества
лома в шихте, так как в данном случае температура нагрева лома ограничена
пределами 500-600°С
4.4.7 Повышение температуры жидкого
чугуна
Увеличить расход лома в конвертерах позволяет и
повышение температуры жидкого чугуна: на каждые 100°С повышения температуры
чугуна можно переплавлять дополнительно 60 кг лома на 1 т чугуна. Перегрев
жидкого чугуна можно осуществить, оснастив миксеры индукционными канальными
перегревателями.
Индукционные перегреватели представляют собой
короткозамкнутый трансформатор с железным сердечником, в котором первичная
обмотка образована индуктором, а вторичная - жидким металлом, находящимся в
канале. Циркуляция металла в канале обеспечивается действием электромагнитных
сил. Схемы индукционных перегревателей представлены на рисунке 14.
В США фирмой «Ajax Magnetermic» («Аджакс
магнетермик») разработаны мощные индукционные устройства для перегрева жидкого
чугуна. По данным фирмы, технология и имеющееся оборудование позволяют
перегревать чугун на 280° С. При этом срок службы индукционных устройств
-мощностью 2500-3000 кВт составляет до 15 лет. Расход электроэнергии на
перегрев жидкого чугуна составляет около 440 кВт-ч/т дополнительно выплавляемой
стали. Поскольку в электросталеплавильном производстве расход энергии
составляет 600 кВт-ч/т, или на 35% больше, процесс перегрева чугуна в миксере
является энергетически выгодным.
Рисунок 14 - Схема индукционного канального
перегревателя
По утверждению «Energy Materials Conservation
Corp» (США), производительность кислородно-конвертерного цеха при использовании
установок для перегрева чугуна увеличивается на 13 - 15 % без роста его
потребления. Дополнительная теплота может быть поглощена любым охладителем,
более доступным или имеющим меньшую стоимость в условиях данного завода -
металлоломом, окатышами, агломератом, прокатной окалиной или холодным чугуном.
При условии точного контроля температуры чугуна, применение установки для
перегрева может улучшить технологию процесса и условия службы футеровки, в ряде
случаев способно свести к минимуму потери производительности сталеплавильных
цехов при плановом или внезапном прекращении снабжения их жидким чугуном. В
случае необходимости, в установках возможно переплавлять холодный чугун.
По мнению разработчиков, такой способ повышения
доли лома в шихте имеет значительные преимущества перед другими, существующими
в настоящее время: присадкой ферросилиция, карбида кремния, карбида кальция,
алюминия. При их использовании неизбежны побочные нежелательные эффекты:
увеличение продолжительности продувки, расхода кислорода и извести, количества
шлака, и, следовательно, потерь железа, ухудшение условий службы футеровки.
4.5 Особенности различных вариантов
процесса увеличении доли лома
Для переработки значительного количества лома
(40 - 50 % от массы металлошихты) необходимо комплексное применение разных
методов. Каждый из них обладает отличительными от других способами и режимами
сжигания топлива, подогрева лома в процессе кислородной продувки.
Значительные успехи в разработке и освоении
кислородно-топливного конвертерного процесса с комбинированным дутьем
достигнуты фирмой "Klockner Werke" (ФРГ) и входящей в ее состав
фирмой "MaxhLitte". Первоначально разработанный этими фирмами процесс
Q - ВОР - S включал только донный подогрев металлического лома при
стехиометрической подаче кислорода и углеводородов через донные фурмы. В
дальнейшем было реализовано дожигание СО до СО2 в объеме конвертера при помощи
верхней и (или) боковых фурм и вдувание пылевидного углеродсодержащего топлива
в процессе продувки. Процесс получил наименование KMS-Klockner MaxhLitte
Stahlerzeugung-verfaren рисунок 15. Установлено, что дожигание конвертерных
газов при комбинированной продувке ванны кислородом эффективнее, чем при
верхней продувке. Благодаря только дожиганию СО до СО2 представляется возможным
увеличить расход лома на 60 кг/т стали. Повышение температуры в верхней части
полости конвертера невелико, не обнаружено существенного увеличения износа
футеровки.
В процессе KMS предусмотрено вдувание в жидкую
ванну твердых порошков углеродсодержащих материалов - угля или кокса.
Применение энергетических углей возможно независимо от содержания в них летучих
углеводородов.
Рисунок 15 - Схема КМС - процесса: 1 -
шлакообразующие; 2 - кислород; 3 - сжатый воздух; 4 - азот или аргон; 5 -
углеводороды; 6 - кокс или уголь
При этом теплотехническая эффективность
энергетических углей ниже (термический к.п.д. ниже на 10 %), чем кокса, если не
ведется дожигание СО до СО2 над жидкой ванной.
Конвертеры позволяющие перерабатывать
металлошихту с любым соотношением лома и чугуна представлен на рисунке 16.
Последние оборудуются полыми цапфами, через одну
из которых подается природный и нейтральный газы; через другую - кислород,
аргон и сжатый воздух раздельными потоками к донным и боковым фурмам. Число
донных фурм обычно составляет от 3 до 16 при садке агрегатов 10+350 т
соответственно. Боковые фурмы устанавливаются в вертикальной плоскости,
проходящей через ось цапф так, чтобы их оси пересекались под углом 45° с осью
конвертера на уровне спокойной ванны.
В качестве верхнего дутьевого устройства
используются кислородные фурмы, обеспечивающие одновременно продувку ванны и
частичное дожигание выделяющегося из ванны оксида углерода. Конструкции донных
и боковых фурм выполняются однотипными из жаропрочной стали в виде концентрично
расположенных труб.
Рисунок 16 - Схема кислородно-топливного
конвертера для выплавки стали из металлошихты с увеличенной (до 50% и более)
долей лома
Кислородно-конвертерный процесс с
комбинированной продувкой обладает широкими возможностями улучшения тепловой
работы, переработки значительных количеств металлолома путем эффективного его
донно-верхнего подогрева и продувки расплава с частичным дожиганием СО в
полости конвертера.
При развитии KMS-процесса фирмой "Klockner
- Werke" (ФРГ) был создан и запатентован в 1977 г. кислородно-топливный
сталеплавильный процесс на твердой металошихте в агрегате конвертерного типа,
получивший наименование - процесс KS (Klockner Stahlerzeugyg) .
Сущность KS -процесса состоит в предварительном
нагреве шихтовых материалов, осуществляемом путем подачи углеводородного
газообразного или жидкого топлива и кислорода через донные фурмы до появления
некоторого количества жидкого металла; затем ввода через донные фурмы совместно
с кислородом пылевидных углеродсодержащих материалов угля или кокса. Происходит
дальнейшее проплавление твердой шихты, частичное ее науглероживание,
газификация твердого углерода, а затем и рафинирование металла. Технология
конвертерной плавки процессом KS включает следующие операции рисунок 17.
Рисунок 17 - Технологические операции при
процессе KS: 1 - загрузка шихты; 2 - предварительный нагрев; 3 - образование
первых порций расплава; 4 - расплавление шихты и рафинирование; 5 - выпуск и
легирование металла
В период нагрева лома предпочтительней
использовать жидкое топливо мазут. Преимущество состоит в том, что донные фурмы
при подаче жидкого топлива через кольцевые каналы развивают значительно большую
термическую мощность. А в период кислородной продувки подача природного газа
через кольцевой зазор обеспечивает защиту донных фурм.
Аналогом процесса KS является
"COIN''-процесс, разработанный фирмой "Krupp", основывающийся на
вдувании в конвертер через кольцевой канал коаксиальных донных фурм порошкообразного
(фракции < 1 мм) угля как в жидкий период плавки, так и для нагрева твердой
шихты. Информация об этом процессе слишком ограничена, чтобы можно было судить
о его показателях, особенностях. В работе отмечается, что использование
COIN-фурм (coal - уголь, oxygen - кислород, injection - вдувание) позволяет
вводить в конвертер пылевидный уголь с интенсивностью до 22 кг/(т • мин) при
интенсивности продувки кислородом до 4,5 м3 / (т • мин) .
Сущность технологии заключается в интенсивном
нагреве твердой металлошихты за счет комплексного использования природного газа
и твердого кускового топлива (угля, антрацита) при комбинированной подаче
природного газа и кислорода через донные и боковые фурмы - горелки и верхнюю
кислородную фурму; плавлением шихты и дальнейшем рафинировании расплава с
частичным дожиганием СО в объеме конвертера.
В конвертерном процессе при 100 % металлолома в
шихте твердое углеродсодержащее топливо выполняет важные технологические
функции, связанные с науглероживанием расплава, организацией кипения и
перемешивания ванны. В период кислородной продувки расплавившейся металлошихты
углерод твердого топлива, усвоенный ванной, является единственным источником
тепла для нагрева металла. Твердое углеродсодержащее топливо имеет, как уже
отмечалось, преимущества по сравнению с газообразным и жидким и с
теплотехнической стороны.
На рисунке 19 представлены потери тепла,
выраженные в долях от теплотворной способности топлива, в результате
химического недожога горючих составляющих природного газа и твердого углерода
при различных значениях недожога углерода и водорода - α
и
β.
При
равных значениях α и β
на единицу топлива, подведенного топливом, в случае сжигания природного газа
потери тепла больше.
Таким образом, при одинаковом химическом
недожоге природного газа и твердого углеродсодержащего топлива и равных
температурах отходящих газов (Tог) доля тепла, которая может быть передана
нагреваемой шихте от общего количества потенциального тепла топлива, при
сжигании твердого углерода выше, чем природного газа.
Рисунок 19 - Потери тепла при диссоциации
продуктов сгорания природного газа (1) и твердого углерод (2) при T= 298 К
В связи с этим применение природного газа (или
других углеводородов) самостоятельно или в сочетании с твердым
углеродсодержащим топливом для нагрева и плавления металлошихты в конвертере
будет целесообразно лишь в условиях, обеспечивающих близкие значения их КИТ.
В заключение следует отметить, что процесс на
твердой металлоза-валке все же является экстремальным кислородно-топливным
вариантом переработки металлолома в конвертере. Требуются его длительные
исследования в полупромышленных и промышленных условиях с целью уточнения
технологических и теплотехнических показателей, условий службы футеровки, производительности
агрегатов. Ориентировочные оценки показывают, что при одинаковом объеме
конвертеров, работающих обычным процессом и на твердой металлошихте, масса
садки в последнем случае для действующих конвертеров должна быть снижена в
1,2-1,5 раза, что снижает его удельную производительность на соответствующую
величину. С учетом увеличения необходимого расхода кислорода удельная
производительность конвертерного агрегата снижается на 30-40 %.
коксохимический сталь производство
чугун
Для приведения в действие важного теплового
резерва конвертерной плавки, каким является дожигание СО в полости агрегата,
необходимо вести продувку с малым количеством или отсутствием шлаковой пены,
при интенсивном перемешивании металла и шлака, что следует из наших материалов.
В большей степени, чем при верхней продувке этого удается достичь в конвертерах
с комбинированной подачей кислорода сверху и даже небольших количеств газа
снизу. Сочетание верхнего дутья и донного перемешивания улучшает ряд
металлургических характеристик конвертерной плавки и качество стали, поскольку
позволяет комплексно использовать преимущества продувки сверху и снизу.
Преимущества :
) рассредоточении дутья (большое количество
фурм);
) большом приближении системы шлак - металл к
равновесию;
) спокойном ходе продувки, высоком выходе годной
стали;
) возможности переработки (при донном дутье)
любых количеств лома;
) меньшем дымовыделении по сравнению с только
верхней продувкой;
) легкой регулируемости окисленности шлака с
помощью верхней фурмы;
) обеспечении быстрого растворения извести,
меньшем выносе капель металла;
) ранней дефосфорации и т.д.
В результате донно-верхняя продувка комплексно
решает стоящую перед конвертерным процессом задачу радикального его изменения в
направлении большей технологической гибкости по составу переплавляемой шихты,
сортаменту выплавляемой стали при значительном улучшении технико-экономических
показателей за счет снижения энергоемкости процесса, увеличения выхода жидкого
металла, снижения расхода ферросплавов, уменьшения окисленности шлака и угара
железа.
Комбинированные способы производства стали в
конвертерах развиваются с 1975 г. и получили распространение в начале 80-х годов
на заводах нашей страны, Франции, Люксембурга, ФРГ, Японии, США, Канады,
Швеции, Австралии и Португалии.
Впервые в нашей стране в промышленных условиях
комбинированная продувка освоена на заводе «ЕВРАЗ ЗСМК» тогда еще бывшего
«ЗСМК» с участием ИЧМ, ВИО, ВНИПИЧерметэнерго-очистки и ВостФИЧМ. Для этой цели
осуществлено переоборудование трех 160-т конвертеров. Проведено более 4500
плавок, в том числе более 900 с использованием двухъярусной фурмы, применение
которой позволяет повысить степень дожигания отходящих газов в полости
конвертера (содержание СО2 увеличивается с 12 до 24 %) и направить в жидкий
металл поток дополнительного тепла. Разработанная технология позволяет
сократить расход чугуна на 30-35, извести на 4-5, плавикового шпата на 1,4-1,7
кг/т стали, при такой же длительности продувки, как в конвертере с верхним
дутьем. При работе комбинированным методом с обычной верхней фурмой
эффективность процесса снижается (содержание СО2 в отходящих газах возрастает
только до 17 %), и экономия чугуна составляет 10-22 кг/т.
В качестве донных фурм для подачи нейтрального
газа опробованы периклазоуглеродистые и обожженные периклазовые огнеупорные
блоки. Наибольшая стойкость фурм достигнута к настоящему времени при
использовании одноканальных периклазографитовых блоков длиной 800 мм с
запрессованной в них металлической трубкой диаметром 5 мм.
Были опробованы различные способы вдувания
перемешивающего газа: через керамические пористые блоки, блоки в металлических
кассетах, коаксиальные и простые стальные трубки с подачей N, Аr, СО, сжатого
воздуха и колошникового (доменного) газа с интенсивностью от 0,01 до 0,30
м3/(мин·т).
Применение трубок вместо пористых огнеупорных
блоков имеет свои преимущества и недостатки. Донные фурмы в виде трубок более
надежны, просты по конструкции, изготовлению и эксплуатации, однако через них в
ходе плавки необходимо непрерывно подавать газ для предотвращения затекания
жидкого металла. Кроме того, донное дутье необходимо подавать сразу после
завалки металлолома и заливки чугуна и не прекращать при повалке конвертера. В
то же время через пористые блоки дутье может подаваться в любой
Характерными чертами комбинированных процессов
являются быстрое зажигание плавки и малое количество выбросов вследствие
эффективного перемешивания ванны. Это дает возможность увеличить интенсивность
подачи кислорода и, в свою очередь, приводит к сокращению длительности продувки
(как правило на 2 мин). Положение обычной кислородной фурмы выше, чем при
верхней продувке, так как распределение потоков в металлической, шлаковой и
газовой фазах различается и позволяет заметно дожигать СО до СО2 без
отрицательных побочных эффектов.
4.7 Подогрев металлолома для
кислородных конвертеров
В мировой практике подогрев металлолома для
кислородных конвертеров получил широкое распространение.
Доля металлолома в шихте в случае его подогрева
может быть оценена с помощью уравнения, полученного из теплового и
материального баланса плавки:

где 
- доля лома, %;
избыточное тепло процесса, кДж/100
кг чугуна, определяется по формуле;

- величина подогрева метал¬лолома,
К;
Сл - теплоемкость твердого лома,
кДж/(кг-К), для температур обычного нагрева лома может быть принята равной
0,7;- охлаждающий эффект металлолома, кДж/кг.
На рисунке 21 представлены
количества переплавляемого металлолома при различных температурах его нагревах
[4]. Как видно из рисунка подогрев лома до ~800ºС позволяет
повысить его долю в металлозавалке на ~10 %.
Рисунок 21 - Влияние на долю лома в
металлозавалке температуры его подогрева, ºС:
1 - 260; 2 - 538; 3 - 815; 4 - 1093
Одним из важнейших вопросов, связанных с
нагревом лома, является предотвращение окисления его поверхности. Наиболее
интенсивно окисление лома будет происходить вблизи температуры плавления и тем
больше, чем дольше лом имеет такую температуру.
Быстрее всего будет прогреваться легковесный
лом, поэтому режим должен быть таким, чтобы к концу нагрева температура
легковесного лома не превышала 1500 °С.
Различные составляющие твердой металлозавалки
нагреваются до разной температуры, и в зависимости от их соотношения будет
изменяться и средняя температура. По расчетным данным среднемассовых температур
построена тройная диаграмма рисунок 22 показывающая ожидаемую среднюю
температуру металлозавалки в зависимости от содержания в ней различных составляющих.
Чрезмерно большое содержание легковеса может
привести к образованию колодцев, оседанию и уплотнению лома под действием
собственной массы и, как следствие, к ухудшению ее прогрева.
Предварительный нагрев лома возможно производить
как в конвертере, так и вне его.
Рисунок 22 - Возможные среднемассовые
температуры нагрева металлолома при различном удержании в нем составляющих
4.7.1 Подогрев металлолома перед
заливкой чугуна
Предварительный нагрев лома в конвертере перед
заливкой чугуна можно выполнить двумя путями:
подогрев лома топливно-кислородным факелом с
использованием в качестве топлива мазута или природного газа;
подогрев лома сжиганием углеродсодержащих
материалов - твердого кускового или порошкообразного угля, кокса, автопокрышек
и даже твердых бытовых отходов.
Предварительный подогрев лома в агрегате в
первую очередь целесообразно применять в тех конвертерных цехах, где существует
возможность повышения производительности агрегатов или имеют место значительные
по времени вынужденные простои. Вместе с тем выполнение такой операции
значительно упрощает требования, предъявляемые к используемому в конвертерной
плавке металлолому. В этом случае предпочтительней использование легковесного
лома как материала с высокой удельной поверхностью, пропорционально которой
возрастает и тепловосприятие от факела сжигаемого топлива к лому.
Одним из существенных недостатков такой
технологии является снижение стойкости футеровки конвертеров, при этом цикл
плавки удлиняется обычно на время продолжительности подогрева лома.
Для подогрева лома топливно-кислородным факелом
применяются водоохлаждаемые газокислородные и мазутокислородные фурмы-горелки
как верхнего, так и донного дутья. Конструкции наконечников фурм-горелок
верхнего и донного дутья представлены на рисунках 23 и 24.
Газокислородная фурма-горелка (рисунок 23) [28]
выполнена из пяти концентричных труб. Два внешних канала используются для
подвода и отвода охлаждающей воды, центральный и третий от него - для
природного газа, между каналами для природного газа - канал для кислорода. В
периферийный канал природного газа на выходе вмонтированы 23 медных трубок
длиной 150 мм, которые вместе с трубой для природного газа в центре горелки
способствуют стабилизации факела.
Для предварительного нагрева лома используются и
донные многофункциональные фурмы (рисунок 24), работающие как
кислородно-топливные горелки для подогрева лома и как продувочные, в которых
поток природного газа завихривается [5].
Все большее внимание сталеплавильщиков привлекает
применение твердого кускового топлива в качестве теплоносителя для улучшения
теплового баланса кислородно-конвертерного процесса.
|
1
- подача приподного газа; 2 подача кислорода; 3 - вход охлаждающей воды; 4 -
выход охлаждающей воды Рисунок 23 - Конструкция наконечника газокислородной
горелки
|
1
- природный газ; 2 - природный газ с заменой на аргон или азот; 3 - кислород
Рисунок 24 - Конструкция донной трехканальной фурмы
|
В качестве твердого топлива при конвертировании
металла в основном используются угли различных марок, кокс, отходы установок
сухого тушения кокса. Такая технология проста и не требует затрат на
переоборудование агрегата. Подача кускового угля (или кокса) обычно
организуется в конвертер по тракту сыпучих материалов.
Опробовано несколько вариантов ввода кускового
угля в конвертер:
до заливки чугуна (под металлолом, на
металлолом, в завалку вместе с металлоломом, например в составе скрапоугольных
пакетов);
после заливки чугуна (на чугун, в начале
продувки или одновременно с «зажиганием» плавки, порциями по ходу продувки);
комбинированно из нескольких вышеперечисленных
приемов.
С позиции обеспечения безопасной работы
предпочтение должно быть отдано присадке угля на чугун или с началом зажигания
плавки. При вводе угля под лом часть его или весь уголь может быть
«заблокирован» загружаемым сверху металлоломом на какое-то время продувки и
неожиданно вступить в реакцию после расплавления лома, что сопровождается резким
газовыделением, вспениванием шлака и выбросами. При загрузке угля под лом
наблюдаются сильные вспышки и интенсивное выбивание пламени из конвертера в
процессе заливки чугуна, что значительно удлиняет время выполнения этой
операции.
По имеющимся данным, предельное количество угля,
вводимого до начала продувки, составляет около 10 кг/т стали, при этом
увеличение расхода угля сверх этого значения приводит к нежелательным явлениям
по ходу продувки - вспышкам, выбросам и нарушениям нормального хода шлакообразования.
В то же время известна практика, когда в конвертер до заливки чугуна вводят
значительно большее количество твердого топлива, равное 38,3 кг/т садки (уголь
- 50,7 %, кокс - 39 %, электродный бой - 10,3 %) при технологии выплавки стали
с расходом лома в металлозавалке 50 % (ОАО «ЕВРАЗ ЗСМК»,
кислородно-конвертерный цех № 1, садка конвертера - 160 т). Во всех случаях
после завалки лома в конвертер присаживается известь в количестве 30 - 50 % от
массы извести, присаживаемой на плавку, и известковомагнезиальный флюс.
При расходе лома 28 % завалку его производят
одним совком с последующим прогревом (7 - 8 минут) путем рассредоточенной
присадки на лом (в течение всего прогрева) твердого топлива порциями (от 100 до
500 кг) в потоке кислорода верхней фурмы. Суммарное количество кислорода на
нагрев лома - из расчета 0,4 - 0,5 м3/кг твердого топлива. Положение фурмы в
течение прогрева поддерживается на высоте 4,0 - 4,5 метра. В этом случае расход
твердого топлива составляет 21 кг/т садки.
На ОАО «ЕВРАЗ ЗСМК» в кислородно конвертерном
цеху №1 для подогрева металлического лома применяют твердое углеродосодержащее
топливо. Этот способ включает завалку лома, подачу твердого углеродсодержащего
топлива, предварительный нагрев лома, заливку чугуна, продувку с изменением
положения фурмы и расхода кислорода. По данным, рассмотренных паспортов плавки
от 21 мая 2013 года, составлена таблица данных плавки в 160-тонном конвертере
на ОАО «ЕВРАЗ ЗСМК» ККЦ - 1 таблица 13 .
Таблица 13 - Данные плавки в 160-т конвертере
|
№
|
Садка
конвертера, т.
|
Кол-во
чугуна
|
Кол-во
лома, т
|
Доля
лома, %
|
Доля
чугуна, %
|
Время
подогрев лома, мин:с
|
Расход
кислорода, м3
|
Кол-во
израсходованного угля,т
|
|
1
|
158,5
|
112
|
46,5
|
30,2
|
69,8
|
7:06
|
1973
|
3
|
|
2
|
153,6
|
109
|
44,6
|
29,0
|
71,0
|
6:14
|
1760
|
3,05
|
|
3
|
152,4
|
109,1
|
43,3
|
28,4
|
71,6
|
6:14
|
1757
|
3,02
|
|
4
|
160,7
|
115,1
|
45,6
|
28,4
|
71,6
|
6:04
|
1721
|
2,98
|
|
5
|
153,3
|
112,3
|
41
|
26,7
|
73,3
|
6:06
|
1271
|
3,08
|
|
6
|
153,3
|
110,6
|
42,7
|
27,9
|
72,1
|
7:22
|
1737
|
3,09
|
|
7
|
159,5
|
110,9
|
48,6
|
30,5
|
69,5
|
6:29
|
2013
|
2,99
|
|
8
|
153,1
|
109
|
44,1
|
28,8
|
71,2
|
6:20
|
2054
|
3,01
|
|
9
|
160,7
|
115,1
|
45,6
|
28,4
|
71,6
|
6:28
|
1972
|
3,12
|
|
среднее
значение
|
111,46
|
44,89
|
28,70
|
71,30
|
6:20
|
1806,44
|
3,04
|
|
|
|
|
|
|
|
|
Представленная таблица содержит данные по
выплавке стали в 160-т конвертере с различным соотношением лома и чугуна,
продолжительности продувки кислородом, расхода кислорода и теплоносителя.
При расходе лома 30 - 35 % завалку его
производят двумя совками с последующими двумя прогревами по 4,5 - 5,0 минут
после завалки каждой порции лома. Технологические особенности присадки твердого
топлива, удельный расход кислорода верхней фурмы и ее положение - такие же.
При расходе лома 50 % завалку последнего
производят тремя совками с последующими прогревами каждой заваленной порции
лома (три прогрева с общей средней продолжительностью 25 минут).
Технологические особенности присадки твердого топлива, удельный расход
кислорода и высота фурмы в период прогрева - такие же.
Во всех приведенных выше случаях после нагрева
лома конвертер «раскантовывается» в сторону слива и завалки на 60 - 70º,
производится
выдержка в течение 30 секунд для проветривания газоотводящего тракта и заливка
жидкого чугуна в конвертер. Предварительный нагрев лома твердым топливом
производится при температуре футеровки конвертера не ниже 800ºС
(темно-вишневое свечение).
4.7.2 Прогрев лома перед загрузкой в
конвертер
Недостаток метода подогрева металлолома в
конвертерах, связанный с увеличением длительности цикла плавки, практически
устраняется при осуществлении этой операции вне конвертера.
В практике конвертерного производства существует
большое количество различных способов предварительного нагрева лома вне
конвертера [2]. Наибольший практический интерес представляют варианты подогрева
лома непосредственно в совках, которые используются для его транспортировки и
загрузки в конвертер. Подогрев лома в совках осуществляется до среднемассовой
температуры ~500 ºС.
Принципиальная схема такой установки и организация процесса подогрева лома,
разработанная для условий кислородно-конвертерного цеха ОАО «Северсталь» (г.
Череповец), представлена на рисунках 25 и 26.
В футерованной огнеупорным кирпичем камере
сжигается газ, в горизонтальное отверстие которой на некоторую «глубину» входит
носок совка с ломом объемом 100 м3, накрытого специальной футерованной крышкой
с отверстием в противоположной части совка для отвода дымовых газов.
Образующиеся в камере при сжигании газа продукты сгорания посредством дымососа
просасываются через совок с ломом частично на дымовую трубу, а частично
возвращаются в камеру сгорания топлива для повторного теплоиспользования.
Рециркуляция дымовых газов позволяет более полно использовать теплоту сгорания
топлива.
Рисунок 25 - Схема установки подогрева лома в
совках: 1 - совок с ломом, накрытый футерованной крышкой; 2 - камера сгорания
топлива; 3 - дымосос; 4 - дымовая труба
Такие установки для подогрева лома целесообразно
устанавливать в цехах, где отделение подготовки лома непосредственно примыкает
к загрузочному пролету.
Завалка в конвертеры горячей обрези, слябов и
блюмов с прокатных станов увеличивает долю лома в металлошихте, примерно, на 1
%. Найдены способы передачи нагретой до 1000-1200 °С обрези проката в
конвертерный цех на тележках, не требующих перегрузки лома вплоть до завалки
его в конвертер.
Рисунок 26 - Технологическая схема подогрева
лома в совках: 1 - автомобиль БелАЗ-548А грузоподъемностью 40 т для подвоза
скрапа; 2 - Думкар для подвоза скрапа; 3 - Совок для скрапа емкостью 100 м с
термоизоляционным слоем; 4 - Платформенные весы полезной нагрузкой 160 т для
взвешивания совка со скрапом; 5 - Футерованная крышка с дымоотводом; 6 - Камера
сгорания; 7 - Совок для скрапа емкостью 100 м3 для временной установки
футерованной крышки; 8 - Скраповоз самоходный; 9 - Конвертер емкостью 350 т; 10
- Кран мостовой электрический грузоподъемностью 200 + 32 т, пролетом 34 м; 11 -
Кран мостовой магнитно-грейферный грузоподъемностью 15 + 15 т, пролетом 34 м;
12 - Кран мостовой загрузочный грузоподъемностью 200 т, пролетом 24,5 м
Конструкции и установки для нагрева можно
отнести к одному из двух типов: использующие тепло специально подведенного
топлива и теплосодержание отходящих конвертерных газов или продуктов плавки.
Наиболее приемлемыми следует считать установки, в которых теплоноситель
(продукты сгорания топлива, конвертерные газы), разбавленный воздухом, с
рециркуляцией или без нее просасывается через подогреваемый металл снизу или
сверху.
Наиболее перспективен подогрев лома вне
конвертера в коробах или контейнерах, которые используются для его
транспортировки и загрузки. Постепенный нагрев лома в таких коробах
(контейнерах), помещаемых в отдельную камеру, где используется тепло отходящих
конвертерных газов. Короба в другом варианте могут быть дооборудованы
надставкой, обеспечивающей достаточно равномерное омывание горячими газами
кусков лома рисунок 27.
Рисунок 27 - Разогрев металлолома в коробах: 1 -
загрузочный короб; 2 - надставка над коробом; 3 - куски металлолома
Короба (контейнеры), контактирующие с горячим
ломом, целесообразно изготовлять и обслуживать следующим образом. Они должны
иметь открытый верхний торец, через который загружают и выгружают лом, наружную
металлическую рубашку для циркуляции охлаждающего воздуха и располагаться на
загрузочном стенде в наклонном положении. Стенд оборудуется платформенными
весами, установленными под ним. После загрузки холодного лома короба с помощью,
например, завалочной машины рельсового типа с гидравлическим подъемником
поочередно подают к подогревательной установке. Целесообразно подогревать
горелками, установленными в нижней части короба, для повышения теплосодержания
тяжеловесного лома.
Возможен подогрев лома до температуры 700 °С в
проходной печи, где транспортирующим устройством являются тележки, перемещаемые
по рельсовому пути.
Имеются предложения по нагреву лома до
температуры 1100 °С в проходной трехзонной печи, в которой для предотвращения
окисления лома в камере окончательного нагрева поддерживается восстановительная
атмосфера. Дж. Стоун рекомендует такую печь располагать над рабочей площадкой
цеха.
Следует отметить, что методы подогрева лома вне
конвертера не лишены недостатков и трудностей, которые, кроме увеличения
капиталовложений и эксплуатационных затрат, связаны с детальной проработкой
наиболее рациональных конструкций нагревательных агрегатов и организацией
производства при транпортировке большого количества горячего лома. Метод
требует строгой синхронизации операций по нагреву лома с работой конвертеров,
обеспечения четкого контроля за температурой факела горелки и лома во избежание
повышенного угара шихты и ее оплавления. Оплавление может привести к
образованию мостов и привариванию кусков лома к футеровке подогревательного
устройства и поверхности коробов или загрузочных лотков при транспортировке
лома к конвертерам, обусловливающих простои последних в период завалки и потерю
производительности. Очень сложно также устанавливать в конвертерном цехе
методическую печь или такой газоотводящий тракт, который бы обеспечивал нагрев
лома отходящими газами. При подогреве лома в загрузочных коробах длительность
их службы может оказаться невысокой, но простота подогрева в коробах или других
загрузочных емкостях очевидна. При подогреве лома вне конвертера возможно
некоторое загрязнение атмосферы продуктами сгорания топлива и посторонних
примесей.
4.7.3 Перспективы разных методов
подогрева металлолома
В современных условиях наиболее экономичен из
рассмотренных метод подогрева лома вне конвертера, так как обеспечивает высокую
производительность сталеплавильного агрегата и сравнительную простоту возможных
схем подогрева. Это подтверждается детальным экономическим анализом приведенных
затрат при повышении доли лома в металлической шихте.
В действующих цехах подогрев металлолома вне
конвертера трудно осуществим прежде всего из-за отсутствия площадей для
размещения подогревательных устройств, расположение и размер которых отвечают
условиям целесообразной организации производства и обеспечивают синхронизацию
работы подогревательной установки и конвертера.
При проектировании новых цехов в ряде случаев
целесообразно планировать место размещения самостоятельных установок для
нагрева скрапа и сооружения специального оборудования с автоматикой и
соответствующими коммуникациями, несмотря на недостатки метода. Особенно важно
предусмотреть транспортировку горячего скрапа на короткие расстояния в
приспособленных для этой цели простых загрузочных устройствах.
Подогрев металлолома в конвертерах следует в
первую очередь применять в тех отечественных цехах, где есть резервы повышения
производительности или имеют место значительные вынужденные простои (в
частности, из-за отсутствия шихты). Данный метод проще рекомендуемого для новых
цехов, но требует больших расходов тепла, огнеупоров и тщательного контроля
состояния футеровки, снижает производительность конвертеров, что должно прежде
всего учитываться при организации его внедрения.
Подогрев в конвертерах изменяет и упрощает
требования к металлолому. При этом в ряде случаев предпочтителен легковесный
лом, как материал с высокой удельной поверхностью, пропорционально которой
возрастает теплопоток к нему от факела пламени. Чтобы не увеличивать время
завалки и одновременно быстро достигать заданной температуры нагрева, средняя
насыпная плотность лома в конвертерах должна быть в пределах 0,8-2,0 т/м3.
Донный и донно-верхний подогревы эффективнее верхнего и рекомендуются к
широкому распространению.
В процессе горения угля можно рассматривать
следующие стадии: подогрев и подсушка топлива; процесс пирогенного разложения
топлива с выделением летучих и образованием коксового остатка; горение летучих,
горение коксового остатка (углерода).
Для повышения стойкости огнеупорной футеровки
конвертеров при нагреве металлолома необходимо комплексно применять локальное
торкретирование зон воздействия на футеровку факела и шлака, увеличение
вязкости шлака присадками обожженных магнезита, доломита, извести, регулярные
подварки корпуса, днища, ремонты летки. Следует опробовать организацию в конце
продувки тугоплавкого шлакометаллического гарнисажа на футеровке (с помощью
интенсивной работы в этот период холодильников на корпусе конвертера), чтобы
гарнисаж защищал огнеупоры при завалке лома и его нагреве.
Наиболее простой и сравнительно легко
осуществимый верхний нагрев лома в кислородных конвертерах должен развиваться в
направлении сокращения продолжительности нагрева и возрастания его
эффективности, что обеспечит Повышение производительности цехов,
перерабатывающих увеличенное количество твердой металлошихты и снижение расхода
топлива. Конкретными направлениями являются использование горелок с высокой
тепловой мощностью (более 103 кВт на 1 т вместимости агрегата); переход от
газообразного топлива к жидкому (карбюрация факела) и твердому; осуществление
нагрева в наклонном и даже горизонтальном положении конвертера, в результате
чего увеличивается тепловоспринимающая поверхность металлолома в 2-4 раза и
может сократиться до 3 мин длительность его нагрева до 800 °С. Для улучшения
условий нагрева металлолома и службы огнеупоров рекомендуется в ходе подогрева
изменять угол наклона конвертера и перемещать горелку. В последнем случае
усложняется дооборудование конвертера горелками для нагрева и системами
снабжения их кислородом, топливом, подвода и отвода охлаждающей воды,
эксплуатация этого оборудования; не до конца ясны условия и длительность службы
огнеупоров в зоне воздействия отраженных поверхностью лома газовых струй.
При тщательном анализе результатов верхнего
подогрева следует учитывать сложность получения высокой средней температуры
лома, т.е. прогрева в конвертере всего лома, поскольку нагреваются (затем
оплавляются и окисляются) в первую очередь верхние слои. Тем не менее, верхний
подогрев лома в конвертерах получил распространение как в странах, где лом
дешевле чугуна (к ним относится наша страна), так и в странах с более высокой стоимостью
лома (Япония). По американским данным эффект от подогрева превышает 2 доллара
на 1 т слитков, когда 1 т лома на 10 долларов дешевле 1 т чугуна.
5. Экономическая часть
.1 Расчет производственной программы
цеха
Таблица 14 - Время работы конвертеров
|
Показатели
|
1-й
конвертер
|
2-й
конвертер
|
3-й
конвертер
|
Итого
|
|
до
реконструкции
|
проект
|
до
реконструкции
|
проект
|
до
реконструкции
|
проект
|
до
реконструкции
|
проект
|
|
Номинальная
емкость конвертера, т
|
160
|
160
|
160
|
160
|
160
|
160
|
160
|
160
|
|
Календарное
время, сут.
|
365
|
365
|
365
|
365
|
365
|
365
|
1095
|
1095
|
|
Текущие
простои, сут.
|
11
|
11
|
11
|
11
|
11
|
11
|
33
|
33
|
|
Горячие
простои, сут.
|
24
|
24
|
24
|
24
|
24
|
24
|
72
|
72
|
|
Капитальный
ремонт, сут.
|
7
|
7
|
7
|
7
|
7
|
7
|
21
|
21
|
|
Простои
на смену и ремонт футеровки, сут.
|
12,33
|
12,33
|
12,33
|
12,33
|
12,33
|
12,33
|
37
|
37
|
|
Фактическое
время работы, сут.
|
243,33
|
243,33
|
243,33
|
243,33
|
243,33
|
243,33
|
730
|
730
|
|
Средняя
продолжительность плавки, мин.
|
50
|
50
|
50
|
50
|
50
|
50
|
50
|
50
|
|
Количество
плавок за год
|
7300
|
7300
|
7300
|
7300
|
7300
|
7300
|
21900
|
21900
|
|
Масса
плавки по годному
|
152,3
|
152,3
|
152,3
|
152,3
|
152,3
|
152,3
|
152,3
|
152,3
|
|
Годовое
производство стали, т/год
|
1052828
|
1052828
|
1052828
|
1052828
|
1052828
|
1052828
|
3158485
|
3158485
|
Годовая производительность
кислородно-конвертерного цеха определяется по формуле:
,
где к - текущие простои;- выход
годного;
Т - ёмкость конвертера;
- время плавки, часов.
Текущие простои составляют 25 %.
Выход жидкой стали и годного (из
жидкого при разливке в слитки) от металлической завалки принимаем
соответственно равным 0,94 и 0,91. Тогда выход годного из металлозавалки
составит
(или 86% от массы садки)
Производительность цеха при трех
работающих конвертерах до реконструкции составит:
т/год
Среднесуточная производительность
цеха до реконструкции составит:
Всут. = 3158485/360 = 8774 т/сут.
Производительность цеха при трех
работающих конвертерах по проекту составит:
т/год
Среднесуточная производительность цеха после
реконструкции составит:
Всут. = 3158485/360 = 8774 т/сут.
5.2 Расчет инвестиций на реализацию
предлагаемых мероприятий
.2.1 Расчет инвестиций в основные
фонды
Проектом реконструкции ККЦ-1 предусматривается
внедрение следующих мероприятий, требующих капитальных вложений:
устройство для подачи порошковой проволоки
(трайб-аппарат) - 2 устройства;
замена огнеупорного материала шлакового пояса
стальковша на МКТП, не требует капитальных вложений;
Устройство отсечки шлака - 3 устройства
Таблица 15 - Капитальные вложения в основные
фонды и амортизационные отчисления
|
Наименование
|
Количество
единиц оборудования
|
Стоимость
основных фондов, млн. руб.
|
Срок
использования, лет
|
На,
%
|
Годовые
амортизационные отчисления, млн. руб.
|
|
Трайбаппарат
|
2
|
6
|
10
|
10
|
0,6
|
|
Установка
для отсечки шлака
|
3
|
7,5
|
10
|
10
|
0,75
|
|
Итого
|
|
13,5
|
|
|
1,35
|
5.2.2 Расчет инвестиций в оборотные
средства
Расчет величины нормируемых оборотных средств
цеха производим по элементам: производственные запасы; незавершенное
производство.
В предлагаемом проектном решении объем
производства и наименование вводимых в конвертер сырья и материалов не
изменяют. Следовательно. Инвестиции в оборотные фонды отсутствуют.
5.3 Финансирование инвестиций
Таблица 16 - Расчет процентных платежей за
пользование кредитом
|
Месяцы
|
Ежемесячный
платёж по возврату кредита, руб.
|
Процент
за пользование кредитом, руб.
|
Оставшаяся
сумма долга, руб.
|
|
0
|
|
|
13500000
|
|
1
|
562500
|
168750
|
12937500
|
|
2
|
562500
|
161718,8
|
12375000
|
|
3
|
562500
|
154687,5
|
11812500
|
|
4
|
562500
|
147656,3
|
11250000
|
|
5
|
562500
|
140625
|
10687500
|
|
6
|
562500
|
133593,8
|
10125000
|
|
7
|
562500
|
126562,5
|
9562500
|
|
8
|
562500
|
119531,3
|
9000000
|
|
9
|
562500
|
112500
|
8437500
|
|
10
|
562500
|
105468,8
|
7875000
|
|
11
|
562500
|
98437,5
|
7312500
|
|
12
|
562500
|
91406,25
|
6750000
|
|
13
|
562500
|
84375
|
6187500
|
|
14
|
562500
|
77343,75
|
5625000
|
|
15
|
562500
|
70312,5
|
5062500
|
|
16
|
562500
|
63281,25
|
4500000
|
|
17
|
562500
|
56250
|
3937500
|
|
18
|
562500
|
49218,75
|
3375000
|
|
19
|
562500
|
42187,5
|
2812500
|
|
20
|
562500
|
35156,25
|
2250000
|
|
21
|
562500
|
28125
|
1687500
|
|
22
|
562500
|
21093,75
|
1125000
|
|
23
|
562500
|
14062,5
|
562500
|
|
24
|
562500
|
7031,25
|
0
|
5.4 Расчет показателей эффективности
использования основных средств
Коэффициент экстенсивной нагрузки рассчитывается
по формуле:
,
где
- фактическое время работы, сут.;
- календарное время, сут.
При 3-х работающих агрегатов
фактическое время работы составит:
Тф= 730/3=243,33 сут.
Коэффициент экстенсивной нагрузки до
реконструкции составит:
Коэффициент экстенсивной нагрузки
после реконструкции не изменится и составит:
Коэффициент интенсивной нагрузки
рассчитывается по формуле:
,
где
- фактическая производительность
агрегатов , т/сут.;
- максимально возможная
производительность агрегатов, т/сут.
Максимально возможная
производительность до реконструкции:
Максимально возможная
производительность после реконструкции:
Коэффициент интенсивной нагрузки до
реконструкции составит:
Коэффициент интенсивной нагрузки
после реконструкции составит:
Коэффициент интегральной нагрузки
рассчитывается по формуле:
Коэффициент интегральной нагрузки до
реконструкции составит:
Коэффициент интегральной нагрузки после
реконструкции составит:
5.5 Расчета производительности труда
основных производственных рабочих
Проектные решения не предполагает
расширение штатов.
Производительность труда (выработка)
на одного рабочего определяется по формуле:
;
где ВП1, ВП2 - годовой выпуск
продукции цеха до и после
реконструкции соответственно, т/год;
Чсп1, Чсп2 - среднесписочная
численность рабочих цеха до и после
реконструкции соответственно, чел.
Производительность труда до
реконструкции составит:
Производительность труда после
реконструкции составит:
5.6 Расчет себестоимости одной тонны
продукции
Себестоимость единицы продукции после внедрения мероприятий
рассчитывается по формуле:
где С1, С0 -себестоимость до и после
внедрения мероприятий соответственно, руб./т;
А, Б - условно-постоянные и
переменные затраты в долях соответственно (таблица 17);
КПР - коэффициент прироста выпуска
продукции.
Таблица 17 - Доли условно-постоянных
и переменных затрат, %
|
Наименование
статей затрат
|
Условно-постоянные,
%
|
Условно-переменные,
%
|
|
Топливо
технологическое
|
40
|
60
|
|
Энергетические
затраты
|
20
|
80
|
|
Затраты
на оплату труда производственных рабочих с начислениями
|
60
|
40
|
|
Сменное
оборудование, малоценный инвентарь
|
10
|
90
|
|
Текущий
ремонт и содержание основных средств
|
65
|
35
|
|
Амортизация
основных средств
|
100
|
0
|
|
Прочие
расходы цеха
|
80
|
20
|
Затраты на амортизацию основных средств:
Таблица 18 - Расчет себестоимости стали
|
Наименование
статей затрат
|
До
реконструкции
|
Стоимость
после реконструкции, руб./т
|
|
Расход
на 1 т стали
|
Цена,
руб.
|
Стоимость,
руб./т
|
|
|
1.
Сырье и материалы
|
|
|
|
|
|
-
чугун
|
0,834
|
10502,79
|
8759,33
|
8759,33
|
|
-
металлолом
|
0,271
|
8628,83
|
2338,41
|
2338,41
|
|
-
ферросплавы
|
0,009
|
53148,53
|
478,34
|
478,34
|
|
Итого
металлошихты
|
1,114
|
-
|
11576,08
|
11576,08
|
|
2.
Отходы
|
|
|
|
|
|
-
угар
|
-0,09767
|
-
|
-
|
-
|
|
-
недоливки
|
-0,01135
|
8290,00
|
-94,09
|
-94,09
|
|
-
отходы МОЗ
|
-0,00052
|
12724,17
|
-6,62
|
-6,62
|
|
-
брак I передела
|
-0,00446
|
12497,34
|
-55,74
|
-55,74
|
|
Итого
отходов
|
-0,11400
|
-
|
-156,45
|
-156,45
|
|
3.
Задано за вычетом отходов
|
1,000
|
-
|
11419,63
|
11419,63
|
|
4.
Добавочные материалы
|
|
|
|
|
|
-
известь
|
0,0501
|
1771,08
|
88,73
|
88,73
|
|
-
флюс ФОМИ
|
0,0016
|
6353,06
|
10,16
|
10,16
|
|
-
флюс ФМ-1
|
0,0077
|
6505,33
|
50,09
|
50,09
|
|
Итого
добавочных материалов
|
0,0594
|
-
|
148,98
|
148,98
|
|
5.
Итого материальных затрат
|
-
|
-
|
11568,61
|
11568,61
|
|
6.
Расходы по переделу
|
|
|
|
|
|
6.1
Топливо
|
0,0123
|
3485,29
|
42,87
|
42,87
|
|
6.2
Энергетические затраты, в том числе:
|
|
|
|
|
|
-
электроэнергия
|
0,02565
|
1123,27
|
28,81
|
28,81
|
|
-
вода техническая
|
0,01872
|
480,98
|
9,00
|
9,00
|
|
-
вода хим. очищенная
|
0,00055
|
31230
|
17,12
|
17,12
|
|
-
сжатый воздух
|
0,04833
|
127,49
|
6,16
|
6,16
|
|
-
пар
|
0,00728
|
303,7
|
2,21
|
2,21
|
|
Итого
энергетических затрат
|
-
|
-
|
63,30
|
63,30
|
|
6.3
Расходы на оплату труда
|
-
|
-
|
41,79
|
41,79
|
|
6.4
Отчисления в соц. фонды
|
-
|
-
|
12,76
|
12,76
|
|
6.5
Затраты на содержание оборудования
|
-
|
-
|
638,82
|
638,82
|
|
6.6
Затраты на ремонт оборудования
|
-
|
-
|
24,50
|
24,50
|
|
6.7
Затраты на работу транспортных цехов
|
-
|
-
|
54,92
|
54,92
|
|
6.8
Затраты на амортизацию основных средств
|
-
|
-
|
13,7
|
17,97
|
|
6.9
Затраты на прочие расходы
|
-
|
-
|
33,64
|
33,64
|
|
6.10
Затраты на общецеховые расходы
|
-
|
-
|
150,42
|
150,42
|
|
Итого
расходы по переделу
|
-
|
-
|
1033,85
|
1038,12
|
|
Итого
производственная себестоимость
|
-
|
-
|
12602,46
|
12606,73
|
5.7 Расчет показателей эффективности
инвестиций
,
где
,
- производственная себестоимость до
и после реконструкции соответственно, руб./т;
- годовое производство стали после
реконструкции, т/год;
- изменение амортизационных
отчислений после реконструкции, руб.
Экономия составит:
,
. Срок окупаемости инвестиций
рассчитывается по формуле:
где
- расчетный срок окупаемости
капитальных вложений, лет;
К - сумма инвестиций, руб.
. Коэффициент эффективности
капитальных вложений ЕР:
Для оценки эффективности инвестиций
используем метод, основанный на дисконтировании.
Прогноз денежных потоков
производится по схеме, представленной в таблице 19.
Таблица 19 - Прогноз денежных
потоков
|
Показатели
|
I
год
|
I
I год
|
|
1.Экономия,
руб.
|
81402819
|
81402819
|
|
3.
Ежемесячный платеж по возврату кредита, руб.
|
1560938
|
548437,5
|
|
Чистые
денежные потоки, руб.
|
79841881
|
80854382
|
Необходимые условия эффективности инвестиционных
проектов:
ЧДД >0;
ВНД ³Е, при условии, что
ВНД представляет собой единственный корень уравнения ЧДД (Е)=0;
ИДЗ³1;
срок окупаемости, рассчитанный с учетом
дисконтирования, меньше расчетного периода Т (срока жизни проекта).
Расчет чистого дисконтированного дохода выполним
в таблице 20.
Таблица 20 - Чистый дисконтированный доход
|
Год
|
Чистый
денежный поток, руб.
|
Коэффициент
дисконтирования(Е=15%)
|
Дисконтированные
денежные потоки, руб.
|
|
0
|
-13500000
|
1
|
-13500000
|
|
1
|
79841881
|
=0,87069427722,61
|
|
|
2
|
80854381,5
|
0,756
|
61137528,54
|
Чистый дисконтированный доход:
ЧДД= -13500000+69427722,61+61137528,54=117065251
руб.
Индекс доходности инвестиций составит:
ИДЗ=(69427722,61+61137528,54)/(13500000)=9.67
Рассчитаем срок окупаемости:
/ 69427722,61=0,2 месяца.
Для расчета внутренней нормы доходности найдем
два ближайших к нулю значения ЧДД положительное и отрицательное (таблица 21).
Таблица 21 - Чистый дисконтированный доход, при
Е=99%
|
Год
|
Чистый
денежный поток, руб.
|
Коэффициент
дисконтирования(Е=15%)
|
Дисконтированные
денежные потоки, руб.
|
|
0
|
-13500000
|
1
|
-13500000
|
|
1
|
79841881
|
0,502512563
|
40121548,24
|
|
2
|
80854381,5
|
0,252518876
|
20417257,52
|
ЧДД = -13500000+40121548,24+20417257,52=47038806
руб.
Так как при Е =99% ЧДД положительное,
следовательно. Внутреннюю норму доходности найти нельзя
Результаты расчета основных показателей сведем в
таблицу 22.
Таблица 22 -Технико-экономические показатели работы
цеха
|
Наименование
показателей
|
Единица
измерения
|
Значение
показателей
|
|
|
до
реконструкции
|
после
реконструкции
|
|
Количество
и емкость конвертеров
|
т
|
3×160
|
3×160
|
|
Календарное
время
|
сут.
|
1095
|
1095
|
|
Текущие
простои
|
сут.
|
33
|
33
|
|
Горячие
простои
|
сут.
|
72
|
72
|
|
Капитальный
ремонт
|
сут.
|
21
|
21
|
|
Простои
на смену и ремонт футеровки
|
сут.
|
37
|
37
|
|
Фактическое
время
|
сут.
|
730
|
730
|
|
Годовой
выпуск продукции
|
т/год
|
3
158 485
|
3
158 485
|
|
Среднесуточная
производительность цеха, т/сутки
|
|
8
774
|
8
774
|
|
Численность
рабочих
|
чел.
|
402
|
402
|
|
Производительность
труда рабочего
|
т/чел
|
7857
|
7857
|
|
Производственная
себестоимость
|
руб/т
|
12602,46
|
12606,73
|
|
Инвестиции
|
млн.
руб.
|
-
|
13,500
|
|
Чистый
дисконтированный доход
|
млн.
руб.
|
-
|
117,065
|
|
Индекс
доходности затрат
|
-
|
-
|
9,67
|
|
Дисконтированный
срок окупаемости
|
лет
|
-
|
0,2
|
6. Управление качеством
.1 Организация
патентно-лицензионной, изобретательской и рационализаторских работ
Подразделением комбината, на которое возложены
организационно методические и контрольные функции в области
патентно-лицензионной, изобретательской и рационализаторской работы, является
патентно- лицензионный отдел.
Общее руководство патентно-лицензионной,
изобретательской и рационализаторской деятельностью на комбинате возлагается на
главного инженера, который:
принимает решения по предложениям, в числе
соавторов которых руководитель или главный инженер подразделения;
принимает решения о премировании за содействие
изобретательству и рационализации;
принимает решения по спорным и иным вопросам
изобретательства и рационализации;
утверждает экспертные заключения о
целесообразности получения патентов на имя комбината;
подписывает документы, связанные с
изобретательством и рационализацией;
периодически рассматривает и анализирует работу
по изобретательству и рационализации на комбинате.
Руководство патентно-лицензионной,
изобретательской и рационализаторской работой в подразделениях возлагается на
руководителей подразделений, которые:
организуют техническое руководство трудящихся;
рассматривают и квалифицируют предложения;
подписывают расчеты экономического эффекта и
решения о выплате вознаграждения;
определяют и подписывают размеры премий
работникам подразделения за содействие изобретательству и рационализации;
обеспечивают выполнение заданий по
изобретательству и рационализации;
решают другие вопросы, связанные с организацией
технического творчества работников подразделения.
Право подписи на всех документах, связанных с
патентно-лицензионной, изобретательской и рационализаторской работой, возложено
на руководителей подразделений. Во время их отсутствия право подписи имеют
лица, на которых приказом по комбинату возложены функции отсутствующего
руководителя.
Организационно-методическая работа по
изобретательской и рационализаторской деятельности, а также оформление
технической, экономической и другой документации по изобретениям и
рацпредложениям в подразделениях возлагается на организаторов изобретательской
и рационализаторской работы (рацоргов), которые назначаются из состава РРИС
распоряжением руководителя подразделения по согласованию с начальником ПЛО, и
утверждаются приказом генерального директора комбината. На период отсутствия
рацорга (отпуск, командировка и др.) руководитель подразделения своим
распоряжением должен возложить исполнение его обязанностей на другого
работника. Рацорги осуществляют свою деятельность в соответствии с настоящим
стандартом.
Выполнение расчетов экономического эффекта от
использования изобретений и рацпредложений возлагается на экономические службы
подразделений.
Целесообразность патентования технических
решений, разработанных на комбинате, и поддержания полученных патентов в силе
решает Экспертный Совет и утверждает главный инженер комбината.
В состав Совета входят руководители
подразделений и специалисты по направлениям.
Нарушение установленных сроков при рассмотрении
и использовании изобретений и рационализаторских предложений, а также
умышленное нарушение прав авторов влекут за собой ответственность должностных
лиц в соответствии с действующим законодательством.
Удостоверение на рацпредложение подписывается
должностным лицом, принявшим предложение. Право подписи удостоверения от имени
главного инженера предоставляется начальникам подразделений. Подпись заверяется
печатью.
6.1.1 Процесс оформления
рационализаторского предложения
1. Разработка технического решения автором.
Основанием для разработки нового технического решения является потребность
производства в более совершенных устройствах, способах, материалах, позволяющих
снижать затраты производства на единицу продукции.
. Оформление заявления на рацпредложение. Автор
или авторы, разработавшие новое техническое решение могут оформить свои новые
разработки в качестве рационализаторского предложения.
. Принятие решения о достаточности данных в
рацпредложении. Заявление на рацпредложение подается первоначально в ПЛО, где
рассматривается правильность оформления и соответствие предложения требования.
Правильно оформленное предложение регистрируется в журнале ПЛО, предложение,
которое не соответствуем установленным требованиям, отправляется на доработку
автору.
Рассмотрение рацпредложения специалистами.
Зарегистрированное рацпредложение отправляется на заключение специалистам, в
подразделения, где будет использоваться. В заключении должны быть
охарактеризованы новизна технического решения, его полезность, определена категория
сложности, объем использования и достигнутый результат.
|
Вход
|
Блок-схема
|
Этапы
процесса
|
Выход
|
|
Потребность
в новой разработке
|
|
1
Разработка нового технического решения автором
|
Описание
предлагаемого решения
|
|
Описание
предлагаемого решения
|
|
2
Оформление заявления на рацпредложение
|
Заявление
на рацпредложение
|
|
Заявление
на рацпредложение
|
|
3
Принятие решения о достаточности данных в предложении
|
Регистрация
предложения в журнале ПЛО
|
|
Регистрация
предложения в журнале ПЛО
|
|
4
Рассмотрение предложения специалистами
|
Заключение
специалистов о новизне и полезности
|
|
Заключение
специалистов о новизне и полезности
|
|
5
Рассмотрение рацпредложения руководителем подразделения
|
Выводы
по заключениям специалистов
|
|
Выводы
по заключениям специалистов
|
|
6
Принятие решения по предложению
|
Решение
о квалификации или испытании
|
|
Решение
об испытании Решение о квалификации
|
|
7
Испытание 8 Использование
|
Решение
о квалификации Акт об использовании рацпредложения
|
|
Акт
об использовании рацпредложения
|
|
9
Подготовка документов на выплату вознаграждения
|
Расчет
экономической эффективности
|
|
Расчет
экономической эффективности
|
|
10
Выплата вознаграждения
|
Решение
на выплату вознаграждения
|
|
Рисунок
28 - Блок-схема процесса «Порядок оформления рационализаторских предложений»
|
5. Рассмотрение рацпредложения руководителем
подразделения
Руководитель подразделения, где будет
использовано рацпредложение, на основании заключений специалистов проводит их
анализ и делает соответствующие выводы.
. Принятие решения по рацпредложению
Руководитель принимает решения
о признании предложения рационализаторским;
об отклонении предложения;
об испытании предложения.
Решение об отклонении предложения автор имеет
право обжаловать сначала у главного инженера, а затем у генерального директора.
. Испытание. При необходимости могут быть
назначены испытания, по результатам которых уже принимается окончательное
решение.
. Использование. По предложению с квалификацией
назначается ответственный за использование, а затем предложение передается на
использование.
. Подготовка документов для выплаты авторского
вознаграждения по окончании фактического года использования предложения
производится расчет экономического эффекта, если предложение создает
экономический эффект, определяется сумма вознаграждения, готовится решение на
выплату вознаграждения.
. Выплата вознаграждения
Выплата вознаграждения производится на основании
решения подготовленного ПЛО.
6.1.2 Ответственность
Ответственность за выполнение требований
настоящего стандарта несут главные инженеры производств, управлений и начальники
подразделений.
Матрица распределения ответственности по этапам
процесса представлена на рисунке 29.
|
Главный
инженер комбината
|
|
|
Руководитель
подразделения
|
|
|
|
Специалисты
подразделения
|
|
|
|
|
Ответственный
за использование в подразделении
|
|
|
|
|
|
Патентно-лицензионный
отдел
|
|
|
|
|
|
|
Бухгалтерия
|
|
|
|
|
|
|
|
Авторы
|
|
|
|
|
|
|
|
|
ПЭО
|
|
Разработка
нового технического решения автором
|
|
|
|
|
И
|
|
В
|
|
|
Оформление
заявления на рацпредложение
|
|
|
|
|
В
|
|
В
|
|
|
Принятие
решения о достаточности данных в рацпредложении
|
|
|
|
|
Р
|
|
С
|
|
|
Рассмотрение
рацпредложения специалистами
|
|
|
В
|
|
И
|
|
И
|
|
|
Рассмотрение
рацпредложения руководителем подразделения
|
|
В
|
|
|
И
|
|
И
|
|
|
Принятие
решения по предложению
|
Р
|
Р
|
|
|
С
|
|
И
|
|
|
Испытание
|
С
|
С
|
В
|
|
И
|
|
И
|
|
|
Использование
|
|
С
|
С
|
В
|
И
|
|
И
|
|
|
Подготовка
расчетов экономической эффективности
|
|
|
|
|
С
|
|
И
|
В
|
|
Выплата
вознаграждения
|
|
|
|
|
В
|
В
|
И
|
|
Обозначения: С - содействие, В - выполнение, Р -
решение, И - информирование
Рисунок 29 - Матрица распределения
ответственности по этапам процесса
6.2 Качество используемых материалов
(металлический лом)
Стальной лом наряду с чугуном является важнейшей
составляющей шихтовых материалов сталеплавильного производства.
Стальной лом - это отходы черных металлов,
специальным образом приготовленные для переплава в сталеплавильных агрегатах
(конвертерах, электродуговых и мартеновских печах).
К лому, используемому в конвертерном процессе,
как и при прочих сталеплавильных процессах, предъявляется требование о
недопустимости высокого содержания фосфора, серы, примесей цветных металлов и
ржавчины.
Количество меди и никеля, которые не окисляются
в условиях конвертерной плавки, не должно превышать их допустимого содержания в
выплавляемой стали (обычно менее 0,2 %). Ограничивают максимальный размер
кусков лома, поскольку слишком большие куски могут не успевать раствориться в
металле за время продувки, а во время загрузки могут повредить футеровку
конвертера. Отсутствие засоренности другими веществами (маслом, землей,
мусором), влажность, взрыво- и пожароопасность - также являются обязательными
требованиями.
По источникам поступления стальной лом
классифицируется на следующие виды:
оборотный лом - это скрап и обрезь
сталеплавильных и прокатных цехов. Это самый ценный вид лома, поскольку он
имеет высокую плотность, не содержит загрязнений (земли, ржавчины и др.),
химический состав его известен;
новый лом - это отходы машиностроительных и
автомобильных предприятий;
старый (амортизационный) лом - это машины (в том
числе и автомобили), оборудование, инструменты и другие орудия труда,
потерявшие потребительскую стоимость вследствие физического износа или
морального устаревания;
собираемый ломоизготовителями обезличенный лом -
это металлические отходы неизвестного происхождения (бытовой лом, лом из
шлаковых отвалов, городских свалок). Это самый низкосортный лом. Он имеет
низкую плотность, часто загрязнен; ржавчиной, землей, смешан с цветными
металлами (Cu, Ni, Pb, Zn и др.).
Привозной или покупной амортизационный лом,
являющийся частями изношенных машин и оборудования, как правило, имеет
нерациональную физическую форму и неопределенный химический состав. Из-за этой
неопределенности химического состава привозной лом не рекомендуется применять
при выплавке ответственных марок стали, так как в готовый металл могут попасть
нежелательные неокисляющиеся примеси - олово, медь и т. д. В этом случае
необходимо пользоваться собственным оборотным ломом.
В копровый цех металлолом поступает в
железнодорожных вагонах и саморазгружающихся автомобильных прицепах, где в
дальнейшем подвергается следующим видам подготовки:
Сортировка по химическому составу и физическому
состоянию в зависимости от планируемой к выплавке марки стали.
Лом и отходы легированных сталей и сплавов
поставляют по ГОСТ 2787-75 (на черные вторичные металлы), согласно которому
металл подразделяют на категории А (углеродистые нелегированные сплавы) и Б
(легированные, выделены 67 групп в зависимости от содержания легирующих
элементов). Например, к металлу группы Б1 относят лом и отходы конструкционных
и инструментальных сталей, легированных хромом и другими элементами, кроме
никеля, молибдена и вольфрама. К металлу группы Б34 относят лом и отходы
быстрорежущих хромвольфрамванадиевых сталей и др. По содержанию углерода
металлическую шихту разделяют на стальной лом и отходы (до 2 % С) и чугунный
лом и отходы (более 2 % С).
Лом и отходы высоколегированных сталей и сплавов
поставляют предприятию и хранят в копровых цехах и на шихтовых участках
раздельно (по маркам).
Придание стальному лому требуемых форм,
размеров, плотности. По габаритам лом разделяют на мелкий, средний, крупный и
стружку. Мелкие обсечки и обрезки передельных и металлообрабатывающих цехов,
бракованные небольшие детали длиной не более 100 мм относит к мелкому лому.
Средний лом имеет массу кусков до 50 кг и длину до 500 мм. Крупный лом включает
бракованные слитки, недоливки, изношенные детали, прессованные пакеты, и другие
вторичные отходы с длиной кусков до 2000 мм. Среди вторичных металлоотходов
значительная доля приходится на стружку. Углеродистая и легированная стружка
должна быть обезжирена и сбрикетирована. На стадии подготовки лома используют
специальное оборудование - гидравлические ножницы, шреддинг - установки,
газокислородную резку, пакетир - прессы и др.
Входной контроль металлолома осуществляется
контролерами ОТК совместно с приемщиками лома цеха подготовки лома (копрового),
дозиметристами лаборатории радиационного контроля на основании договоров на
поставку металлолома, соответствующего нормативной документации (НД), классу,
категории и виду, указанных в накладной. Во время приемки определяется
фактическое качество (класс, категория и вид), засоренность металлолома в
соответствии с ГОСТ 2787-75 и радиационная безопасность в соответствии СанПиН
2.6.1.993-00. Поставляемый металлолом может иметь в своем составе
неметаллические примеси, такие как:
камни, песок, земля, глина, гравий, кирпич,
бетонные конструкции, доски, пакеты с битумом, мусор;
снег, лед, (в зимнее время);
зашлакованый скрап;
редукторы, баллоны, теплообменники,
огнетушители, гидроцилиндры, радиоактивные отходы.
На металлолом, несоответствующий требованиям НД
составляется «Акт на металлолом несоответствующего качества». Ниже приведены
причины, на основании которых составляются акты:
поставка баллонов с нарушениями требований ГОСТ
2787-75;
поставка взрывоопасных редукторов;
поставка металлолома с повышенной засоренностью;
отсутствие удостоверений о радиационной
безопасности и взрывоопасности;
поставка негабаритного лома, затрудняющего
выгрузку.
Для взыскания затрат, связанных с поставкой
взрывоопасного лома, переаттестацией партии металлолома его соответственным
хранением, поставщикам предъявляются штрафные санкции.
На рисунке 30 приведены результаты входного
контроля металлолома, поступившего на металлургический комбинат в течение года,
с плановым объемом поставок 1,2 млн.т.
Рисунок 30- Результаты входного контроля: 1 -
переаттестовано; 2 - засоренный металлолом; 3 - негабаритный металлолом; 4 -
металлолом, подвергаемый пакетированию; 5 - неотделимый сор в металлоломе; 6 -
отделимый сор в металлоломе
7. Автоматизация
Функциональная схема контроля и регулирования
технологических параметров кислородного конвертера с использованием
контроллеров.
Конвертерный процесс протекает очень быстро, что
является его основным преимуществом с точки зрения достижения высокой
производительности агрегата, но и создает значительные трудности, усложняющие
управление плавкой. При ведении технологического процесса плавки необходимо
измерять, контролировать и поддерживать на заданном уровне технологические
параметры процесса, а также управлять устройствами, при помощи которых
выполняются технологические операции.
Данные о химическом составе и температуре
чугуна, массе лома и чугуна поступают в главный пост управления конвертером.
Основной технологической операцией плавки является продувка ванны кислородом.
На основании данных о количестве, составе шихты, температуры жидкого чугуна,
заданной марки стали, а также руководствуясь технологическими указаниями,
машинист дистрибутора с помощью вычислительной техники определяет количество
кислорода на плавку.
В кислородном конвертере в процессе плавки
автоматически контролируются и регулируются следующие величины:
)положение корпуса конвертера и положение
кислородной фурмы;
)расход кислорода на продувку, расход
охлаждающей воды к фурмам и расход азота на отсечку шлака;
)давление кислорода на продувку, давление
охлаждающей воды к фурмам и давление азота на отсечку шлака;
)температуры чугуна, стали, отходящих
конвертерных газов и охлаждающей воды после фурм;
)состав отходящих конвертерных газов и анализ
кислорода.
Контроль положения корпуса конвертера. Положение
корпуса конвертера контролируется системой сельсин-датчик/сельсин-приемник.
Информация о положении конвертера поступает от сельсин-приёмника (GE),
установленного на приводе поворота конвертера, в контроллер. Показание
положения корпуса конвертера (GI) отображается на щите управления конвертером.
Контроль положения фурмы. Информация об
установке фурмы и глубине ее погружения поступает от двух сельсин-датчиков
(чувствительных элементов (GE)), установленных на каретке фурменной машины и на
механизме подъема - опускания фурмы (лебёдке), в контроллер. Показание
положения фурмы (GIR) отображается и регистрируется на щите управления
конвертером. Программа положения фурмы задается оператором и является ступенчатой
функцией времени или количества израсходованного с начала продувки кислорода.
Контроль и регулирование расхода кислорода на
продувку. Расход кислорода на продувку определяется по перепаду давления в
трубопроводе на диафрагме (сужающем устройстве). Поскольку к точности измерения
расхода кислорода предъявляются повышенные требования, обязательно вводится
коррекция по температуре и давлению.
От дифференциального манометра установленного во
внещитовых приборах, сигнал передаётся в измерительный прибор, где осуществляется
коррекция по температуре и давлению кислорода. Далее сигнал поступает в
контроллер. Преобразователи (ТY) и (PY) обеспечивают введение поправок в
эквиваленты расхода. Прибор (FIRА) обеспечивает индикацию и регистрацию расхода
кислорода на щите управления конвертером. Регулирование осуществляется с
помощью контроллера, в котором вырабатывается заданное значение кислорода. На
основании величины поступившего регулирующего сигнала исполнительный механизм
воздействует на регулирующий орган (величину открытия задвижки). Показание
расхода отображается и регистрируется на щите управления конвертером. Суммарное
значение расхода кислорода (FQIR) формируется в контроллере SIMATIC-135U и
выводится технологу на монитор. В контроллере производится сравнение фактического
суммарного значения расхода кислорода с заданным суммарным значением. Когда
суммарное значение расхода кислорода становится равным заданному суммарному
значению кислорода, от контроллера поступает сигнал регулирующему органу на
отключение подачи кислорода.
Контроль и регулирование расхода воды на
охлаждение фурмы.
Расход воды на охлаждение фурмы определяется по
перепаду давления в трубопроводе на диафрагме (сужающем устройстве). От
дифференциального манометра установленного во внещитовых приборах, сигнал
передаётся в измерительный прибор. Далее сигнал поступает в контроллер.
С помощью ручного переключателя (НS) выбирается
рабочая фурма. При уменьшении расхода воды на щите управления конвертером
загораются сигнальные лампы. Регулирование осуществляется с помощью
контроллера, в котором вырабатывается заданное значение расхода воды. На
основании величины поступившего сигнала исполнительный механизм воздействует на
регулирующий орган (величину открытия задвижки).
Контроль и регулирование расхода азота на
отсечку шлака. В сталевыпускном отверстии кислородного конвертера установлен
электромагнитный индуктор (ВЕ), который, являясь чувствительным элементом,
фиксирует изменение магнитного поля при появлении шлака в отверстии при сливе
металла. Аналоговый сигнал с индуктора поступает в контроллер. Задатчик в
контроллере вырабатывает заданное значение поступающего сигнала
электромагнитного поля, и при превышении заданного значения посылает сигнал
исполнительному механизму, который, в свою очередь, воздействует на
регулирующий орган на трубопроводе азота (величину открытия задвижки). Величина
расхода азота выводится технологу на монитор.
Контроль давления кислорода перед фурмой.
Давление кислорода перед фурмой замеряется в течение всего времени продувки
дифманометром, установленным во внещитовых приборах. С помощью ручного
переключателя (НS) выбирается рабочая фурма. Сигнал от датчика передаётся в
контроллер. Показание давления перед фурмой (РIR) отображается и регистрируется
на щите управления конвертером.
Контроль давления воды на охлаждение фурмы.
Контроль осуществляется передачей сигналов от дифманометров, установленных во
внещитовых приборах, в контроллер. С помощью ручного переключателя (НS)
выбирается рабочая фурма. Прибор (РIRА) обеспечивает индикацию и регистрацию
давления воды на щите конвертера. При падении давления воды на щите управления
конвертером загораются сигнальные лампы.
Контроль давления азота на отсечку шлака.
Контроль осуществляется передачей сигнала от дифманометра, установленного во
внещитовых приборах, в контроллер. Прибор (РIRА) обеспечивает индикацию и
регистрацию давления азота на щите конвертера. При падении давления азота на
щите управления конвертером загораются сигнальная лампа.
Контроль температуры стали. Замер температуры
стали осуществляется термопарами погружения (платино - и платинородиевыми).
Сигнал (3) от датчика температуры поступает в контроллер и измерительный прибор
(электронный потенциометр), который обеспечивает индикацию и регистрацию
температуры на щите конвертера. В случае отсутствия замера на табло возле
агрегата загорается сигнальная лампа.
Контроль температуры чугуна. Замер температуры
чугуна также осуществляется термопарами погружения (платино - и
платинородиевыми). Сигнал (2) от датчика температуры поступает в контроллер и
измерительный прибор (электронный потенциометр), который обеспечивает показание
и регистрацию температуры на щите конвертера.
Контроль температуры отходящей от фурмы воды.
Контроль осуществляется измерением температуры воды термометрами сопротивления,
установленными на трубопроводах отвода охлаждающей воды от фурм. С помощью
ручного переключателя (НS) выбирается рабочая фурма. Непрерывный сигнал с
чувствительного элемента поступает в контроллер и измерительный прибор, который
обеспечивает индикацию и регистрацию температуры на щите конвертера. В случае
повышения температуры выше допустимых пределов (50ºС)
загорается сигнальная лампа на щите управления конвертером.
Контроль состава и температуры отходящих газов.
Информация о составе и температуре отходящих газов поступает в контроллер от
автоматических газоанализаторов и датчика температуры (5) из котла-утилизатора.
Приборы (QIR) и (ТIR) обеспечивают показания и регистрацию состава и
температуры отходящих газов на щите конвертера.
Контроль анализа кислорода. Анализ кислорода
поступает в контроллер от автоматических газоанализаторов (4). Приборы (QIR)
обеспечивают показания и регистрацию анализа кислорода на щите управления
конвертером.
Управление отключающими задвижками на водо- и
кислородопроводах осуществляет контроллер «SIMATIC», который посылает сигналы
на рабочие механизмы отключающих задвижек, которые, в свою очередь,
воздействуют на закрытие задвижек подачи воды, кислорода.
8. Безопасность и экологичность
проекта
.1 Безопасность проекта
.1.1 Анализ условий труда в ККЦ №1
Для сталеплавильного производства характерны
следующие опасные и вредные факторы:
высокая температура (до 21 ºС
);
повышенный уровень шума (до 90 дБА);
опасность травмирования движущимися машинами и
механизмами;
передвигающиеся или перемещаемые изделия,
заготовки и материалы;
термодинамический шум технологического процесса;
опасность ожогов при воздействии открытого
пламени;
взрывы и выбросы металла и шлака при прогарах
ковшей, фурм;
опасность поражения электрическим током напряжением
до 380 В;
выбросы бурого дыма в атмосферу цеха при повалке
конвертера и сливе металла в сталеразливочный ковш.
Опасным является нахождение обслуживающего
персонала вблизи работающего конвертера из-за возможных самопроизвольных
выбросов шлака и металла при продувке, загрузке в конвертер влажных сыпучих
материалов, при сливе металла в сырой сталеразливочный ковш или шлака в
шлаковую чашу с водой, загрузке сырых ферросплавов, загрузке в конвертер лома,
содержащего взрывчатые вещества. Возможны взрывы при заливке чугуна на лом
содержащий снег, лед, закрытые сосуды, при прогаре фурмы и в результате этого
попадания воды в конвертер. Могут возникнуть ожоги при повалке конвертера в
результате сильного теплового излучения из горловины конвертера [24].
Существует вероятность аварии основного и
вспомогательного оборудования: покраснение или прогар металлического кожуха
стальковша, неисправность и протекание металла между шиберными плитами,
неконтролируемая работа механизмов, сбой автоматики, обрыв тросов крана.
В ККЦ-1 осуществляется аттестация рабочих мест.
Карта аттестации рабочего места сталевара конвертера и результаты обследования
рабочего места показана а таблицах 23 и 24 соответственно.
Таблица 23 - Карта аттестации рабочего места
сталевара конвертера
|
Профессия
|
|
Производственный
объект
|
Сталеплавильное
производство
|
|
Цех
|
Конверторный
цех №1
|
|
Участок
|
Конвертерное
отделение
|
|
Рабочее
место
|
Агрегат
«Конвертер»
|
|
Категория
персонала
|
Рабочие
|
|
Оборудование
|
пульты,
измерительные комплексы; тали электрические канатные передвижные; посты
газоразборные; контейнеры, тележки, механизмы для загрузки и транспортировки
стали и шлака.
|
|
Операции
|
Подготовка
оборудования для выплавки стали в конверторе; замер температуры; отбор проб
металла и шлака корректировка металла по химическому составу.
|
|
Используемые
материалы и сырьё
|
Чугун,
лом, жидкая сталь, известь, ферросплавы, науглероживающие материалы.
|
|
Условия
труда: по вредности и опасности по травмобезопасности
|
3.2
|
|
Спец.
питание
|
Молоко
|
|
Дополнительный
отпуск
|
14
дней
|
|
Льготное
пенсионное обеспечение
|
Список
№1
|
|
Периодичность
медицинских осмотров
|
1
раз в год
|
В кислородно-конвертерном цехе существует риск
отравления газами и возникновения пожаров и взрывов в результате аварий на
газопроводах, газопотребляющих и газовыделяющих установках и агрегатах (печь
для прокаливания ферросплавов, стенд для сушки футеровки стальковшей, установка
внепечной обработки стали инертными газами).
Источниками поражения электрическим током в цехе
являются электрооборудование и приборы, электропроводка. В цехе развита система
энергоснабжения, поэтому возникает опасность поражения электрическим током,
которая обусловлена факторами производственной среды, такие как высокая
температура до 53 ºС, высокая
влажность до 90%, электропроводящая пыль.
Условия работы в цехе способствуют возникновению
общих и профессиональных заболеваний: простудных, желудочно-кишечных,
поясничных остеохондрозов, ангины. При транспортировке сыпучих материалов,
продувке сталеразливочного ковша происходит выделение пыли.
Таблица 24 - Результаты обследования рабочего
места
|
Наименование
производственного фактора
|
ПДК,
ПДУ
|
Фактический
уровень
|
|
Освещённость,
лк
|
200
|
25
|
|
Температура,
ºС
|
19-21
|
19
|
|
Относительная
влажность, %
|
15-75
|
62
|
|
Скорость
движения воздуха, м/с
|
0,20
|
0,20
|
|
Интенсивность
теплового излучения, Вт/м2
|
140-1000
|
1700
|
|
Уровень
шума, дБА
|
80
|
84
|
|
Концентрация
вредных веществ, мг/м3 MnO2 CO Fe2O3
|
0,05
20,0 6,0
|
0,9
6,5 12,2
|
Источниками инфракрасного излучения являются
жидкая сталь, чугун в чугуновозных ковшах, нагретое оборудование, факел пламени
во время продувки конвертера.
Воздействие микроклимата (таблица 25) на рабочих
определяется в основном инфракрасным излучением, на долю которого приходится не
менее 70 - 75% всех тепловыделений в конвертерном цехе. При одновременной
работе нескольких конвертеров и выдаче за смену до 35 плавок конвертерщикам
столько же раз приходится производить заливку чугуна, заделку и разделку
выпускных отверстий, забор проб жидкой стали для анализа, измерение ее
температуры в ванне, выпуск стали и шлака и многократную повалку конвертеров.
Таблица 25 - Микроклимат
кислородно-конвертерного цеха
|
Параметры
микроклимата
|
Фактическое
содержание
|
ПДУ
|
|
Суммарное
тепловыделение, в том числе инфракрасное излучение
|
6
кВт/м2 75%
|
0,33
кВт/м2 65 - 70%
|
|
Температура
воздуха: летом зимой
|
+
20 ¸
60°С
- 5 ¸
+ 20°С
|
+
17 ¸
20°С
- 10 ¸
+ 15°С
|
|
Скорость
движения воздуха: летом зимой
|
0,5
- 4 м/с 0,6 - 3 м/с
|
0,3
- 1,5 м/с 0,3 - 0,5 м/с
|
|
Влажность
|
40
- 75%
|
30
- 70%
|
Из анализа следует что условия труда персонала в
кислородно-конвертерном цехе вредные и опасные, 3 и 4 класса.
Таблица 26 - Производственный шум, дБ
|
Место
замера
|
Частоты
октавных полос, Гц
|
|
31,5
|
63
|
125
|
250
|
500
|
1000
|
2000
|
4000
|
8000
|
|
Участок
ломки футеровки
|
88
|
94
|
95
|
96
|
89
|
90
|
91
|
91
|
90
|
|
Рабочая
площадка у конвертера
|
85
|
88
|
89
|
86
|
80
|
76
|
72
|
75
|
64
|
|
Дымососная
|
65
|
66
|
65
|
64
|
60
|
54
|
53
|
48
|
38
|
Интенсивный шум на производстве затрудняет
своевременную реакцию работающих (таблица 26) на предупредительные сигналы
внутрицехового транспорта, что способствует возникновению несчастных случаев.
Перечень опасностей и рисков при эксплуатации и
обслуживании конвертера приведён в таблице 27.
Таблица 27 - Перечень опасностей и рисков при
эксплуатации и обслуживании конвертера технологическим персоналом
|
№
п/п
|
Опасность
(источник, вид, выполняемая операция)
|
Последствия
воздействия опасности на организм человека
|
Ссылка
на нормативный акт
|
|
|
|
|
|
1
|
Повышенное
давление сжатого воздуха (обдув оборудования, рабочих площадок сжатым
воздухом)
|
Травмирование
|
ИОТ
ККЦ-1 по профессиям и видам работ ПЛА ККЦ-1, п.6
|
|
2
|
Движущиеся
механизмы (ворота, передаточные тележки, сталевозы, конвейера и т.д.)
|
Травмирование
в результате нахождения в опасной зоне
|
ИОТ
ККЦ-1 по профессиям и видам работ
|
|
3
|
Движущиеся
транспортные средства
|
Травмирование
в результате нахождения в опасной зоне, негабаритном месте
|
ИОТ
ККЦ-1 по профессиям и видам работ
|
|
4
|
Грузоподъемные
механизмы (мостовые краны и т.п.)
|
Травмирование
в результате нахождения в опасной зоне.
|
ИОТ-ККЦ-1-9-2007,
п.8.3, 8.4.1, 8.4.2
|
|
5
|
Перемещение
спец. груза по территории цеха а/м транспортом
|
Травмирование
в результате нахождения в негабаритном месте
|
ИОТ
ЗСМК-001-2009 п. 3.3.2, 3.3.3, 3.3.12
|
|
6
|
Утечка
газа (порыв трубопровода, повреждение запорной арматуры): - природный газ; -
азот; - аргон; - кислород
|
Удушье,
отравление различной степени тяжести.
|
ПЛА
ККЦ-1 (оперативная часть) п.п.6-7,9-35,41
|
|
7
|
Открытый
огонь, пламя (проведение огневых работ)
|
ожоги
|
ИОТ
ККЦ-1-9 2007,
|
|
8
|
Взрывы,
пожары
|
ожоги
|
ПЛА
ККЦ-1 пп 1-8,10-12
|
|
10
|
Предметы,
находящиеся на высоте (детали, оставшиеся на площадках после ремонтов,
перевозимые грузы)
|
Получение
травм (переломы, ушибы)
|
ИОТ
ККЦ-1-53-2004 п.п. 2.4.
|
|
11
|
Вибрация
общая (оборудование)
|
Заболевание
нервной системы, кожного и вестибулярного аппарата
|
ИОТ
ККЦ-1-53-2004 п.п. 3.7.1.4
|
|
12
|
Расплавленная
сталь при ежесменной работе
|
Заболевания
глаз, ожоги кожных покровов
|
ИОТ
ККЦ-1-53-2004
|
|
13
|
Освещение
(несоответствие искусственного освещения ПДУ) при отсутствии естественного
|
Усталость,
снижение остроты зрения, заболевания глаз
|
Протокол
№00201053
|
|
14
|
Содержание
вредных веществ в воздухе рабочей зоны (диоксид марганца выше ПДК)
|
профзаболевания
|
ИОТ
ККЦ-1-53-2004 П 1.6, 1.7; Протокол №00201053
|
|
15
|
Пыль
- АПФД (выше ПДК)
|
профзаболевания:
антракоз, пылевой бронхит
|
ИОТ
ККЦ-1-53-2004 П 1.6, 1.7
|
8.1.2 Мероприятия по безопасности
труда
Для оповещения о нарушениях технологического
режима предусмотрена сигнализация с блокировкой, срабатывающая в следующих
аварийных ситуациях:
предельном снижении давления кислорода и воды,
охлаждающей фурму;
повышенном перепаде температуры воды на
охлаждение фурмы;
неисправности дымососов и т.д.
При любом из перечисленных отклонений загорается
сигнальная лампа и включается звуковая сигнализация, автоматически включается
подъем фурмы и отключение подачи кислорода. Проемы рабочей площадки вокруг конвертера
и привод поворота имеют ограждения.
У конвертера со стороны повалки находится
защитная передвижная футерованная телега, которая служит для защиты
обслуживающего персонала от выплесков металла и шлака из горловины и сильного
теплового излучения при взятии пробы и замера температуры.
Все электроустановки заземлены или занулены.
Измерение сопротивления заземления и проверка состояний наружной части
заземляющей зануляющей проводки производится ежегодно в периоды наименьшей
проводимости почвы: один год летом, при наибольшем просыхании, а другой год
зимой, при наибольшем промерзании почвы.
В конвертерном отделении выполняются мероприятия
по электробезопасности:
- недоступное расположение токоведущих частей,
таких как токопроводящие шины и «короткая сеть»;
- надежная изоляция всех элементов проводки;
применение малого напряжения подаваемого на нагревательные электроды, порядка
150В при напряжении 35кВ;
- использование блокировок, отключающих
напряжение при открытой двери трансформаторного помещения;
- все металлические элементы конструкции на
установке «Конвертер» заземлены;
Для улавливания вредных примесей в атмосферу из
конвертера во время повалки и слива металла вокруг конвертера выполнен защитный
кожух, который соединен с системой очистки конвертерных газов.
Для защиты рабочих от шума все встроенные
помещения звукоизолированы, для этого стены и потолки облицовывают
звукопоглощающими материалами, окна выполнены с двойными стеклами и упругими
прокладками по контуру, для снижения уровня шума до величины ПДУ. Допустимый
уровень шума равен 80 дБА.
Для предотвращения попадания людей в опасные
зоны и под движущееся оборудование, в цехе предусмотрены безопасные маршруты
передвижения рабочих по цеху.
Рабочие места в ККЦ-1 оснащены техническими
средствами безопасности:
) ограждающие устройства препятствуют
проникновению человека в опасную зону и применяются для изоляции приводов
машин, зон обработки жидкого металла, интенсивных тепловых, ионизирующих,
электромагнитных излучений, зон аппаратов, выделяющих вредные вещества, зон
работы на высоте;
) блокировочные устройства применяют для
предупреждения и предотвращения аварийных ситуаций и служат для запрещения
неправильного управления агрегатом или сочетаний движений механизмов, опасных
для персонала; немедленной остановки агрегата при возникновении опасности или
нарушении нормальных условий работы; ограждения движения механизмов за заданные
пределы и т.д.;
) сигнализирующие устройства предназначены для
оповещения о нарушениях технологического режима (сигнализация с блокировкой),
срабатывающая в следующих аварийных ситуациях: предельном снижении давления
кислорода и воды, охлаждающей фурму; повышенном перепаде температуры воды на
охлаждение фурмы; неисправности дымососов и т.д. При любом из перечисленных
отклонений загорается сигнальная лампа и включается звуковая сигнализация,
автоматически включается подъем фурмы и отключение подачи кислорода. Проемы
рабочей площадки вокруг конвертера и привод поворота имеют ограждения;
) защитные экраны, шторки экраны для
предотвращения попадания выбросов на рабочую площадку, для сталеваров при
отборе проб металла и замере температуры предотвращают от теплового излучения и
выплесков металла и шлака, во время заливки чугуна у машинистов заливочных
кранов и у машинистов дистрибутора на ГПУ - шторки;
) защитные кожухи для движущихся и вращающихся
механизмов - редукторы, конвейеры, пересыпные устройства и т.д.;
) световая и звуковая сигнализация звуковая:
подъем конвертера - один длинный гудок, повалка конвертера - два длинных гудка,
заливка чугуна - три коротких гудка, при аварии - частые короткие гудки, при
движении скраповоза в районе работ автопогрузчика - звуковая и световая,
непрерывная звуковая и световая при движении сталевоза и т.д.
Защита от прикосновения к токоведущим частям
заключается в изоляции, ограждении, блокировки, в дистанционном управлении, в
недоступном расположении электротехнических устройств. Для защиты
электроустановок от токов перегрузки применяют плавкие предохранители. Для
защиты от напряжения, возникающего на металлическом корпусе оборудования,
применяют защитное заземление. Для быстрого отключения поврежденной установки
от сети используют заземление.
Для нормализации микроклимата в цехе
предусмотрены следующие меры, регламентированные СанПиН
2.2.4.548-96*"Гигиенические требования к микроклимату производственных
помещений"; механизация и автоматизация процессов; применение
экранирования, вентиляции, отопления; рациональный режим труда и отдыха;
организация питьевого режима.
Мероприятия по снижению запыленности и загазованности:
монтаж установки и отработка технологии пылеподавления при переливах чугуна в
миксерном отделении; проверка эффективности работы вентиляции и аспирации
тракта сыпучих материалов; установка и ремонт аспирационных систем тракта
подачи сыпучих материалов; установка кондиционеров в кабины экскаваторов
шлакового двора; анализ газа, воздуха.
Мероприятия по устранению вибрационных
воздействий включают: ослабление вибрации в источниках возникновения путем
уменьшения действующих в системе переменных сил или увеличение жесткости
системы (за счет увеличения массы фундаментов); виброизоляцию, путем введения в
систему упругих связей в виде амортизаторов; вибропоглощение методом нанесения
на вибрирующую поверхность вязкоупругих материалов, обладающих большим внутренним
трением; лечебно-профилактические мероприятия включают водные процедуры и
массаж.
Уменьшение вибрации достигается в результате
уравновешивания и балансировки вращающихся частей, обеспечения плавности хода
машин и агрегатов, применения динамических виброгасителей, устройства
амортизационных сидений и площадок из эластических материалов.
Источниками ультразвука являются процессы
дефектоскопии слитков, физико-химические исследования, очистка воздуха от пыли,
термообработка. Для снижения ультразвуковых воздействий предусматривается
соблюдение гигиенических нормативов, устранение контакта путем дистанционного
управления, экранирование источника излучений.
В соответствии с требованиями ПБ 10-14 и
ПОТРО-200-01 в цехе предусмотрены отдельные выходы и входы, въезды и выезды для
людей и транспорта. Это позволяет рабочим легко покинуть цех и вывести
транспортные средства в случае аварии. Пешеходное сообщение между и цехом
осуществляется при помощи галереи, это исключает опасность перехода через
железнодорожные пути.
Чтобы снизить запыленность и загазованность
воздушной среды цеха, предусматривается полное улавливание конвертерных газов у
места выхода их из горловины конвертера и их очистка от взвешенных частиц перед
выбросом в атмосферу; удаление продуктов горения, образующихся при сушке ковшей
и конвертеров.
В ККЦ-1 ОАО «ЕВРАЗ ЗСМК» проектом реконструкции
разработаны следующие мероприятия на УВОС, обеспечивающие снижение влияния
вредных факторов производства:
Ремонт ковшей производится в специально
отведенных местах, на стендах, оборудованных площадками и лестницами с
перилами, или в ремонтных ямах, снабженных бортами высотой не менее 0,8 м.
Промежуток между стенками ямы и ковшом перекрыт площадками; применять для этой
цели доски, укладываемые на борта ямы, запрещается. Перед ремонтом из ковшей
удаляется скрап, "козлы" и мусор. Удаление их механизировано и
производиться после охлаждения ковшей. Ковши, установленные для ремонта в
горизонтальное положение, во избежание самопроизвольного опрокидывания, закреплены
у бортов специальными подставками. После ремонта ковши тщательно просушиваются
по всей толщине кладки. Сушка ковшей производится коксовым или природным газом
или мазутом в специальных местах, оборудованных вытяжными устройствами в
соответствии с требованиями Правил безопасности в газовом хозяйстве предприятий
черной металлургии.
Установки ввода проволоки и порошкообразной
проволоки (трайб-аппараты) оборудованы механизмами протягивания и правки,
регулирования скорости протягивания и измерения скорости ввода проволоки и
порошкообразной проволоки, а также направляющими устройствами. Скорость ввода
раскислителей и модификаторов в жидкий металл в зависимости от марки и ее
состава регламентируется технологической инструкцией и исключает расплавление,
испарение составляющих раскислителей и модификаторов в верхних слоях жидкого
металла в ковше и выделение продуктов испарения в атмосферу цеха. Запрещено
использовать бунты проволоки и порошкообразной проволоки с перехлестнутыми
витками.
Ферросплавы и другие порошкообразные материалы,
вводимые в жидкий металл, обязательно просушиваются. При присадке раскислителей
в ковш исключается повреждение стопорного устройства. Присадка твердых
ферросплавов в жидкий синтетический шлак, слитый на дно сталеразливочного
ковша, не допускается.
Безопасность при скачивании шлака
Правила безопасности в сталеплавильном
производстве устанавливают требования, соблюдение которых обеспечивает
промышленную безопасность в указанных производствах, направлены на
предупреждение аварий, производственного травматизма и обеспечение готовности
организаций, эксплуатирующих опасные производственные объекты к локализации и
ликвидации последствий аварий.
Ковши, устанавливаемые для приема шлака,
просушиваются на стендах с горелками и покрываются известковым раствором, во
избежание выбросов. На дно ковша подсыпается сухой шлак, отходы заправочных и
огнеупорных материалов. Спуск шлака в ковши, в которых имеются сырые или
промасленные материалы, не допускается.
Настыли, образующиеся на шлаковом желобе,
своевременно удаляются. Во время чистки желоба находиться работающим внизу под
желобом не допускается.
Наполнение ковшей шлаком производится до уровня,
не превышающего 250 мм от верха ковша, во избежание выплесков при
транспортировке.
Осадка шлака на доводке и выпуске плавки
влажными материалами и водой не допускается.
8.1.3 Мероприятия по
производственной санитарии
Для нормализации микроклимата в цехе
предусмотрены следующие меры: гигиеническое нормирование СанПиН
2.2.4.548-96*"Гигиенические требования к микроклимату производственных
помещений"; рациональные конструкции и планировка зданий, СНиП 12.04-01*;
механизация и автоматизация процессов; применение экранирования, вентиляции,
отопления; рациональный режим труда и отдыха; организация питьевого режима
[25].
Мероприятия, предусмотренные проектом по
снижению запыленности и загазованности:
- монтаж установки и отработка технологии
пылеподавления при переливах чугуна в миксерном отделении;
- проверка эффективности работы вентиляции и
аспирации тракта сыпучих материалов; установка и ремонт аспирационных систем
тракта подачи сыпучих материалов;
- установка кондиционеров в кабины экскаваторов
шлакового двора;
- анализ газа, воздуха.
Мероприятия по нормализации вибрационных
воздействий включают:
- ослабление вибрации в источниках возникновения
путем уменьшения действующих в системе переменных сил или увеличение жесткости
системы (за счет увеличения массы фундаментов);
- виброизоляцию, путем введения в систему упругих
связей в виде амортизаторов;
- вибропоглощение методом нанесения на
вибрирующую поверхность вязкоупругих материалов, обладающих большим внутренним
трением;
- лечебно-профилактические мероприятия.
Уменьшение вибрации достигается в результате
уравновешивания и балансировки вращающихся частей, обеспечения плавности хода машин
и агрегатов, применения динамических виброгасителей, устройства амортизационных
сидений и площадок из эластических материалов.
Для снижения запыленности и загазованности
воздушной среды цеха, в соответствии с требованиями ГН 2.2.5.1313-03*,
предусматривается полное улавливание конвертерных газов у места выхода их из
горловины конвертера и их очистка от взвешенных частиц перед выбросом в
атмосферу; удаление продуктов горения, образующихся при сушке ковшей и
конвертеров.
Для нормализации температурного режима в цехе
увеличивается естественный воздухообмен, путем раскрытия фонарей и шахт, окон и
стенных проемов (через фонари и шахты удаляется горячий воздух, через окна и
стенные проемы осуществляется его приток).
Дороги и проходы на территории комбината в
основном прямолинейные. Ширина дорог соответствует применяемым транспортным
средствам, перемещаемым грузам и интенсивности движения. Большинство дорог
предусматривает наличие встречных транспортных потоков. Проезжая часть дорог
имеет твердое покрытие.
Для передвижения людей выделены дорожки
(тротуары). В местах пересечения тротуаров с дорогами требуется снижение
скорости транспортных средств, установлены предупреждающие знаки. В опасных
местах для увеличения безопасности передвижения людей применены переходы над
путями движения транспортных средств (ПОТРО-200 - 01).
Конвертерные цехи относятся к горячим цехам
металлургического производства с тяжелыми условиями труда и наличием вредных
выделений. В летнее время в непосредственной близости от агрегата (1 - 1,5м)
температура воздуха на 10 - 15ºС
выше наружной. Здание конвертерного цеха расположено так, чтобы обеспечивались
наиболее благоприятные условия для работы - естественное освещение,
проветривание. Вентиляция цеха осуществляется аэрацией СНиП 41.01-03*, которая
достигается путем устройства в стенах здания и в фонарях крыши отверстий,
которые открываются или закрываются соответственно изменениям температуры
наружного воздуха, скорости и направления ветра. Аэрация обеспечивает
прохождение большого количества воздуха и поддержание микроклимата в
соответствии с СанПиН 2.2.4.548-96*. В местах сильного теплового излучения
применяют искусственную вентиляцию для обеспечения заданной температуры,
влажности воздуха.
В таких помещениях, как: пульты управления,
душевые, диспетчерские, столовая, применяют установки кондиционирования
воздуха.
Электромостовые краны конвертерных цехов
оборудуются подкрановым освещением, выполняемым лампами накаливания,
устраняющими затенение, создаваемое конструкцией крана.
В цехе производится ежегодные медицинские
осмотры рабочих на предмет выявления профессиональных заболеваний.
В конвертерном цехе используется искусственное и
естественное освещение (таблица 28). Естественное освещение на рабочих местах
достигается устройством боковых световых проемов (окон) и световых фонарей в
кровле здания. При этом большое значение имеет уход за остеклением окон и
фонарей, так как при загрязнении поверхности стекол ее пропускная способность
света резко снижается. Поэтому стекла в окнах и фонарях необходимо регулярно
очищать от пыли и копоти, а в зимнее время и от снега. По действующим
санитарным нормам коэффициент естественной освещённости для условий работы при
верхнем и комбинированном освещении составляет 3%, а при боковом - 1%. Наличие
больших оконных проемов и фонарей позволяет обеспечить нормативный уровень
естественной освещенности. Высота первого ряда окон предусматривается не менее
1,5 м. Для искусственного освещения в цехе применяются лампы накаливания и
люминесцентные лампы.
Помимо рабочего освещения, действующего при
штатном ходе технологического процесса, в конвертерном цехе предусмотрено
аварийное освещение (обеспечивает не менее 5% освещённости от общего),
действующее от независимых источников питания при отключении рабочего
напряжения. Окраска стен, перекрытий и оборудования оказывает существенное
влияние на освещенность цеховых пролетов. Наиболее рациональными в этом
отношении являются светлые тона.
Таблица 28 - Освещенность рабочих мест
|
Наименование
производственного участка
|
Норма
освещенности, лк
|
Фактическая
освещенность, лк
|
|
Разливочный
пролет
|
50
|
70
|
|
Ковшевой
пролет
|
50
|
50
|
|
Шлаковый
пролет
|
50
|
50
|
|
Заливочный
пролет
|
50
|
85
|
|
Конвертеры
|
100
|
120
|
Санитарно-бытовые службы различного назначения,
располагаемые вне производственных зданий, устроены в одном здании и соединены
с производственными зданиям отапливаемыми переходами. Вентиляция применяется с
механическим приводом, полы помещений выполнены из водостойкого материала и не
скользят (применяется керамическая плитка). В бытовых помещениях применяются
как индивидуальные, так и групповые умывальники. Здравпункт располагается на
первом этаже.
Для хранения инвентаря, предназначенного для
уборки помещений, во вспомогательных зданиях предусмотрены помещения площадью
не менее 4 м2 на каждом этаже, где оборудуется мойка с подводкой холодной и
горячей воды. Санитарно-бытовые помещения отапливаются от центральной системы
отопления, теплоноситель - вода или пар высокого давления, обеспечивающий
температуру на поверхности нагревательных приборов до 150°С.
В административно-бытовом комплексе (АБК)
расположены столовая с определенным рационом, буфет, здравпункт, раздевалка с
мойками и саунами. Причем есть отдельные раздевалки для чистой одежды и
раздевалки для рабочей спецодежды. Моечные помещения обрабатываются
специальными растворами после каждой смены. Осуществляется стирка грязной
спецодежды.
Для снабжения персонала цеха питьевой,
газированной водой, горячим, чаем, в здании установлены специальные помещения,
закрытые баки с фонтанирующими насадками, которые размещаются в проходах
производственных помещений, вблизи технологических установок. Температура воды
должна быть 7 - 11 ºС. На
территории цеха имеются зеленые зоны для отдыха работающих.
8.1.4 Пожарная безопасность
В соответствии с требованиями НПБ 105-03
«Определение категорий помещений и зданий по взрывопожарной и пожарной
опасности» отделение внепечной обработки, относится к категории Г, так как в
отделении обрабатываются негорючие вещества и материалы в горячем, раскаленном
и расплавленном состоянии, процесс обработки которых сопровождается выделением
лучистого тепла, искр и пламени. Степень огнестойкости производственного здания
в соответствии с требованиями СНиП 21.01. - 97* - II класс.
Пожаро- и взрывоопасными являются
кислородопровод, газопровод и участки, где используется кислород, природный
газ, передаваемые от трубопровода гибкими шлангами и трубами.
Пожаро-взрывоопасными являются газопотребляющие агрегаты, стенды для сушки
ковшей, работающие на природном газе и т.д.
Природный газ с воздухом образует взрывоопасную
смесь при его концентрации от 4 до 16% по объему. Взрыв может произойти от
искры или теплового воздействия. Взрывы в конвертерном цехе могут произойти в
результате контакта расплавленного металла или шлака с влажными материалами или
водой, либо в результате бурного протекания химических реакций при
технологических операциях или разливке стали. Возможны взрывы твёрдых горючих
веществ и волокон, а также самовоспламенение порошкообразных материалов.
Существует вероятность возникновения пожаров при попадании брызг расплавленного
металла и шлака на коммуникационную сеть. Для уменьшения пожароопасности
кабеля, его обматывают минеральной ватой и ставят предохранительные мембраны.
Существует опасность прогара футеровки конвертера или сталеразливочного ковша,
поэтому в местах возможного пролива (выброса) жидкого металла несущие
металлические колонны защищены огнеупорным кирпичом или бетоном на 1,5 - 2м от
уровня пола.
Для сообщения в пожарную часть о возникновении
пожара в цехе предусмотрена электрическая пожарная сигнализация, телефонная
связь. Для оповещения персонала цеха, администрации о возникновении пожара
используется громкоговорящая связь. Автоматическая пожарная сигнализация
установлена в складах, кабельных помещениях, маслоподвалах и подсобных
помещениях.
В целях предотвращения пожаров предусмотрено:
качественно и в срок проводить предупредительные и капитальные ремонты
оборудования цеха; выполнять требования пожарной безопасности; контролировать
техническое состояние оборудования в цехе; удалять подтеки масла с приводов
редукторов; контролировать состояние защитных экранов; контролировать
исправность электрооборудования. Для предотвращения пожаров предусматривается:
исключение образования горючей среды и образования в ней или внесения в нее
источников зажигания (ограждение опасных мест, изолирование электропроводки);
Для сообщения в пожарную часть о возникновении
пожара в цехе используются система электрической пожарной сигнализации,
телефонная связь. Для оповещения персонала цеха, администрации о возникновении
пожара используется громкоговорящая связь. Автоматические средства вызова
пожарной охраны используются при пожарах в складах, кабельных помещениях,
маслоподвалах и других подсобных помещениях.
Для пожаротушения в цехе применяются: ручные
порошковые огнетушители ОП - 6, ОП - 10, расположенные в пультах управления и
вспомогательных помещениях цеха; углекислотные ручные огнетушители ОУ - 5, ОУ -
8 и передвижные - УП - 1, УП - 2; химические пенные - ОХП - 10 (применяется для
тушения очагов пожара твердых горючих материалов, а также легко
воспламеняющихся и горючих жидкостей на площади до 1м2). Огнетушители типа ОУБ
3, ОУБ 7 используются для ликвидации пожара ОКГ и газоотводящего тракта. На
водопроводах в цехе установлены краны, вентили. На участке конвертера
установлены противопожарные щиты. В цехе установлены пожарные краны: внутренняя
система - пожарные краны, наружная система - пожарные гидранты.
План эвакуации УВОС конвертерного цеха
приложение А.
8.2 Экологичность проекта
По мощности предприятия, условиям ведения
технологического процесса, характеру и объему выделяемых в окружающую среду
вредностей «ЕВРАЗ ЗСМК» относится к первому классу предприятий. Радиус
санитарно-защитной зоны для металлургических предприятий I класса - 1 км (фактической
5 км), что соответствует СанПиН 2.2.1/2.1.1.1200 - 03. Площадь озеленения - не
менее 50% площади застройки, осуществляется специальными породами деревьев.
Город Новокузнецк расположен на юге Кемеровской
области, в большой котловине, образованной поймами рек Кондомы и Томи и окружен
Кузнецким Алатау и Салаирским кряжем. ЗСМК расположен в северо-восточной части
города. Место постройки комбината выбрано с учетом возможной близости к энерго
- сырьевым источникам, а также с учетом наибольшее удаления от жилых массивов
города.
Главная цель деятельности ОАО «ЕВРАЗ ЗСМК» -
производство продукции, удовлетворяющей требованиям и ожиданиям потребителей, в
безопасность персонала при допустимом воздействии на окружающую среду. Цели в
области профессионального здоровья и безопасности, экологии и качества ОАО
«ЕВРАЗ ЗСМК» 2013 год:
. Не допустить значение коэффициента частоты
несчастных случаев (LTIFR) выше 0,55.
. Не допустить смертельных несчастных случаев в
подрядных организациях, происшедших по причинам неудовлетворительной
организации работ со стороны ОАО «ЕВРАЗ ЗСМК».
. Внедрить систему мониторинга предписаний
надзорных органов, выданных по результатам проверок по охране труда,
промышленной и пожарной безопасности.
. Выполнить мероприятия по результатам
комплексной проверки ОАО «ЕВРАЗ ЗСМК» в 2012 году комиссией Ростехнадзора со
сроком исполнения в 2013 году.
. За счет выполнения мероприятий природоохранных
программ снизить относительно уровня 2012 года: валовые выбросы загрязняющих
веществ от источников комбината на 3,2%; объем сброса сточных вод по выпуску №2
на 0,3%.
. Утилизировать 20 тыс.тонн отходов боя
огнеупорных изделий.
. Обеспечить выполнение бюджетных показателей
природоохранной деятельности в части платежей за природопользование.
. Обеспечить снижение несоответствующей
продукции (брака) на 50% к уровню 2012 года.
. Начиная со 2-го полугодия 2013 года обеспечить
входной контроль в объеме 100% поступающих на комбинат ферросплавов и
раскислителей, принимаемых с участием независимой компании ЗАО «Инспекторат Р».
. Обеспечить снижение общего количества принятых
жалоб, поступивших на комбинат от потребителей, на 50% к уровню 2012 года.
Источниками выделения вредных веществ являются
дымовые трубы, шлаковый отвал и т. п. Это приводит к сильному локальному
загрязнению атмосферы в радиусе 50 км от источника. Загрязнение биосферы
выбросами может привести к нарушению равновесия кругового оборота веществ в
природе и к изменению структуры жизненно-важных компонентов во всех сферах
земли.
Вредные вещества, выбрасываемые в атмосферу из
труб, переносятся и рассеиваются в ней по-разному, в зависимости от
метеорологических условий.
В конвертерном цехе из главного здания
происходят выбросы через аэрационный фонарь загрузочного и конвертерного
пролетов; вредности, выделяющиеся из горловины конвертера, при сливе стали и
шлака в ковш, при ремонтах конвертера, торкретировании, от печей для
прокаливания ферросплавов (пыль, оксиды углерода и азота, сернистый газ,
фториды); отходящие конвертерные газы (оксиды азота, образующиеся при сжигании
выбрасываемого в атмосферу оксида углерода на свече, при дожигании оксида
углерода в котле-утилизаторе); выбросы из ковшевого пролета - оксиды азота и
углерода от стендов для нагрева ковшей и пыль, при отсутствии ее улавливания
над местами ломки футеровки.
Через аэрационные фонари шихтовых отделений, для
сыпучих материалов, удаляется пыль.
Сточные воды сталеплавильных цехов могут
содержать взвешенные вещества, нефтепродукты, кислоты, щелочи, соли, фенолы,
цианиды. Содержащиеся вредные компоненты в атмосфере над предприятием при
соединении с водой образуют тяжелые оксиды и щелочи, и в таком виде насыщают
почву, а так же подземные воды.
Наиболее сложной проблемой в конвертерном цехе
является предотвращение неорганизованных выбросов пыли и газов, поступающих в
атмосферу при повалке конвертеров, заливки чугуна и сливе металла. Этот
источник определяет санитарное состояние воздушного бассейна.
Уменьшение количества вредных выбросов в
сталеплавильном производстве достигается использованием различных технологических
приемов и устройств. Большое значение имеет механизация ручных операций.
8.2.1 Природоохранная политика
предприятия
Значительная концентрация источников выделения
вредных веществ на металлургических заводах и комбинатах приводит к сильному
загрязнению в радиусе 30-50 км от их источника.
Наиболее сложной проблемой в конвертерном цехе
является предотвращение неорганизованных выбросов пыли и газов, поступающих в
атмосферу при повалке конвертеров, заливки чугуна и сливе металла. Эти процессы
оказывают существенное влияние на санитарное состояние воздушного бассейна.
Вокруг конвертера в ККЦ-1 сооружен защитный
кожух с отсосом дыма и выбросов в газоотводящий тракт конвертера. Для
предотвращения загрязнения водного бассейна сточными водами, конвертерный цех
оборудован оборотным циклом водоснабжения.
Экологический эффект реконструкции заключается в
снижении количества выбросов вредных веществ и пыли:
) Устанавливаемое устройство для подачи
порошковой проволоки обеспечивает снижение угара раскислителей, тем самым
предотвращая попадание вредных элементов в цех и атмосферу в целом. А так же
улучшаются условия труда.
) Замена футеровки шлакового пояса стальковша
увеличивает ее стойкость, что обеспечивает снижение выбросов пыли при
перефутеровке.
Заключение
В рамках дипломного проекта был разработан
проект реконструкции кислородно-конвертерного цеха №1 ОАО «ЕВРАЗ ЗСМК». Были
произведены все необходимые технологические расчеты. В качестве основных
мероприятий по реконструкции с целью улучшения качества выпускаемой
металлопродукции:
Установка на УВОС аппаратов для подачи
порошковой проволоки для более полного усвоения раскислителей.
Замена футеровки шлакового пояса
сталеразливочного ковша МКРКП - 45 №16 на МКТП - 85 №87 для сокращения числа
перефутеровок.
Установка аппаратов для отсечки шлака.
Выполненные мероприятия позволят улучшить
качественные показатели стали. Ожидается улучшение условий труда и
экологической обстановки кислородно-конвертерного цеха №1.
Список использованной литературы
1.
Кудрин В.А. Теория и технология производства стали: учеб. для вузов / В.А.
Кудрин - М.: Мир, 2003. - 528 с.
.
Баптизманский В.И. Тепловая работа кислородных конверторов: учеб.для вузов /
В.И. Баптизманский, Б.М.Бойченко, В.П. Черевко - М.: Металлургия,1988.- 174 с.
.
Материальный и тепловой баланс конверторной плавки с использованием твердых
бытовых отходов: метод. указ. / Е.В. Протопопов [ и др]; Сиб. гос. индустр.
ун-т. - Новокузнецк: СибГИУ, 2008. - 47 с.
.
Герасименко И.П.Тепловая работа сталеплавильных агрегатов: учеб. пособие / И.П.
Герасименко; Сиб. гос. индустр. ун-т. - Новокузнецк: СибГИУ, 2010. - 252 с.
.
Протопопов Е.В. Основы ресурсо- и энергосберегающих технологий конвертерной
плавки: учеб. пособие для вузов / Е.В. Протопопов, М.И. Волович, И.П.
Герасименко - Сиб. Мет. Инс-т. - Новокузнецк: СМИ, 1990.- 93с.
.
Дюдкин Д.А. Современная технология производства стали / Д.А. Дюдкин, В.В.
Кисиленко - М.: Теплотехник, 2007. - 528 с.
.
Бигеев А.М. Металлургия стали: учеб. для вузов / А.М. Бигеев, В.А. Бигеев -
Магнитогорск: МГТУ, 2000. - 544 с с.
.
Меджиборский М.Я. Основы термодинамики и кинетики сталеплавильных процессов:
учеб. пособие для вузов / М.Я Меджиборский - Киев-Донецк: Вища школа,1979. -
280с.
.
Теоретические основы сталеплавильных процессов: учеб. пособие для вузов / Р.С.
Айзатулов [и др.]. - М.: Мисис, 2002. - 320 с.
.
Третьяков Е.В. Шлаковай режим конвертерной плавки / Е.В. Третьяков, В.К.
Дидковский - М.: Металлургия, 1972. - 144 с.
.
Выплавка, внепечная обработка стали на УВОС и разливка стали в изложницы в конвертерном
цехе №1: технологическая инструкция. ТИ 107 - СТ. ККЦ-1-01-10; ОАО «ЕВРАЗ
ЗСМК».- Новокузнецк, 2011. - 93 с.
.
Чернятевич А.Г. Определение размеров кислородного конвертора: метод. указ. /
А.Г. Чернятевич, Г.И. Веревкин; Сиб. гос. индустр. ун-т. - Новокузнецк: СибГИУ,
1984. - 16 с.
.
Герасименко И.П. Проектирование кислородной фурмы для кислородно-конверторного
процесса: метод. указ. / И.П. Герасименко; Сиб. гос. индустр. ун-т. -
Новокузнецк: СибГИУ, 1984. - 26 с.
.
Герасименко И.П. Проект кислородно-конверторного цеха: метод. указ. / И.П.
Герасименко, В.А. Дорошенко; Сиб. гос. индустр. ун-т. - Новокузнецк: СибГИУ,
2004. - 23 с.
.
Якушев А.М. Основы пректирования и оборудования сталеплавильных и доменных
цехов: учеб. для вузов / А.М. Якушев - М.: Металлургия, 1992. - 422 с.
.
Машины и агрегаты металлургических заводов / А.И. Целиков [и др.]. - М.:
Металлургия, 1988. - 432 с.
.
Подготовка и эксплуатация сталеразливочных ковшей и шиберных затворов:
производственно-технологическая инструкция. ПТИ 107-СТ. ККЦ-2-02-10; ОАО «ЕВРАЗ
ЗСМК».- Новокузнецк, 2010. - 51 с.
.
Дюдкин Д.А. Производство стали на агрегате ковш-печь / Д.А. Дюдкин - Донецк:
ООО «Юго-Восток, Лтд», 2003. - 300 с.
.
Оценка качества труда работников: стандарт предприятия. СТП СМК 6.2.1-01-2001;
ОАО «ЕВРАЗ ЗСМК».- Новокузнецк, 2001. - 53 с.
.
Чернышева Н.А. Управление качеством в сталеплавильном производстве: учеб.
пособие / Н.А. Чернышева; Сиб. гос. индустр. ун-т. - Новокузнецк: СибГИУ, 2010.
- 141 с.
.
Юдина Е.П. Методические указания к выполнению экономической части дипломных
проектов по специальности «Металлургия черных металлов»: метод. указание / Е.П.
Юдина; Сиб. гос. индустр. ун-т. - Новокузнецк: СМИ, 1984. - 26 с.
.
Проектирование систем контроля и автоматического регулирования металлургических
процессов: учеб. пособие для вузов / Г.М. Глинков [и др.] - М.: Металлургия,
1986. - 352 с.
.
Глинков Г.М. Контроль и автоматизация металлургических процессов: учеб. для
вузов / Г.М. Глинков, А.И. Косырев, Е.К. Шевцов - М.: Металлургия, 1989. - 352
с.
.
Кабанова Г.М. Безопасность жизнедеятельности: метод. указ. / Г.М. Кабанова;
Сиб. гос. индустр. ун-т. - Новокузнецк: СибГИУ, 2008. - 13 с.
.
Васильев Г.А. Основы безопасности труда на предприятиях черной металлургии:
учеб. пособие / Г.А.Васильев, В.Д.Жидков, А.Г.Шакирзанова - М.: Металлургия,
1983. - 176 с.
.
Квитко М.П. Возможности увеличения расхода лома в шихте кислородных конвертеров
/ М.П. Квитко, Д.Б. Марцинковский // Бюллетень ЦНИИЧ. - 1980. - №2. - с. 25-34.
.
Меркер Э.Э. Дожигание монооксида углерода в конвертере с учетом влияния шлака /
Э.Э. Меркер [и др.] // Известия высших учебных заведений. Черная металлургия. -
2001. - №5. - с. 12-16.
.
Бабенко А.А. Совершенствование температурного и шлакового режимов конвертерной
плавки при большой доле лома металлошихте / Е.А. Огурцов [и др.] // Сталь. -
2000. - №6. - с. 22-24.
.
Фритц Е. Увеличение доли лома в конвертерной плавке / Е. Фритц [и др.] //
Сталь. - 1992. - №11. - с.26-30.
.
Пантейков С.П. Исследование влияния температуры нагрева лома на его долю в
металлозавалке кислородных конвертеров / С.П. Пантейков // Сталь. - 2000. -
№11. - с. 15-17.
.
Явойский В.И. Теория процессов производства стали: учеб. пособие / В.И.
Явойский - М.: Металлургия , 1967. - 790с.
Приложение А
Энергоемкость выплавки стали при различной доле
лома в шихте
|
Статья
затрат
|
Энергоемкость,
МДж/ед
|
Удельный
расход энергоносителей,МДж*т
|
|
|
100%
чугуна
|
25-30%
лома
|
40-45%
лома
|
100%
лома
|
|
Чугун
|
25740
|
19780
|
14400
|
0
|
|
Металлический
лом
|
0,2
|
0
|
60
|
100
|
220
|
|
|
|
|
|
|
|
Энергоемкость
нераскисленной стали
|
|
26700
|
20880
|
16620
|
5965
|
|
Энергоемкость
раскисленной стали
|
|
27690
|
21870
|
17560
|
6905
|
Рисунок 31 - Энергоемкость выплавки стали при
различной доле лома в шихте
Приложение Б
Приложение В
Рисунок 32 - Схема подачи порошковой проволоки:
1 - порошковая проволока; 2 - трайб-аппарат