Проект предприятия сервиса г. Омска с целью обеспечения конкурентоспособности
МИНОБРНАУКИ РОССИИ
Федеральное государственное бюджетное
образовательное учреждение
Высшего профессионального образования
«Омский государственный институт сервиса»
(ФГБОУ ВПО «ОГИС»)
Факультет
художественно-технологический
Кафедра сервиса и технологий изделий
легкой промышленности
ВЫПУСКНАЯ КВАЛИФИКАЦИОННАЯ РАБОТА
На тему: Проект предприятия сервиса
г. Омска с целью обеспечения конкурентоспособности
Исполнитель -
студент гр. Сиз 91
Шурупова Юлия
Викторовна
Руководитель
проекта к.т.н., доцент
Свириденко
Олеся Вячеславовна
Консультанты:
1.
Технологическая часть ________________________Свириденко О. В.
2. Разработка
конструкции________________________ Шалмина И. В.
.
Безопасность жизнедеятельности ________________Тюменцева Е.Ю.
.
Организационно-экономическая часть____________ Рябова Н. Ю.
5.
Строительная часть ___________________________ Свириденко О. В.
г
МИНОБРНАУКИ
РОССИИ
Федеральное
государственное бюджетное образовательное учреждение
Высшего
профессионального образования «Омский государственный институт сервиса»
(ФГБОУ ВПО
«ОГИС»)
Факультет
заочный
Кафедра
сервиса и технологий изделий легкой промышленности
«УТВЕРЖДАЮ»
И. о. зав. кафедрой__________
«___»________________2013 г.
ЗАДАНИЕ
на выпускную
квалификационную работу
Студенту Шуруповой Юлии Викторовны
. Тема проекта: Проект предприятия сервиса г. Омска с целью обеспечения
конкурентоспособности
Утверждена приказом по институту № 319 -М от 29.06.2012 г.
. Срок сдачи проекта « 14 » января 2013 г.
. Исходные данные к проектированию: анализ рынка товаров и услуг
. Работа представляется:
а)пояснительной запиской 151 страницы;
б) 9 слайдами презентации PowerPoint.
. Содержание пояснительной записки:
Введение; 1 Технологическая часть; 1.1 Исходные данные для
проектирования; 1.2 Проектирование материального объекта услуги;1.2.2.
Разработка конструкции; 1.3 Проектирование производственных подразделений
предприятия;2 Безопасность жизнедеятельности; 3 Организационно-экономическая
часть; 4 Строительная часть. Заключение. Список литературы. Приложения.
. Консультанты по разделам проекта:
Технологическая часть - Свириденко О. В.
Разработка конструкции - Шалмина И. В.
Организационно-экономическая часть - Рябова Н. Ю.
Безопасность жизнедеятельности - Тюменцева Е.Ю.
Строительная часть - Свириденко О. В.
Дата выдачи задания « 20 » мая 2012 г.
Руководитель дипломного проектирования к.т.н., доцент Свириденко О. В.
Реферат
Целью выпускной квалификационной работы является обобщение, углубление и
закрепление знаний в процессе обучения и применения этих знаний при решении
практических инженерных, технических научных и экономических задач в свете
современных требований.
В работе решены следующие задачи: расчет производственной программы,
выбор объекта для проектирования технологического процесса; выбор материалов,
прогрессивных методов обработки основных узлов изделия, современного
оборудования, разработка и внедрение технологического процесса по изготовлению
условного изделия для эффективного производства и
конструкторско-технологической подготовки; разработка базовой конструкции
модели; оценка экономической эффективности предложенных решений; разработка
мероприятия по обеспечению безопасности жизнедеятельности на предприятии.
Дипломный проект состоит из пояснительной записки и графической части.
Пояснительная записка объемом 173 листов содержит, 21 рисунков, 62 таблиц,
список литературы включающий 22 источника. Графическая часть выполнена на
восьми листах ватмана формата А1.
Условное изделие, Технологическая последовательность, методы обработки,
схема разделения труда, такт процесса, организационная операция, условие
согласования, структура затрат времени, планировка, чертежи конструкции, охрана
труда, заработная плата, прибыль, рентабельность.
СОДЕРЖАНИЕ
Введение
. Технологическая часть
.1 Исходные данные для проектирования
.1.1 Анализ рынка товаров и услуг
.1.2 Характеристика услуг
.1.3 Характеристика рынка сбыта
.1.4 Стратегия и план маркетинга
.1.5 Характеристика проектируемого
предприятия
.1.5.1 Общая характеристика
предприятия
.1.5.2 Производственный состав
предприятия
.1.5.3 Производственная программа
предприятия
.2 Проектирование материального
объекта услуги
.2.1 Характеристика материального
объекта услуги
1.2.2 Разработка конструкции
.2.2.1 Анализ направления моды
.2.2.2 Описание модели
.2.2.3 Расчет и построение
конструкции
.2.2.3.1 Обоснование выбора методики
конструирования
.2.2.3.2 Расчет и построение чертежа
конструкции проектируемой модели
.2.2.4 Разработка чертежей
конструкции изделия
.2.2.5 Технологические требования к
раскрою и раскладке лекал
.2.2.6 Нормирование расхода материала
на
изделие
.2.3 Выбор материалов
.2.3.1 Характеристика рекомендуемых
материалов
.2.4 Характеристика степени
готовности изделия к примерке
.2.5 Характеристика методов обработки
и оборудования
1.3 Проектирование производственных
подразделений предприятия
1.3.1 Проектирование склада
материалов и участка запуска
.3.2 Проектирование салона
.3.3 Проектирование склада изделий
.3.5. Проектирование раскройного
участка
.3.6 Проектирование швейного цеха
.3.6.1 Предварительный расчет швейного
цеха
.3.6.2 Расчет условий согласования и
разработка технологической схемы процесса
.3.6.3Анализ технологической схемы
процесса
.3.6.4Планировка рабочих мест и
агрегатов процессов швейных цехов
.3.7 План цехов и участков
предприятия
2. Безопасность жизнедеятельности
3. Организационно - экономическая
часть
4. Строительная часть
Заключение
Библиографический список
Приложение А. Анкета по изучению
потребительского спроса
Приложение Б. Графическая модель подготовки изделия к
примерке
Приложение Б. Графическая модель
дошива изделия
Приложение В. Расшифровка кодов графической модели изделия (I секция)
Приложение В. Расшифровка кодов
графической модели изделия (II
секция)
Приложение Г. Анализ технологической схемы разделения труда
Приложение Д. Фрагмент технологической операционной карты
Приложение Е. Технико-экономические
показатели
Приложение Ж. План предприятия
Приложение З. Экспликация помещения
Введение
Интернационализация хозяйственной жизни расширяет
массовую базу конкуренции. Наряду с монополиями - гигантами в рыночную борьбу
вступают средние, мелкие, и даже мельчайшие фирмы. К соперничеству стран с
традиционно развитым экспортом присоединяются новые, предпринимаются
решительные попытки изменить ситуацию в свою пользу. В этих условиях каждому
отечественному товаропроизводителю особенно важно оценить создавшуюся
обстановку с тем, чтобы предложить эффективные средства конкуренции, которые, с
одной стороны, отвечали бы сложившейся в России рыночной ситуации, с другой -
особенностям международной конкуренции. Данная проблема особенно актуальна для
предприятий швейной промышленности. В настоящее время регулярно отмечается
стабилизация и рост производства в швейной промышленности. Увеличивается
количество малых предприятий в сфере малого и среднего бизнеса модной и
разнообразной одежды.
Основной задачей, стоящей перед швейной промышленностью, является
увеличение выпуска высококачественной, конкурентоспособной одежды, имеющей
рациональную структуру ассортимента и удовлетворяющей потребностям населения.
Сегодня швейные предприятия делают всевозможное для подъема отрасли:
применяют современное оборудование и прогрессивную технологию; на предприятиях
службы маркетинга занимаются планированием разнообразного ассортимента и
номенклатуры, что определяет конкурентоспособность изготовления продукции.
Потребитель предъявляет к современной одежде всё более высокие
требования, хочет, чтобы она отличалась подлинной красотой и высокой степенью
удобства. Индивидуализация потребителя, стремительные изменения в моде и
технологиях, конкуренция на рынке аналогичной продукции диктует короткий
жизненный цикл и частую сменяемость моделей одежды. В этой связи ключевое
значение для производителей швейных изделий имеет не только качество продукции,
обусловленное требованиями производства, но и качество ее проектирования,
соответствующее требованиям рынка.
В настоящее время, в условиях рыночных отношений, характеризующихся
высоким уровнем конкуренции, всё большее значение приобретают вопросы
определения цен на товары и услуги. Предприятия сами устанавливают цены на свою
продукцию (услуги), в связи с чем цена является одним из важнейших инструментов
управления и регулирования экономической системы государства. Конкуренция
формирует хозяйственную среду с неопределёнными или заранее заданными условиями,
в которых каждый хозяйствующий субъект вынужден действовать на свой страх и
риск, находить адекватное ценообразование для различных рыночных сегментов,
повышать на этой основе собственную конкурентоспособность.
Успешность ателье на рынке во многом зависит от
культуры обслуживания клиента, которую обеспечивают высококвалифицированные
работники, обладающие хорошими манерами и эрудицией. Каждый работник сервиса
должен быть не только тонким психологом, но и знатоком потребностей каждого
клиента. Благодаря этим качествам сотрудников предприятия устанавливается
благоприятная и доброжелательная атмосфера при общении с клиентами.
Учитывая вышесказанное, тема выпускной квалификационной работы является
актуальной. В работе отражены все аспекты организации и функционирования
швейного предприятия по пошиву одежды, рассмотрены мероприятия, обеспечивающие
конкурентоспособность предприятия сервиса, способствующие повышению уровня
качества услуг.
1. Технологическая часть
.1 Исходные данные для проектирования
1.1.1 Анализ рынка товаров и услуг
В современных условиях необходимо обеспечивать конкурентные преимущества
продукции и услуг предприятия, а так же рассматривать возможности прибыльности
их реализации.
Для выбора ассортимента изделий, которые будет изготавливать предприятие
проанализирована экономическая ситуация в сфере услуг, которая характеризуется
следующими свойствами: постоянное обновление и повышение качества производимой
продукции, пополнение товарного ассортимента, удовлетворение покупательского спроса
и конкуренция.
Рынок
потребителя обуславливается наличием широкого ассортимента товаров, которые
выпускаются различными производителями. Это порождает конкуренцию между
продавцами товаров, удовлетворяющих одни и те же запросы покупателей. В
последнее время на рынке уделяется всё больше внимания к качеству одежды.
Потребитель стремиться выбирать товар более высокого качества по сравнительно
низкой цене. Поэтому некачественный товар вытесняется с рынка более современным
и новым товаром.
Качественная одежда известных торговых марок и произведенная в странах
Европы продается в фирменных магазинах. Она отличается высоким качеством,
однако ее цена остается высокой и недоступной для большинства потребителей. В
связи с этим постоянно возрастает количество людей, желающих носить одежду по
своему вкусу, соответствующую обстановке, в которой они работают или отдыхают.
Кроме того, в изготовлении одежды по индивидуальным заказам нуждаются
люди с нетиповыми фигурами.
В современных условиях в стране постоянно повышаются цены на продукты
питания, товары и услуги. Однако материальный уровень жизни населения по
сравнению с ростом цен остается на прежнем уровне. Население не способно
платить высокие цены за предлагаемые услуги. Изучение рынка товаров в г. Омске
показало, что большая часть товаров в магазинах города ориентированы на
молодежь. Изделия, представленные на прилавках в основном китайского,
турецкого, польского производства. В последнее время стали появляться хорошие
качественные вещи, изготовленные на предприятиях Москвы, Санкт-Петербурга, но
цены на них очень высокие.
Существующие в городе ателье маломощные, существуют за счет услуг по
ремонту и реставрации изделий.
Для сбора информации о потенциальных клиентах можно использовать данные
каталогов, справочно-информационные сборники в библиотеках, публикации
результатов других маркетинговых исследований, но в данном случае
использовалась информация первичных маркетинговых исследований [6]. Изучение
потребительского выбора покупателей и их предпочтений позволяет достичь
определенной полезности товара. Первичные маркетинговые исследования - это
самостоятельные исследования групп потребителей с помощью опросов, интервью,
анкет, экспериментов, наблюдения и т.п. Одним из наиболее эффективных путей
изучения потребителей является проведение анкетирования. Анкетирование
позволяет выявить сегмент рынка, внутри которого существует группы клиентов со
сходными характерами, которые в разной степени заинтересованы в услугах
швейного предприятия сервиса. Пример анкеты представлен в приложении А.
Проанализировав результаты проведения анкетирования, в качестве
потенциальных заказчиков предприятия выбран сегмент: женщины различных
возрастных групп, которые имеют средний уровень дохода от 15000 до 20000 руб.
Сегментирование помогает найти свой участок рынка, на котором можно проявить
себя наилучшим образом, узнать потребности клиентов.
1.1.2 Характеристика услуг, оказываемых
предприятием
Основной вид деятельности предприятия изготовление и ремонт женской
одежды пальтово-костюмного и платьево-блузочного ассортиментов.
Предоставление услуг по изготовлению и ремонту одежды является
перспективным нужным видом деятельности. Изготовление одежды по индивидуальным
заказам удовлетворяет потребности большой группы населения разного возраста в
качественных, красивых современных и удобных вещах. Источником услуги является
высококвалифицированный персонал. Процесс производства услуги механизирован.
Оказывается услуга персонально за эквивалентную плату и имеет материальное
воплощение в виде произведенного изделия. Так как предполагается высокое
качество услуг, то работа будет идти с постоянным клиентом, а не только разово.
Деятельность предприятия направлена на средний уровень дохода клиента. Для
увеличения осязаемости услуги помимо предлагаемых материалов необходимо
использовать каталоги фотографий и образцы предлагаемых к производству изделий
и отделок.
Характеристика услуг, предлагаемых на рынке, производится по степени
осязаемости, однородности, взаимозаменяемости, материализации, возможности
накопления и хранения, стандартизации, наличия систем самообслуживания и
необходимости присутствия потребителя во время оказания услуги и проч. Для
более полного представления о предлагаемых услугах определяется их
классификационная принадлежность по следующим признакам, представленных в
таблице 1.
Таблица 1 - Классификация услуг
|
Классификационный признак
|
Вид услуг
|
|
1
|
2
|
|
Источник услуги (характер производителя)
|
Услуга, предоставляемая персоналом: · квалифицированная услуга; · профессиональная услуга.
|
|
Услуга, предоставляемая оборудованием: · механизированная услуга
|
|
Степень участия потребителя
|
Услуга, не требующая присутствия потребителя
|
|
Содержание объектов воздействия
|
Услуга, направленная на предмет: · услуга, создающая новые
потребительные стоимости; · услуга, восстанавливающая потребительные стоимости
|
|
Мотивы потребителя
|
Персональная (личная) услуга.
|
|
Мотивы (цели) производителя
|
Платная (коммерческая) услуга.
|
|
Степень участия производителя
|
Фирменное обслуживание.
|
|
Тип связи между производственной и сервисной сферами
|
Интеграция услуги и физического продукта. Услуга,
индуцирующая спрос на физический продукт
|
|
Функциональная направленность сектора
|
Услуга, ориентированная на производство. Услуга личного
характера
|
|
Прочность связи между производственной и сервисной сферами.
|
Постоянное обслуживание
|
|
Роль услуг в фазах общественного воспроизводства
|
Использование
|
|
Характер труда
|
Производственные услуги.
|
|
Используемые предметы труда
|
Производственные услуги Информационные услуги
|
|
Использование материальных ресурсов
|
Материальные услуги.
|
|
Эффекты от оказания услуги
|
Услуга с постоянными непостоянным эффектом. Услуга с
обратимым и необратимым эффектом.
|
|
Степень капитальных вложений
|
Низкокапиталоемкие услуги
|
|
Уровень материальных затрат
|
Материалоемкие услуги.
|
|
Комплексность предоставляемых услуг
|
Полный комплекс услуг. Отдельные виды услуг
|
|
Характер потребления
|
Личные услуги. Индивидуальная услуга
|
|
Социальный статус клиентуры
|
Эксклюзивные услуги.
|
В соответствии с Общероссийским классификатором услуг населению ОК
002-93, сгруппированному по целевому и функциональному назначению, представлен
полный перечень услуг, оказываемых проектируемым предприятием (с указанием кода
и полного наименования услуги), таблица 2.
Таблица 2 - Перечень услуг. Выписка из Общероссийского классификатора услуг
населению ОК 002-93.
|
Код
|
КЧ
|
Наименование услуги
|
|
010000
|
2
|
Бытовые услуги
|
|
012000
|
8
|
Ремонт и пошив швейных кожаных изделий, головных уборов и
изделий текстильной галантереи, ремонт, пошив и вязание трикотажных изделий
|
|
012100
|
1
|
Ремонт швейных кожаных изделий, головных уборов и изделий
текстильной галантереи
|
|
|
Ремонт:
|
|
012102
|
2
|
- женской верхней одежды;
|
|
012103
|
8
|
- женской легкой одежды.
|
|
012121
|
1
|
Вставка застежки-молнии.
|
|
2
|
Обновление:
|
|
012125
|
8
|
- мужской, женской, детской верхней одежды;
|
|
012128
|
4
|
- женской легкой одежды.
|
|
012200
|
5
|
Пошив швейных кожаных изделий, головных уборов и изделий
текстильной галантереи.
|
|
|
Пошив:
|
|
012202
|
6
|
- женской верхней одежды;
|
|
012205
|
2
|
- женской легкой одежды;
|
|
012211
|
5
|
- стеганых пальто, курток и жилетов;
|
|
012232
|
8
|
- одежды из заранее изготовленных полуфабрикатов.
|
|
012307
|
7
|
Изготовление выкроек по заказам населения.
|
|
012308
|
2
|
Раскрой ткани и сметывание деталей швейного изделия.
|
|
012309
|
8
|
Консультация художника-модельера.
|
Для обеспечения конкурентоспособности услуг необходимо повышать уровень
качества обслуживания. Уровень качества характеризуется формами обслуживания:
по месту приема и выдачи заказа - прием и выдача на предприятии;
по месту выполнения заказа - выполнение заказов в стационарных условиях:
по срокам выполнения - выполнение в сроки, установленные правилами
бытового обслуживания, срочное выполнение в течение 1-3 суток,
экспресс-выполнение ремонта одежды;
по форме расчета - по единовременному расчету;
услуги посредством особых условий приема заказов по образцам.
Предполагается, что швейные изделия будут высокого качества и при этом по
доступной потенциальному потребителю цене, для стимулирования спроса
предусматривается система скидок постоянным клиентам. Модели максимально удобны
и просты в уходе. Для поддержания изделий в хорошем состоянии они должны
храниться на плечиках и подвергаться химической чистке.
В соответствии с «Правилами бытового обслуживания населения в Российской
федерации» и законом «О защите прав потребителей» установлены гарантийные сроки
на явные дефекты 3 дня; скрытые - 14 дней.
1.1.3 Характеристика рынка сбыта
Конъюнктура рынка - это состояние рынка в определенный момент времени,
характеризуется определенным соотношением спроса и предложения на товары, а
также рядом других факторов. Цель изучения конъюнктуры рынка состоит в
определении влияния объективных факторов на состояние рынка и выявлении мер для
полного удовлетворения спроса населения в товарах и услугах, с учетом имеющихся
у производителя ресурсов. Для современного рынка свойственны постоянное
обновление и повышение качества производимой продукции, пополнение товарного
ассортимента, удовлетворение покупательского спроса и конкуренция. Рынок
проявляет интерес к любым новшествам, новыми считаются товары, не имеющие
аналогов. Рыночная конъюнктура складывается исходя из группы товаров, завозимых
в регион импортного производства, производимых в других регионах и частично в
омском регионе.
На основании анализа конъюнктуры рынка предприятие концентрирует свои
силы на работе с работающими женщинами и имеющими средний уровень дохода. В
периоды сезонного спада потребительской активности производятся малые серии
женской одежды, которые можно реализовывать по договору в магазинах города.
На объем производства товаров и услуг оказывает влияние фактор
сезонности, который характеризуется спадом или подъемом потребительской
активности, пик приходится на весну - лето-осень.
Выбор признаков для сегментации рынка должен основываться на целях
производственной деятельности. Сегментирование помогает найти свой участок
рынка, на котором можно проявить себя наилучшим образом. Выбор группы
потребителей и выбор сегмента рынка опирается на следующие факторы:
географический - г. Омск;
демографический - от 18 лет и старше;
социальный - приверженности к классике, авангарду, для повседневной
носки; уровень доходности в пределах 1500-20000 руб.:
поведенческий - отдают предпочтение хорошему качеству за умеренную цену,
функциональности и рациональности. Изделия должны легко одеваться и быть просты
в уходе.
После определения целевых рынков следует ознакомиться с конкурентами,
занимающимися сходной деятельностью. При выходе на конкретный рынок товаров или
услуг производитель обязательно сталкивается с конкурентами, предлагающими
аналогичные товары и услуги. Конечно, конкурентов можно и не замечать, но
оставаться на рынке длительное время и укрепить свои реальные позиции без
оценки конкурентов и конкурентоспособности продукции невозможно. Производится
оценка основных конкурентов с целью - научиться перенимать положительное у конкурентов
и избегать их ошибок.
В г. Омске имеется большое количество предприятий сервиса, которые
оказывают услуги на достаточно высоком уровне и пользуются популярностью у
потребителей. Дома моды и ателье «люкс» предназначены для изготовления особо
модных индивидуальных изделий любой сложности и из всех видов материалов,
включая изделия перспективной моды, а также уникальные и авторские изделия.
Прием заказов производится по эскизам художников-модельеров, разработанным с
учетом индивидуальных запросов заказчиков. Художник-модельер может также
выполнить услугу по созданию эскизов одежды без заказов на ее изготовление и
предоставить информацию о заказанных изделиях, сведения о приеме заказов и
другие виды информации. Ателье предназначены для изготовления изделий любой
сложности современного направления моды, а также обновление и ремонт изделий
любой сложности. Могут выполняться заказы на изготовление одежды из заранее
изготовленных полуфабрикатов. Заказы принимают по эскизам закройщика или
заказчика, а также моделям журналов мод.
Ближайшим конкурентом проектируемого предприятия является ателье «Ирина»,
которое также предлагает свои услуги, но при этом ассортимент изделий
ограничен, высокая цена, представлено недостаточно изделий для женщин больших
размеров. Описание конкурентов представлены в таблице 3.
Таблица 3 - Описание конкурентов
|
Факторы
|
Проектируемое швейное предприятие сервиса
|
Пошив на дому
|
Ателье «Ирина»
|
|
Качество
|
Быстро, качественно, модно
|
Долго, неудобно
|
Быстро, качественно
|
|
Место нахождения
|
Оживленное место, рядом общественный транспорт, есть место
для парковки
|
В жилом доме, в квартире швеи
|
Далеко от остановки, не очень оживленное место, есть место
для парковки.
|
|
Уровень цен
|
Средние
|
Выше среднего
|
Выше среднего
|
|
Исключительность товаров
|
эксклюзивный
|
обычный
|
обычный
|
|
Ассортимент
|
В зависимости от желаний и вкуса заказчика
|
Не очень широкий ассортимент
|
В зависимости от желаний и вкуса заказчика
|
|
Репутация фирмы
|
Хорошая, имеются постоянные клиенты
|
Сомнительная
|
Хорошая, имеются постоянные клиенты.
|
Результат сравнения конкурентов показал, что в данном районе нет ателье,
а так же высокое преимущество расположения ателье рядом с крупным магазином
ткани. Можно сделать следующий вывод: проектируемое ателье отвечает всем
требованиям и желаниям заказчиков и является наилучшим среди конкурентов.
Проанализировав данные о предприятиях сервиса в г. Омске, в работе предложено спроектировать
предприятие, характеризующееся как ателье первого разряда, так как постоянно
обновляющийся ассортимент материалов, изменяющиеся тенденции моды требуют
постоянного совершенствования технологических процессов, своевременное
обеспечение готовности всех рабочих функционирующих технологических процессов к
изготовлению изделий новых фасонов, покроев, силуэтных форм. В связи с
изменением сезона изменяется ассортимент производимой продукции. В зимний и
переходный период преобладает одежда пальтово-костюмного ассортимента, а в
летний период - платьево-блузочного. Нарядная одежда не подвержена сезонным
колебаниям используется спросом в любое время года. Ателье расположено в
доступном для потребителя месте. Чтобы потребителю было легче найти ателье,
оформлена рекламная вывеска.
В целях более оперативного внедрения технологических особенностей
обработки изделий новой моды, обработки материалов нового ассортимента,
обеспечения качества изготовления одежды необходимо внедрять на предприятии
прогрессивные методы обработки, автоматизированный процесс проектирования
изделий.
Основные характеристики продукции и ее преимущества на рынке: швейное
изделие, изготавливаемое с соответствиями с особенностями фигуры заказчика и
направлениями моды. Высокое качество изготовления по невысокой цене. Фирменная
упаковка. Основные мероприятия, осуществляемые для обеспечения
конкурентоспособности ателье: повышение качества продукции, рекламные
мероприятия, соответствие цены и качества услуги, качественное обслуживание.
1.1.4 Стратегия и план маркетинга
Маркетингом называется комплексная система организации производства и
сбыта продукции, которая построена на основе предварительного исследования
потребностей покупателя. Маркетинг выполняет следующие задачи:
- тщательный учет потребностей динамики общественного спроса во
времени;
- создание условий для максимального приспособления производства к
требованиям рынка;
активное воздействие на спрос, рынок с мощностью всех доступных
средств;
обеспечение получения максимальной прибыли.
Предприятия сервиса в настоящее время должны быть ориентированы на
маркетинг, поскольку в рыночной экономике главную ценность представляет маркетинговая
деятельность и сбыт изделий (услуг).
Выбор правильной стратегии маркетинга позволяет предприятию не только
выжить, но и получить прибыль и достигнуть стабильного положения. Комплекс
маркетинга рассматривает вопросы распространения товара, ценообразования,
методы стимулирования продаж, вопросы рекламы и формирование общественного
мнения.
Цена товара должна обеспечить предприятию не только выживаемость, но и
прибыль. С другой стороны цена всегда сравнивается с ценами конкурентов. Для
предприятия ценовая политика играет важную роль, поэтому цены устанавливаются в
соответствии с желаемой прибылью и на основе анализа текущих цен. Для
стимулирования потребительской активности предусматривается система скидок для
постоянных клиентов.
Качество продукции и услуг - серьезное оружие борьбы с конкурентами.
Повышение качества стимулирует спрос и цену товаров. Так же повышает количество
постоянных клиентов. Повышению качества способствуют: повышение уровня
квалификации персонала и уровня техники, внедрение контроля на всех этапах
производства.
Узнать о товаре можно из каталогов, буклетов, рекламных проспектов,
рекламы на месте продаж и газет. Чтобы реклама была более эффективна, она
должна создавать фирменный стиль, который обеспечивается наличием товарного
знака, цветовыми решениями. График рекламных мероприятий представлен в таблице
4. При составлении графика рекламных мероприятий необходимо учитывать, что
основной задачей при выборе средства распространения рекламы является донесение
рекламного сообщения до максимального числа потенциальных покупателей при
минимальных затратах.
Таблица 4 - График рекламных мероприятий
|
Средства рекламы
|
Месяцы
|
Стоимость рекламы
|
|
1
|
2
|
3
|
4
|
5
|
6
|
7
|
8
|
9
|
10
|
11
|
12
|
|
|
Газета
|
-
|
800
|
800
|
-
|
-
|
-
|
-
|
800
|
800
|
-
|
-
|
800
|
4000
|
|
Радио
|
-
|
4000
|
-
|
-
|
-
|
-
|
-
|
4000
|
-
|
-
|
-
|
-
|
8000
|
|
Календари
|
-
|
2000
|
2000
|
-
|
-
|
-
|
-
|
2000
|
2000
|
-
|
-
|
8000
|
|
Итого:
|
-
|
6800
|
2800
|
-
|
-
|
-
|
-
|
6800
|
2800
|
-
|
-
|
800
|
20000
|
Реклама является важным элементом конкурентной борьбы. Она дает
информацию о товаре, о производителе, она заставляет улучшать и совершенствовать
продукцию. Цель рекламной компании - доведение до большего числа потенциальных
покупателей информации об изготавливаемом продукте [16]. В плане проведения
рекламной кампании предусматривается периодичность осуществления отдельных
рекламных мероприятий, определяется их общее количество, а иногда и точные даты
проведения, учитываются сезонные колебания спроса, то есть составляется график
рекламной кампании.
Планирование рекламной кампании состоит из нескольких
этапов:
. Определение целей.
. Определение рыночного сегмента.
. Выбор средства распространения рекламы.
. Определение бюджета рекламной кампании.
. Оценка эффективности проведенной рекламной кампании.
Объявления в газете проинформируют потенциальных потребителей о наличии
ателье и предоставляемых услугах. Газета бесплатно распространяется по городу и
объявление в ней стоит расположить на листе программы передач. Рекламные
объявления покрывают периоды предпраздничных покупок, а так же сезонные смены
гардероба.
Постоянным напоминанием и обозначением места нахождения ателье служит
вывеска и витрина. Она постоянно на виду и охватывает большой круг
потенциальных потребителей. Календарики, они же визитки следует класть в каждый
выполненный заказ, и это будет приятным дополнением и способом передачи информации
о предприятии между людьми. Те же календарики, вложенные к готовым изделиям из
малых серий, так же проинформируют потребителя о возможности индивидуального
пошива.
План рекламной кампании составлен так, чтобы охватить все стратегически
важные моменты в году, это позволит не упустить потенциальных клиентов и
повысить количество продаж.
1.1.5 Характеристика проектируемого предприятия
.1.5.1 Общая характеристика предприятия
Проектируемое швейное предприятие сервиса находится в городе Омске по
адресу Космический проспект, д. 99/2. Ателье специализировано на производстве женской одежды
платьево-блузочного, пальтово-костюмного ассортимента любой сложности,
соответствующие современному направлению моды, а также обновлению и ремонту
одежды. Предприятие направлено на обслуживание женщин со средним уровнем дохода
(15000-20000 рублей в месяц).
Для организации предприятия была выбрана форма собственности - частная.
Индивидуальный предприниматель отвечает за результаты своей деятельности своим
имуществом. По уровню качества услуг и форм обслуживания - предприятие первого разряда и по
технологическому принципу характеризуется как ателье.
В ателье работает 18 человек, ответственность за организацию работ по
охране труда лежит на работодателе. В проектируемом ателье располагаются:
приемный салон, участок запуска, склад материалов и готовых изделий, наибольшая
площадь предприятия отдана под швейный цех и раскройнный участок.
По территориальному признаку ателье является городским. Находится рядом с
жилым массивом и проезжей частью, имеет подъездные пути и места парковки рядом
со зданием.
1.1.5.2 Производственный состав предприятия
Производственные подразделения предприятия - цехи, участки, обслуживающие
хозяйства и службы, связи между ними, взятые в совокупности, - составляют его
производственную структуру. Она определяет уровень производительности труда,
издержек производства, эффективность эксплуатации природных богатств и техники.
В соответствии с ассортиментом изделий выбраны производственные
подразделения, которые входят в состав проектируемого ателье. Производственные
подразделения предприятия организованы в виде производственных цехов,
обеспечивающих выполнение законченной части производственного процесса, и
участков, выполняющих функции цеха, но с небольшим объемом работ (таблица 5).
Таблица 5 - Основные производственные подразделения предприятия
|
Производственное подразделение
|
Основные функции подразделений
|
|
Салон приема заказов
|
Взаимодействие заказчиков и персонала предприятия при
приеме и исполнении заказа
|
|
Участок запуска
|
Комплектование суткопартий отрезов материалов, деталей
кроя, изделий после обмеловки и уточнения для подачи в раскройный и швейный
цеха
|
|
Склад материалов
|
Хранение и подготовка материалов предприятия к раскрою
|
|
Швейный цех
|
Изготовление изделий
|
|
Раскройный цех
|
Раскрой материалов и обмеловка изделий после примерки
|
|
Склад изделий
|
Хранение готовых изделий
|
|
Цех ремонта и обновления одежды
|
Обновление и ремонт изделий
|
Производственный процесс сервиса является основой деятельности любого
предприятия сервиса и состоит из совокупности взаимосвязанных процессов труда,
в течение которых предмет труда подвергается изменениям. Все частичные
процессы, имеющие различные формы и разнообразный характер, можно подразделить
на основные и вспомогательные. На проектируемом предприятии процесс оказания
услуг рассмотрен как экономический обмен, при котором происходит обмен
ресурсами между заказчиком и предприятием сервиса. Предприятие сервиса
предлагает свои ресурсы в форме труда, умения, технологии, информации, средств
обслуживания [13].
Процесс оказания услуг на предприятии индустрии моды состоит из
непосредственного процесса оказания услуги, включающего прием (оформление)
заказа на услугу и выдачу исполненного заказа заказчику, и процесса
производства услуги (в подавляющем большинстве не требующего присутствия
заказчика).Таким образом, в процессе оказания услуг на предприятии индустрии
моды можно выделить три взаимосвязанных процесса: прием заказа на услугу,
производство услуги и выдача заказа на услугу. Следовательно, в данной сфере
услуг нужно рассматривать две стороны процесса оказания услуги: производство и
обслуживание. Процесс обслуживания - это процесс непосредственного и
опосредованного контактирования производителей услуг с потребителями. Процесс
оказания услуг на предприятии сервиса в общем виде состоит из нескольких этапов
и представлен на рисунке 1.
Рисунок 1 - Этапы оказания услуг на швейном предприятии сервиса
Срок выполнения услуги является важнейшим показателем, характеризующим
деятельность предприятия сервиса. Под сроком оказания услуги понимается
длительность процесса выполнения заказа на услугу, то есть от момента приема
заказа до момента его выдачи. Сокращения срока положительно влияет на уровень
обслуживания населения и на экономику предприятия сервиса. Сроки исполнения
заказов и услуг приведены в таблицы 6.
Таблица 6 - Сроки
оказания услуг
|
Виды услуг
|
Сроки исполнения, дни
|
|
Изготовление швейных изделий
|
|
Верхней одежды пальтово-костюмного ассортимента
|
25
|
|
Верхней одежды из натурального меха
|
35
|
|
Одежды платьево-блузочного ассортимента
|
20
|
|
Поясных изделий
|
12
|
|
Срочное изготовление
|
|
|
Верхней одежды пальтово-костюмного ассортимента
|
до 10
|
|
Одежды платьево-блузочного ассортимента
|
до 5
|
|
Поясных изделий
|
до 3
|
|
Ремонт и обновление швейных изделий
|
|
Мелкий ремонт
|
3
|
|
Средний ремонт
|
6
|
|
Крупный ремонт
|
12
|
|
Срочный ремонт швейных и меховых изделий
|
до 1
|
1.1.5.3 Производственная программа предприятия
Производственная программа предприятия определяется исходя из
ассортимента услуг и изделий предприятия, и устанавливает объемы выпуска,
трудоемкость и ценностные показатели, которые должны быть достигнуты
предприятием. Условная производственная программа предприятия необходима для
определения объемов работ производства, расчета цехов, участков, показателей
экономической эффективности. Производственная программа предприятия
представлена в таблице 7.
Таблица 7 - Производственная программа предприятия на период
01.01.13-31.12.13 г.
|
Ассортимент
|
Удельный вес
|
Трудоемкость, час
|
Средневзвешенная трудоемкость, мин
|
Расчетное число рабочих
|
Фактическое число рабочих
|
Сменный выпуск
|
Годовой выпуск
|
|
Женская одежда ПБА
|
|
|
Платье
|
18,5
|
6,2
|
111,60
|
2,66
|
|
3,43
|
854,07
|
|
Блуза
|
14,5
|
5,6
|
78,40
|
1,87
|
|
2,67
|
664,83
|
|
Юбка
|
12,5
|
2,6
|
31,20
|
0,74
|
|
2,29
|
570,21
|
|
Итого
|
45,5
|
14,4
|
|
5,27
|
5
|
8,39
|
2089,11
|
|
Женская одежда ПК
|
|
Пальто д/с
|
9,5
|
15,5
|
139,50
|
3,32
|
|
1,71
|
425,79
|
|
Пальто зимнее
|
6,5
|
17,58
|
105,48
|
2,51
|
|
1,14
|
283,86
|
|
Жакет
|
10,5
|
9,01
|
90,10
|
2,15
|
|
1,91
|
475,59
|
|
Итого
|
26,5
|
42,09
|
|
7,98
|
8
|
4,76
|
1185,24
|
|
Ремонт
|
16
|
4,6
|
73,60
|
1,75
|
2
|
3,05
|
759,45
|
|
Головные уборы
|
12
|
3,5
|
42,00
|
1,00
|
1
|
2,29
|
570,21
|
|
Всего:
|
100
|
8,1
|
671,88
|
16,00
|
16
|
18,49
|
4604,01
|
1.2 Проектирование материального объекта услуги
.2.1 Характеристика материального объекта услуг
Индивидуальные заказы непосредственно поступают на предприятие от
индивидуального заказчика. При приеме учитывают назначение одежды, вид
материала, размерные признаки фигуры заказчика, его возраст, индивидуальные
запросы на художественное оформление.
Технологический процесс включает совокупность разнообразных элементов,
характерных для моделей различных конструктивных основ и силуэтных форм,
фасонные особенности, методы обработки, различные виды материалов для расчета
процесса изготовления одежды по заказам. Поэтому, при изготовлении заказов в
одном технологическом процессе должна соблюдаться высокая гибкость и
маневренность.
Для расчета технологического процесса важны не сами модели, а
совокупность из конструктивных, фасонных и технологических элементов,
представляющих собой объект для проектирования технологического процесса -
условное изделие средневзвешенной трудоемкости.
В выпускной квалификационной работе технологическая последовательность
разработана для пяти моделей, эскизы которых представлены на рисунке 2.
Описание условного изделия представлено в виде графической модели в
приложении Б, В. Графическая модель построена отдельно на каждую секцию и
характеризует степень готовности изделия к примерке, а также последовательность
его обработки до и после примерки.
Рисунок 2 - Эскизы моделей женского демисезонного пальто
1.2.2 Разработка конструкции
1.2.2.1 Анализ направления моды
Мода осень-зима 2012-2013 вновь приносит нам уже немного забытую
романтику, элегантность и женственность, объединенные в стиле ретро. В основу,
на создание коллекций, дизайнерам легли приглушенные тона, c явно подчеркнутыми
линиями и аристократическим кроем. Текущий сезон будет популярен плавно
струящимися силуэтами. Осень-зима 2012-2013 привнесет в моду бушлаты, а так же
различные отвороты на пальто и коротких куртках, что будет очень популярно.
Отвороты могут выступать в роли элегантного воротника, делая верхнюю одежду
более практичной.
Мода осень-зима 2012-2013 года продолжит модное
направление женственности, как в прямом смысле - с помощью традиционных
силуэтов, так и используя игру контрастов. К примеру, стиль милитари в женской
повседневной модной одежде. Стиль милитари возвращается и будет показан в
брендовых коллекциях. Этот стиль хоть и брутален, тем не менее, он поистине
изящный. Женская привлекательность во многом зависит от разнообразия. Мода
осень-зима 2012-2013 наиболее ценит образ уверенной в себе леди, чем нежной и
романтичной девочки. В моде осень-зима 2012-2013 будет актуален минимализм и
легкая роскошь, что так же характерно для стиля милитари. Под него подходят
темные и камуфляжные цвета, а так же, новые в этом стиле, белый и золотистый
цвета. Главное правило - однотонность.
В моде сезона - легкое пальто с лацканами мужского
стиля в виде длинного пиджака. За строгий вид это пальто получило название
«дипломат». Пальто из грубого материала в виде военной шинели с металлическими
пуговицами в два ряда, погонами и широкими лацканами- самые популярные модели
сезона осень-зима 2012-2013. Пальто свободного покроя длиной ниже колен, дополненное
меховым воротником - классическое решение изделия для осени- зимы. Возвращаются
в моду традиционные материалы - драп, твид и мех - для воротника. Возможно
асимметричное решение пышного воротника, как у Майкла Корса и Нины Риччи.
Актуален многоцветный мех.
Цветовая гамма этих моделей включает черный и темные оттенки, серого,
коричневого, оливкового тонов, включая цвет хаки. Безусловно, осень и зима сами
по себе достаточно бесцветные времена года, но в предстоящем сезоне они
характерны яркими всплесками: оранжевая листва, солнечные блики, сверкающие
снежинки и прозрачное голубое небо. Поэтому, наряду с использованием темных и
приглушенных оттенков, можно и нужно использовать яркие детали и цвета.
Природные материалы и оттенки цветов, животные и
цветочные принты, даже этнические мотивы - вот базовые направления, которые
будут определять настроения в дизайне модной одежды. Безусловно, природа и
женственность не может обойтись без кожи и меха. Эти материалы остаются на
модной волне как в чистом виде, так и в качестве актуальной отделки. Зимой 2013
года стоит отметить тенденцию к использованию длинного и легкого меха, а для
кожи предпочтительна гладкость и «змеиный» рисунок.
Итак,
модные пальто осень-зима 2012-2013 разнообразны и позволяют создать женщине как
романтический образ <#"655432.files/image003.gif">
Рисунок 3 - Эскиз модели-предложения
Таблица 9 - Прибавки на свободное прилегание
|
Наименование участка, к которому даётся прибавка
|
Условное обозначение
|
Величина, см
|
|
По ширине изделия на линии груди
|
Пг
|
7,0
|
|
По ширине изделия на линии талии
|
Пт
|
6,0
|
|
По ширине изделия на линии бёдер
|
Пб
|
4,0
|
|
По ширине спинки
|
Пшс
|
1,0
|
|
По ширине переда
|
Пшп
|
0,5
|
|
По глубине проймы
|
Пспр
|
3,0
|
|
По длине спинки до линии талии
|
Пдтс
|
1,0
|
|
По ширине горловины
|
Пшг
|
1,0
|
|
По высоте горловины
|
Пвгс
|
0,2
|
|
По высоте плеча
|
Пвпк
|
2,7
|
|
На плечевую накладку
|
Ппн
|
0,5
|
|
По длине полочки до линии талии
|
Пдтп
|
1,7
|
|
По обхвату плеча
|
Поп
|
7,5
|
1.2.2.5 Расчет и построение конструкции
По выбранной методике конструирования произведен расчет базовой
конструкции данного изделия, приведенный в таблице 10.
Таблица 10 - Расчет чертежа конструкции
|
Участок конструкции
|
Условное обозначение на чертеже
|
Формула и расчёт
|
Результаты расчёта, см
|
|
1
|
2
|
3
|
4
|
|
Ширина сетки чертежа
|
А 0а1
|
Сг3 + Пг + Поф =42,5+7+0,5
|
50,0
|
|
Ширина спинки
|
А0а
|
Шс + Пшс+ Поф = 16,0+1+0,5
|
17,5
|
|
Ширина переда
|
а1а2
|
Шг+(Сг2 - Сг1)+Пшп =15+(43-39,2)+0,5+0,3
|
19,5
|
|
Ширина проймы
|
аа2
|
А0а1 - а1а2 - А0а =50-(17,5+19,5)
|
13,0
|
|
Уровень лопаток
|
А0У
|
0,4 Дтс2 = 0,4*38
|
15,2
|
|
Уровень глубины проймы
|
А0Г
|
Впрз2+Пспр+0,5Пдтc =19+3+0,5
|
22,5
|
|
Уровень линии талии
|
А0Т
|
Дтс2 + Пдтс = 38+1
|
39,0
|
|
Уровень линии бёдер
|
ТБ
|
0,5 Дтс2 - 2,0 = 0,5*38-2
|
17,0
|
|
Отвод средней линии спинки на уровне талии
|
ТТ1
|
|
1,2
|
|
Отвод средней линии спинки на уровне горловины
|
А0А0′
|
|
0,5
|
|
Ширина горловины спинки
|
А0′А2
|
Сш : 3,0 + 0,5 + Пшг =18: 3+1
|
7,0
|
|
Высота горловины спинки
|
А2А1
|
А0′А 2 : 3,0 = 7,0: 3,0
|
2,3
|
|
Длина сетки
|
А0Н
|
Ди + Пдтс= 115+6
|
121,0
|
|
Т3Т61
|
Г3Г6=0,5Г
Г+1
|
10,8
|
|
Положение конечной плечевой точки спинки
|
А2П1 ТП1
|
Шп + р-р выт=12,5+2 Впк + Пвпк=39+0,5
|
14,5 39,5
|
|
Построение плечевой выточки
|
|
|
|
|
Точка касания проймы спинки с вертикалью
|
Г1П3
|
П2Г1: 3,0 + 2 = 20,2: 3,0 + 2
|
8,5
|
|
Середина проймы
|
Г1Г2
|
0,5 Г1Г4 0,5*13,5
|
6,5
|
|
Вспомогательная точка построения проймы спинки
|
Г11
|
0,2 Г1Г4 + 0,3-0,7 = 0,2 ×13,5+0,3
|
3,0
|
|
Построение плеча спинки
|
|
А21А22 р-р вытачки длина вытачки
|
2,0 8,0
|
|
|
Г9Г91
|
1,2
|
|
Положение вершины горловины
|
Т3А3
|
Дтп2 + Пдтп = 39+2
|
41,0
|
|
Отвод линии середины
|
А3А31
|
|
0,5
|
|
Ширина горловины переда
|
А31А4
|
Сш: 3,0 + Пшг = 18 : 3,0 + 1,0
|
7,0
|
|
Глубина горловины переда
|
А31А5
|
А31А4 + 1,0 = 7 + 1,0
|
8,0
|
|
Положение конца направления вытачки
|
А4Г7
|
Вг + 0,5 Пдтп =24 + 0,5 × 2,5
|
25,0
|
|
Величина раствора нагрудной вытачки
|
А4А9
|
2,0*(Сг2 - Сг1)+ 2,0 = 2,0
×(43-39,2) + 2,0
|
9,6
|
|
Контрольные точки проймы полочки
|
Г4П6
|
Г4П4 : 3,0 = 19,5 : 3,0
|
|
Положение плечевой точки переда
|
А9П5
|
Шп
|
12,5
|
|
Сумма растворов Талиевых вытачек
|
|
ZВ=(Сг3+Пг)-(Ст+Пт)+ТТ1
|
12,2
|
|
Боковая выт
|
|
0,4ZВ
|
4,8
|
|
Передняя выт
|
|
0,3ZB
|
3,6
|
|
Задняя выт
|
|
0,3ZB
|
3,6
|
|
Положение кармана
|
К1К2
|
|
|
|
Вспомогательная точка построения проймы переда
|
Г42
|
0,2 Г1Г 0,2*12,5
|
2,5
|
|
Оформление среза проймы переда
|
3-4
|
0,3-0,8
|
0,5
|
|
Положение бокового шва
|
|
В=Сб+Пб- Б1 Б3 Б2Б4= Б2Б5=В/2
|
2,0 1,0
|
|
Построение воротника
|
|
|
|
|
Высота стойки
|
ВВ1
|
|
5,0
|
|
Ширина воротника сзади посередине
|
В1В2
|
|
5,0
|
|
Подъем конца воротника
|
АА1
|
|
2,0
|
|
Построение рукава
|
|
|
|
|
Высота оката
|
О1О2
|
ОО1 - ОО2
|
16,0
|
|
Определение ширины рукава в готовом виде
|
Шр в гот.виде
|
Оп+Поп/2 =25,5+7,5/2
|
16,5
|
|
Длина рукава
|
О3М
|
Др + Ппн - 1=62,0-1
|
61,0
|
|
Линия локтя
|
О3Л
|
Др / 2 + 3=61/2+3
|
33,5
|
|
Ширина рукава внизу
|
ММ1
|
|
13,0
|
|
Скос низа рукава
|
М1М2
|
|
1,5
|
|
Прогиб по линии локтя
|
Л2Л3
|
|
0,7
|
|
Контрольные точки
|
Рп1
|
Г4П6
|
6,5
|
|
1 1′
|
|
0,5
|
|
РлР3
|
Г1П3
|
8,5
|
|
Р3Р3′
|
|
0,5
|
|
Вспомогательные точки
|
О3О5 О2О6 О52 О63
|
О2О3 / 2 - 2 О2О4 / 2 2÷2,5
1÷2
|
2,5 4,1 2,0
1,0
|
|
РпГ2
|
0,5 Г1Г4 + 1′1′′ = 0,5× 13,0 + 0,5
|
7,0
|
|
Рп8
|
Г22 + 1÷1′′+
0÷0,5
|
6,2
|
|
4÷5
|
1÷2
|
1,2
|
|
Развёртка рукава относительно линии переднего переката
|
|
РпР1= РлР2 Л21Л22= Л3Л41 ММ3= М2М4
|
2,0 1 0,5
|
Рисунок 4. Чертеж конструкции втачного одношовного рукава
Рисунок 5. Чертеж конструкции женского д/с пальто
Модель разрабатывается для производства, занимающегося изготовлением
одежды по индивидуальным заказам. Подготовка к раскрою материала, который
принес заказчик, осуществляется в ателье закройщиком. При этом проверяется
длина, ширина материала и оценивается его качество.
Раскрой изделия выполняется в соответствии с размерными признаками,
снятыми с заказчика, и выбранной моделью.
При раскрое деталей изделий необходимо соблюдать следующие требования:
соблюдение направления рисунка, ворса, совмещение клетки и т.п.;
допустимые надставки и разрезы в деталях;
припуски на швы и запасы в крое и в готовом виде должны соответствовать
установленным величинам;
по согласованию с заказчиком припуски на швы в готовом виде могут быть
увеличены или уменьшены.
1.2.3 Характеристика степени готовности изделия
к примерке
Выбор степени готовности изделия к примерке обуславливается: видом
изделия, количеством примерок и их удельным весом, методом проектирования
одежды, опытом работы передовых закройщиков.
Женскую верхнюю одежду пальтово-костюмного ассортимента изготавливают с
одной или повторными примерками в зависимости от типа фигуры заказчика,
сложности формы изделия и декоративных элементов, технологических свойств
материала.
В работе предлагается технологический процесс, предусматривающий
изготовление изделий с одной примеркой. Выбранная степень готовности изделий к
примерке, обеспечивающая полное представление о размерах, форме отделочных деталей
и будущего изделия в целом, представлена в виде графических моделей в
приложении А, Б.
Мелкие и декоративные детали, их размеры, форму и место расположения
определяют на примерке, вырезают из подкладочных материалов и приметывают или
прикалывают к изделию.
1.2.4 Характеристика материалов и режимов
обработки
Многообразие материалов для одежды, отличающихся по способу производства,
строению и другим показателям, определяют разнообразие их свойств и особенности
эксплуатации. Знание свойств позволяет грамотно использовать материалы по
назначению, выбрать рациональные режимы обработки, тем самым, создавая
качественную, комфортную одежду с высокими эстетическими показателями.
Конфекционирование материалов является важным этапом швейного
производства, так как от правильного выбора материалов в пакет зависит качество
швейного изделия, его сохраняемость в процессе эксплуатации. Быстрая
сменяемость моды, рыночные условия современного производства и сбыта продукции
требуют умения ориентироваться в современном ассортименте материалов и
прогнозировать качество изделий. Целью конфекционирования материалов является
производство конкурентоспособной одежды высокого качества.
Выбор материалов (основных, подкладочных и других) осуществляется в
соответствии с видом одежды и основными требованиями к пакету. Женское
демисезонное пальто является комплексным многослойным изделием, внешний вид
которого зависит от выбранных материалов. Дизайн пальто для индивидуального
потребителя требует более тщательного подбора материалов с учетом внешних
данных заказчика для создания оригинального неповторимого образа в одежде.
К тканям для демисезонного пальто предъявляют ряд требований. Основным
является эстетическое оформление - соответствие современной моде, облику
потребителя, малая сминаемость и пилингуемость, устойчивость окраски к
химической чистке и трению. Малая жесткость и хорошая драпируемость обеспечит
красивый внешний вид изделия. Для демисезонного пальто очень важны
эксплуатационные характеристики ткани - высокая износостойкость, способность
сохранять форму, эргономические- комфортность пододежного слоя. Она
определяется низкой воздухопроницаемостью, высокой паропроницаемостью и хорошей
теплопроводностью.
Подкладочные ткани должны быть гладкими, чтобы не
затруднять движений человека в одежде, обладать устойчивостью окраски к поту и
трению, небольшой усадкой, высокой износостойкостью.
При изготовлении верхней одежды, с целью придания ей
формоустойчивости, улучшения условий эксплуатации, применяют различные
прокладочные материалы, которые должны обладать определенной жесткостью,
несминаемостью, малой усадкой и небольшой поверхностной плотностью. Более
подробная характеристика показателей качества материалов, входящих в пакет
проектируемых изделий, представлена в таблице 11.
Скрепляющие материалы - нитки подбираются в
соответствии с основной и подкладочной тканью. Они должны обладать повышенной
прочностью на разрыв, стойкостью на истирание и хорошей эластичностью.
Фурнитура должна обладать прочностью, термостойкостью,
не должна окисляться на воздухе и при химической чистке, не изменять цвет.
Для изготовления женского демисезонного пальто подобраны в качестве
основного материала ткани чистошерстяные и полушерстяные, имеющие хорошие
теплозащитные свойства, гигиенические свойства, обладают устойчивостью окраски
к действию химической чистки и внешних факторов. Поверхностная плотность
колеблется от 304-523 г/м², стойкость к истиранию не менее 4 тысяч циклов, удачное
художественно-колористическое оформление, хорошая драпируемость, малая
пиллингуемость и малая сминаемость. В качестве подкладочных материалов ткани
состоящие из вискозных и капроновых нитей, хлопчатобумажной пряжи, отвечающие
требованиям надежности: устойчивость к истиранию, изгибам и растяжению, к
химической чистке, имеет допустимые значения при разрывной и раздирающей
нагрузках, имеют малую усадку, хорошие гигиенические показатели, малую
сминаемость. Предлагаемый материал гармонирует с основной тканью. В качестве
прокладочного материала выбран термоклеевой материал на трикотажной основе, он
обеспечит прочное склеивание деталей, хорошую формоустойчивость при фронтальном
дублировании и дублировании мелких деталей, большую мягкость и упругость
соединений, малую усадку[11].
Таблица 11 - Основные показатели качества материалов для женского
демисезонного пальто
|
Группа требований
|
Показатель, единицы измерения
|
Значения показателей качества материалов
|
|
|
основных
|
подкладочных
|
прокладочных
|
|
1
|
2
|
3
|
4
|
5
|
|
1.Эргономические
|
Гигроскопичность,%, не менее
|
7
|
7
|
__
|
|
Воздухопроницаемость,дм³/((м²с), не менее
|
135
|
70
|
__
|
|
Паропроницаемость,г/(м²ч), не менее
|
40
|
40
|
__
|
|
2.Эксплуатационные
|
Стойкость к истиранию, циклы, не менее
|
2000
|
650
|
__
|
|
Несминаемость, %, не менее
|
47
|
50
|
75
|
|
Изменение линейных размеров после мокрой обработке, не
более: -по основе -по утку
|
3,5 2,0
|
3,5 2,0
|
2,0 2,0
|
|
Пиллингуемость, число пиллей на 1²см, не более
|
1
|
0
|
__
|
|
Прочность клеевого соединения,кН/м, не менее
|
__
|
__
|
0,35
|
|
3.Технологические
|
Осыпаемость,мм, не более
|
2,0
|
2,5
|
__
|
|
Усадка от ВТО,%,не более: -по основе -по утку
|
2,0 2,0
|
2,0 2.0
|
2,0 2,0
|
|
Стойкость к раздвигаемостинитей в ткани, даН(кгс), не менее
|
6,86
|
1,5
|
__
|
|
Прорубаемость(число повреждений на 100 проколов), не более
|
5
|
20
|
__
|
|
4.Сврйства, влияющие на конструкцию
|
Поверхностная плотность, г/м²
|
40+200
|
Не более 130
|
50+80
|
|
5.Эстетические
|
Стойкость окраски к хим. чистке, баллы, не менее
|
4
|
4
|
4
|
|
Художественно-колористическое оформление, баллы, не менее
|
20
|
16
|
__
|
Предложенные материалы обеспечивают достаточно высокое качество
проектируемых моделей.
Характеристика выбранных материалов представлена в таблице 12,
оптимальный подбор швейных ниток представлен в таблице 13. Режимы склеивания
деталей и узлов с прокладочными материалами с клеевым покрытием указаны в
таблице 14 [14].
Таблица 12 - Прейскурантная характеристика тканей
|
Наименование материала
|
Краткая техническая характеристика
|
|
Ширина,см
|
Поверхностная плотность,г/м²
|
Состав и линейная плотность, текс
|
Плотность, кол-во нитей на 10 см
|
|
|
|
основа
|
уток
|
основа
|
уток
|
|
1
|
2
|
3
|
4
|
5
|
6
|
7
|
|
Ткань пальтовая
|
150
|
304
|
Вшрс/19×2
|
Вшрс/19×2
|
461
|
275
|
|
Ткань пальтовая
|
145
|
523
|
ВШрс, ВВис/130×7,5
|
ВШрс, ВВис/130×7,5
|
156
|
127
|
|
Ткань подкладочная
|
150
|
120
|
НПф/30
|
НПф/40
|
247
|
229
|
|
Ткань подкладочная
|
145
|
64
|
НК
|
НК
|
494
|
332
|
Таблица 13 - Подбор швейных ниток
|
Скрепляемый материал
|
Вид строчки
|
Вид швейных ниток
|
Условное обозначение
|
|
1
|
2
|
3
|
4
|
|
Ткань пальтовая Ткань подкладочная
|
временная
|
хлопчатобумажные
|
44 Лх
|
|
постоянная
|
армированные с хлопковой оплеткой
|
44 лх
|
Таблица 14 - Режимы склеивания деталей и узлов с прокладочными
материалами с клеевым покрытием
|
Материалы
|
Режимы склеивания
|
|
Основной
|
Прокладочный
|
Температура, °C
|
Время, с
|
|
Пальтовая ткань
|
Нетканое полотно из Ввис и Внитр с точечным регулярным
покрытием Н105Р «Платэ Бонн»
|
120-140
|
15-30
|
|
Пальтовая ткань
|
Нетканое полотно из лавсана - 90% и вискозы - 10% с точечным
регулярным покрытием ПА 12/6/6,6
|
120-140
|
12-20
|
|
Пальтовая ткань
|
Клеевая паутинка ПА 6/6,6/6,1
|
140-160
|
15-25
|
1.2.5 Характеристика режимов, методов обработки
и оборудования
Современный технологический процесс изготовления одежды основывается на
строгом соблюдении режимов сборки и отделки деталей. Выбор методов обработки
тесно связан с назначением одежды и свойствами материалов, рекомендуемых для
изготавливаемых изделий. Методы обработки играют важную роль в проектировании,
так как они определяют уровень качества изделия и экономическую эффективность
технологического процесса.
Методы обработки основных узлов условного изделия представлены в виде
сборочных схем с указанием последовательности выполнения операций путем
цифровой нумерации на рисунках 6-21.
Рекомендуемые методы обработки обеспечивают высокое качество изготовления
изделия, сокращение затрат времени повышение производительности труда по
сравнению с достигнутыми в отрасли.
При выборе оборудования следует учитывать не только его загрузку и
производительность, но и степень универсальности, характеризующую возможность
выполнения нескольких операций на одном виде оборудования (таблицы 15-20).
Таблица 15 - Технические требования к ручным стежкам и строчкам
|
Кодовое обозначение
|
Операция
|
Длина стежка, мм
|
Количество стежков в 10мм
|
Ассортимент швейных ниток
|
|
|
|
|
Результатирующая линейная плотность, текс
|
|
|
|
|
хлопчато-бумажные
|
армированные
|
|
202
|
Закрепочная
|
3-15
|
2-3
|
−
|
43,0
|
|
Пуговичная (пришивание пуговиц с ушком)
|
−
|
5-6
|
63,6
|
45,0
|
|
209
|
Наметочная без посадки ткани
|
15-20
|
0,2-1,0
|
50,0
|
−
|
|
Выметочная
|
7-10
|
0,3-1,0
|
50,0
|
−
|
|
213
|
Подшивочная
|
−
|
3-7
|
−
|
45,0
|
|
219
|
Наметочная с посадкой ткани
|
7-15
|
0,5-1,0
|
50,0
|
−
|
Таблица 16 - Технические требования к машинным строчкам
|
Кодовое обозначение
|
Изделия швейные и материалы
|
Строчки
|
Количество стежков на 10 мм строчки
|
Ассортимент скрепляющих материалов
|
|
301
|
Пальтовые материалы
|
Стачивающая
|
3,5-5
|
44Лх
|
|
504
|
|
Обметочная
|
2-3
|
44Лх
|
|
404
|
|
Петельная(для фигурных)
|
10-12
|
44Лх
|
|
301
|
Подкладочные материалы
|
Стачивающая
|
3-4
|
44Лх
|
|
Обметочная
|
3-4
|
44Лх
|
Таблица 17 - Характеристика гладильных прессов и утюгов
|
Оборудование
|
Марка, тип
|
Тип поверхности
|
Температура нагревания поверхности
|
Время разогрева, мин.
|
Масса, кг
|
|
1
|
2
|
3
|
4
|
5
|
6
|
|
Универсальный прижимной пресс общего назначения
|
CS-371KM «Панонния»
|
-
|
80-250
|
-
|
-
|
|
Отпарочный аппарат
|
ОАГ - 2
|
-
|
80-200
|
-
|
-
|
|
Утюг электропаровой
|
«Панонния» Cs-392
|
электропаровой
|
80-200
|
Не более 10
|
2,4-4
|
|
Стол утюжильный
|
«Панонния» Cs-291
|
паровой
|
100-115
|
25
|
160
|
Таблица 18 - Характеристика швейных машин
|
Назначение машины
|
Тип или класс машины
|
Тип стежка
|
Скорость вращения главного вала
|
Длина стежков, мм
|
Исполнительный орган механизма перемещения материала
|
Иглы ГОСТ 22249-82
|
Вид обрабатываемого материала
|
Толщина сшиваемого пакета материалов, мм
|
|
Стачивающая, Япония «Juki»
|
DDL-8300N
|
301
|
5500
|
До 4
|
Нижняя зубчатая рейка
|
75-110
|
Легкие и средние
|
5
|
|
Обметочная, Япония «Juki»
|
MO-6704S-OE4-40H
|
504
|
5000
|
До 4
|
Дифференциальный нижний транспортер
|
60-100
|
Легкие и средние
|
4
|
|
Изготовление петель, Япония, «Brother»
|
HE-800A
|
304
|
4000
|
Ширина до 6. Длина 40
|
Нижняя зубчатая рейка
|
90-150
|
Легкие и средние
|
4
|
|
Подшивочная, Япония, «Brother»
|
JC-9330-
|
103
|
3000
|
3,2-8,5
|
нижняя зубчатая рейка
|
90-150
|
Все виды материалов
|
До 6
|
Таблица 19 - Подбор швейных игл и ниток
|
Номера игл по ГОСТ 22249-82
|
Ассортимент швейных ниток
|
|
Результирующая линейная плотность, текс
|
|
армированные
|
|
90
|
34,5 34,0
|
|
110
|
34,5 34,0
|
Таблица 20 - Приспособления малой механизации
|
Наименование и назначение приспособления
|
Марка (№)
|
Схема шва
|
Содержание операции
|
|
1
|
2
|
3
|
4
|
|
Лапка с выдвижной направляющей линейкой
|
1-44 МОМЗ ЦРШИШП АО «Орша»
|
Соблюдение параллельности строчки
срезам стачиваемых деталей
|
|
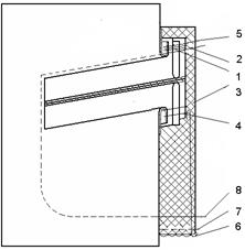
Рисунок 6 - Обработка кармана в шве рельефа
Рисунок 7 - Обработка прорезного кармана с клапаном и одной обтачкой
Рисунок 8 - Обработка накладного кармана с клапаном

Рисунок
9 - Обработка прорезного кармана с двумя обтачками и тесьмой «молнией»
Рисунок 10 - Обработка борта отрезным подбортом с отделочной строчкой по
краю борта
Рисунок 11 - Обработка борта отрезным подбортом
Рисунок 12 - Обработка воротника и соединение его с изделием
Рисунок 13 - Обработка воротника-стойки и соединение его с изделием
Рисунок 14 - Обработка кокетки
Рисунок 15 - Обработка края борта планкой
Рисунок 16 - Обработка низа изделия
Рисунок 17 - Обработка гладкого низа рукава
Рисунок 18 - Обработка низа рукава Рисунок 19 - Обработка низа рукава
отложной манжетой притачной манжетой
Рисунок 20 - Обработка бортов с внутренней застежкой в шве обтачивания
борта подбортом
Рисунок 21 - Обработка паты, пояса.
Рекомендуемые методы обработки обеспечивают высокое качество изготовления
изделия, сокращения затрат времени и повышения производительности труда, за
счет:
1. использования малооперационной технологии в качестве средства
механизации и автоматизации, что способствует максимальной концентрации
однородных механических операций;
2. применения клеевых материалов в некоторых узлах;
3. выбора технологических конструкций;
. применение приспособлений малой механизации.
Сокращение затрат времени в процентах рассчитывается по формуле
, (1)
где Тс - затрата времени по узлу при существующем, т.е. менее
производительном способе обработки, мин;
Тп - затрата времени по узлу при проектируемом, т.е. более
производительном способе обработки, мин.
Повышение производительности труда, %, рассчитываются по формуле
, (2)
Степень механизации обработки узла, %, определяется путем расчета
процента механизированных работ при данных методах обработки узла:
, (3)
где Тм - затрата времени на механизированные неделимые операции при
обработке узла, мин;
Тобщ- общая затрата времени на обработку узла, мин.
Фрагмент операционной карты представлен в приложении Л.
Таблица 21 - Расчет эффективности проектируемых мероприятий
|
Наименование узла или операции
|
Средневзвешенная затрата времени на обработку, мин
|
Повышение производительности труда, %
|
Сокращение затраты времени, %
|
Степень механизации процессов при методах, %
|
|
|
|
всего по узлу
|
в том числе за счет
|
|
|
существу-ющего
|
проекти-руемого
|
|
|
замены ручных операций машин-ными
|
применения клеевых материалов
|
техноло-гичныхконструк-ций
|
сущест-вующего
|
проекти-руемого
|
|
1. Обработка накладного кармана с клапаном
|
15,6
|
14,9
|
4,6
|
4,5
|
-
|
-
|
4,5
|
39,9
|
41,5
|
|
Обработка прорезного кармана с клапаном
|
49,8
|
48,9
|
1,84
|
1,81
|
-
|
-
|
1,81
|
36
|
37
|
|
3. Обработка низа изделия
|
15,0
|
14,81
|
1,3
|
1,27
|
|
1,27
|
|
56,8
|
59,26
|
|
4. Обработка пояса
|
2,53
|
2,31
|
9,5
|
8,7
|
|
|
1,3
|
38,8
|
63,93
|
|
5. Обработка кармана в рамку с тесьмой-молнией
|
25,6
|
18,3
|
39,9
|
28,5
|
28,5
|
|
|
31,5
|
60,1
|
|
6. Обработка края борта подбортом
|
12,8
|
10,7
|
19,6
|
16,4
|
|
|
16,4
|
17,48
|
20,78
|
|
7. Обработка отложного воротника с лацканами
|
20,91
|
20,08
|
4,1
|
3,97
|
-
|
3,97
|
-
|
25,3
|
27,8
|
|
Итого по изменяемым узлам
|
142,24
|
130,0
|
9,4
|
8,6
|
|
|
|
|
|
|
Итого по неизменяемым узлам
|
545,38
|
545,38
|
-
|
-
|
|
|
|
|
|
|
Всего по изделию
|
687,62
|
675,65
|
1,77
|
1,74
|
|
|
|
16,3
|
18,4
|
1.3 Проектирование производственных
подразделений предприятия
.3.1 Проектирование салона
Основными функциями приемного салона являются: предоставление информации
о предприятии и услугах, им оказываемых; организация процесса обслуживания
заказчика персоналом предприятия при приеме и исполнении услуги.
В зоне информации в соответствии с «Правилами бытового обслуживания
населения Российской Федерации» предоставляется следующая информация: перечень
оказываемых услуг, выписка из закона «О защите прав потребителей», требованиям
которых должны соответствовать услуги; сроки оказания услуги; гарантийные
сроки, которые устанавливает предприятие исходя из обычаев делового оборота;
цены на оказание услуг, а так же на используемые при этом материалы и
фурнитуру, сведения о порядке и форме оплаты; образцы договоров (квитанций) об
оказании услуг.
Также в контактной зоне предприятия заказчикам предоставляются следующие
материалы: журналы мод и каталоги моделей одежды; каталоги и альбомы
собственных моделей предприятия; экспозиции фотографий, слайдов, зарисовок
основных силуэтных форм; стенды с образцами материалов и видами отделок;
рекомендации по направлению моды с моделями по каждой группе изделий; выставка
образцов изделий, отделок, фурнитуры и сопутствующего ассортимента. Информация
находится в удобном для обозрения месте и периодически обновляется.
Режим работы салона с 10.00 до 18.00 ч.
Площадь салона складывается из следующих зон: информации, приема и
оформления заказов, проведения примерок, ожидания.
В салоне работают следующие исполнители: приемщик, закройщик.
Последовательность и содержание операций технологического процесса обслуживания
заказчика при пошиве и ремонте одежды, их распределение между конкретными
исполнителями представлены в таблице 22.
Таблица 22 - Технологические операции и исполнители приемного салона
|
Исполнитель
|
Операции технологического процесса
|
|
Работники информационной службы - приемщик
|
Предоставление сведений о приеме заказов по материалам,
предоставление сведений о порядке приема и выдачи заказов, сроках проведения
примерок и готовности заказов, назначение сроков проведения примерок и
готовности заказов, информация заказчика о видах выполняемых работ и предоставляемых
услугах, контроль за сроками проведения примерок и готовности изделия, прием
и оформление заказов, прием и оценка тканей, полотна, фурнитуры, отделок,
промер материала заказчика, выдача готового изделия, реализация сопутствующих
товаров. Установление степени износа изделия, выбор способов ремонта
|
|
Закройщик
|
Выбор модели, выбор материалов, зарисовка модели,
моделирование изделий, моделирование изделий сложных форм, участие в
проведении примерки, участие в сдаче готового изделия заказчику, контроль
качества изделий по конструктивно-эргономическим и эстетическим показателям.
Консультация заказчиков по выбору фасона, зарисовка модели, измерение
размерных признаков, определение качества и оценка материалов заказчика,
определение расхода материалов и заполнение сопроводительных документов,
проведение примерки, контроль качества, сдача готового изделия заказчику
|
Исходным данным для расчета салона является суточное количество заказов с
учетом видов услуг и ассортимента изделий (Мсут), шт.
Расчет количества работающих в салоне производится для основных
специалистов салона, по формуле
, (4)
где Мсут - суточное количество заказов, шт.;
Нв - норма времени на выполнение технологических операций, выполняемых в
салоне, ч;
R -
продолжительность рабочей смены, ч;
c -
количество смен.
чел.
Количество
примерочных кабин в салоне определяется по формуле
, (5)
где Мсут- суточное количество заказов, шт.;
nпос -
число посещений кабины заказчиком на один заказ;
t-
время использования кабины на одно посещение (0,25 ч);
k -
коэффициент, учитывающий неравномерность посещения кабины (принимается 1,5);
Т - продолжительность работы салона, ч.
каб.
Количество
кресел в зоне ожидания должно соответствовать количеству заказчиков,
одновременно находящихся в салоне и ожидающих выполнения соответствующих
операций. Количество заказчиков определяется по формуле
, (6)
где Мсут - суточное количество заказов, шт.;
n -
число операций, выполняемых в салоне на один заказ;
k -
коэффициент неравномерности посещения салона (принимается 1,5);
N1- количество
посетителей, обращающихся за справками (принимается
% от Мсут);
t - средняя
продолжительность одной операции в салоне (принимается 0,25ч);
T-
продолжительность работы салона, ч.
Площадь
салона определяется по формуле
, (7)
где Sоб - площадь оборудования, м2;
η - коэффициент использования площади, принимается
.
При
расчете площади салона учитывается оборудование для выполнения технологических
операций. Также предусматриваются столы для промера и контроля отрезов
материалов заказчиков; стенды с образцами материалов, сопутствующих изделий;
манекены с образцами изделий, отделок; комфортная зона для заказчиков и проч.
Для определения площади салона оформлена сводная таблица численности числа
работающих и оборудования (таблица 23).
Таблица 23 - Сводная таблица рабочих, оборудования и площади салона
|
Наименование условно выделяемой зоны
|
Исполнитель
|
Количество исполнителей, чел.
|
Наименование и габариты оборудования, м
|
Количество единиц оборудования, шт
|
Площадь, занимаемая оборудованием S,м2
|
Площадь с учетом ŋ, м²
|
|
1
|
2
|
3
|
4
|
5
|
6
|
7
|
|
Зона приема и оформления заказа
|
Приемщик
|
1
|
Стол приемщика (1,4×0,7) Стул (0,4×0,4)
Стол для промера
материалов и хранения принятых заказов(2,5×1,7) Шкаф для хранения
материалов(1,2×0,6)
|
1 2 1 1
|
0,98 0,32 3,75 0,72
|
1,96
1,28 9,38 2,88
|
|
Зона информации
|
|
|
Стенд для образцов материалов (0,2×0,5)
Манекены (0,5×0,3)
Шкаф для размещения
образцов отделок(1,2×0,6)
|
2 2 1
|
0,2 0,3 0,72
|
0,8 1,2 2,88
|
|
Зона проведения примерок
|
Закройщик
|
2
|
Примерочная кабина (1,7×2,1)
|
2
|
7,14
|
28,56
|
|
Зона ожидания
|
|
|
Стол журнальный 1,10×0,6 Кресло для посетителей 0,45×0,45
|
1 2
|
0,66 0,6
|
2,64 2,4
|
|
Итого:
|
21,59
|
53,98
|
Таким образом, площадь салона с учетом используемого оборудования
составила 53,98 м2.
1.3.2 Проектирование склада материалов, участка
запуска
Основными функциями склада материалов являются хранение и подготовка
материалов предприятия к раскрою. На складе материалов выполняются следующие
операции:
прием материалов;
проверка качества и количества поступивших материалов;
хранение материалов;
хранение фурнитуры и скрепляющих материалов;
подбор и отпуск материалов.
В соответствии с выполняемыми функциями и операциями на складе материалов
выделены следующие зоны: приема и распаковки, промера и разбраковки, временного
и основного хранения материалов.
На проектируемом складе будут храниться только прокладочные, утепляющие
материалы и приклад.
Исходными данными для расчета склада материалов является суточная
потребность материалов, выраженная: в погонных метрах (Lcут); в кусках (Ксут).
Суточная потребность материалов, выраженная в погонных метрах, кусках или
кипах, определяется по формуле
Lсут =
Мсут·Нг, (8)
где Мсут - суточный выпуск определенного вида одежды из материала
предприятия, шт.;
Нг- норма расхода материала на единицу изделия, значение которой берем из
справочных материалов, м.
При расчете суточной потребности материалов учитывают только число
заказов, выполняемых из материала предприятия, которые подлежат хранению и
проходят операции подготовительного цеха.
(9)
где Lсут- суточная потребность материалов,
м;
l -
длина материала в куске, м.
Для хранения материалов в зоне приема и распаковки используются поддоны
без ограждения. При хранении материалов в поддонах количество устройств
определяется по формуле
(10)
где Lсут - суточная потребность материалов,
м;
tзап -
количество дней хранения материалов на операции или в зоне, дн.;
l-
длина материала в куске, м;
Vк -
объем куска, м3;
Sу -
площадь устройства, м2;
h -
высота устройства, м.
В зоне основного хранения используются стеллажи. При хранении материалов
на стеллажах количество секций стеллажей определяется по формуле
(11)
где Ксут - суточная потребность материалов, число кусков;
tхр -
количество дней хранения материалов на операции или в зоне, дн.;
nк -
количество кусков материала в одной ячейке стеллажа, шт.;
nя -
число ярусов секций стеллажей, шт. (принимаем 4 яруса).
Количество кусков материала в одной ячейке стеллажа (при партионном
хранении) определяется по формуле
, (12)
где Vу - объем ячейки стеллажа, м3;
k -
коэффициент заполнения ячейки (принимается 0,7);
Vк -
объем куска, м3.
Количество рабочих в складе материалов определяется по формулам
(13)
где Lсут - суточная потребность материалов,
м;
Нвр - норма времени выполнения операции на1м материала, мин;
R -
продолжительность рабочей смены, мин;
С - количество смен работы;
(14)
где Ксут - суточная потребность материалов, число кусков;
Нвр - норма времени выполнения операции на 1м материала, мин;
R -
продолжительность рабочей смены, мин;
Площадь склада материалов определяется по формуле
(15)
где Sоб - площадь, занятая оборудованием,
м²;
ŋ - коэффициент использования площади, принимается 0,4÷0,5.
Расчет суточной потребности материалов, устройств для хранения материалов
и рабочих склада материалов представлен ниже в виде таблиц 24-26.
Таблица 24 - Расчет суточной потребности материалов
|
Наименование изделий и видов услуг
|
Ткань верха
|
Ткань подкладки
|
Бортовая ткань
|
Приклад
|
|
Суточный выпуск изделий из материала предприятия, шт.,Мсут.
|
Норма расхода материала,м.,Нг
|
Суточная потребность материала, м,Lсут
|
Суточный выпуск изделий из материала предприятия, шт.,Мсут.
|
Норма расхода материала,м.,Нг
|
Суточная потребность материала, м,Lсут
|
Суточный выпуск изделий из материала предприятия, шт.,Мсут.
|
Норма расхода материала,м.,Нг
|
Суточная потребность материала, м,Lсут
|
Суточный выпуск изделий из материала предприятия, шт.,Мсут.
|
Норма расхода материала,м.,Нг
|
Суточная потребность материала, м,Lсут
|
|
1
|
2
|
3
|
4
|
5
|
6
|
7
|
8
|
9
|
10
|
11
|
12
|
13
|
|
Женская одежда ПБА
|
|
платье
|
1,7
|
3,2
|
5,44
|
-
|
-
|
-
|
-
|
-
|
-
|
3,43
|
0,3
|
1,03
|
|
блуза
|
1,3
|
3,2
|
4,16
|
|
|
|
|
|
|
2,67
|
0,3
|
0,8
|
|
юбка
|
1,1
|
1,36
|
1,5
|
1,1
|
0,9
|
0,99
|
-
|
-
|
-
|
229
|
1,25
|
2,86
|
|
Женская одежда ПКА
|
|
пальто д/с
|
0,9
|
2,6
|
2,34
|
0,9
|
3,3
|
2,97
|
1,71
|
1,55
|
2,65
|
1,71
|
0,4
|
0,68
|
|
пальто зимнее
|
0,6
|
2,6
|
1,6
|
0,6
|
3,3
|
1,98
|
1,14
|
1,55
|
1,78
|
1,14
|
0,4
|
0,46
|
|
жакет
|
0,96
|
1,64
|
1,6
|
0,96
|
3
|
2,88
|
1,91
|
1,6
|
3,06
|
1,91
|
1,4
|
2,67
|
|
Ремонт ПКА
|
1,53
|
2,6
|
3,98
|
3,05
|
3,54
|
10,8
|
-
|
-
|
-
|
3,05
|
0,4
|
1,22
|
|
Головные уборы
|
-
|
-
|
-
|
2,29
|
0,8
|
1,83
|
-
|
-
|
-
|
2,29
|
0,25
|
0,57
|
Таблица 25 - Расчет числа рабочих склада материалов
|
Наименование материала
|
Суточная потребность материала в метрах Lсут, м
|
Количество метров в куске, l, м
|
Суточное количество кусков, К сут..
|
Затраты времени в минутах и расчетное число рабочих по
видам работ
|
|
|
|
|
Прием и распаковка
|
Разбраковка
|
Промер
|
|
|
|
|
Норма времени на 1 кусок
|
Число рабочих
|
Норма времени на 1 м
|
Число рабочих
|
Норма времени на 1 м
|
Число рабочих
|
|
1
|
2
|
3
|
4
|
5
|
6
|
7
|
8
|
9
|
10
|
|
Ткани верха:
|
|
Пальтовые
|
7,95
|
30
|
0,27
|
10
|
0,05
|
0,2
|
0,03
|
0,3
|
0,05
|
|
Костюмные
|
3,1
|
35
|
0,09
|
10
|
0,02
|
0,2
|
0,01
|
0,3
|
0,02
|
|
Платьевые
|
9,6
|
40
|
0,24
|
10
|
0,05
|
0,2
|
0,04
|
0,3
|
0,06
|
|
Подкладочные
|
21,45
|
45
|
0,47
|
10
|
0,05
|
0,2
|
0,06
|
0,3
|
0,05
|
|
Приклад
|
10,26
|
80
|
0,13
|
10
|
0,03
|
-
|
-
|
-
|
-
|
|
Бортовая
|
7,49
|
40
|
0,19
|
10
|
0,04
|
-
|
-
|
-
|
-
|
|
Итого:
|
|
0,24
|
|
0,14
|
|
0,18
|
|
Всего
|
0,56
|
Таблица 26 - Расчет количества устройств для хранения материалов
|
Вид материала
|
Суточная потребность материалов, Lсут, м
|
Объем куска, Vкус,
м3
|
Длина материала в куске, l, м
|
Количество дней хранения материалов, tхр., дн.
|
Количество кусков материала в 1 ячейке nк, шт.
|
Площадь устройства, Sу, м2
|
Высота укладки, h, м
|
Количество устройств в зоне приема и распаковки, nу, шт.
|
Количество секций стеллажей в зоне основного хранения, шт.
|
|
|
|
|
приема и распаковки
|
основного
|
|
|
|
|
|
|
Пальтовые Костюмные Плательные Подкладоч. Прикладные
Бортовая прокладка
|
7,95 3,1 9,6 21,45 10,26 7,49
|
0,10 0,05 0,03 0,015 0,026 0,25
|
30 35 40 45 80 40
|
1 1 1 1 1 1
|
15 15 15 15 15 15
|
2,24 4,48 7,47 14,9 8,62 0,9
|
0,96 0,96 0,96 0,96 0,96 0,96
|
1,0 1,0 1,0 1,0 1,0 1,0
|
0,028 0,005 0,008 0,007 0,003 0,05
|
0,15 0,02 0,04 0,04 0,02 0,26
|
|
Итого:
|
0,1»1
|
0,53»1
|
В соответствии с производственной программой предприятие имеет небольшой
объем производства, отсюда общее число исполнителей в складе материалов
составляет 0,56 человек, следовательно, функции кладовщика целесообразно
совместить с функциями диспетчера участка запуска. Поэтому склад материалов
необходимо объединить с участком запуска.
Площадь участка запуска складывается из следующих зон: хранения отрезов
материалов, спорков, деталей кроя изделий; хранение изделий после примерки;
выполнения технологических операций.
Количество секций стеллажей для хранения отрезов материалов, спорков,
деталей кроя изделий определяется по формуле
(16)
где Мсут - суточный выпуск изделий, шт.;
tхр -
число дней хранения (составляет 3 дня);
n - количество
единиц отрезов, кроя, спорков, приклада, укладываемых в одну ячейку;
nя -
число ярусов стеллажа.
Расчет количества секций стеллажей представлен в виде таблицы 27.
Изделия, уточненные после примерки, хранятся во второй зоне на
двухъярусных кронштейнах. Количество кронштейнов для хранения изделий
определяется по формуле
(17)
где Мпр - суточный выпуск изделий, уточненных после примерки, шт.;
tхр -
число дней хранения изделий на складе, дн.;
li-
длина кронштейна, необходимая для размещения одного изделия, м;
nяр -
число ярусов кронштейна.
Расчет количества кронштейнов представлен в виде таблицы 28.
Количество исполнителей на участке запуска определяется по формуле:
(18)
где Мсут - суточное количество отрезов материалов, спорков изделий,
деталей кроя, уточненных после примерки изделий, шт.;
Нвр - норма времени на выполнение технологических операций участка
запуска, мин.;
R -
продолжительность рабочей смены, мин.;
с - количество смен.
Количество
исполнителей на участке запуска определено из расчета 1 запускальщик на 60
портных, следовательно
(чел).
Таблица 27 - Расчёт количества секций стеллажей на участке запуска
|
Наименование отрезов, кроя
|
Суточный выпуск изделий, М сут,шт.
|
Число дней хранения, t хр,дн.
|
Число единиц в одной ячейке, n шт.
|
Число ярусов стеллажа, n яр, шт.
|
Количество секций стеллажей, n сек, шт.
|
|
1
|
2
|
3
|
4
|
5
|
6
|
|
Отрезы, спорки: Верхняя одежда Лёгкая одежда Поясные
изделия Ремонт Головные уборы
|
2,46 3,0 2,29 3,05 2,29
|
5
|
10 15 15
10 15
|
3 3 3 3 3
|
0,16 0,13 0,1 0,2 0,1
|
|
Крой: Верхняя одежда Лёгкая одежда Поясные изделия Головные
уборы
|
4,76 6,1 2,29 2,29
|
2 2 2 2
|
10 15 15 15
|
3 3 3 3
|
0,3 0,27 0,1 0,1
|
|
Комплекты: приклада
|
18,49
|
10
|
15
|
3
|
1,9
|
|
Отрезы: подклада
|
8,9
|
5
|
15
|
3
|
0,99
|
|
Итого:0,8×0,8×0,5
|
0,77≈1
|
|
Итого:0,8×0,4×0,5
|
Таблица 28- Расчет количества кронштейнов для хранения изделий
|
Наименование изделий
|
Суточный выпуск изделий, Мсут, шт.
|
Число дней хранения, t хр, дн.
|
Длина крон- штейна на 1изделие li, м
|
Число ярусов, n я, шт.
|
Длина кронштейна, Lкр, м
|
Количество кронштейнов, nкр, шт.
|
|
Верхняя одежда
|
6,2
|
2
|
0,10
|
1
|
1,2
|
0,86
|
|
Легкая одежда
|
6,1
|
2
|
0,05
|
1
|
1,2
|
0,5
|
|
Поясные изделия
|
2,29
|
2
|
0,05
|
2
|
1,2
|
0,1
|
|
Итого:
|
1,5≈2
|
Для определения площади проектируемых склада материалов и участка запуска
оформляем сводную таблицу оборудования (таблица 29).
Таблица 29 - Сводная таблица оборудования и площади склада материалов и
участка запуска
|
Наименование и габариты оборудования, м
|
Количество единиц оборудования
|
Площадь,м²
|
|
|
оборудования
|
зоны с учетом ŋ (0,5)
|
|
1
|
2
|
3
|
4
|
|
Участок запуска
|
|
Стеллаж четырехярусный для хранения отрезов материала и
пачек кроя(0,8×0,8×0,5)
|
1
|
0,64
|
1,6
|
|
Стеллаж четырехярусный (0,8×0,4×0,5)
|
4
|
1,28
|
3,2
|
|
Кронштейн для хранения обмеленных после примерки
изделий(1,2×0,6)
|
2
|
1,44
|
3,6
|
|
Стол кладовщика-запускальщика (1,90×1,0)
|
1
|
1,9
|
4,75
|
|
Стол канцелярский(1,2×0,6)
|
1
|
0,72
|
1,8
|
|
Стул(0,4×0,4)
|
1
|
0,16
|
0,4
|
|
Склад материалов
|
|
Стеллаж четырехярусный для хранения отрезов материала и
пачек кроя(0,8×0,8×1,5)
|
1
|
0,64
|
1,6
|
|
Итого 16,95
|
Таким образом, площадь участка запуска и склада материалов составляет
16,95 м2.
1.3.2 Проектирование склада изделий
В складе изделий выделяют следующие зоны: зона хранения изделий; зона
рабочего места кладовщика; зона упаковки изделий; зона выдачи изделий.
Исходными данными для проектирования склада готовой продукции является
общее суточное количество изделий, подлежащих хранению на складе (Мо).
Общее суточное количество изделий определяется по формуле
Мо = Мг + Мпр , (19)
где Мг - суточный выпуск готовых изделий с учетом видов услуг и
ассортимента изделий, шт.;
Мпр - суточный выпуск изделий, подготовленных к примерке, шт.
Мо= 18,49+13,25+6,2 = 37,94 (шт.).
При хранении изделий на кронштейнах количество кронштейнов определяется
по формуле
(20)
где Мо - общее суточное количество изделий, хранящихся на складе, шт.;
tхр -
число дней хранения изделий на складе, дн.;
l1 -
длина кронштейна, необходимая для размещения одного изделия, м;
Lкр -
принятая длина кронштейна, м;
nя -
число ярусов кронштейна.
Расчет длины кронштейна также оформляем в виде таблицы 30.
Таблица 30 - Расчет количества кронштейнов для готовых и подготовленных к
примерке изделий
|
Наименование изделий
|
Общий суточный выпуск, Мо, шт.
|
Число дней хранения t хр, дн.
|
Длина крон- штейна на 1 изделие l1, м
|
Число ярусов, nя, шт
|
Длина кронштейна, Lкр, м
|
Количество кронштейнов, nкр,шт.
|
|
Верхняя одежда
|
6,2
|
5
|
0,1
|
1
|
1,2
|
2,58
|
|
Легкая одежда
|
7,93
|
5
|
0,05
|
1
|
1,2
|
0,66
|
|
Поясные изделия
|
4,58
|
5
|
0,1
|
2
|
1,2
|
0,95
|
|
Ремонт
|
3,05
|
5
|
0,05
|
1
|
1,2
|
0,63
|
|
Итого: для изделий
|
4,82≈5
|
Количество рабочих, выполняющих операции склада изделий, определяется по
формуле
, (21)
где
Мо - общее суточное количество изделий, хранящихся на складе, шт.;
Нвр - норма времени выполнения операций склада изделий, мин;
R -
продолжительность рабочей смены, мин;
С - количество смен работы.
В
данном случае на складе готовых изделий, складе материалов и участке запуска
будет работать 1 человек.
Площадь
склада готовых и подготовленных к примерке изделий определяют по формуле
(22)
где Sоб - площадь, занятая оборудованием,
м2;
η - коэффициент использования площади.
Коэффициент использования площади для склада готовых и подготовленных к
примерке изделий составляет 0,5.
Для определения площади проектируемых склада готовых и подготовленных к
примерке изделий оформляем сводную таблицу оборудования (таблица 31).
Таблица 31 - Сводная таблица оборудования и площади склада изделий
|
Наименование оборудования
|
Габариты оборудования, м
|
Количество оборудования, ед.
|
Площадь, занимаемая оборудованием S,м2
|
Площадь с учетом ŋ,м²
|
|
Стеллаж для хранения головных уборов (4 яруса)
|
0,4х0,4х0,4
|
1
|
0,16
|
0,5
|
|
Кронштейн двухярусный
|
1,2х0,6
|
5
|
3,6
|
10,3
|
|
Стол канцелярский
|
1,2×0,6
|
1
|
0,72
|
2,1
|
|
Стул
|
0,4×0,4
|
1
|
0,16
|
0,5
|
|
Стол для упаковки
|
1,2×0,6
|
1
|
0,72
|
2,1
|
|
Всего:
|
|
15,5
|
|
|
|
|
|
|
Таким образом, площадь склада изделий составляет 15,5 м2.
1.3.3 Проектирование раскройного участка
Основные функции раскройного участка - раскрой изделий и подготовка
деталей к пошиву.
Раскрой материалов отдельными полотнами для индивидуальных заказов и
обмеловка (уточнение) изделий после примерки осуществляется в раскройном
участке закройщиками. Количество закройщиков для раскроя индивидуальных заказов
определяется по формуле
, (23)
где Мсут - суточный выпуск изделий из материалов, раскраиваемых
отдельными полотнами, шт;
Нвр - норма затраты времени закройщиком на одно изделие, мин;
R -
продолжительность рабочей смены одного закройщика, мин;
с - количество смен работы.
Количество закройщиков для пальтово-костюмного и платьево-блузочного
ассортимента выбирается с учетом сопряженности бригад
NзПБА
= 1;
NзПКА
= 1.
Площадь раскройного участка рассчитывается по формуле
, (24)
где Nз - количество закройщиков, чел.;
S1 -
норма площади на одного закройщика, равная 12 м².
Расчет площади:
S =
2·12=24 м²
Оборудование и площадь раскройного участка представлены в таблице 32.
Таблица 32 - Сводная таблица оборудования и площади раскройного участка
|
Наименование оборудования
|
Габариты оборудования, м
|
Количество единиц оборудования,шт.
|
Площадь, занимаемая оборудованием S,м2
|
Площадь с учетом ŋ,м²
|
|
Утюжильный стол Раскройный стол Кронштейн для хранения
лекал Кронштейн для временного хранения изделий после первой примерки Шкаф
для временного хранения кроя
|
1,4х0,8 3,2х1,2 4,0х0,6 1,2 х0,6 1,2 х0,6
|
1 2 1 1 1
|
1,12 7,68 2,4 0,72 0,72
|
2,8 19,2 6,0 1,8 1,8
|
|
Итого:
|
12,64
|
31,6
|
Таким образом, площадь раскройного участка составляет 31,6 м2.
1.3.5 Проектирование швейного цеха
1.3.5.1 Предварительный расчет швейного цеха
При проектировании технологических процессов швейных цехов исходными
данными являются мощность процессов и средневзвешенная затрата времени на
единицу изделия. Мощность процессов устанавливается в предварительном расчете
цехов. Затрата времени на единицу изделия зависит от выбранного объекта для
проектирования процесса, материалов, из которых будут изготавливаться изделия,
предложенных методов обработки и оборудования для проектируемого процесса.
Модели для описания условного изделия представлены на рисунке 2.
Основным видом информации при проектировании технологических процессов
швейных цехов служит технологическая последовательность обработки изделия.
Для работы над проектированием технологического процесса составляется
структура затрат времени по узлам и видам работ, которая оформляется на
графической модели условного изделия. Такая структура является основной для
анализа затрат времени по видам работ, оборудования и комплектования
технологических операций в организационные. По структуре затрат времени по
видам работ и по анализу затрат времени делают выводы о структуре
проектируемого технологического процесса. Рассчитывают затраты времени на пошив
изделия по принятым этапам производства, для выполнения в дальнейшем расчета
рабочих в швейном цехе.
Структуру затрат времени необходимо дополнить затратами времени на
бригадирские функции. В бригадирские функции входят: получение заказов с
участка запуска, регистрация их в книге запуска и контроль за своевременным
прохождением каждого заказа, и суткопартии по процессу, инструктаж рабочих по
способам обработки изделий, сдача изделий на склад и т.п. Затраты времен на
выполнение бригадирских функций рассчитывают на единицу изделия по формуле
, (25)
где Тбр - затраты времени на выполнение бригадирских функций на единицу
изделия, мин;
Тсм - затраты времени на выполнение бригадирских функций в смену, мин;
М - выпуск изделий в смену одной бригадой, ед.
Сменный выпуск изделий определяют по формуле
, (26)
где Nбр - принятая мощность бригады, чел;
R -
продолжительность смены (480 мин.);
Тn - средневзвешенная трудоемкость
условного изделия проектируемого процесса по технологической
последовательности, мин.
По формуле (30):
ед.
По
формуле (29):
мин.
После
расчета затраты времени на выполнение бригадирских функций на единицу изделия
уточняются средневзвешенная трудоемкость условного изделия действующего процесса
и средневзвешенная трудоемкость проектируемого процесса.
Средневзвешенную
трудоемкость условного изделия действующего процесса с учетом затрат времени на
бригадирские функции рассчитывают по формуле
Тс` = Тс + Тбр , (27)
где Тс - средневзвешенная трудоемкость изделия действующего процесса,
мин;
Тбр - затраты времени на выполнение бригадирских функций на единицу
изделия, мин.
Средневзвешенную трудоемкость условного изделия проектируемого процесса с
учетом затрат времени на бригадирские функции рассчитывают по формуле
Тп` = Тп + Тбр, (28)
где Тп - средневзвешенная трудоемкость условного изделия проектируемого
процесса, мин;
Тбр - затраты времени на выполнение бригадирских функций на единицу
изделия, мин.
По формуле (27):
Тс` = 592,32 +19,2 = 611,52 мин.
По формуле (28):
Тп` = 582,05 +19,2= 601,25 мин.
Чтобы дальнейшие расчеты технологического процесса были реальными
(особенно выпуск изделий в смену), необходимо приблизить полученную
трудоемкость условного изделия к среднеотраслевой через поправочный коэффициент.
Поправочный коэффициент рассчитывают по формуле
, (29)
где Тотр - среднеотраслевая трудоемкость изделия, мин;
Тс` - средневзвешенная трудоемкость условного изделия действующего
процесса с учетом затрат времени на бригадирские функции, мин.
По формуле (33):
Для
дальнейшего проектирования технологического процесса принимается
средневзвешенная трудоемкость условного изделия проектируемого процесса
скорректированная на поправочный коэффициент по формуле
Тизд = Тп` * Кп, (30)
где Тп` - средневзвешенная трудоемкость условного изделия проектируемого
процесса с учетом времени на бригадирские функции, мин.
По формуле (34):
Тизд= 601,25·1,58 = 949,98 мин.
Структура затрат времени по узлам и видам работ на графической модели
условного изделия представлена в графической части курсовой работы (листы 1 и
2).
Целью предварительного расчета является установление нормативного числа
рабочих в швейном цехе и распределение ассортимента одежды по бригадам. В
процессе предварительного расчета швейного цеха осуществляются выбор типа
процесса и предварительная планировка агрегатов в цехе. При размещении
агрегатов в цехе одновременно решаются вопросы организационной структуры
процессов. В работе выбран специализированный швейный цех по пошиву женской
одежды, в котором изготавливаются женские изделия пальтово-костюмного и
платьево-блузочного ассортимента, а также головные уборы и оказывают услуги по
ремонту изделий. Специализированные бригады изготавливают одежду ассортиментных
групп, сходных по технологической обработке или по технологическим свойствам
материалов.
При проектировании швейного цеха известен сменный
выпуск основных изделий. Сменный выпуск остальных видов изделий принимается в
пропорциональном соотношении на основе установленных степени специализации
швейного цеха и удельного веса выпуска каждого вида изделия в общем объеме
выпуска швейного цеха (предприятия).
Удельный вес выпуска каждого вида изделия в общем
объеме выпуска швейного цеха устанавливают по сложившемуся или перспективному
процентному соотношению изделий, изготавливаемых на предприятиях сервиса в
обслуживаемом районе, регионе или республике на основе прогноза ассортимента и
рекомендаций по развитию услуг швейной отрасли.
Расчет числа рабочих по каждому виду услуг и
ассортименту изделий осуществляется по формуле
(31)
где Npi-
расчетное число рабочих по 1-му виду изделия, чел.;
Мi-
сменный выпуск i-го вида изделия,
шт.;
Тi -
трудоемкость i-го вида изделия, мин.;
R- продолжительность рабочей смены, принятая за 480 мин.
Предварительный расчет швейного цеха представлен в таблице 33.
Таблица 33 - Предварительный расчет швейного цеха
|
Наименование изделия
|
Сменный выпуск, шт.
|
Трудоемкость изделия, мин.
|
Количество рабочих, чел.
|
Мощность и количество бригад
|
Такт процесса, мин.
|
Число рабочих по секциям
|
Длина агрегатов по секциям,м
|
|
|
общая
|
в том числе по секциям
|
|
|
|
1
|
2
|
|
|
|
|
1
|
2
|
расч
|
факт.
|
|
|
расч.
|
факт.
|
расч.
|
факт.
|
1
|
2
|
|
1
|
2
|
3
|
4
|
5
|
6
|
7
|
8
|
9
|
10
|
11
|
12
|
13
|
17
|
18
|
|
Женская одежда пальтово-костюмного ассортимента
|
|
-пальто зимнее
|
1,214
|
1055
|
200,6
|
854,4
|
2,63
|
8
|
1 бригада по 8 человек.
|
|
|
|
|
|
|
|
|
-пальто д/с
|
1,72
|
949,98
|
357,4
|
592,51
|
3,36
|
|
|
118,74
|
3,01
|
3
|
4,99
|
5
|
2,44
|
4,06
|
|
-жакет
|
2,1
|
541
|
162,3
|
378,7
|
2,36
|
|
|
|
|
|
|
|
|
|
|
Женская одежда платьево-блузочного ассортимента
|
|
-платье
|
3,81
|
372
|
147,3
|
224,7
|
2,95
|
5
|
1 бригада по 5 человек
|
|
|
|
|
|
|
|
|
- -блузка
|
2,29
|
336
|
100,8
|
235,2
|
1,6
|
|
|
74,4
|
1,98
|
2
|
3,02
|
3
|
3,6
|
|
- юбка
|
1,52
|
156
|
46,8
|
109,2
|
0,5
|
|
|
|
|
|
|
|
|
|
|
-Ремонт
|
3,1
|
276
|
-
|
-
|
1,75
|
2
|
2 человека, индивидуально
|
-
|
-
|
-
|
-
|
|
1,625
|
|
Головные уборы
|
2,29
|
210
|
-
|
-
|
1,0
|
1
|
1 человек, индивидуально
|
|
|
|
|
|
|
|
Итого
|
13,41
|
|
|
|
|
16
|
|
|
|
|
|
|
|
Фактическое число рабочих в целом по ассортиментной
группе Nасс. получают, округляя расчетное в
большую или меньшую сторону на основе выбора рациональной мощности бригад Мбр и
их количества.
В целом расчет недостающих исходных данных для
предварительного расчета при проектировании нового швейного цеха можно
представить в следующей последовательности
Mi→ Nрi→ Nа →Nб→ Nц,
(32)
где Мi-
сменный выпуск 1-го вида изделия, шт.;
Nрi - расчетное
число рабочих по 1-му виду изделия, чел.;
Nасс. - число рабочих по ассортиментной группе изделий, чел.;
Nбр - число рабочих в бригаде, чел.;
Nц- число рабочих в цехе, чел.
Выбор мощности бригад и определение их количества производятся в
соответствии с рекомендациями ЦОТШЛ.
Для женской одежды пальтово-костюмного ассортимента выбрано 1 бригада,
состоящая из 8 человек.
Для женской одежды платьево-блузочного ассортимента выбрана 1 бригада,
состоящая из 5 человек.
Такт процесса определяется для одной бригады по каждой ассортиментной
группе изделий по формуле
, (33)
где τизд - такт процесса, мин;
Тизд - трудоемкость изделия, мин;
Nбр -
число рабочих в одной бригаде, чел.
По формуле (33)
τж/пка= 949,98 / 8= 118,74 мин
τж/пба= 336 / 5 =74,4 мин.
Разделение технологического процесса на секции позволяет использовать
наиболее прогрессивные формы его организации.
Распределение рабочих бригады по секциям производится в соответствии с
трудоемкостью каждой секции по формуле
(34)
(35)
где: NI, NII,- расчетное число рабочих в первой, второй секциях,
чел.;
TI, TII - трудоемкость первой, второй
секций, мин;
τизд - такт процесса, мин.
По формулам (34, 35)
NI = 357,4
/ 118,74= 3,01 чел,
NII =
592,51 / 118,74 = 4,99 чел.
Предварительная проверка загрузки каждой секции процесса производится по
коэффициенту согласования по формуле
(36)
где Кс - коэффициент согласования секции;
Nр -
расчетное число рабочих в секции, чел.;
Nф -
фактическое число рабочих в секции, чел.
По формуле (36)
КсI = 3,01/ 3 = 1,003;
КсII = 4,99/5 = 0,998.
Организационная структура технологических процессов представлена в
таблице 34.
Таблица 34 - Организационная структура технологических процессов.
|
Наименование технологических процессов
|
Схемы структуры технологических процессов
|
|
1
|
2
|
|
Процесс, специализированный по изготовлению женской одежды
пальтово-костюмного ассортимента
|
|
|
Процесс, специализированный по изготовлению женской одежды
платьево-блузочного ассортимента
|
|
Длину агрегатов определяют с учетом принятой централизации секций по
формуле
; (37)
где Lагр - длина агрегата секции, м;
N -
число рабочих в данной секции с учетом принятой централизации секций, чел.;
lрм -
шаг рабочего места, м;
Кср - среднее количество рабочих мест, приходящихся на одного рабочего;
- количество рядов рабочих мест в агрегате.
Основные типы процессов различают по предметной специализации, мощности,
характеру обработки изделий, расположению рабочих мест, секционности и т. п.
Характеристика типа основного процесса по всем факторам представлена в таблице
35.
Таблица 35 - Характеристика типа процесса
|
Факторы, определяющие типы процессов
|
Характеристика типа процесса
|
Обоснование выбора процесса
|
|
1
|
2
|
3
|
|
Предметная специализация
|
Разноассортиментный
|
-изготавливают различные ассортиментные группы одежды -в
течение всего года изготавливают одежду разных ассортиментных групп
|
|
Мощность
|
Средней мощности
|
-позволяют применять специальные машины, приспособления
малой механизации, -в них легко обеспечить освоение рабочими различных работ
и специальностей
|
|
Характер обработки
|
Сменный
|
-изделия до конца обработки закрепляются за рабочими
процесса одной смены, -индивидуальность каждого изделия
|
|
Расположение рабочих мест
|
Однолинейный двухрядный с зигзагообразным движением деталей
|
-равномерная загрузка площади цеха, -ручная передача
изделий от рабочего к рабочему через несколько рабочих мест и при возврате
изделий на рабочие места, при этом сокращается путь движения деталей и
упрощается их передача.
|
|
Секционности
|
Многосекционный
|
-сменяемость моделей влияет преимущественно на первую
секцию, -позволяет использовать наиболее прогрессивные формы организации
|
|
Способу питания
|
Штучная подача
|
-минимальное незавершенное производство и непрерывность
процесса, -каждое заказанное изделие может иметь различную последовательность
обработки и сборки изделий
|
|
Запуск изделия в процесс
|
Комбинированный запуск
|
-при одновременном выпуске с процесса 6-12 моделей
|
Площадь швейного цеха рассчитывают исходя из числа рабочих в цехе и нормы
площади на одного рабочего по формуле
, (38)
где S1i- норма площади на одного рабочего, выполняющего работу i-го вида работ, м²;
Ni -
число рабочих в цехе, выполняющих работу i-го вида, чел.
Sц=5·6+8·7+2·6+1·6=104
м²
Заключительным этапом предварительного расчета швейного цеха является
размещение агрегатов на площади швейного цеха структурного подразделения с
созданием рационального грузопотока в цехе и с соблюдением всех требований к
размещению агрегатов.
Длина цеха определяется по формуле
, (39)
где Sц - рассчитанная площадь цеха, м2;
Шц - принятая ширина цеха, 12 м2.
По формуле (43)
Lц =
104/12=8,6≈9 м
Фактическая площадь швейного цеха составляет: Sцф = 9·12 = 108 м2
Для анализа предварительной планировки агрегатов в швейном цехе
рассчитывается фактическая площадь, приходящаяся на одного рабочего по формуле
, (40)
где Sцф - фактическая площадь цеха, м2;
Nц -
фактическое число рабочих в швейном цехе, чел.
По формуле (40)
S1ф
=108/16=6,75≈7 м2
.3.5.2 Расчет условий согласования и
согласования времени организационных операций
Работа технологического процесса строится по принципу разделения труда
между рабочими, в результате которого каждый из них выполняет определенное
число технологических неделимых операций на определенном рабочем месте.
Совокупность технологических неделимых операций, выполняемых одним рабочим в
процессе, образует организационную операцию процесса.
Согласование времени операций производят путем объединения нескольких
технологических операций в организационную, с учетом условий согласования.
Затрата времени на каждую организационную операцию должна быть равна или кратна
такту процесса в пределах допускаемых отклонений. В данном случае для
пальтово-костюмной ассортиментной группы при наличии централизованных секций такт
рассчитывается для каждой секции отдельно.
, (41)
где τj -
такт j-той централизованной секции, мин; τизд- такт процесса, мин;
n -
число бригад, обслуживаемых i-той
централизованной секцией.
С учетом поправочного коэффициента
τII = τизд= 118,74мин.
Основное условие согласования обеспечивает равномерную загрузку каждой
организационной операции и определяется по формуле
оп.изд. = (0,9 ÷ 1,1) · τизд. ·k , (42)
где tопi - время выполнения организационной операции в i-той централизованной секции, мин;
τi- такт i-той
централизованной секции, мин;
k-
кратность организационной операции (число рабочих, выполняющих одну операцию),
чел.
Условия согласования представлены на основании данных предварительного
расчета швейного цеха только на основное изделие - пальто. Расчет условий
согласования времени организационных операций представлен в таблице 36.
Таблица 36 - Условия согласования времени организационных операций
|
№ секции
|
Число рабочих в секции, чел
|
Тр, мин.
|
τj, мин.
|
Кратность операции
|
Условия согласования, мин.
|
|
Расч.
|
Факт.
|
|
|
|
|
|
1
|
2
|
3
|
4
|
5
|
6
|
7
|
|
Без учета поправочного коэффициента
|
|
I
|
3,01
|
3
|
226,2
|
75,15
|
1
|
67,63 ÷ 82,67
|
|
II
|
4,99
|
5
|
375,01
|
75,15
|
1
|
67,63 ÷ 82,67
|
|
С учетом поправочного коэффициента
|
|
I
|
3,01
|
3
|
357,4
|
118,74
|
1
|
106,87 ÷ 130,61
|
|
II
|
4,99
|
5
|
592,51
|
118,74
|
1
|
106,87 ÷
130,61
|
|
|
|
|
|
|
|
|
|
|
|
|
Требования к комплектованию организационных операций:
комплектование организационных операций по видам работ, по причине малой
мощности технологических процессов на предприятиях сервиса это требование редко
удается соблюсти;
соблюдение технологической последовательности;
соблюдение поузловой обработки, т.е. один и тот же узел или деталь должны
обрабатываться на минимальном количестве рабочих мест;
соблюдение технологической целесообразности Ртц лучше отдавать
машинистке, сметчице или утюжильщице, чем передавать ручнице;
минимизация кратности операций k-I.
Для комплектования неделимых технологических операций в организационные
необходимо произвести анализ технологической последовательности обработки
условного изделия, который заключается в анализе загрузки оборудования.
Загрузка оборудования определяется по каждому виду работ отдельно для
каждой секции процесса по формуле
, (43)
где Npi - расчетное число рабочих по i-му виду работ, чел.;
∑ti - суммарная затрата времени по i-му виду работ по секции, мин.;
τизд - такт процесса, мин.
Комплектование организационных операций осуществляется в соответствии с
требованиями и условием согласования по каждой секции процесса отдельно. Целью
предварительной укрупненной комплектовки является определение специальности
каждого рабочего технологического процесса. При этом подбираются совместимые
виды работ для каждого рабочего, используя расчетное число по видам работ.
Далее комплектование организационных операций осуществляется на
графической модели условного изделия. Выполнение этого этапа совпадает с
составлением схемы разделения труда.
Схема разделения труда представляет собой нормативно-технический
документ, в котором отражается распределение технологических операций по
изготовлению определенного вида изделия между исполнителями. При оформлении
схемы разделения труда подводятся итоговые затраты времени по организационным
операциям; проставляется суммарная средневзвешенная затрата времени на
обработку условного изделия по каждой секции и процессу соответственно без и с
учетом поправочного коэффициента; общее число рабочих.
По каждой организационной операции рассчитываются норма выработки и
расчетное число рабочих. Норма выработки рассчитывается по формуле
, (44)
где Нв - норма выработки рабочих за смену на организационной операции,
шт;
R -
продолжительность рабочей смены, мин;
tоп -
затрата времени на организационную операцию(с учетом поправочного коэффициента),
мин.
Расчетное число рабочих определяется по формуле
, (45)
где Nр - расчетное число рабочих по
организационной операции, чел;
τизд - такт секции с учетом
поправочного коэффициента, мин.
Комплектовка организационных операций на графической модели условного
изделия представлена в графической части дипломного проекта (листы 1 и 2).
Технологическая схема разделения труда оформляется в виде таблицы 37.
Таблица 37 - Краткая схема разделения труда на изготовление женского
демисезонного пальто
Число рабочих по секциям, чел. Такт процесса по секциям, мин.
Ν1=3 τ1=118,74
Ν2=5 τ2=118,74
|
№ операции
|
Содержание операции
|
Вид работ
|
Раз ряд работ
|
Затрата вр с учетом % повторяемости, мин
|
Расчет ное число рабочих
|
Норма выработки, ед
|
Оборудова-ние, инстр, приспособ
|
|
1
|
2
|
3
|
4
|
5
|
6
|
7
|
8
|
|
I СЕКЦИЯ Подготовка изделия к примерке
|
|
Операция 1 Бригадирские функции Проверить наличие всех
деталей кроя Наметить меловые линии Перебить восстановленные меловые линии на
детали второй половины изделия Выкраивание подкладки мелких деталей
Сметывание среднего шва спинки, спинки по линии талии, боковых и плечевых
срезов Вметывание воротников в горловины, рукавов в проймы Заметать низ
изделия Контрольно-установочные операции Итого по операции 1 Итого по
операции 1 с учетом поправочного коэффициента
|
Рби Рби Рби Рби Ри Ри Ри Рби Рби/ Ри
|
6
|
8 6,7 17,22 6,99 14,779 10,18 8,591 3,44 75,9 119,93
|
1,01
|
4,002
|
Стол для ручных работ, мел, линейка, ножницы
|
|
Операция 2. Обтачать листочки с подлисточками, клапаны с
подклапанами Подрезать швы в углах листочек, клапанов и вывернуть на лицевую
сторону Прострочить листочки Наметить линии притачивания, восстановить линию,
сметать передние части полочек, вывернуть обтачки Притачать клапаны,
листочки, обтачки к полочкам Притачать подкладку карманов с листочкой и без,
с передними частями полочек на участке расположения карманов. Стачать
передние части полочек с боковыми, притачать подзоры к мешковинам Стачать
мешковину карманов Обметать швы стачивания Стачать рельефы, вытачки, складку,
кокетку Удалить нити сметывания, приметывания Проложить отделочную строчку
Стачать паты, концы шлевок, притачать надставку к поясу Подрезать шов
обтачивания, вывернуть на лицевую сторон Стачать вытачки, рельефы, складки,
фигурной кокетки, средний шов на спинке, передние срезы рукава, с патой
Удалить нитки сметывания вытачек, рельефов, кокеток, ср шва, складки Итого по
операции 2 Итого по операции 2 с учетом поправочного коэффициента
|
М/См/Ртц
|
5
|
76,65 122,6
|
1,054
|
3,9
|
Стол для ручных работ, мел, линейка,
ножницы машина DDL-8300N машина MO-6704S-OE4-40H
|
|
|
Операция 3. Приутюживание деталей кроя изделия,
дублирование ВТО полочек, спинки, воротников, локтевых швов рукавов Выметать
листочки, клапаны, сметать передние части полочек Удалить нитки после
выметывания, наметывания, сметывания, подрезать отверстие для карманов Сметать
вытачки, рельефы, складку, приметать кокетку Заметывание подбортов с
цельнокроеными бортами, приметывание планки
|
|
|
|
|
|
|
|
|
Сметать передние, локтевые швы рукавов, приметать
притачные, отложные манжеты к низу рукавов, заметать гладкий низ рукава
Надеть шлевку на пояс Наметить линии место расположения карманов, линии
притачивания на листочках, клапанов, паты Заключительная обработка изделия
после примерки Итого по 3 операции Итого по 3 операции с поправочным
коэффициентом Итого по 1 секции с учетом поправочного коэффициента
|
У/Пр/Р
|
5
|
71,73 113,3 357,4
|
0,95 3,01
|
4,2
|
Стол для ручных работ, мел, линейка, ножницы, Пресс CS-371KM «Панонния», утюг «Панонния» Cs-392, стол утюжильный «Панонния» Cs-291
|
|
II СЕКЦИЯ Дошив изделия после примерки
|
|
Операция 4 Бригадирские функции Уточнение после примерки
Выкраивание деталей подкладки полочки, спинки, рукава Вметать воротник в
горловину, рукава в пройму Сметать полочки и спинки по линии талии, Сметать
боковые швы, плечевые швы Итого по 4 операции Итого по операции с учетом
поправочного коэффициента
|
Рби/ Ри
|
6
|
78,17 123,516
|
1,04
|
3,886
|
Стол для ручных работ, ножницы,
|
|
Операция 5 Стачать детали сметанные по линии талии спинке и
полочки, складки, средний шов. Обтачать борта, притачать планку. Стачать
боковые, плечевые швы. Стачать передние и локтевые швы. Втачивание воротника
в горловину. Обтачать и притачать манжет к низу. Стачивание подкладки по швам
рукавов, и притачивания к припускам низа рукава. Втачать рукава в пройму.
Прострочить отделочные строчки по воротнику, борту, манжеты. Обработка
подкладки. Соединение подкладки с изделием. Удалить нитки сметывания при
дальнейшей обработки. Обметать боковые, плечевые швы Итого по операции 5
Итого по операции 5 с учетом поправочного коэффициента
|
М/См
|
5
|
74,44 117,616
|
0,99
|
4,08
|
Стол для ручных работ, ножницы, машина DDL-8300N машина MO-6704S-OE4-40H
|
|
Операция 6 Приутюжить швы стачивания на полочке, на спинке
по линии талии, складки, планку, борт Разутюжить боковые, плечевые швы
изделия Разутюжить швы втачивания воротника Разутюжить швы втачного рукава,
приутюжить манжеты Выутюжить подкладку полочки, спинки, рукава Приутюжить швы
втачивания рукавов в пройму Приутюжить низ изделия Удалить нитки сметывания,
приметывания, вметывания, вывернуть изделие на лицевую сторону Итого по
операции 6 Итого по операции 6 с учетом поправочного коэффициента
|
У/Ртц
|
5
|
76,925 116,542
|
0,98
|
3,94
|
утюг «Панонния» Cs-392, стол утюжильный «Панонния» Cs-291
|
|
Операция 7 Сметать швы рукавов, ручная обработка низа
рукавов, воротников, подклада изделия, соединения подклада с изделием Подшить
низ изделия. Заметать подкладку изделия, закрепить швы. Наметить линию
подгиба подкладки, низа изделия Обметать петли. Итого по операции 7 Итого по
операции7 с учетом поправочного коэффициента
|
СМ/Р
|
6
|
73,48 116,106
|
0,98
|
4,1
|
Стол для ручных работ, ножницы, Машина JC-9330- Машина HE-800A
|
|
Операция 8 Удалить нитки, очистить изделие. Окончательная
ВТО Наметить места пришивания пуговиц, пришить пуговицы
Контрольно-установочные операции. Пришивание талона Итого по операции 8 Итого
по операции 8 с учетом поправочного коэффициента Итого по 2 секции с учетом
поправочного коэффициента
|
У/П/ОтП/Р СМ/
|
6
|
74,208 118,73 592,51
|
0,999 4,99
|
4,04
|
Манекен, сантиметровая лента, мел, стол для ручных работ,
ножницы, утюг «Панонния» Cs-392,
стол утюжильный «Панонния» Cs-291
Пресс CS-371KM «Панонния», ОАГ - 2,
|
|
|
|
|
|
|
|
|
|
|
|
|
|
1.3.6 Анализ схемы разделения труда
Анализ разработанной технологической схемы разделения труда
осуществляется по следующим направлениям:
анализ структуры процесса и организационных операций;
анализ загрузки процесса и каждой организационной операции;
анализ загрузки оборудования;
анализ технико-экономических показателей процесса.
При использовании графической модели для описания условного изделия
анализ структуры процесса осуществляется на организационно-технологической
схеме процесса. Для этого каждая организационная операция в виде блоков с
принятым условным обозначением выстраивается в определенной очередности друг за
другом, исходя из последовательности обработки. Между блоками изображается
направление движения основных деталей изделия(полочки, спинки, рукава,
воротника, подкладки). После того, как на схеме получен минимальный путь
движения деталей в процессе их обработки без длинных передач и возвратов с
одного рабочего места на другое, организационным операциям окончательно
присваиваются номера и оформляется схема разделения труда (приложение И).
Анализ организационно-технологической схемы процесса позволяет рационально
расставить рабочие места в процессе с зигзагообразной передачей деталей
изделия.
Для анализа структуры организационных операций составлена таблица 38.
швейный услуга цех материал
Таблица 38 - Структура организационных операций
|
Наименование показателя
|
Виды операций
|
|
Специализированные
|
Неспециализированные
|
Итого
|
|
Р
|
У/П
|
СМ/Р
|
У/Р
|
М/См/Ртц
|
М/См
|
О/У/П/СМ/Р
|
|
|
Кол-во операций, чел.
|
2,05
|
0,98
|
0,98
|
0,95
|
1,054
|
0,99
|
0,99
|
8
|
|
Удельный вес,%
|
40
|
60
|
100
|
Правильность загрузки процесса и каждой секции проверяется по
коэффициенту согласования по формуле
(46)
где Nф- фактическое число рабочих в
секции, чел;
Nр -
расчетное число рабочих в секции, чел.
По формуле (50)
КсI = 3,01 / 3 = 1,003
КсII = 4,99 / 5 = 0,998
Каждая секция загружена равномерно, т.к. коэффициент согласования
находится в пределе: 0,98 ≤ Кс ≤ 1,02.
Работоспособность разработанной технологической схемы зависит от
правильности согласования времени каждой организационной операции с тактом
процесса. Анализ загрузки каждой организационной операции осуществляется по
диаграмме согласования времени организационных операций.
Анализ загрузки оборудования в процессе осуществляется на основе расчета
процента загрузки каждой единицы оборудования на тех организационных операциях,
где его используют по формуле
(47)
где
П - процент загрузки единицы оборудования, %;
tм(см,п) - время
технологических операций, выполняемых на данном оборудовании, в данной
организационной операции, мин;
tоп - время
организационной операции, мин.
Диаграмма
загрузки оборудования представлена в графической части проекта (лист 5) и в
приложении И пояснительной записки.
В
результате анализа производим догрузку оборудования.
Для
расчета технико-экономических показателей процесса разрабатывается сводная таблица
рабочих технологического процесса (таблица 39), в которой расчетное число
рабочих по разрядам и специальностям устанавливается по организационным
операциям технологической схемы разделения труда.
Таблица
39 - Сводная таблица рабочих технологического процесса
Тари-фный коэф-фици-ент
|
Расчетное количество рабочих по видам работ
|
Итого
|
Сумма тариф-ных разрядов
|
Сумма тариф-ных коэффициентов
|
|
|
М
|
СМ
|
Отп, Пр
|
У
|
Р
|
|
|
|
|
1
|
2
|
3
|
4
|
5
|
6
|
7
|
8
|
9
|
10
|
|
1
|
1
|
-
|
-
|
-
|
-
|
-
|
-
|
-
|
-
|
|
2
|
1,36
|
-
|
-
|
-
|
-
|
-
|
-
|
-
|
-
|
|
3
|
1,69
|
-
|
-
|
-
|
-
|
-
|
-
|
-
|
-
|
|
4
|
1,91
|
-
|
-
|
-
|
-
|
-
|
|
-
|
-
|
|
5
|
2,16
|
1,029
|
0,83
|
-
|
1,957
|
-
|
3,816
|
19,08
|
8,24
|
|
6
|
2,44
|
-
|
0,2
|
0,37
|
0,3
|
3,3
|
4,17
|
25,02
|
10,17
|
|
Всего
|
|
|
|
|
|
|
8
|
44,1
|
18,41
|
На основе сводной таблицы рабочих определяются основные
технико-экономические показатели (ТЭП) процесса: средневзвешенная затрата
времени на обработку изделия, фактическое число рабочих, выработка на одного
рабочего в смену, средний разряд, средний тарифный коэффициент, средняя
стоимость обработки изделия, коэффициент механизации, коэффициент использования
оборудования, представленные в таблице 41.
Количество основного оборудования и рабочих мест принимается по
технологической схеме. Количество запасного оборудования принимается из расчета
одной запасной машины на 3-4 универсальные, подряд расположенные в процессе.
Резервное оборудование находится у механика и служит для проведения
планово-предупредительного ремонта. Количество запасного и резервного
оборудования составляет 10% от основного. Число рабочих мест определяется по
количеству основного и запасного оборудования. Сводка оборудования и рабочих
мест технологического процесса представлена в таблице 40.
Таблица 40 - Сводная таблица оборудования и рабочих мест технологического
процесса
|
Тип и класс оборудования
|
Наименование и размеры рабочих мест
|
Число рабочих мест в процессе
|
|
|
|
|
SUNSTAR KM-250B
|
1,2 х 0,65
|
2
|
|
ТYPICALCN1-1D
|
1,2 х 0,65
|
1
|
|
CS790
|
1,2 х 0,65
|
1
|
|
62761P-3-Z
|
1,2 х 0,65
|
1
|
|
ПрессСs-363«Панония»
|
1,4 х 1,1
|
1
|
|
ОтпаривательАОБ-4
|
0,55 х 0,36
|
1
|
Таблица 41 - Расчет технико-экономических показателей процесса
|
Наименование показателя
|
Формула для расчета
|
Расчет
|
|
1
|
2
|
3
|
|
Средневзвешенная затрата времени на обработку изделия,
|
Тср - определяют по технологической схеме как сумму затрат
времени по всем организационным операциям
|
Тср=949,98
|
|
Фактическое число рабочих, чел
|
Nф - фактическое число рабочих в бригаде
|
Nф = 8
|
|
Выработка на одного рабочего в смену, ед.
|
В = М / Nф
,где М- сменный выпуск изделий бригады
|
В =4,121 /98= 0,515
|
|
Средний разряд (средняя квалификация рабочих бригады)
|
, где - сумма тарифных разрядов; Nр- расчетное число рабочихr = 37,627 / 8 = 4,7
|
|
|
Средний тарифный коэффициент
|
, где - сумма тарифных коэффициентовσ
= 16,68 / 8 = 2,085
|
|
|
Средняя стоимость обработки одного изделия, руб.
|
, где - дн. тарифная ставка рабочего
1-го разряда,С = (180*16,68)/16,68= 728,03
|
|
|
Процент механизированных работ, %
|
, где Σt
Σt
Σt -затраты времени на машинные,
спецмашинные и прессовые работы,Пм = 131,523 / 931,24 = 14
|
|
|
Коэффициент использования оборудования
|
, где Σt
Σt
Σt - затраты времени на машинные,
спецмашинныеи прессовые организационные операцииК= 131,523 / 931,24 = 0,28
|
|
|
|
|
|
|
Количество основного оборудования и рабочих мест принимается по
технологической схеме. Количество запасного оборудования принимается из расчета
одной запасной машины на 3-4 универсальные, подряд расположенные в процессе.
Резервное оборудование находится у механика и служит для проведения
планово-предупредительного ремонта. Количество запасного и резервного
оборудования составляет 10% от основного. Число рабочих мест определяется по
количеству основного и запасного оборудования.
Сводка оборудования и рабочих мест технологического процесса представлена
в таблице 42.
Таблица 42 - Сводная таблица оборудования и рабочих мест технологического
процесса.
|
Тип и класс оборудования
|
Количество оборудования
|
Наименование и размеры рабочих мест
|
Число рабочих мест в процессе
|
|
основного
|
запасного
|
резервного
|
всего
|
|
|
|
Япония «Juki» DDL-8300N (стач.)
|
1
|
1
|
1
|
3
|
1,2 х 0,65
|
2
|
|
Япония «Juki» MO-6704S-OE4-40H
(обметочная)
|
1
|
-
|
-
|
1
|
1,2 х 0,65
|
1
|
|
222 кл.
|
1
|
-
|
-
|
1
|
1,2 х 0,65
|
1
|
|
Япония, «Brother» JC-9330-(подшив.)
|
1
|
-
|
-
|
1
|
1,2 х 0,65
|
1
|
|
Япония, «Brother» HE-800A (петельн.)
|
1
|
-
|
-
|
1
|
1,2 х 0,65
|
1
|
|
622 кл.
|
1
|
-
|
-
|
1
|
1,2 х 0,65
|
1
|
|
Утюг«Панонния» Cs 392
|
1
|
-
|
-
|
1
|
1,5 х 0,95
|
1
|
|
Пресс «Панонния» Cs-371 КМ
|
1
|
-
|
-
|
1
|
1,4 х 1,1
|
1
|
|
Стол
|
1
|
-
|
-
|
1
|
1,4 х 0,8
|
1
|
|
Стол
|
1
|
-
|
-
|
1
|
1,1 х 0,4
|
1
|
Организационно-технологическая схема секций, диаграмма согласования
времени организационных операций и диаграмма загрузки оборудования представлены
в приложении Г. Технологическая операционная карта представлена в приложении Д.
1.3.7 Планировка рабочих мест и агрегатов
процессов швейных цехов
Детальная планировка рабочих мест предусматривает рациональное
использование площади цеха, обеспечение максимума комфорта и безопасности
работы исполнителя, научную организацию труда на рабочем месте, а также
кратчайший путь движения деталей в процессе обработки.
Рациональное использование площади цеха может быть обеспечено правильным
выбором типов и размеров рабочих мест по операциям процесса. Рабочее место
состоит из рабочего стола или оборудования и зоны для размещения исполнителя.
Размеры рабочего стола обеспечивает свободное размещение обрабатываемой детали
или изделия, оборудования, приспособлений, инструмента, необходимых для
выполнения операций.
По отношению к междустолью агрегата рабочие места расположены поперечно,
что обеспечивает короткие движения рук рабочего на приемах «взять» и «отложить»
деталь, индивидуальную рабочую зону для исполнителя.