Принцип действия тушильного вагона коксового цеха
СОДЕРЖАНИЕ
Введение
. Общая часть
.1 Назначение и устройства
коксового цеха
.2 Назначение и краткая
техническая характеристика основного оборудование коксового цеха
.3 Назначение, устройства и
принцип работы тушильного вагона
. Специальная часть
.1 Расчет привода механизма
управления створками карманов вагон весов
.2 Расчет основных параметров
гидроцилиндра передвижение стола
.3 Расчет основных деталей
гидроцилиндра на прочность
. Техника безопасности
.1 Охрана труда на участке
.2 Техника безопасности при
ремонте машины
.3 Промышленная санитария на
участке
.4 Противопожарная защита
.5 Охрана окружающей среды
Список литературы
ВВЕДЕНИЕ
Коксовый цех предназначен для производства кокса
из угольной шихты, и получения продукта коксования - коксового газа.
Цех построен по проекту организации «Гипрококс»
и введен в эксплуатацию в 1969 году.
В состав коксового цеха входят:
коксовая батарея № 5 со вспомогательными и
обслуживающими устройствами и сооружениями;
коксовая батарея № 7 со вспомогательными и
обслуживающими устройствами и сооружениями;
угольная башня №3 (кроме верха);
угольная башня №4 (кроме верха);
коксовые машины;
тушильная башня №3 с отстойниками и насосной;
тушильная башня №4 с отстойниками и насосной;
коксовая рампа № 3,4 с устройствами для подачи
кокса на коксосортировку;
установка беспылевой выдачи кокса КБ-7;
вент. установка поддува воздуха в подбатарейное
помещение КБ-7;
коксосортировка с устройствами для рассева
кокса, подачи его на приемные устройства доменного цеха или в железнодорожные
вагоны, с бункерами для промежуточного накопления.
Территория коксохимического производства АО
"Миттал Стил Темиртау" в составе 7 коксовых батарей, занимает площадь
1,08 квадратных километров. Проектная производительность по валовому коксу 6%
влажности при 7 действующих батареях составляет 4278 тыс. тонн в год.
Производительность коксовой батареи №7 составит до 1,5 млн. тонн при
коксовании термически подготовленной шихты, при этом производительность
коксовых цехов №1 и №2 может быть увеличена до 4778 тыс. тонн в год кокса 6%
влажности.
Коксохимическое производство представлено семью
коксовыми батареями с проектной мощностью 4300 тыс. тонн кокса;
углеподготовительным цехом; двумя углеобогатительными фабриками проектной
мощностью 13500 тыс. тонн рядового угля в год; двумя цехами улавливания
химических продуктов коксования; цехами: смолоперегонным, пекококсовым и
ректификации.
Углеобогатительная фабрика № 1 сдана в
эксплуатацию в 1966 году. Проектная мощность - 6 млн. тонн рядового угля в год.
Выход концентрата
составляет 53,7% с
зольностью 9,8%.
Углеобогатительная фабрика № 2 сдана в
эксплуатацию в 1980 году. Проектная мощность - 7,5 млн. тонн рядового угля в
год. Выход концентрата составляет 50,0% с зольностью 9,7%,
часовая производительность 900 тонн/час влажного угля.
Коксохимпроизводство получает более двадцати
наименований продукции: кокс, пекококс, сульфат аммония, толуол, нафталин,
феноляты, сольвент, соль, технические масла, пиридиновые основания, бензол.
. ОБЩАЯ ЧАСТЬ
1.1 Назначение,
устройство и технологический процесс коксового цеха
Коксовый цех служит для переработки угольной
шихты с получением кокса и газообразных химических продуктов (прямой коксовый
газ).
Каждая коксовая батарея обслуживается одним
коксовыталкивателем, одной двересъемной машиной и одним углезагрузочным
вагоном. Две коксовые батареи обслуживаются одним тушильным вагоном с
электровозом, одной угольной и одной тушильной башнями и коксовой рампой. При
этом для каждого блока предусматривается один резервный комплект коксовых
машин.
В процессе нагрева угля без доступа воздуха
происходят сложные химические и физико-химические превращения органической
части угля, в результате которых выделяются парообразные и газообразные
продукты и образуется твердый остаток- кокс.
Процесс производства продуктов коксования
состоит из следующих основных технологических операций:
загрузки камер коксования угольной шихтой;
выдача кокса;
мокрого тушения кокса;
сортировки кокса;
обогрева коксовых печей;
отвода и охлаждения газа из камер коксования.
Угольная шихта из угольной башни набирается в
бункер загрузочного вагона и через загрузочные люки загружается в камеру
коксования.
В камере без доступа воздуха под действием
высоких температур происходит коксование шихты.
Сырой коксовый газ с температурой 700-800о
С из камеры коксования отводится через стояки в газосборники, где охлаждается
аммиачной водой до 85-90 о С и по газопроводам отправляется в цех
химулавливания.
Обогрев камеры коксования происходит за счет
сгорания в вертикалах обогревательных простенков отопительного газа (смесь
коксового и доменного газа или коксового газа). Образовавшийся кокс из камеры
коксования выталкивается штангой коксовыталкивателя через коксонаправляющую
двересъемную машину в тушильный вагон и транспортируется электровозом в тушильную
башню.
Тушение кокса производится сточными водами,
очищенными биохимической установке, или технической водой. Часть воды, идущей
на тушение, испаряется, часть остается в коксе. Большая же часть воды входит в
оборотный цикл.
Вода оборотного цикла, загрязненная коксовой
мелочью, поступает для осветления в специальные отстойники. После отстоя вода
снова поступает для тушения кокса. К осветленной воде добавляют фенольную или
техническую воду для восполнения потерь.
Коксовый шлам периодически удаляют из отстойников
грейфером.
Потушенный кокс после отстоя вагона у башни
тушения выгружается на рампу, где выдерживается в течение 15 - 20 минут для
испарения влаги.
Кокс с рампы выгружается на подрамповый
транспортер и подается на коксосортировку.
На коксосортировке кокс по крупности разделяется
на четыре класса.
На валковых грохотах кокс крупностью более 40 мм
по транспортеру направляется в доменный цех или в бункера крупного кокса.
Во избежание потерь крупного кокса с мелкими
классами и соответственно увеличение выхода металлургического кокса,
подрешетный продукт валковых грохотов подвергается рассеву на контрольном
грохоте.
Кокс крупностью 40 мм рассеивается на
инерционном грохоте легкого типа на три класса: 25-40 мм, 10-25 мм, 0-10 мм,
которые подаются в соответствующие бункера для отгрузки потребителям.
Кокс крупностью выше 25 мм называется
металлургическим и используется в доменном производстве (класс более 35 мм) и
25-40 мм - в цветной металлургии.
Кокс крупностью 10-25 мм называется коксовым
орешком, широко используется в производстве ферросплавов.
Кокс крупностью 0-10 мм называется мелочью и
используется для агломерации железных руд.
Загрузка коксовых печей
Для обеспечения нормальной работы и стабильности
технологического режима коксовых печей угольные башни должны быть заполнены
шихтой не менее, чем на 2/3 части их вместительности. Во время плановых
остановок углеподготовительного цеха и углеобогатительных фабрик для проведения
ремонтов допускается снижение уровня до 1/3 вместительности.
Полная очистка угольных башен производится не
реже, чем раз в год
Угольная башня оборудована устройством для
пневмообрушивания шихты во время набора шихты в загрузочные вагоны.
Открывание и закрывание затворов угольной башни
механизировано. Затворы угольных башен оборудованы устройством для их обогрева
в зимнее время.
Набор шихты в загрузочный вагон на КБ-5
производится: по объему, на КБ-7 -по весу согласно показаниям весов,
установленных на каждом бункере, причем поочередно из всех рядов затворов
угольной башни по графику, утвержденному начальником цеха.
Загрузка печей ведется вслед за выдачей кокса.
Время между выдачей и загрузкой не должно превышать 8 мин.
При необходимости устранения графита со сводов,
стен камер допускается работа с одной печью пустой, при этом время между выдачей
и загрузкой печи не должно превышать 18 мин. В порядке исключения по разрешению
главного инженера коксохимпроизводства загрузка может производиться через две
пустые камеры, при этом разрыв между выдачей и загрузкой увеличивается до 20
мин.
Загрузочные вагоны оборудованы механизмами и
средствами механизация для осуществления технологических операций.
Загрузка камер шихтой производится бездымным
способом после:
установки и уплотнения дверей камеры с машинной
и коксовой сторонами батареи;
совмещения осей бункеров загрузочного вагона с
осями загрузочных люков камеры;
подготовки коксовыталкивателя для планирования
шихты.
Бездымность загрузки обеспечивается:
пароинжекцией, включаемой в момент начала
загрузки. Перед включением паро-инжекции крышки стояков закрываются, и печь
включается в газосборник;
очередностью выпуска шихты из бункеров
загрузочного вагона.
Давление пара, подаваемого на инжекцию в
коллекторах на верху печей должно поддерживаться не ниже 7 кгс/см2.
Планирование загруженной шихты в камере производится
автоматически по заданной программе движения планирной штанги, обеспечивающей
свободный проход газа в стояки со всей длины камеры и равномерное заполнение
камеры шихтой , при этом носок планирной штанги во время планирования не должен
совершать челночных движений под средним загрузочным люком. Планирование
производится после:
поочередного опорожнения крайних бункеров
загрузочного вагона (сначала - бункер коксовой стороны, затем - машинной
стороны) и закрытия крышки этих люков камеры печи;
прекращения схода шихты из среднего бункера;
высота подсводового пространства сразу после
планирования шихты должна составлять 250 - 350 мм. Провисание конца планирной
штанги при подаче ее на всю длину не должно превышать 250 мм (замер на шихту).
По окончании планирования средний люк камеры
закрывается крышкой. Все загрузочные люки камеры уплотняются и очищаются.
Подача пара на инжекцию в камеру должна быть надежно выключена.
Временем загрузки камеры считается время подачи
планирной штанги в камеру печи, это время фиксируется машинистом
коксовыталкивателя с точностью до 1 мин в сменном рапорте выдачи - загрузки
печей по показанию часов в кабине машиниста.
При работе на батарее не допускается наличие
более трех печей с открытыми крышками стояков.
Выгребаемая при планировании шихта возвращается
в камеры коксования, для чего она собирается в специальный бункер на
коксовыталкивателе и периодически возвращается при помощи скипового подъемника
в бункер загрузочного вагона с машинной стороны. Бункер предварительно
заполняется на одну треть объема шихтой из угольной башни.
Отложения графита в газоотводящих люках, стояках
и загрузочных люках коксовых камер удаляют механическим способом и методом
выжигания. Периодичность, порядок чистки и прожига графита устанавливается
распоряжением по цеху.
Крышки, привалочные поверхности, колена стояков
чистят барильетчики перед выдачей кокса. На КБ-7 очистка стояков и колен
стояков производится механизировано с загрузочного вагона.
Удаление графита из подвидового пространства
камеры и ее загрузочных люков производится автоматически во время выдачи кокса
сжатым воздухом от устройства на выталкивающей штанге коксовыталкивателя.
Допускается также кратковременная циркуляция воздуха в камере печи после выдачи
кокса через открытый загрузочный люк и стояки.
Верх печей коксовой батареи должен содержаться в
чистоте с соблюдением необходимых габаритов. Рельсовые пути загрузочного вагона
должны находиться в исправном состоянии.
Запрещается:
производить загрузку камер без планирования;
оставлять шихту в загрузочных люках, на верху
батареи и на крышках люков;
забрасывать остатки шихты, оголившуюся шихту и
мусор, а также фусы из газосборника в порожнюю печь;
задерживать загрузочный вагон при загрузке над
открытыми люками более 5 мин;
работать загрузочным вагоном с неисправными
механизмами загрузки и блокировки между ними;
работать при неисправных рельсовых путях и
неисправном контуре заземления;
работать с деформированной планерной штангой;
производить загрузку печей при заграничных или
забитых газоотводящих люках, стояках, коленах стояков;
пользоваться инжекцией более 6 мин;
использовать инжекцию для прожига газоотводящей
арматуры;
крепить рельсы загрузочного вагона к поперечным
анкерным стяжкам.
При наличии дефектов кладки или обогрева норма
загрузки данных печей может быть уменьшена. Порядок загрузки, режим обогрева
этих печей устанавливается распоряжением по цеху.
Выдача кокса из камер печей
Для каждой батареи коксовых печей приказом по
комбинату ежегодно устанавливается минимально-допустимый период коксования.
Периодом коксования называется промежуток
времени от загрузки печи до выдачи из нее кокса.
Оборотом печи называется время, состоящее из
периода коксования и времени обработки печи.
В соответствии с утвержденными
минимально-допустимыми периодами коксования и бизнес-планом производства кокса,
распоряжением по кокс химпроизводству устанавливается рабочий период коксования
для каждой батареи, который не может быть ниже утвержденного минимально
допустимого периода коксования.
Изменение оборота печей производится главным
инженером коксохимпроиз-водства.
Для обеспечения необходимого и равномерного
качества кокса, выдача его из печей батареи производится по цикличному графику
с соблюдением постоянства рабочих периодов коксования.
Цикличный график предусматривает разделение
оборота печей на батарее на две части - рабочую и ремонтную.
В течение рабочей части цикла производится
выдача и загрузка из всех камер печей.
Во время ремонтной части цикла выдача кокса не
производится, а ведется ремонт коксовых машин и механизмов кокс сортировки,
ремонт путей, уборка и другие работы, которые не могут быть выполнены без
остановки выдачи кокса. Время цикличной остановки должно быть не менее 2 ч.
Допускается также работа с полуциклами, т.е. с
проведением ремонтной части цикла после выдачи кокса из половины всех печей в
батарее.
Для выполнения капитальных ремонтов могут
предусматриваться плановые остановки не более 8 ч с необходимой корректировкой
температурного и гидравлического режимов батарей.
Исходя из установленного рабочего периода
коксования, на каждую смену составляется минутный расчетный график выдачи -
сменная норма выдачи. График утверждается начальником коксового цеха или его
заместителем.
Включение в график выдачи кокса из печей с
отклонением ± 5 мин от установленного периода коксования учитывается как
нарушение расчетного графика.
Печь, из которой кокс выдан с отступлением свыше
± 5 мин. учитывается, как выданная с нарушением графика.
Уровень эксплуатации оценивается расчетным
коэффициентом равномерности выдачи кокса (Красчетный) по формуле 1
где м - заданное графиком количество выдаваемых
печей;
а - количество печей, включенных в график с
отклонением от установленного периода коксования более чем на 5 мин.
Работа эксплуатационных бригад оценивается
исполнительным коэффициентом равномерности выдачи кокса (Кисп.) по
формуле 2
где п - фактическое количество выданных печей;
- количество печей,
выданных с нарушением графика;
м - заданное графиком количество выдаваемых
печей.
Для оценки работы коксового цеха в целом
определяется общий коэффициент равномерности выдачи кокса (Кобщ.) по
формуле 3
Выдача кокса из камер коксования производится в
определенной последовательности - серийности выдачи.
В коксовом цехе №2 установлена серийность «5-2».
Готовые печи отключаются от газосборного не
ранее, чем за 20 мин до выдачи. При работе на обороте 20 ч и более производится
отключение одного стояка от газосборного за 2 - 3 ч до выдачи кокса.
Выдача коксового пирога из камеры печи
производится одним комплектом коксовых машин, в который входит
коксовыталкиватель, двересъемная машина с коксонаправляющей и тушильный вагон с
электровозом. Между машинами действует двусторонняя радиосвязь.
Коксовый пирог выталкивается из камеры печи
выталкивающей штангой коксовыталкивателя через коксонаправляюшую двересъемной
машины в тушильный вагон после получения машинистом коксовыталкивателя сигнала
о готовности коксовой стороны к приему кокса (коксонаправляющая установлена на
место, тушильный вагон готов к приему кокса).
Временем выдачи коксового пирога считается время
соприкосновения головки выталкивающей штанги с коксовым пирогом. Машинист
коксовыталкивателя обязан точно фиксировать:
время выдачи кокса по показанию часов,
находящихся в кабине машиниста;
визуально замеченные дефекты в состоянии кладки
(раковины, прогары), нарушения режима обогрева (темные полосы на
обогревательных вертикалах), нарушения режима предыдущей загрузки (скосы,
неполнота загрузки и т.п.);
показание амперметра на выталкивающей штанге при
сдвиге коксового пирога.
Средняя норма нагрузки электродвигателя
выталкивающей штанги при выдаче коксового пирога (ампеража) составляет 210а,
предельная - 260а.
Каждый случай выдачи коксового пирога на
предельной нагрузке («тугой ход» пирога) разбирается для установления причин и
принятия необходимых мер по устранению «тугого хода».
При выдаче кокса в целях сохранности кладки
камер время от снятия дверей до их установки не должно превышать 10 мин.
В целях улучшения содержания дверей, рам и
другого оборудования коксовых печей, последние распределены на участке и
закреплены за эксплуатационными бригадами.
Внутренние поверхности рам коксовых печей
очищаются после выдачи кокса механизмом чистки по закрепленным участкам и
подлежат обязательной доочистке вручную специальным скребком. Внутренние
поверхности дверей очищаются во время выдачи кокса независимо от участков
механизмом чистки и подлежат обязательной доочистке вручную на закрепленном
участке. Перед каждой выдачей кокса необходимо зачищать крышку планирного окна
по закрепленным участкам.
Куски раскаленного кокса - «концы», падающие во
время съема дверей у армирующих рам и колонн немедленно убираются после выдачи
кокса.
Забрасывание «концов» в камеры коксования
запрещено, в случае «тугого хода» кокса при выдаче и при наличии слоя графита
на стенках камеры коксования с коксовой стороны.
Профилактические подмазки и торкретирование
дефектов кладки производится в период обработки печи, как перед выдачей кокса,
так и после выдачи, без вывода ее из серии.
Перед выдачей кокса из камеры необходимо, чтобы
были соблюдены следующие условия:
ось головки выталкивающей штанги
коксовыталкивателя устанавливается по оси камеры;
ванна двересьемной машины устанавливается
вплотную к дверной раме печи;
тушильный вагон устанавливается под печью
выдаваемой кокс.
Не допускается:
останавливать печь с открытой дверью больше, чем
на 5 мин, как перед выдачей, так и после нее;
предварительно отвинчивать ригели у
подготовленной к выдаче печи;
выдавать неготовый кокс;
выдавать кокс из печи рядом с пустой печью;
выдавать кокс деформированной штангой
коксовыталкивателя или головкой штанги, имеющей отклонение от вертикальной оси
более чем на 10 мм;
работать механизмами коксовых машин с
неисправными тормозами, путевыми и концевыми выключателями;
сметать на под камеры оголившуюся шихту и мусор;
повторно толкать коксовый пирог при выдаче;
выдавать печи при горении уплотняющих
поверхностей дверей и рам, планирных лючков.
Если коксовый пирог при выдаче не пошел после
первого толчка, старший мастер обязан лично проверить возможные причины. При
этом должен быть обязательно сделан осмотр коксового пирога через двери и люки,
проверено состояние рамы печи с коксовой стороны, положение и состояние
коксонаправляющей двересъемной машины, распределение температуры по длине
простенка печи, произведена подчистка головок и пола с уборкой смятого кокса.
После устранения причин заклинивания коксового пирога старший мастер дает
разрешение на повторный толчок в его присутствии.
Печь, кокс из которой при повторном толкании не
идет, считается забуренной.
О каждом случае забуривания коксового пирога в
печи составляют акт, устанавливающий причины забуривания и мероприятия, предотвращающие
забуривание кокса в дальнейшем.
В случае повторения «тугого хода» на двух - трех
следующих печах, выдача кокса прекращается до получения указания начальника
цеха или его заместителя и принятия необходимых мер.
Забуреную печь переводят на особый режим
обогрева и выдачи с выводом из серии.
В случаях длительного ремонта камеры коксования
для печи задают отдельный график выдачи кокса с выводом из серии.
Ввод в серию печей производят не позже, чем
через четыре-пять оборотов печей. До ввода в серию несерийные печи выдают кокс
по специальному графику в присутствии старшего мастера.
Пороги армирующих броней должны быть ниже пода
камер на 5-10 мм. По мере износа подов, подовые кирпичи торкретируются.
Геодезическая съемка путей коксовыталкивателя
должна производиться не менее одного раза в год.
При создании аварийной ситуации весь персонал
цеха действует согласно плана ликвидации аварий.
Кроме комплекта коксовых машин, обслуживающих
коксовую батарею, цех имеет резервные коксовые машины, находящиеся в полной
рабочей готовности.
Установка беспылевой выдачи кокса (УБВК)
При выдаче кокса из камер коксования происходит
выделение в атмосферу вредных веществ, в которых присутствуют как твердые
вещества (пыль коксовая), так и газообразные вещества (двуокись азота, аммиак,
ангидрид сернистый, окись углерода, бензол, нафталин, фенол и др.).
С целью снижения вредных выбросов в атмосферу на
КБ-7 предусмотрена двухступенчатая пылегазоочистная установка, которая
предусматривает очистку выбросов вредных веществ в атмосферу, только по твердым
веществам (пыль коксовая) с остаточной запыленностью до 20 мг/м3.
Производительность (по газу) установки-180000 м/ч.
Пылегазовоздушная смесь (с температурой до 70°С,
содержанием пыли до 10,0 г/м3), выделяющаяся при выгрузки кокса КБ-7
в тушильный вагон, улавливается зонтом специальной конструкции с двойными
стенками (1), поступает в сборный коллектор (2) и далее по газоходам «грязного
газа» с клапаном (3) поступают на очистку в пылевые циклоны (4) типа СКЦН-34,
являющиеся 1-й ступенью очистки. Запыленность газов после 1-й ступени очистки
составляет до 3 г/м3.
В качестве 2-ой ступени очистки установлены
рукавные фильтры типа ФРИР 1000*2 (5) с импульсной регенерацией (12). Очищенная
в рукавном фильтре газовоздушная смесь транспортируется дымососом (7) и по
газоходу чистого газа (6), с установленной на нем шумопоглощающей камерой (8) и
выбрасывается в дымовую трубу (9).
Сжатый воздух, подаваемый на регенерацию
фильтра, готовится в компрессорной станции, в состав которой входит
оборудование: винтовой воздушный компрессор, воздухосборник (ресивер),
адсорбционный осушитель, водомасляный сепаратор.
Выгрузка пыли из циклонов и рукавных фильтров
производится с помощью цементовоза.
Нормы технологического режима УБВК приведены в
таблице 1.1
|
Наименование
параметра
|
Значение
параметра
|
|
1
Температура перед рукавным фильтром, max,
°С
|
70
|
|
2
Перепад давления на фильтре (сопротивление фильтра), Па
|
2000-2500
|
|
3
Давление сжатого воздуха в системе, МПа
|
0,6
|
|
4
Давление сжатого воздуха в накопителях, МПа
|
0,5-0,6
|
|
5
Уровень пыли в бункерах
|
нижний
- верхний предел
|
Тушение и сортировка кокса
Кокс батареи № 5 принимается в тушильный вагон и
тушится под башней тушения №3, кокс батареи № 7 - тушится под башней тушения
№4.
Условия, необходимые для нормального приема
кокса в тушильный вагон:
откидные затворы (фартука) на тушильном вагоне
закрыты;
давление сжатого воздуха в системе не менее 4
кгс/см2;
перед выдачей кокса тушильный вагой установлен
так, чтобы передний обрез вагона находился на 1 -1,5 м впереди двересьемной
машины.
При приеме кокса тушильный вагон передвигают со
скоростью, обеспечивающей равномерное распределение кокса по всей длине вагона
и исключающей просыпание кокса на пути тушильного вагона.
После окончания приема кокса скорость движения
тушильного вагона к башне максимальна. Перед тушильной башней скорость вагона
замедляется.
Тушение кокса и отстой вагона с коксом
автоматизированы.
Правильность работы автоматической системы
тушения и отстоя по времени проверяется ежесменно.
Состояние оросительного устройства в тушильной
башне должно обеспечивать равномерное и быстрое тушение кокса.
Промывка оросительного устройства через опускные
трубы производится по графику, составленному в цехе.
Подаваемая на тушение кокса фенольная вода
должна быть очищена от смолы и масел.
Очистка отстойников оборотной воды башни тушения
от шлама производится по графику.
Потушенный кокс разгружается из тушильного
вагона на наклонную коксовую рампу. Батарею № 5 обслуживает рампа №3. Батарею №
7 обслуживает рампа № 4.
Кокс на рампе выдерживается в течение 15-20 мин.
Загрузка и разгрузка рампы ведется в
определенной последовательности, согласно ПТИ - 309 - КК2 - 09 - 05.
Открывание затворов рампы автоматизировано, кокс
с рампы подается конвейерами на коксосортировку.
Не допускается:
выдавать кокс из печей при отсутствии свободного
места на рампе;
производить очистку путей тушильного вагона во
время выдачи кокса из печей;
накапливать по краям рампы коксовые отходы и
мусор;
перегружать подрамповый транспортер и подавать
на него горящий кокс;
передавать по смене тушильный вагон, загруженный
коксом.
Загрузка транспортеров с рамп производится
равномерно.
Галереи конвейеров под рампами - огнестойкие,
утепленные, имеют отвод воды, должны содержаться чистыми и не загромождаться.
Колодцы для сбора сточных вод систематически очищаются, а вода откачивается.
Транспортеры под рампой и подающие кокс на
сортировку по мостам при од-нопоточном тракте имеют резервные привода. Проходы
по конвейерным галереям и мостам двухсторонние.
Ширина транспортеров под рампой, подающих и
промежуточных на коксосортировке выбрана такой, чтобы исключалась россыпь кокса
с них. Транспортеры закрыты кожухами в местах загрузки и выгрузки.
Приводные и натяжные барабаны футерованы
резиновой обшивкой. Запрещено применение транспортерных лент с прокладками из
легковоспламеняющихся материалов.
Секции роликов транспортеров содержатся в
исправном состоянии, легко вращаются и правильно устанавливаются, обеспечивая
этим нормальный ход ленты.
Классификация кокса по крупности производится
при помощи валковых и вибрационных грохотов. Разделение кокса производится с
первоначальным отделением крупных классов.
Валковые грохота коксосортировки нагружаются
равномерно. Перегружать валковые грохота запрещено.
При увеличении зазоров между звездочками на
валковых грохотах больше чем на 10 мм от их первоначальных размеров, звездочки
подвергаются замене. При износе сит, с увеличением отверстий более чем на
10-15% от заданного, сита подлежат замене.
Для уменьшения дробления кокса в бункерах
крупного кокса держат коксовые подушки.
Подрамповые транспортеры и транспортеры,
подающие кокс на коксосортировку, сблокированы с механизмами коксосортировки и
между собой. Рампа связана сигнализацией с пультом оператора коксосортировки.
Весь комплекс объектов приема, рассева и
погрузки связан сигнализацией и сблокирован.
Пуск механизмов и агрегатов коксосортировки
производится в строгой последовательности, начиная с погрузочных транспортеров
крупного кокса и кончая транспортером у рампы. Остановку коксосортировки
производят в обратном порядке.
Правильное проведение пуска и остановки
коксосортировки обеспечено централизованным управлением пульта оператора
коксосортировки.
На коксосортировке и в местах отгрузки кокса в
железнодорожные вагоны установлены механизированные пробоотборники. Отбор
производится по каждому классу крупности отдельно.
Места погрузки кокса оснащены предупредительными
железнодорожными сигналами.
Коксосортировка имеет маневровое устройство для
подачи вагонов при погрузке.
Запрещается:
работать с неисправной блокировкой механизмов
коксосортировки или неисправной сигнализацией;
работать с поврежденными ситами на грохотах;
подавать на коксосортировку, подвергать рассеву,
транспортировать в бункеры, грузить в железнодорожные вагоны или на
транспортеры подачи в доменный цех недотушенный кокс.
Таблица 1.2 Технические характеристики коксовых
печей батареи № 5 и батареи №7
|
Значение
|
|
|
Характеристика
|
К.Б.
№5
|
КБ.
№7
|
|
1
Длина полная камеры, мм
|
14940
|
15860
|
|
2
Длина полезная камеры, мм
|
14100
|
15020
|
|
3
Высота полная камеры, мм
|
5500
|
7000
|
|
4
Высота полезная камеры, мм
|
5200
|
6700
|
|
5
Ширина камеры, мм:
|
|
|
|
с
машинной стороны
|
385
|
380
|
|
с
коксовой стороны
|
435
|
430
|
|
средняя
|
410
|
410
|
|
6
Конусность камеры, мм
|
50
|
50
|
|
7
Полезный объем камеры, м3
|
30,1
|
41,3
|
|
8
Расстояние между осями камер, мм
|
1260
|
1400
|
|
9
Расстояние между осями вертикалов, мм
|
480
|
480
|
|
10
Количество вертикалов по длине простенка, шт.
|
30
|
32
|
|
11
Расстояние от свода печи до верха перевальных окон
|
|
|
|
вертикалов
(уровень обогрева), мм
|
900
|
|
|
12
Толщина стен регенераторов, разделяющих одноименные потоки, мм 13 Толщина
стен регенераторов, разделяющих противоположные потоки, мм
|
348
348
|
348
348
|
|
14
Ширина регенераторов, мм
|
912
|
912
|
|
15
Насадка регенераторов решетчатая, рядов
|
17
|
17
|
|
16
Общая толщина зеркала регенераторов, мм
|
350
|
350
|
|
17
Высота регенераторов, мм
|
2730
|
4100
|
|
18
Высота корнюрной зоны, мм
|
968
|
968
|
|
19
Внутренний диаметр корнюрного канала, мм
|
50
|
50
|
|
20
Проектная мощность батареи по коксу влажностью 6%, тыс.т
|
670
|
917
|
Рисунок 1.1 Технологическая схема производства и
сортировки кокса в коксовом цехе№2
.2 Назначение и краткая
техническая характеристика основного оборудования цеха
Таблица 1.1 Спецификация основного оборудования
цеха
|
Наименование
|
Количество
|
Назначение
|
Характеристика
|
|
|
оборудования
|
комплектов
|
штук
|
|
|
|
|
1
|
2
|
3
|
|
4
|
|
|
1.1
Углезагрузочный трехбункерный вагон
|
|
2
|
предназначен
для выполнения следующих операций: приема заданного количества шихты из
угольной башни; транспортировки ее к загружаемой коксовой печи; выгрузки
шихты в печь; чистки стояков от графита; открывания и закрывания затворов
(шиберов) угольной башни; съема и установки крышек загрузочных люков и чистки
их от нагара.
|
Оборудован
механизмами: передвижения,чистки стояков, затворов и телескопов, люкосъема,
обслуживания затворов угольной башни, включения крышки пароинжекции;
встряхивающим устройством. Общая вместимость трех бункеров - 30,3 м3,
скорость передвижения - 1,57 м/с
|
|
|
2.1
Коксовыталкиватель
|
|
2
|
предназначен
помимо выталкивания пирога кокса из печи для съема и установки дверей с
машинной стороны печей, очистки рам и дверей, обезграфичивания сводов камеры.
|
Оборудован
механизмами: передвижения, выталкивающей штанги; планирным устройством,
состоящим из механизма открывания планирной дверцы, шшнирной штанги, бункера
для приема шихты; двересьемного уст ройства, состоящего
|
|
|
|
|
|
из
двересъемной штанги, двересъема, механизмов чистки рам и дверей, передвижения
двересъема, поворота двери; обсзграфичивающим устройством. Скорость
передвижения -1,57 м/с, скорость рабочего движения выталкивающей штанги -0,52
м/ч
|
|
|
3.1 Скиповый
подъемник для шихты
|
|
2
|
шихта
скиповым подъемником угольной башни подается на загрузку коксовых печей.
|
Состоит
из нижнего бункера, направляющих металлоконструкций, скиповой банки, лебедки,
верхнего бункера
|
|
|
4.1
Двересьемная машина с коксо-направляющей
|
|
2
|
Предназначена
для снятия и закрывания дверей печи с коксовой стороны. Помимо этого ее
назначением является очистка рамы и двери от смоляных и графитовых отложений,
направление в тушильный вагон коксового пирога, выдаваемого из печи.
|
Оборудован
механизмами: передвижения, обслуживания ригельных винтов, отвода и срыва
двери, чистки дверей и рам. Скорость передвижения - 1,4 м/с
|
|
|
5.1
Тушильный вагон с наклонным дном кузова для мокрого тушения кокса
|
|
3
|
Кокс
из печи выдают в равномерно движущийся вагон, предназначаемый для приема,
перемещения кокса под башню для его тушения
|
Модель
26-4013, угол наклона - 28°, полезная вместимость - 23 т, оборудован
механизмом открывания затворов ("фартуков")
|
|
|
6.1
Электровоз коксотушильный
|
|
2
|
Для
передвижения вагонов с коксом общей массой до 100 т между коксовыми печами и
тушильной башней
|
Модель
ЭК-14, скорость при приеме кокса -1,5 км/ч, скорость с груженым вагоном-25
км/ч
|
|
1
|
предназначены
для подъема, опускания и горизонтального перемещения по прямым и радиусным
участкам пути груза весом в пределах номинальной
|
Грузоподъемность
- 10т, высота подъема -24м
|
|
|
7.2
Электроталь
|
|
|
|
Грузоподъемность
-5 т, высота подъема -32м
|
|
|
|
|
грузоподъемности,
подвешенного на крюк.
|
|
|
|
Тушильная
установка
|
|
|
8.1
Центробежный насос
|
|
2
|
предназначен
для перекачивания воды температурой не выше 80°С
|
Тип
550Д22, Q=550 м/с,
напор - 32 м
|
|
|
8.2
Центробежный насос
|
|
2
|
|
Д
3200-ЭЗБ-2 Q= 2000
м/ч, напор 25 м
|
|
|
9.1
Кран-балка
|
|
1
|
|
Грузоподъемность
- 3.2 т, высота подъема 12 м
|
|
|
10.1
Грейферная тележка
|
|
1
|
предназначены
для подъёма и транспортирования сыпучих и кусковых материалов
|
Тип
ТМГ307, грузоподъемность - 3,2 т, высота подъема -18 м
|
|
|
Коксосортировка
№1
|
|
|
11.1
Копир №3
|
|
1
|
|
Движение
круговое, V=2,85
м/мин
|
|
|
11.2
Копир №4
|
1
|
|
|
1301645-ТХ.С
|
|
|
Коксосортировка
№2
|
|
|
12.1
Транспортер ленточный К-О под-рамповый
|
|
1
|
предназначен
для транспортировки кокса с рампового конвейера на грохота.
|
L=91 м, В=1400 мм
|
|
|
12.2
Транспортер ленточный подрамповый К-3
|
|
1
|
предназначен
для транспортировки кокса с рампового конвейера на грохота.
|
L=98,73 м В=1600
мм V1.6 м/с, Q=200тн/ч
|
|
|
13.1
Транспортер ленточный К-4
|
|
2
|
|
L=134,2 м, В=1600
мм, V=l,6
м/с, Q=200 т/ч
|
|
|
14.1
Транспортеры ленточные К-2а, К-2б
|
|
2
|
|
L=63,7 м, В=1400
мм, V=l,37
м/с, Q=250 т/ч
|
|
|
15.1
Транспортеры ленточные K-3a, К-5б
|
|
2
|
|
L=36,03 м, В=1400
мм, V=l,37
м/с, Q=250 т/ч
|
|
|
15.2
Транспортер К-5в
|
|
1
|
|
L=36,124 м, В=1600
мм, V=l,6
м/с, Q=200 т/ч
|
|
|
16.1
Транспортер ленточный К-6
|
|
1
|
|
Р
L=21,5 м, В=1000
мм, V=l,56
м/с, Q=100 т/ч
|
|
|
17.1
Транспортер ленточный К-11
|
|
1
|
|
L=98,8 м, В=1400
мм, V=l,88
м/с, Q=400 т/ч
|
|
|
18.1
Транспортер ленточный К-12
|
|
1
|
|
L=21,3 м, В=1400
мм, V=l,85
м/с, 0=400 т/ч
|
|
|
19.1
Транспортер ленточный К-1
|
|
|
|
L=98,8 м, В=1400
мм, V=l,88
м/с, Q=400 т/ч
|
|
|
20.1
Грохот сдвоенный стационарный 14-валковый
|
|
2
|
|
L=3198 м, В=1850
мм, Q=250 т/ч,
рассев кокса 0-40 мм и более 40 мм
|
|
|
21.1
Грохот дисковый 14-ти валковый
|
|
2
|
предназначены
для рассеивания кокса от 0 до 75 мм
|
1ГДП
14x1,8-25
(левый)
|
|
|
22.1
Грохот инерционный двух ситный
|
|
2
|
|
Тип
ГИЛ-52, Q=150 т/ч,
рассев по классам 25-40 мм, 10-25 мм, 0-10 мм
|
|
|
23.1
Кран электрический
|
|
1
|
|
Тип-ПК-ЗООа,
грузоподъемность - 3 т, высота подъема - 22 м
|
|
|
24.1
Кран подвесной
|
|
1
|
|
Тип-ПК-302,
грузоподъемность -5 т, высота подъема - 30 м
|
|
|
25.1
Маневровое устройство
|
|
2
|
|
Тип
МУ-12, трос [диаметром 28 мм
|
|
|
26.1
Тягодутьевая машина угол разворота 90 С
|
|
2
|
|
1303231-ТХ.С
скор.вр 1500 об/мин.
|
|
|
27.1
Циклон пылевой
|
|
2
|
|
Д=
3000мм ЦП-2-3000
|
|
|
28.1
Бункер к циклону
|
|
2
|
|
Объем
10,5 м3 , Д 2400 1176496-КМ л.1-4
|
|
|
29.1
Глушитель шума
|
|
2
|
|
Д
1250мм1303231-ТХ.С
|
|
|
30.1
Компрессор винтовой стационарный
|
|
3
|
|
Q=6,3 м3/мин,
Р -7,5 бар. 1294798-ТХ.С
|
|
|
31.1
Воздухосборник
|
|
1
|
|
V =10м3
УХЛ-1 "Снеяшянскхиммаш"
|
|
|
32.1
Воздухосборник
|
|
1
|
|
V= 4м3
УХЛ-1 "Снежнянскхиммаш"
|
|
|
33.1
Мостовой ручной, подвесной кран
|
|
1
|
|
Q 3,2 тн L5.1
м, пролет 4,5 м, высота подъема б м
|
|
|
Примечания
1 L - длина 2
В - ширина 3 V-скорость 4 Q
- производительность
|
|
|
|
|
|
|
|
|
1.3 Назначение,
устройства и принцип работы тушильного вагона
коксовый цех тушильный вагон
Тушильный вагон предназначен для приема
выдаваемого из печи раскаленного кокса, транспортирования его в тушильную башню
и к коксовой рампе. Передвигается он электровозом по рельсовому пути,
уложенному вдоль фронта батареи с коксовой стороны. Работает тушильный вагон в
три смены. Условия работы тушильного вагона исключительно тяжелые,- каждые 8-
10 мин из коксовой камеры через корзину кокс направляющей в вагон загружается
23 т кокса, раскаленного до температуры 1000-1050°С. Во время погрузки и
передвижения вагона с коксом под тушильную башню металлоконструкция его
нагревается до высоких температур , затем в течение 1,5-2 мин охлаждается
водой, подаваемой для тушения кокса. Наличие корродирующей среды, резкие
колебания температур и другие факторы существенно ускоряют износ
металлоконструкции тушильного вагона.
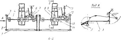
Тушильный вагон состоит из металлоконструкции
рамы двух двухосных поворотных тележек двух затворов с механизмами управления;
воздухопроводов, для подвода воздуха к пневмоприводная механизмов и тормозам.
Металлоконструкция вагона представляет собой
сварной каркас, изготовленный из профильного и углового металла, и днище,
наклоненное под углом 28°. Такое расположение днища обеспечивает
самостоятельный сход кокса при выгрузке его на рампу. На внутренней боковой
поверхности каркаса и поверхности днища при помощи болтов с потайной головкой,
прикреплены съемные плиты , изготовленные из жароупорного чугуна или стального
литья. Для свободного расширения при нагревании и отводе воды и шлама при тушении
кокса, плиты укладывают с зазором 5-8 мм. Под плитами к каркасу днища для
предохранения механизмов от попадания воды и шлама по всей площади приварен
стальной лист толщиной 5 мм. На боковой и торцевых сторонах кузова установлены
защитные сетки, предназначенные для предотвращения падания кокса за пределы
вагона при загрузке.
В средней части кузова для разделения кокса на
два потока в разгрузочные люки установлена перегородка, состоящая из двух
стенок, облицованных чугунными плитами. К лобовой части вагона по всей его
длине на шарнирах 3 подвешены два затвора разгрузочных люков.
Над затворами для контроля равномерного
заполнения вагона коксом установлено шесть датчиков-сигнализаторов. Для точной
установки вагона возле коксонаправляющей двересъемной машины на верхней части
наклонного днища возле торцовой стенки кузова установлен сигнализатор. Точность
установки вагона под загрузку фиксируется нажатием линейки коксонаправляющей на
сигнализатор, а также загоранием лампочки в кабине машиниста электровоза.
Под дном кузова по всей длине установлены желоба
для сбора шлама и воды во время передвижения вагона. Установка желобов
исключает засорение шламом рельсового пути вагона.
Рама вагона клепаной или сварной конструкции
является несущей частью. Она установлена на двух двухосных поворотных тележках
с одно реберными колесами диаметром 900 мм. К раме крепится кузов вагона,
буфер, автосцепка и контргруз, обеспечивающий равновесие нагрузки на раму при
наличии в кузове вагона кокса. Кроме того, под наклонным днищем на раме установлены
два механизма управления затворами вагона.
Для предохранения от попадания воды к раме и
кузову прикреплены боковые защитные листы.
Управление тормозами вагона осуществляется из
кабины машиниста электровоза.
Механизм управления затворами (рисунок. 1.3.1)
состоит из пневмоцилиндра 5, двойного действия с поршнем 16, неподвижно
закрепленным на штоке 9 и заканчивающимся зубчатой рейкой. Рейка, опираясь на
направляющий ролик 15, находится в зацеплении с зубчатым колесом 8, неподвижно
насаженным на вал 4. Зубчатое колесо, направляющий ролик и выступающая часть
штока с рейкой помещены в корпус, соединенный с корпусом цилиндра. Смазка
трущихся поверхностей осуществляется маслом, залитым в корпус зубчатой
передачи. Вал шестерни установлен на подшипниках качения и своими концами, при
помощи кривошипа 3 и тяги 2, соединен с затвором 1 вагона.
Поворотом рукоятки крана на открывание затворов,
установленного на пульте управления электровозом, сжатый воздух под давлением
600 кПа поступает из пневматической системы по трубопроводам в переднюю часть
цилиндра (со стороны поршня). Поршень при передвижении приводит в движение
рычажнук> систему, поворачивающую затвор на угол 55°. Открывается люк для
выхода кокса. После опорожнения вагона от кокса, переключением рукоятки крана в
положение «Закрыто» воздух подается в цилиндр со стороны штока. Происходит
закрывание люка затвором. При закрывании затворов рычажная система становится
на «замок», т. е. шарнирное соединение кривошипа 3 с изогнутой частью тяги 2
останавливается ниже оси крепления кривошипа, чем исключает произвольное
открывайте затвора.
Рисунок. 1.3.1 Кинематическая схема механизма
управления затворами тушильного вагона
Кроме основного привода на механизме установлен
ручной аварийный привод. Он состоит из зубчатого колеса 14, установленного
неподвижно на валу 4\ шестерни 13, подвижно закрепленной на валу 12; рычага 10,
предназначенного для ввода в зацепление шестерни 13 с зубчатым колесом 14 (при
работе механизма основным приводом шестерня и колесо разъедене- ны); червячного
колеса 7, неподвижно установленного на валу и находящегося в зацеплении с
червяком 6 и штурвала 11, соединенного с тихоходным валом червячной передачи
Для облегчения труда машиниста на тушильном
вагоне установлена сигнализация, позволяющая контролировать установку вагона по
отношению к коксонаправляющей; равномерность заполнения вагона коксом и
положение загрузочных люков. Сигнализация состоит из контактных датчиков, установленных
на затворах и каркасе вагона и сигнальных лампочек, установленных в кабине
машиниста электровоза.
Равномерное распределение кокса в кузове
тушильного вагона контролируется машинистом по загоранию ламп сигнализаторов,
Первая сигнальная лампа загорается как только порция кокса в кузове замкнет
электрическую цепь лампы. Далее равномерность заполнения регулируется скоростью
передвижения вагона вдоль батареи и контролируется последовательным включением
ламп. После выгрузки кокса на рампу, лампы гаснут. Точность установки
тушильного вагона возле коксонаправляющей контролируется загоранием сигнальной
лампы.
Для контроля положения затворов тушильного
вагона, на каждый затвор установлено по одному конечному выключателю, а в
кабине машиниста электровоза по две лампы на каждый выключатель - красного и
зеленого цвета. Зеленая сигнализирует о полностью закрытом затворе, красная -
об открытом положении затвора.
Во время эксплуатации коксотушильного вагона
следует проверять исправность сцепного устройства и тормозную систему;
состояние пружинных рессор и крепление футеровочных плит, а также плотность
прилегания затворов к стенке вагона. Особое внимание обращается на состояние
пневмоприводов и наличие смазки в узлах трения.
. СПЕЦИАЛЬНАЯ ЧАСТЬ
2.1 Расчет привода механизма
управления створками карманов вагон весов
Исходные данные:
. Длина створки,
мм L = 15470
. Ширина створки,
мм B = 6000
. Расстояние от оси вращения створки до
плоскости створки, мм A
= 1450
. Расстояние от верхней кромки створки до
верхнего уровня бункера, мм H
= 452
. Угол наклона створки:
при закрытом
=
280
при открытом
=
560
. Вес створки,
т q = 0.48
Решение:
Момент на кривошипе можно определить указанным
выше способом по формуле
М а= Мс
(1.1)
(см. расчет привода механизма управления
створками бункера перегрузочного вагона; обозначения здесь те же).
Рисунок 1.2.1 схема механизма управления
створками бункера вагон - весов.
. В начале открывания бункера (расчет
ведем для начального периода открывания, так как после поворота кривошипа на
угол 2° створки открываются под действием веса материала) моментом, создаваемым
касательным усилием, действующим по створке, пренебрегаем из-за •его
относительной малости:
МС1 =
(1.2)
МС1=
1. В
начале закрывания бункера (как показало исследование механизма, максимум
момента на кривошипе приходится на начало закрывания).
Момент создается под воздействием собственного
веса створки:
MC2=q (
(1.3)
C2
=
14.853(
.5592
- 1.45
Момент на ведущем звене (
рисунок
1.2 )

Рисунок 1. 2. Схема к расчету
механизма управления створками бункера вагон - весов. а - положение механизма
при закрытом бункера. б - положение механизма при открытом бункере.
. В начале открывания бункера
Ма1 = Мс
(1.4)
Ма1 = 179,014
1. В начале закрывания бункера
Ма2 = Мс2
(1.5)
Ма2 = 7,65
2. Максимальный суммарный момент на валу
кривошипов одного бункера с учетом потерь в шарнирах.
М = Мамакс
;
(1.6)
где
-
к.п.д. шарнирного механизма (
= 0,9 )
М = 2
Определение размеров поршня воздушного цилиндра.
Принимаем:
Необходимый момент на валу кривошипов,
тм М
= 0.69
Диаметр шестерни, сцепленной с рейкой,
мм D
= 170
К.П.Д реечной передачи
=
0.95
Давление воздуха в цилиндре,
кг/см2
=
6
Угол поворота вала кривошипов
=
1230
Dп
- Диаметр поршня воздушного цилиндра:
Dп
=
;
(1.7)
- ход поршня
=
(1.8)
- усилие на рейки
Q =
;
(1.9)
=
=
757000 кг
S =
п
=
=
400,89 мм
2.2 Расчет основных
параметров гидроцилиндра передвижения стола
Основными параметрами гидроцилиндра является:
диаметр поршня и штока, величина рабочего хода, толщина стенки гильзы цилиндра,
толщина передней и задней стенок, усилие на штоке, скорость перемещения поршня
со штоком, а также механический коэффициент полезного действия (КПД).
Исходные данные:
|
1.
Максимальное давление в гидроцилиндре, МПа
|
|
Pmax=0.9
|
|
|
2.
Номинальное давление в гидросистеме, МПа
|
|
Рном=0.65
|
|
|
3.
Рабочее давление в поршневой полости, МПа
|
|
Р=0.6
|
|
|
4.
Диаметр штока, м
|
|
d=0.25
|
|
|
5.
Диаметр поршня, м
|
|
D=0.4
|
|
|
6.
Скорость движения поршня при прямом ходе, м/с
|
|
Vп=0.05
|
|
|
7.
Ход поршня, м
|
|
Н=0.33
|
|
|
8.
Высота уплотняющей манжеты на поршне, м
|
|
hп=0.025
|
|
|
9.
Высота уплотняющей манжеты на штоке, м
|
|
hш=0.125
|
|
Решение:
. Определяем давление в сливной полости
гидроцилиндра:
Рсл= 0,05·Рном, (2.1)
где Рном - номинальное давление в
гидросистеме, МПа.
Рсл= 0,05·0.65= 0,033 МПа.
. Определяем площадь поршня на выталкивание
штока
, (2.2)
где D
- диаметр поршня, м.
м2.
. Определяем площадь поршня на
втягивание штока:
, (2.3)
где d
- диаметр штока, м.
м2.
. Расчетное движущее усилие на штоке
при подаче жидкости в поршневую полость
, (2.4)
где Р - рабочее давление в поршневой полсти,
Па;
Т - сила трения в уплотнениях гидроцилиндра, Н.
, (2.5)
где f
- коэффициент трения резины о металл, f
= 0,01¸0,1
hп
- высота уплотняющей манжеты на поршне, м;
hш
- высота уплотняющей манжеты на штоке, м.
Н.
.
. Определяем расчетное движущее
усилие на штоке при подаче жидкости в штоковую полость:
(2.6)
. Определяем расход рабочей жидкости
в гидроцилиндре по известной скорости перемещения штока.
, (2.7)
где Vп
- скорость движения поршня при подаче жидкости в поршневую полость, м/с
Q= 0,05·0.126 =
0.0063 м3/сек.
. В гидроцилиндре двухстороннего действия с
односторонним штоком скорости движения при прямом и обратном ходе различны:
а) при подаче жидкости в поршневую полость:
Vп= 0,05 м/сек
б) при подаче жидкости в штоковую полость
(2.8)
м/сек.
. Определяем отдаваемую мощность
гидроцилиндра
No= Pn·Vn·10-3 (2.9)
= 66093.087·0,05·10-3=
3.3065 кВт.
9. Определяем потребную мощность гидроцилиндра
Nn= P·Q·10+3 (2.10)
Nn=
0.6·0.0063·103= 3.78 кВт.
. Определяем механический КПД гидроцилиндра
(2.11)
.
Полученное расчетное КПД находиться
в пределах 0,87-0,93 что означает о правильном выборе параметров гидроцилиндра.
2.3 Расчет основных
деталей гидроцилиндра на прочность
Исходные данные:
|
1.
Максимальное давление в гидроцилиндре, МПа
|
|
Pmax=0.9
|
|
|
2.
Диаметр штока, м
|
|
d=0.25
|
|
|
3.
Диаметр поршня, м
|
|
D=0.4
|
|
Решение:
Определение геометрические параметры
гидроцилиндра. В связи с тем что возможно повышение температуры масла из-за повышения
температуры окружающей среды, то возможно повышение давления в системе (из-за
уменьшения вязкости). Поэтому при расчете геометрических параметров
гидроцилиндра, учитывая избыточное давление, будем увеличивать полученные
значения в пределах приблизительно в 1,4-4 раза.
. Толщина стенки гильзы гидроцилиндра:
, (2.12)
где D
- диаметр поршня, м;
[d]Г -
допускаемое напряжение растяжения материала гильзы, Па.
м
полученное значение увеличиваем в 2
раза и округляем до 0,02 м (20 мм).
. Толщина передней стенки
гидроцилиндра рассчитывается, при условии, что она является направляющей для
движения штока.
, (2.13)
где d
- диаметр штока.
м.
Принимаем толщину передней стенки
600 мм.
. Толщина задней стенки
гидроцилиндра:
, (2.14)
где [d]З.С.
- допускаемое напряжение растяжения материала задней стенки, Па.
Для сталь 45 [d]З.С.
= 120 МПа.
м,
полученное значение округляем до
0,015 м (15 мм).
3. ТЕХНИКА БЕЗОПАСНОСТИ
3.1 Характеристика
условий труда на участке
Основными производственными вредностями в
коксовом цехе являются коксовый и доменный газ, угольная и коксовая пыль,
температурное излучение.
Источниками пылегазовых выбросов в коксовом цехе
являются:
а) загрузка коксовых печей угольной шихтой;
б) выделение газообразных веществ в процессе
коксования, которые через не плотности дверей и люков попадают в атмосферу;
в) выдача кокса из коксовых печей;
г) мокрое тушение кокса;
д) выброс химических примесей дымовых газов;
е) выделение пылевидных частиц кокса при
сортировке кокса и транспортировке его в доменный цех.
Характеристика коксового газа:
Средний состав коксового газа, %:
водород 60,0 -
61,0
метан 22,0
- 23,0
окись углерода 6,0
- 7,0
углекислый газ 2,0
азот 3,0
тяжелые углеводороды 2,2
кислород, не более 1,0
удельный вес, кг/м3 0,45
температура вспышки, о С 560
цвет бесцветный
запах характерный
запах нафталина
теплота сгорания, ккал/м3 ,
не менее 3800-3900
Токсическими свойствами обладают окись углерода,
двуокись углерода и тяжелые углеводороды. Санитарными нормами установлена
предельно-допустимая концентрация окиси углерода в воздухе рабочих помещений -
20 мг/м3 воздуха.
Окись углерода концентрацией 250 мг/м3
и выше действует на человека смертельно. Отсутствие загазованности помещений
достигается созданием надежной герметизации газового оборудования и полным устранением
утечек газа через сальниковые и фланцевые соединения.
Коксовый газ в определенных объемах с воздухом
образует взрывоопасную смесь. Нижний предел взрываемости коксового газа в
воздухе - 6%, верхний предел - 30%. Для предупреждения возможных взрывов не
допускается образование смеси воздуха с газом, для чего все вентиляционные
системы должны постоянно находиться в исправном состоянии, а рабочее место
хорошо проветриваться.
Контроль состояния воздуха на рабочих местах
осуществляется отбором проб воздуха в тоннелях, кантовочных помещениях,
коксосортировке.
Характеристика доменного газа.
Средний состав доменного газа, %:
водород 5,2
кислород 0,4
метан
0,2
азот
55,6
окись углерода
25,0
двуокись углерода 13,6
плотность доменного газа, кг/м3 288
теплота сгорания, ккал/м3 , 912
В местах повышенной опасности, а также у
оборудования и механизмов, представляющих опасность травмирования людей,
вывешиваются предупредительные плакаты и знаки или устраивается световая и
звуковая сигнализация.
Аспирационные системы сблокированы с
технологическим оборудованием так, чтобы исключался запуск оборудования без
запуска аспирационных систем.
Ленточный конвейер К-0 расположен на участке
коксосортировки коксового цеха № 2 и предназначен для транспортировки кокса с
рампового конвейера на грохота.
При ремонте ленточного конвейера К-0
предполагается провести работу по замене ленты, восстановлению деталей барабана
и привода, замене роликоопоры холостой и рабочей ветви, а также деталей
натяжного устройства и выполнить операции по расшивке и установке новой лента,
осмотр, ревизию и замену роликоопор, разборку узла барабана и восстановлению
оси и вала, замену подшипников.
Работы, выполняемые во время ремонта, относятся
к работам средней тяжести II
б (работы выполняются в условиях, соответствующих предельно-допустимым
значениям производственных факторов), класс точности работ IV
(работы средней точности, наименьший размер объектов различения 0,5-1 мм).
Площадь производственных помещений 6327,9 м2,
площадь участка 1008 м2.
Основными причинами несчастных случаев на
участке является: несоблюдение правил техники безопасности ремонтным
персоналом, отсутствие или неисправность технических средств безопасности.
Основные виды несчастных случаев: ушибы при демонтаже и монтаже оборудования,
поражение электрическим током.
Ответственность за состояние охраны труда в
отделении несут начальник участка и старший мастер отделения.
Для предупреждения несчастных случаев для
рабочих проводятся инструктажи. По характеру и времени проведения инструктажи
подразделяются на: вводный, первичный на рабочем месте, повторный, внеплановый
и текущий.
Возле административно-бытового комплекса
расположено отдельно стоящее здание медпункта, где в случае необходимости
оказывается первичная медицинская помощь.
3.2 Техника
безопасности при ремонте и эксплуатации тушилного вагона
Данная инструкция разработана в соответствии с
требованиями <<Правил безопасности в коксохимическом
производстве>>.
Машинист тушильного вагона должен
руководствоваться требованиями безопасности труда, изложенными в инструкциях по
охране труда: ИОТ - 0001 - 01 - 05, ИОТ - 0001 - 02 - 05, ИОТ - 0001- 03 - 05,
ИОТ - 0001 - 17 - 05, ИОТ - 0001 - 04 - 05.
Слесарь должен руководствоваться требованием
безопасности труда изложенными в инструкциях по охране труда: ИОТ - 0001 - 01 -
05, ИОТ - 0001 - 02 - 05, ИОТ - 0001- 03 - 05, ИОТ - 0001 - 17 - 05, ИОТ - 0001
- 04 - 05.
Электромонтер должен руководствоваться
требованием безопасности труда изложенными в инструкциях по охране труда: ИОТ -
0001 - 01 - 05, ИОТ - 0001 - 02 - 05, ИОТ - 0001- 03 - 05, ИОТ - 0001 - 17 -
05, ИОТ - 0001 - 04 - 05.
Работники цеха должны выполнять требования общей
инструкции по охране труда для работающих на комбинате ИОТ - 140 - 01 - 03.
ЗАПРЕЩЕННЫЕ ПРИЕМЫ РАБОТЫ
Машинисту запрещается:
нарушать установленный режим тушения и отстоя
кокса;
высыпать кокс из тушильного вагона на рампу,
заполненную коксом;
высыпать из тушильного вагона на рампу
недотушенный кокс;
спускать на ленту с рампы недотушенный куски
кокса;
выдавать кокс из печей при отсутствии на рампе
свободного места, воды на тушение;
передавать по смене тушильный вагон, заполненный
коксом;
работать тушильным вагоном и электровозом при
неисправных тормозах, а также тушильным вагоном при неисправной сигнализации
фартуков.
3.3 Промышленная
санитария
Задачей промышленной санитарии является
предотвращение неблагоприятных условий труда, одними из которых являются
метеорологические условия, характеризующиеся атмосферным давлением,
температурой и скоростью движения воздуха.
Количество работающих в цехе 290 человек, из них
41 на коксосортировке.
Участок коксосортировки является закрытым
помещением, но отопительных систем не предусмотрено, поэтому температура
воздуха внутри помещения примерно такая, как снаружи, но немного выше за счет
собственной температуры транспортируемого кокса (примерно на 5-6 градусов).
Запыленность воздушной среды на коксосортировке
составляет от 9,6 до 24,7 мг/м3 при предельно допустимой
концентрации 10,0 мг/м3 . Таким образом, работники коксосортировки
работают в условиях повышенной запыленности. В связи с этим работающим на
коксосортировке выдаются для постоянного ношения на рабочем месте
индивидуальные респираторы «Лепесток» для защиты дыхательных путей и защитные
очки для защиты зрения.
Для очистки воздуха от пыли установлены
аспирационные установки АУ с вентиляторами ВДН-10 в количестве 2 штук,
сблокированные с технологическим оборудованием так, чтобы исключался запуск
оборудования без запуска аспирационных систем.
Воздух очищается и путем естественной вентиляции
через дифлекторы в количестве 5 штук.
Относительная влажность воздуха при допустимой
норме 75% на коксосортировке составляет от 41,0 до 100%.
Скорость движения воздуха при допустимой норме
0,5-1,0 м/сек составляет 0,3-1,1 м/сек.
Грохота и транспортеры являются сильными
источниками шума и при предельно допустимом уровне шума 74-93 дБ уровень шума
на коксосортировке достигает 78-92 дБ. Для защиты от производственного шума
работникам коксосортировки полагается носить беруши или наушники.
Пролет, в котором находится конвейер К-0
освещается пятью лампами дневного света, и учитывая, что освещенность по нормам
должна составлять 150 лк, а составляет 101 лк, работники коксосортировки
работают при недостаточной освещенности.
В цехе существуют устройства питьевого
водоснабжения: сатураторы газводы (4 штуки), питьевые фонтанчики * штук), и
бачки питьевой воды (при необходимости).
Для отдыха предназначены 3 комнаты отдыха общей
площадью 58 м2, существуют комнаты обогрева в зимнее время, их 5
штук. Для проведения сменно-встречных собраний предназначено помещение
мастерской слесарей коксосортировки.
3.4 Противопожарная
безопасность на участке
Пожарная опасность коксовых цехов
обуславливается свойствами горючих газов (коксовый газ, доменный газ), твердых
веществ (каменноугольная шихта, кокс). Коксовый газ ядовит и отравляюще
действует на организм человека при концентрации 1,4-1,7 %. При неправильном
устройстве газораспределительных приборов возможна загазованность территории
коксового цеха, а при наличии источников зажигания - вспышка и быстрое
распространение огня по территории цеха.
Основным условием предупреждения пожаров,
взрывов является герметизация всех аппаратов, газопроводов и газовой арматуры.
Обнаруженные неплотности должны быть своевременно ликвидированы, причем
подтягивание болтов различной аппаратуры производится инструментом, не дающим
искры при ударе по стали, а чеканку заклепочных швов производят омедненным
инструментом.
В печах с нижним подводом газа в подбатарейном
помещении, где располагаются газопроводы и отопительная арматура, во избежание
образования взрывоопасных концентраций, предусматривается проветривание всего
помещения за счет рационального подвода воздуха на -отопление печей. На
газопроводах батарей для их отключения устанавливают задвижки и
предусматривается возможность установки заглушек по ходу газа. Каналы коксовых
батарей с боковым подводом отопительного коксового газа перекрываются
прочностным настилом из съемных плит, рассчитанных на возможность установки на
них газовоздушных клапанов при ремонтах.
Для выпуска в атмосферу избытка очищенного
коксового газа устанавливается газосбросное устройство, автоматически
включающееся при повышении избыточного давления в газопроводе. Газосбросные
устройства
устанавливаются на расстоянии не менее 30 м по
горизонтали от соседних
сооружений. Если это требование не выполнено, то
устье устройства выводится на высоту, превышающее соседнее здание и
обслуживающие площадки не менее чем на 15 м.
Высота газосбросного устройства
предусматривается не ниже 30 метров от уровня земли при расчетном количестве
сбрасываемого газа до 50000м3 * ч-1 и не ниже 45 метров
при больших количествах сбрасываемого газа.
Газопроводы коксового газа перед включением в
работу для предупреждения образования взрывоопасной концентрации продуваются
вначале паром, а затем газом, газопроводы доменного газа только газом. Если
газопровод коксового газа перед включением не вскрывался и находился под
избыточным давлением, то он должен продуваться только газом. Продувка
распределительных газопроводов коксовых печей приводится при закрытых стопорных
кранах или регулировочных клапанах.
Отделение коксосортировки относится по
пожароопасности к категории В. Источником возгорания может служить плохо
затушенный кокс, транспортируемый конвейерами. На этот случай над конвейерами
установлена дренчерная установка. Она представляет собой систему труб диаметром
57 см на высоте 1 м над лентой. Дренчерная установка открывается вручную в
случае возникновения загорания.
Само здание отделения выполнено из бетонных плит
и перекрытий. Полы также сделаны из бетона. Опасность для возгорания
представляют собой смазываемые узлы конвейера (редуктор, опоры валов опорных и
упорных роликов). Их необходимо содержать в чистоте, не загрязняя смазкой
окружающие машины и агрегаты. Также уменьшает опасность возгорания гидросмыв
пыли с оборудования и полов.
Пожароопасность возрастает при ремонтах, в
которых используется керосин для промывки деталей от отработанных смазочных
материалов, при несоблюдении правил газосварочных работ и курении в зоне
ремонта.
В начале конвейера возле приводного барабана на
стене за ограждением расположен пожарный щит с инвентарем (лом, лопата, багор,
топор), рядом находится ящик с песком. Там же находятся огнетушители пенные
ОХП-10 и углекислотные ОУ-5 по два на каждый конвейер и два в кабине оператора
коксосортировки.
Важной мерой противопожарной защиты является
содержание производственных помещений в чистоте и порядке. Проходы, выходы,
лестница и запасной выход (для эвакуации в случае пожара людей) не должны
загромождаться деталями и оборудованием.
Все вновь поступившие на работу проходят
первичный противопожарный инструктаж в пожарной охране комбината. Повторный
инструктаж проводится на рабочем месте лицами, ответственными за
противопожарную безопасность участка, то есть начальником участка.
3.5 Охрана окружающей
среды в цехе
Коксохимическое производство сопровождается
большим выделением вредных веществ в атмосферу.
При мокром тушении кокса идет большое выделение
вредных веществ, содержащих фенол, смольные пары, пыль и другие вредные
вещества с выделяющимся паром в атмосферу. Вода, сливающаяся после тушения,
попадает в бассейны-отстойники, где очищается от примесей и подается вновь на
тушение кокса в башню тушения.
Также образующийся в коксовых печах коксовый газ
является хорошим топливом. Перед использованием в качестве топлива коксовый газ
подвергается очистке. Очистка газа от смолы, масляных туманов и пыли
производится в вертикальных однодольных и односекционных электрофильтрах с
трубчатыми осадительными электродами. Извлечение из газа ароматических
углеводородов, аммиака, сероводорода осуществляется промывкой газа в скрубберах
различными поглощающими растворами.
Для охраны окружающей среды от вредных примесей
в коксовом цехе № 1 предусмотрено:
а) биохимическая очистка фенолосодержащих вод,
используемых для тушения кокса, с содержанием фенолов не более 50 мг/дм3
;
б) организация замкнутого цикла использования
фенолосодержащих вод для тушения кокса;
в) бездымная загрузка коксовых печей путем
применения паровой инжекции, с автоматическим поддержанием давления пара 7
кгс/см2 ;
г) очистка от отложений на дверях и рамах
коксовых печей;
д) закрытие кожухами всех конвейеров - трактов
транспортировки кокса в доменный цех и на коксосортировке;
е) дожигание газа на свечах газосборников,
сбрасываемых в отдельных случаях при аварийных ситуациях в системе отсоса
газов;
ж) сжигание отопительного газа с оптимальным
избытком воздуха (коэффициент избытка должен быть 1,3).
Контроль за соблюдением нормальных условий труда
на рабочих местах осуществляется в центральной лаборатории охраны окружающей
среды по графику один раз в месяц, комиссиями главного инженера комбината и
главного энергетика по проверке состояния газового хозяйства (один раз в год).
Хозяйственно-бытовые стоки должны собираться
сетью фекальной канализации в фекальную насосную и перекачиваться в одноименную
сеть комбината. Не допускается сброс фекальных вод в другие системы канализации.
Во всех случаях нарушения существующих положений по охране окружающей среды
необходимо сообщать в центральную лабораторию окружающей среды и делать запись
в оперативном журнале.
СПИСОК ЛИТЕРАТУРЫ
1. А.
И. Целиков, П.И. Полухин, В.Н. Гребеник и др. машины и агрегаты
металлургических заводов. Машина и агрегаты доменных цехов.
. П.И.
Кох. Производство, монтаж эксплуатация и ремонт подъемно-транспортных машин.
Киев: издательское объединение << Вища
школа>>. 1997-352c/
3. В
И.
Сарамутин. Технология ремонт и монтажа и агрегатов металлургических заводов.
Металлургия, 1991-239с.
. В.И.
Бринза, М.М. зиньковский. Охрана труда в черной металлургии. М.: Металлургия,
1982-336с
. В.Н.
Богманов. Справочное руководство по черчению. М.: машиностроение, 1986-623 с.
. Временное
положение о техническом обслуживании и ремонтах ( ТоиР) механического
оборудования предприятий системы министерства черной металлургии.
. Паспорт
цеха.