Поверочный расчет котельного агрегата ПК-14
Введение
Котел ПК-14 имеет технические характеристики: Р
= 9,8 МПа,t = 510С. В
зависимости от вида используемого топлива изменяются поверхности нагрева
конвективного пароперегревателя, второй ступени экономайзера и
воздухоподогревателя.
Пароперегреватель котла состоит из
поверхности нагрева, расположенной на потолке топки и конвективной опускной
шахты, ширмового пакета, размещенного за фестоном, и конвективного пакета,
устанавливаемого за ширмовым пакетом. Регулирование температуры пара
осуществляется впрыском конденсата в трубопровод, соединяющий ширмовой и
конвективные пакеты пароперегревателя. Экономайзер и воздухоподогреватель
двухступенчатые. Экономайзер выполнен из змеевиков горизонтальных труб
диаметром 38
4,5. Конвективная
шахта, начиная со второй ступени воздухоподогревателя, разделена по глубине
шахты на две половины для лучшей организации теплообмена в воздухоподогревателе
и облегчения блочного изготовления. Топка имеет натрубную обмуровку. Котел
скомпонован по П-образной схеме. Топка образует подъемную шахту,
пароперегреватель расположен в горизонтальном газоводе, а конвективные
поверхности нагрева в опускной шахте.
1. Топливо
Тип котла: ПК-14
Вид топлива: природный газ №30 (газопровод
Средняя Азия-Центр)
Расчетная характеристика топлива:
Химический состав и технические
характеристики топлива:
CH4 = 93,8%
где CH4 -
содержание метана в заданном виде топлива.
C2H6 = 3,6%
где C2H6 -
содержание этана в заданном виде топлива.
C3H8 = 0,7%
где C3H8 -
содержание пропана в заданном виде топлива.
C4H10 = 0,2%
где C4H10 -
содержание бутана в заданном виде топлива.
C5H12 = 0,4%
где C5H12 -
содержание пентана в заданном виде топлива.
N2 = 0,7%
где N2 -
содержание азота в заданном виде топлива.
CO2 = 0,6%
где CO2 -
содержание диоксида углерода в заданном виде топлива.
Низшая теплота сгорания:
Q
= 8970
ккал/м3 = 8970
4,19 =
37584,3 кДж/м3
2. Объемы и теплосодержание воздуха
и продуктов сгорания топлива
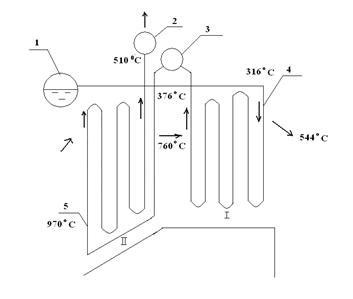
Рисунок 2.1 - Избытки воздуха и присосы по
газоходам
Коэффициент избытка воздуха за газоходами
определяется нарастающим итогом, путем суммирования избытка воздуха за
предшествующим газоходом с присосом очередного по ходу газов:
(2.1)
и т.д.
Средний избыток воздуха в газоходе
определяется по формуле:
, (2.2)
где α - избыток
воздуха перед газоходом, равный избытку воздуха за предыдущим газоходом:
и т.д. (2.3)
Таблица
2.1
Избыток воздуха и присосы по газоходам
|
Наименование
газохода
|
Избыток
воздуха за газоходом
|
Присос
воздуха в газоходе
|
Ср.
избытоквоздуха вгазоходе
|
Топка и фестон Пароперегрев. Водян.
эк-р 2 Воздухопод. 2 Водян. эк-р 1 Воздухопод. 1
= 1,1
13
15
18
2
23 =
ух
= 0,05

075
115
14
165
19
|
215
|
|
|
Таблица
2.2
Объем и вес дымовых газов, объемные доли трехатомных
газов и водяных паров
Наименование величин Размер-ность
Vо= 9,89
м3/м3 VRO2= 1,065 м3/м3
|
VоN2=
7,820 м3/м3VоН2О= 2,205 м3/м3
|
|
|
|
|
Топка
и фестон
|
Паро/п
|
Эконом
2 ст.
|
Воздух
2 ст.
|
Эконом
1 ст.
|
Воздухоп.
1 ст.
|
|
1
|
2
|
3
|
4
|
5
|
6
|
7
|
8
|
9
|
|
Коэф.
избытка воздуха загазоходом _
|
|
1,1
|
1,13
|
1,15
|
1,18
|
1,2
|
1,23
|
|
|
Коэф.
избытка воздуха средний для газохода _
|
|
1,075
|
1,115
|
1,14
|
1,165
|
1,19
|
1,215
|
|
|
VН2О
=V0Н2О+0,016 (α-1) VО за2,221
|
|
|
|
|
|
|
|
|
|
|
сред
|
|
2,223
|
2,227
|
2,231
|
2,235
|
2,239
|
|
Vг =VRO2+
+VON2+VH2O+(α-1) VO за12,095
|
|
|
|
|
|
|
|
|
|
|
сред
|
|
12,245
|
12,497
|
12,748
|
12,999
|
13,250
|
|
ﺡRO2=
|
|
За
|
0,088
|
|
|
|
|
|
|
|
|
ñðåä
|
|
0,086
|
0,085
|
0,083
|
0,081
|
0,080
|
|
ﺡ =VH2O/Vã_çà0,184
|
|
|
|
|
|
|
|
|
|
|
ًٌهن
|
|
0,181
|
0,178
|
0,175
|
0,172
|
0,169
|
|
ﺡ =ﺡ +ﺡ _çà0,272
|
|
|
|
|
|
|
|
|
|
|
ًٌهن
|
|
0,267
|
0,263
|
0,258
|
0,253
|
0,249
|
|
G =ρٌم.ٍë +1,306α V0
|
êم
|
اà
|
14,980
|
|
|
|
|
|
|
êم
|
ًٌهن
|
|
15,174
|
15,497
|
15,819
|
16,142
|
16,465
|
|
سنهëüيûé
âهٌنûىîâûُ
مàçîâ
γأ= ًٌهنيèé 1,2381,2391,2401,2411,2421,243
|
|
|
|
|
|
|
|
|
|
|
|
|
|
|
|
|
|
|
أنه îلْ¸ىû
è âهٌ âîçنَُà
è ïًîنَêٍîâ ٌمîًàيèے
ïًè ٌوèمàيèè ٍîïëèâà
îïًهنهëےهٌٍے
ïî ٌëهنَùèى
ôîًىَëàى:
زهîًهٍè÷هٌêîه
êîëè÷هٌٍâî
âîçنَُà:
V0
= 0,0476 [ Σ (m+n/4)
CmHn]
ى3/ى3; (2.4)
V0
= 0,0476 [(1+4/4)*93,8+(2+6/4)*3,6+(3+8/4)*0,7+
+(4+10/4)*0,2+(5+12/4)*0,4] = 9,89 ى3/ى3;
خلْهى
ًٍهُàٍîىيûُ
مàçîâ:
VRO2
= 0,01[ رخ2
+ Σ CmHn]
ى3/ى3; (2.5)
VRO2
= 0,01[ 0,6+ (1*93,8) + (2*3,6) + (3*0,7) + (4*0,2) + (5*0,4) ] = 1,065
ى3/ى3;
زهîًهٍè÷هٌêèé
îلْهى âîنےيûُ
ïàًîâ:
V0H2O
= 0,01[Σn/2 CmHn]
+ 0,0161V0
ى3/ى3; (2.6)
V0H2O
= 0,01[4/2*93,8 + 6/2*3,6 + 8/2*0,7 + 10/2*0,2 + 12/2*0,4] +
+ 0,0161*9,89 = 2,205 ى3/ى3;
زهîًهٍè÷هٌêèé
îلْهى àçîٍà:
V0N2
= 0,79V0
+ N2/100
ى3/ى3; (2.7)
V0N2
= 0,79*9,89 + 0,7/100 = 7,820 ى3/ى3;
ρٌمٍë
=
0,01[1,96رخ2
+ 1,25N2 + ∑(0,536m + 0,045n) CmHn]
ρٌمٍë
=
0,01[1,96*0,6 + 1,25*0,7 + (0,536*1 + 0,045*4)*93,8 + (0,536*2 +
,045*6)*3,6 + + (0,536*3 + 0,045*8)*0,7 +
(0,536*4 + 0,045*10)*0,2 +
(0,536*5 + 0,045*12)*0,4] =
= 0,01[1,176 + 0,875 + 67,1608 + 4,8312 + 1,3776
+ 1,8068] = 0,772 êم/ى3;
Gم
= ρٌمٍë
+ 1,306 + αV0
êم/ى3;
Gم
= 0,772 + 1,306*1,1*9,89 = 14,980 êم/ى3;
Gم
= 0,772 + 1,306*1,115*9,89 = 15,174 êم/ى3;
Gم
= 0,772 + 1,306*1,14*9,89 = 15,497 êم/ى3;
Gم
= 0,772 + 1,306*1,165*9,89 = 15,819 êم/ى3;
Gم
= 0,772 + 1,306*1,19*9,89 = 16,142 êم/ى3;
Gم
= 0,772 + 1,306*1,215*9,89 = 16,465 êم/ى3;
فيٍàëüïèے
نûىîâûُ
مàçîâ:
VH2O
= V0H2O
+ 0,016(1,1 - 1)v0
êم