Оценка качества металлокомпозитного комбинированного баллона высокого давления БК-7
МИНИСТЕРСТВО ФИНАНСОВ МОСКОВСКОЙ
ОБЛАСТИ
КОРОЛЁВСКИЙ ИНСТИТУТ УПРАВЛЕНИЯ,
ЭКОНОМИКИ И СОЦИОЛОГИИ
Кафедра управления качеством и
стандартизации
Курсовая работа
на тему «Оценка качества
металлокомпозитного комбинированного баллона высокого давления БК-7»
по дисциплине «Статистические методы
в управлении качеством»
Подготовил : Студент группы УО-04
Пигров В.И.
Королёв
Содержание
Введение
Глава 1. Баллоны и их
методы производства
Глава 2. Описание
технологии изготовления комбинированных баллонов давления БК-7 и БК-8
Глава 3. Изготовление и
испытание металлокомпозитного баллона БК-7
Глава 4. Расчётная часть
Заключение
Приложение
Введение
Целью данной курсовой работы является определение зависимости значения
давления, при котором происходит разрыв, в ходе испытания от массы самого
баллона.
композитный баллон давление разрыв
Глава 1. Баллоны и их методы производства
Баллон - стальной, алюминиевый или композитный (тонкостенная
металлическая колба, усиленная углеродным волокном) сосуд цилиндрической или,
намного реже, сферической формы, используемый для хранения и транспортировки
газа под большим давлением.
Преимущества композитных баллонов в сравнении с цельнометаллическими:
• Главное преимущество композитных баллонов перед цельнометаллическими
баллонами в большинстве сфер применения заключается в их легкости. Вес
композитных баллонов в 2-5 раз меньше чем цельнометаллических.
• Другим преимуществом композитного баллона перед цельнометаллическим
баллоном является его большая безопасность. При разрушении давлением
композитный баллон является безосколочным в отличие от цельнометаллического
баллона;
• Композитный баллон способен выдерживать большее давление при меньшем
весе;
• В металлических баллонах и композитных баллонах с металлическим лейнером,
существует вероятность внутренней коррозии, так как в газе содержится некоторое
количество влаги. При использовании баллона с пластиковым лейнером такая
вероятность полностью исключена.
Единственным, но значимым недостатком любого композитного баллона в
сравнении с цельнометаллическим баллоном является меньшая стойкость первого к
ударным нагрузкам.
Лейнер композитного баллона является формообразющим, в то время как
основную нагрузку испытывает обмотка, пропитанная связующим. Использование
пластикового лейнера в сочетании с углеродным волокном позволит максимально
использовать ресурс снижения веса баллона, повысив комплексный показатель для
10-литрового баллона до 3100-3200.
Основной сферой применения баллонов малого литража является хранение
дыхательных смесей или кислорода в сжатом состоянии. Дыхательные смеси
используются в снаряжении пожарников, спасателей, машинах скорой помощи и
снаряжении дайверов. Крупнейшим потребителем таких баллонов является МЧС. Вес
является одной из важнейших характеристик баллонов для спасателей и пожарников,
снаряжение которых обладает значительной массой.
Баллоны большого литража используются в качестве топливных баков
автомобилей и для контейнерной перевозки газа. Снижение веса такого баллона
является приоритетной задачей, так как её решение позволит увеличить
грузоподъемность транспортного средства. Использование пластикового лейнера
позволит значительно снизить вес баллона, что при соответствии требованиям
прочности станет значительным конкурентным преимуществом.
Потенциальные сферы использования
Характеристики композитных баллонов определяют основные сферы их
применения. Производство композитного баллона является технологичным и
трудоемким, что обосновывает его применение именно для хранения сжатых газов
под высоким давлением в эксплуатационных условиях предполагающих частое
перемещение баллона. В мире композитные баллоны могут заменить
цельнометаллические практически во всех сферах, где подразумевается хранение
газа под высоким давлением.
Основными сферами применения композитных баллонов являются:
• Хранение дыхательных газовых смесей в баллонах спасателей/пожарников и
машинах скорой помощи;
• Хранение сжатого газового топлива для двигателей внутреннего сгорания
автомобилей, работающих на газовом топливе;
• Хранение сжатого газового топлива на борту передвижных АГЗС;
• Хранение газа для его перевозки в районы с отсутствием газоснабжения;
• Хранение газа для различных пневматических устройств в транспорте и
промышленности;
• Хранение газа в баллонах для пейнтболла;
• Баллоны для авиации и космонавтики;
• Хранение углекислоты или хладона в системах пожаротушения.
При выборе баллона потребитель обращает внимание на три основных
характеристики:
. Вес и прочие требуемые технические параметры;
. Надежность;
. Цена.
Вес и цена являются сугубо количественными характеристиками, в то время
как надежность - качественная характеристика. Представление о надежности
баллона определенного производителя у потенциального потребителя складывается
исходя из опыта потребителей, которые испытали баллон на практике.
Так или иначе, и вес, и надежность, и цена являются значимыми для
потенциального потребителя, но значимость отдельно взятого показателя
относительно других определяется потребительским сегментом. Известно, что
композитный баллон в сравнении с цельнометаллическим обладает меньшим весом при
меньшей ударной прочности.
Таким образом, для туриста, стрелка из пневматического оружия, спасателя
или пожарника большую значимость приобретает вес баллона, так как чем тяжелее
баллон, тем сложнее его перемещать вручную. Для дачника большую значимость
будет представлять надежность и цена баллона, так как значительную часть
времени эксплуатации баллон остается на месте. Соответственно выбор дачника -
дешевый цельнометаллический баллон низкого давления. Автомобилисту, который
намеревается установить ГБО, работающее на компримированном газе, важен и вес
баллона и надежность.
Метод намотки
Метод намотки волокном является одним из самых
перспективных методов формования изделий из стеклопластиков, т.к. он позволяет
создавать ориентированную структуру наполнителя в изделиях с учетом их формы и
особенностей эксплуатации. Использование в качестве наполнителей жгутов, лент,
нитей обеспечивает максимальную прочность изделий. К тому же такие наполнители
наиболее дешевы.
Метод намотки волокном - сравнительно простой процесс,
в котором армирующий материал в виде непрерывного ровинга (жгута) или нити
(пряжи) наматывается на вращающуюся оправку. Специальные механизмы, которые
перемещаются со скоростью, синхронизированной с вращением оправки, контролируют
угол намотки и расположение армирующего материала. Его можно обертывать вокруг
оправки в виде прилегающих друг к другу полос или по какому-то повторяющемуся
рисунку до полного покрытия поверхности оправки. Последовательные слои
наносятся под одним и тем же или под разными углами намотки, пока не будет
набрана нужная толщина. Угол намотки может изменяться от очень малого -
продольного до большого - окружного, т. е. около 90o относительно
оси оправки, включая любые углы спирали в этом интервале. Связующим для
армирующего материала служит термореактивная смола. При "мокрой"
намотке смола наносится в процессе самой намотки. "Сухая" намотка
основана на использовании ровинга, предварительно пропитанного смолой в
В-стадии. Обычно отверждение идет при повышенной температуре без избыточного
давления, и завершающей стадией процесса является снятие изделия с оправки. При
необходимости проводятся отделочные операции: механическая обработка или
шлифование.
Основной процесс намотки имеет множество вариантов,
различающихся в широких пределах характером намотки, особенностями конструкции,
комбинацией материалов и типом оборудования. Конструкции должны быть намотаны в
виде поверхностей вращения, хотя, в определенных пределах, могут быть отформованы
изделия и другой конфигурации сжатием еще неотвержденной намотанной детали
внутри закрытой формы. Конструкции могут быть получены в виде гладких
цилиндров, труб или тюбингов диаметром от нескольких сантиметров до нескольких
десятков сантиметров. Намоткой можно формовать также изделия сферической,
конической и геодезической формы. Для получения сосудов высокого давления и
резервуаров для хранения в намотку вводят торцовые заглушки. Можно формовать
изделия, работающие в специфических условиях нагружения, таких как внутреннее
или наружное давление, сжимающие или крутящие нагрузки. Намотка дает
возможность укреплять термопластичные трубы и металлические сосуды высокого
давления наружными бандажами. Изделия могут быть спроектированы и сделаны с
высокой степенью точности. С другой стороны, для намотки характерны меньшие
скорости производства.
Для намотки пригоден практически любой непрерывный
армирующий материал. Основными материалами для матрицы служат эпоксидные и
полиэфирные смолы и полимеры сложных виниловых эфиров.
Для намотки применяются машины
различных типов: от разновидностей токарных станков и машин с цепным приводом
до более сложных компьютеризованных агрегатов с тремя или четырьмя осями
движения. Имеются также машины для непрерывного производства труб.
Спроектировано портативное оборудование для намотки больших резервуаров на
месте установки. С помощью этих машин производится обычно только намотка по
окружности, а для усиления конструкции в продольном направлении применяют
рубленую пряжу или ленты.
Наибольшее распространение получили два основных вида
намотки: полюсная и спиральная, каждая из которых дает свою характерную схему
расположения волокна.
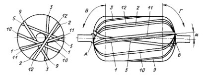
Рис.1.Траектория при однослойной полюсной намотке
При полюсной (называемой также плоскостной) намотке
оправка
остается неподвижной, в то время как подающее волокно
устройство рычажного типа вращается относительно продольной оси под заданным
углом наклона. После каждого его оборота оправка перемещается вперед на
расстояние, соответствующее одной ширине полосы волокон. Полосы волокна
укладываются впритык одна за другой; готовый слой состоит из двух сложений,
направленных в противоположные стороны относительно угла намотки.
Рис.2. Десятикратная спиральная намотка
При спиральной намотке оправка непрерывно вращается, в то время как
каретка, подающая волокно, перемещается возвратно-поступательно. Скорость
перемещения каретки и частота вращения оправки подбираются такими, чтобы
обеспечить заданный угол намотки. При этом обычно спиральная намотка получается
многовитковой. После первого прохода намотки полосы волокна не примыкают друг к
другу. Для получения повторяющегося рисунка требуется несколько витков. Путь
волокна за один виток в этом случае составляет одну десятую суммы длины
окружности и ширины полосы; волокно одиннадцатого витка затем ложится рядом с
первым. И в этом случае каждый слой состоит из двух сложений. Такая
конфигурация обязательно приводит к пересечению волокон (образованию поперечных
полос) в отдельных участках. Число мест с поперечными полосами зависит от угла
намотки. Необходимый рисунок намотки подбирается регулированием машины методом
проб и ошибок или рассчитывается по геометрии изделия. Приведенный ниже
упрощенный пример иллюстрирует метод определения количества витков для
получения данного рисунка и суммарного числа витков для полного покрытия
оправки.
Очевидно, что для полного покрытия оправки надо варьировать
ширину полосы и угол задержки. В практической деятельности длина цилиндра и
угол намотки также считаются параметрами процесса, которые варьируют для
получения нужного рисунка.
Другие методы намотки
Окружная намотка. Окружные или круговые слои
наматывают под углом, близким к 90°, причем за один оборот подающее устройство
продвигается на ширину полосы. Считается, что слой состоит из одного сложения.
Окружные слои можно наносить для дополнительного усиления или увеличения
жесткости отдельных, наиболее важных мест цилиндра.
Продольная намотка. Этот термин
относится к намотке под малыми углами, которая может быть плоскостной или
спиральной. При получении закрытых сосудов высокого давления минимальный угол
определяется величиной полюсных отверстий с обоих концов.
Комбинированная намотка. Продольные
слои усиливают окружными. При формовании сосудов высокого давления окружные
слои обычно наносят снаружи. Равновесие между армирующими материалами в
окружном и продольном направлениях достигается спиральной намоткой двух или
нескольких слоев.
Прочие методы. Плоскостная
многовитковая намотка аналогична многовитковой спиральной намотке, а одновитковая
спиральная намотка аналогична плоскостной намотке. Оба рисунка отличаются друг
от друга только движением волокна при формовании торцовых крышек.
Обобщение свойств композитов, получаемых методом
намотки волокна, как и любых других типов армированных материалов, осложняется
рядом следующих факторов:
· широким ассортиментом применяемых в
настоящее время видов армирующих материалов и композиций смол, каждый из
которых требует специальной оценки;
· большим влиянием на свойства
материала параметров технологического процесса, таких как постоянство
соотношений долей волокна и смолы, захват воздуха, степень уплотнения и
отверждения, а также явная зависимость свойств изделий от качества их
изготовления;
· влиянием особенностей структуры
композита, таких как угол намотки, последовательность слоев и торцовые крышки;
· широким разбросом результатов
испытаний, характерным вообще для слоистых пластиков;
· различным подходом к оценке свойств
поставщиками материалов для аэрокосмических и коммерческих целей, что приводит
к несопоставимым результатам;
· возможностью ухудшения отдельных
свойств в результате оптимизации конструкции изделий, которые должны обладать
специфическими механическими, химическими или электрическими свойствами.
Следовательно, рассмотрению подлежат
только некоторые механические свойства, результаты испытаний типичных сосудов
высокого давления и труб общего назначения, а также некоторые теоретически
полученные значения. В многочисленных областях применения этих изделий важную
роль играют их химические и электрические свойства, а также влияние окружающей
среды на композиционный материал. Химические и электрические характеристики
полученных методом намотки волокна композитов в значительной степени зависят от
выбора полимерной композиции. Поэтому изучение свойств отдельных смол может
дать представление и о поведении композитов.
Преимущества и недостатки метода
Основные преимущества:
Это может быть очень быстрый и поэтому экономически
выгодный метод укладки материала.
· Регулируемое соотношение
смола/стекло.
· Высокая прочность при малом
собственном весе.
· Неподверженность коррозии и гниению.
· Недорогие материалы.
· Хорошие структурные свойства
ламинатов, так как профили имеют направленные волокна и высокое содержание
стекломатериала.
Основные недостатки:
· Ограниченная номенклатура изделий.
· Дорогое оборудование.
· Волокно трудно точно положить по
длине сердечника.
· Высокие затраты на сердечник для
больших изделий.
· Рельефная лицевая поверхность.
Глава 2. Описание технологии изготовления комбинированных
баллонов давления БК-7 и БК - 8
Технологический процесс однотипных баллонов БК-7 и БК-8, конструктивно
отличающиеся разными материалами силовой оболочки - стеклопластиком и углепластиком,
- а также толщиной лейнера - 2.0 и 0.5 соответственно, имеют один метод
изготовления - спирально-кольцевую «мокрую» намотку. Лейнер выполняет
одновременно роль конструктивного внутреннего герметизирующего элемента и
отправки для намотки изделия, изготавливается отдельно. Поэтому технологический
процесс для баллонов данного типоразмера является типовым и состоит из
следующих основных операций:
1. Комплектация основных материалов
2. Входной контроль основных материалов
. Подготовка намоточного станка WM2.800
. Приготовление связующего
. Намотка силовой оболочки
. Отверждение силовой оболочки
. Выходной контроль по параметру G - масса изделия (кг).
Подробнее:
1. Комплектация основных материалов.
1.1 Армирующими материалами для баллонов могут быть выбраны:
баллон БК-7: стеклоровинг РВМН 19-1480-80,
баллон БК-8: углеродный жгут разработки японской фирмы «Торейка» Т-700.
.2 Полимерное связующее ЭДУ:
смола эпоксидная диановая ЭД-22 ГОСТ 10587-84,
смола алифатиеческая эпоксидная ДЭГ-1 (ускоритель),
отвердитель Алкофен - МА.
. Входной контроль основных материалов.
Основные материалы, поступающие от заводов поставщиков, как правило,
имеют паспорта (сертификаты) на изготовление с указанием в них технических
требований, дату изготовления, условия и срок хранения.
. Подготовка намоточного станка WM2.800 к работе.
.1. Сбор нитетракта
.2. Заправка четырех бобин с намоточным материалом, регулирование
натяжения P=2-4 кгс на ленту
.3. Установка и закрепление лейнера. Предварительный наддув лейнера
избыточным давлением 2,0 кг/см2.
.4. Проверка биметалличкого нагревателя, включением его на 10 минут.
.5. Подключение компьютера к системе управления намоточного станка WM2.800
.6. Опробование программы намотки на одном жгуте, намотав один кольцевой
и один спиральный слои
.7. Протирание элементов нитетракта ацетоном непосредственно перед
намоткой изделия.
. Приготовление связующего ЭДУ и заливка его в пропиточную ванну
намоточного станка WM2.800.
.1. Заливка эпоксидной смолы ЭД-22 в смеситель емкостью 10 литров.
Эпоксидная мола предварительно разогревается в печи до 50 °С в количестве 6 кг.
.2. Добавление ускорителя ДЭГ-1 и отвердитель Алкофен-МА в смеситель
.3. Перемешивание компонентов связующего лопастной мешалкой со скоростью
120 об/мин в течение 20 минут
.4. Определение вязкости связующего вискозиметром ВЗ-4 (выходное сопло 4
мм). Требуемая вязкость 20-22 сек.
. Намотка силовой оболочки комбинированного баллона на намоточном станке WM2.800.
.1. Переливание примерно 2х литров связующего из смесителя в
технологическую емкость для доставки к намоточному станку и заливки его в
пропиточную ванну станка.
.2. Включение автоматического обогрева пропиточной ванны намоточного
станка, обеспечив температуру связующего 25 +- 5 °С.
.3. Обезжирование поверхности лейнера растворителем «нефрас».
.4. Закрепление ленты армирующего материала (для баллона БК-7 -
стеклоровинг РВМН; для баллона БК-8 - углеродный жгут Т-700), состоящую из 4-х
жгутов, на головке приводного шпинделя левой консоли.
.5. Контроль натяжения ленты армирующего материала со связующим.
Требуемое натяжение 4-6 кгс на ленту.
.6. Кнопка «Старт программы» на панели управления производит намотку 2-х
слоев спиральной намотки и одного однослойного и 2-х двухслойных промежуточных
согласно схеме армирования.
.7. Доведение внутреннего давления в лейнере до 3-х кг/см2, не снимая его
со станка.
.8. Завершение намотки 3-го слоя спирального и двух кольцевых.
.9. После окончания намотки обрезание ленты армирующего материала,
поверхность баллона викелюют и изделие снимают со станка.
. Отверждение силовой оболочки комбинированного баллона, намотанного на
станке WM2.800.
.1. Помещение намотанного баллона в термокамеру, предварительно нагретую
до 50 °С.
.2. Проведение отверждения связующего по следующему режиму:
нагрев до 60 °С, выдержка 2 часа;
подъем температуры до 100 °С, выдержка 2 часа;
подъем температуры до 120 °С, выдержка 4 часа;
охлаждение вместе с печью до температуры 30-40 °С.
. Выходной контроль по параметру G - масса изделия (кг).
Проведение взвешивания изделия. Результаты взвешивания вводят в таблицу.
Глава 3. Изготовление и испытание металлокомпозитного баллона
БК-7
Металлокомпозитные баллоны БК-7 изготавливаются и испытываются со
стеклопластиковой силовой оболочкой.
Намотка и отверждение баллона осуществляются под постоянным инженерным
контролем. В процессе намотки проводится постоянный контроль натяжения жгутов,
вязкости связующего и его температуры в пропиточной ванне. Постоянно
контролируется количество жгутов в спиральных и кольцевых слоях.
Схема намотки баллонов осуществляется в соответствии с принятыми
решениями:
количество жгутов в спиральных слоях - таблица 1.
количество жгутов в кольцевых слоях - 1200.
Чередование слоев: один спиральный слой, два кольцевых слоя, один
спиральный слой, два кольцевых слоя, один спиральный слой. Результаты испытаний
приведены в таблице 1. Характер разрушения - на фотографиях (Рис. 1,2).
Описание результатов испытаний.
Баллоны разрушились примерно в одной части окружности (Рис.1,2). Начало
разрушения в зоне перехода цилиндра в сферу. Разрушение локальное. Нарушения
целостности пластика, кроме места разрушения, включая зону перехода сферы в
цилиндр, не были. Толщина лейнера в местах локальных разрушений колеблется от
0,6 мм до 2,6 мм.
Дополнительно был испытан баллон с лейнером, изготовленным по технологии
без механической обработки. Разрушение баллона произошло при Р = 820 кгс/см2 по
цицлиндру на расстоянии 110 мм от перехода цилиндра в сферу из-за разрушения
лейнера. Пластик не исчерпал своей несущей способности.
Анализ результатов испытаний позволяет сделать следующие выводы:
. При стабильных технологических параметрах намотки и физико-механических
характеристиках наполнителя разрушение баллонов происходит в месте перехода
цилиндра в сферу примерно в одном и том же месте (по радиусу, по углу)
. Разрушение начиналось с лейнера с последующей потерей герметичности
баллона и, как следствие, локальное разрушение оболочки в месте вскрытия
лейнера.
. Увеличение количества жгутов в осевом направлении не сказалось на
характере разрушения.
. Причиной локального разрушения баллонов является потеря несущей
способности лейнера, связанная с изменением технологии его изготовления
(введение операции его механической обработки с целью доведения веса до 3 кг).
Глава 4. Расчётная часть
На предприятии ОАО «Композит» производят испытания на разрыв
композиционных комбинированных баллонов давления БК-7. Всего испытания проходят
30 баллонов, все их которых имеют одинаковую схему намотки. За исключением двух
баллонов (№3 - увеличенное количество жгутов на спиральных слоях, №4 -
термообработка лейнера проходила без механической обработки, (Таблица 1),
результаты испытаний которых не отличались от остальных, в связи с чем в
статистическом анализе не учитывались. Цель испытания - определить
количественные значения давления, при котором происходит разрыв баллона.
После завершения испытаний были получены следующие данные:
Таблица 1.
|
Масса баллона, кг
|
Давление разрушения, атм
|
|
2.862
|
779
|
|
3.261
|
803
|
|
3.193
|
794
|
|
2.944
|
786
|
|
3.425
|
818
|
|
3.333
|
812
|
|
3.135
|
800
|
|
3.015
|
791
|
|
2.880
|
782
|
|
3.227
|
805
|
|
3.450
|
820
|
|
2.970
|
788
|
|
3.200
|
803
|
|
3.393
|
816
|
|
3.167
|
801
|
|
3.440
|
819
|
|
3.063
|
794
|
|
3.001
|
789
|
|
3.287
|
809
|
|
2.910
|
784
|
|
3.365
|
814
|
|
3.213
|
804
|
|
3.105
|
797
|
|
3.045
|
793
|
|
3.410
|
817
|
|
3.300
|
810
|
|
3.075
|
795
|
|
3.003
|
790
|
|
3.377
|
815
|
|
3.350
|
813
|
Целью данной курсовой работы было определение
зависимости массы изделия на значения давления, при котором происходит разрыв,
что позволит сделать следующие выводы: какая предельная нагрузка с учетом
интервалов может быть при определенном значении массы.
Вывод итогов:
Таблица 2
|
Регрессионная статистика
|
|
Множественный R
|
0,999462971
|
|
R-квадрат
|
0,998926229
|
|
Нормированный R-квадрат
|
0,99888788
|
|
Стандартная ошибка
|
0,40671478
|
|
Наблюдения
|
30
|
Таблица 3
|
Дисперсионный анализ
|
|
|
|
|
|
|
|
df
|
SS
|
MS
|
F
|
Значимость F
|
|
Регрессия
|
1
|
4308,834993
|
4308,834993
|
26048,33414
|
4,05007E-43
|
|
Остаток
|
28
|
4,631673533
|
0,165416912
|
|
|
|
Итого
|
29
|
4313,466667
|
|
|
|
Таблица 4
|
|
Коэффициенты
|
Стандартная ошибка
|
t-статистика
|
P-Значение
|
Нижние 95%
|
Верхние 95%
|
Нижние 95,0%
|
Верхние 95,0%
|
|
Y-пересечение
|
590,683
|
1,308534126
|
451,408046
|
1,2763E-55
|
588,0024226
|
593,3632
|
588,0024
|
593,3632
|
|
Масса баллона, кг
|
66,3859
|
0,411325783
|
161,394963
|
4,0501E-43
|
65,54334688
|
67,22847
|
65,54335
|
67,22847
|
Таблица 5
|
ВЫВОД ОСТАТКА
|
|
|
|
Наблюдение
|
Предсказанное давление разрушения, атм
|
Остатки
|
Стандартные остатки
|
|
1
|
780,7456922
|
0,254307807
|
0,63634073
|
|
2
|
807,1008983
|
-0,10089828
|
-0,252472332
|
|
3
|
796,0144514
|
-2,01445139
|
-5,040653217
|
|
4
|
785,8574072
|
0,142592773
|
0,356802216
|
|
5
|
818,0545734
|
-0,05457335
|
-0,136555965
|
|
6
|
811,9470697
|
0,052930324
|
0,132444698
|
|
7
|
798,8026596
|
0,197340412
|
0,493794286
|
|
8
|
790,8363504
|
0,163649557
|
0,409491474
|
|
9
|
781,8742527
|
0,125747345
|
0,314650809
|
|
10
|
804,9101633
|
0,089836735
|
0,224793623
|
|
11
|
819,7142211
|
0,285778907
|
0,715089169
|
|
12
|
787,8489845
|
0,151015486
|
0,377877919
|
|
13
|
803,1177437
|
-0,11774371
|
-0,294623739
|
|
14
|
815,9302242
|
0,069775751
|
0,174596104
|
|
15
|
800,9270087
|
0,072991307
|
0,182642217
|
|
16
|
819,050362
|
-0,126018113
|
|
17
|
794,0228741
|
-0,0228741
|
-0,05723663
|
|
18
|
789,1767027
|
-0,1767027
|
-0,442153661
|
|
19
|
808,8933178
|
0,106682162
|
0,266945029
|
|
20
|
783,8658299
|
0,134170059
|
0,335726513
|
|
21
|
814,0714188
|
-0,07141878
|
-0,178707371
|
|
22
|
803,9807605
|
0,019239468
|
0,048141885
|
|
23
|
796,8110823
|
0,188917699
|
0,472718583
|
|
24
|
792,8279277
|
0,172072271
|
0,430567177
|
|
25
|
817,0587847
|
-0,05878471
|
-0,147093817
|
|
26
|
809,7563347
|
0,243665338
|
0,609710654
|
|
27
|
794,819505
|
0,180494985
|
0,45164288
|
|
28
|
790,0397195
|
-0,03971953
|
-0,099388037
|
|
29
|
814,8680497
|
0,131950304
|
0,330172139
|
|
30
|
813,0756301
|
-0,07563014
|
-0,189245223
|
Таблица 6
|
ВЫВОД ВЕРОЯТНОСТИ
|
|
Персентиль
|
Давление разрушения, атм
|
|
1,666666667
|
781
|
|
5
|
782
|
|
8,333333333
|
784
|
|
11,66666667
|
786
|
|
15
|
788
|
|
18,33333333
|
789
|
|
21,66666667
|
790
|
|
25
|
791
|
|
28,33333333
|
793
|
|
31,66666667
|
794
|
|
35
|
794
|
|
38,33333333
|
795
|
|
41,66666667
|
797
|
|
45
|
799
|
|
48,33333333
|
801
|
|
51,66666667
|
803
|
|
55
|
804
|
|
58,33333333
|
805
|
|
61,66666667
|
807
|
|
65
|
809
|
|
68,33333333
|
810
|
|
71,66666667
|
812
|
|
75
|
813
|
|
78,33333333
|
814
|
|
81,66666667
|
815
|
|
85
|
816
|
|
88,33333333
|
817
|
|
91,66666667
|
818
|
|
95
|
819
|
|
98,33333333
|
820
|


Полученный график разброса:

Заключение
В результате выполненной работы можно сделать следующие выводы:
. Имеется линейная зависимость между массой и давлением, при этом модель
имеет вид: y = 590 + 66x.
. Модель адекватна, т.к. F
больше F критического.
. График остатков стохастический, что характеризует правильность подбора
регрессионной модели.
. График разброса указывает на то, что масса баллона следующим образом
влияет на давление разрушения - чем больше масса изделия, тем большее значение
давление баллон выдерживает.
Список использованных источников
1. Елисеева И.И., Егорова И.И.
Статистика: Учебник для вузов.
2. Елисеева И.И., Юзбашев М.М.
Общая статистика.
. Строителев В.Н.
Статистические методы в управлении качеством: Учебное пособие. - Королёв:
КИУЭС, 2007.
Приложение
Таблица 1. Количество жгутов в
спиральных слоях изделий и результаты испытаний.
|
№ баллона
|
Масса, кг
|
Схема намотки
|
Количество жгутов
|
Давление разрушения, атм.
|
|
1
|
Термообработанный, Р=2.862кг
|
3 спир. Сл, 4 кольц. Сл.
|
Спир.сл - 690, Кольц.сл - 1200
|
600 атм
|
|
2
|
Р=3.261кг
|
3 спир. Сл, 4 кольц. Сл.
|
Спир.сл - 780, Кольц.сл - 1200
|
680 атм
|
|
3
|
Термообработанный (без механической обработки) Р=3.193кг
|
3 спир. Сл, 4 кольц. Сл.
|
Спир.сл - 690, Кольц.сл - 1200
|
820 атм
|
|
4
|
Нормализованный, 2.990 кг
|
3 спир. Сл, 4 кольц. Сл.
|
Спир.сл - 690, Кольц.сл - 1200
|
610 атм
|
|
5
|
Нормализованный, 2.863 кг
|
3 спир. Сл, 4 кольц. Сл.
|
Спир.сл - 690, Кольц.сл - 1200
|
781 атм
|
|
6
|
3.260 кг
|
3 спир. Сл, 4 кольц. Сл.
|
Спир.сл - 690, Кольц.сл - 1200
|
807 атм
|
|
7
|
3.093 кг
|
3 спир. Сл, 4 кольц. Сл.
|
Спир.сл - 690, Кольц.сл - 1200
|
794 атм
|
|
8
|
2.940 кг
|
3 спир. Сл, 4 кольц. Сл.
|
Спир.сл - 690, Кольц.сл - 1200
|
786 атм
|
|
9
|
3.425 кг
|
3 спир. Сл, 4 кольц. Сл.
|
Спир.сл - 690, Кольц.сл - 1200
|
818 атм
|
|
10
|
3.333 кг
|
3 спир. Сл, 4 кольц. Сл.
|
Спир.сл - 690, Кольц.сл - 1200
|
812 атм
|
|
11
|
3.135 кг
|
3 спир. Сл, 4 кольц. Сл.
|
Спир.сл - 690, Кольц.сл - 1200
|
799 атм
|
|
12
|
3.015 кг
|
3 спир. Сл, 4 кольц. Сл.
|
Спир.сл - 690, Кольц.сл - 1200
|
791 атм
|
|
13
|
2.880 кг
|
3 спир. Сл, 4 кольц. Сл.
|
Спир.сл - 690, Кольц.сл - 1200
|
782 атм
|
|
14
|
3.227кг
|
3 спир. Сл, 4 кольц. Сл.
|
Спир.сл - 690, Кольц.сл - 1200
|
805 атм
|
|
15
|
3.450 кг
|
3 спир. Сл, 4 кольц. Сл.
|
Спир.сл - 690, Кольц.сл - 1200
|
820 атм
|
|
16
|
2.970 кг
|
3 спир. Сл, 4 кольц. Сл.
|
Спир.сл - 690, Кольц.сл - 1200
|
788 атм
|
|
17
|
3.200 кг
|
3 спир. Сл, 4 кольц. Сл.
|
Спир.сл - 690, Кольц.сл - 1200
|
803 атм
|
|
18
|
3.393 кг
|
3 спир. Сл, 4 кольц. Сл.
|
Спир.сл - 690, Кольц.сл - 1200
|
816 атм
|
|
19
|
3.167 кг
|
3 спир. Сл, 4 кольц. Сл.
|
Спир.сл - 690, Кольц.сл - 1200
|
801 атм
|
|
20
|
3.440кг
|
3 спир. Сл, 4 кольц. Сл.
|
Спир.сл - 690, Кольц.сл - 1200
|
819 атм
|
|
21
|
3.063 кг
|
3 спир. Сл, 4 кольц. Сл.
|
Спир.сл - 690, Кольц.сл - 1200
|
794 атм
|
|
22
|
2.990 кг
|
3 спир. Сл, 4 кольц. Сл.
|
Спир.сл - 690, Кольц.сл - 1200
|
789 атм
|
|
23
|
3.287 кг
|
3 спир. Сл, 4 кольц. Сл.
|
Спир.сл - 690, Кольц.сл - 1200
|
809 атм
|
|
24
|
2.910 кг
|
3 спир. Сл, 4 кольц. Сл.
|
Спир.сл - 690, Кольц.сл - 1200
|
784 атм
|
|
25
|
3.365 кг
|
3 спир. Сл, 4 кольц. Сл.
|
Спир.сл - 690, Кольц.сл - 1200
|
814 атм
|
|
26
|
3.213 кг
|
3 спир. Сл, 4 кольц. Сл.
|
Спир.сл - 690, Кольц.сл - 1200
|
804 атм
|
|
27
|
3.105 кг
|
3 спир. Сл, 4 кольц. Сл.
|
Спир.сл - 690, Кольц.сл - 1200
|
797 атм
|
|
28
|
3.045 кг
|
3 спир. Сл, 4 кольц. Сл.
|
Спир.сл - 690, Кольц.сл - 1200
|
793 атм
|
|
29
|
3.410 кг
|
3 спир. Сл, 4 кольц. Сл.
|
Спир.сл - 690, Кольц.сл - 1200
|
817 атм
|
|
30
|
3.300 кг
|
3 спир. Сл, 4 кольц. Сл.
|
Спир.сл - 690, Кольц.сл - 1200
|
810 атм
|
|
31
|
3.075 кг
|
3 спир. Сл, 4 кольц. Сл.
|
Спир.сл - 690, Кольц.сл - 1200
|
795 атм
|
|
32
|
3.003 кг
|
3 спир. Сл, 4 кольц. Сл.
|
Спир.сл - 690, Кольц.сл - 1200
|
790 атм
|
|
33
|
3.377 кг
|
3 спир. Сл, 4 кольц. Сл.
|
Спир.сл - 690, Кольц.сл - 1200
|
815 атм
|
|
34
|
3.350 кг
|
3 спир. Сл, 4 кольц. Сл.
|
Спир.сл - 690, Кольц.сл - 1200
|
813 атм
|