Отримання практичного досвіду діяльності дублера шліфувальника в умовах трудового колективу

  • Вид работы:
    Отчет по практике
  • Предмет:
    Другое
  • Язык:
    Украинский
    ,
    Формат файла:
    MS Word
    1,14 Мб
  • Опубликовано:
    2013-10-30
Вы можете узнать стоимость помощи в написании студенческой работы.
Помощь в написании работы, которую точно примут!

Отримання практичного досвіду діяльності дублера шліфувальника в умовах трудового колективу

Горлівський машинобудівний коледж

Циклова комісія фахової технологічної підготовки











ЗВІТ

з навчально-технологічної практики

на тему: Отримання практичного досвіду діяльності дублера шліфувальника в умовах трудового колективу

База практики - ТОВ «ГорІнвест»

Студента Доломана О.О.

Керівник практики: викладач Наливайко С.О.


м. Горлівка - 2013 р

Зміст

Вступ

. Структура управління цехом

. Організація виробничого процесу цеху

. Техніка безпеки на робочому місці. Протипожежна безпека

. Заготовки та матеріали, що використовуються на робочому місці

. Транспортне та допоміжне обладнання робочого місця

. Улаштування верстата. Його характеристика

. Організація робочого місця

. Технологічна оснастка, що використовується на робочому місці

. Контроль деталей, що виготовляються

. Технологія виконання виробничого завдання

Висновки

Перелік літератури

Додатки

Вступ

Виробнича практика - одна з основних форм навчального процесу, спрямованих на формування висококваліфікованого спеціаліста. Практика знайомить студентів з майбутньою роботою, дає змогу вивчити головні етапи виробництва, закріпити теоретичні знання, набути навичок організаторської роботи у колективі. Сучасний спеціаліст повинен досконало володіти своєю спеціальністю, мати широку практичну і наукову підготовку, бути вправним організатором. Виробнича практика покликана сформувати у молодшого спеціаліста професійні вміння, навички прийняття самостійних рішень у реальних виробничих умовах шляхом виконання різних обов'язків, які властиві майбутній професійній діяльності за фахом техніка-технолога машинобудування. Поставлені цілі мають бути реалізовані вивченням виробництва і виконанням кожним студентом в умовах підприємства (установи) окремих завдань відповідно до завдань практики.

Метою технологічної практики є узагальнення теоретичних знань та практичних навичок, отримання практичного досвіду діяльності дублера шліфувальника в умовах трудового колективу.

У процесі оволодіння фахом дублера шліфувальника, теоретичні знання обов’язково повинні підкріплюватись практичними навичками роботи, одержаними безпосередньо на місцях праці майбутніх фахівців, при залученні їх до виконання реальних професійних завдань. Тому проходження практики на виробництві є важливою складовою навчання студентів за технічною спеціальністю.

Технологічна практика організована та проведена у затверджений термін відповідно до програми практики на підприємстві «ГорІнвест». Це підприємство веде активну роботу в області виконання робіт за кресленнями замовників та ремонту автомобільних двигунів.

1. Структура управління цехом

Структура управління підприємством чи його підрозділом - це упорядкована сукупність стійко взаємопов'язаних елементів, що забезпечують функціонування і розвиток організації як єдиного цілого.

Організація системи управління визначається також як форма розподілу

і кооперації управлінської діяльності, в рамках якої здійснюється процес управління по відповідних функціях, спрямованих на рішення поставлених завдань і досягнення намічених цілей. З цих позицій структура управління представляється в вигляді системи оптимального розподілу функціональних обов'язків, прав і відповідальності, порядку і форм взаємодії між органами управління та працюючими в них людьми.

Технологічна практика проходила на підприємстві «ГорІнвест» основними завданнями якого є:

         відновлення деталей машин:капітальний ремонт блоків двигунів, ремонт колінчатих валів, ремонт валів обертання,

         одиничне, серійне, виробництво за кресленнями замовників, на токарних , фрезерних , шліфувальних та інших верстатах .

Керівництво цехом відбувається за наведеною на рисунку 1 схемою.

Рисунок 1 - Структура управління цехом ТОВ «ГорІнвест»

. Організація виробничого процесу цеху

Виробничий процес - це сукупність взаємопов'язаних основних, допоміжних та обслуговуючих процесів, у результаті яких вихідні матеріали і напівфабрикати перетворюються в готові вироби. Основну частину виробничого процесу займає технологічний процес, який являє собою процес зміни форм, розмірів і властивостей оброблюваних матеріалів. Організація виробничого процесу полягає в забезпеченні раціонального поєднання в просторі і часі основних, допоміжних і обслуговуючих процесів, а також людей і матеріальних елементів виробництва. На ТОВ «ГорІнвест» встановлено п’ятиденний робочий тиждень, з восьмигодинним робочим днем. На підприємстві діє наведений у таблиці 1 розпорядок робочого дня .

Таблиця 1 - розпорядок робочого дня На ТОВ «ГорІнвест»

Початок роботи

9:00

Перерви

13:00-14:00

Закінчення роботи

18:00


Кожен робітник отримує наряд в книзі нарядів під розпис про виконувану роботу. Робітникові за професією шліфувальник видається письмовий наряд з кресленнями або ескізами із зазначенням розмірів та квалітетів. Заготівки для виконання наряду для шліфувальників готують токарі, фрезерувальники , свердлильники , до яких заготівки надходять зі складу . При видачі нарядів майстер проводить інструктажі з записом у книзі нарядів з безпечного ведення робіт по кожній професії.

Основні процеси виконуються на механічній дільниці цеху. Металорізальні верстати розміщені на ділянках цеху за груповим методом. Крім металообробних верстатів на ділянках розташовані слюсарні верстати які теж поєднані групами.

Біля кожного робочого місця є тумбочка, де робітник розміщує різальний інструмент, та стелажі, де розташовуються заготовки й готові деталі. Для забезпечення виробничого процесу в цеху розташовані комори різального та вимірювального інструменту, де на початку зміни робітники отримують потрібний їм інструмент та пристосування.

. Техніка безпеки на робочому місці. Протипожежна безпека

Всі працівники, влаштовуючись на ТОВ «ГорІнвест» для роботи за професією «верстатник», або перекваліфікований на роботу за цією професією, повинні виконувати роботу відповідно отриманому наряду (завданню), бути уважними при виконанні роботи, знати усі попереджувальні сигнали та знаки безпеки, постійно слідкувати за особистою безпекою та безпекою інших на роботі. Не допускаються ризик та дії, які можуть привести до нещасного випадку чи аварії.

Під час практики було виконано дії дублера - шліфувальника. Інструкція щодо професійних вимог надана у Додатку А. До початку роботи безпосередньо на робочому місці шліфувальник повинен пройти «первинний інструктаж» з безпечних прийомів виконання робіт. При первинному інструктажі працівник повинен ознайомитись:

з технічною документацією, робочим місцем, технологією та організацією робіт,

з інструкціями з експлуатації машин, які він обслуговує, інструкціями з ОП по професіях,

з засобами безпеки та протиаварійного захисту,

з головними та запасними виходами з цеху, шляхом безпосереднього проходу від місця роботи у супроводі фахівця.

Про проведення первинного інструктажу та ознайомлення з запасними виходами начальник цеху, робить запис у журналі реєстрації інструктажів з питань охорони праці.

Позапланові інструктажі, що включають в себе питання при проходженні повторного інструктажу, проводяться у разі переведення працівника на іншу ділянку , зміни методів праці, введення нових правил, норм та інструкцій з проведення робіт, а також у разі порушення працівником вимог безпеки праці. Позапланові інструктажі проводяться спеціалістами цеху, і фіксуються в журналі реєстрації інструктажів з питань охорони праці.

Шліфувальник несе персональну відповідальність за забезпечення безпечних умов праці на своєму робочому місці і на обслуговуємій ділянці. При прийомі на роботу або переводі на роботу по іншій професії, а також при виході нових нормативних документів по безпеці праці шліфувальник здає іспити по техніці безпеки та виробничої санітарії. В основу яких закладаються перевірка знань справжньої інструкції. Інструкцію з техніки безпеки на робочому місці дивись у Додатку Б. З метою запобігання пожежі у виробничому приміщенні шліфувальник повинен дотримуватися правил, які регламентуються інструкцією з пожарної безпеки і зокрема забороняється:

прибирання робочого місця із застосуванням легкозаймистих рідин (бензину, гасу);

залишати після закінчення роботи нагрівальні прилади, увімкнуті до електромережі;

виконувати роботи із застосуванням вогню;

палити в місцях, не призначених для цього.

Шліфувальник повинен вміти використовувати засоби для пожежогасіння, зокрема різноманітні види вогнегасників. У випадку виникнення пожежі шліфувальник, як і будь-який працівник зобов’язаний негайно визвати пожежну команду по телефону 101 та прийняти міри по ліквідації джерела пожежі місцевими засобами пожежогасіння

. Заготовки та матеріали, що використовуються на робочому місці

В більшості випадків на ТОВ «ГорІнвест» виконують ремонтні роботи деталей замовників або використовують заготівки порізані із прокату.

Процес плющення металів здійснюється між двома або кількома обертовими привідними валками. При цьому площа поперечного перерізу заготовки зменшується, довжина і ширина збільшуються, може змінюватися форма. В залежності від напрямку обертання валків і напрямки руху злитка (заготовки, розкату) відносно осей валків розрізняють три основних способи прокатки: поздовжній, поперечний, поперечно-гвинтовий.

Поздовжню прокатку здійснюють між двома приводними валками, що обертаються назустріч один одному. Способом подовжньої прокатки отримують листи, смуги, сортові профілі, безшовні труби і катанку, постійного і змінного (періодичного) перетину. Саме цим способом виробляють основну масу прокатної продукції з чорних і кольорових металів. Процес прокатки здійснюють у гарячому і холодному стані.

Поперечно-гвинтова прокатка займає проміжне положення між поздовжньої і поперечної. Цей спосіб широко використовується для отримання порожнистих трубних заготовок (гільз). Оброблюване тіло (циліндричної форми) проходячи між валками, обертається і одночасно здійснює поступальний рух, тобто кожна точка тіла (за винятком розташованих на його осі) рухається по гвинтовій траєкторії.

Рисунок 2 - Заготовки що використовуються на ТОВ «ГорІнвест»

. Транспортне та допоміжне обладнання робочого місця

ТОВ «ГорІнвест» має необхідне підйомно-транспортне обладнання яким є талі та домкрати, що мають досить різноманітне конструктивне виконання й призначення.

Ручні ланцюгові талі використовуються для підйому та переміщення вантажів на виробництві та складах. Вони призначене для підйому вантажів на певну висоту оператором, який знаходиться внизу. Дані підйомні механізми оснащені замкнутим ручним ланцюгом, котрий запускає механізм підйому з зубчатою передачею. Завдяки ручним ланцюговим талям працівник отримує додаткові можливості під час підйому, кантування та переміщені заготівок та вантажів.

Каретки дозволяють за допомогою талей переміщувати деталь по монорейковій балці в горизонтальному направлені. Каретки оснащені власними шестиренчатими передачами и запускаються за допомогою ручного ланцюга управління.

Рисунок 3 - таль та коретка

. Улаштування верстата. Його характеристика

Технологічна практика проходила в механоскладальному цеху. Він був оснащений металообробними верстатами токарної, свердлильної, фрезерної, шліфувальної, зубообробної груп. Повний склад переліку верстатного обладнання ТОВ «ГорІнвест» представлено у Додатку В.

Під час практики виробничі завдання виконувалися на плоскошліфувальному верстаті 3Б722 . Він наведений на рисунку 4.

Плоскошліфувальний верстат моделі ЗБ722 - верстат загального призначення з прямокутним столом і горизонтальним шпинделем , призначений для шліфування площин різних деталей периферією круга . Станина має поздовжні напрямні , по яких зворотно поступально рухається робочий стіл. По вертикальних напрямних стійки переміщається шліфувальна бабка з шліфувальним кругом.

Головний рух у верстаті - обертання шліфувального круга; поздовжня подача - прямолінійний зворотно -поступальний рух столу із заготівлею . Поперечна і вертикальна подачі повідомляються шліфувальної бабці з шліфувальним кругом .

Шліфовані деталі , залежно від матеріалу , форми і розмірів , можуть закріплюватися або на електромагнітної плиті , або безпосередньо на робочій поверхні столу , або в спеціальних пристосуваннях .

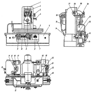
Технічна характеристика верстата наведена у таблиці 2. Розташування складових частин та елементів керування верстата зображено на рисунках 5,6.

Рисунок 4- Плоскошліфувальний верстат 3Б722

Таблиця 2 - Технічна характеристика верстата 3Б722

Основні параметри


Клас точності по ГОСТ 8-82 П

П

Найбільші розміри оброблюваних виробів (довжина х ширина х висота),

1000 х 360 х 400

Найбільші розміри оброблюваних поверхонь (довжина х ширина)

1000 х 320

Відстань від осі шпинделя до дзеркала столу, мм

190...630

Робочий стіл верстата


Розміри робочої поверхні столу ( довжина х ширина) , мм

1000 х 320

Розміри поверхні електромагнітної плити ( довжина х ширина) , мм

900 х 320

Поздовжнє переміщення столу від гідравліки (найменше / найбільшу , мм

300...1050

Швидкість зворотно- поступального руху столу , м / хв

2 ... 40

шліфувальна бабка


Розміри шліфувального круга ( найменший і найбільший зовнішній діаметри ) , мм

325...450

Розміри шліфувального круга (внутрішній діаметр / висота) , мм

203/ 63

Число обертів шліфувального круга в хвилину

1460

Шліфувальна бабка . поперечне переміщення


Найбільше поперечне переміщення шліфувальної бабки ( ручне і від гідравліки ) , мм

400

Ціна розподілу лімба поперечного переміщення шліфувальної бабки , мм

0,05

Поперечне переміщення шліфувальної бабки на один оборот лімба , мм

4,5

Межі швидкостей поперечної подачі шліфувальної бабки ( безступінчате регулювання ) , мм

0,05...3

Автоматична поперечна подача на кожен хід столу ( безступінчате регулювання ) , мм

1...30

Шліфувальна бабка . вертикальне переміщення


Найбільше вертикальне переміщення шліфувальної бабки , мм

440

Ціна розподілу лімба вертикального переміщення шліфувальної бабки , мм

0,005

Вертикальне переміщення шліфувальної бабки на один оборот лімба , мм

1,0

Автоматичні вертикальні подачі шліфувальної бабки , мм

0,005...0,1

Швидкість вертикального прискореного переміщення , м / хв

0,450

Габарити і маса верстата


Габарит верстата , мм

3410 х 2020 x 2290

Маса верстата , кг


Рисунок 5- Розташування складових частин шліфувального верстата 3Б722

. Кожухи 2 . Каретка 3 . Шліфувальна бабка 4 . Електрообладнання 5 . Стіл 6 . Станина 7 . Панель управління гідрокоробкі подач 8 . Гідрокоробка подач шліфувальної бабки 9 . Панель управління столу 10 . Гідрокоробка реверсу столу 11 . Пульт управління 12 . Трубопровід електрообладнання 13. Кран манометра 14. Гідрокоробка змазки направляющих столу 15 . Золотник подачі реверсивний 16 . Установка мастила шпинделя 17. Сильфонні реле 18 . Механізм прискореного переміщення 19. Охолодження 20 . Плита електромагнітна 21 . Магнітний сепаратор 22. Приналежності 23 . Циліндр столу 24 . Насосна установка 25 . Трубопровід 26. Колонка 27. Гідрокоробка реверсу шліфувальної бабки 28 . Вузол кінцевих вимикачів 29. Редуктор каретки 30. Циліндр шліфувальної бабки 31 . Редуктор колонки 32. Опора приводу гвинта 33. Механізм вертикальної подачі 34. Плунжер механізму подач

Специфікація складових частин шліфувального верстата 3Б722

Рисунок 6- Розміщення елементів керування верстата 3Б722

. Пересувні упори столу 2. Важіль реверсу столу від упорів 3. Рукоятка реверсу гідравлічного поперечного переміщення шліфувальної бабки 4. Упори реверсу гідравлічного переміщення шліфувальної бабки 5. Рукоятка включення ручного поперечного переміщення шліфувальної бабки 6. Маховик ручного поперечного переміщення шліфувальної бабки 7. упор 8. Кран 9. Маховик ручної вертикальної подачі шліфувальної бабки 10. Рукоятка зміни характеру поперечної подачі 11. Рукоятка дроселя для регулювання величини безперервної поперечної подачі 12. Рукоятка дроселя для регулювання переривчастою поперечної подачі 13. Рукоятка установки величини автоматичної вертикальної подачі 14. Рукоятка підготовки включення прискореного вертикального переміщення шліфувальної бабки 15. Рукоятка установки жорсткого упору 16. Кнопка для роз'єднання лімба з маховиком 17. Рукоятка дроселя для регулювання швидкості столу 18. Рукоятка ручного реверсу столу 19. Рукоятка "Пуск" , "Стоп" , " Розвантаження " столу 20. Вимикач освітлення "Включено" , "Відключено" 21. Перемикач електромагнітної плити "Включено" , "Відключено" , "розмагнічені" 22. Перемикач "Робота з плитою" , "Робота без плити" 23. Лампа сигнальна "Плита включена " 24. Лампа сигнальна "Наявність мастила в підшипниках шпинделя" 25. Кнопка " Загальний стоп " 26. Кнопка " Пуск " гідравліки 27. Кнопка "Стоп" гідравліки 28. Кнопка прискореного переміщення шліфувальної бабки "Вгору" 29. Кнопка прискореного переміщення шліфувальної бабки " Вниз" 30. Кнопка " Пуск " шліфувального круга 31. Кнопка "Стоп "круга 32. Перемикач включення охолодження 33. Вимикач автоматичної вертикальної подачі " Включено " , " Відключено ".

. Організація робочого місця

Робоче місце - це частина виробничої площі, яка оснащена всім необхідним устаткуванням, інструментом, пристроями і призначена для виконання трудових операцій певної частини виробничого процесу.

Організація і устрій робочих місць повинні відповідати вимогам до індивідуальних та колективних форм праці.

Організація робочого місця повинна забезпечувати можливість менших витрат часу, кількості рухів та зусиль на виконання роботи, необхідну її якість, найменшу стомлюваність, високу працездатність робочого, повну безпеку роботи, економне використання виробничої площі, схоронність обладнання та оснащення.

Основні напрями в організації робочих місць такі: раціональна спеціалізація; ефективне розміщення устаткування, оснащення, предметів праці; освітлення робочої площі; обслуговування; умови безпечної і високопродуктивної праці. Умови безпечної і високопродуктивної праці регламентуються санітарними нормами, включаючи освітлення, інструкції з експлуатації устаткування, техніки безпеки та інші параметри. Передбачається також відповідна система сигналізації і зв’язку, що забезпечує обмін інформацією між робітниками і начальником дільниці або іншими лінійними керівниками, а також службами внутрішньо цехового обслуговування.

На рисунку 7 представлена приблизна схема організації робочого місця шліфувальника, обслуговуючого плоскошліфувальний верстат. Перед верстатом 1 розташована решітка (підставка) під ноги 3 і стілець 4 для відпочинку. Зліва від нього встановлений контрольний столик 2 для вимірювального інструмента, а праворуч - приймальний стіл 5 і стелаж 6 для пристосувань з висувною платформою. Зверху стелажа встановлена касета 7 для зберігання абразивного інструменту. Праворуч від верстата розміщена гідростанція 8 і електричний шафа 9, а зліва - бак 10 для СОЖ

Рисунок 7- схема організації робочого місця шліфувальника

Робоче місце шліфувальника оснащують пристроєм для примусового відсмоктування пилу, щоб уникнути поранення очей робочого абразивними зернами при виправленні шліфувальних кругів. У шліфувальних верстатах, які працюють без застосування СОЖ, повинна бути передбачена можливість приєднання до них місцевої витяжної вентиляційної системи.

При організації робочого місця враховується доступність для його обслуговування, постачання заготовок, спеціальні ергономічні показники. Робочі місця закріпляються за певними робітниками на довготерміновий час. Підтримання чистоти на робочому місці впливає на продуктивність і якість продукції, яка випускається.

. Технологічна оснастка, що використовується на робочому місці

При виборі оптимального варіанту технологічного пристрою повинні враховуватись: технічні вимоги на виготовлення деталей; вимоги техніки безпеки та промислової санітарії. Для скорочення простоїв верстата, пристосування повинні забезпечувати можливість швидкого переналагодження. Вибрані пристрої для установлення та закріплення деталей сприяють збільшенню продуктивності праці, точності обробки та поліпшенню умов праці.

Електромагнітні плити представлені двома формами : прямокутна і кругла . Плити електромагнітні з поздовжнім розташуванням полюсів застосовуються для закріплення деталей з феромагнітних матеріалів при їх обробці на плоскошліфувальних верстатах з застосуванням охолоджувальної рідини і без неї.

Унікальність плит в тому , що вони мають суцільнометалеву кришку , яка забезпечує абсолютно надійну герметичність протягом усього терміну служби , що повністю виключає можливість потрапляння всередину охолоджуючої рідини. Плити відрізняються високою жорсткістю , точністю і герметичністю , що гарантує їх надійність , довговічність , а також якість обробки деталей. Питома сила тяжіння не менше 80 Н/см2 . Лещата верстатні - це допоміжний інструмент , що встановлюється на металорізальних верстатах , призначений для закріплення деталей при механічній обробці. Вибір моделі лещат залежить від складності виконуваних робіт.За типом лещата верстатні діляться на неповоротні і поворотні , а також на лещата верстатні лекальні і прецизійні .

Поворотні лещата верстатні відрізняються від неповоротних тим , що вони закріплені на поворотному столі. Градуювання поворотного столу забезпечує можливість точної установки кута повороту лещат .

Затискні пристосування призначені для закріплення на робочому столі верстата заготовок різної форми , в т.ч. таких , кріплення яких в верстатних лещатах ускладнене або неможливе

Гвинтові опори під прихват призначені для спільної роботи з плоскими і вилковими прихватами при фіксації заготовок на фрезерних , шліфувальних і інших верстатах

На верстаті 3Б722, під час практики, було використано такі пристосування, що зображені на рисунку 8

 

Рисунок 8- Електромагнітна плита, Лещата верстатні поворотні

. Контроль деталей, що виготовляються

На ТОВ «ГорІнвест» контроль якості виконаних робіт виконується безпосередньо прямо на робочому місці робітником високої кваліфікації, а потім майстром цеху, відповідно технічної документації до цієї деталі, що до якої виконується контроль якості. Якщо деталь не відповідає зазначеним у кресленні розмірам то її бракують і обов'язково попереджують начальника цеху.

Якщо при перевірці виявляють браковану деталь і брак можна усунути, то деталь повертається на дільницю для виправлення браку. Якщо ж брак виправити неможливо, складається акт, та робітники, які зробили брак, відшкодовують збитки підприємству за браковану продукцію.

На ТОВ «ГорІнвест», застосовується універсальний вимірювальний інструмент (штангенциркуль, мікрометр, кутомір.) Зокрема шліфувальник використовує такі інструменти як: штангенрейсмас та індикатор годинникового типу

Штангенрейсмас (штангенрейсмус) - це вимірювальний прилад (штангенінструмент <#"655255.files/image011.gif">

Рисунок 9 - Контрольно-вимірювальні інструменти: мікрометри, штангенциркуль, кутомір, штангенрейсмус, індикатори годинникового типу

10. Технологія виконання виробничого завдання

Під час проходження технологічної практики на ТОВ «ГорІнвест», передбачалося самостійне виконання (під керівництвом інструктора) виробничого завдання.

З полосовогу прокату 20*100 мм ,сталь 45 на фрезерній операції отримано заготівку фланця колектора, що підлягає шліфувальній обробці на плоскошліфувальному верстаті 3Б722. Ескіз зображено на рисунку 10, креслення деталі наведено у Додатку Г. Виходячи з параметрів шорсткості та марки сталі обрано шліфувальний круг (ПП) 450х63х203 25А 40Н СТ1 2К 50 м/с А ГОСТ 2424-83. На чисту електромагнітну плиту встановлюється заготівка L=18.4мм(припуски на шліфовку становлять 0.4 мм на дві сторони ), яка шліфується начисто; після обробки першої поверхні отримано якісну базу. Заготівка та електромагнітна плита очищуються, фланець переустановлюється та шліфується з іншого боку до розміру L=. Заготівка контролюється за допомогою мікрометра МК 25 ГОСТ 6507-90. Після чого деталь здається майстру, що виконує контроль якості.

Рисунок 10- ескіз деталі

цех безпека технологічний верстат

Висновки


У процесі проходження технологічної практики на ТОВ «ГорІнвест» відбулося ознайомлення із структурою підприємства, з призначенням і улаштуванням плоскошліфувального верстата моделі 3б722, вивчення організації робочого місця шліфувальника, ознайомлення з конструкцією технологічної оснастки, видами абразивного матеріалу та вимірювального інструменту, які використовуються на вказаному верстаті. Набуто необхідні за напрямком навчання по спеціальності „Технологія обробки на верстатах і автоматичних лініях” навички: установки та вивірки деталей на верстаті і в пристосуваннях; способи правки шліфувальних кругів та умови їх застосування залежно від оброблюваних матеріалів і чистоти обробки; виконання контролю якості виготовлених деталей.

При цьому було дотримано всіх вимог техніки безпеки та протипожежної безпеки, санітарних норм та трудової дисципліни.

Перелік літератури


1.      Козловский Н.С., Виноградов А.Н. Основы стандартизации, допуски, посадки и технические измерения. - М.: Машиностроение, 1982.-284с.

.        Кутай, А.К, Сорочкин, Б.М. Точность и производственный контроль в машиностроении

.        Лоскутов В. В. Шлифовальные станки 1988 (М. Машиностроение 1988).

.        Маталин, А.А. Технология машиностроения [Текст]: Учебник для машиностроительных вузов. Л.: Машиностроение, Ленинградское отделение.

.        Плоткин Я.Д., Янушкевич О.К. Организация и планирование производства на машиностроительном предприятии: Учеб. издание.- Львов: Мир, 1996.-352с.

.        Справочник/Под общ. ред. А.К, Кутая, Б.М. Сорочкина. М.: Машиностроение, 1983. 387 с.

.        Технология обработки конструкционных материалов / Под.ред. П.Г. Петрухи. - М.: Высш. шк., 1991. -512 с.

.        Чернов Н.Н. Металлорежущие станки, - М.: Машиностроение, 1988г. - 416 с.

.        Чупырин, В.Н., Никифоров, А.Д. Технологический контроль в машиностроении

.        Якимов А. В., Паршаков А. Н., Свирщев В. И., Ларшин В. П. Управление процессом шлифования 1983 (К. Технiка 1983).

Додатки

Додаток А. Інструкція щодо професійних вимог до шліфувальника 2го розряду


Вимоги до кваліфікації :

Повинен знати :

.        будову та принцип роботи однотипних шліфувальних верстатів

.        найменування, призначення та умови застосування найбільш розповсюджених пристроїв

.        будова контрольно - вимірювальних інструментів

.        види шліфувальних кругів

.        способи правки шліфувальних кругів та умови їх застосування залежно від оброблюваних матеріалів і чистоти обробки

.        систему допусків і посадок

.        квалітети і параметри шорсткості

.        призначення і властивості охолоджувальних та змащувальних рідин.

Посадові обов'язки :

.        Шліфування зовнішніх поверхонь простих стійких деталей з високоякісних марок сталей круглого профілю по 11 квалітету і параметром шорсткості Ra 5-1,25 на плоскошліфувальних , круглошліфувальних і без центрів шліфувальних верстатах з дотриманням послідовності обробки і режимів різання за технологічною картою з правкою шліфувальних кругів .

.        Шліфування та доведення деталей з високоякісних сталей круглого профілю і площин по 8-10 квалітетами і параметру шорсткості Ra 1,25-0,63 на спеціалізованих напівавтоматичних і автоматичних верстатах , налагоджених для оброблення визначених деталей.

.        Встановлення та вивірка деталей на верстаті і в пристосуваннях .

Права:

.        Шліфувальник має право давати підлеглим йому співробітникам доручення , завдання по колу питань , що входять до його функціональних обов'язків .

.        Шліфувальник має право контролювати виконання виробничих завдань , своєчасне виконання окремих доручень підлеглими йому співробітниками .

.        Шліфувальник має право взаємодіяти з іншими службами підприємства з виробничих та інших питань , що стосуються виконання його обов'язків .

.        Шліфувальник має право знайомитися з проектами рішень керівництва підприємства , що стосуються його діяльності .

.        Шліфувальник має право пропонувати на розгляд керівника пропозиції по вдосконаленню роботи , пов'язаної з передбаченими цією інструкцією .

.        Шліфувальник має право виносити на розгляд керівника пропозиції про заохочення працівників, накладення стягнень на порушників виробничої та трудової дисципліни .

Відповідальність:

.        Шліфувальник несе відповідальність за неналежне виконання або невиконання своїх посадових обов'язків , передбачених цією посадовою інструкцією, - в межах, визначених трудовим законодавством.

.        Шліфувальник несе відповідальність за порушення правил і положень, що регламентують діяльність підприємства .

.        При переході на іншу роботу або звільнення з посади Шліфувальник відповідальний за належну і своєчасну здачу справ особі , що його замінює або безпосередньо своєму керівнику .

.        Шліфувальник несе відповідальність за правопорушення , скоєні в процесі здійснення своєї діяльності , - в межах , визначених чинним адміністративним , кримінальним та цивільним законодавством.

.        Шліфувальник несе відповідальність за заподіяння матеріальної шкоди - в межах , визначених чинним трудовим і цивільним законодавством.

.        Шліфувальник несе відповідальність за дотримання чинних інструкцій , наказів і розпоряджень по збереженню комерційної таємниці та конфіденційної інформації.

.        Шліфувальник несе відповідальність за виконання правил внутрішнього розпорядку , правил ТБ та протипожежної безпеки.

Додаток Б. Інструкція з охорони праці для шліфувальника

Інструкція з охорони праці під час виконання робіт на шліфувальних верстатах

. Загальні положення

.1. Дія інструкції поширюється на всі підрозділи підприємства.

.2. Інструкція розроблена на основі ДНАОП 0.00-8.03-93 “Порядок розробки і затвердження власником нормативних актів про охорону праці, що діють у межах підприємства”, ДНАОП 0.00-4.15-98 "Положення про розробку інструкцій з охорони праці", ДНАОП 0.00-4.12-99 "Типове положення про навчання з питань охорони праці", ДНАОП 1.1.10-1.04-01 “Правила безпечної роботи з інструментом і пристосуваннями”.

1.3. По даній інструкції шліфувальник інструктується перед початком роботи на підприємстві (первинний інструктаж), а потім через кожні 3 місяці (повторний інструктаж). Результати інструктажу заносяться в "Журнал реєстрації інструктажів з питань охорони праці"; у журналі після проходження інструктажу повинен бути підпис особи, що інструктує, і шліфувальника.

.4. Власник повинен застрахувати шліфувальника від нещасних випадків і професійних захворювань. У випадку ушкодження здоров'я з вини власника, він (шліфувальник) має право на відшкодування заподіяної йому шкоди.

.5. За невиконання даної інструкції шліфувальник несе дисциплінарну, матеріальну, адміністративну і кримінальну відповідальність.

.6. До роботи на шліфувальних верстатах допускаються особи не молодше 18 років, які пройшли медичний огляд, навчання, перевірку знань правил охорони праці, вступний інструктаж з охорони праці, інструктаж на робочому місці і мають відповідний запис у кваліфікаційному посвідченні на право виконання спеціальних робіт.

.7. Шліфувальник повинен:

.7.1. Виконувати правила внутрішнього трудового розпорядку.

.7.2. Утримувати своє робоче місце в чистоті і порядку.

.7.3. Не допускати сторонніх осіб на своє робоче місце.

.7.4. Користуватися спецодягом і засобами індивідуального захисту.

.7.5. Уміти надавати першу медичну допомогу постраждалим при нещасних випадках.

.7.6. Уміти користуватися первинними засобами пожежегасіння.

.8. Основні шкідливі і небезпечні виробничі фактори, що можуть діяти на шліфувальника:

захаращеність робочого місця;

обертові частини верстата і деталі;

деталі, що вилітають, заготівлі і їх осколки, стружка, а також інструмент;

підвищена температура оброблюваних деталей і інструмента;

ураження електричним струмом;

підвищені рівні шуму, вібрації.

.9. Шліфувальник забезпечується спецодягом і засобами індивідуального захисту відповідно до Типових галузевих норм.

.10. На кожному робочому місці біля верстата на підлозі повинні бути дерев'яні трапи на всю довжину робочої зони і шириною не менше 0,6 м від виступаючих частин верстата.

.11. Верстати повинні приводитися в дію і обслуговуватися тільки тими особами, за якими вони закріплені.

.12. Ремонт верстатів повинен виконуватися спеціально призначеними особами.

.13. Біля кожного верстата повинна бути вивішена табличка.

2. Вимоги безпеки перед початком роботи

2.1. Упорядкувати робочий одяг, взуття, засоби індивідуального захисту. Рукава необхідно застебнути, волосся забрати під головний убір.

.2. Прийняти верстат від змінника.

.3. Перевірити наявність запобіжних пристроїв, підручників, захисних кожухів і екранів у шліфувального верстата.

.3.1. Шліфувальні верстати повинні бути обладнані:

блокуючими пристроями - для зупинки столу і шліфувального кола при припиненні подачі електроенергії на плиту - верстати з електромагнітними плитами;

люнетами - круглошліфувальні верстати. Люнети дозволяють шліфувати довгі деталі, у яких відношення довжини до діаметра дорівнює або більше 8;

відсмоктуючими пристроями - верстати, при роботі на яких у повітрі робочої зони утворюється пил, концентрація якого перевищує гранично припустиму;

груповими чи індивідуальними установками для відсмоктування шкідливих аерозолів із зони обробки - шліфувальні верстати, що працюють з використанням охолодної рідини.

.3.2. Підручники, що застосовуються при обробці деталей шліфувальними колами, що жорстко не закріплені на верстаті, повинні задовольняти наступним вимогам:

повинні мати пересувну конструкцію - для забезпечення установки і закріплення підметів шліфування і полірування дрібних виробів у необхідному положенні. Верстат із двома підручниками повинен мати незалежне їх переміщення;

повинні мати площадку достатнього розміру - для забезпечення стійкого положення оброблюваного виробу;

повинні встановлюватися так, щоб верхня точка дотику виробу зі шліфувальним колом знаходилася вище горизонтальної площини, що проходить через центр кола, але не більше 10мм;

зазор між краєм підручника і робочою поверхнею шліфувального кола повинен бути менше половини товщини виробу, що шліфується, але не більше 3 мм;

на краях підручників з боку шліфувального кола не повинне бути вибоїв, сколов та інших дефектів.

.3.3. Пересувні металеві запобіжні козирки, що дозволяють зменшити зазор між козирком і навкруги при його зносі, повинні задовольняти наступним вимогам:

конструкція козирків повинна забезпечувати переміщення і закріплення їх у різних положеннях;

ширина пересувного запобіжного козирка повинна перевищувати відстань між двома торцевими стінками захисного кожуха;

товщина козирка повинна бути не менше товщини циліндричної частини захисного кожуха.

Переміщати козирки дозволяється тільки після зупинки кола.

.3.4. Кола типів ПР, ПН, ДО, ЧЦ, ЧК відповідно до ДСТ 2424 і сегментні кола для шліфування торцем повинні бути обгороджені захисними кожухами. Виступаюча частина інструмента повинна бути менше 50% його висоти, але не більше:

25 мм для кіл ПР, ПН,ДО, ЧЦ і ЧК;

40 мм для сегментних кіл.

На зубошліфувальних і інших верстатах, де за характером роботи шліфувальне коло повинне виступати більше, ніж на 25мм, повинне передбачатися додаткове огородження робочої зони. Зазор між колом і верхньою крайкою розкриття рухливого кожуха, а також між колом і запобіжним козирком повинен бути не більше 6 мм. Зазор між бічною стінкою захисного кожуха і фланцями кола найбільшої висоти, застосовуваного на даному верстаті, повинен бути від 5 мм до 10 мм. При виконанні робіт знімна кришка захисного кожуха повинна бути надійно закріплена.

.3.5. Шліфувальні верстати з горизонтальною віссю обертання кола, призначені для обробки вручну і без підведення мастильно-охолоджувальної рідини, повинні бути оснащені захисним екраном для очей.

Захисний екран повинен задовольняти наступним вимогам:

екран повинен виготовлятися із безосколкового матеріалу товщиною не менше 3 мм;

конструкція екрана повинна передбачати можливість переустановки його відповідно до розміру оброблюваної деталі і ступенем зносу шліфувального кола;

екран повинен розташовуватися симетрично стосовно шліфувального кола;

ширина екрана повинна перевищувати висоту кола не менше, ніж на 150 мм.

.3.6. Шліфувальні верстати з робочою швидкістю кола 60м/с і більше повинні мати:

додаткові захисні пристрої - у виді металевих екранів і огороджень, що закривають робочу зону при шліфуванні;

щитки, що закривають відкриту частину шліфувального кола, - при його відводі.

.4. До початку виконання робіт на шліфувальній машині захисний кожух повинен закріплюватися так, щоб шліфувальне коло при обертанні вручну з ним не стикалось.

3. Вимоги безпеки під час виконання роботи

.1. При виконанні робіт із застосуванням інструментів повинні виконуватися наступні вимоги:

заготівлю, що підлягає шліфуванню на шліфувальному верстаті, треба наближати до шліфувального кола плавно, натискати на коло слід без зусиль;

правити шліфувальні кола необхідно тільки справними інструментами;

полірувати і шліфувати дрібні деталі необхідно із застосуванням спеціальних пристосувань і оправлень - для запобігання травмування рук працівника. Працювати з середньо- і великогабаритними деталями необхідно в бавовняних рукавицях;

вироби, жорстко не закріплені на верстатах, повинні оброблятися шліфувальними колами із застосуванням підручників;

шліфувальні голівки, наклеєні на металеві шпильки, не повинні мати биття по периферії більше 0,3 мм;

шліфувальні кола, диски і голівки на керамічному і бакелітовому зв'язуваннях повинні підбиратися в залежності від частоти обертання шпинделя і типу машини;

на необладнаних захисними кожухами машинах зі шліфувальними голівками діаметром до 30 мм, наклеєними на металеві шпильки, необхідно застосовувати захисні щитки і окуляри.

.2. Перед використанням інструмент повинен проробити на холостому ході з робочою швидкістю протягом наступного часу:

1 хв. - шліфувальні кола, у тому числі ельборові на керамічному зв'язуванні, діаметром до 150 мм;

2 хв. - шліфувальні кола діаметром від 150 мм до 400 мм;

5 хв. - шліфувальні кола діаметром більше 400 мм;

2 хв. - ельборові кола на органічному і металевому зв'язуваннях.

.3. Процес установки і зняття шліфувальних кіл масою більше 15 кг повинен бути механізований.

.4. Забороняється при виконанні робіт із застосуванням абразивного і ельборового інструмента:

працювати бічними (торцевими) поверхнями шліфувального кола, - якщо він не призначений для виконання цього виду робіт:

гальмувати обертове шліфувальне коло натисканням на нього будь-яким предметом;

застосовувати важіль для збільшення зусилля натискання оброблюваних деталей на шліфувальне коло - на верстатах з ручною подачею виробів;

виконувати роботу без застосування мастильно-охолоджувальної рідини - для інструмента, призначеного для роботи із застосуванням цієї рідини.

.5. Верстат необхідно зупинити у випадку:

відходу від верстата;

тимчасового припинення роботи;

збирання, змазування, чищення верстата;

підтягування болтів, гайок і інших сполучних деталей верстата;

установки, виміру, заміни деталі.

4. Вимоги безпеки після закінчення роботи

4.1. Виключити верстат, відключити його від електромережі.

.2. Упорядкувати робоче місце, забрати з верстата стружку, пристосування, очистити верстат від бруду, витерти і змазати тертьові частини; скласти готові деталі і заготівлі.

.3. Зібрати інструмент у відведене для нього місце.

.4. Зняти спецодяг, помити обличчя, руки з милом; при можливості, прийняти душ.

.5. При здачі зміни докласти зміннику і керівнику робіт про всі недоліки, що мали місце під час роботи.

5. Вимоги безпеки в аварійних ситуаціях

5.1. Негайно зупинити верстат, відключити електроенергію, огородити небезпечну зону, не допускати сторонніх осіб у небезпечну зону.

.2. Повідомити про те, що відбулося, керівнику робіт.

.3. Надання першої медичної допомоги.

5.3.1. Перша допомога при ураженні електричним струмом. При уражені електричним струмом необхідно негайно звільнити постраждалого від дії електричного струму, відключивши електроустановку від джерела живлення, а при неможливості відключення - відтягнути його від струмоведучих частин за одяг або застосувавши підручний ізоляційний матеріал.

При відсутності у постраждалого дихання і пульсу необхідно робити йому штучне дихання і непрямий (зовнішній) масаж серця, звернувши увагу на зіниці. Розширені зіниці свідчать про різке погіршення кровообігу мозку. При такому стані оживлення починати необхідно негайно, після чого викликати швидку медичну допомогу.

5.3.2. Перша допомога при пораненні.

Для надання першої допомоги при пораненні необхідно розкрити індивідуальний пакет, накласти стерильний перев'язочний матеріал, що міститься у ньому на рану і зав'язати її бинтом.

Якщо індивідуального пакету якимсь чином не буде, то для перев'язки необхідно використати чисту носову хустинку, чисту полотняну ганчірку і т. ін. На те місце ганчірки, що приходиться безпосередньо на рану, бажано накапати декілька капель настойки йоду, щоб одержати пляму розміром більше рани, а після нього накласти ганчірку на рану. Особливо важливо застосовувати настойку йоду зазначеним чином при забруднених ранах.

5.3.3. Перша допомога при переломах, вивихах, ударах.

При переломах і вивихах кінцівок необхідно пошкоджену кінцівку укріпити шиною, фанерною пластикою, палицею, картоном або іншим подібним предметом.

Пошкоджену руку можна також підвісити за допомогою перев'язки або хустки до шиї і прибинтувати до тулуба.

При переломі черепа (несвідомий стан після удару голови, кровотеча з вух або роту) необхідно прикласти до голови холодний предмет (грілку з льодом або снігом, чи холодною водою) або зробити холодну примочку.

При підозрінні перелому хребта необхідно постраждалого покласти на дошку, не підіймаючи його, чи повернути постраждалого на живіт обличчям униз, наглядаючи при цьому, щоб тулуб не перегинався, з метою уникнення ушкодження спинного мозку. При переломі ребер, ознакою якого є біль при диханні, кашлю, чханні, рухах, необхідно туго забинтувати груди чи стягнути їх рушником під час видиху.

5.3.4. Перша допомога при теплових опіках.

При опіках вогнем, парою, гарячими предметами, ні в якому разі не можна відкривати пузирі, які утворюються, та перев'язувати опіки бинтом.

При опіках першого ступеня (почервоніння) обпечене місце обробляють ватою, змоченою етиловим спиртом.

При опіках другого ступеня (пухирі) обпечене місце обробляють спиртом або 3%-ним марганцевим розчином.

При опіках третього ступеня (зруйнування шкіряної тканини) накривають рану стерильною пов'язкою та викликають лікаря.

5.3.5. Перша допомога при кровотечі.

Для того, щоб зупинити кровотечу, необхідно:

.3.5.1. Підняти поранену кінцівку вверх.

.3.5.2. Рану закрити перев'язним матеріалом (з пакета), складеним у клубок, придавити його зверху, не торкаючись самої рани, потримати протягом 4-5 хвилин. Якщо кровотеча зупинилася, не знімаючи накладеного матеріалу, поверх нього покласти ще одну подушечку з іншого пакета чи шматок вати і забинтувати поранене місце (з деяким натиском).

.3.5.3. У випадку сильної кровотечі, яку неможна зупинити пов'язкою, застосовується здавлювання кровоносних судин, що живлять, а також пальцями, джгутом або затиском. У випадку сильної кровотечі необхідно терміново викликати лікаря.

.4. Якщо відбулася пожежа, необхідно викликати пожежну частину і приступити до її гасіння наявними засобами пожежегасіння.

.5. У всіх випадках необхідно виконувати вказівки керівника робіт з ліквідації наслідків аварії.

Додаток В. Склад переліку верстатного обладнання ТОВ «Горінвест»

Перелік металооброблювальних верстатів на ТОВ «ГорІнвест»

.        Токарно-гвинторізний верстат 1М63

.        Токарно-гвинторізний верстат 1К62

.        Токарно-гвинторізний верстат 16Б16

.        Радіально-свердлильний верстат 2А53

.        Координатно розточний верстат 2Е440А

.        Настільно-свердлильний верстат НС-12А

.        Плоскошліфувальній верстат 3Б722

.        Універсально-заточувальний верстат 3А64Д

.        Універсальний зубофрезерний верстат 5Е32

.        Вертикально-фрезерний верстат 6М127

.        Вертикально-фрезерний верстат з ЧПК 6520Ф3

.        Універсальний фрезерний верстат СФ676

.        Поперечно-стругальний верстат 7Е35.

Додаток Г. Креслення деталі за виробничим завданням

Креслення Фланцю колектора

Похожие работы на - Отримання практичного досвіду діяльності дублера шліфувальника в умовах трудового колективу

 

Не нашли материал для своей работы?
Поможем написать уникальную работу
Без плагиата!
Без нейросетей!