Магнитометрический метод неразрушающего контроля металлоконструкций
Содержание
Введение
.
Магнитный вид неразрушающего контроля
.1
Магнитные методы неразрушающего контроля
.2
Магнитометрический метод неразрушающего контроля
.
Магнитные преобразователи
.1
Основные понятия, определения и характеристики
.2
Измерение магнитных величин
.3
Классификация магнитных преобразователей
.
Магнитная диагностика напряженно-деформированного состояния
.1
Неразрушающие методы контроля напряженно-деформированного состояния
.2
Контроль напряженно-деформированного состояния объектов промышленности и
транспорта
.3
Магнитные методы контроля напряженно-деформированного состояния
Заключение
Список
использованной литературы
Введение
Для оценки технического состояния объектов и
продления срока службы оборудования, необходимо его комплексное обследование
различными методами контроля.
Современная диагностика состояния
конструкционных материалов, располагающая большим арсеналом различных
физических методов и средств, уже не ограничивается задачами дефектоскопии, но
все более широко используется при решении задач определения механических
характеристик материалов, причем основное место здесь занимают методы и
средства измерения остаточных и рабочих внутренних напряжений.
В связи с этим обстоятельством на первый план
выходят методы технической диагностики, сочетающие механику разрушений,
металловедения и неразрушающего контроля. К таким методам относятся, в первую
очередь, методы контроля напряженно-деформированного состояния (НДС).
Напряженно-деформированное состояние
металлоконструкций является их важной эксплуатационной характеристикой, так
как при превышении определенного уровня напряжения могут привести к деформации
и разрушению таких ответственных конструкций, как трубопроводы, пролеты мостов,
перекрытия зданий, стрелы и тросы подъемных механизмов и многих других, а также
к заклиниванию вращающихся частей электрических машин.
Известно, что основными источниками
возникновения повреждений в работающих конструкциях являются зоны концентрации
напряжений (КН), в которых процессы коррозии, усталости и ползучести
развиваются наиболее интенсивно. Процессами, предшествующими эксплуатационному
повреждению, являются изменения свойств металла (коррозия, усталость,
ползучесть) в зонах концентрации напряжений. Следовательно, определение зон КН
является одной из важнейших задач диагностики оборудования и конструкций.
В настоящее время остается актуальной проблема
контроля напряженно-деформированного состояния и оценки работоспособности
элементов конструкций по магнитным диагностическим параметрам.
Большой интерес проявляется к косвенным
магнитным методам контроля НДС стальных конструкций, которые основаны на тесной
корреляции магнитных и механических параметров металлов. Разработанные методы и
технические средства измерения механических напряжений металла по магнитным
диагностическим параметрам обладают рядом преимуществ, важных для ранней
диагностики напряженно-деформированного состояния элементов конструкций
трубопроводов (труб, тройников, сварных соединений и т.д.). В ряде случаев
контроль напряженно-деформированного состояния элементов конструкций
производится с применением технических средств для регистрации магнитных шумов,
магнитной анизотропии металла, коэрцитивной силы и магнитной памяти металла
(МПМ).
Магнитные шумы, возникающие за счет Эффекта
Баркгаузена, позволяют контролировать макронапряжения по корреляционным
зависимостям амплитуды магнитных шумов от механических напряжений. Метод
Эффекта Баркгаузена не нашел еще своего места в системах неразрушающего
контроля качества в условиях серийного производства, хотя прекрасно
зарекомендовал себя при решении многих исследовательских задач.
Коэрцитивная сила является одной из наиболее
структурно-чувствительных характеристик ферромагнитных материалов. Поэтому
методы неразрушающего контроля, основанные на измерении коэрцитивной силы,
нашли широкое применение. Их отличает высокая точность и достаточная простота,
возможность проведения измерений на локальных участках контролируемых изделий,
высокая чувствительность к фазовым превращениям, слабая зависимость от геометрических
размеров объекта контроля.
Метод МПМ по сравнению с остальными методами
дополнительно дает информацию о фактическом НДС объекта контроля, что позволяет
более объективно определить не только ЗКН, но и причину образования этой зоны.
Поэтому использование нового метода диагностики наиболее эффективно для
ресурсной оценки узлов оборудования.
Цель дипломной работы заключается в исследование
напряженно-деформированного состояния материала объекта контроля магнитными
методами контроля. Для этого необходимо решить следующие задачи: рассмотреть
магнитный неразрушающий контроль, магнитные преобразователи, взаимосвязь
магнитных и механических характеристик объекта контроля.
. Магнитный вид неразрушающего контроля
Неразрушающий контроль (НК) - область науки и техники,
охватывающая исследования физических принципов, разработку, совершенствование и
применение методов, средств и технологий технического контроля объектов, не
разрушающего и не ухудшающего их пригодность к эксплуатации. НК является
важнейшим элементом системы экспертизы промышленной безопасности,
обеспечивающей техническую безопасность на опасном производственном объекте. За
последние годы НК, выполняя важную функцию в указанной системе, развивается
ускоренными темпами во всех своих составляющих, включая развитие новых методов
и методик, создание более совершенной техники, базирующейся на достижениях
электроники и вычислительных устройств, повышение требований к персоналу в
области НК.
Развитие НК нашло свое отражение и в появлении
новых терминов, которые используются в практике, научных трудах и технических
описаниях. НК во все большей степени контактирует со смежными направлениями,
участвующими в оценке реального технического состояния объектов, определении
возможности их дальнейшей эксплуатации и сроков безопасной работы (проблема
ресурса). К таким направлениям относятся металловедение, механика разрушения
(расчеты прочности), теория надежности и другие разделы науки и техники. Все
это способствует появлению в области НК новых понятий и соответственно новых
терминов. В НК традиционно используются термины и определения, соответствующие
другим областям знаний, например физике, прикладной математике,
радиоэлектронике, метрологии, которые также нуждаются в систематизации и
уточнении.
Все виды НК, используемые в настоящее время,
можно подразделить на три основные группы: виды, основанные на взаимодействии
электромагнитных полей и элементарных частиц с объектами контроля; виды,
основанные на использовании акустических полей; виды, основанные на взаимодействии
проникающих веществ с объектами контроля. Первая группа наиболее обширна, здесь
используются электромагнитные поля в диапазоне 0-1021 Гц. Вторая группа
включает в себя один вид - акустический. Третья группа состоит капиллярного
метода.
В соответствии с ГОСТ 18353-79 классификация
типов и методов неразрушающего контроля, основана на физическом процессе с
момента взаимодействия физического поля или вещества с контролируемым объектом
до получения первичной информации.
Неразрушающий контроль в зависимости от физических
явлений, положенных в его основу, подразделяется на виды:
магнитный;
электрический;
вихретоковый;
радиоволновой;
тепловой;
оптический;
радиационный;
акустический;
проникающими веществами.
Методы каждого вида неразрушающего контроля
классифицируются по следующим признакам:
а) характеру взаимодействия физических
полей или веществ с контролируемым объектом:
б) первичным информативным параметрам;
в) способам получения первичной информации.
1.1 Магнитные методы неразрушающего контроля
Магнитный вид контроля относится к одному из
первых видов неразрушающего контроля, который стал использоваться для
диагностики продукции и промышленных объектов. Магнитный контроль основан на
регистрации магнитных полей рассеяния, возникающих над дефектами или на определении
магнитных свойств объекта контроля. Этот вид контроля применяют в основном для
контроля изделий из ферромагнитных материалов, т. е. из материалов, которые
способны существенно изменять свои магнитные характеристики под воздействием
внешнего (намагничивающего) магнитного поля. Его используют для дефектоскопии
(с помощью магнитных методов могут быть выявлены закалочные, шлифовочные
трещины, закаты, усталостные трещины и другие поверхностные дефекты с
раскрытием несколько микрометров), для структуроскопии (определения твердости,
определения марок сталей, измерения физических параметров материалов (например,
магнитной проницаемости, магнитной восприимчивости), механических напряжений и
даже химического анализа), для измерения толщины покрытий.
Еще в XIX в. магнитные методы контроля впервые
применили для оценки структурного состояния материалов и прочностных
характеристик изделий - корпусов разрывных снарядов, ружейных затворов,
ружейных и артиллерийских стволов.
Применение магнитных методов определения дефектов
сплошности и структуры насчитывает более ста лет. За этот период сформировались
три основных области магнитного контроля: контроль дефектов сплошности в
ферромагнитных материалах; оценка структурного состояния и прочностных
характеристик ферромагнитных сталей и сплавов; определение фазового состава.
В области дефектоскопии задачи расчета магнитных
полей рассеяния основных типов модельных дефектов успешно решены. Но сегодня
доминирующую роль играют обратные задачи по восстановлению «образа» дефекта по
измеряемой топографии магнитных полей рассеяния от дефекта.
В области магнитной структуроскопии определены
основные области применения методов магнитной структуроскопии:
определение структурного состояния и
механических свойств холодного и горячего проката;
контроль структурного состояния и прочностных
характеристик объемно-термически обработанных стальных и чугунных изделий
(отжиг, нормализация, закалка, отпуск и старение);
оценка напряженного состояния и его изменений в
материалах и конструкциях после термической обработки и пластической
деформации;
выявление кристаллографической текстуры,
анизотропии механических свойств при штамповке или деформации листового
проката;
контроль структуры, физико-механических свойств
и толщины слоев поверхностно упрочненных изделий различными методами (закалка
ТВЧ, химико-термическая обработка, упрочнение концентрированными потоками
энергии, виброупрочнение, обезуглероживание в стали и отбел в чугуне);
сортировка изделий по марке, качественная оценка
содержания основных легирующих элементов.
В настоящее время большое внимание уделяется
вопросам контроля изменений структурного и напряженно-деформированных состояний
конструкционных материалов в процессе эксплуатации. В связи с интенсивным
освоением северных российских территорий магнитные методы должны быть
адаптированы к задачам контроля эксплуатационных изменений параметров
конструкционных материалов, работающих при низких температурах.
В области фазового магнитного анализа проведены
теоретические и практические исследования, позволяющие производить оценку
фазового состава конструкционных материалов, определение пористости в
металлокерамических изделиях, выявление парамагнитных и ферромагнитных участков
в деталях и элементах конструкций. В качестве перспективных работ следует
отметить задачи контроля изменений фазового состава изделий в процессе
эксплуатации изделий, работающих в сложных условиях (высокие давления,
длительный срок эксплуатации, большой перепад температур, работа в агрессивных
средах).
Практическое использование магнитных методов
контроля невозможно без создания первичных преобразователей, методик
преобразования измеряемого параметра в электрический сигнал и обработки
полезного сигнала. В этой части, как и в других методах неразрушающего
контроля, важное значение имеют работы по совершенствованию способов получения
информации, ее накопления, обработки, архивирования и документирования.
В зависимости от конкретных задач НК, марки
контролируемого материала, требуемой производительности метода могут
использоваться те или иные первичные информативные параметры. К числу наиболее
распространенных относятся следующие информативные параметры: коэрцитивная
сила, намагниченность, индукция (остаточная индукция), магнитная проницаемость,
напряженность, эффект Баркгаузена.
Согласно ГОСТ 24450-80 по способу получения
первичной информации различают следующие методы магнитного вида контроля:
магнитопорошковый (МП), индукционный (И), феррозондовый (ФЗ), метод эффекта
Холла (ЭХ), магнитографический (МГ), магниторезисторный (MP), магнитополупроводниковый
(МПП) и пондеромоторный (ПМ), а также не входящие в ГОСТ магнитооптический (МО)
и метод магнитной памяти металла (МПМ). С их помощью можно осуществить
контроль: сплошности (методами дефектоскопии) (МП, МГ, ФЗ, ЭХ, И); размеров (ФЗ,
ЭХ, И, ПМ); структуры и механических свойств (ФЗ, ЭХ, И).
Магнитопорошковый метод - метод магнитного
неразрушающего контроля, основанный на использовании в качестве индикатора
магнитного порошка.
Индукционный метод - метод магнитного
неразрушающего контроля, основанный на регистрации магнитных полей объекта
контроля индукционными преобразователями.
Феррозондовый метод - метод магнитного
неразрушающего контроля, основанный на регистрации магнитных полей объекта
контроля феррозондовыми преобразователями.
Метод эффекта Холла - метод магнитного
неразрушающего контроля, основанный на регистрации магнитных полей объекта
контроля преобразователями Холла.
Магнитографический метод - метод магнитного
неразрушающего контроля, основанный на записи магнитных, полей объекта контроля
на магнитный носитель с последующим воспроизведением сигналограммы.
Магниторезистивный метод - метод магнитного
неразрушающего контроля, основанный на регистрации магнитного поля объекта
контроля магниторезистивными преобразователями.
Магнитополупроводниковый метод - метод
магнитного неразрушающего контроля, основанный на регистрации магнитного поля
объекта контроля магнитополупроводниковыми приборами.
Пондеромоторный метод - метод магнитного
неразрушающего контроля, основанный на пондеромоторном взаимодействии
регистрируемого магнитного поля объекта контроля и магнитного поля постоянного
магнита, электромагнита или рамки с током.
Магнитооптический метод - метод магнитного
неразрушающего контроля, в котором преобразователем служит магнито-оптическая
пленка. При освещении пленки видна доменная структура, которая искажается при
наличии магнитного поля дефекта.
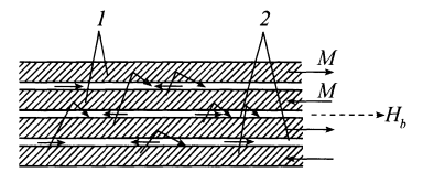
Магнитометрический метод - метод магнитного
неразрушающего контроля, основанный на анализе остаточных магнитных полей в
объекте контроля, образовавшихся в результате намагничивания ферромагнитных
объектов при их переходе из жидкого состояния в твердое состояние.
Намагничивание производится магнитным полем Земли. По остаточным магнитным
полям (остаточной индукции) получают информацию о наличии дефектов и зон
участков, имеющих механические напряжения, в которых могут развиваться дефекты.
Магнитная дефектоскопия. Магнитная дефектоскопия
является весьма эффективным методом обнаружения поверхностных и
подповерхностных дефектов. Применяется для обнаружения нарушений сплошности
(трещин, немагнитных включений и др. дефектов) в поверхностных слоях деталей из
ферромагнитных материалов и выявления ферромагнитных включений в деталях из
неферромагнитных материалов; для контроля толщины немагнитных покрытий на
деталях из ферромагнитных материалов и толщины стенок тонкостенных деталей, а
также для контроля качества термической или химико-термической обработки
металлических деталей.
Наиболее широко распространенным методом
магнитной дефектоскопии является метод магнитного порошка. При этом методе
намагниченную деталь посыпают магнитным порошком (сухой метод) или поливают
магнитной суспензией (мокрый метод). Частицы порошка, попавшие в зоны магнитных
полей рассеяния, оседают на поверхности деталей вблизи мест расположения
дефектов. Ширина полосы, по которой происходит оседание порошка, значительно
больше ширины «раскрытия» дефекта, поэтому невидимые до этого дефекты фиксируют
по осевшему около них порошку даже невооруженным глазом. Метод магнитного
порошка весьма прост и позволяет определять места и контуры нарушений
сплошности материала, расположенные на поверхности деталей, а также на глубине
до 2-3 мм под поверхностью. Намагничивание деталей, обработка их порошком (чаще
суспензией), а также последующее размагничивание производятся с помощью
магнитных дефектоскопов.
Магнитный дефектоскоп - прибор, предназначенный
для выявления дефектов типа нарушений сплошности материала объекта контроля и
основанный на методе магнитного неразрушающего контроля. Принцип действия магнитных
дефектоскопов основан на регистрации магнитных полей рассеяния дефектов, при
намагничивании контролируемых ферромагнитных изделий. Регистрация полей
рассеяния может осуществляться с помощью магнитного порошка, магнитной ленты,
феррозондов, преобразователей Холла, индукционных и магниторезисторных
преобразователей.
Методы магнитной дефектоскопии применяют для
исследования структуры материалов (магнитная структуроскопия) и измерения
толщины (магнитная толщинометрия).
Магнитная структуроскопия. Одним из направлений
МНК является магнитная структуроскопия, основанная на определении основных
магнитных характеристик материала (коэрцитивной силы, индукции, остаточной
намагниченности, магнитной проницаемости). Эти характеристики, как правило,
зависят от структурного состояния сплава, подвергаемого различной термической
обработке. Магнитную структуроскопию применяют для определения структурных
составляющих сплава, находящихся в нём в небольшом количестве и по своим
магнитным характеристикам значительно отличающихся от основы сплава, для
измерения глубины цементации, поверхностной закалки и т.п.
На производстве для магнитной структуроскопии
уже много десятилетий широко и успешно применяется метод, основанный на
измерении коэрцитивной силы Нс металла в точке контроля. Приборы, реализующие
этот способ контроля, обычно называют коэрцитиметры. Однако, название
коэрцитиметр для них не совсем корректно, так как выходной сигнал этих приборов
хотя и пропорционален коэрцитивной силе материала, но зависит еще и от геометрических
факторов. Поэтому в настоящее время подобные приборы все чаще называют
структуроскопами.
Магнитный структуроскоп - прибор,
предназначенный для определения физико-механических свойств или химического
состава объекта контроля и основанный на методе магнитного неразрушающего
контроля. Принцип работы таких приборов состоит в исполнении следующей
последовательности операций:
а) намагничивание контролируемого участка детали
накладным преобразователем;
б) последующее размагничивание этого участка
нарастающим полем;
в) фиксации напряженности поля, соответствующей
коэрцитивной силе (это происходит в процессе выполнения предыдущего пункта).
Магнитные структуроскопы позволяют решать
различные задачи неразрушающего контроля. Среди них контроль режимов термообработки
(контроль твердости поверхностно упрочненных изделий), контроль глубины закалки
поверхностного слоя, в ряде случаев сортировка материалов по маркам сплавов,
прогнозирование остаточного ресурса объектов ответственного назначения
(конструкции подъемных механизмов, сосуды высокого давления, магистральные
трубопроводы) и т. д.
Магнитная толщинометрия. Магнитная толщинометрия
основана на измерении силы притяжения постоянного магнита или электромагнита к
поверхности изделия из ферромагнитного материала, на которую нанесен слой
немагнитного покрытия, и позволяет определить толщину этого покрытия.
Магнитный толщиномер - прибор, предназначенный
для измерения толщины объекта контроля или его покрытия и основанный на методе
магнитного неразрушающего контроля. Предназначены для контроля толщины
немагнитных покрытий на ферромагнитном основании. Они позволяют, одним прибором
измерять в равной степени толщину и диэлектрических, и электропроводящих
покрытий. По принципу действия все магнитные толщиномеры можно разделить на три
группы:
) толщиномеры пондеромоторного действия;
) толщиномеры индукционного действия;
) толщиномеры магнитостатического действия.
Пондеромоторный метод основан на регистрации
силы отрыва постоянного магнита или сердечника электромагнита от поверхности
изделия и на оценке толщины контролируемого покрытия по значению этой силы. В
первом случае сила определяется при помощи пружинных динамометров, во втором -
по изменению тока намагничивания.
Широкое распространение получили индукционные
толщиномеры, у которых практически все недостатки толщиномеров пондеромоторного
действия отсутствуют. Принцип их действия основан на измерении изменений
магнитного сопротивления цепи, состоящей из ферромагнитной основы изделия,
измерительного преобразователя и немагнитного зазора между ними,
соответствующего толщине покрытия.
По сравнению с толщиномерами пондеромоторного
действия индукционные толщиномеры обладают значительно более высокой точностью
измерений (обычно 3% измеряемого знамения), процесс измерения в них идет
практически непрерывно, что значительно его упрощает и ускоряет.
К третьей группе магнитных толщиномеров
относятся магнитостатические толщиномеры. Принцип их действия основан на
определении напряженности магнитного поля в зазоре между постоянным магнитом
(или электромагнитом) и ферромагнитным материалом основы.
При работе с магнитными толщиномерами необходимо
учитывать многочисленные факторы, влияющие на результаты измерений: колебания
магнитных свойств покрытия или основы, состояние поверхности, форму изделия и
др. В значительной мере влияние этих факторов обусловлено размерами и формой
магнита, топографией и напряженностью магнитного поля. В связи с возросшими
требованиями к точности и надежности производственного контроля толщины
покрытий резко возросли требования к их метрологическому обеспечению.
1.2 Магнитометрический метод неразрушающего
контроля
Контроль методом магнитной памяти металла
(ММП-контроль) основан на измерении и анализе распределения собственных
магнитных полей рассеяния (СМПР) металла сварных соединений, отображающих их
структурную технологическую наследственность. При контроле используется
естественная намагниченность, сформировавшаяся в процессе сварки в магнитном
поле Земли.
ММП-контроль служит для определения зон
концентрации механических напряжений (ЗКН) и выдачи рекомендаций для
дополнительного контроля опасных зон в сварных соединениях сосудов,
трубопроводов, оборудования и конструкций.
ММП контроль является первоочередным по
отношению к известным методам неразрушающего дефектоскопического контроля
(ультразвуковой, радиационный, магнитопорошковый, капиллярный, цветная
дефектоскопия, измерение твердости и толщинометрия). Позволяет контролировать
сварные соединения любых размеров и форм (стыковые, тавровые, угловые, нахлестанные,
торцевые, прерывистые и др.) без ограничения толщины свариваемого металла на
всех видах ферромагнитных и аустенитных сталей и сплавов и на чугунах.
ММП-контроль может проводиться как при работе
объекта контроля (ОК), так и при его ремонте.
При ММП-контроле определяют:
зоны концентрации остаточных сварочных
напряжений и их распределение вдоль сварного соединения:
зоны вероятного расположения микро- и
макродефектов всех видов (поры, шлаковые включения, несплошности, трещины,
разрывы).
ММП-контроль можно использовать для контроля:
степени «засоренности» сварных швов дефектами и
наличия развивающегося дефекта;
качества сварных соединений при аттестации
выбора, оптимизации и сертификации технологии сварки.
В связи с возникающими до сих пор вопросами и
сомнениями о новизне метода магнитной памяти (МММ) металла в сравнении с
известными (в России и за рубежом) магнитными методами НК назрела необходимость
описать принципиальные отличительные признаки ММП и соответствующих приборов
контроля [3].
Метод МПМ выполняет одновременно при
неразрушающем контроле одновременно две задачи:
Первая задача - выявление дефектных зон на
внутренней и наружной поверхности трубы с их последующей классификацией, т.е.
выполнение обычной задачи дефектоскопии.
Вторая задача - выполнение контроля
напряженно-деформированного состояния металла объекта контроля с определением
зон концентраций напряжений - источников всех видов повреждений на раннем этапе
их развития.
Методики и приборы, которые применялись в
70-80-e гг. прошлого века в Институте физики металлов (Свердловск), Институте
прикладной физики (Минск), Институте Ф. Ферстера (ФРГ) и других научных
центрах, использовались для измерения напряженности поля остаточной
намагниченности изделий после их предварительного намагничивания (а во многих
случаях после их предварительного размагничивания и последующего
намагничивания). При этом естественная намагниченность изделий (или магнитная
память металла), на применении которой основан метод магнитной памяти металла,
не исследовалась и воспринималась как помеха при измерениях.
Факт естественной намагниченности изделий был
установлен ООО "Энергодиагностика" и подтвержден экспертизой
РОСПАТЕНТа при оформлении первых патентов по методу магнитной памяти металла.
Кроме того, основные отличительные признаки ММП были выявлены в ходе
экспериментальных работ на электростанциях Мосэнерго при выполнении
исследований на котельных трубах и нашли отражение в научном отчете Института
физики металлов (Свердловск, 1988 г.) и в монографии.
Понятие "магнитная память металла"
впервые введено автором в 1994 г. и до этого времени в технической литературе
не применялось. Были известны термины и понятия: "магнитная память
Земли" в археологических исследованиях; "магнитная память" в
звукозаписи; "эффект памяти формы", обусловленный структурно-фазовыми
превращениями, ориентированными внутренними напряжениями в изделиях из металла.
На основе установленной взаимосвязи
дислокационных процессов с физикой магнитных явлений в металлах изделий введено
понятие "магнитная память металла" и разработан новый метод
диагностики. Уникальность метода магнитной памяти металла заключается в том,
что он основан на использовании собственного магнитного поля рассеяния (СМПР),
образующегося в зонах устойчивых полос скольжения дислокаций, обусловленных
действием рабочих нагрузок. Возникновение СМПР объясняется формированием
доменных границ на скоплениях дислокаций высокой плотности (дислокационных
стенках). Ни при каких условиях с искусственным намагничиванием в работающих
конструкциях такой источник информации, как собственное магнитное поле,
получить невозможно. Только в малом внешнем поле, каким является магнитное поле
Земли, в нагруженных конструкциях, когда энергия деформации на порядок
превосходит энергию внешнего магнитного поля, такая информация формируется и
может быть получена. В практических работах показано, что ММП может применяться
как при работе оборудования, так и после снятия рабочих нагрузок, во время
ремонта. В силу «магнитодислокационного гистерезиса» магнитная текстура, сформировавшаяся
под действием рабочих нагрузок, после их снятия как бы «замораживается». Таким
образом, предоставляется уникальная возможность путем считывания этой
информации с помощью специализированных приборов выполнять оценку фактического
напряженно-деформированного состояния оборудования и выявлять на раннем этапе
зоны максимальной поврежденности металла.
Физические основы возникновения СМПР
принципиально другие в сравнении с магнитными полями рассеяния (МПР),
образующимися на дефектах изделий при их искусственном намагничивании,
используемом в известных магнитных методах НК. СМПР возникает в локальных зонах
(от 0,1 до десятков микрометров) на поверхности и в глубинных слоях металла
изделии. Исследование СМПР и физических основ его образования до "рождения"
ММП (90-е годы прошлого столетия) никем и никогда не проводилось.
СМПР обнаружено и на новых изделиях
машиностроения непосредственно после их изготовления. Известно, что при
нагревании ферромагнетика выше температуры Кюри (например, для железа Тс=780 С)
и последующем его охлаждении даже в слабом внешнем магнитном поле Земли он
приобретает такой уровень намагниченности, которого можно достигнуть при
нормальной температуре лишь в магнитном поле большой интенсивности. Именно при
таких условиях, как правило, формируется естественная намагниченность при
изготовлении изделий машиностроения. Реальная магнитная текстура изделия
(плавка, ковка, термическая обработка, сварка) образуется непосредственно после
кристаллизации при охлаждении ниже точки Кюри. При этом процесс охлаждения
реальных изделий происходит обычно неравномерно: наружные слои металла остывают
быстрее, чем внутренние. Образуются термические напряжения по объему изделия,
которые формируют кристаллическую решетку и соответствующую магнитную текстуру.
Для того чтобы фиксировать локальные микронные
области СМПР, характеризующие по ММП зоны концентрации напряжений, были впервые
разработаны специальные сканирующие устройства, включающие в себя не только
известные феррозондовые датчики, но и устройство измерения длины, АЦП,
процессор и другие механизмы. Такие сканирующие устройства в магнитных методах
НК до ММП нигде не применялись (мировых аналогов нет). Сканирующие устройства и
способ контроля защищены патентами России, Германии и Польши.
Когда удается создать приборы, способные надежно
фиксировать неуловимые ранее изменения физических процессов, т.е. ввести в
практику приборы с особыми, принципиально новыми качествами, с совсем иными
возможностями, это всегда ведет к открытиям, знаменующим собой переворот в наиболее
важных областях знаний.
Именно так и произошло с СМПР, информацию о
котором дает сама конструкция или изделие. Без специальных сканирующих
устройств, преобразователей и процессора с программным управлением,
используемых в приборах для ММП, принципиально невозможно фиксировать
закономерности в распределении СМПР на объектах контроля. До создания ММП
собственное поле остаточной намагниченности изделий воспринималось как помеха,
а во многих случаях с этой, казалось бы, случайной намагниченностью боролись.
При эксплуатации большинство металлоконструкций
работают в условиях действия циклических нагрузок и напряжений ∆σ
и
при наличии внешнего магнитного поля Н0 (например, поля Земли). В силу
известного магнитоупругого эффекта происходит как бы самонамагничивание
оборудования и конструкций.
ММП развивается в теоретическом и практическом
плане более 20 лет. По состоянию на август 2003 г. имеется более 30 руководящих
документов и методик, согласованных с Госгортехнадзором РФ и действующий в
различных отраслях промышленности.
Интерес специалистов различных отраслей
промышленности в России и других странах к принципиально новому магнитному
методу НК неуклонно растет. Это обусловлено проблемами, которые возникают на
практике при контроле качества изделий машиностроения, обеспечении надежности и
оценке ресурса оборудования.
Можно уверенно говорить, что если на
предприятии применяют старое оборудование, которое нельзя обследовать на
структурную поврежденность металла и выявить назревающие повреждения, то работа
идет на непредсказуемую аварию.
Таким образом, несмотря на то, что неразрушающий
контроль существует в России и других странах уже более 100 лет, все еще
остаются нерешенными многие проблемы контроля качества изделий машиностроения и
диагностики оборудования, находящегося в эксплуатации. Этим обусловлено
востребование метода МПМ. направленного на решение указанных задач НК.
Метод Магнитной памяти металла по содержанию и
физической сущности (измеряется СМНР - принципиально другое физическое поле)
представляет собой не только принципиально новый магнитный метод НК, но и
открывает новое направление в технической диагностике, так как он объединяет
потенциальные возможности НК, механики разрушения н металловедения.
С позиций задач, решаемых ММП, этот метод по аналогии
с методом акустической эмиссии должен быть отнесен к методам ранней диагностики
усталостных повреждений оборудования.
. Магнитные преобразователи
2.1 Основные понятия, определения и
характеристики
Внедрение механизации и комплексной автоматизации
в производство требует быстрого и точного контроля технологических процессов,
что связано с измерением и контролем разнообразных параметров физических
величин. Особенно большое число неэлектрических величин требуется измерять и
контролировать в металлургической, химической и текстильной отраслях
промышленности. Развитие измерительной техники показало, что среди
многочисленных методов измерения неэлектрических величин наибольшими
преимуществами обладают электрические методы, которые обеспечивают:
возможность измерения сигналов очень малой
величины - применение - электронных усилителей дает возможность измерять такие
сигналы, которые не могут быть измерены никакими другими способами;
возможность передачи измеренной величины на
расстояние, а, следовательно, и возможность дистанционного управления
различными процессами;
высокую точность и скорость измерений;
возможность комплектования измерительных и
управляемых ими автоматических установок унифицированными электроизмерительными
приборами.
Измерительное преобразование - отображение
размера одной физической величины размером другой функционально связанной с ней
физической величиной удобной для дальнейшего преобразования, обработки,
хранения или передачи на значительные расстояния.
Преобразования, в результате которых получают
информацию о значении измеряемой физической величины, принято называть прямыми.
Преобразования, в результате которых измеряемая величина воспроизводится мерой,
называются обратными. В процессе измерения прямые и обратные преобразования всегда
взаимосвязаны. Эта взаимосвязь отражает сущность измерения как процесса
сравнения данной физической величины с величиной того же наименования, принятой
за единицу. Осуществляя прямые преобразования, экспериментатор неминуемо
пользуется результатом обратных преобразований, которые всегда присутствует в
градуировочной характеристике первичного преобразователя или прибора, либо
используется непосредственно (компарирующие приборы). Производя обратные
преобразования, например, воспроизводя единицу магнитной индукции в эталонной
катушке, нельзя передать ее размер другим образцовым и рабочим мерам, не
используя в какой-то мере результата прямых преобразований.
Для измерения любой неэлектрической величины X
(температуры, давления, расхода жидкости, скорости, перемещения, ускорения,
деформации, вибрации и т.д.) ее преобразовывают с помощью первичного
измерительного преобразователя или датчика в выходную электрическую величину Y.
Далее сигнал Y преобразуется цепью измерительных преобразователей прибора, где
он претерпевает ряд изменений по уровню и спектру и преобразуется из одного
вида энергии в другой. Таким образом, прибор для измерения неэлектрических
величин в общем можно представить в виде цепи измерительных преобразователей,
последовательно преобразующих измеряемую величину Хв ряд других величин и в
конечном итоге - в число (код), определяющее значение измеряемой величины в
определенных единицах измерения.
Измерительный преобразователь (ИП) - техническое
средство с нормативными метрологическими характеристиками, служащее для
преобразования измеряемой величины в другую величину или измерительный сигнал,
удобный для обработки, хранения, дальнейших преобразований, индикации или
передачи. В основе работы ИП использовано то или иное физическое явление
(процесс), происходящее под действием измеряемой физической величины. Учитывая,
что объект измерения, как правило, сложный процесс, характеризующийся
множеством различных параметров, то информативным параметром входного сигнала
будем считать непосредственно измеряемую величину или величину, функционально
связанную с измеряемой величиной. Информативный параметр - параметр, несущий
информацию об измеряемой величине. Неинформативный параметр не связан
функционально с измеряемой величиной, но влияет на метрологические характеристики
преобразователя.
Измерительный преобразователь, в основе действия
которого лежат прямые преобразования физической величины получил название
первичного преобразователя измеряемых величин. Первичный измерительный
преобразователь, называемый также датчиком, - это тот измерительный
преобразователь, на который непосредственно действует измеряемая величина. Это
связано с тем, что он, как правило, является первым звеном измерительной цепи.
Измерительный преобразователь, как правило, предназначен для выполнения одного
частного измерительного преобразования. Работа измерительных преобразователей
протекает в сложных условиях, так как объект исследования в большинстве случаев
характеризуется множеством параметров, каждый из которых действует на
измерительный преобразователь. Задача экспериментатора - получение информации
об одном параметре, называемом измеряемой величиной. Все остальные побочные
параметры процесса измерения относятся к помехам. Каждому измерительному
преобразователю приписывается естественная входная величина, для измерения
которой на фоне помех данный измерительный преобразователь предназначен.
Поэтому же принципу выделяется естественная выходная величина преобразователя.
Параметры, характеризующие условия, в которых
работает преобразователь, и влияющие на его функцию преобразования, называют
влияющими величинами. Зависимость изменения метрологических характеристик
преобразователя от изменения влияющей величины или неинформативного параметра
входного сигнала в пределах рабочих условий эксплуатации называется функцией
влияния. Функция влияния может быть нормирована в виде формулы, графика или
таблицы.
Функция преобразования (влияния). Статическая
характеристика (функция) преобразования - это связь, выражающая зависимость
информативного параметра выходного сигнала от постоянного во времени
информативного параметра входного сигнала. Ее можно описать аналитическим
выражением или графиком. В аналитическом виде характеристика преобразования
представляется зависимостью Y=f(X), которая может быть линейной (рисунок 2.1,
а) или нелинейной (рисунок 2.1, б).
а) линейная зависимость
б) нелинейная зависимость
Рисунок 2.1 - Функции преобразования
Различают номинальную функцию преобразования
Yном=fном(X), приписываемую измерительному преобразователю согласно
государственным стандартам, техническим условиям и другим нормативным
документам, и реальную (рабочую) Yр=fр(X), которую он имеет в действительности.
Динамические характеристики
преобразователей представляют собой зависимость информативного параметра
выходного сигнала от меняющихся во времени параметров входного сигнала. К числу
динамических относятся характеристики: импульсная g(t), являющаяся реакцией
преобразователя на дельта-функцию 
(t); переходная h(t) - реакция на
единичный ступенчатый сигнал; передаточная функция - отношение операторных
изображений выходной величины к входной К(р) = Y(p)/X(p); амплитудно- и
фазочастотная. Динамические (инерционные) свойства преобразователей
характеризуют такими понятиями как скорость преобразования и время
преобразования. Скорость преобразования (измерения) определяется числом
преобразований (измерений) в единицу времени, выполняемых с нормированной
погрешностью. Время преобразования (измерения) - время, прошедшее с начала
преобразования (измерения) до получения результата с нормированной
погрешностью.
Чувствительность преобразователя -
это свойство преобразователя, заключающееся в возможности преобразования
измеряемого сигнала в форму, удобную для дальнейшей обработки или позволяющую
наблюдателю воспринять значение измеряемой физической величины, оцениваемое с
помощью коэффициентов преобразования.
Также чувствительностью
преобразователя называют отношение изменения выходной величины (информативного
параметра) к вызывающему его изменению входной величины (информативного
параметра входного сигнала). Чувствительность равна производной от функции
преобразования преобразователя S = dY/dX = ∆Y/∆Х и геометрически
выражается тангенсом угла наклона касательной в любой точке кривой функции
преобразования.
Для линейных преобразователей
чувствительность постоянна и определяется по формуле
|
|
(2.1)
|
где Y - выходная электрическая величина;
Х - входная неэлектрическая величина.
а для нелинейных она всегда зависит от входного
сигнала.
Чувствительность измерительного прибора,
состоящего из последовательного ряда измерительных преобразователей,
определяется произведением чувствительностей всех преобразователей, образующих
канал передачи информации.
Порог чувствительности измерительного
преобразователя − выражается в единицах измеряемой величины и
характеризующее предельные возможности при работе в режиме нуль индикатора (под
порогом чувствительности понимают наименьшее изменение входного сигнала,
способное вызвать заметное изменение выходной величины преобразователя).
Реальные и номинальные характеристики
измерительных преобразователей. В связи с тем, что преобразователи
изготавливаются и градуируются индивидуально их характеристики, как правило,
несколько отличаются друг от друга, занимая некоторую полосу. Поэтому в,
паспорте измерительного преобразователя приводится либо реальные характеристики
присущие каждому преобразователю (например, преобразователи Холла), либо
некоторая средняя характеристика, называемая номинальной.
Погрешности измерительных преобразователей.
Разность между номинальной (паспортной) и реальной характеристиками
преобразователя называется погрешностью измерительного преобразователя.
Погрешности ИП, как и погрешности других средств измерений, могут быть
классифицированы по различным признакам, в частности, по способу их выражения,
по условиям их возникновения, по степени неопределенности, по характеру
зависимости от входной (преобразуемой) величины.
По способу выражения погрешности ИП подразделяют
на абсолютные, относительные и приведенные. Номинальный коэффициент
преобразования большинства ИП не равен единице, как это имеет место в
измерительных приборах, поэтому погрешности ИП могут быть определены как по
выходу, так и по входу преобразователя.
Абсолютные, относительные и приведенные
погрешности преобразователя определяются по входу и выходу, так как входная и
выходная величины могут иметь разную физическую природу, а также вследствие
того, что часто отсутствует измерительный преобразователь, по которому можно
было бы поверить рабочий преобразователь.
Погрешности преобразования зависят как от
свойств самого преобразователя, так и от условий, в которых он работает
(температуры и влажности окружающей среды, наличия внешних электрических и
магнитных полей и т.д.). При нормировании точности измерительных
преобразователей обычно указывают область допустимых значений погрешностей
преобразования, реализуемого преобразователем при «нормальных условиях» (основная
погрешность), и допустимые изменения функции преобразования при определенных
изменениях влияющих величин.
В зависимости от степени неопределенности
погрешности подразделяют на систематические, прогрессирующие и случайные.
Систематическими называются погрешности, не
изменяющиеся с течением времени или являющиеся не изменяющимися во времени
функциями определенных параметров. Систематические погрешности, как правило,
могут быть практически полностью устранены введением соответствующих поправок.
Присутствие постоянных систематических
погрешностей чрезвычайно трудно обнаружить. Постоянные систематические
погрешности внешне себя никак не проявляют и могут долгое время оставаться
незамеченными. Они могут быть выявлены путем измерения физической величины либо
разными однотипными приборами, либо разными методами. Иногда может быть
полезной поверка нуля и чувствительности измерительного прибора путем повторной
аттестации прибора по образцовым мерам.
К систематическим погрешностям можно отнести
большинство дополнительных погрешностей, являющихся не изменяющимися во времени
функциями вызывающих их влияющих величин (температура, частота, напряжение и т.
п.). Эти погрешности благодаря постоянству во времени функций влияния также
могут быть скорректированы введением дополнительных корректирующих
преобразователей, воспринимающих влияющую величину и вводящих соответствующую
поправку в результат преобразования основного преобразователя.
Прогрессирующими называются погрешности,
медленно изменяющиеся с течением времени. Эти погрешности, как правило,
вызываются процессами старения тех или иных деталей аппаратуры (разрядка
источников питания, старение резисторов, конденсаторов, деформация механических
деталей, усадка бумажной ленты в самопишущих приборах и т.д.). Особенностью
прогрессирующих погрешностей является то, что они могут быть скорректированы
без выяснения вызвавших их причин введением поправки, лишь в данный момент
времени. Далее они вновь монотонно возрастают. Поэтому в отличие от
систематических погрешностей прогрессирующие погрешности требуют непрерывного
повторения коррекции, и тем более частого, чем менее желательно их остаточное
значение. Другая особенность прогрессирующих погрешностей состоит в том, что с
точки зрения теории вероятностей их изменение во времени представляет собой
нестационарный процесс и не может быть описано в рамках хорошо разработанной
теории стационарных процессов.
Случайными называются неопределенные по своему
значению или недостаточно изученные погрешности, в появлении различных значений
которых нам не удается установить какой либо закономерности. Они определяются
сложной совокупностью причин, трудно поддающихся анализу. Их частные значения
не могут быть предсказаны, а для всей их совокупности может быть установлена
закономерность лишь для частот появления их различных значений. Присутствие
случайных погрешностей (в отличие от систематических) легко обнаруживается при
повторных измерениях в виде некоторого разброса результатов. В подавляющем
большинстве случаев процесс появления случайных погрешностей есть стационарный
случайный процесс. Поэтому размер случайных погрешностей характеризуют
указанием закона распределения их вероятностей или указанием параметров этого
закона, разработанных в теории вероятностей и теории информации.
В зависимости от условий возникновения
погрешностей их подразделяют на основные и дополнительные.
Основная погрешность - это погрешность,
свойственная преобразователю при нормальных условиях его применения, т. е. в
условиях, когда влияющие величины (например, температура, частота и т. п.)
имеют нормальные значения или находятся в пределах нормальной области их
значений. Влияющей называют величину, которая непосредственно данным
преобразователем не преобразуется, однако влияет на значение информативного
параметра выходного сигнала преобразователя
Дополнительная погрешность - это составляющая
погрешности ИП, вызванная отклонением одной из влияющих величин от нормального
значения или выходом ее значения за пределы нормальной области Пределы
допускаемых отклонений условий работы преобразователей нормируются и
ограничиваются рабочей (расширенной) областью значений влияющей величины, в
пределах которой также нормируется дополнительная погрешность.
Обобщенной характеристикой, определяющей пределы
допускаемой основной и дополнительной погрешностей, является класс точности.
Классы точности измерительных преобразователей нормируются стандартом ГОСТ
8.401-80, согласно которому пределы допускаемых значений основной и
дополнительной погрешностей для каждого класса точности устанавливаются в виде
абсолютных, относительных или приведенных значений. Нормирование погрешности
сводится к представлению ее в виде одночленной и двухчленной формул и указанию
полосы погрешностей в диапазоне преобразований.
Вариация выходной величины. Важной характеристикой
ИП является вариация выходной величины, которая определяется как разность между
значениями выходной величины, соответствующими одному и тому же действительному
значению преобразуемой величины при двух направлениях медленных изменений
последней в процессе подхода к определенной точке диапазона преобразования.
2.2 Измерение магнитных величин
Магнитные измерения тесно связаны с
электрическими измерениями, так как электрические и магнитные явления
представляют собой части единого электромагнитного процесса. В большинстве
случаев при определении той или иной магнитной величины измеряется практически
электрическая величина, значение которой представляет собой функцию измерения
магнитной величины. Сама же магнитная величина определяется расчетным путем на
основании соотношений, связывающих магнитные и электрические величины.
Посредством магнитных измерений решается ряд задач, к которым относятся
исследование магнитных свойств веществ и материалов, атомов и атомного ядра;
контроль качества магнитных материалов и изделий из них; измерение магнитных
полей постоянных магнитов и электромагнитов; исследование магнитного поля Земли
и других планет; изучение физических свойств материалов по их магнитным
характеристикам. Каждая из этих областей исследований предъявляет свои
требования к диапазону и точности измерений, частотному диапазону, условиям
измерения и к средствам измерения.
Измерение магнитного потока. При создании
приборов для измерения магнитного потока обычно используется явление
электромагнитной индукции. При изменении магнитного потока в измерительной
катушке (ИК) возникает ЭДС. Измерительная катушка является преобразователем, с
помощью которого магнитные величины (магнитный поток Ф. магнитная индукция В,
напряженность магнитного поля Н) могут быть преобразованы в ЭДС и измерены.
Магнитоизмерительный преобразователь в виде ИК можно использовать для измерения
параметров постоянного и переменного магнитных полей. В зависимости от
характера измеряемой величины к ИК предъявляются различные требования относительно
ее формы, размеров, расположения и т.д. Основной характеристикой ИК является ее
постоянная, определяемая через произведение числа витков на площадь витка.
Для измерения постоянного магнитного потока
используют баллистический гальванометр (БГ) или веберметр. Основные
характеристики БГ - его постоянная и период свободных колебаний. Погрешность
измерения составляет 0,5... 1,0%. Баллистический гальванометр обеспечивает
высокую чувствительность и точность, является прибором магнитоэлектрической
системы с неградуированной шкалой и требует определения постоянной при каждом
измерении.
Веберметр - прибор с градуированной шкалой для
измерения магнитного потока. Существуют веберметры магнитоэлектрические, фото
гальванометрические, аналоговые электронные и цифровые.
Магнитоэлектрический веберметр представляет
собой разновидность гальванометра с противодействующим моментом, равным нулю и
с большим моментом магнитоиндукционного успокоения. При отсутствии
противодействующего момента, подвижная часть веберметра может занимать любое
случайное положение. Это дает возможность произвести правильный отсчет
измеряемой величины, так как указатель веберметра остается неизменным в
положении первого максимального отброса. По точности и чувствительности он
уступает баллистическому гальванометру. Диапазон измерений магнитоэлектрических
микровеберметров - 500.. .10 000 мкВб; Классы точности - 1,0; 2,5; 4,0 (в
зависимости от сопротивления Внешней цепи - 10; 20; 30 Ом).
Фотогальванометрический веберметр представляет
собой фотогальванометрический усилитель с отрицательной обратной связью,
которая осуществляется с помощью RС-цепи. Диапазон измерений
фотогальванометрических микровеберметров - 2...2000 мкВб; классы точности -
1,0; 2,5 (сопротивление внешней цепи 100... 1000 Ом).
Периодически изменяющиеся магнитные потоки
измеряются индукционным методом, в основе которого лежит закон электромагнитной
индукции. Измерению подлежит переменная ЭДС, индуцируемая в ИК, которая и
является неподвижным индукционным преобразователем, охватывающим переменный
поток. Концы ИК можно подключить к вольтметру среднего, действующего,
амплитудного значения, к компенсатору, компаратору, в зависимости от требуемой
точности и наличия СИ. В зависимости от СИ можно получить различные значения
одного и того же потока, что особенно важно, когда кривая ЭДС несинусоидальная.
Измерение магнитной индукции и напряженности
магнитного поля. Прямые измерения магнитной индукции В и напряженности
магнитного поля Н в постоянных и переменных полях выполняются с помощью
тесламетров с преобразователем Холла.
Преобразователь Холла. Преобразователь
представляет собой пластину из полупроводникового материала, по которому
пропускается постоянный или переменный ток. При помещении преобразователя в
магнитное поле на боковых его гранях возникает ЭДС Холла. Выпускаемые
промышленностью тесламетры с преобразователем Холла имеют следующие параметры:
диапазон измерения - 0,002...2 Т; классы точности - 1,0; 1,5; 2,5; частотный
диапазон - до 1000 МГц.
Достоинства: приборы просты и удобны в эксплуатации,
имеют достаточно высокие метрологические характеристики.
Недостатки: показания приборов зависят от
температуры внешней среды.
Ядерно-резонансные тесламетры. Это приборы, в
которых в качестве преобразователя применяется разновидность квантового магнитоизмерительного
преобразователя, действие которого основано на взаимодействии микрочастиц
(атомов, ядер атомов) с магнитным полем. В качестве квантового преобразователя
можно использовать ядерно-резонансный преобразователь, позволяющий измерить
магнитную индукцию с высокой точностью. Диапазон измерений - 0,01... 10 Т;
классы точности - 0,001 ...0,1.
Ферромодуляционные тесламетры. Они предназначены
для измерения магнитной индукции В и напряженности Н в малых постоянных и
низкочастотных переменных полях. Тесламетры, основанные на явлении
сверхпроводимости, позволяют измерить параметры магнитного поля биотоков сердца
и мозга человека.
2.3 Классификация магнитных преобразователей
Под первичным преобразователем магнитного поля
понимается устройство, служащее для преобразования параметров магнитного поля в
электрический сигнал. В первичных преобразователях, происходит изменение
физической природы сигнала. Если входным сигналом служит сама физическая
величина, подвергаемая преобразованию (Ф, В, Н), то выходным - уже другая
физическая величина, функционально связанная с первой.
Для измерения магнитных величин могут быть
использованы практически любые проявления магнитного поля. В соответствии с
этим целесообразно в первую очередь преобразователи классифицировать по роду
выходной величины. Тогда, если выходной величиной является, например,
электрическая, такой группе преобразователей присваивается название
магнитоэлектрических. Соответственно магнитомеханическими преобразователями
будем называть преобразователи, в которых используется механическое проявление
магнитного поля.
Рисунок 2.2 - Классификация магнитных
преобразователей
Каждая из этих групп преобразователей
разделяется на подгруппы - в зависимости от того физического явления и
закономерности, которые связывают входную и выходную величины. Например,
индукционные преобразователи основываются на явлении электромагнитной индукции,
и соответствующий закон связывает входную магнитную величину с выходной
электрической величиной (количество электричества, импульс э.д.с, переменная э.
д. с). Классификация охватывает преобразователи, применяемые для измерения
параметров магнитного поля и при испытании магнитных материалов.
В современной практике магнитных измерений
большое развитие получила группа магнитоэлектрических преобразователей.
Наибольший интерес представляют входящие в эту группу преобразователи:
индукционные, гальваномагнитные, феррозондовые, сверхпроводниковые и квантовые
(использующие ядерные, электронные и атомные явления).
Индукционные преобразователи являются
преобразователями пассивного типа. В них в качестве чувствительного элемента
используется катушка индуктивности с ферромагнитным сердечником или без него.
При этом выходным сигналом является ЭДС движения, наводимая в катушке и пропорциональная
скорости изменения магнитного поля, пронизывающего катушку.
Гальваномагнитные преобразователи магнитного
поля, в которых изменение внутренних параметров при воздействии внешних
магнитных полей осуществляется за счет искривления траектории движения
носителей заряда, изменения их концентрации и т. д. К ним относятся датчики
Холла, магниторезистивные, гальваномагниторекомбинационые, магнитодиодные,
магнитотриодные, z-элементные преобразователи, имеющие значительные перспективы
практического использования.
Это объясняется тем, что подобные
преобразователи микроскопических размеров можно изготовлять автоматизированным
путем по интегральной технологии, что имеет большое значение при изготовлении
многоэлементных матричных преобразователей для визуализации магнитных полей.
Отдельную группу составляют феррозондовые
преобразователи, которые являются преобразователями активного типа и содержат
ферромагнитные сердечники стержневого или кольцевого типа. Выходная ЭДС в них
возникает за счет изменения во времени магнитных параметров сердечников при
одновременном воздействии на них регистрируемого магнитного поля и переменного
поля возбуждения. При этом регистрируемое магнитное поле осуществляет модуляцию
какого-либо магнитного параметра сердечников (Ф, В, Н,μr).
Феррозондовые
преобразователи подразделяются на трансформаторные и однообмоточные.
Сверхпроводниковые преобразователи
магнитного поля, используемые в диагностике, представляют собой сверхпроводящее
кольцо с одним или двумя джозефсоновскими переходами. Джозефсоновский переход
иначе джозефсоновский контакт - твердотельный сверхпроводниковый наноэлемент, в
котором через тонкую изолирующую или несверхпроводящую прослойку между двумя сверхпроводниками
<#"654711.files/image005.gif">
Рисунок 2.3 − Пассивный
индукционный преобразователь
Наиболее эффективный способ
повышения чувствительности − увеличение числа витков катушки
преобразователя и использование сердечников из высокопроницаемых материалов
(феррита, пермаллоя и т. д.). Однако при этом необходимо помнить, что
увеличение числа витков вызывает увеличение выходного индуктивного
сопротивления; применение сердечников с высокой проницаемостью приводит к
непостоянству чувствительности преобразователя и ее зависимости от воздействия
постоянных магнитных полей. Улучшение параметров пассивных индукционных
преобразователей возможно при изготовлении их печатным способом, методом
фотографирования или вакуумного напыления. Получение необходимого числа витков
достигается и в многослойных структурах, технология которых достаточно хорошо
разработана, а процесс изготовления может быть автоматизирован.
Недостатком пассивных индукционных
преобразователей является зависимость чувствительности от различных
подмагничивающих полей, образующихся в установках магнитного поля, а также
зависимость выходного сигнала преобразователя от скорости изменения
напряженности изменяемого магнитного поля. Сигнал, получаемый от катушки,
возрастает при введении в нее ферромагнитного сердечника. Размер сердечника в
направлении вектора намагничивающего поля, обозначенный на рисунке 2.3 буквой
b, будем называть шириной сердечника, размер а − длиной сердечника. Длина
сердечника а определяет ширину полосы контроля. Ширина b не должна превышать
размеры области, на протяжении которой минимальный дефект создает заметное
возрастание напряженности магнитного поля рассеяния. Длина сердечника а
определяется требованиями к ширине полосы контроля.
Гальваномагнитные преобразователи. В
гальваномагнитных преобразователях используются вторичные эффекты, возникающие
в проводниках или полупроводниках с током при воздействии на них магнитного
поля. Практическое применение получили эффект Холла, заключающийся в появлении
э.д.с. между точками, эквипотенциальными при отсутствии магнитного поля, и
эффект изменения электрического сопротивления. На первом эффекте основаны
преобразователи Холла, на втором - магниторезисторы и магнитодиоды.
Характеристики магнитных
преобразователей, применяемых в магнитной дефектоскопии, должны удовлетворять
следующим требованиям:
Таблица 1
|
Напряженность
измеряемого поля, А/см:
|
|
|
наименьшая
|
10-3
|
|
наибольшая
|
103
|
|
Минимальная
чувствительность, мВ∙см/А
|
2
|
|
Инерционность,
с
|
до
10-4
|
|
Наибольшие
размеры, мм
|
10-3
|
|
Температурная
погрешность, %
|
до
0.01
|
|
Рабочий
диапазон температур, °С
|
−30
…..+150
|
Классификация гальваномагнитных
преобразователей:
Преобразователи, основанные на эффекте Холла и
эффекте Гаусса.
Наиболее широкое применение получили
полупроводниковые гальваномагнитные преобразователи, основанные на эффекте
Холла и эффекте Гаусса. Эффект Холла заключается в возникновении поперечной
разности потенциалов (ЭДС Холла) на боковых гранях пластины.
Эффект Гаусса проявляется в изменении
электрического сопротивления пластины. Оба эффекта обусловлены изменением
траектории движения заряженных частиц в магнитном поле под действием силы
Лоренца Ғ = −е [V, В].
Чувствительность преобразователя Холла к
магнитной индукции Sb определяется при номинальном значении входного тока Iном
= const как
где Rпх − постоянная Холла;
φ1
- функция,
зависящая от геометрии преобразователя; − толщина пластины.
и
для серийно выпускаемых преобразователей составляет 0,03 ... 1 В/Тл, или 0,04
... 0,12 мВ∙см/А. Значение Iном ограничено допускаемой температурой
перегрева преобразователя. Диапазон измеряемых полей − от 0,1 до 1000
А/см. Интервал рабочих температур также широк и для серийных отечественных
преобразователей составляет от -30 до +150 °С. Инерционность элементов Холла -
не более 10-10 с.
Схема
включения преобразователя Холла показана на рисунке 2.4.
Рисунок
2.4 - Схема включения преобразователя Холла
При
пропускании постоянного тока через датчик значение Ux определяется только
напряженностью поперечного магнитного поля дефекта. Благодаря именно этому
преобразователи Холла широко используются в магнитной диагностике. Так как
основные параметры преобразователей Холла улучшаются с ростом подвижности
носителей, то для их изготовления используются полупроводники с высокой
подвижностью: германий, кремний, арсенид галлия, антимонид индия и др.
Быстрое
распространение преобразователей Холла обусловливается их многочисленными преимуществами,
важнейшие из которых следующие:
преобразователь
Холла является статическим элементом, что дает ему преимущество перед
индукционным, измеряющим магнитное поля только в момент перемещения;
малые
размеры (10 х 10 мкм) и большая надежность в работе;
линейная
зависимость выходного напряжения от управляющего магнитного поля;
передача
сигналов без искажений.
К
недостаткам холловских преобразователей относятся большой разброс параметров,
зависимость чувствительности, сопротивления и коэфициента Холла от
температуры.
Другой
тип полупроводникового гальваномагнитного преобразователя основан на изменении
электрического сопротивления под действием магнитного поля (эффект Гаусса).
Увеличение электрического сопротивления под действием магнитного поля происходит
как в случае, когда вектор магнитной индукции направлен перпендикулярно к
направлению протекания тока в полупроводниковой пластине (поперечный эффект
магнитосопротивления), так и в случае, когда вектор магнитной индукции
параллелен направлению тока (продольный эффект магнитосопротивления). Однако
изменение сопротивления при продольном эффекте незначительно. Физически
магниторезистивный эффект обусловлен искривлением траектории носителей заряда
(электронов проводимости и дырок) в магнитном поле под действием силы Лоренца
относительно направления возбуждающего электрического поля.
Чувствительность
достигает максимального значения в полях 0,15 ... 0,25 Тл (1200 ... 2000 А/см),
а в области малых полей менее 10 мТл (80 А/см) чувствительность стремится к
нулю. При этом магниторезистивный эффект нечувствителен к знаку магнитного
поля. Диапазон рабочих температур магниторезисторов составляет -85 ... +60 °С.
Преимуществом
преобразователей Гаусса можно считать простейшую конструкцию с минимально
возможным числом электродов. Наименьшие размеры магниторезисторов составляют
около 50 мкм.
К
недостаткам следует отнести низкую чувствительность (меньшую, чем у
преобразователей Холла), значительную нелинейность и температурную
нестабильность; низкие метрологические показатели ограничивают применение
полупроводниковых магниторезисторов в качестве прецизионных измерителей
магнитного поля.
Гальваномагниторекомбинационные
преобразователи.
Более
чувствительными преобразователями являются гальваномагниторекомбинационные
(ГМР). Их действие основано на магнитоконцентрационном эффекте в собственном
полупроводнике, особенность которого состоит в том, что концентрация электронов
равна концентрации дырок. В условиях термодинамического равновесия в
полупроводнике наряду с генерацией пар электрон-дырка происходит и
противоположный процесс − рекомбинация носителей тока. Суть ГМР-эффекта
заключается в изменении сопротивления полупроводника с током, помещенного в
магнитное поле, в результате изменения средней по сечению полупроводника
концентрации носителей заряда, возникающего при условии различных скоростей
поверхностной рекомбинации носителей на его гранях.
Эти
процессы происходят непрерывно, и для каждого значения температуры
устанавливается соответствующая равновесная концентрация электронов. В отличие
от магниторезистивного элемента ГМР−преобразователь обладает
чувствительностью к знаку магнитного поля. Чувствительность таких
преобразователей на два порядка превосходит чувствительность элементов Холла и
составляет 80 В/Тл (10 мВ ∙ см/А).
Чаще
всего для изготовления ГМР−преобразователей используют германий,
обладающий достаточно высокой подвижностью носителей заряда и длиной
диффузионного смещения около 1 мм.
Схема
включения ГМР−преобразователя приведена на рисунке 2.5. Значение
нагрузочного сопротивления Rн определяет режим работы преобразователя. Если
сопротивление Rн примерно в 10 раз превышает сопротивление ГМР−преобразователя
при отсутствии магнитного поля Rг, то последний работает в режиме питания от
источника тока (І1 = const).
Рисунок
2.5 - Схема включения ГМР−преобразователя
Схема
обеспечивает режим максимальной магнитной чувствительности ГМР−преобразователя.
Можно так подобрать значение сопротивления нагрузки г=Rн.опт, что будет
обеспечиваться режим работы схемы с минимальным значением температурного
коэффициента магнитной чувствительности. При этом Rг/Rн.опт = 2,5. На рисунке
2.6 видно, что зависимость выходного напряжения от напряженности магнитного
поля при І1 = const линейна.
Рисунок
2.6 - Зависимость выходного сигнала от напряженности магнитного поля ГМР−преобразователя
Преимуществом
ГМР−преобразователей является линейность зависимости Uвых = f (Hд) слабых
полях, что выгодно отличает их от преобразователей магнитосопротивления. Кроме
того, чувствительность их значительно выше, чем у преобразователей Холла.
Однако,
несмотря на это порог чувствительности ГМР-преобразователей в настоящее время
имеет примерно тот же порядок, что и у холловских преобразователей, что
объясняется значительной нестабильностью нулевого сигнала, связанной с
изменением сопротивления.
Магнитодиоды.
В
качестве магнитодиодов используют несимметричные р+−n- или n+ −p-
переходы с длинной базой, т.е. базой, длина которой больше длины диффузионного
смещения неосновных носителей заряда.
В
настоящее время применяют две конструкции магнитодиодов: торцевая (рисунок 2.7,
а) и планарная (рисунок 2.7, б). При массовом производстве торцевых
магнитодиодов трудно осуществить обработку поверхности только одной боковой
грани, поэтому все грани обрабатывают одинаково. Сопротивление таких
магнитодиодов при обоих направлениях магнитного поля растет одинаково. В
планарной конструкции магнитодиодов целесообразно увеличивать скорость
рекомбинации носителей заряда на стороне пластины, противоположной от
контактов. В этом случае при полярности магнитного поля +Н инжектированные
носители отклоняются к верхней грани пластины, сокращается их траектория
движения и увеличивается время жизни.
а)
торцевая конструкция
б)
планарная конструкция
Рисунок
2.7 - Конструкция магнитодиодов
Оба
эти эффекта приводят к уменьшению сопротивления магнитодиода. При направлении
магнитного поля -Н сопротивление увеличивается. Это позволяет использовать
магнитодиод для определения направления магнитного поля. Если же область с
высокой скоростью рекомбинации расположена на верхней стороне пластины, то
эффекты изменения длины траектории и времени жизни будут частично
компенсировать друг друга и магниточувствительность значительно уменьшится.
Магнитотранзисторы.
Однопереходный
транзистор состоит из стержня полупроводника с омическими контактами на концах
и p-n-переходом между ними (рисунок 2.8). Любой однопереходной транзистор можно
использовать в качестве магниточувствительного прибора.
Рисунок
2.8 - Схема включения однопереходного магнитотранзистора
Под
действием электрического поля в базе, создаваемого напряжением Uб.б, инжектированные
дырки уносятся в нижнюю часть базы, вследствие чего ее сопротивление еще больше
уменьшается. Снижение сопротивления нижней части базы приводит к дальнейшему
уменьшению напряжения U1 и увеличению Upn, в результате чего инжекция носителей
и ток через p-n-переход продолжают расти. Такой самоускоряющийся процесс
приводит к лавинному нарастанию тока через р-п-переход и уменьшению падения
напряжения на последовательно включенных сопротивлениях р-n-перехода и нижней
части базы, причем нагрузочный резистор во входной цепи должен быть больше
входного сопротивления однопереходного транзистора.
Для
увеличения чувствительности преобразователей Холла необходимо уменьшить их
толщину. Однако при этом существуют ограничения, обусловленные как
технологическими трудностями получения тонких образцов, так и тем, что при
малых толщинах растет рассеивание носителей заряда на поверхности, а это
приводит к снижению их подвижности. Эти трудности можно уменьшить путем
применения полевого эффекта для изменения толщины полупроводника.
При
помещении любого полевого транзистора в поперечное магнитное поле в его канале
возникает электрическое поле Холла, как и в полупроводниковом стержне с двумя
омическими контактами на концах. Полевой магнитотранзистор отличается от
обычного лишь тем, что в его канале имеются дополнительные боковые омические
контакты для вывода ЭДС Холла.
На
рисунке 2.9 показана структура МДП-магнитотранзистора с каналом n-типа. При
работе транзистора в режиме обеднения канала толщина канала d минимальна вблизи
стока С, так как между затвором З и этой частью канала действует напряжение,
равное сумме напряжений затвора Uз и стока Uc. Вблизи истока И напряжение между
затвором и каналом равно U3, поэтому толщина канала здесь больше. Напряжение
Холла Uх максимально в том месте, где d минимально. Следовательно, холловские
контакты имеет смысл располагать вблизи стока. Увеличивая отрицательное
напряжение на затворе, можно уменьшать d до очень малых значений и таким
образом увеличивать Uх.
) МДП -
магнитотранзистор
б)
полевой магнитотранзистор с p-n-переходом
Рисунок
2.9 - Виды полевых магнитотранзисторов
Чувствительность
кремниевых МДП-магнитотранзисторов с каналом р-типа, при Іс = 0,1 мА равна 400
В/Тл, что в 5 ... 10 раз выше чувствительности преобразоваителей Холла из
аналогичного материала. Несмотря на то, что их чувствительность на два порядка
ниже чувствительности биполярных магнитотранзисторов, полевые
магнитотранзисторы также находят практическое применение, поскольку имеют
меньший уровень собственных шумов.Элементы.элемент представляет собой
р-п-структуру с вольт-амперной характеристикой s-типа. Его изготовляют из
кремния с включениями, например фосфора (проводимость n-типа). Алюминий вводят
в структуру для создания зоны с проводимостью p-типа. Добавляют также медь,
цинк.элемент подключается к схеме источника постоянного тока через нагрузочное
сопротивление Rн, используемое для ограничения тока и регулирования выходного
сигнала. При этом р-n-переход включается в прямом положительном направлении
(рисунке 2.10).
Рисунок
2.10 - Схема включения Z-элемента
В
начальной части вольт-амперной характеристики (интервал ОА на рисунке 2.11)
сопротивление Z-элемента велико и ток, протекающий через него, мал. С
увеличением напряжения сила тока постепенно возрастает. Напряжение, приложенное
к z-элементу, падает в основном на участке газоны с высоким сопротивлением. В
некоторые моменты времени напряжение достигает критического значения Uкр, при
котором интенсивность электрического поля увеличивается до значения,
соответствующего энергии активации носителей тока.
Рисунок
2.11 - Вольт-амперная характеристика Z-элемента
Таким
образом, в z-элементе периодически изменяется проводимость в зоне шнурования
тока и возникают самовозбужденные колебания. Если же число электронов,
участвующих в рекомбинации возле границы шнурования тока, превышает число дырок
в р-области, то шнур становится стабильным и колебания отсутствуют. Однако при
использовании внешних воздействий (магнитного, механического, оптического и
т.д.), достаточных для репроизводства эквивалентного числа дырок и электронов
возле границы шнурования тока, начинается процесс, сходный с описанным выше, и
колебания в z-элементе возникают вновь. В обоих случаях частота колебаний из-за
шнурования тока зависит от значений параметров внешних воздействий, которые
определяют скорость разрушения токового шнура.
Тонкопленочные
магнитотранзисторы.
Другим
типом преобразователей на тонких металлических ферромагнитных пленках
являются магниторезистивные преобразователи магнитного поля. Их действие
основано на анизотропии удельного электрического сопротивления относительно
направления вектора намагниченности в пленке. Если поместить пленочный
прямоугольный магниторезистивный элемент (рисунок 2.12) во внешнее поле Не,
перпендикулярное к оси легкого намагничивания (ОЛН) и параллельное направлению
протекания тока, то падение напряжения на нем будет определяться следующими
выражениями:
где 
- сила тока, протекающего через
пленочный элемент;

- сопротивление пленки при взаимно
перпендикулярном направлении протекания тока и вектором намагниченности М;

- максимальное изменение
сопротивления пленки в магнитном поле;

- угол между направлением тока в
пленке и вектором намагниченности М;
Нк - напряженность поля одноосной
анизотропии, определяемая как 2К/М (К -константа анизотропии).
- источник тока; 2 - ферромагнитная
металлическая пленка
Рисунок 2.12 - Схематическое
изображение магниточувствительного элемента, основанного на магниторезистивном
эффекте в ферромагнитных пленках
магнитный
преобразователь контроль пленочный
Чувствительность типичных пленочных
элементов составляет 2500 мВ ∙ см/А; диапазон измерения от 10-4 до 5
А/см. Размеры пленочных преобразователей могут быть очень малыми, порядка 1 мкм
при толщине пленки 20 нм. Эксплуатационные качества пленочных МЭ близки к
феррозондовым. Это обеспечивается применением для изготовления пленочных МЭ, в
основном, металлических сплавов и простейшей конструкцией. Так как
перемагничивание многодоменных пленок происходит за несколько наносекунд, то у
магниторезистивных элементов инерционность менее 10-8 с. Диапазон рабочих
температур -200 +150 °С. Преимущество таких преобразователей состоит в том, что
к ним применимы методы интегральной технологии, и их можно органично разместить
на одной подложке с другими электронными полупроводниковыми компонентами. К
недостаткам следует отнести малый рабочий диапазон напряженности измеряемых
полей, высокую температурную погрешность и неоднозначность показаний при
наличии компонент внешнего поля как вдоль оси трудного намагничивания, так и
вдоль ОЛН. Также отсутствуют технологии получения пленки с точно заданными
параметрами.
Магниторезисторы с гигантским
магниторезистивным эффектом.
В 1988 г. был открыт принципиально
новый магниторезистивный эффект, основанный на совершенно ином физическом
явлении, позволяющий получить значительно большее изменение электрического
сопротивления тонкопленочной структуры. Он был назван гигантским
магниторезистивным эффектом.
В несколько упрощенном виде сущность
гигантского магниторезистивного эффекта состоит в следующем. Пусть имеется
многослойная структура, в которой тонкие слои ферромагнитного металла (ФМ)
разделены тонкими слоями немагнитного металла (НМ), обозначенные соответственно
1 и 2 на рисунке 2.13. Такие структуры часто обозначают (ФМ/НМ)n, где ФМ и НМ -
наименования соответствующих металлов, а n - число магнитных слоев. В
наименование многослойной структуры часто добавляют значения толщин
соответствующих слоев tф и tН: (ФМ, tф/НМ, tH)n. Для проявления гигантского
магниторезистивного эффекта необходимо, чтобы:
существовал какой-нибудь способ
изменения относительного направления намагниченности в соседних магнитных слоях
(например, от антипараллельного, показанного на рисунке 2.13, до параллельного);
толщина слоев (пленок из ФМ и НМ)
была много меньше средней длины свободного пробега электронов проводимости в
многослойной структуре.
Рисунок 2.13 - Многослойный
магниторезистор с гигантским магниторезистивным эффектом
В структуре (Ғе/Сr)n, в
которой впервые был обнаружен гигантский магниторезистивный эффект, первое
условие выполнялось за счет обменного взаимодействия между соседними магнитными
слоями, благодаря которому в отсутствие внешнего магнитного поля они оказались
намагниченными антипараллельно (на рисунке 2.13 показано сплошными стрелками).
Под действием внешнего достаточно сильного продольного поля Нв (направление
показано штриховой линией) все магнитные слои оказываются намагниченными в направлении
этого поля. Второе условие выполняется путем выбора толщины слоев обычно в
пределах (10 ... 30)10-10 м.
Гигантский магниторезистивный эффект
принято характеризовать двумя параметрами. Первый параметр А, который называют
амплитудой гигантского магни-торезистивного эффекта, определяется как отношение
изменения сопротивления ∆R многослойной структуры под действием
магнитного поля, к ее сопротивлению Rs при насыщении всех магнитных слоев в
одном направлении:
|
|
(2.5)
|
Второй параметр С - нормализованное значение
магниторезистивного эффекта, обычно используемое и при оценке А
магниторезистивного эффекта, определяется как
|
|
(2.6)
|
где 
- сопротивление структуры при
отсутствии внешнего магнитного поля.
Между этими двумя параметрами
существует следующая связь:
|
(2.7)
|
|
Значение А может изменяться от 0 до ∞, а С
- от 0 до 1. Для многослойных структур типа (Ғе/Сг) и (Со/Си) получены
значения А > 1, что соответствует С > 0,5.
Однако высокие значения А или C еще недостаточны
для практического использования таких структур в магниторезистивных
преобразователях. Требуется, чтобы такие значения А или C достигались при
относительно слабых магнитных полях. Поэтому структуры с гигантским
магниторезистивным эффектом характеризуются еще и чувствительностью Q, значение
которой может быть равно 2,5 ... 10-5А/см:
|
|
(2.8)
|
где ∆Н - изменение
напряженности магнитного поля, вызывающее данное изменение сопротивления 
. В этом случае ∆Н = Не.
Одним из главных направлений
исследований, проводимых в области гигантского магниторезистивного эффекта
применительно к его использованию в преобразователях, является поиск структур и
методов, обеспечивающих высокие значения А при малых ∆Н .
Приведенные данные свидетельствуют о
том, что гигантский магниторезистивный эффект находится в начальной стадии
своего исследования и применения. Следует ожидать появления новых структур и
технологий, обеспечивающих более высокие технические и технологические
характеристики преобразователей магнитного поля.
Феррозондовые преобразователи.
В магнитной дефектоскопии широко
применяют различные типы феррозондовых преобразователей. Технология их
изготовления основана на применении ручного труда и не рассчитана на серийное
производство. Не удалось в полной мере обеспечить идентичность
преобразователей. Все эти проблемы решаются при переходе на интегральную
технологию, которая в настоящее время имеет весьма высокий уровень развития и
применяется для выпуска большинства изделий микроэлектроники.
Рассмотренные параметры
тонкопленочных магнитомодуляционных и индуктивных преобразователей не позволяют
эффективно использовать эти преобразователи в магнитной дефектоскопии (из-за
ограниченного диапазона значений напряженности измеряемых полей либо из-за
конструктивных особенностей). Наиболее близки к оптимуму трубчатые феррозонды с
поперечным возбуждением (ФПВ), однако их изготовление не исключает ручного
труда. В этом плане более предпочтительны тонкопленочные феррозонды с
поперечным импульсным возбуждением.
В основу работы феррозондовых
преобразователей положено использование нелинейных свойств сердечников из
ферромагнитного материала. Классический феррозонд-полимер состоит из двух
ферромагнитных проволочных сердечников, расположенных на небольшом расстоянии
друг от друга, и четырех обмоток, включенных попарно последовательно, как
показано на рисунке 2.14.
- генератор возбуждения: 2 -
полосовой фильтр; 3 - обмотки возбуждения; 4 - измерительные обмотки; 5 -
ферромагнитные сердечники
Рисунок 2.14 - Феррозондовый
четногармонический преобразователь - полимер
В первую пару обмоток (обмоток
возбуждения), включенных встречно, подается синусоидальное напряжение
возбуждения частотой, fв, которое постоянно перемагничивает сердечник по
предельной петле гистерезиса. Со второй пары обмоток (измерительные обмотки),
которые включены согласно, снимается выходное напряжение, поступающее дальше на
полосовой фильтр с центральной частотой 2fв. Когда напряженность внешнего поля
равна нулю, перемагничивание осуществляется симметрично относительно нулевого
значения поля. Напряжение измерительной обмотки состоит в этом случае только из
не скомпенсированных нечетных гармоник вследствие неполной идентичности
сердечников и обмоток. При внесении сердечников во внешнее поле симметрия
перемагничивания нарушается из-за нелинейности характеристики, и в
измерительных обмотках появляется ЭДС четных гармоник. Для измерения
используется, в основном, вторая гармоника, на которую и настроен узкополосный
фильтр. Значение ЭДС четных гармоник при условии, что напряженность измеряемого
поля много меньше амплитуды возбуждающего поля, можно определить по формуле
|
|
(2.9)
|
где ω - частота
тока возбуждения;- число витков измерительной обмотки; - площадь поперечного
сечения сердечника; - номер четной гармоники (для второй гармоники n = 1);

- магнитная проницаемость на 2n-й
четной гармонике.
Чувствительность феррозондов может
достигать очень больших значений - до 1 ООО мВ ∙ см/А. Порог
чувствительности -10-9 Тл (~ 10,5 А/см), причем это значение достигается при
высоком отношении сигнал/шум. Наибольшее значение напряженности измеряемого
поля четногармонических феррозондов - около 200 А/см. Максимальное значение
ограничено только амплитудой напряженности поля возбуждения. Увеличение
напряженности поля возбуждения с целью расширить диапазон измерения в
четногармоническом феррозонде приводит к термическому разрушению обмотки. Во
избежание этого применяют феррозондовые преобразователи с импульсным
возбуждением.
Индуктивное сопротивление катушки с
сердечником из мягкого магнитного материала уменьшается в постоянном магнитном
поле. Этот известный эффект используется для измерения напряженности магнитных
полей. Преобразователи, построенные на указанном эффекте, в разных источниках
названы по-разному: импедансного типа, с нелинейной индуктивностью,
дроссельного типа и т.д. Катушку с ферромагнитным сердечником в виде тороида,
отрезка проволоки или узкой пластины будем называть индуктивным
магниточувствительным элементом, а преобразователи, содержащие такие элементы,
- однообмоточными феррозондами.
В магнитной диагностике широко
применяются устройства, в которых измеряемое постоянное магнитное поле,
воздействуя на сердечник, перемагничиваемый переменным полем, приводит к
изменению амплитуды переменной составляющей индукции в сердечнике и это
изменение, так или иначе, используется для определения напряженности
постоянного поля. Одним из таких устройств является феррозонд трансформаторного
типа, в котором используется кольцевой сердечник.
Сверхпроводниковые преобразователи.
Явление сверхпроводимости
заключается в том, что многие металлы или сплавы при температуре ниже
определенной (критической) Tкр обладают способностью проводить электрический
ток практически без сопротивления. При этом очень важно, чтобы индукция внешнего
магнитного поля Вв не превышала бы некоторого критического значения Bкр.
Для сверхпроводников первого порядка
зависимость Bc от температуры описывается приближенной формулой:
|
|
(2.10)
|
где Т - абсолютная температура, К;
Вкр(0) - значение Вкр при нулевой температуре.
Эту функцию можно представить как границу между
нормальной и сверхпроводящей фазами (рисунок 2.15).
Рисунок 2.15 - Зависимость критического
значения магнитной индукции внешнего поля от температуры
Для чистых металлов значение Ткр при Вв = 0
лежит ниже 9,2 К (Nb), для сплавов - ниже 23,2 К (Nb3Ge). Например для свинца,
являющегося сверхпроводником первого рода, значение Вкр равно 240 мТл при Т = 0
и 55 мТл при Т= 4,2 К (температуре кипения гелия).
Для сверхпроводников второго рода существуют два
критических значения магнитной индукции внешнего поля - Вкр1 и Вкр2. При Вв<
Вкр1 основные магнитные свойства сверхпроводников первого и второго рода
совпадают.
В этом интервале значений магнитной индукции
главным образом и используются приборы, основанные на явлении
сверхпроводимости.
Другим важным свойством сверхпроводников
является вытеснение магнитного поля из занимаемого объема. Это происходит
независимо от того, помещается ли сверхпроводник при температуре ниже Ткр в
магнитное поле или охлаждается ниже этой температуры во внешнем магнитном поле.
То, что внешнее магнитное поле не может проникнуть внутрь сверхпроводника,
полностью объясняется законами электродинамики на основании отсутствия у
сверхпроводника сопротивления. Однако явление вытеснения магнитного поля из
объема сверхпроводника при достижении критической температуры - эффект Мейснера
- указывает на то, что классическая электродинамика недостаточна для объяснения
свойств сверхпроводников.
(2.11)
где е - заряд электрона; - постоянная Планка.
Ток через контакт Джозефсона появляется, только
начиная с некоторого критического значения, которое сильно зависит от внешнего
магнитного поля.
Значение
сильно зависит от внешнего
магнитного поля. Для случая, когда вектор магнитной индукции Вв параллелен
одному из ребер перехода, получается выражение:
(2.12)
где 
- критический ток каждого перехода в
отсутствие внешнего магнитного поля;
Фj - магнитный поток, заключенный в
переходе;
Таким образом 
осциллирует, принимая нулевые
значения при 
=
.
В настоящее время известно
достаточно много устройств, которые обладают свойствами Джозефсона - это
туннельный переход типа сверхпроводник - окись - сверхпроводник, планарный
переход типа сверхпроводник - нормальный металл - сверхпроводник, мостик Дейема,
мостик Нотариса, точечный контакт, каплевидный контакт Кларка [1].
Преобразователи, применяемые в
магнитной диагностике, представляют собой сверхпроводящее кольцо с двумя или
одним джозефсоновскими переходами.
Если кольцо, содержащее два
идентичных джозефсоновских перехода, поместить в магнитное поле, вектор
магнитной индукции которого перпендикулярен плоскости кольца, то суммарный
критический ток через переходы 
, будет определяться выражением:
(2.13)
где 
- критический ток каждого перехода в
отсутствие магнитного поля;

- магнитный поток в каждом из
переходов;
Фсв - магнитный поток в
сверхпроводящем кольце.
Из-за интерференционных свойств
сверхпроводниковых квантовых преобразователей для их обозначения принят термин
сверхпроводящий квантовый интерферометр (СКВИД). Чувствительность
сверхпроводниковых преобразователей достигает 8-10-11 А/см.
Квантовые преобразователи.
Широкое применение для измерения
индукции постоянных магнитных полей получили за последнее время
преобразователи, в которых используются ядерные, электронные и атомные явления.
. Ядерные преобразователи.
Существенной особенностью этих преобразователей является возможность их
применения для измерений абсолютным методом: они не требуют градуировки, лишены
погрешностей, связанных с условиями эксперимента (такими как температура,
давление и др.), и могут обеспечить очень высокую точность измерения. С помощью
ядерных преобразователей можно измерить магнитную индукцию, а также постоянные
электрические токи и другие величины с предварительным преобразованием в
магнитном поле.
. Преобразователи электронного
парамагнитного резонанса (ЭПР). В отличие от ядерных преобразователи ЭПР
основаны на использовании резонанса электронов в веществах, атомы которых имеют
неспаренные электроны, благодаря чему электронная оболочка обладает магнитным
дипольным моментом. К таким веществам относятся, например, элементы переходной
группы, свободные радикалы (αα-дифинил-β-пикрил-гидразин;
раствор натрия в жидком аммиаке).
Погрешность измерения с
преобразователями ЭПР больше, чем с ядерными преобразователями, и составляет
примерно 0,1 %, так как ширина сигнала ЭПР довольно значительная (0,1 - 2,0) 10
~ Т.
. Атомные преобразователи. При
использовании квантовых преобразователей в слабых магнитных полях для
увеличения резонансного сигнала производится ориентация магнитных моментов ядер
с помощью вспомогательного постоянного магнитного поля. Это можно добиться,
применяя метод оптической ориентации атомов некоторых веществ, находящихся в
газообразном или парообразном состоянии. На этом методе основаны атомные
квантовые преобразователи с оптической накачкой, в которых оптические методы
используются также для обнаружения резонансного сигнала. В атомных
преобразователях используется резонанс атомов рубидия, цезия, гелия (Не4).
Приборы с атомными преобразователями
обеспечивают непрерывность измерений, хорошее отношение сигнал/шум (с/ш ≈
200) и обладают высокой чувствительностью (порог чувствительности - порядка
10-11 Т). Их недостатком является относительно большой объем преобразователя
(десятки кубических сантиметров).
3. Магнитная диагностика
напряженно-деформированного состояния
3.1 Неразрушающие методы контроля
напряженно-деформированного состояния
Современная диагностика состояния
конструкционных материалов, располагающая большим арсеналом различных
физических методов и средств, уже не ограничивается задачами дефектоскопии, но
все более широко используется при решении задач определения механических
характеристик материалов, причем основное место здесь занимают методы и средства
измерения остаточных и рабочих внутренних напряжений.
В связи с этим обстоятельством на первый план
выходят методы технической диагностики, сочетающие механику разрушений,
металловедения и неразрушающего контроля. К таким методам относятся, в первую
очередь, методы контроля напряженно-деформированного состояния (НДС).
Напряженно-деформированное состояние (НДС) -
совокупность внутренних напряжений и деформаций, возникающих при действии на
нее внешних нагрузок, температурных полей и других факторов.
Проблемой измерений механических напряжений в
работающих конструкциях с целью оценки их состояния в настоящее время
занимаются все ведущие диагностические центры мира. Однако до сих пор
эффективность различных методов и средств контроля напряжений остается низкой при
их использовании непосредственно на оборудовании.
Анализ возможностей известных методов контроля
напряжений и деформаций в основном металле и в сварных соединениях оборудования
и конструкций позволяет назвать следующие их существенные недостатки:
непригодность для контроля протяженных
трубопроводов и конструкций, крупногабаритных изделий, оборудования и сосудов;
невозможность использования большинства методов
в области пластической деформации;
не учитывается изменение структуры металла;
невозможность оценки глубинных слоев металла для
большинства методов контроля;
требуется построение градуировочных графиков на
основе испытаний предварительно изготовленных образцов, которые, как правило,
не отражают фактическое энергетическое состояние оборудования;
требуется подготовка контролируемой поверхности
и объектов контроля (зачистка, активное намагничивание, клейка датчиков и
прочее);
сложность определения положения датчиков
контроля по отношению к направлению действия максимальных напряжений и
деформаций, определяющих надежность оборудования.
Кроме того, традиционные методы и средства НК
напряжений, которые основаны на активном взаимодействии сигнала прибора с
металлом конструкции, получают косвенную информацию о напряженном состоянии
объекта контроля, т.е. имеют недостаточную информативность физических полей,
используемых при контроле. Действительно, вводимое в исследуемый материал поле,
взаимодействуя с собственными полями материала, меняет его свойства и
характеристики НДС объекта контроля. При этом характер, величина и время жизни
изменений определяются динамическим соотношением энергий взаимодействующих
полей. На практике, при проведении диагностики, такие изменения просто не
учитывают.
Данное замечание относится, в первую очередь, к
следующим методам:
метод коэрцитивной силы (приборы-коэрцитиметры
различных модификаций);
метод магнитной анизотропии (приборы типа
Комплекс 2.05 и 2.06);
методы, использующие эффект Баркгаузена (приборы
типа Стресскан, Интромат, Пион и другие).
Необходимо помнить, что любое искусственно
вводимое от прибора физическое поле в объект контроля, находящийся в
напряженно-деформированном состоянии (даже после снятия рабочих нагрузок),
обязательно будет взаимодействовать с собственными физическими полями материала
(например, электромагнитными), сформировавшимися на уровне кристаллической
решетки. Не учитывать фактическое энергетическое состояние объекта контроля (о
чем свидетельствует «магнитная память металла») - грубейшая ошибка для всех
методов контроля НДС. Особенно это относится к зонам концентраций напряжений
(ЗКН), которые сосредоточены, как правило, на глубине и в объеме, и на
поверхность изделия выходят в виде линий скольжения (места образования трещин)
шириной в несколько микрон (и даже нескольких долей микрона). Кроме того, выполнение
контроля осуществляется, как правило, на остановленном в ремонт оборудовании,
после снятия рабочих нагрузок в условиях остаточного НДС, когда напряжения и
деформации имеют противоположный знак и другие значения по сравнению с
рабочими. В данных объективных условиях указанные выше методы контроля
оказываются не эффективными для оценки фактического НДС объекта контроля, как
по своей физической сущности, так и по метрологическим условиям (датчики
приборов, как правило, значительно превышают площади ЗКН), а, главное, не
известно на какую глубину искусственно намагничивать металл, где и как ставить
датчик, когда не известны зоны максимальных напряжений (рабочих или
остаточных).
Таким образом, перечисленные выше недостатки
известных методов контроля НДС обусловлены физической сущностью этих методов и
являются закономерными. Отсутствие метрологической базы для сертификации и
поверки средств измерений характеристик НДС материалов (до сих пор в России и
других странах нет единых эталонов и образцов) приводят к неоднозначности
требований и ошибочности методического подхода к разрабатываемым средствам
контроля. Кроме того, в настоящее время ни в одной стране мира нет программ и
центров обучения специалистов по неразрушающему контролю НДС оборудования и
конструкций. Отсутствуют стандарты, излагающие общие требования к методам и
средствам НК напряжений и деформаций в конструкциях.
Впервые такой стандарт подготовлен в России
специалистами ООО "Энергодиагностика" и представлен 14 июля 2004 года
на заседании V комиссии Международного института сварки в г.Осака (Япония) для
обсуждения и получения отзыва. Стандарт называется "Контроль
неразрушающий. Контроль напряженно-деформированного состояния объектов
промышленности и транспорта при оценке ресурса оборудования. Общие требования"[6].
При оценке ресурса оборудования, как известно,
непременным условием является определение фактического
напряженно-деформированного состояния с выявлением зон концентрации напряжений
(ЗКН) - основных источников развития повреждений - на основе 100% обследования
всего объема металла. Именно ЗКН определяют работоспособность любой
конструкции, а не расчетные, средние значения рабочих напряжений.
Следует отличать традиционное понятие
"концентратор напряжений", обусловленный конструкцией изделия, от материаловедческого
понятия "концентрация напряжений", возникающая в зонах устойчивых
полос скольжения дислокаций, обусловленных действием рабочих нагрузок. Зона
концентраций напряжений - локальная зона изделия, в которой возникла большая
деформация по сравнению со средней деформацией по всему объему изделия,
обусловленная неудачным сочетанием особенностей конструкции, неоднородности
структуры материала и рабочими нагрузками.
Известно, что под действием эксплуатационных
нагрузок работа металла оборудования в основном определяется скольжением
дислокаций и сдвиговой деформацией. При этом накопление усталостной
повреждаемости металла во многих случаях происходит в условиях мало и
многоцикловой рабочей нагрузки. Очевидно, что традиционные методы контроля напряжений
не могут оценить фактическое НДС конструкции, так как в общем случае неизвестны
ЗКН, обусловленные сдвиговой деформацией. В ходе промышленных исследований
установлено, что только "пассивные" методы диагностики НДС могут
ответить на поставленные вопросы, и являются наиболее пригодными для практики.
К пассивным методам НК, использующим измерения
собственных физических полей конструкций, прежде всего, следует отнести:
метод акустической эмиссии (АЭ);
метод магнитной памяти металла (МПМ).
Эти два метода получили в настоящее время
наибольшее распространение на практике для ранней диагностики повреждений
оборудования и конструкций. Кроме того, именно эти два метода позволяют в
настоящее время обеспечить 100% обследование оборудования в режиме
экспресс-контроля.
Как показала практика, метод МПМ по сравнению с
методом АЭ дополнительно дает информацию о фактическом НДС объекта контроля,
что позволяет более объективно определить не только ЗКН, но и причину
образования этой зоны. При этом никаких подготовительных работ для применения
метода МПМ на объекте контроля не требуется.
3.2 Контроль напряженно-деформированного
состояния объектов промышленности и транспорта
ГОСТ Р 53966-2010 [6] устанавливает общие
требования к применению методов и средств неразрушающего контроля
напряженно-деформированного состояния объектов промышленности и транспорта.
Распространяется на изделия и оборудование, изготовленные из стали и сплавов,
чугуна и других конструкционных материалов без ограничения размеров и толщин,
включая сварные соединения.
Контроль напряженно-деформированного состояния
(НДС) металла конструкций объекта контроля (ОК) включает следующее:
выявление зон концентраций напряжений (ЗКН) и
определение их границ;
определение степени концентрации и характер
внутренних механических напряжений в ЗКН с количественной ее оценкой;
оценку распределения полей внутренних
механических напряжений.
сопоставление результатов контроля НДС с
расчетными и предельными значениями параметров НДС исследуемого материала;
оценку кинетики развития ЗКН (при периодическом
контроле).
Физические методы неразрушающего контроля (НК) и
реализующие их средства не должны влиять на значения и характер распределения
внутренних (собственных и рабочих) механических напряжений в исследуемом
металле ОК, сложившиеся в процессе его изготовления или эксплуатации.
При необходимости использования нескольких
разных физических методов НК последовательность (очередность) их применения
устанавливается таким образом, чтобы исключить возможность ухудшения условий
применимости следующего метода за счет внесения дополнительных помех, связанных
с остаточными явлениями от воздействия физических полей, используемых для
диагностики предыдущим методом.
Требования к контролируемому объекту:
при контроле НДС оборудование и конструкции
могут находиться как в рабочем состоянии (под нагрузкой), так и при их
остановке (после снятия рабочей нагрузки);
зачистка и подготовка поверхности на ОК
выполняется в соответствии с методикой контроля;
температурный диапазон, влажность и другие
внешние факторы, влияющие на работоспособность оператора и надежность работы ОК
и инструментальных средств, регламентируются соответствующим нормативным
документом по безопасности проведения работ на ОК используемыми средствами
контроля.
Подготовка к контролю должна состоят из:
определения марок сталей и типоразмеров узлов
(ОК);
анализа режимов работы ОК и причин отказов
(повреждений);
выявления конструктивных особенностей узлов,
мест расположения сварных соединений (основных заводских, монтажных и
ремонтных);
составления карты (формуляра) ОК;
деления карты ОК на участки с указанием их
очередности при проведении контроля, определяемой выявленными конструктивными и
эксплуатационными особенностями ОК;
подготовки средств НК в соответствии с
инструкцией по эксплуатации и выбранным методом контроля.
Проведение контроля НДС ОК осуществляется в
соответствии с инструкцией по применению прибора.
При выполнении контроля необходимо
непосредственно на ОК мелом или краской отметить ЗКН и нанести эти зоны на
формуляр.
Оформление результатов контроля:
При завершении контроля оформляют протокол,
содержащий:
наименование узлов и номера участков, на которых
выявлены ЗКН и зоны с экстремальным по результатам контроля значениями
измеряемых параметров НДС:
описание визуальных наблюдений;
наработку ОК с начала эксплуатации;
тип прибора и вид физического поля,
используемого при контроле;
выводы по результатам контроля;
дату контроля, фамилию и подпись специалиста,
выполнявшего контроль.
) К протоколу прикладывают формуляр ОК с
обозначением на нем зон контроля и выявленных ЗКН.
) По результатам контроля составляют заключение
с анализом результатов и выводами.
) Результаты контроля в виде заключения следует
сохранять до следующего обследования ОК.
3.3 Магнитные методы контроля напряженно-деформированного
состояния
В последние годы большой интерес проявляется к
косвенным магнитным методам контроля НДС стальных конструкций, которые основаны
на тесной корреляции магнитных и механических параметров металлов.
Разработанные методы и технические средства измерения механических напряжений
металла по магнитным диагностическим параметрам обладают рядом преимуществ,
важных для ранней диагностики напряженно-деформированного состояния элементов
конструкций трубопроводов (труб, тройников, сварных соединений и т.д.). Это
неразрушающее действие операции контроля, достаточно высокая производительность
контроля в полевых условиях, возможность дистанционного контроля с мониторингом
напряженно-деформированного состояния объекта в процессе эксплуатации.
Между тем, в настоящее время отсутствуют
соответствующие технологические решения и регламенты магнитного контроля
напряженно- деформированного состояния металла и методика расчетной оценки
работоспособности потенциально опасных участков по магнитным диагностическим параметрам.
В ряде случаев контроль
напряженно-деформированного состояния элементов конструкций трубопроводов
производится с применением технических средств для регистрации магнитных шумов,
магнитной анизотропии металла, коэрцитивной силы и магнитной памяти металла.
Магнитные шумы - существенный фактор
стабильности и разрешающей способности многих магнитных устройств, широкое поле
для физических исследований.
Магнитные шумы, возникающие за счет Эффекта
Баркгаузена, позволяют контролировать макронапряжения по корреляционным
зависимостям амплитуды магнитных шумов от механических напряжений. Метод
Эффекта Баркгаузена не нашел еще своего места в системах неразрушающего
контроля качества в условиях серийного производства, хотя прекрасно
зарекомендовал себя при решении многих исследовательских задач.
Шум, вызванный магнитными силами, как правило,
имеет важное значение только в реакторах (дросселях), имеющих конструктивные
воздушные зазоры. В этом случае между двумя частями, ограничивающими зазор,
возникают переменные силы магнитного притяжения с удвоенной частотой
намагничивания.
Шум, возбуждаемый механическими факторами,
возникает вследствие распространения вибраций подшипников или внутренних частей
машины на большие площади фундаментов или кожухов. Этот структурный шум
преобразуется в аэродинамический и излучается в окружающую среду. Если причиной
вибрации является плохая балансировка ротора, то шумы в большинстве случаев
являются низкочастотными, так как нижняя граница диапазона слышимости 16 Гц
соответствует частоте вращения 960 об/мин.
Магнитная анизотропия - зависимость
магнитных свойств (в узком смысле - намагниченности) от выделенного направления
в образце (магнетике). Существуют различные виды магнитной анизотропии.
Зависимость намагниченности от её направления относительно кристаллографических
осей в кристаллах называются естественной кристаллографической магнитной
анизотропией. Кроме того, магнитная анизотропия может возникать вследствие
магнитоупругих деформаций, при наличии внешних или внутренних напряжений
(наведённая магнитная анизотропия), а также из-за анизотропии формы образца. В
монокристаллах магнитная анизотропия приводит к большим наблюдаемым эффектам,
например к различию величины магнитной восприимчивости парамагнетиков
<#"654711.files/image045.gif">
Рисунок 3.1 - Зависимость коэрцитивной
силы металла от напряжения в образцах трубной стали 17ГС
При увеличении напряжений в металле
трубы до предела текучести величина магнитного шума металла или величина
анизотропии магнитной проницаемости монотонно увеличивается, затем достигает
максимума. Далее она монотонно уменьшается с ростом механического напряжения
(рисунок 3.2).
Рисунок 3.2 - Зависимость величины
магнитной анизотропии от механического напряжения в образцах трубной стали 17ГС
При упругой деформации металла
напряженность поля остаточной намагниченности металла монотонно уменьшается и
описывается линейным законом. В области пластической деформации металла трубы
снижение величины напряженности поля остаточной намагниченности замедляется,
затем прекращается (рисунок 3.3).
Рисунок 3.3 - Зависимость
напряженности поля остаточной намагниченности от напряжения в образцах трубной
стали 17ГС
Предложена эмпирическая формула
расчета уровня напряженности поля остаточной намагниченности в зависимости от
механического напряжения в области упругой деформации металла, которая имеет
следующий вид:
(3.1)
где 
;
Нr(σ) - напряженность
поля остаточной намагниченности стального изделия при механическом напряжении
металла σ,
Мпа;

- напряженность поля остаточной
намагниченности стального изделия в ненапряженном состоянии, А/см;

- остаточная намагниченность
металла в ненапряженном состоянии, А/см;

- коэрцитивная сила металла в
ненапряженном состоянии, А/см;
λs - магнитострикция насыщения
металла, которая характеризует способность металла к изменению линейных
размеров при намагничивании.
Численные расчеты коэффициентов
парной корреляции показали, что рассмотренные магнитные параметры металла
обладают относительно слабой взаимной корреляцией, поэтому их совместное
использование является целесообразным с точки зрения однозначности
интерпретации НДС в пластической области деформации металла и обеспечения
высокой точности оценки НДС металла.
Рисунок 3.4 - Зависимость величины
магнитного шума от величины напряжения в образцах трубной стали 17ГС
Оценка величины механического
напряжения металла нефтепродуктопровода на основе отдельных магнитных
параметров (на основе эмпирических зависимостей, приведенных на рисунках
3.1-3.4) имеет существенную относительную погрешность. Например, при
определении величины напряжения металла, на основе, измеренной с
инструментальной погрешностью величины коэрцитивной силы, относительная
погрешность оценки механического напряжения металла находится в пределах от 23
до 37 %.
При этом, как показали результаты
обработки экспериментальных данных, невозможно обеспечить достоверность
контроля из-за неоднозначности определения области деформации на основе
измеренных значений (с инструментальной погрешностью) магнитных шумов или
магнитной анизотропии металла. Для них относительная погрешность достигает 35 %
и выше в упругой области деформации металла.
Исследование количества информации
I(X) (в экспоненциальных единицах) о напряженном состоянии металла методами
теории информации показало, что увеличение количества измеряемых
диагностических параметров N неаддитивно увеличивает количество полезной
информации о НДС металла трубы (рисунок 3.5).
ε - погрешность измерения
магнитных параметров
Рисунок 3.5 - Зависимость количества
информации о НДС металла от количества магнитных параметров
Показано, что увеличение количества
информации о НДС металла трубопровода происходит при увеличении количества
измеренных диагностических параметров от 1 до 3, далее рост их количества
приводит к существенно меньшему росту количества информации о механическом
напряжении металла, то есть было установлено, что использование более трех
диагностических параметров для оценки НДС элементов конструкции является
нецелесообразным.
Исследование особенностей технологии
контроля НДС элементов конструкций (нефтепродуктопроводов) при комплексировании
совокупности магнитных диагностических параметров.
Предложено методическое обеспечение
и разработан технологический регламент контроля, устанавливающий порядок и
последовательность выполнения необходимых мероприятий для проведения контроля
НДС и оценки работоспособности элементов конструкций по магнитным
диагностическим параметрам, структурная схема которого приведена на рисунке
3.6. Согласно этой методике анализ измеренной совокупности магнитных
диагностических признаков формально разделяется на два этапа: определение
области деформации металла (упругая или упругопластическая) и оценка механического
напряжения.
- магнитошумовой метод (или метод
магнитной анизотропии),
- коэрцитиметрический метод,
- метод остаточной намагниченности
металла (метод магнитной памяти металла)
Рисунок 3.6 - Структурная схема
магнитного контроля НДС и оценки работоспособности элементов конструкций по
магнитным диагностическим параметрам
Для определения области деформации
металла комплексируются два магнитных метода, магнитные параметры которых слабо
коррелируют друг с другом (рисунок 3.6), при этом измеренные на контролируемом
участке величины магнитных диагностических параметров сравниваются со
значениями магнитных параметров, соответствующих базовому (допустимому)
значению механического напряжения.
В отношении большинства объектов повышенной
опасности (подъемные краны, лифты, сосуды, котлы и т.п.) остро стоит проблема
определения остаточного ресурса несущих металлоконструкций при продлении их
срока эксплуатации. В значительной мере задача объективной оценки состояния
металлоконструкций решается сейчас с помощью магнитного контроля.
Магнитный метод контроля структуры и
механических свойств изделий машиностроения и металлургии широко применяется в
промышленности. Контроль механических характеристик (твердости, временного
сопротивления при разрыве σв, предела прочности σт,
относительного удлинения δ,
сужения
ψ
и
др.) стальных изделий возможен только для материалов, для которых существует
взаимосвязь этих характеристик с магнитными свойствами металла. К
структурно-чувствительным магнитным характеристикам относятся: начальная и
максимальная магнитные проницаемости; напряженность намагничивающего поля,
соответствующего максимальной магнитной проницаемости; остаточная
намагниченность; коэрцитивная сила и другие.
Наибольшее применение в практике
неразрушающего контроля структуры и механических свойств получили остаточная
намагниченность Вr и коэрцитивная сила Hc.
Эксплуатационные дефекты обычно
возникают и зарождаются уже на завершающей стадии «жизни» металла, тогда как
предваряющие развиваются и накапливаются медленно, долго и постепенно, причем в
течение самого продуктивного этапа эксплуатации. Эти процессы идут с явным
опережением в зонах концентрации напряжений. Сами эти велики по размерам, их
местонахождение хорошо известно уже при конструировании оборудования. Поэтому
усталостные изменения существенно проще выявлять и легче измерять, но при
условии, что найден эффективный параметр контроля. К тому же, при такой
постановке задачи момент зарождения эксплуатационных дефектов упреждается, что также
немаловажно с точки зрения стратегических принципов и акцентов диагностики.
Очевидно, что аварии оборудования всегда легче и дешевле предупреждать, чем
ликвидировать.
Для эксплуатационного контроля в
цепях получения количественной и качественной оценки усталостных изменений,
включая оценку остаточного ресурса оборудования, из всех магнитных
характеристик наиболее пригодным параметром является коэрцитивная сила.
Коэрцитивная сила является одной из наиболее структурно-чувствительных
характеристик ферромагнитных материалов. Поэтому методы неразрушающего
контроля, основанные на измерении коэрцитивной силы, нашли широкое применение.
Их отличает высокая точность и достаточная простота, возможность проведения
измерений на локальных участках контролируемых изделий, высокая
чувствительность к фазовым превращениям, слабая зависимость от геометрических
размеров объекта контроля.
На основе коэрцитиметрии можно
оценить степень исчерпания исходного ресурса, можно также оценить и остаточный
ресурс, но только при известном режиме эксплуатации.
Методика магнитной диагностики
основывается на корреляционных зависимостях между физико-механическими
свойствами ферромагнитных материалов и значением коэрцитивной силы,
контролируемой при статических и усталостных испытаниях на всех стадиях
нагружения, вплоть до разрушения. Теоретические исследования на основе
энергетического подхода к анализу намагничивания металла, упругопластической
деформации, накопления повреждений и роста коэрцитивной силы позволяют
моделировать на образцах процесс нагружения металла при эксплуатации в условиях
сложнонапряженного состояния. В сочетании с натуральными испытаниями метод
подобия позволяет определить базовые параметры для контроля состояния металла
по значениям коэрцитивной силы, соответствующих пределу текучести Нст, пределу
прочности Нсв и пределу выносливости НсN с учетом анизотропии механических
свойств сталей и сплавов.
Таблица 2 - Механические и магнитные
характеристики листов толщиной 5…15 мм из конструкционных сталей
|
Марка
стали
|
σ,
МПа
|
σ0,2,
МПа
|
δ
, %
|
Коэрцитивная
сила Нс, А/см
|
|
|
|
|
Нсо
|
Нст
|
Нсв
|
НсN
|
|
Сталь
3
|
350
|
210
|
22
|
2,5
|
5,0
|
6,0
|
5,8
|
|
Ст3сn5
|
400
|
240
|
25
|
3,0
|
5,5
|
6,5
|
5,9
|
|
09Г2С
|
450
|
310
|
20
|
4,0
|
7,8
|
10,5
|
10,5
|
|
ЮХСНД
|
540
|
400
|
19
|
5,0
|
11,5
|
14,5
|
13,5
|
|
Сталь
20
|
420
|
260
|
24
|
4,5
|
10,5
|
13,5
|
13,0
|
|
Сталь
ДС
|
600…650
|
350…400
|
15
|
5,0…6,0
|
8,0…8,5
|
10,0…11,0
|
9,5…10,5
|
|
17Г1C
|
520
|
350
|
2
|
4,0
|
10,0
|
14,0
|
14,0
|
При контроле по коэрцитивной силе измеряется
напряженность магнитного поля, необходимая для размагничивания предварительно
намагниченного до технического насыщения изделия или локального участка
изделия.
Намагничивание и размагничивание может
осуществляться как в замкнутой, так и в разомкнутой магнитной цепи медленно
изменяющимся или импульсным магнитным полем.
Определение нулевого магнитного момента изделия или
локальной области изделия осуществляется магнитометрическим или индукционным
способом. Ввиду того, что при определении коэрцитивной силы необходимо измерять
малые величины магнитного момента или напряженности магнитного поля,
магнитометрический способ требует применения высокочувствительных
преобразователей (датчиков Холла, феррозондов). При индукционном способе
измерения коэрцитивная сила определяется по нулевому уровню сигнала
измерительной катушки, которая перемещается относительно контролируемого изделия,
или с помощью вибрационных магнитометров.
Основными мешающими факторами при контроле по
коэрцитивной силе являются изменения зазора между контролируемым изделием и
преобразователем и скорость уменьшения намагничивающего тока, что требует
принятия специальных мер для снижения их влияния.
Для реализации метода разрабатывают
коэрцитиметры с преобразователями проходного типа (намагничивание и
размагничивание внутри соленоида) или накладного типа (намагничивание и
размагничивание с помощью накладного П-образного преобразователя) с
ферромагнитным сердечником.
Заключение
Дипломная работа посвящена вопросам оценки
напряженно-деформированного состояния магнитным методом контроля. Для этого
рассматривала следующие задачи: исследовала магнитный неразрушающий контроль,
магнитные преобразователи, взаимосвязь магнитных и механических характеристик
объекта контроля.
В первом разделе описан магнитный неразрушающий
контроль, в частности магнитометрический метод, даны определения основным
характеристикам контроля, рассмотрены области применения метода магнитной
памяти металла (МПМ), магнитная структуроскопия и толщинометрия.
Во втором разделе рассмотрела магнитные
преобразователи (индукционные, гальваномагнитные, феррозондовые, квантовые,
сверхпроводниковые), основные понятия, определения и характеристики,
рассмотрены принцип действия измерителей магнитных величин. Также приведена
классификация магнитных преобразователей и принцип их действия.
В третьем разделе исследовала
напряженно-деформированное состояния объектов контроля, его роль на современном
этапе, показаны зависимости магнитных параметров сталей (коэрцитивной силы,
анизотропии магнитной проницаемости или магнитных шумов металла, напряженности
поля остаточной намагниченности металла) от величины механических напряжений в
металле. Описала проведение контроля, проведена магнитная диагностика
напряженно-деформированного состояния и методы его определения, коэрцитиметрия.
Список использованной литературы
Абакумов
А. А. Магнитная диагностика газонефтепроводов / А. А Абакумов, А. А. Абакумов
(мл.). - М. : Энергоатомиздат, 2001. - 440с.
Афанасьев
Ю. В. Средства измерений параметров магнитного поля / Ю. В. Афанасьев, Н. В.
Студенцев, В. Н. Хорев, Е. Н. Чечурина, А. П. Щелкин. - Л. : Энергия. Ленингр.
отделение, 1979. - 320с.
Дубов
А. А. Принципиальные отличительные признаки метода магнитной памяти металлов и
приборов контроля в сравнении с известными магнитными методами неразрушающего
контроля / А. А. Дубов // Контроль. Диагностика. - 2003. - №12. - С.27-29.
Клюев
В. В. Неразрушающий контроль: Справочник: В 8 т. Т.6 Магнитный метод контроля /
В. В. Клюев, Г. С. Шелихов. − М. : Машиностроение, 2006. - 700с.
Матюк
В. Ф. Контроль структуры, механических свойств и напряженного состояния
ферромагнитных изделий методом коэрцитиметрии / В. Ф. Матюк, В. Н. Кулагин //
Неразрушающий контроль и диагностика. - 2010. - №3. - С.1-14.
Национальный
стандарт РФ: ГОСТ Р 53966-2010 ; введ. 2010-11-25. - М. : Стандартинформ ; М. :
Изд-во стандартов, 2010. - 8с. - (Контроль напряженно-деформированного
состояния материала конструкций).
Национальный
стандарт РФ: ГОСТ Р ИСО 24497-1-2009. - Взамен ГОСТ Р 52081 - 2003 ; введ.
2009-12-07. - М. : Стандартинформ ; М. : Изд-во стандартов, 2010. - 8с. -
(Контроль неразрушающий. Метод магнитной памяти металла. Часть 1. Термины и
определения).
Раннев
Г. Г. Методы и средства измерений / Е. Г. Раннев, А. П. Тарасенко. - 3-е изд.,
стер. - М. : Издательский центр «Академия», 2006. - 336с.
Сухоруков
В. В. Неразрушающий контроль. В 5 кн. Кн. 3. Электромагнитный контроль / В. В.
Сухоруков, В. Г. Герасимов, А. Д. Покровский. - Практ. пособие. - М. : Высшая
школа, 1992. - 312с.
Шрамков
Е. Г. Средства и методы измерений (общий курс) / Е. Г. Шрамков, К. П.
Дьяченко, Д. И. Зорин, П. В. Новицкий. - Учебное пособие для вузов. - М. :
Высшая школа, 1972. - 520с.