Конструкция и ремонт тягового электродвигателя ТЛ2К1

  • Вид работы:
    Дипломная (ВКР)
  • Предмет:
    Другое
  • Язык:
    Русский
    ,
    Формат файла:
    MS Word
    1,84 Мб
  • Опубликовано:
    2013-07-12
Вы можете узнать стоимость помощи в написании студенческой работы.
Помощь в написании работы, которую точно примут!

Конструкция и ремонт тягового электродвигателя ТЛ2К1

Введение

Электроподвижной состав железных дорог является важнейшей составной частью железнодорожного транспорта страны. Эффективность работы ЭПС во многом определяет и эффективность всей системы железнодорожного транспорта. Одним из показателей эффективности ЭПС является его надежность. Как следует из статистических данных МПС РФ, повреждаемость ЭПС все еще остается на достаточно высоком уровне. Число порч и неисправностей ЭПС на протяжении последних лет находится на уровне 1-2 случая на 1 млн. км пробега.

Важнейшим элементом ЭПС являются его тяговые электродвигатели (ТЭД). Как следует из многочисленных исследований различных авторов, ТЭД является одним из элементов конструкции ЭПС, ограничивающих эксплуатационную надежность последнего. И в настоящее время, на протяжении последних шести лет, число порч и неисправностей ТЭД устойчиво находится на уровне (22 - 24)% от общего числа повреждений ЭПС. Поэтому, задача повышения надежности ТЭД, во многом определяющей надежность ЭПС, и в настоящее время является актуальной.

Высокая повреждаемость ТЭД в эксплуатации порождается действием различных факторов. Основным же из них является низкое качество ремонта двигателей в локомотивных депо и на локомотиворемонтных заводах. Повреждаемость ТЭД, вызванная действием именно этого фактора, превышает 50% от общего количества отказов ТЭД.

Низкое качество ремонта ТЭД может быть связано как с несовершенством технологий ремонта, так и с нарушениями технологической дисциплины при производстве работ. Однако, в любом случае, число случаев выдачи на линию ТЭД с не выявленными дефектами должно быть сведено к минимуму. Эту задачу решает система послеремонтных испытаний ТЭД. Поэтому, высокий процент отказов ТЭД на линии, по причине низкого качества ремонта, однозначно свидетельствует о неэффективности существующей системы послеремонтного контроля технического состояния ТЭД. Тяговые электродвигатели выходят из строя из-за проявления различных неисправностей и дефектов. Одной из наиболее часто встречающихся разновидностей повреждений ТЭД является нарушение нормальной коммутации и возникновение «кругового огня по коллектору». Как известно, среди различных причин, способных привести к данному повреждению двигателя во время эксплуатации, одной, из наиболее мощных причин возникновения «круговых огней» является неточная установка щеток тягового двигателя на нейтрали. Помимо ухудшения условий коммутации, сдвиг щеток с нейтрали вызывает расхождение электромеханических характеристик отдельных тяговых электродвигателей электровоза. Это приводит к неравномерной токовой нагрузке отдельных двигателей, что, в конечном итоге, снижает тяговые возможности электровоза. Кроме этого, токовая перегрузка тягового двигателя является еще одним провоцирующим фактором возникновения «круговых огней». Неравномерное распределение токов тяговых электродвигателей способно, так же, вызывать неверную работу современных автоматических систем управления ЭПС.

Конструкция тягового двигателя должна обеспечивать высокую степень использования активных и конструктивных материалов машины. Все узлы и детали электродвигателя рассчитываются на высокую механическую прочность при динамических нагрузках во время движения электровоза. Конструкция тягового двигателя должна предусматривать удобное техническое обслуживание, а также легкость замены некоторых деталей.

1. 
Характеристика тягового электродвигателя ТЛ-2К1

.1 Назначение тягового электродвигателя ТЛ-2К1

Тяговый электродвигатель постоянного тока ТЛ-2К1 предназначен для преобразования электрической энергии, получаемой из контактной сети, в механическую в тяговом режиме, а в рекуперативном режиме-для преобразования механической инерционной энергии электровоза в электрическую. Вращающий момент с вала якоря электродвигателя передается на колесную пару через двустороннюю одноступенчатую цилиндрическую косозубую передачу. При такой передаче подшипники электродвигателя не получают добавочных нагрузок по аксиальному направлению. Подвешивание электродвигателя опорно-осевое. С одной стороны он опирается моторно-осевыми подшипниками на ось колесной пары электровоза, а с другой - на раму тележки через шарнирную подвеску и резиновые шайбы.

Рис 1.1 Общий вид тягового электродвигателя ТЛ2К-1: 1-гайка специальная с пружинной шайбой; 2- вал якоря; 3- трубка для смазки якорных подшипников; 4- крышка верхнего смотрового люка; 5 - большой выхлопной кожух; 6 - малый выхлопной кожух; 7,8 - букса и вкладыш моторно-осевого подшипника; 9 - нижние смотровые люки

.2    
Конструкция и техническая характеристика тягового электродвигателя ТЛ-2К1

Тяговый электродвигатель ТЛ-2К1 состоит из остова, якоря, щеточного аппарата и подшипниковых щитов.

Остов представляет собой отливку из стали марки 25Л-П цилиндрической формы и служит одновременно магнитопроводом. К нему прикреплены шесть главных и шесть дополнительных полюсов, поворотная траверса с шестью щеткодержателями и щиты с роликовыми подшипниками, в которых вращается якорь электродвигателя. Установку подшипниковых щитов производят в такой последовательности: собранный остов с полюсными и компенсационными катушками ставят стороной, противоположной коллектору, вверх. Индуктивным нагревателем нагревают горловину до температуры 100- 150 °С, вставляют и крепят щит восемью болтами М24 из стали 45. Затем поворачивают остов на 180°, опускают якорь, устанавливают траверсу и аналогично описанному выше вставляют другой щит и крепят его восемью болтами М24. С наружной поверхности остов имеет два прилива для крепления букс моторно-осевых подшипников, прилив и съемный кронштейн для подвешивания электродвигателя, предохранительные приливы для транспортировки.

Со стороны коллектора имеются три люка, предназначенных для осмотра щеточного аппарата и коллектора. Люки герметично закрываются крышками.

Крышка верхнего коллекторного люка укреплена на остове специальным пружинным замком, крышка нижнего люка - одним болтом М20 и специальным болтом с цилиндрической пружиной, а крышка второго нижнего люка - четырьмя болтами М12.

Для подвода воздуха имеется вентиляционный люк. Вентилирующий воздух выходит со стороны, противоположной коллектору, через специальный кожух, укрепленный на подшипниковом щите и остове. Выводы из электродвигателя выполнены кабелем марки ППСРМ-1-4000 площадью сечения 120 мм2. Кабели защищены брезентовыми чехлами с комбинированной пропиткой. На кабелях имеются ярлычки из иолихлорвиниловых трубок с обозначением ЯЯ, К и КК. Выводные кабели Я и ЯЯ соединены с обмотками якоря, дополнительных полюсов и с компенсационной, а выводные кабели К и КК соединены с обмотками главных полюсов.

Рис.1.2 Схемы соединения катушек полюсов со стороны коллектора (а) и противоположной (б) тягового электродвигателя

Сердечники главных полюсов набраны из рулонной электротехнической стали марки 2212 толщиной 0,5 мм, скреплены заклепками и укреплены на остове четырьмя болтами М24 каждый. Между сердечником главного полюса и остовом имеется одна стальная прокладка толщиной 0,5 мм. Катушка главного полюса, имеющая 19 витков, намотана на ребро из мягкой ленточной меди Л ММ размерами 1,95X65 мм, изогнута по радиусу для обеспечения прилегания к внутренней поверхности остова. Корпусная изоляция состоит из семи слоев стеклослюдинитовой ленты ЛСЭП-934-ТПл 0,13X30 мм (ГОСТ 13184 - 78*) с полиэтилене-рефталагной пленкой на лаке марки ПЭ-934 и двух слоев ленты технической лавсановой термоусаживающейся толщиной 0,22 мм (ТУ 17 ГССР 88-79). Один слой лавсановой ленты, промазанный лаком КО-919 (ГОСТ 16508 - 70), наматывают в середине слоев корпусной изоляции, а второй - в качестве восьмого слоя корпусной изоляции. Ленты наматывают с перекрытием в половину ширины.

Междувитковая изоляция выполнена из асбестовой бумаги в два слоя толщиной 0,2 мм каждый, пропитанной лаком КО-919 (ГОСТ 16508 - 70). Витковую и корпусную изоляции полюсных катушек выпекают в приспособлениях согласно разработанному технологическому процессу. Для улучшения рабочих характеристик электродвигателя применена компенсационная обмотка, расположенная в пазах, проштампованных в наконечниках главных полюсов, и соединенная с обмоткой якоря последовательно. Компенсационная обмотка состоит Из шести катушек, намотанных из мягкой прямоугольной медной проволоки ПММ размерами 3,28X22 мм, имеет 10 витков. В каждом пазу расположено по два витка. Корпусная изоляция состоит из шести слоев стеклослюдинитовой ленты ЛСЭК-5-СПл толщиной 0,11 мм (ГОСТ 13184 - 78*) и одного слоя ленты технической лавсановой термоусаживающейся толщиной 0,22 мм (ТУ 17 ГССР 8-78), уложенных с перекрытием в половину ширины ленты. Витковая изоляция имеет один слой стеклослюдинитовой ленты той же марки, она уложена с перекрытием в половину ширины ленты. Компенсационная обмотка в пазах закреплена клиньями из текстолита марки Б. Изоляция компенсационных катушек выпекается в приспособлениях. Сердечники дополнительных полюсов выполнены из толстолистового проката или поковки и укреплены на остове тремя болтами М20. Для уменьшения насыщения дополнительных полюсов между остовом и сердечниками дополнительных полюсов предусмотрены диамагнитные прокладки толщиной 7 мм. Катушки дополнительных полюсов намотаны на ребро из мягкой медной проволоки ПММ размерами 6X20 мм и имеют 10 витков каждая. Корпусная и покровная изоляции этих катушек аналогичны изоляции катушек главного полюса. Междувитковая изоляция состоит из асбестовых прокладок толщиной 0,5 мм, пропитанных лаком КО-919.

РИС. 1.3 Остов тягового электродвигателя ТЛ-2К1: дополнительный полюс; 2- катушка компенсационной обмотки; 3 - корпус; 4- прилив предохранительный; 5- главный полюс

Щеточный аппарат тягового электродвигателя состоит из траверсы разрезного типа с поворотным механизмом, шести кронштейнов и шести щеткодержателей. Траверса стальная, отливка швеллерного сечения имеет по наружному ободу зубчатый венец, входящий в зацепление с шестерней поворотного механизма. В остове фиксирована и застопорена траверса щеточного аппарата болтом фиксатора, установленным на наружной стенке верхнего коллекторного люка, и прижата к подшипниковому щиту двумя болтами стопорного устройства: один - внизу остова, другой - со стороны подвешивания. Электрическое соединение кронштейнов траверсы между собой выполнено кабелями ППСРМ-150. Кронштейны щеткодержателя разъемные (из двух половин), закреплены болтами М20 на двух изоляционных пальцах, установленных на траверсе. Стальные шпильки пальцев спрессованы пресс-массой АГ-4В, на них насажены фарфоровые изоляторы.

Рис. 1.4 Стопорение траверсы тягового электродвигателя ТЛ-2К1: 1 - стопорное устройство; 2 - шестерня; 3 - болт фиксатора

Рис. 1.5 Щеточный аппарат тягового электродвигателя ТЛ-2К1

- траверса; 2- шестерня; 3 - кронштейны; 4 - щеткодержатели

Щеткодержатель имеет две цилиндрические пружины, работающие на растяжение. Пружины закреплены одним концом на оси, вставленной в отверстие корпуса щеткодержателя, другим - на оси нажимного пальца с помощью винта, которым регулируют натяжение пружины. Кинематика нажимного механизма выбрана так, что в рабочем диапазоне обеспечивается практически постоянное нажатие на щетку. Кроме того, при наибольшем допустимом износе щетки нажатие пальца на щетку автоматически прекращается. Это позволяет предотвратить повреждение рабочей поверхности коллектора гибкими проводами сработанных щеток. В окна щеткодержателя вставлены две разрезные щетки марки ЭГ-61А размерами 2(8X50X56) мм с резиновыми амортизаторами. Щеткодержатели к кронштейну крепятся шпилькой и гайкой. Для более надежного крепления и регулировки положения щеткодержателя относительно рабочей поверхности по высоте при износе коллектора на корпусе щеткодержателя и кронштейне предусмотрены гребенки.

Рис. 1.6 Щеткодержатель тягового электродвигателя ТЛ-2К1: 1-Цилиндрическая пружина; 2- отверстие корпуса щеткодержателя; 3- щетка; 4-нажимной палец; 5- винты

Якорь электродвигателя состоит из коллектора, обмотки, вложенной в пазы сердечника, набранного в пакет из рулонной электротехнической стали марки 2212 толщиной 0,5 мм, стальной втулки, задней и передней нажимных шайб, вала. В сердечнике имеется один ряд аксиальных отверстий для прохода вентилирующего воздуха. Передняя нажимная шайба одновременно служит корпусом коллектора. Все детали якоря собраны на общей втулке коробчатой формы, напрессованной на вал якоря, что обеспечивает возможность его замены.

Якорь имеет 75 катушек и 25 секционных уравнительных соединений. Пайка концов обмотки и уравнительных соединений с петушками коллекторных пластин выполнена оловом 02(ГОСТ 860 - 75) на специальной установке токами высокой частоты.

Каждая катушка имеет 14 отдельных проводников, расположенных по высоте в два ряда и по семь проводников в ряду. Они изготовлены из медного провода ПЭТВСД размерами 0,9X7,1/1,32X758 мм. Каждый пакет из семи проводников изолирован также лентой стеклослюдинитовой ЛСЭК-5-ТПл толщиной 0,09 мм с перекрытием в половину ширины ленты. Корпусная изоляция пазовой части катушки состоит из пяти слоев стеклослюдинитовой ленты ЛСЭК-5-ТПл размерами 0,09X20 мм, одного слоя ленты фторопластовой толщиной 0,03 мм и одного слоя стеклоленты ЛЭС толщиной 0,1 мм, уложенных с перекрытием в половину ширины ленты. Коллектор электродвигателя с диаметром рабочей поверхности 660 мм набран из медных пластин, изолированных друг от друга армированным коллекторным слюдопластом марки КИФЭА (ТУ 21-25-17-9-84), число пластин - 525. От нажимного конуса и втулки коллектора корпус коллектора изолирован корпусной изоляцией и изоляционным цилиндром, изготовленным из комбинированных материалов. Наружный слой - формовочный миканит марки ФФГ - О,З (ГОСТ 6122 - 75*), внутренний - пленкостеклоткань ГТП-2ПЛ (ТУ 16 503.124-78) толщиной 0,2 мм.

Общая толщина корпусной изоляции 3,6 мм, а изоляционного цилиндра - 2 мм.

Обмотка якоря имеет следующие данные: число пазов 75, шаг по пазам 1 - 13, число коллекторных пластин 525, шаг по коллектору 1 - 2, шаг уравнителей по коллектору 1 - 176. Якорные подшипники электродвигателя тяжелой серии с цилиндрическими роликами типа 80-42428М обеспечивают разбег якоря в пределах 6,3 - 8,1 мм. Наружные кольца подшипников запрессованы в подшипниковые щиты, а внутренние - на вал якоря. Подшипниковые камеры для предотвращения воздействия внешней среды и утечки смазки имеют уплотнение. Моторно-осевые подшипники состоят из латунных вкладышей, залитых по внутренней поверхности баббитом Б16(ГОСТ 1320 - 74*), и букс с постоянным уровнем смазки. Буксы имеют окно для подачи смазки. Для предотвращения поворота вкладышей предусмотрено в буксе шпоночное соединение.

Рис. 1.7 Якорь тягового электродвигателя ТЛ-2К1: Коллекторная пластина; 2- уравнительное соединение; 3- передняя нажимная шайба; 4- стальная втулка; 5-сердечник; 6- катушка; 7- задняя нажимная шайба; 8- вал якоря

Рис. 1.8 Схема соединения катушек якоря и уравнителей с коллекторными пластинами

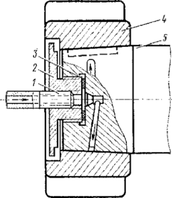
Рис.1.9 Подшипниковый узел тягового электродвигателя

Моторно-осевые подшипники состоят из вкладышей и букс с постоянным уровнем смазки, контролируемым по указателю. Каждая букса соединена с остовом специальным замком и закреплена четырьмя болтами М36Х2 из стали 45. Для облегчения завинчивания болты имеют четырехгранные гайки, упирающиеся в специальные упоры на остове. Растачивание горловин под моторно-осевые подшипники производят одновременно с растачиванием горловин под подшипниковые щиты. Поэтому буксы моторно-осевых подшипников невзаимозаменяемы. Букса отлита из стали 25Л-1. Каждый вкладыш моторно-осевых подшипников состоит из двух половин, в одной из которых, обращенной к буксе, сделано окно для подачи смазки. Вкладыши имеют бурты, фиксирующие их положение в осевом направлении. От проворачивания вкладыши предохраняют шпонками. С целью предохранения моторно-осевых подшипников от пыли и влаги ось между буксами закрыта крышкой. Вкладыши отлиты из латуни. Внутренняя их поверхность залита баббитом и расточена по диаметру 205,45+0,09 мм. После расточки вкладыши подгоняют по шейкам оси колесной пары. Для обеспечения регулировки натяга вкладышей в моторно-осевых подшипниках между буксами и остовом установлены стальные прокладки толщиной 0,35 мм, которые по мере износа наружного диаметра вкладышей снимают. Устройство, применяемое для смазывания моторно-осевых подшипников, поддерживает в них постоянный уровень смазки. В буксе имеются две сообщающиеся камеры. В смазку камеры погружена пряжа. Камера, заполненная смазкой, нормально не сообщается с атмосферой. По мере расходования смазки уровень ее в камере понижается.

Рис. 1.10 Моторно-осевой подшипник

Когда он станет ниже отверстия трубки, воздух поступает через эту трубку в верхнюю часть камеры, перегоняя из нее смазку через отверстие д в камеру. В результате уровень смазки в камере повысится и закроет нижний конец трубки 6. После этого камера опять будет разобщена с атмосферой, и перетекание смазки из нее в камеру прекратится. Таким образом, пока в запасной камере есть смазка, уровень ее в камере не будет понижаться. Для надежной работы этого устройства необходимо обеспечить герметичность камеры. Буксу заправляют смазкой по трубе через отверстие д под давлением с помощью специального шланга с наконечником.

В качестве смазки используют масло осевое ГОСТ 610-72*: в летний период - марки Л; в зимний - марки З.

Технические характеристики двигателя следующие:

Напряжение на зажимах электродвигателя, В………………1500

Часовой режим

Ток, А………………………………………………………………….480

Мощность, кВт………………………………………………………..670

Частота вращения, об/мин…………………………………………...790

КПД………………………………………………………………….0,931

Продолжительный режим

Ток, А………………………………………………………………….410

Мощность, кВт………………………………………………………..575

Частота вращения, об/мин…………………………………………...830

КПД………………………………………………………………….0,936

Класс изоляции по нагревостойкости…………………………………F

Наибольшая частота вращения при

неизношенных бандажах об/мин…………………………………..1690

Передаточное число…………………………………………..……88/23

Сопротивление обмоток при температуре 20С, Ом:

главных полюсов……………………………………………...…..0,0254

дополнительных полюсов компенсационных катушек………….0,033

якоря…………………………………………………………………0,036

количество вентилирующего м(кубич.)воздуха не менее…………..95

Масса без шестерни, кг………………………………….…………5000

Рис.1.11 Электромеханические характеристики тягового электродвигателя ТЛ-2К1

Система вентиляции независимая, аксиальная, с подачей вентилирующего воздуха сверху в коллекторную камеру и выбросом вверх с противоположной стороны вдоль оси электродвигателя.

Рис. 1.12 Аэродинамические характеристики электродвигателя ТЛ-2К1:

Нп - полный напор; Нст - статический напор

1.3 Факторы, обуславливающие износ тягового электродвигателя ТЛ-2К1

В процессе эксплуатации электровоза возможны следующие повреждения в электрических машинах:

1.    Повышенный износ щеток и сколы щеток. Причины: установлены слишком мягкие щетки; сильное искрение под щетками; чрезмерное нажатие на щетку; недопустимое биение коллектора; неравномерное нажатие на щетки; большой зазор между щеткой и окном щеткодержателя; ослаблен контакт гибких проводов щеток; велик зазор между коллектором и щеткодержателем; загрязнен коллектор; сырые щетки; некачественная обработка рабочей поверхности коллектора; выступание миканитовых пластин; неравномерный износ коллектора.

2.    Повышенный или неравномерный износ коллектора. Причины: установлены слишком твердые щетки; чрезмерное нажатие на щетки; недопустимое искрение под щетками; неправильная расстановка щеток в осевом направлении; выступание коллекторных пластин; вибрация щеток.

3.    Повышенное искрение щеток. Причины механического характера: тугая посадка щеток в щеткодержателе; неравномерное нажатие на щетки; слабое нажатие на щетки; большой зазор между щеткодержателем и коллектором; слабое крепление щеткодержателей и траверсы; плохая балансировка якоря; плохая обработка поверхности коллектора; выступает миканит между ламелями; нет фасок на ламелях; коллектор загрязнен; большое биение коллектора; выступание отдельных пластин коллектора; щетки установлены с перекосом по отношению к ламелям; не выдержано расстояние между щеткодержателями; траверса сдвинута с нейтрального положения; полюсы установлены неравномерно по окружности; не выдержаны установленные зазоры у дополнительных полюсов; попадание на коллектор масла и его паров. Причины электрического характера: нарушение контакта в месте присоединения гибких проводов щеток к щеткодержателю; низкое переходное сопротивление щеток; между- витковое замыкание в обмотке якоря; плохая пайка отдельных петушков коллектора; неправильная полярность полюсов; перегрузка электрических машин; быстрое изменение нагрузки; повышенное напряжение на коллекторе; междувитковое замыкание полюсных катушек или компенсационной обмотки.

4.    Пробой изоляции обмоток электрических машин. Причины: увлажнение изоляции; попадание при сборке остова под катушку металлических стружек; ослабление крепления межкатушечных соединений и повреждение их изоляции; хрупкость и гигроскопичность изоляции из-за продолжительного превышения допустимой температуры нагрева электрических машин при перегрузках; естественный износ (старение изоляции); механические повреждения изоляции при разборке и сборке машин; перенапряжения коммутационные и атмосферные; попадание стружек в обмотку якоря; повреждение обмотки якоря при укладке его на пол без специальных прокладок.

5.    Распайка соединения. Причины: перегрузка якоря током при работе или неподвижном состоянии, приводящая к выплавлению припоя из петушков коллектора; плохое качество самой пайки.

6.    Превышение допустимой температуры нагрева подшипников якоря. Причины: загрязнение подшипника при сборке; загрязненная смазка; избыток смазки в подшипнике; изношены или разрушены детали подшипника; подшипник установлен с перекосом; мал радиальный зазор в подшипнике; трение в уплотнениях подшипников.

7.    Превышение допустимой температуры нагрева моторно-осевых подшипников. Причины: недостаточная подача масла; загрязнение масла или шерстяной подбивки и попадание воды в масло; применение масла неподходящего сорта; уменьшение зазора между вкладышами и осью.

8.    Выброс смазки из подшипниковых камер внутрь электродвигателя. Причины: большие зазоры в лабиринтных уплотнениях или перепрессовка смазки.

Вывод: в данном разделе рассмотрена техническая характеристика тягового электродвигателя, особенности его конструкции и представлены неисправности узлов и деталей тягового электродвигателя.

2. Технологический процесс ремонта тягового электродвигателя ТЛ-2К1

2.1 Алгоритм технологического процесса ремонта тягового электродвигателя ТЛ-2К1

Перед постановкой электровоза на канаву для технического обслуживания или текущего ремонта продувают тяговые электродвигатели сжатым воздухом.

При наружных осмотрах проверяют исправность действия замков, крышек коллекторных люков, болтовые крепления: моторно-осевых букс, кожухов зубчатой передачи, главных и дополнительных полюсов.

Внутренние узлы электродвигателя осматривают через коллекторные люки. Перед осмотром поверхности около коллекторных люков и их крышки тщательно очищают от пыли, грязи, снега, после чего снимают крышку и осматривают коллектор, щеткодержатели, щетки, кронштейны и их пальцы, расположенные против смотрового люка, а также видимую часть кабельного монтажа траверсы, якоря и полюсных катушек.

Коллектор должен иметь полированную блестящую поверхность коричневого оттенка (политуру) без царапин, рисок, вмятин и подгаров. Во всех случаях повреждения или загрязнения коллектора необходимо установить причины этих повреждений и устранить их. Грязь и следы смазки удаляют мягкой салфеткой, слегка смоченной в техническом спирте или бензине. Подгоревшие и поврежденные места конуса зачищают шкуркой КЗМ-28 и окрашивают красно-коричневой эмалью ГФ-92- ХС (ГОСТ 9151-75") до получения глянцевой поверхности. Недопустимо применять для протирки материалы, оставляющие жирные следы.

Небольшие царапины, выбоины и подгары на рабочей поверхности коллектора устраняют зачисткой при помощи шкурки КЗМ-28, закрепленной на специальной деревянной колодке, имеющей радиус, соответствующий радиусу коллектора, и ширину не менее 2/3 ширины рабочей поверхности коллектора.

Рис.2.1 Деревянная колодка для шлифовки коллекторов в собранном электродвигателе: 1- прижимная планка; 2- войлок; 3- шкурка КЗМ-28; 4- ручка

Зачистку следует производить только на вращающемся коллекторе, так как в противном случае это вызывает местные выработки. Более трудоемко устранение последствий кругового огня. Медь из межламельного пространства удаляют, по возможности сохраняя политуру на коллекторе. Удаление заусенцев рекомендуется производить неметаллической щеткой или кистью, например капроновой. При этом чешуйки меди следует загибать щеткой в меж- ламельное пространство, затем сжатым воздухом поднять их вновь. Операции повторить два-три раза до излома козырьков затяжек. Крупные заусенцы от затяжки меди удалить специальным ножом для снятия фасок. В случае повышенного износа всех щеток или же щеток одной стороны (со стороны конуса или со стороны петушка) тщательно осматривают коллектор и замеряют его биение. Причиной повышенного износа щеток может быть недостаточно тщательная обработка коллектора или же выступание отдельных миканитовых или медных пластин. Выступание миканитовых пластин устраняют продорожкой коллектора. Если необходимо, снимают фаски. Стружку и металлическую пыль тщательно выдувают сухим сжатым воздухом. Следует иметь в виду, что шлифовка уничтожает "политуру" и тем самым ухудшает контакт между коллектором и щетками. Поэтому без особой необходимости к ней прибегать не рекомендуется. теговой электродвигатель конструкция ремонт

Обработку коллектора непосредственно на электровозах производят как исключение. Если в этом возникла необходимость, то работу должен выполнить квалифицированный специалист, соблюдая скорость резания в пределах 150 - 200 м/мин.

Коллектор рекомендуется обтачивать в собственных подшипниках якоря, сначала обточив его резцом из твердого сплава, а потом прошлифовать шлифбруском Р-30. При проточке резцом из твердого сплава подача должна быть 0,15 мм, а при чистовой обточке - 0,045 мм на каждый оборот при скорости резания 120 м/мин.

Биение и выработку коллектора замеряют 1 раз в 2 - 3 мес. Наибольшая в эксплуатации выработка не должна превышать 0,5 мм, биение - 0,1 мм. Биение недопустимо, если оно возникает в результате местной деформации. После обточки коллектора на токарном станке биение в собранном электродвигателе не должно превышать 0,04 мм. Глубина про- дорожки должна быть в пределах 1,3 - 1,6 мм, фаска с каждой стороны пластины - 0,2X45°. Разрешается выполнять фаски 0,5 мм по высоте и 0,2 мм по ширине пластины.

Рис.2.2 Отделка пластин коллектора

У щеточного аппарата снимают крышку смотрового люка и проверяют состояние щеток, щеткодержателей, кронштейнов, пальцев кронштейнов, поворачивая траверсу щеткодержателей. Для этого следует отвернуть болты, крепящие кабели к двум верхним кронштейнам, и отвести кабели от траверсы, чтобы не повредить их; вывернуть болт фиксатора до выхода фиксатора из паза обоймы на остове; фиксатор развернуть на 180° и утопить в паз обоймы во избежание зацепления за пальцы кронштейнов щеткодержателей и накладку при повороте траверсы; отвернуть на 3 - 4оборота болты стопорных устройств специальным ключом с зевом 24 мм; через нижний коллекторный люк отвернуть шпильку разжимного устройства на траверсе в направлении "на себя", установив щель в месте разреза не более 2 мм; проворачивая плавно ключом-трещеткой валик шестерни поворотного механизма, подвести к верхнему или нижнему коллекторному люку все щеткодержатели и выполнить необходимые работы. Сначала подводят к верхнему коллектору люка два щеткодержателя со стороны вентиляционного патрубка, а затем остальные щеткодержатели, вращая траверсу в обратном направлении. Вход в зацепление места разреза траверсы с шестерней поворотного механизма недопустим. При осмотре с нижнего коллекторного люка щеткодержатели следует подводить в обратном порядке. Общая высота щетки должна быть не менее 30 мм (наименьшая допустимая высота - 28 мм - отмечена риской).

При замене щеток шунты скручивают друге другом во избежание свисания их с корпуса щеткодержателя в сторону траверсы и петушков коллектора. Шунт не должен попадать между нажимным пальцем и щеткой для исключения его перетирания. Наконечники шунтов надежно закрепляют на корпусе щеткодержателя.

Рис.2.3 Пришлифовка щеток

Рис.2.4 Фиксирующее устройство траверсы тягового электродвигателя для установки щеток на нейтраль

Обмотки и межкатушечные соединения осматривают одновременно с коллектором и щетками. Проверяют состояние крепления межкатушечных соединений, выводных кабелей, кабелей траверсы, шунтов щеток, крепление кабельных наконечников, состояние жил проводов у наконечников.

Поврежденный слой изоляции на кабелях восстанавливают с последующей окраской этого места красно-коричневой эмалью ГФ-92-ХС. Причины, вызвавшие перетирание изоляции кабелей, устраняют.

При повреждении изоляции полюсных катушек или неудовлетворительном состоянии бандажей якоря электродвигатель заменяют. Если внутри электродвигателя обнаружена влага, то его сушат горячим воздухом, после чего замеряют сопротивление изоляции силовой цепи электровоза. Если же при рабочей температуре электродвигателя оно окажется менее 1,5 МОм, замеряют сопротивление на каждом электродвигателе отдельно. Для этого отключают электродвигатель от силовой цепи, подкладывают под соответствующие контакты реверсора электроизоляционные прокладки. Затем замеряют мегомметром сопротивление изоляции якоря и обмотки возбуждения. Если обе цепи имеют низкое сопротивление изоляции, то электродвигатель просушивают. Когда одна цепь имеет высокое сопротивление изоляции, а другая низкое, рекомендуется выяснить причину понижения сопротивления: возможно механическое повреждение изоляции кабелей или же пробой пальца кронштейна. Изоляцию якоря проверяют, вынув все щетки из щеткодержателей, а изоляцию кабелей траверсы и пальцев кронштейнов, замерив сопротивление изоляции двух соседних кронштейнов при вынутых щетках. Если не удается обнаружить механическое или электрическое повреждение изоляции, тщательно просушивают электродвигатель. Если после сушки сопротивление изоляции не повысилось, электродвигатель заменяют. При замере сопротивления изоляции электродвигателей, в цепь которых включен вольтметр, последний нужно отключить и цепь его проверить отдельно. По окончании замера штангой снимают заряд с цепи, вынимают электроизоляционные прокладки из-под контактов реверсора, ставят реверсор в исходное положение, подключают вольтметр (если он был отключен), устанавливают щетки и присоединяют кабели к кронштейнам щеткодержателей (если их отсоединили при замерах). В зимнее время в связи с отпотеванием электродвигателей сопротивление изоляции замеряют при каждой постановке электровоза в помещение, а данные замеров записывают в книгу записей ремонта электровозов (форма ТУ-28).

При осмотре моторно-осевых подшипников на смотровой канаве остукиванием проверяют надежность крепления букс к остову, уровень и состояние смазки, отсутствие течи, плотность прилегания крышек.

Смешивание в моторно-осевых подшипниках масел различных марок недопустимо. При переводе с летних смазок на зимние и обратно шерстяную набивку заменяют, а камеры букс тщательно очищают. При обнаружении в камерах влаги, грязи, стружек смазку заменяют, тщательно очищают камеры и меняют фитили, а также улучшают уплотнение крышек. Добавление смазки и перезаправку выполняют согласно карте смазки. При ремонте ТР-1 проверяют радиальные зазоры между осью и вкладышем. Зазоры замеряют через специальные вырезы в защитной крышке оси колесной пары. Осматривая якорные подшипниковые узлы, проверяют затяжку болтов, крепящих щиты, а также сохранность и надежность крепления пробок смазочных отверстий, нет ли выброса смазки из подшипниковых камер внутрь электродвигателя. Причинами выброса смазки могут быть большие зазоры в лабиринтных уплотнениях или большое количество смазки. Смешивание смазки различных марок недопустимо. Для якорных подшипников применяют масло ЖРО ТУ 32. Если своевременно добавлять смазку в камеры якорных подшипников, то электродвигатель может находиться в эксплуатации до ремонта ТР-3 без замены смазки. При ремонте ТР-3 тяговые электродвигатели снимают с электровоза, очищают подшипники и подшипниковые щиты, проверяют состояние подшипников. В случае стоянки электровоза более 18 месяцев в подшипниках и камерах подшипниковых узлов электродвигателей смазку заменяют.

Появление чрезмерных шумов в подшипниках, вибрации электродвигателя, а также чрезмерное нагревание подшипников свидетельствуют об их ненормальной работе. Такие подшипники необходимо заменить. Допустимое превышение температуры подшипников тяговых электродвигателей не более 55 °С.

Перед снятием колесно-моторного блока с тележки электровоза сливают масло из букс моторно-осевых подшипников и кожухов зубчатой передачи. Снимают колесно-моторный блок и разбирают его. На привалочных поверхностях букс ставят клеймо-номер, относящийся к соответствующему электродвигателю. При демонтаже кожухов зубчатой передачи предварительно снимают крышки с

камер для сбора отработанной смазки, расположенных на подшипниковых щитах. Снимают шестерни с концов вала двигателя. Чтобы снять шестерню с вала , следует снять стопорящую гайку и установить вместо нее специальную гайку с прокладкой. Присоединяют трубку гидронасоса и создают давление. После того как шестерня сдвинется с места, её снимают, предварительно открутив гайку. Съем шестерни без специальной гайки не допускается.

Рис.2.5 Схема подвода смазки при съеме шестерни с вала тягового электродвигателя

До разборки тягового электродвигателя проверяют соответствие номеров подшипниковых щитов номеру остова, помещенному на торцах расточки под вкладыши. Номер подшипникового щита указан на привалочной поверхности бобышки крепления кожуха зубчатой передачи к щиту. Замеряют мегомметром напряжением 1000 В сопротивление изоляции обмоток якоря и полюсной системы относительно корпуса и между собой для выявления участков с пониженным сопротивлением изоляции.

Разборку тягового электродвигателя выполняют в следующем порядке. Устанавливают тяговый электродвигатель в горизонтальное положение и снимают подшипниковые крышки. Индукционным нагревателем или другим способом, обеспечивающим сохранность вала, снимают уплотнительные кольца, крышки устанавливают вновь на свои места. Отсоединяют кабели, подходящие к двум верхним кронштейнам траверсы; вынимают все щетки из окон щеткодержателей и закрепляют их нажимными пальцами на щеткодержателях; снимают кожух для выброса воздуха. Устанавливают тяговый электродвигатель на специальную подставку или кантователь коллектором вверх; демонтируют подшипниковый щит и траверсу; вынимают якорь и кладут его на специальную подушку с резиновой и войлочной прокладкой. Переворачивают остов; демонтируют подшипниковый щит со стороны, противоположной коллектору. Дальнейшую разборку узлов ведут на стеллажах. Производят очистку остова и продувают его сухим сжатым воздухом, осматривают на наличие трещин. Обнаруженные дефекты устраняют. Зачищают от забоин и заусенцев привалочные поверхности остова. Вентиляционные сетки, крышки коллекторных люков при наличии неисправностей и повреждений ремонтируют или заменяют. Крышки коллекторных люков должны плотно прилегать к остову, легко сниматься и устанавливаться. Прокладки и уплотнения надежно закрепляют на крышках. Запоры проверяют на плотное закрытие крышек и при необходимости исправляют. Осматривают устройства для фиксации, прижима и проворота траверсы. Обнаруженные дефекты устраняют. Смазывают отверстия под болты фиксатора, прижимов и валик шестерни проворота траверсы смазкой ВНИИ НП-232. Снимают стеклопластиковую крышку коробки выводов, очистив ее от пыли и грязи. В случае перебросов по пальцам тщательно зачищают поврежденный участок мелкозернистой шлифовальной шкуркой и покрывают красно-коричневой электроизоляционной эмалью ГФ-92-ХС не менее двух раз. При необходимости демонтажа изоляционных пальцев пользуются специальным ключом. Проверяется состояние резиновых втулок и надежность их посадки на кабелях и в отверстиях крышки остова. Поврежденные втулки заменяются. Проверяют состояние и крепление кабелей в коробке выводов и устраняют обнаруженные дефекты.

Осматривают главные и дополнительные полюсы, компенсационную обмотку. Убеждаются в надежности крепления, отсутствии повреждений изоляции, соответствии активного сопротивления, обмоток нормам, прочности посадки катушек главных и дополнительных полюсов на сердечниках, надежности установки уплотняющих клиньев между сердечником полюса и лобовой частью катушек главных полюсов. Простукиванием проверяют плотность посадки клиньев катушек компенсационной обмотки в пазах полюсов. Проверяют полюсную систему на отсутствие межвитковых замыканий в катушках. Катушки с поврежденной изоляцией, а также имеющие признаки ослабления посадки на сердечниках и в пазах полюсов отремонтируйте со снятием с остова. Прочность посадки катушек главных и дополнительных полюсов на сердечниках при затянутых болтах проверяют по видимым следам смещения, например натертость или зашлифованность на пружинных рамках, фланцах, полюсных наконечниках, поверхностях катушек. Пружинные рамки и фланцы с трещинами замените исправными. Установка сердечников с поврежденной резьбой не допускается. Затяжку полюсных болтов производят ключом и простукиванием молотком. Полюсные болты с дефектами, такими как сорванная резьба, изношенные или забитые грани головок, трещины и т. д. заменяют, ослабшие выворачивают. Пружинные шайбы при смене болтов осматривают, негодные подлежат замене. Подтяжку полюсных болтов производят при подогретых до температуры 180- 190 °С катушках. Головки полюсных болтов, где это предусмотрено чертежом, залейте компаундной массой. Проверьте расстановку полюсов в остове по окружности; замерьте расстояние между полюсами по диаметру. Указанные размеры должны соответствовать чертежу. Определяют состояние выводов катушек главных и дополнительных полюсов, а также компенсационной обмотки (изоляцию, отсутствие трещин и других дефектов). Поврежденную изоляцию выводных кабелей и межкатушечных соединений восстанавливают. Изолированная часть должна быть плотной и не иметь признаков оползания. Межкатушечные соединения и выводные кабели внутри остова прочно закрепляют скобами с установкой под скобы изоляционных прокладок. Контактные соединения в цепи полюсов должны иметь прочное соединение и надежный контакт. Сушку изоляции катушек полюсов производят в остове без их снятия. После сушки нагретые катушки и межкатушечные соединения окрашивают эмалью ГФ-92-ХС. Замеряют сопротивление изоляции катушек. Для демонтажа катушек компенсационной обмотки, выпеченных в остове, разъединяют их межкатушечные соединения. С помощью струбцин и кабеля подсоедините их к источнику постоянного тока. Включив источник тока, установите ток 600 - 700 А и греют катушки в течение 20 - 30 мин. Отключив источник тока, простукивают молотком все клинья, крепящие катушки. Внимают катушки из пазов полюса с помощью приспособления или рычагов, установив между катушкой и рычагом резиновые прокладки. При извлечении катушек из пазов принимают меры, исключающие повреждение корпусной изоляции катушек. Очистку пазов полюсов от покровной и пазовой изоляции, наплывов ком паунда и продуйте сухим сжатым воздухом. Демонтированные катушки испытывают переменным напряжением. На катушках, выдержавших испытательное напряжение, восстанавливают покровную изоляцию. Поврежденные катушки заменяются новыми. При пробое корпусной изоляции катушки, выпеченной в остове, производят ее срез от места пробоя на 50 - 60 мм в обе стороны, на месте пробоя снимите изоляцию до меди на участке длиной 20 мм. Срез изоляции выполняют с уклоном в сторону места пробоя. Место среза изоляции промазывают компаундом К-110 или ЭК-5 и наложите необходимое число слоев конусной изоляции согласно чертежу с промазкой каждого слоя вышеупомянутым компаундом. На прямолинейной части катушек накладывают один слой фторопластовой пленки, а затем слой стеклоленты. Если необходимо снять катушки главных полюсов, то предварительно вынимают из пазов все катушки компенсационной обмотки. Смену катушек дополнительных полюсов производят без демонтажа катушек компенсационной обмотки. Для этого отсоединяют выводы катушек дополнительного полюса и вынимают сердечник полюса вместе с катушкой в окно компенсационной катушки. Монтаж остова проводят в следующем порядке. Катушки главных и дополнительных полюсов укладывают на специальный стеллаж и с помощью струбцин и кабеля присоединяют катушки к источнику постоянного тока. Включив источник тока, устанавливают ток 900 А и греют катушки в течение 15 - 20 мин. Изоляцию катушек испытывают относительно корпуса и между витками. Перед укладкой катушек компенсационной обмотки проверяют пазы полюсов на отсутствие заусенцев, наплывов компаунда и при наличии устраняют. Пазы полюсов продувают сжатым воздухом. Промазывают компаундом К-110 или ЭК-5 место среза компенсационных катушек.

Ремонт подшипниковых щитов выполняют в следующем порядке. Снимают крышки и кольца. Выпрессовывают подшипники. При необходимости выпрессовывают крышку из подшипникового щита со стороны, противоположной коллектору. Выпрессовка подшипника из подшипникового щита может производиться различными способами, и на различных приспособлениях, приемлемых для депо, но в любом случае распрессовочное усилие должно быть сосредоточено на торцовую поверхность наружного кольца, а не на сепаратор или ролики. При выпрессовке подшипника вниз падать выпрессованный подшипник должен на прокладку или настил из мягкого неметаллического материала для исключения возможности забоин на наружной обойме подшипника. Промывают подшипники в бензине и тщательно осматривают их. Внимание обращают на качество клепки и износ сепаратора. Если радиальный зазор в подшипнике находится в пределах 0,14 - 0,28 мм, а состояние беговых дорожек, роликов и качество клепки сепаратора хорошее, собирают и смазывают подшипниковые узлы после полной просушки подшипников. Подшипниковые кольца снимают лишь при повреждениях подшипников или вала. Номера внутренних и наружных колец подшипников при сборке должны совпадать. Если обнаружены трещины деталей, на беговых дорожках или роликах появились раковины, задиры или шелушение, радиальные зазоры подшипника превышают установленные нормы, подшипник заменяют. Новые подшипники вплоть до момента их установки не рекомендуется вынимать из ящика. Антикоррозионное покрытие, нанесенное на поверхность новых подшипников, перед сборкой удаляют; подшипник тщательно промывают бензином, протирают чистой салфеткой и просушивают. Ролики и сепаратор перед сборкой покрывают смазкой. Подшипниковые щиты и особенно маслопроводящие трубки и дренажные отверстия тщательно промывают и продувают сжатым воздухом. Посадочную поверхность подшипниковых щитов осматривают на отсутствие трещин. Проверяют все резьбовые отверстия подшипниковых щитов. При необходимости резьбу восстанавливают. Перед сборкой маслопроводящие трубки заполняют смазкой. В процессе сборки следят, чтобы ни в смазке, ни в подшипниковых камерах не оказалось металлической пыли. Сборку подшипниковых щитов выполняют в следующем порядке. В подшипниковый щит со стороны, противоположной коллектору, запрессовывают крышку, если она была выпрессована. Устанавливают кольца и крышки. Заполняют подшипниковые камеры смазкой на 2/3 свободного объёма. Уплотняющие поверхности на деталях промазывают смазкой. При этом канавки на крышке и щите не должны заполняться и промазываться смазкой.

Снятую траверсу продувают сжатым воздухом, протирают салфеткой и устанавливают на специальное приспособление. Снимают щеткодержатели, кронштейны, шинный монтаж, корпус траверсы промойте керосином, просушивают и восстанавливают антикоррозионное покрытие красно-коричневой эмалью ГФ- 92-ХС. Осматривают кронштейны щеткодержателей, щеткодержатели, изоляционные пальцы, шинный монтаж, разжимное устройство. Поврежденные и изношенные детали заменяются. Щеткодержатели разбирают, очищают их от пыли и копоти. Проверяют состояние нажимных пальцев, резиновых амортизаторов, пружин, корпуса, окон щеткодержателя, резьбовых отверстий и отверстий под оси. Устраняют обнаруженные дефекты. Собрав щеткодержатели, смазывают все трущиеся поверхности смазкой ВНИИ НП-232. Проверяют усилие нажатия на каждый элемент щетки и вращение пальцев на оси при нормально натянутых пружинах. Пружины, потерявшие жесткость или просевшие заменяют. Собирают траверсу. Для обеспечения равномерного расположения щеткодержателей по окружности коллектора сборку траверсы с кронштейнами и щеткодержателями необходимо вести на специальном приспособлении. Монтируют щетки в окна щеткодержателей. Щетки должны быть без трещин и сколов, входить в окна щеткодержателей свободно, без заеданий. Зазоры между щетками и стенками окон должны быть в пределах норм, не более 0,1мм. Производят притирку щеток. Отремонтированную траверсу испытывают на электрическую прочность изоляции относительно корпуса.

При ремонте якоря, его устанавливают концами вала на специальные подставки, затем, вращая его, очищают вентиляционные каналы проволочным ершиком, а затем тщательно продувают каналы сжатым воздухом. Медленно вращая якорь, счищают с него от пыль, грязь и смазку. Осматривают бандажи, испытывают их на межвитковые замыкания, осуществляют замер сопротивления изоляции обмоток якоря относительно корпуса. Проверяют плотность посадки пазовых клиньев.

Если клинья в пазу ослабли на длине, больше 1/3 длины паза, они заменяются. Закрепляют ослабшие болты специальным ключом-трещоткой, предварительно нагрев якорь до температуры 160 - 170 °С. Для подтяжки коллекторных болтов якорь ставят на специальную подставку коллектором вверх. Болты подтягивают постепенно, с поочередным подвертыванием не более чем на пол-оборота диаметрально противоположных болтов. Визуальным осмотром убеждаются в качестве пайки обмотки якоря к петушкам коллектора. Обнаруженные дефекты устраняют. Просушивают якорь. Проводят обточку коллектора в собственных подшипниках, снимают фаски с продольных ребер коллекторных пластин. Удаляют остатки миканита у боков коллекторных пластин, вручную прочищают межламельное пространство. Прошлифовав коллектор, продувают его сжатым воздухом, испытывают якорь на междувитковое замыкание, а также замеряют сопротивление изоляции обмоток относительно корпуса. Восстанавливают покрытие якоря. Если сборка электродвигателя задерживается, то оберните рабочую поверхность коллектора плотной бумагой или закройте брезентовым чехлом. После этого якорь положите на деревянную подставку.

При сборке двигателя запрессовывают в остов щит со стороны, противоположной коллектору. Устанавливают в остов якорь и траверсу. Запрессовывают щит со стороны коллектора. Устанавливают двигатель в горизонтальное положение. Снимают крышки и кольца, замеряют торцовое биение подшипников, радиальный зазор между роликами и кольцом подшипника в холодном состоянии после посадки. Установив кольца, их насаживают на вал с нагревом кольца, подшипники закрывают крышками. Проверяют осевой разбег якоря, зазоры между петушками и корпусом щеткодержателя, расстояние между нижней кромкой щеткодержателя и рабочей поверхностью коллектора, перекос щеткодержателя по отношению к коллектору, которые должны быть в пределах норм. Установив траверсу в рабочее положение - ее закрепляют. Убеждаются в правильном расположении щеток на коллекторе. Производят работу тягового электродвигателя в режиме холостого хода, правильность расположения щеток на коллекторе и при необходимости устанавливают их на геометрическую нейтраль. По окончанию сборки тяговый электродвигатель подвергается испытаниям. Программа приемо-сдаточных испытаний машины постоянного тока включает в себя внешний осмотр машины, измерения сопротивления обмоток, испытания на нагревание в течение 1 ч, проверку частоты вращения и реверсирования при номинальных значениях напряжения, токов нагрузки и возбуждения для электродвигателей. При осмотре машины обращают внимание на состояние коллектора, установку щеткодержателей, разбег якоря, исправность щеточного аппарата и легкость вращения якоря. Коллектор не должен иметь пластин с острыми кромками, заусенцами и забоинами. Биение коллектора, контактных колец на нагретой машине допускается для электродвигателей и вспомогательных машин не более 0,04 мм.

Вывод: в данном разделе описаны методы ремонта тягового электродвигателя, а также последовательность ремонтных операций для его составных частей.

3. Оптимизация технологического процесса ремонта тягового электродвигателя ТЛ-2К1

.1 Эффективность адекватной оптимизации ремонтных операций

Для оптимизации ремонтного процесса численными методами необходимо оперировать наиболее важными и нормативными показателями, изменение которых в наибольшей степени влияет на изменение целевой функции. Целевая функция определяется критерием оптимизации, которая зависит от специфики работы ЭПС в рассматриваемом участке. В качестве критериев могут выбираться такие показатели как максимальная надежность ЭПС, минимальный простой в ремонте, максимальный эксплуатируемый парк, минимальные затраты в техническом содержании ЭПС и др. Оптимизировать технологический процесс ремонта можно путем уменьшения числа ремонтных операций, а именно соединением схожих процессов.

Существуют три способа оптимизации системы ремонта, которые направлены на определение таких значений параметров системы (объем ремонта и межремонтный пробег), которые в наибольшей степени соответствуют наилучшему процессу оптимизации.

В методе группирования определяются лимитирующие узлы, определяются ресурсы этих узлов. Группирование проводится в порядке возрастания ресурсов. Графоаналитический метод включает в себя определение зависимости затрат в ремонте функции межремонтного пробега, затрат в эксплуатации в функции межремонтного пробега, затрат в эксплуатации и ремонте в функции от межремонтного пробега. Данный метод длительно использовался в планово предупредительном виде ремонта.

Целью метода динамического программирования считается получение таких значений параметров ремонта, которые соответствуют экстремуму целевой функции оптимизации. Для тяговых электродвигателей и вспомогательных машин установлены плановые текущие ремонты в депо, средние и капитальные ремонты. Заводская последовательность указанных видов ремонта в одном цикле от начала эксплуатации или КР со следующего КР машина должна придерживаться установленной цепочки: КР-ТР-СР-ТР-КР. Для ТЭД: КР-ТО3-СР-ТР3-СР-ТО3-КР.

Понятие оптимизация включает в себя принципы и методы технического обслуживания и ремонта, вопросы концентрации, специализации, научной организации труда, а также вопросы внедрения поточных линий и механизированных рабочих мест, механизации и автоматизации производства, внедрения современных средств технической диагностики и других достижений научно-технического прогресса.

Использование принципа взаимозаменяемости и ремонтных градаций позволяет организовать заблаговременный ремонт не только отдельных деталей, но и целых узлов, таких, как колесно-моторный блок, тележки и другие, т. е. организовать крупноагрегатный метод ремонта.

Для этого локомотивные депо должны иметь переходящий технологический запас узлов и агрегатов.

Крупноагрегатный метод обеспечивает значительное сокращение продолжительности простоя э. п. с. в ремонте, повышение ритмичности производства, более равномерную загрузку оборудования, повышает производительность труда и качество ремонта, снижает его себестоимость. Для получения наибольшего эффекта от применения крупноагрегатного метода ремонта э. п. с. концентрируют в наиболее крупных и технически оснащенных депо.

Концентрация ремонта позволяет вести ремонт индустриальными методами, шире внедрять механизацию и автоматизацию производственных процессов. Высокая технико-экономическая эффективность ремонтного производства может быть обеспечена только при условии специализации ремонтных баз.

Специализация депо состоит в том, что в нем организуют ремонт электровозов и электропоездов определенных серий, а лучше всего одной серии.

Оптимальная организация ремонта обеспечивает рост производительности труда, снижение трудоемкости работ и стоимости единицы продукции, высокий уровень рентабельности и внедрение хозрасчета на предприятиях локомотивного хозяйства. Особое значение приобретает организация труда и, в частности, использование бригадной формы организации труда.

Технологическая подготовка производства включает в себя работы по проектированию и внедрению прогрессивной технологии ремонта и изготовления деталей.

Вывод: в данном разделе приведены примеры оптимизирования ремонтного процесса для облегчения трудоемкости ремонта и возможности сокращение времени технологического процесса.

4. Охрана труда

Охрана труда - система сохранения жизни и здоровья работников в процессе трудовой деятельности, включающая в себя правовые, социально-экономические, организационно - технические, санитарно-гигиенические, лечебно-профилактические, реабилитационные и иные мероприятия.

Цель охраны труда - свести к минимуму вероятность поражения или заболевания работающего персонала при максимальной производительности труда.

Безопасные условия труда - условия труда, при которых воздействие на работающих вредных и (или) опасных производственных факторов исключено либо уровни их воздействия не превышают установленных нормативов. Человек подвергается воздействию опасностей в своей трудовой деятельности <#"654667.files/image018.gif">,

где b - добавочный процент рабочих на замещение (принять равным 10 %);

Сi - Количество рабочих мест;

S - Число смен (принять равным 2);i - Норма обслуживания (n = 1).

Контингент ремонтных рабочих в цеху рассчитывается по нормативам:

норма времени на одну ремонтную единицу составляет на: текущий ремонт - 0,1 ч (производится еженедельно), осмотр - 0,85 ч, малый ремонт - 6,1 ч;

- структура ремонтного цикла для всего оборудования: К-О-О-М-О-О-М-О-О-С-О-О-М-О-О-М-О-О-К (К - капитальный ремонт; М - малый ремонт; С - средний ремонт; О - осмотр);

Количество ремонтных рабочих по содержанию оборудования определяется по формуле

 

,

где Т - трудоемкость ремонта и осмотров;

F - число часов, отработанных за год каждым рабочим (F = 1995 ч).

Трудоемкость ремонта определяется по формуле

Т = (атрmтр+ а0m0+ амрmмрiКi, нормо-час,

где атр , а0 мр - соответственно норма времени на одну ремонтную единицу, на текущий ремонт, осмотр и малый ремонт, ч;

mтр, m0, mмр- количество соответственно текущих ремонтов, осмотров и малых ремонтов оборудования за год;

Сi - количество принятого оборудования;

Кi - коэффициент, учитывающий группу ремонтной сложности;

Фонд заработной платы планируют по каждой категории работников.

Ф,

где  - численность работников, чел;

- среднемесячная заработная плана одного работника;

- число месяцев в году.

Среднемесячная заработная плата работников складывается из месячной тарифной ставки или оклада, доплат за вредные условия труда и премий. Доплату за вредные условия труда принимают в размере 12 % от тарифной ставки. Премии - 25 % заработка с учетом доплат за вредные условия труда.

Расчёт себестоимости ремонта двигателя

При расчете себестоимости продукции ремонта двигателей следует использовать следующие нормативы:

а) стоимость материалов и полуфабрикатов на единицу ремонта ТЛ2К принять 550 руб.;

б) транспортно-заготовительные расходы - 5 % от стоимости материалов и полуфабрикатов;

Внепроизводственные расходы составляют 0,5 % от деповской себестоимости ремонта:

до ТЛ-2К 5958,2×0,005 = 29,79 тыс. руб.

после ТЛ-2К 6798,4×0,005 = 34 тыс. руб.

Итого полная деповская себестоимость годовой программы ремонта составляет:

до реконструкции цеха - 5988 тыс. руб.

после реконструкции цеха ТЛ-2К - 6832,4 тыс. руб.

Полная деповская себестоимость ремонта одного двигателя составляет:

до реконструкции цеха - = 7,98 тыс. руб.

после реконструкции цеха-  = 4,27 тыс. руб.

Заключение

В дипломном проекте описаны назначение, особенности конструкции, приведены характерные неисправности и методы их устранения, а также технологический процесс ремонта тягового электродвигателя ТЛ2К1. Рассмотрены возможности оптимизации трудоемкости ремонта и сокращение времени. В алгоритме ремонтного процесса представлена последовательность ремонта каждого узла или детали, возможность их замены или методов восстановления.

Список использованной литературы

.     «Электровоз ВЛ11м. Руководство по эксплуатации»

2.   «Находкин В.М., Яковлев Д.В., Черепашинец Р.Г. Ремонт электроподвижного состава»

3.      Охрана труда на железнодорожном транспорте. Учебник для учащихся техникумов жд транспорта. Издательство «Транспорт». 1983 год.

.        Осадченко А.А., Шибаев Д.Е., Анализ износа щеток электродвигателей постоянного тока, техника и технологии.

Похожие работы на - Конструкция и ремонт тягового электродвигателя ТЛ2К1

 

Не нашли материал для своей работы?
Поможем написать уникальную работу
Без плагиата!
Без нейросетей!