Виготовлення напівпровідникових приладів й інтегрованих схем

  • Вид работы:
    Курсовая работа (т)
  • Предмет:
    Другое
  • Язык:
    Украинский
    ,
    Формат файла:
    MS Word
    475,5 Кб
  • Опубликовано:
    2013-11-10
Вы можете узнать стоимость помощи в написании студенческой работы.
Помощь в написании работы, которую точно примут!

Виготовлення напівпровідникових приладів й інтегрованих схем

Реферат

Мета роботи - Технологічні процеси виготовлення напівпровідникових приладів й інтегрованих схем (ІС), а також визначити і побудувати основні залежності, які характеризують структуру.

Методи дослідження - чисельні розрахунки за відомими, отриманими математичними формулами, що описують особливості структури; використання теоретичних відомостей, що стосуються технології виробництва напівпровідників; використання можливостей ЕОМ для визначення необхідних параметрів і залежностей.

Курсовий проект направлений на закріплення теоретичних знань з технологічних основ електроніки і практичне засвоєння методик розрахунку параметрів p-n перехід, характеристик напівпровідникових приладів та побудови ВАХ, для розрахунку топології і визначення структури діоду.

В результаті виконання роботи отримано ряд параметрів, а також побудовані залежності, що достатньо повно характеризують даний p-n перехід.

Вступ

В основі роботи абсолютної більшості напівпровідниковим приладів лежать фізичні явища в електронно-дірковому переході, Електронно дірковий перехід (р-n - перехід) - це перехідний шар, що утворюється між двома областями напівпровідника з електропровідністю різного типу і має підвищений питомий опір. Для одержання електронно-діркових переходів у напівпровіднику утворюються області з електронною та дірковою провідністю за рахунок уведення донорних та акцепторних домішок.

Якщо концентрація донорної ND та акцепторної NА домішок при переході з однієї області в іншу змінюється стрибком, p-n - перехід називається різким або східчастим, а у випадку плавної зміни домішок - плавним.

Як правило, в напівпровідникових приладах використовуються несиметричні переходи, які характеризуються різною концентрацією домішок ND та NА. Відношення концентрації може досягати декількох порядків.

Напівпровідникові прилади займають провідне місце в електротехнічній промисловості і активно впливають на інші галузі промисловості: енергомашинобудування, залізничний транспорт, лінії електропередач та ін.

Технологія напівпровідникових приладів представляє собою складний комплекс процесів, кожний з яких є самостійним і досить важливим науковим напрямом. Це механічні, хімічні, електрохімічні, термохімічні, термофізичні, металургійні, кристалізаційні процеси.

Найбільш характерними рисами сучасної напівпровідникової електроніки є зростання складності приладів і зменшення геометричних розмірів елементів структур. На одній напівпровідниковій пластині діаметром 50-75 мм формується біля тисячі приладів.

Брак, припущений на будь з яких операцій, є невиправним. Технологічні дефекти накопичуються і викликають брак приладу. У зв’язку з цим напівпровідникове виробництво характеризується дуже жорсткими вимогами до параметрів технологічних процесів на усіх операціях. Сукупність технологічних параметрів складає технологічний режим, яких ретельно відпрацьовується і потім підтримується на кожній операції.

Ефективність електронної апаратури обумовлена високої швидкодією, точністю і чутливістю елементів, що входять до неї.

Завдання електроніки як галузі техніки - розробка, виробництво та експлуатація електронних приладів і пристроїв різного призначення.

Сучасні технічні засоби електроніки широко використовуються в усіх галузях народного господарства нашої країни.

1.  Технологія виготовлення планарного діода

.1 Вхідний контроль

У технології напівпровідникових інтегральних мікросхем окремі елементи одержують шляхом цілеспрямованої зміни властивостей матеріалу підкладки легованою домішкою. Базовою технологією є епітексіонально-планарна технологія. Сучасна планарна технологія включає ряд послідовних етапів виготовлення НПІМС: вирощування на поверхні кремнієвої підкладки епітаксіального шару, окислювання поверхні кремнію, фотолітографію, дифузію, осадження тонких металевих плівок контактного шару.

Вхідному контролю піддають злитки напівпровідникового матеріалу. Найбільш розповсюдженими видами контролю є вимір типу електропровідності, питомого опору, часу життя і рухливості носіїв заряду, щільності дислокацій і інших структурних дефектів.

1.2 Підготовка напівпровідникових пластин

Створення мікросхем починається з підготовки н/п пластин. Їх одержують шляхом розрізування монокристаллических н/п злитків циліндричної форми з наступним шліфуванням, поліруванням і хімічним травленням для видалення верхнього дефектного шару й одержання дзеркальної поверхні із шорсткістю (висотою нерівностей) 0.03...0.05 мкм. Діаметр пластин не перевищує 150 мм, товщина близько 0.5 мм, припустимий прогин і відхилення від паралельності поверхонь не більш 10 мкм по всьому діаметрі. Пластини характеризуються типом (n чи p) електропровідності, питомим опором, а також кристалографічною орієнтацією поверхні.

Після різання злитка на пластини на поверхні пластин залишаються сліди гофрообразной форми глибиною порядку 10 мкм і зруйнована кристалічна структура, однак, тому що для подальшого використання необхідно шорсткість поверхні пластини не більш 0.01 мкм, тому пластини спочатку притирають по обидва боки дуже дрібнозернистою шліфувальною пастою на дворазову глибину гофрообразных слідів і після цього полірують. Для цього них завантажують у концентричний планетарний механізм із листового металу, що рухається між чавунними шліфувальними колами по циклоїдній траєкторії. У механізм безупинно подають абразивну суспензію (масляна чи водяна суспензія окису алюмінію, карбіду чи кремнію алмазна паста з діаметром зерен 0.25-8 мкм). Тому що полірування являє собою чисто механічний процес, то залишаються все-таки дрібні сліди обробки. Тому застосовують ще спеціальне травлення (хімічне полірування), що служить для видалення поверхневого шару підкладки, ушкодженого під час попередньої обробки (різання, шліфування і полірування), а також для розчинення уламків кремнію, розташованих на поверхні. Під час цього процесу відбувається оголення неушкодженої кристалічної структури напівпровідника, тому що недосконалості кристалічної структури служать центрами рекомбінації носіїв заряду і можуть погіршувати електричні параметри елементів схеми. Після знежирення і ретельного промивання кремнієві пластини підготовлені для проведення эпитаксиально-планарных процесів.

1.3    Високотемпературна та низькотемпературна епітаксія

Процес нарощування на пластину монокристалічного шару, що повторює структуру підшарку і її кристалографічну орієнтацію, називається епитаксєю. Звичайно застосовується газофазная эпитаксия, здійснювана в епитаксиальном реакторі. Високотемпературна епітаксія являє собою термохімічний процес. Кремній одержують термічним розкладанням тетрахлорида кремнію в атмосфері водню при температурі 1150-1250 oС:

SіCl4 + 2H2 = Sі + 4HCl

Чи відновленням трихлорсилана:

іHCl3 + H2 = Sі + 3HCl

Одночасно на основі визначених добавок галогенидов легуючих элеметов (BCl3, AsCl3, PCl3) до газової суміші, наприклад

BCl3 + 3H2 = 2B + 6HCl,

можна одержувати визначений опір і тип провідності у вирощених шарах. При високотемпературній епітаксії може відбутися дифузія домішок з підкладки. Але якщо необхідні епітаксіальні шари з різким профілем домішок, використовують низькотемпературну епітаксію: двоступінчастий процес, при якому за короткою високотемпературною фазою (2 хвилини при 1175 oС) випливає тривала низькотемпературна фаза (45 хвилин при 1050 oС) чи піроліз силана при 950 oС:

4 = Si + 2H2.

е

Рисунок 1.1 - Пластина кремнію з епітаксіальним шаром.

1.4 Окислювання кремнієвих пластин

Наступний етап - окислювання. Маються два основні різновиди термічного окислювання кремнію: 1) високотемпературне окислювання в атмосфері сухого чи кисню зволожених газів (кисню, азоту, аргону), а також водяної пари при атмосферному тиску; 2) окислювання в парах води при високому тиску і температурі 500-800 oС. Найчастіше використовують комбіноване окислювання кремнієвих пластин. Спочатку вирощують тонкий шар SiO2 у сухому кисні, потім нарощують більш товстий шар у вологому кисні. І, нарешті, завершують процес окислювання знову обробкою в сухому кисні.

Таке комбіноване окислювання забезпечує, з одного боку, одержання необхідних властивостей границі роздягнула Sі - SiO2і шаруючи SiO2і, з іншого боку, при мінімальних температурах і в можливо більш короткий час вирощування шару SiO2 необхідні товщини. Скорочення ж циклу окислювання і зниження температури окислювання потрібні для того, щоб звести до мінімуму перерозподіл домішок при проведенні процесів окислювання і, отже, зберегти геометрію і властивості p-n переходу.

Рисунок 1.2 - -окиснена пластина кремнію

При термічній обробці в атмосфері сухого кисню утворення окисла йде відповідно до реакції:

+ O2 = SiO2

У присутності невеликої кількості пар води процес окислювання прискорюється і протікає відповідно до реакції:

+ 2H2O = SiO2 + 2H2

Операція окислювання виконується в дифузійній печі при температурі 1000-1200 oС. Інтенсивність окислювання убуває зі збільшенням товщини шаруючи окисла. Ріст товщини шаруючи описується лінійно-параболічним законом: x2 + k1x = k2t, де x - товщина окисла, k1 і k2 - константи, а t - час. При окислюванні до складу окисла переходить частина матеріалу підкладки. Товщина цього шару кремнію складає приблизно 0.44 повної товщини оксидної плівки. Мінімально необхідна для ефективного захисту кремнію від дифузії домішок товщина оксидної плівки залежить від температури, тривалості процесу. Вважають, що при дифузії бора достатня товщина маски 0.4...0.5 мкм.

Застосування планарної технології на кремнії дає можливість сполучити термічне окислювання з процесом перерозподілу домішки (друга стадія дифузії), оскільки обоє ці процесу можуть здійснюватися при одній і тій же температурі, обраної з урахуванням вимог до дифузійних шарів.

1.5 Фотолітографія

Для локального впровадження домішок легуванням на основі дифузії необхідне формування за допомогою фотолітографії рельєфу оксидного шару, що діє як маска. Фотолітографією називають формування фотохімічними методами малюнків необхідних конфігурацій з тонких плівок різних матеріалів (маскуючих, провідних, діелектричних, резистивних). Малюнок топологічного шару в процесі фотолітографії задає фотошаблон - виконане на прозорому матеріалі зображення технологічного шару в масштабі 1:1 стосовно розмірів інтегральної мікросхеми. Технологія фотолітографічного процесу складається з наступних операцій, виконуваних у визначеній послідовності:

) Очищення поверхні пластини з нанесеним оксидом. Для цього використовуються розчинники. Рекомендується обробка в парах трихлорэтилена, кип'ятіння в азотній кислоті, кип'ятіння в деионизованной воді з ультразвуковою обробкою і термообробка.

) Нанесення фоторезисту. Фоторезист - це плівкоутворювальний матеріал, розчинність якого змінюється під впливом світла. Розрізняють позитивний і негативний фоторезист. Позитивний фоторезист під впливом світла стає розчинним, а негативний, навпаки, у результаті фотополімеризації переходить у нерозчинний стан. Товщина фоторезисту звичайно складає 0.2...0.6 мкм.

) Після висихання фоторезисту, на нього накладається фотошаблон, крізь который відбувається опромінення ультрафіолетовим світлом - експонування. Фотошаблон зачернений на тих ділянках, на яких необхідно розкрити вікна в шарі оксиду.

Рисунок 1.3 - експонування фоторезисту

4) Прояв фоторезисту хімічною обробкою в спеціальних проявниках: водяні розчини їдкого чи натрію тринатрийфосфата (для позитивних фоторезистів) і трихлорэтилен, толуол, хлорбензол (для негативних фоторезистів).

) Задублювання. Ця операція необхідна для остаточної полімеризації рельєфу фоторезисту, що залишився, і поліпшення адгезії фоторезисту до підкладки; здійснюється термообробкою при 120 oС протягом 20 хвилин.

) Травлення оксиду кремнію. Оксид кремнію добре труїться водяним розчином плавикової кислоти, але при цьому через інтенсивне виділення пухирців Sі4 плівка захисного фоторезисту відшаровується від SiO2 розривається в границь вікон, що витравлюються, у результаті спостерігається сильне роз'ятрювання шаруючи SiO2. Щоб уникнути цього застосовують травители, що містять крім HF солі плавикової кислоти (NH4F, KF, NaF), називані буферними.

) Видалення фоторезисту. Фоторезист видаляють двох- чи триразовим кип'ятінням по 5-10 хвилин у концентрованої H2SO4 чи "хромової суміші" (H2SO4 + двухромовокислый калій). Позитивний фоторезист можна видалити також холодним 10-15%-ным розчином їдкого калію; але підкладку після цього необхідно ретельно промити.

Коли кип'ятіння в H2SO4 неприпустимо, наприклад при наявності Al, застосовують кип'ятіння в органічних розчинниках, частіше в трихлоретані.

Після цього пластини кремнію промивають у деионизованной воді з використанням ультразвуку, потім сушать при температурі 120 oС.

Рисунок 1.4 - Стравлювання оксиду кремнію

При вирощуванні кремнієвих напівпровідникових монокристалів за допомогою одночасного легування виготовляють однорідні підкладки з визначеним типом провідності і питомим опором. На таких підкладках вирощують епітаксіальні рівномірно леговані шари. Метою легування є рівномірний розподіл домішки.

1.6 Дифузія

Дифузія застосовується для локальної зміни концентрації домішки в монокристалі кремнію і є в даний час найважливішим технологічним процесом при виготовленні напівпровідникових структур.

Дифузія домішок- це технологічна операція легування - уведення домішок у чи пластину епітаксіальну плівку. При високій температурі (близько 1000oС) домішкові атоми надходять через поверхню і поширюються усередину внаслідок теплового руху.

Основний механізм проникнення примісного атома в кристалічні ґрати складається в послідовному переміщенні по вакансіях (порожнім вузлам) ґрат. Можливі також, хоча і менш ймовірні, переміщення по міжвузіллям і обмін місцями із сусідніми атомами. З іншого боку, відомо, що атом домішки електрично активний, тобто виконує функцію чи донора акцептора, тільки в тому випадку, якщо він займає місце у вузлі. Отже, для одержання сильнолегованих областей і скорочення часу дифузії необхідно мати високу концентрацію вакансій у поверхневому шарі пластини. При нормальній температурі вона дуже мала (107 см-3), але при температурі 500...1200С досягає 1021 см-3 за рахунок поверхневого випару атомів, дифузії атомів основного матеріалу з глибини пластини до її поверхні (що еквівалентно "дифузії" вакансій від поверхні всередину), а також зсуву атомів у міжвузілля внаслідок теплових коливань ґрат.

Дифузія здійснюється через захисну маску з двоокису кремнію донорами (елементи для створення n-провідності, наприклад, фосфор, миш'як, сурма) чи акцепторами (елементи для створення p-провідності, наприклад, бор, галій, індій, алюміній). Однак фронт продифундованих атомів домішки в напівпровідниковій підкладці різко не виражений, тому що внаслідок статистичного розподілу теплової енергії атомів домішки їхня концентрація зменшується всередину кристала. Якщо при впровадженні в підкладку фронт дифузії округляється, то на поверхні підкладки він поширюється концентрично. При цьому, як випливає з малюнка, зона дифузії ставати більше, ніж вікно в окісному шарі. Цей факт необхідно приймати в увагу при виборі розмірів вікон дифузії для зменшення взаємного впливу поруч лежачих дифузійних областей.

Рисунок 1.5 - Дифузія донорної домішки

Домішки характеризуються коефіцієнтом дифузії D, що визначає щільність потоку атомів, що дифундують: F = - D×gradN. Це перший закон дифузії (перший закон Фіка). У планарній технології обмежуються звичайно розглядом одномірної задачі - дифузії домішки в глиб підкладки, перпендикулярно її поверхні. Якщо з цим напрямком збігається координата x, то можна записати так:

= - D×(dN/dx).


(dN/dt)=D×(d2N/dx2).

Коефіцієнт дифузії характеризує швидкість дифузії даної домішки в даному матеріалі. Зміна коефіцієнта дифузії з температурою описується експонентною залежністю

D=Do×exp(dE/kT),

де d - енергія активації процесу дифузії.

Залежність D(T) дозволяє оцінити необхідний ступінь стабільності температури в зоні дифузії. Практично в дифузійних печах нестабільність температури лежить у межах ± (0.5...0.25) oС.

Інший параметр домішок - гранична розчинність (максимально припустима концентрація домішок Nгран) на відміну від D незначно збільшується з ростом температури (у 2...3 рази на кожні 300 oС при T < 1300 oС). Вона складає приблизно 1020...1021 при T = 1100 oС

При технічній реалізації процесу розрізняють дві принципові можливості класичної дифузії: дифузію з газової фази (з нескінченного джерела) і дифузію з твердої фази (з кінцевого джерела).

У зв'язку з цим дифузійні установки принципово розрізняються тим, що як джерело домішки застосовують тверді, рідкі чи газоподібні з'єднання.

Дифузія з постійного (нескінченного) джерела. У цьому випадку концентрація домішки в поверхні роздягнула підтримується постійної N(0,t) = const = No. Це значить, що зменшення числа атомів домішки, що ідуть в обсяг напівпровідника через поверхню розділу, ніяк не відбивається на концентрації їх у поверхні. Джерелом атомів диффузанта в цьому випадку є потік газу, омиваючий напівпровідникові підкладки в зоні дифузії дифузійної печі. Зменшення числа атомів, що ідуть у підкладку, складає незначну частину стосовно загального числа атомів в обсязі газу. Таким чином, умова виконується досить точно. Рішення рівняння дифузії для даного випадку має вид:


В міру протікання дифузії домішка проникає усе глибше в підкладку. Очевидно, що при нескінченно великому часі дифузії концентрація No, що мається в поверхні підкладки, установилася б у всьому обсязі напівпровідника. Одержання потрібного профілю концентрації легуючої домішки ставати можливим, якщо у визначений момент часу зупинити дифузію, остудивши підкладку. Охолодження підкладки навіть на 100 ±С практично припиняє процес, а при нормальній температурі отриманий профіль концентрації буде зберігатися незмінним практично як завгодно довго.

Дифузія з обмеженого джерела. Умови, що накладаються на процес дифузії, у цьому випадку зводяться до того, що повна кількість атомів домішки, що беруть участь у дифузії на протяг усього процесу, залишається постійним. Тому процес зводиться до перерозподілу визначеної кількості атомів домішки в обсязі напівпровідника. Досягається це введенням деякої кількості диффузанта на поверхню й у тонкий приповерхній обсяг напівпровідника, це називають "загонкою" домішки. Після цього підкладки прогріваються без уведення додаткової домішки, відбувається перерозподіл диффузанту і проникнення його в глиб підкладки. Цей етап процесу називається "разгонкой" домішки. При цьому, природно, концентрація домішки в поверхні убуває. Закон зміни концентрації домішки в часі і по глибині підкладки визначається співвідношенням:

виготовлення планарний діод пластина


де Ns - поверхнева концентрація попередньо нанесеної домішки.

Після закінчення процесу дифузії у визначену дифузійну область неминучі повторні цикли нагрівання підкладки. З огляду на, що аргументом, що визначає профіль концентрації, є добуток Dt (де коефіцієнт дифузії D, що залежить від температури, має різні значення в різних циклах дифузії), ефективне значення аргументу Dt можна визначити зі співвідношення

эф = D1t1 + D2t2 + ... + Dntn.

Таким чином, можна врахувати розмиття профілю дифузії при повторних циклах нагрівання підкладки.

Одним з перспективних методів уведення легуючих домішок є іонна імплантація. Атоми бора, що випарувалися, чи фосфору іонізуються в потоці електронів. Отримані іони прискорюються в електромагнітному полі і бомбардують кремнієву підкладку, що відіграє роль мішені. Енергія, що повідомляється електромагнітним полем легуючим атомам, досягає сотень кілоелектрон-вольт. Цієї енергії досить для того, щоб атоми легуючої домішки впровадилися в структуру кремнієвої підкладки на глибину порядку одного мікрона. Помістивши на поверхні підкладки маску (наприклад, з алюмінієвої чи плівки з іншого металу, здатного затримувати падаючий на нього потік іонів), можна досягти ефекту локальної імплантації легуючих атомів приблизно так само, як це відбувається при дифузії через контактну маску з двоокису кремнію.

Процес іонної імплантації не вимагає високотемпературного, строго контрольованого нагрівання підкладки, профіль концентрації, одержуваний при іонному легуванні, має максимум на деякій глибині, яку можна регулювати, змінюючи енергію іонів, що бомбардують. Іонна імплантація характеризується високою відтворюваністю результатів. Недоліком методу є досить велика складність технологічного устаткування.

Інший метод легування кремнієвої підкладки без високотемпературного нагрівання - локальне нагрівання електронним бомбардуванням. На поверхню підкладки наноситься мілкодисперсний порошок з'єднання диффузанта й у потрібних ділянках підкладка піддається нагріванню сфальцьованим електронним пучком. У нагрітій ділянці з'єднання диффузанта (наприклад, борний ангідрид B2O3) розкладаються й атоми бора проникають у глиб нагрітого кремнію.

Таким методом зручно формувати діодні структури, що містять тисячі діодів на одному кристалі і призначені для використання в якості діодних матриць постійних запам'ятовуючих пристроїв.

1.7 Металізація

Далі на підкладку необхідно нанести провідну плівку для створення омічних контактів. Крім необхідних електрофізичних параметрів від них потрібно гарна адгезія (міцність зв'язку) до матеріалу, на який наноситься плівка, зокрема до чи кремнію діоксиду кремнію. Деякі матеріали мають погану адгезію з підкладками, (наприклад, золото з кремнієм). Тоді на підкладку спочатку наносять тонкий підшар з гарною адгезією, а на нього - основний матеріал, що має гарну адгезію з підшаром. Для запобігання ушкоджень плівок при коливаннях температури бажано, щоб ТКР плівок і підкладок якнайменше відрізнялися друг від друга.

Найбільше широко як матеріал коммутовуючого шару застосовується алюміній. Його легко можна вплавляти в кремнієву підкладку (крапка евтектики системи алюміній-кремній 577С). Алюміній по своїй природі є акцепторною домішкою, тому необхідно враховувати можливість утворення в області контакту p-n переходу з різко нелінійною вольт-амперною характеристикою. Однак слаболеговані області напівпровідника n-типу в області контакту легуються до високої концентрації. Легування домішками до високої концентрації викликає значні порушення регулярної структури монокристалличного кремнію поблизу поверхні, тому паразитний p-n перехід, формований у місці контакту між областями p+ (кремній з алюмінієм) і n+ типу, має великий витік і по характері провідності наближається до звичайного омічного контакту.

Нанесення суцільної плівки алюмінію виконується після втравлювання в шарі двоокису вікон під контакти. Осадження алюмінію, як правило, відбувається в термічній вакуумній установці. При цьому алюміній стикається з кремнієм через контактні вікна. Однак міцне з'єднання алюмінію з кремнієм виходить тільки після операції вплавления, що відбувається при температурі порядку 500 oс. Остаточне формування контактних площадок вироблятися методами фотолітографії.

Основні способи нанесення тонких плівок:

термічний вакуумний випаровуванням;

розпилення іонним бомбардуванням;

катодне розпилення;

іонно-плазмене напилювання;

високочастотне розпилення;

хімічне осадження з водяних розчинів.

1.8 Скрайбування та розламування пластин на кристали

Для поділу пластин на кристали роблять скрайбування - нанесення сітки взаємно перпендикулярних рисок глибиною 10...15 мкм тонким алмазним різцем. Потім пластини розколюють, поміщаючи їх на м'яку гумову підкладку і прокочуючи під невеликим тиском гумові валики в напрямку рисок. Через ушкодження поверхні і небажаних відколів на цьому етапі неминуче виникає шлюб, що збільшується з ростом товщини пластин. Чим більше діаметр пластин, тим більше їхня товщина, необхідна для забезпечення механічної міцності. Оскільки СБИС виконуються на пластинах великого діаметра, то відсоток бракованих СБИС при механічному скрайбування і розколюванні особливо великий. Для СБИС більш придатні немеханічні способи поділу. Одним з них є скрайбування за допомогою лазерного променя, що дозволяє робити глибокі ризики (100...200 мкм), а при багаторазовому проході - цілком розділяти пластини на кристали без розколювання. Іншим способом є наскрізне анізатропне травлення пластин. Немеханічні методи забезпечують значно менший шлюб і краще піддаються автоматизації.

1.9 Розводка виводів та корпусування

Далі кристали встановлюють у корпуси. Існує велике число типів корпусів, що розрізняються застосовуваними матеріалами, способами герметизації, конструкцією висновків, показниками надійності і вартості. По застосовуваних матеріалах корпуса підрозділяються на металокерамічні, керамічні, металлоскляні, металлополімерні, пластмасові і полімерні (приведені в порядку зниження надійності і вартості). Більшість корпусів має дворядне розташування виводів. Виводи можуть розташовуватися в площині корпуса - планарні, або перпендикулярно площини корпуса.

Рисунок 1.6 - Планарний діод

1.10 Контроль якості

Для оцінки параметрів і надійності приладів їх надсилають у відділ технічного контролю, де проводять електричні, кліматичні та механічні випробування. Вони важливі для правильної інформації про якість і надійність приладів. Крім цього кожна технологічна операція супроводжується контролем якості обробки, наприклад вимірюванням глибини дифузії, товщину епітоксіального шару чи питомого або поверхневого опору. Після того, як в структурі створені р-n-переходи, виробляють контроль електричних параметрів - напруги пробою, струму витоку, місткості. У технологічному маршруті передбачені спеціальні контрольні карти.

2. Розрахунок дифузійного процесу

.1 Вхідні дані

За завданням варіанту 29 маємо: дифузант - миш’як . Джерело дифузанта Елементарний As (гранульований або порошковий). Спосіб проведення процесу дифузії - в відкритій трубі, в двозонній печі. Особливості сплавів - При TSi=1200¸1900 0C TAs=900¸1100 0C C0=1018¸1020 см-3. Параметри дифундуючої домішки (As): Коефіцієнт дифузії D0=0,32 см2/с; Енергія активації ΔEа=3,65 еВ; t=2.

.2 Визначення розподілу концентрації домішки вздовж дифузійного шару та коефіцієнту дифузії

Визначаємо поверхневу концентрацію дифузанту як концентрацію атомів домішки в нескінченно тонкому поверхневому шарі. В даному випадку

Концентрація вихідної домішки Cb вибирається на 3-4 порядки менше ніж

Для визначення розподілу домішки і глибини залягання р-n перехода

застосуємо графічний метод. Джерело дифузанта можна вважати джерелом з нескінченним вмістом домішки, процес дифузії буде описуватись функцією доповнення до інтегралу похибок.

     (2.1)

де С0 - поверхнева концентрація домішки; x - глибина залягання p-n переходу; D - коефіцієнт дифузії;- час проведення дифузії;

Коефіцієнт дифузії D визначимо за формулою:

  (2.2)

де: D0 - коефіцієнт дифузії; k - стала Больцмана;а - енергія активації домішки;-температура під час процесу дифузії.

Таким чином виходячи з формули 2.1 отримаємо такий графік розподілу концентрації домішок, який представлено на рисунку 2.1.

Оскільки р-n перехід залягає на глибині х=хі, де Сх=0, обчислимо глибину залягання з кривої розподілу за формулою:

     (2.3)

Звідси хі = 9*10-5м

Рисунок 2.1 - Розподіл концентрації домішки

2.3 Визначення градієнта концентрації домішки в р-n переході

Градієнт концентрації характеризує „плавність” р-п переходу. Для erfc-розподілу він визначається диференціюванням функції розподілу по кординаті.

    (2.4)

Маємо a = -3,4*1019 м-4.

Отже отриманий перехід слід вважати середнім.

2.4 ВАХ для середнього р-n переходу

Для розрахунку вольт-амперної характеристики отриманого перехода введемо кілька припущень:

носії заряду рекомбінуютть тільки один з одним

об`ємний заряд поза межами переходу дорівнює нулю

вважатимемо область об`ємного заряду досить вузькою, а час прольоту в ній досить малим щоб нехтувати процесами генерації і рекомбінації в цій області

задача є одномірною і стаціонарною

Як відомо загальна густина струму через перехід є сумою електронної й діркової складових.

Густина загального струму через перехід дорівнює сумі складових струмів:


де: Dp, Dn - коефіцієнт дифузії; q - заряд електрона;, Ln - середня довжина вільного пробігу; V - напруга на переході;- стала Больцмана; T - температура;, pn - концентрація неосновних носіїв заряду.

Розрахунок ВАХ проводиться при температурі Т=300 К. Концентрації np та pn визначаються з графіку Сх(х).

Якщо до переходу прикладена зворотна напруга. Яка значно перевищує  то струм переходу досягає насичення, тобто в значному діапазоні не залежить від напруги. Цей струм називається струмом насичення:


де густина струму насичення:

За отриманими результатами отримали пряму та зворотну гілки ВАХ.

Концентрації ОНЗ у емітерній і базовій областях відповідно n=9.999*1016м-3 і p=2.176*1013м-3.

Залежність струму від напруги отримали за формулою:

За наближеними оцінками площа поверхні кристалу рівна 2*10-6м2 Отримали залежності ВАХ, які представлені на рисунках 2.2-2.3.

Рисунок 2.2 - Пряма гілка ВАХ

Рисунок 2.3 - Зворотня гілка ВАХ

2.5 Вибір робочої точки, оцінка потужності. Визначення структури і типу корпусу

Оскільки одержана структура сформована на кремнії, а також враховуючи особливості отриманого переходу , діод доцільно використовувати як випрямляючий діод малої чи середньої потужності.

Враховуючи це обираємо робочу точку наступним чином:=0.6 A=0.72 B=U∙I P=0.455 Вт

Кристал матиме планарну структуру:

Рисунок 2.4 - Загальний вид кристала

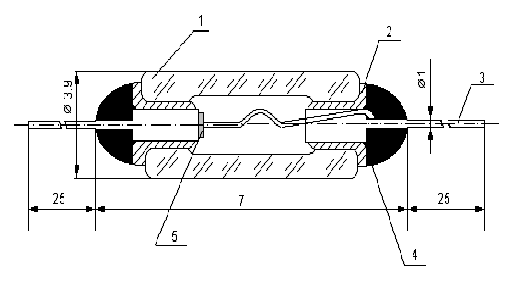
Виходячи з потужності діода обираємо метало-скляний корпус серії КД-5.

Цей корпус забезпечує достатній тепловідвід, є досить компактним і водночас дешевим та нескладним у виробництві. Корпус представлено на рисунку 2.7.

Для діодів з потужністю від 0,1 Вт до 1 Вт скляний корпус використовувати не можна через високий тепловий опір. В цьому випадку використовують металево скляний корпус.

Рисунок 2.7 - Загальний вид корпуса

На рисунку цифрами позначено:

- скляний балон

- коварова втулка

3 - вивід

4 - припій

- напівпровідниковий кристал

3. Технологічний процес

.1 Загальна схема технологічного процесу

Способи виготовлення напівпровідникових приладів суттєво різняться. Однак у всіх випадках кристал піддається ряду загальних основних технологічних операцій, послідовність яких складає технологічний маршрут. Типовий маршрут, в залежності від вида конкретного вироба може містити такі операції:

1) Вхідний контроль. Вхідному контролю піддають злитки напівпровідникового матеріалу . Найбільш розповсюдженими видами контролю є вимір типу електропровідності, питомого опору, часу життя і рухливості носіїв заряду, щільності дислокацій і інших структурних дефектів. На матеріалах, використовуваних для виготовлення світловипромінюючих приладів, контролюють квантову ефективність і довжину хвилі фотолюмінесценції.

2) Розрізання злитків на пластини відбувається алмазним диском з внутрішньою ріжучою кромкою, який полягає в наступному. На шпиндель станка кріплять алмазний диск. В середину пологого шпинделя розміщують держачь з приклеєним напівпровідниковим злитком. Перед початком весь злиток знаходиться в середині шпинделя і лише його торцева частина трішки виступає за кромку алмазного диска. Потім вмикають станок і починають переміщувати держачь в горизонтальному (чи вертикальному) напрямку, в деякий момент злиток торкається алмазного диска і починається процес різки. При повному відрізанні пластини від злитка держачь відводиться у вихідне положення і ви двигається із шпинделя на довжину, рівну товщині відрізаємої пластини. Після чого процес різки повторюється.

) Шліфовка і поліровка пластин. Шліфування відбувається на твердих доводочних дисках-шліфувальниках абразивними мікро порошками. Зернистість мікро порошків для шліфування пластин беруть таку: при попередньому шліфуванні - від М14 до М10, а при кінцевому - від М7 до М5. це дасть можливість отримати 9-12-й клас чистоти обробки. Далі пластини піддають односторонній поліровці з використанням вільного абразиву. В результаті отримуємо поверхню пластин з чистотою обробки, яка відповідає 13-14 класу.

) Знежирення. Знежирення проводиться за допомогою фреону-113 (CClF3), речовини з температурою кипіння 47,6˚С і густиною 1,57 г/м3. Він не горить, не токсичний, забезпечує високу ефективність очистки і дозволяє відмовитись від наступних операцій промивки в деіонізованій воді.

) Сушіння. Після промивки пластини сушать у термостаті або під інфрачервоною лампою при температурі 120 - 150 оС.

) Нанесення фоторезисту відбувається за допомогою центрифуги. При цьому пластину розміщують в центрі платформи центрифуги, прижимають за допомогою вакуумного насосу і приводять разом з платформою до обертання при обертанні в центр пластини наносять дозовану кількість розчину фоторезисту. Центробіжні сили вирівнюють слой фоторезисту по поверхні.

) Сушіння проводиться для повного видалення органічного розчінника при цьому температура і час сушіння повинні виключати можливість термічного задублювання фоторезисту.

) Формування фотомаски. Скрите зображення фотомаски в слої фоторезисту досягається експонуванням фоторезисту через груповий фотошаблон. Експонування фоторезисту проводиться на спеціальній установці для суміщєння та експанування ЄМ-512.

) Проявлення фоторезисту. Воно полягає в розчиненні незадублених ділянок в розчинах, на основі яких виготовлений фоторезист. Після чого проводять промивку пластин.

) Зтравлення захисного шару. Травники розчинюючи данний слой, неповинні діяти на нижче лежачий матеріал основи. Швидкість (час) травлення повинна бути согласована з товщиною фото маски, щоб забезпечити їй необхідну стійкість

) Дифузія.Проводиться в однозонній печі, яка представлена на рисунку 2.8, на плакаті 1, при температурі 1000 К. В якості елемента, який виступає дифузантом, є арсенід (As). При достатньому нагріві він починає випаровуватися з джерела дифузанта (As2O3) і переноситься в зону дифузій, де осідає на кремнієві пластини. Дифузія здійснюється на протязі 2 годин.

) Зняття фоторезисту проводиться груповим методом шляхом занурення пластин в підігрітий розчин або розміщення їх в спеціальну камеру, де фоторезист видаляється за допомогою кислородної плазми. При цьому необхідно повністю очистити поверхню пластини від резисту, оскільки неповне його видалення може призвести до виникнення дефектів при металізації.

) Металізація алюмінієм. Процес металізації алюмінієм виконується за допомогою вакуумного термічного випаровування алюмінію з випаровувачів резистивного типу. Процес випаровування здійснюється на багато позиційних вакуумних установках УВН при непреривному обертанні багато позиційної каруселі з пластинами при остаточному тиску порядку 10-6 мм.рт.ст. і температурі пластин 200˚С.

) Формування фотомаски. Скрите зображення фотомаски в слої фоторезисту досягається експонуванням фоторезисту через груповий фотошаблон. Експонування фоторезисту проводиться на спеціальній установці для суміщєння та експанування ЄМ-512. При цій операції важливим є суміщення рисунку фотошаблону відносно рисунку попередньої фотолітографії.

) Проявлення фоторезисту. Воно полягає в розчиненні незадублених ділянок в розчинах, на основі яких виготовлений фоторезист. Після чого проводять промивку пластин.

) Зтравлювання алюмінію можна провести як рідинним методом, так і сухим (за допомогою плазми).

) Зняття фоторезисту проводиться груповим методом шляхом занурення пластин в підігрітий розчин або розміщення їх в спеціальну камеру, де фоторезист видаляється за допомогою кислородної плазми

) Скрайбування та розламування пластин на кристали. Ця операція проводиться за допомогою алмазного різця, яким наносяться риски або розділяючі канавки між готовими структурами. Піся цього пластини розломлюються на кристали за допомогою механічних напружень, які створюються валіком.

19) Розварка виводів та корпусування. Кристал напаюють на кристалоутримувач, здійснюють розводку - під'єднування електричних виводів до контактів бази, емітера і герметизують, поміщаючи в метало-скляний корпус серії КД-5.

) Контроль якості. Для оцінки параметрів і надійності приладів їх надсилають у відділ технічного контролю, де проводять електричні, кліматичні та механічні випробування. Вони важливі для правильної інформації про якість і надійність приладів. Крім цього кожна технологічна операція супроводжується контролем якості обробки, наприклад вимірюванням глибини дифузії, товщину епітоксіального шару чи питомого або поверхневого опору. Після того, як в структурі створені р-n-переходи, виробляють контроль електричних параметрів - напруги пробою, струму витоку, місткості. У технологічному маршруті передбачені спеціальні контрольні карти.

Висновки

В результаті виконання курсового проекту були вивчені основні операції технології виготовлення планарного діода; методи  і технологічні схеми виготовлення напівпровідникових приладів; основні технологічні процеси, їх фізичні основи і методи розрахунку; принципи дії технологічного обладнання.

Було проаналізовано технологічні процеси; виконано розрахунок параметрів напівпровідникових приладів з використанням математичного середовища MathCAD 14; оцінено отримані результати.

У даному курсовому проекті був розроблений дифузійний діод на планарній структурі, а саме розроблений технологічний маршрут, за ретроградним діаграмами обрана оптимальна густина дифузанту на поверхні зразка (C0=1020см-3), отриманий розподіл густини домішки у емітерній області (рис. 2.1), розрахована глибина залягання ЕДП (xi = 90 мкм), площа ЕДП (S = 9*10-12см2), пряма гілка ВАХ діода (рис 2.2), на прямій гілці ВАХ визначена робоча точка, та обраний корпус (метало-скляний) і розроблений технологічний маршрут.

Перевагами даного технологічного маршруту є: простота технології та устаткування; технологічність; поширеність та відносно невелика ціна матеріалів; досить велика надійність; можливість одночасного проведення дифузії для групи пластин; великий вихід гідних приладів; тепловідвід корпусу більше 100 мВт; значне здешевлення при багатосерійному виробництві.

Перелік посилань

1.  Маслов А.А. Технология и конструкции полупроводниковых приборов. - М.: Энергия, 1970.

2.      Методичні вказівки до виконання курсового проекту з дисципліни “Технологія виробництва ІС, ВІС, ВЕТ” для студентів спеціальності 8.090801 “Мікроелектроніка та напівпровідникові прилади” всіх форм навчання / Укл.: В. М. Матюшин - Запоріжжя: ЗНТУ, 2002. - 27 с.

.        Курносов А.И. Материалы для полупроводниковых приборов и интегральных схем. - М.: Высш. шк., 1975.

.        Конструирование и технология микросхем / Под ред. Л.А. Коледова.-М.: Высш. шк., 1984.-232 с.

.        Коледов Л.А. Технология и конструкции микросхем, микропроцессоров и микросборок.-М.: Радио и связь, 1989. - 400 с.

.        Готра З.Ю. Технология микроэлектронных устройств.-М.: Радио и связь, 1991. - 528 с.

.        Штернов А.А. Физические основы конструирования, технологии РЭА и микроэлектроники.-М.: Радио и связь, 1981. - 248 с.

.        Епифанов Г.И., Мома Ю.А. Физические основы конструирования и технологии РЭА и ЭВА.-М.: Сов. Радио, 1979.-352 с.

Похожие работы на - Виготовлення напівпровідникових приладів й інтегрованих схем

 

Не нашли материал для своей работы?
Поможем написать уникальную работу
Без плагиата!
Без нейросетей!