Анализ ультразвуковых процессов сварки

  • Вид работы:
    Контрольная работа
  • Предмет:
    Другое
  • Язык:
    Русский
    ,
    Формат файла:
    MS Word
    1,11 Мб
  • Опубликовано:
    2013-07-03
Вы можете узнать стоимость помощи в написании студенческой работы.
Помощь в написании работы, которую точно примут!

Анализ ультразвуковых процессов сварки

МИНОБРНАУКИ РОССИИ

ФЕДЕРАЛЬНОЕ ГОСУДАРСТВЕННОЕ БЮДЖЕТНОЕ ОБРАЗОВАТЕЛЬНОЕ УЧРЕЖДЕНИЕ ВЫСШЕГО ПРОФЕССИОНАЛЬНОГО ОБРАЗОВАНИЯ

ТУЛЬСКИЙ ГОСУДАРСТВЕННЫЙ УНИВЕРСИТЕТ

Кафедра ЭиНТ







Контрольная работа по дисциплине

«Физико-химические процессы высоких технологий»

На тему:

«Анализ ультразвуковых процессов сварки»


Выполнил:

Студент гр. Б660611 Черная Е.М.




Тула 2013

Введение

Сварка - ведущий технологический процесс в машиностроении. Объем информации в области сварки особенно увеличился в связи с появлением новых конструкционных материалов, использованием сварки в различных отраслях техники и разработкой прогрессивных способов сварки. Сварку используют для соединения металлов и неметаллов между собой и в разнородных сочетаниях. Монолитность сварных соединений достигается обеспечением физико-химических, атомно-молекулярных связей между элементарными частицами соединяемых тел.

Все известные в настоящее время процессы сварки металлов осуществляются за счет введения только двух видов энергии термической и механической или при их сочетании. Под сварочными процессами в настоящее время понимают достаточно широкую группу технологических процессов соединения, разъединения (резки) и локальной обработки материалов, как правило, с использованием местного нагрева изделий.

Ультразвук находит широкое применение в науке для исследования некоторых физических явлений и свойств веществ. В промышленности ультразвуковые колебания используются для очистки и обезжиривания изделий, для обработки труднообрабатываемых материалов. Установлено благоприятное влияние ультразвуковых колебаний на кристаллизующиеся расплавы - происходит дегазация и измельчение зерна и улучшение механических характеристик литых металлов. Получены положительные эффекты при воздействии ультразвуковых колебаний с целью снятия остаточных напряжений. Широкое использование ультразвук находит с целью интенсификации многих медленнотекущих химических реакций. Известна аппаратура для контроля уровня жидкости, скоростей ее течения и т. п. Успешно используется ультразвук для контроля качества литья, сварных соединений и т. п.

При ультразвуковой сварке (УЗС) необходимые условия для образования соединения создаются в результате механических колебаний ультразвукового преобразователя. Энергия вибрации создает сложные напряжения растяжения, сжатия и среза. При превышении предела упругости соединяемых материалов происходит пластическая деформация в зоне их соприкосновения. В результате пластической деформации и диспергирующего действия ультразвука происходит удаление адсорбированных пленок жидкости, газов, органических пленок и поверхностных оксидов, происходит увеличение площади непосредственного контакта, что обеспечивает получение прочного соединения.

В сварочной технике ультразвук может быть использован в различных целях. Воздействуя им на сварочную ванну в процессе кристаллизации, можно улучшить механические свойства сварного соединения благодаря измельчению структуры металла шва и лучшему удалению газов. Ультразвук может быть источником энергии для создания точечных и шовных соединений. Ультразвуковые колебания активно разрушают естественные и искусственные пленки, что позволяет сваривать металлы с окисленной поверхностью, покрытые слоем лака и т. п. Ультразвук уменьшает или снимает собственные напряжения, возникающие при сварке. Им можно стабилизировать структурные составляющие металла сварного соединения, устраняя возможность самопроизвольного деформирования сварных конструкций со временем.

1. Анализ технологических характеристик ультразвуковой сварки.

 

.1 Сущность (определение), преимущественное назначение и область применения


Одним из интересных и перспективных промышленных применений ультразвука является ультразвуковая сварка (УЗС). Ультразвуковая сварка (УЗС) - это способ создания неразъёмных соединений с помощью энергии, выделяющейся в зоне контакта свариваемых деталей при прохождении через последнюю, ультразвуковых механических колебаний. Этот способ сварки характеризуется весьма ценными технологическими свойствами: возможностью соединения металлов без снятия поверхностных пленок и расплавления, особенно хорошей свариваемостью чистого и сверхчистого алюминия, меди, серебра; возможностью соединения тончайших металлических фольг со стеклом и керамикой.

Сварка металлов ультразвуком находит все более широкое применение, так как этот способ имеет ряд преимуществ и особенностей по сравнению с контактной и холодной сваркой. Особенно перспективна ультразвуковая сварка применительно к изделиям микроэлектроники. Весьма перспективна сварка ультразвуком пластмасс; этот метод широко используется в промышленности, так как обладает рядом особенностей, дающих возможность получить высококачественное соединение на многих пластмассах, сварка которых другими методами затруднена или невозможна.

Разработаны оборудование и технология ультразвуковой сварки металлов и пластмасс, успешно использующиеся в промышленности. За рубежом этот метод также находит применение в промышленности.

Ультразвуком сваривается большая половина известных термопластичных полимеров. Ультразвуковая сварка пластмасс тем более ценна, что для ряда полимеров она является единственно возможным надежным способом соединения.

Полистирол - один из наиболее распространенных полимеров для изготовления различных изделий крупносерийного производства - наиболее рационально сваривать ультразвуком.

Особое внимание исследователей привлекла возможность внедрения УЗС при производстве изделий микроэлектроники.

Конкретными примерами применения ультразвуковой сварки металлов является сварка тонких элементов разнотолщинных деталей, выполненных из однородных и разнородных металлов:

·              алюминиевых электролитических конденсаторов

·              выводов трансформаторов и дросселей

·              электронных приборов

·              радиаторов для тепловых и электронных приборов

·              тары изготовленной из фольги, элементов игрушек и т.п.

Основными областями применения являются:

·              автомобильная промышленности

·              авиационная промышленности

·              электронная промышленности

·              электротехническая промышленности

Конкретными примерами изделий из жестких термопластичных материалов, сваренных с помощью УЗС являются:

·              различные корпуса для электронных и электротехнических устройств-пультов дистанционного управления

·              светоотражателей автотранспорта

·              аккумуляторных банок, утюгов

·              проходные и заборные топливные фильтры

·              игрушки, поплавки

·              фильтры для очистки воды

·              трубопроводы сантехники

·              арматура для оштукатуривания углов откосов и стен

·              георешетки

·              рекламные боксы и муляжи

·              панели и бамперы автомобилей.

В качестве примеров изделий из мягких термопластичных материалов можно назвать:

·              одежду из синтетических тканей

o     медицинские халаты

o     повязки

o     бахилы

o     чепцы

o     накидки

o     плащи

·              различные тенты

·              палатки

·              респираторы

·              тара и элементы упаковки

·              ремни безопасности

·              транспортерные ленты

·              обшивки салонов транспорта

·              элементы натяжных потолков

·              водные и воздушные фильтры

1.2.Основные технологические схемы (способ реализации)


Общая характеристика механической колебательной системы.

Технологическое оборудование для ультразвуковой сварки, независимо от физико-механических свойств свариваемых материалов, которые являются непосредственными объектами интенсивного воздействия ультразвуковых колебаний, имеет одну структуру и состоит из следующих узлов: источника питания, аппаратуры управления сварочным циклом, механической колебательной системы и привода давления.

Важнейшим узлом, составляющим основу и специфику оборудования и технологии ультразвуковой сварки металлов и пластмасс, является механическая колебательная система. Эта система служит для преобразования электрической энергии в механическую, передачи этой энергии в зону сварки, согласования сопротивления нагрузки с внутренним сопротивлением системы и геометрических размеров зоны ввода энергии с размерами излучателя, концентрирования энергии и получения необходимой величины колебательной скорости излучателя. Система должна работать с максимальным к. п. д. на резонансной частоте независимо от изменения сопротивления нагрузки.

Типовая колебательная система (рис. 1) состоит из электромеханического преобразователя 1, волноводного звена - трансформатора или иначе концентратора колебательной скорости 2, акустической развязки системы от корпуса машины 3, излучателя ультразвука - сварочного наконечника 4 и опоры 5, на которой располагаются свариваемые детали 6.

Рис. 1

Широко известны колебательные системы с использованием резонирующих стержней, работающих в режиме изгибных колебаний.

Волноводное звено служит для передачи энергии к сварочному наконечнику. Это звено должно обеспечить необходимое увеличение амплитуды колебаний сварочного наконечника по сравнению с амплитудой исходных волн преобразователя, трансформировать сопротивление нагрузки и сконцентрировать энергию.

Сварочный наконечник является элементом, посредством которого осуществляется отбор мощности, поглощаемой в зоне сварки. По существу - это звено, определяющее площадь и объем непосредственного источника ультразвука. Так как в процессе сварки наконечник внедряется в свариваемую деталь, то он является также и согласующим волноводным звеном между нагрузкой и колебательной системой.

1.3 Состав технологической системы и характеристики ее компонентов (средства технологического оснащения, оборудование, рабочие среды…)


Машины для ультразвуковой сварки состоят из следующих основных узлов: источника питания, аппаратуры управления, механической колебательной системы и привода давления.

Механическая колебательная система служит для преобразования электрической энергии в механическую, передачи этой энергии в зону сварки, концентрирования этой энергии и получения необходимой величины колебательной скорости излучателя.


Колебательная система (рис. 2) состоит из электромеханического преобразователя 1 с обмотками, заключенного в металлический корпус 2, охлаждаемый водой; трансформатора упругих колебаний 5; сварочного наконечника 4; опоры с механизмом давления 5 и свариваемых деталей 6. Крепление колебательной системы производят с помощью диафрагмы 7. Ультразвук излучается только в момент сварки точки.


На рис. 3 показана схема шовной сварки ультразвуком, которая может быть использована для получения герметичных швов на изделии, в этой схеме сварки колебательная система приводится во вращение специальным приводом. При сварке изделие зажимается между концом вращающегося трансформатора упругих колебаний, выполненного в виде ролика, и нижним прижимным роликом. Ультразвук излучается непрерывно в процессе сварки. Элементом колебательной системы, возбуждающей упругие колебания, является электромеханический преобразователь, использующий магнитострикционный эффект. Переменное напряжение создает в обмотке преобразователя намагничивающий ток, который возбуждает переменное магнитное поле в материале преобразователя. При изменении величины напряженности магнитного поля в материале возникает периодическое изменение размеров, при этом частота упругих колебаний равна двойной частоте тока.

Изменения размеров магнитострикционных материалов незначительны. Так, для сплава К49Ф2 магнитострикционное удлинение составляет 70*10-6. Поэтому для увеличения амплитуды смещения и концентрации энергии колебаний, а также для передачи механических колебаний к месту сварки используют волноводы и трансформаторы упругих колебаний. Основным назначением трансформаторов упругих колебаний является увеличение амплитуды колебаний до величины, необходимой для осуществления процесса сварки. Для этой цели концентратор выполняется в виде стержня специальной формы, площадь поперечного сечения которого изменяется вдоль направления распространения колебаний по определенному закону.


Эксперименты показывают, что для целей сварки металлов достаточно иметь трансформаторы с коэффициентом усиления ~ 5, так чтобы амплитуда на конце его при холостом ходе была равна 20-30 мкм.

Магнитострикционный преобразователь и трансформаторы должны быть рассчитаны и изготовлены на заданную частоту ультразвукового генератора. На рис. 4 показана схема изменения амплитуды колебаний в трансформаторе упругих колебаний.

Питание электромеханических преобразователей осуществляется от источника электрической энергии - генератора с частотой колебаний тока 18-180 кГц.

Рабочая частота генератора определяется собственной частотой механической колебательной системы, выходная мощность генераторов 0,01-10,0 кВт.

Процесс ультразвуковой сварки происходит при воздействии сдвигающих высокочастотных колебаний, давления, приложенного перпендикулярно к поверхности листа, и теплового эффекта, сопровождающего процесс сварки. В результате в зоне сварной точки наблюдается небольшая пластическая деформация.

Исследование процесса образования сварного соединения при ультразвуковой сварке медных пластин толщиной 0,35 + 0,35 мм показывает, что при малом времени пропускания ультразвука (менее 0,05 с) сварка не происходит. После разъединения образцов на их поверхности непосредственно под сваривающим выступом наблюдается пятно, имеющее полированную поверхность (рис. 5, а).

Диаметр полированного пятна возрастает при увеличении времени сварки (рис. 5, а - д). При пропускании ультразвука в течение 0,1 с в местах контакта обнаруживаются не только зашлифованные поверхности, но и вырывы металла, свидетельствующие об образовании прочных соединений, так называемых узлов схватывания. На рис. 5, б виден один узел схватывания на зашлифованной поверхности.

Пропускание ультразвука в течение 0,73 с привело к дальнейшему увеличению площади зашлифованного пятна, при этом площадь узла схватывания также возросла. Вокруг основного узла схватывания возникли отдельные небольшие участки схватывания, удлиненные в направлении ультразвуковых колебаний. С увеличением времени пропускания ультразвука > 0,73 с площадь зашлифованного участка почти не изменяется (рис. 5, г, д), но площадь узлов схватывания начинает увеличиваться более интенсивно. При пропускании ультразвука свыше 1,06 с происходит разрушение сварного соединения с вырывом точки по всему контуру.

Проведенные измерения микротвердости поверхности зашлифованного пятна и основного металла вблизи пятна показали, что микротвердость поверхностного слоя зашлифованного пятна выше (42-44 Hм), чем у основного металла (28-30 Hм). Образование полированного пятна на свариваемых поверхностях указывает на то, что оно возникло вследствие трения под действием высокочастотных колебаний соприкасающихся поверхностей непосредственно под контактным выступом.


Таким образом, процесс ультразвуковой сварки происходит под действием трения, вызванного микроскопическим возвратно-поступательным перемещением частиц на трущихся поверхностях.

В начальный момент действия ультразвуковых колебаний на свариваемых поверхностях возникает сухое трение. На этой стадии на свариваемых поверхностях происходит разрушение окисных пленок и пленок из адсорбированных газов и жидкостей. После возникновения ювенильных поверхностей наступает вторая стадия образования сварного соединения. Процесс сухого трения переходит в чистое трение, которое сопровождается образованием узлов схватывания. Схватыванию в значительной степени способствует малая амплитуда колебаний трущихся поверхностей и возвратно-поступательный характер этих колебаний.

Металлографические исследования сварных образцов различных металлов, сваренных при повышенных давлениях, мощности и времени, не обнаружили в зоне сварки литой структуры или воздействия на металл очень высоких температур.

Микроисследования мест сварки показывают, что имеются общие зерна, принадлежащие обеим свариваемым поверхностям и пересекающие границу раздела; кроме этого, образуются общие границы между поверхностными зернами. Очевидно, в этих обоих случаях сварное соединение будет обладать прочностью, равной прочности основного металла.

Большие значения предела прочности ультразвуковых сварных соединений подтверждают то, что они образуются вследствие возникновения металлических связей в узлах схватывания, имеющих такую же прочность и природу, как и основной металл.

1.4 Основные технологические параметры (режимы, примеры расчета, выбора…)


Зона доступа к сварочному наконечнику.

Одной из особенностей технологии сварки ультразвуком является ограниченность диапазона форм свариваемых деталей. Это объясняется тем, что геометрические размеры элементов колебательной системы зависят от заданной частоты. Произвольного изменения размеров резонирующих элементов, посредством которых энергия подводится к зоне сварки, производить нельзя. В этом отношении УЗС обладает существенно меньшими технологическими возможностями, чем, например, контактная сварка.

Зона доступа к сварочному наконечнику, а точнее, возможный диапазон форм изделий, которые можно сварить УЗС, в различных вариантах построения механических колебательных систем складывается из сочетаний нескольких элементов. Например, известны системы, состоящие из преобразователя, волновода продольных колебаний и сварочного выступа (рис. 6, а). Зона доступа к сварочному наконечнику в этом случае определяется длиной волновода продольных колебаний и высотой сварочного выступа в сочетании с конусностью волновода и точкой его закрепления. Сварочный выступ (выступает от образующей концентратора на 2-5 мм) является нерезонансным элементом произвольной формы. Свариваемые детали располагаются на массивной опоре. Технологические возможности такой механической колебательной системы ограничиваются относительно простыми формами изделий.

Рис. 6. Варианты механических колебательных систем для точечной сварки

Более совершенной является модификация этой системы (рис. 6, б). Зона доступа в этом случае увеличена за счет применения резонансного звена и удлинения плеча поворота системы. Такими же возможностями обладают системы с продольно-поперечной схемой волноводов (рис. 6, в). Однако при этом следует отметить, что передача усилия сжатия посредством перемещения опорного элемента нерациональна. Опора перемещается вместе со свариваемыми изделиями. Изделия необходимо фиксировать дополнительным устройством. Такая кинематическая схема ограничивает верхний предел производительности сварочной машины. Колебательная система, разработанная фирмой “Сонобонд К°” (рис. 6, г), работает в сочетании с резонансной опорой, которая позволила значительно увеличить рабочее пространство у сварочного наконечника. Во ВНИИЭСО при проектировании оборудования была применена схема, показанная на рис. 6, д.

В ряде случаев применение продольно-поперечной системы со стержнем постоянного сечения также не позволяет решить такую задачу, так как при УЗС в зависимости от механических свойств и соотношения толщин свариваемых металлов положение деталей относительно сварочного наконечника имеет большое значение. Решить такие задачи можно при применении модификаций стержня колебательной системы.

Для сварки изделий в труднодоступных местах можно воспользоваться стержнем с Г-образным наконечником (рис. 7, а). Экспериментально была установлена возможность применения выступа в пределах Уд длины волны в стержне. Смещение точки съема энергии относительно оси стержня существенно увеличивает возможный диапазон форм свариваемых деталей.

Весьма важным обстоятельством, характеризующим возможности УЗС, является сварка по контуру как на машинах с продольной системой, так и с резонирующим стержнем, работающим в режиме изгибных и крутильных колебаний. Такая сварка получена за счет выбора сварочных наконечников специальной формы, соответствующей заданной конструкции изделия. Одним из недостатков такого приема является изменение собственной частоты стержня в силу изменения его формы. Это затрудняет расчет его параметров.

Рис. 7. Формы стержней передающих энергию в зону сварки

Вместо стержня возможно применение рабочего инструмента в виде пустотелой резонансной трубки, работающей в режиме изгибных или крутильных колебаний (рис. 3, б). Ее оптимальные геометрические размеры подбираются в зависимости от частоты, конструктивных особенностей и мощности сварочной машины. Кромка сварочного наконечника на внутренней и наружной сторонах срезана с расчетом получить рабочую дорожку шириной 0,5-1,5 мм.

Приварку токоотводов к внутренней или наружной поверхности стакана целесообразно осуществить посредством составного стержня с переменным сечением (рис. 7, б). При такой конструкции стержня, во-первых, сохраняется достаточно большое сечение опорной части резонирующего стержня, чем обеспечивается необходимая жесткость и, во-вторых, увеличивается зона доступа к сварочному наконечнику. Такая конструкция резонирующего стержня позволила, например, приварить стальные токоотводы к корпусу аккумулятора.

В настоящее время сварка с применением таких стержней практически дала обнадеживающие результаты. Вполне вероятно, что они могут найти применение при изготовлении полупроводниковых элементов, особенно при использовании систем крутильных колебаний.

Технологические возможности шовной УЗС в отношении свариваемых форм можно в некоторой степени сравнить с возможностями машин для контактной сварки.

Рис. 8. Варианты построения механических колебательных систем для шовной сварки

Шовная ультразвуковая сварка металлов может быть осуществлена посредством колебательной системы со сварочным роликом в виде нерезонансного выступа (рис. 8, а). Однако, как установлено, применение нерезонансного выступа в виде ролика при шовной УЗС в ряде случаев нежелательно. Технологические возможности такого устройства весьма ограничены и могут быть использованы только в частных случаях, тем более, что в качестве опорного элемента используются массивные ролики.

Применение в качестве излучателя ультразвука резонансного диска (рис. 8, б) позволяет увеличить технологические возможности шовной УЗС.

Во ВНИИЭСО разработана колебательная система, в которой в качестве опоры использован также резонансный диск. Это повышает эффективность использования шовной УЗС (рис. 8, в).

Влияние на сварку формы и материала сварочного наконечника.

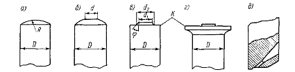
Сварочный наконечник в процессе сварки находится в сложном термомеханическом состоянии. Попеременный нагрев и охлаждение, механические нагрузки и элементарное истирание в зоне контакта со свариваемым металлом приводят к его интенсивному износу. Растрескивание и выкрашивание центра наконечника сказывается на качестве сварных соединений. Кроме того, в процессе сварки происходит налипание свариваемого материала на поверхность сварочного наконечника. Иногда это налипание настолько сильно, что его зачистку необходимо производить после одной-двух сварных точек. Такая степень налипания ставит под сомнение целесообразность применения ультразвука. Используют разнообразные формы сварочных наконечников при УЗС, например, сферической формы (рис. 9, а). Однако использование такого наконечника понижает стабильность сварки, ибо сфера предопределяет резкое и неравномерное распределение напряжения в зоне сварки. Позже были высказаны соображения о целесообразности применения наконечника с усеченной сферой (рис. 9, б), которая позволяла в некоторой степени стабилизировать удельное контактное давление, по крайней мере в начальный период сварки.

Рис. 9. Формы сварочных наконечников

Анализ напряжений, возникающих в зоне сварки, и механизма сварки позволяет прийти к выводу о безусловной целесообразности применения сварочного наконечника в виде усеченной конусообразной площадки (рис. 9, в). Такая форма наконечника, как это следует из весьма многочисленных экспериментальных данных, обеспечивает более высокую пластичность и стабильность прочности сварных соединений. Было признано также целесообразным наличие на сварочном наконечнике обжимной кромки К, поскольку сферический сварочный наконечник приводит к возникновению существенного зазора между свариваемыми деталями. Это в значительной мере сказывается при сварке разнотолщинных металлов, особенно если один из них более пластичен (рис. 9, г).

Работа кромки заключается в следующем. После начала сварочного цикла наконечник начинает внедряться в свариваемый металл, который пластически деформируется. После того как сварочный наконечник углубился на расстояние, равное высоте конусной площадки, которая, кстати, выбирается исходя из толщины свариваемого металла, обжимная кромка под действием контактного давления обжимает по периметру резонирующего стержня свариваемые детали.

Рекомендуемая форма наконечника для сварки металлов микротолщин показана на рис. 9, д.

Ряд авторов считает, что состояние поверхности сварочного наконечника является одним из важных факторов, влияющих на образование сварного соединения (на его механическую прочность). Так, например, в работе [3] приведены данные об использовании сварочных наконечников с различной степенью обработки поверхности. Установлено, что при сварке сплавов АМцАМ шлифованным наконечником, сварные соединения обладали низкой прочностью. Удовлетворительные соединения были получены с помощью наконечника, поверхность которого была грубо обработана на наждачном камне. Аналогичные результаты были приведены и в работе [4]. Наилучшие результаты по сварке ряда материалов были получены при использовании сварочного наконечника с шероховатой поверхностью. Обработка экспериментальных результатов позволила прийти к выводу [4], что чем прочнее сцепление сварочного наконечника с деталью, тем интенсивнее передача энергии ультразвука в зону сварки и прочнее сварное соединение.

Однако некоторые приводят противоположные доводы, считая, что в случае шероховатости наконечника потери на соединение уменьшаются, так как шероховатость предотвращает скольжение между наконечником и свариваемыми образцами. Мнение, что обволакивание сварочного наконечника металлом свариваемого изделия способствует передаче энергии, вряд ли справедливо. Дело в том, что при обволакивании исчезает граница раздела между сварочным наконечником и деталью. Исходя из общих принципов распространения плоской волны в твердом теле следует, что потери энергии на границе их раздела в таком случае резко уменьшается. Значит надо предполагать, что источником ультразвуковых колебаний должна являться деталь, сцепившаяся со сварочным наконечником. Поскольку она обладает массой, то это вызывает изменение частоты колебательной системы и выход ее из резонанса. Таким образом оптимальные условия переноса энергии будут нарушены (технологически такое сцепление недопустимо).

Были проведены экспериментальные работы по выявлению влияния степени обработки поверхности сварочного наконечника на механическую прочность соединений при сварке меди М1.

Установлено, что при сварочном наконечнике, обработанном грубым наждачным камнем, среднее разрушающее усилие при испытании образцов Рср = 24 кГ. Внешний вид сварной точки в полной мере соответствует грубо обработанной поверхности наконечника.

В другом случае наконечник был тщательно обработан мелкозернистой наждачной бумагой. При испытании этой группы образцов Рср = 24,5 кГ (по 20 образцам). Существенной разницей между сварными соединениями было состояние наружной поверхности сварной точки: при сварке наконечником с обработанной поверхностью сварная точка имела шлифованный вид.

Таким образом, судить по состоянию поверхности сварной точки о качестве соединения в этом случае было нельзя.

Есть сведения, которые говорят о влиянии материала сварочного наконечника на прочность сварных соединений. В работе [4] приведены результаты об использовании в качестве материала сварочных наконечников сталей: ЭВ, НЖ-1, 45, Р-18, ШХ15 и др. Установлено, что при сварке меди М1, твердость наконечника существенно влияет на прочность соединения.

Б.Б. Золотарев и др. [4] приводят несколько иные данные. Сварочные наконечники были изготовлены из сормайта, сталей ШХ15 и 45. Сваривалась медь М1. Материал наконечника влияния на прочность соединений не оказал.

Можно было бы привести достаточное число примеров, результаты которых исключают друг друга.

Износоустойчивость сварочного наконечника, способность его не свариваться с деталью, которой он передает энергию ультразвука, является в настоящее время одной из основных проблем, в области освоения ультразвука для целей сварки.

При работе сварочный наконечник, как уже было сказано выше, находится в сложном термомеханическом состоянии.

Наконечник одновременно подвержен цикличному термическому нагружению, знакопеременным механическим напряжениям и весьма интенсивному внешнему трению о свариваемый материал. Нагрев наконечника до температуры рекристаллизации свариваемых металлов происходит примерно за 0,5-1,5 сек, а охлаждение после окончания сварки в течение 3-5 сек.

Истирание поверхности сварочного наконечника о свариваемую деталь происходит за счет его возвратно-поступательного движения со скоростью относительного перемещения до 2-4 м/сек и усилия сжатия до 10 кГ/мм2.

Следствием такого взаимодействия на поверхности сварочного наконечника, если не происходит процесса его соединения со свариваемым металлом, начинается его разрушение, т.е. возникновение микротрещин, разрастание их до макроразмеров, выкрашивание кусков металла и т.п. В таких условиях в силу пластического деформирования наружной поверхности свариваемого металла последний, как бы, запрессовывается в эти трещины. Возникает налипание его на поверхности наконечника. И чем больше и глубже трещины, тем это налипание выражено сильнее.

Влияние на сварку состояния поверхности свариваемых металлов.

Одним из важных преимуществ УЗС является возможность получения надежных сварных соединений, обладающих высокими эксплуатационными характеристиками, без предварительной обработки поверхностей перед сваркой.

Мнение исследователей относительно возможности получения соединений в зависимости от материалов и толщин покрытия разделились.

Некоторые исследователи, не отрицая в принципе возможности образования соединений, на основании экспериментальные результатов пришли к выводу, что наличие различного рода покрытий препятствует образованию сварных соединений. Другие считают, что максимально достигаемая прочность соединений вообще не может быть получена на необработанных образцах.

В одной из работ по этому вопросу высказались вполне определенно. Авторы считают, что независимо от исходного состояния поверхности можно получить высокопрочные соединения с незначительным отклонением его от среднего значения разрушающей нагрузки. Только для получения равнопрочных соединений, по мнению авторов, для образцов с различным состоянием поверхностей необходимо неодинаковое количество энергии ультразвуковых колебаний, поскольку она расходуется не только на деформирование сварной точки, но и на устранение поверхностных пленок. Так, например, для получения соединений одинаковой прочности из меди М1 толщиной b = 1,0 + 1,0 мм на образцах с обезжиренной и протравленной поверхностью необходимо было время сварки 2,3 сек, в то время как на образцах с поверхностью в состоянии поставки листов - 4 сек. При различных временах сварки были получены также одинаковые значения срезающего усилия сварных соединений, полученных из холоднокатаной меди М1 толщиной b= 1,0+ 1,0 мм с обезжиренной поверхностью, травленой и с нанесением на нее слоя из смеси технического вазелина с графитом.

Автором в этом направлении была проведена работа, в результате которой установлено, что характер покрытия и его толщина оказывают значительное противодействие образованию неразъемного соединения металлов.

Таким образом было установлено, что при мощности системы рэл = 4,0 кет и амплитуде сварочного наконечника Acв= 16 мкм возможна сварка металлов, имеющих достаточно толстые пленки естественных окислов. Снижение прочности сварных соединений меди МЗ при испытаниях на срез по сравнению с образцами, протравленными перед сваркой в 50-процентном растворе НМОз, составляет 15-20%; получены удовлетворительные соединения и при сварке металлов с жировыми покрытиями. Прочность соединений при этом снизилась на 10-15%.

Покрытие меди оловом, никелем и цинком дает снижение прочности соединений до 50%. Изменение режима сварки (давления контактного и времени) не улучшает прочностные характеристики соединения.

Были сделаны попытки получить неразъемные соединения из анодированных материалов. Установлено, что анодирование с толщиной пленки 5 мкм резко снижает возможность соединения. Однако анодирование не всегда является препятствием для получения сварного соединения. Так, например, была получена сварка анодированной танталовой фольги толщиной 14 мкм и толщиной пленки 1,5 - 2 мкм. Разрушение во всех случаях (20 образцов) происходило по основному металлу.

Для получения качественного сварного соединения необходимо создать условия контактирования свежеочищенных участков металлов. Это может быть обеспечено при условии интенсивного перемещения деталей относительно друг друга. Величина такого перемещения находится в зависимости от амплитуды смещения сварочного наконечника Асв. Износ пленок зависит от их свойств и степени сцепления с металлом.

1.5 Выходные технологические показатели метода (производительность, качество…)


Прочность точечных и шовных сварных соединений

На рис. 10 показана зависимость прочности точечных соединений алюминиевых листов от продолжительности пропускания ультразвуковых колебаний и давления на точку. Как видно, при малых давлениях прочность точки в значительной степени зависит от времени прохождения ультразвука. С повышением давления сварные соединения прочнее при меньшем времени прохождения ультразвука. При очень продолжительном пропускании ультразвука и большом давлении сварное соединение некачественно вследствие значительных деформаций основного металла и приваривания его к электроду.

При шовной сварке прочность сварных соединений обычно выше прочности основного металла, и разрушение происходит по основному металлу.

Сварка ультразвуком позволяет соединять различные металлы; хорошо свариваются ультразвуком алюминий, медь, никель, удовлетворительно свариваются нержавеющие стали. При этом прочность сварных точечных соединений достаточно высока, разрушение соединений происходит обычно с вырывом точки по контуру как при испытаниях на срез, так и при испытаниях на отрыв.


С помощью ультразвука получены соединения на ряде тугоплавких металлов - ниобии, тантале, молибдене и вольфраме. Однако недостатком сварных соединений вольфрама и молибдена является их хрупкость.

Важным обстоятельством ультразвуковой сварки является возможность соединения различных металлов, которые обычными методами не соединяются.

ультразвуковой сварка шовный

2. Анализ физико-химического механизма разрушения обрабатываемого материала

 

.1 Теоретические представления о данном механизме разрушения


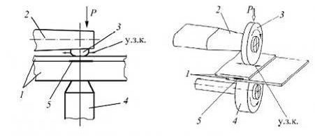
Ультразвуковая сварка металлов - это сварка давлением при воздействии ультразвуковых колебаний. Соединение образуется в результате совместного действия на детали сжимающего усилия и высокочастотных механических колебаний, что сопровождается относительным тангенциальным смещением малой амплитуды соединяемых поверхностей и нагревом метала в зоне сварки. Усилия действует перпендикулярно соединяемым поверхностям, а колебания вызывают их незначительное смещение с ультразвуковой частотой. При этом происходит небольшая пластическая деформация приповерхностного слоя металла в зоне сварки и образование ювенильных поверхностей и их соединения. Продолжительность процесса измеряется секундами и долями секунд. Ультразвуковую сварку металлов применяют для получения точечных и шовных соединений, а так же для сварки по контуру. Принципиальная схема сварки ультразвуком показана на рис. 11.

Сварочный наконечник 3 (при шовной сварке - ролик) определяет площадь и объем источника ультразвуковых механических колебаний непосредственно в зоне сварки. Он должен передавать колебания для осуществления трения между поверхностями соединяемых деталей с минимальными потерями между ним и верхней деталью. Величина амплитуды колебаний обычно находится в интервале 10 ... 25 мкм.

Рис. 11. Принципиальная схема точечной (я) и шовной (б) сварки ультразвуком: 1 - свариваемые детали, 2 - трансформатор упругих колебаний, Р - сжимающая сила, 3 - сварочный наконечник (ролик), 4 - маятниковая опора (опорный ролик), 5 - сварная точка (шов), у.з.к. - ультразвуковые колебания.

Таким образом, процесс ультразвуковой сварки металлов происходит в условиях трения, вызванного микроскопическим относительным возвратно-поступательным перемещением участков поверхностей в зоне сжатия, что сопровождается выделением теплоты. Распространение ультразвуковых колебаний при сварке показано на рис. 12.

Рис. 12. Распространение у.з.к. при сваривании: а - начало сваривания; б - процесс сварки; в - окончание процесса.

Исследования показали, что при ультразвуковой сварке действуют два основных источника тепла. Один находится в зоне контакта сварочного наконечника (ролика) с деталью, второй - в зоне соединения деталей. Выделение теплоты у сварочного наконечника обусловлено его трением с деталью и приводит к пластическому деформированию наружной поверхности детали под наконечником. Выделение теплоты между деталями обусловлено действием нормальных сжимающих напряжений и напряжений сдвига, что приводит к внешнему и внутреннему трению в металлах и пластической деформации в зоне сварки.

Вибрирующий сварочный наконечник в первый момент сварки развивает интенсивное выделение тепла в зоне его контакта с деталью. В зону сварки ультразвуковые колебания передаются с некоторым опозданием (см. рис. 12).

Усилие сжатия обеспечивает передачу ультразвуковых колебаний в зону сварки. Его минимальное значение, при котором начинают образовываться соединения, зависит от свариваемых материалов и их толщины, а оптимальное значение возрастает с увеличением амплитуды колебаний.

При увеличении контактного давления начальная скорость нагрева растет за счет улучшения связи между сварочным наконечником и деталями. Скорость нагрева деталей зависит также от формы и состояния поверхности наконечника.

Температура в зоне сварки зависит от твердости и теплофизических свойств свариваемых материалов, мощности колебательной системы и параметров режима сварки. Нагрев в зоне сварки обычно не превышает 0,6 температуры плавления. Под действием трения, нагрева и пластического деформирования пленки загрязнений разрушаются и удаляются из зоны сжатия, благодаря чему становится возможным образование узлов схватывания, их расширение и формирование сварного соединения. Установлено, что ультразвуковые колебания способствуют удалению жировых пленок благодаря развитию кавитационных процессов в условиях действия в отдельных микрообъемах попеременных высоких давлений и разрежений. Поэтому УЗ-сварка может выполняться даже при наличии жировых загрязнений поверхностей. Однако принято обезжиривать поверхности перед свариванием, поскольку это увеличивает диаметр точек сварки. Ультразвуковые колебания также снижают поверхностное натяжение металлов, значительно ускоряют образование активных центров и схватывания поверхностей, процессы диффузии и рекристаллизации. Поэтому формирование кристаллической структуры в зоне соединения при сварке происходит достаточно быстро.

УЗ-сварка может выполняться с импульсным нагревом места сварки от отдельного источника тепла, что позволяет уменьшить усилие сжатия, амплитуду и время действия уз-колебаний, и деформацию металла. Такой способ разработан для ультразвуковой сварки микродеталей. Свариваемые элементы подлежат действию ультразвуковых колебаний и нагреванию одновременно или в определенной последовательности.

Процесс выполняется следующим образом. Сначала сварочный инструмент небольшим усилием прижимается к детали, затем через него пропускается электрический ток для его нагрева и одновременно (или с некоторым опережением или опозданием) включаются ультразвуковые колебания. Способ позволяет сваривать материалы с различными физико-химическими свойствами.

Существует мнение, что успешная ультразвуковая сварка разнородных материалов возможна при условии разности атомных радиусов соединяемых деталей не более 15 ... 18%. Это условие соответствует общему представлению о существовании твердых растворов. При разности атомных радиусов в пределах 19 ... 44% сварка металлов усложняется. Исследование А.О. Россошинского позволили получить с помощью ультразвукового сваривания надежные соединения между материалами с существенными различиями атомных радиусов и различиями физико-химических свойств, например, между керамикой и металлами. Образование соединений автор объясняет определенным перемещением металла в зоне сварки. Деформация микровыступов под действием колебаний и их сжатие приводит к взаимному проникновению и перемешиванию материалов, которые соединяются, что и обеспечивает качество сварки.

При ультразвуковой сварке можно выделить процессы образования физического контакта, активации поверхностей и объемного взаимодействия, несмотря на кратковременность процесса. Все эти процессы протекают в условиях действия ультразвуковых колебаний. Поэтому иногда отмечается возможность развития процессов усталости в зоне сварного соединения под влиянием длительного действия колебаний и снижение прочности соединений вследствие частичного разрушения узлов схватывания.

2.2 Характеристика процессов в зоне обработки и стадий их развития, а также анализ сопутствующих явлений


Особенности технологии УЗС.

При вводе механических колебаний в свариваемые металлы изделие начинает вибрировать с ультразвуковой частотой. Форма колебаний определяется геометрическими размерами изделия. В наиболее простом и распространенном случае - сварка листа прямоугольной формы - в последнем устанавливается стоячая волна с характерным чередованием узлов и пучностей плоской волны изгибных колебаний. Уровень напряжений, возникающих в пучностях, определяется мощностью энергии, вводимой в зону сварки. При этом возникает опасность появления микро- и макротрещин в зоне сварки. Образование трещин при достаточном уровне энергии свойственно металлам, обладающим малой пластичностью, имеющим местные дефекты, чрезмерный наклеп и т.п. Для снижения вредного эффекта вибрации свариваемого изделия применяют струбцины с резиновыми прокладками, предварительное снятие заусенцев, округление углов, если это возможно по условиям изготовления детали, предварительный отжиг места соединения и т.п. Наиболее рациональной мерой является снижение амплитуды колебаний сварочного наконечника.

При использовании некоторых колебательных систем наблюдается самопроизвольное разворачивание деталей относительно друг друга во время сварки. Это означает, что необходимо применение специальных кондукторов, обеспечивающих фиксированное положение деталей в процессе сварки. Ранее было установлено [4], что закрепление образцов для предотвращения их перемещения во время сварки снижает качество сварки. Однако позднее, исследуя это явление, пришли к выводу, что дополнительное “прокручивание” образцов повышает прочность сварки до 60%.

Причиной прокручивания, по-видимому, является следующее. При условии интенсивного внешнего трения между свариваемыми деталями и относительно низком зажимном усилии в процессе образования сварного соединения возникают и разрушаются единичные узлы схватывания. Вполне естественно, что в некоторый момент времени на данной половине приполированного пятна может образоваться узел, в то время как на другой - нет. Поскольку амплитуда колебаний между деталями в узле схватывания существенно меньше амплитуды проскальзывания между деталями зоны сварки, в которой еще не возникли узлы схватывания, то наличие результирующей пары сил относительно вертикальной оси узла схватывания вполне вероятно.

При УЗС некоторых металлов наблюдается интенсивное сцепление сварочного наконечника со свариваемым металлом. С точки зрения передачи энергии в зону сварки исследователи [5] считают, что это рационально. С технологической же точки зрения это совершенно неприемлемо, так как приварка сварочного наконечника к детали исключает нормальную эксплуатацию сварочной машины. Как выявлено, налипание свариваемого металла на сварочный наконечник и износ наконечника имеет сложную природу. По существу - это задача обратная УЗС.

Поэтому для сварочного наконечника нужен материал, который обладал бы максимальной когезией поверхностного слоя относительно свариваемого материала.

Один из основных параметров процесса, определяющий выделение энергии в зоне сварки - сопротивление нагрузки, практически неуправляем. Механические колебательные системы, являющиеся источниками ультразвука, частотно зависимы.

Изменение реактивности в системе приводит к изменению собственной частоты системы. Работа системы вне резонанса, как правило, нецелесообразна. Таким образом, нельзя допускать произвольного изменения геометрических размеров системы, в частности стержней, передающих энергию в зону сварки.

Изложенные особенности ряда технологических факторов весьма существенны.

Любой из этих недостатков, выраженный в крайней форме, может поставить под сомнение целесообразность применения УЗС. Вместе с тем УЗС характеризуется весьма ценными технологическими особенностями. Так, микросмещения деталей относительно друг друга вызывают дробление твердых окислов и выгорание жировых пленок, что приводит к самопроизвольной очистке поверхностей свариваемых металлов и к последующей их сварке. Это позволяет наиболее эффективно решать проблему присоединения токоотводов в различного рода электро- и радиотехнических устройствах, так как УЗС обеспечивает переходное сопротивление на уровне сопротивления свариваемых металлов. Температура в зоне соединения составляет 0,4-0,6 от температуры плавления металла. Это обеспечивает минимальное искажение исходной структуры, отсутствие выплесков и брызг металла.

В силу специфичности процесса при УЗС хорошо свариваются металлы, обладающие малым электрическим сопротивлением: электротехническая медь, чистый и сверхчистый алюминий, серебро.

При УЗС в принципе нет ограничений по нижнему пределу свариваемых толщин различных металлов. Возможно также соединение с существенным перепадом толщин и свойств свариваемых металлов (металл - стекло; отношение толщин 1 : 1000 и больше).

Для УЗС также характерна: 1) малая энергоемкость; 2) возможность питания нескольких сварочных головок от одного генератора и возможность выноса их на значительное расстояние; 3) простота автоматизации процесса работы колебательной системы; 4) гигиеничность процесса.

Тепловые процессы при сварке.

Процесс ультразвуковой сварки сопровождается выделением тепла в зоне сварки. Образование тепла вызывается возникновением трения на контактных поверхностях и пластическими деформациями в металле, сопровождающими образование сварного соединения.

Температура в зоне сварки зависит от прочностных характеристик - главным образом от твердости металла и его теплофизических свойств: теплопроводности и теплоемкости, режима сварки.

Работы показали, что наблюдающееся повышение температуры не является определяющим фактором, так как максимальная прочность сварных соединений достигается ранее, чем достигается максимальная температура в контакте.

Предварительный подогрев изделия приводит к уменьшению длительности пропускания ультразвуковых колебаний и способствует увеличению прочности сварного соединения.

2.3 Обоснование основных факторов, влияющих на процессы разрушения


Открытие процесса ультразвуковой сварки связано с исследованием применения ультразвуковых колебаний для очистки поверхностей, соединяемых с помощью контактной сварки. Было обнаружено, что при одновременном воздействии на зону сварки определенного усилия сжатия и ультразвуковых колебаний соединение образцов осуществляется без пропускания через них сварочного тока.

На первом этапе развития ультразвуковой сварки были получены сравнительно прочные соединения из мягких алюминиевых сплавов толщиной от 0,01 до 0,2 мм.

Дальнейшему развитию ультразвуковой сварки препятствовало отсутствие полных сведений о процессах образования неразъемных соединений твердых тел под воздействием ультразвука и эффективного специализированного оборудования. Исследования, проведенные в середине 60-х гг. ХХ в. в Институте электросварки им. Е.О. Патона, ИМЕТ им. А.А. Байкова и ВНИИЭСО, позволили обосновать механизм образования соединения металлов с помощью ультразвука.

Процесс образования соединения металлов с помощью ультразвуковых колебаний в общем случае можно разбить на три стадии:

а) получение первичных «мостиков схватывания»;

б) повышение температуры до (0,3 - 0,5)ТПЛ соединяемых металлов в зоне контакта, вызывающее повышение пластичности поверхностных слоев металла, испарение пленок жира и влаги, растрескивание оксидных пленок;

в) сближение соединяемых поверхностей на расстояния, достаточные для появления межатомных взаимодействий, обуславливающих образование монолитного соединения. Отдельные исследования указывают на то, что образование соединения сопровождается интенсивным протеканием в поверхностных слоях диффузии, релаксации и в ряде случаев - плавлением металла на глубину нескольких атомных слоев.

Показано, что характер процессов, протекающих при образовании соединения, определяется физико-химическими свойствами соединяемых материалов и технологическими параметрами сварки. В конце 60-х гг. была обнаружена возможность качественной сварки полимеров с помощью ультразвука.

Следует отметить весьма перспективное направление использования ультразвуковой сварки в сочетании с контактной. В этом случае появляется возможность существенно снизить мощность сварочных машин, особенно при сварке металлов, имеющих небольшое электрическое сопротивление (медь, серебро, никель).

Под действием ультразвуковых колебаний в результате фрагментации поверхностных слоев в зоне контакта возрастает его электрическое сопротивление, что обуславливает эффективность тепловыделения в зоне сварки и существенно повышает скорость процессов диффузии.

Последний эффект может быть использован для интенсификации диффузионной сварки. Другим не менее важным направлением в области получения соединений с помощью ультразвуковых колебаний является комбинированный способ сварко-пайки, сочетающий ультразвуковую сварку с различными процессами пайки, особенно в тех случаях, когда исключено применение флюсов.

Основным звеном колебательных систем является преобразователь, который изготавливают из магнито-стрикционных или электрострикционных материалов (никель, пермендюр, титанат бария, ниобат свинца и др.).

Свариваемость металла зависит от его твердости и кристаллической структуры. Свариваемость ухудшается в следующей последовательности для металлов, имеющих ГЦК, ОЦК и гексагональную решетки, а также с увеличением твердости.

Ультразвуковая сварка позволяет соединять разные элементы изделий толщиной 0,005 - 3,0 мм или диаметром 0,01 - 0,5 мм. При приварке тонких листов и фольг к деталям толщина последних практически не ограничивается.

Особые преимущества этот процесс имеет при соединении разнородных и термочувствительных элементов.

Соединение при этом способе сварки образуется под действием ультразвуковых колебаний (частотой 20-40 кГц) и сжимающих давлений, приложенных к свариваемым деталям.

 

.4 Существующие модели процессов (математические, статистические, эмпирические, феноменологические и др.)


При сварке ультразвуком неразъемное соединение металлов образуется при совместном воздействии на детали механических колебаний высокой частоты и относительно небольших сдавливающих усилий. В принципе этот метод сварки имеет много общего с холодной сваркой сдвигом.

Колебания, возникающие в какой-либо среде и характеризующиеся упругими деформациями среды, называются упругими. Форма упругих колебаний может быть различна. Наиболее распространенной формой являются гармонические колебания, т. е. колебания, описываемые выражением

=Aмsin(ωt+φ),

где A - смещение или деформация в данном элементе среды в момент времени t; Aм - максимальное значение смещения или деформации; ω - круговая частота колебаний; φ - начальный угол сдвига.

Упругие колебания, частота которых превышает некоторую границу, принято называть ультразвуковыми. Обычно считают, что нормальный человеческий слух не воспринимает в виде слышимого звука гармонические упругие колебания с частотой выше 17 000-20 000 Гц. В практике упругие колебания используются в диапазоне частот от 8000 Гц до мегагерц. При ультразвуковой сварке обычно используется диапазон частот 18-80 кГц.

Скорость распространения ультразвука зависит от физических свойств материала. Например, в стержне скорость распространения продольных волн определяется из следующего соотношения:


где Е - модуль упругости материала; ρ - плотность материала.

Скорость распространения звуковых волн в большинстве твердых тел колеблется в пределах 2000-6000 м/с и изменяется в зависимости от температуры, давления и интенсивности звука.

Длина волны, соответствующая данной частоте, непосредственно определяется из равенства


где c - скорость звука; f - частота.

При частоте 20 кГц длина волны в стали равна 28 см.

Интенсивность плоской продольной звуковой волны в любой среде определяется из уравнения

=kA2f2ρc,

где А - амплитуда колебаний; f - частота колебаний; ρ - плотность среды; k - коэффициент пропорциональности; с - скорость звука в среде.

Поток энергии волны сквозь некоторую поверхность S равен


где β - угол между нормалью к площадке dS и направлением распространения волны.

Мощность ультразвука, которая может быть передана через среду, зависит от физических свойств среды; если напряжения в зонах сжатия и разрушения превысят предел прочности материала, то твердый материал будет разрушаться. В жидкостях в аналогичных случаях возникает кавитация с образованием мельчайших пузырьков паров жидкости и последующим их захлопыванием. Процесс захлопывания кавитационных пузырьков сопровождается возникновением местных давлений, превышающих 5000 кгс/см2. Это явление в жидкостях используется для обработки и очистки изделий.

2.5 Результаты экспериментальных исследований процессов по данным научных публикаций


Результатом научных исследований и экспериментов стало открытие явных преимуществ сварки ультразвуком:

·              сварка осуществляется в твердом состоянии металла без существенного нагрева места сварки, что дает возможность соединять химически активные металлы или пары металлов, склонные образовывать хрупкие интерметаллические соединения в зоне сварки;

·              возможность соединения тонких и ультратонких деталей, возможность приварки тонких листов и фольги к деталям неограниченной толщины, сварка пакетов из фольги;

·              снижение требований к чистоте свариваемых поверхностей дает возможность проводить сварку плакированных и оксидированных поверхностей и вообще сварку металлических изделий, поверхности которых покрыты различными изоляционными пленками;

·              применение небольших сдавливающих усилий (10-250 кгс), вследствие чего деформация поверхности деталей в месте их соединения незначительна (вмятина, как правило, не превышает 5-10%);

·              малая мощность оборудования и несложность его конструкции (если, например, для контактной точечной сварки алюминия толщиной 1 мм необходима машина мощностью 100-150 кВ*А, то при сварке ультразвуком аналогичного соединения потребляется всего 5-2,5 кВ*А).

 

.6 Пути совершенствования данного технологического воздействия при обработке различных, в т.ч. новых, материалов


Ультразвуковая сварка нашла достаточно широкое применение для соединения тонких деталей из однородных и разнородных материалов в приборостроении и радиоэлектронной промышленности. В дальнейшем можно ожидать, что этот метод будет использован при сварке металлов, образующих хрупкие интерметаллические соединения, для приварки тонких обшивок к несущей конструкции (в авиационной промышленности, автомобилестроении и ряде других отраслей промышленности).

По мере совершенствования технологического процесса и оборудования область применения ультразвуковой сварки будет непрерывно расширяться.

Ультразвуковую сварку применяют для соединения многих металлов. Наиболее легко свариваются пластичные металлы (алюминий, медь и их сплавы, серебро, никель и т.п.) как между собою, так и с твердыми малопластичными материалами.

Металлические детали могут свариваться с керамикой, стеклом, полупроводниковыми материалами (кремний, германий). Успешно свариваются тугоплавкие металлы: вольфрам, ниобий, тантал, цирконий, молибден. Можно сваривать заготовки через прослойку из третьего металла, например сталь со сталью через алюминий, а также заготовки покрытые оксидами, лаками, полимерами и т.п. Используется УЗС также для соединения пластических масс.

Качество соединений при шовной сварке определяется теми же параметрами, что и при точечной, лишь вместо времени сварки вводится скорость движения детали. При правильно выбранных режимах шовной сварки разрушающее усилие сварного соединения выше чем основного металла.

Заключение


Подводя итоги нашего ознакомления с ультразвуковой сваркой и ее анализа, можно сделать вывод, что процесс ультразвуковой сварки в настоящее время практически освоен. Стабильная работа колебательных систем дает разброс в прочности сварных соединений не более, чем это наблюдается при использовании контактной сварки. При этом следует заметить, что УЗС позволяет получить надежные сварные соединения разнотолщинного алюминия без предварительного снятия окисных пленок, электротехнической меди и других металлов, где использование контактной сварки практически затруднено.

В заключение необходимо отметить, что в настоящее время в нашей стране на различных заводах используются несколько тысяч сварочных машин, а группа ученых за разработку теоретических основ процесса, основ технологии и организацию промышленного выпуска сварочных машин удостоена премии Совета Министров СССР за 1984 год.

Список использованных материалов

1.      Николаев Г.А. Сварка в машиностроении. Справочник. Т.1. М., “Машиностроение”, 1978.

.        Ольшанский Н. А. Образование соединения при ультразвуковой сварке. - «Автоматическая сварка», 1971

3.         Холопов Ю.В. Ультразвуковая сварка. Л., “Машиностроение”, 1972.

4.      Золотарев Б.Б., Волков Ю.Д. Точечная сварка металлов ультразвуком. - “Сварочное производство ”, 1982, №9

.        Силин Л.Л., Баландин Г.Ф. Ультразвуковая сварка. М., Машгиз, 1982.

Похожие работы на - Анализ ультразвуковых процессов сварки

 

Не нашли материал для своей работы?
Поможем написать уникальную работу
Без плагиата!
Без нейросетей!